Pysäköi kone tasaiselle alustalle.
Nosta ilmastusyksikkö.
Sammuta moottori.
Kytke seisontajarru.
Irrota avain ja odota, että kaikki liikkuvat osat pysähtyvät.
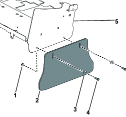
Vaiheeseen tarvittavat osat:
| Sivulevy | 2 |
| Kuusiopultti (⅜ tuumaa) | 4 |
| Nyloc-mutteri (⅜ tuumaa) | 4 |
Sulje ilmastusyksikön suojalukko.
Irrota koneen vasemmalta puolelta kaksi kuusiopulttia (⅜ tuumaa), kaksi aluslaattaa ja kaksi laippamutteria (⅜ tuumaa), joilla sivusuojus on kiinnitetty ilmastusyksikköön. Säilytä osat. Irrota sivusuojus ilmastusyksiköstä. Toista koneen oikealla puolella.

Asenna koneen vasemmalla puolella sivulevy ilmastusyksikköön kiinnittämällä se kahdella kuusiopultilla (⅜ tuumaa) ja kahdella nyloc-mutterilla (⅜ tuumaa). Toista koneen oikealla puolella.

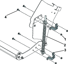
Vaiheeseen tarvittavat osat:
| Rullakokoonpano | 1 |
| Jousialuslaatta | 2 |
| Rullavarsi | 2 |
| Karkaistu aluslaatta | 1 |
| Rulla-akselin ruuvi | 2 |
| Rasvanippa (jos ei aiemmin asennettu) | 2 |
| Rullan kaavin | 1 |
| Kaavinvarret | 2 |
| Lukkoruuvi (⅜ tuumaa) | 4 |
| Nyloc-mutteri (⅜ tuumaa) | 4 |
Asenna jousialuslaatta rulla-akselin molempiin päihin (Kuva 3).
Asenna rullavarsi rulla-akselin molempiin päihin (Kuva 3).
Kiinnitä rullavarsi kahteen rulla-akseliin vahvistetulla aluslaatalla (vain oikealla puolella) ja kahdella rulla-akselin ruuvilla. Asenna kaksi rasvanippaa kahteen rulla-akselin ruuviin, jos niitä ei ole asennettu aiemmin (Kuva 3).
Aseta rullan kaapimen kiinnityskielekkeet molempien kaavinvarsien aukkoihin (Kuva 3).
Asenna kaavinvarret rullavarsiin (Kuva 3).
Kiinnitä rullavarren vasemmalla puolella kaavinvarsi rullavarteen kahdella lukkoruuvilla (⅜ tuumaa) ja kahdella nyloc-mutterilla (⅜ tuumaa) (Kuva 3). Toista sama oikeanpuoleisen rullavarren kohdalla.

Vaiheeseen tarvittavat osat:
| Laippaholkki | 2 |
| Litteä aluslaatta | 2 |
| Kuusiopultti (⅝ tuumaa) | 2 |
| Nyloc-mutteri (⅝ tuumaa) | 2 |
Kohdista kaksi rullavarren asennusreikää kahteen sivulevyn asennusreikään.
Kiinnitä rullakokoonpano sivulevyyn kahdella laippaholkilla, kahdella litteällä aluslaatalla, kahdella kuusiopultilla (⅝ tuumaa) ja kahdella nyloc-mutterilla (⅝ tuumaa).
Note: Rulla koskettaa nurmea muutama senttimetri piikkien ja nurmenpainimien takana.

Vaiheeseen tarvittavat osat:
| Jousikokoonpano | 2 |
| Jousikannatin | 4 |
| Nyloc-mutteri (⅜ tuumaa) | 8 |
| Lukkopultti (⅜ tuumaa) | 8 |
Kiinnitä jousikokoonpano koneen vasemmalla puolella sivulevyyn ja rullavarteen kahdella jousikannattimella, kahdella lukkopultilla (⅜ tuumaa) ja kahdella nyloc-mutterilla (⅜ tuumaa). Toista koneen oikealla puolella.

Rasvaa kukin rullan liitin litiumpohjaisella yleisrasvalla nro 2, noin 15 ml kuhunkin päähän.
Löysää kahta alempaa nyloc-mutteria (⅜ tuumaa), joilla kaavinvarret on kiinnitetty rullavarsiin. Säädä rullan kaavinta, kunnes rullan ja kaapimen välys on noin 0,15 cm. Kiristä nyloc-mutteri.

Kiristä kaikki kiinnikkeet.
Note: Jousi on säädetty tehtaalla valmiiksi, mutta rullan asianmukaisen alaspäin kohdistuvan paineen voi varmistaa tarkistamalla, että kokoon puristuneen jousen pituus on 38,1 cm. Säädä tarpeen mukaan.Jousen säädön lyhentäminen ei lisää alaspäin kohdistuvaa painetta käytön aikana. Se nostaa kuljetuskorkeutta ja lisää maakosketuksen viivettä, kun ilmastusyksikkö kytketään käyttöön.