Parker maskinen på en jevn flate.
Hev luftehodet.
Slå av motoren.
Sett på parkeringsbremsen.
Ta ut nøkkelen og vent til alle bevegelige deler har stoppet.
Deler som er nødvendige for dette trinnet:
| Sideplate | 2 |
| Sekskantbolt (⅜ tomme) | 4 |
| Nylock-mutter (⅜ tomme) | 4 |
Fest servicelåsen for luftehodet.
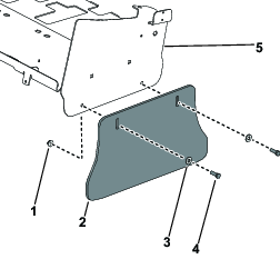
Fra venstre side av maskinen fjerner og beholder du de to sekskantboltene (⅜ tomme), to skivene og to flensemutterne (⅜ tomme) for å feste sidebeskyttelsen til luftehodet. Fjern sidebeskyttelsen fra luftehodet. Gjenta på høyre side av maskinen.

Fra venstre side av maskinen monterer du sideplaten på luftehodet. Fest den med to sekskantbolter (⅜ tomme) og to nylock-muttere (⅜ tomme). Gjenta på høyre side av maskinen.

Deler som er nødvendige for dette trinnet:
| Valseenhet | 1 |
| Fjærskive | 2 |
| Valsearm | 2 |
| Herdet skive | 1 |
| Valseakselskrue | 2 |
| Smørenippel (hvis ikke tidligere montert) | 2 |
| Valseskrape | 1 |
| Skrapearmer | 2 |
| Vognskrue (⅜ tomme) | 4 |
| Nylock-mutter (⅜ tomme) | 4 |
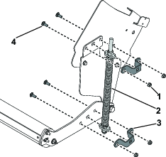
Sett fjærskiven på hver ende av valseakselen (Figur 3).
Sett en valsearm på hver ende av valseakselen (Figur 3).
Fest valsearmen til de to valseakslene med den herdede skiven (kun høyre side) og to valseakselskruer. Tre de to smøreniplene på de to valseakselskruene hvis de ikke er montert tidligere (Figur 3).
Sett monteringstappene for valseskrapen på sporene i hver av skraparmene (Figur 3).
Monter skrapearmene på valsearmene (Figur 3).
På venstre side av valsearmen fester du skrapearmen til valsearmen med to låseskruer (⅜ tommer) og to nylock-muttere (⅜ tommer) (Figur 3). Gjenta på høyre valsearm.

Deler som er nødvendige for dette trinnet:
| Flensfôring | 2 |
| Flat skive | 2 |
| Sekskantbolt (⅝ tomme) | 2 |
| Nylock-mutter (⅝ tomme) | 2 |
Juster de to monteringshullene på valsearmen etter de to monteringshullene på sideplaten.
Fest valseenheten til sideplaten med de to flensfôringene, to flate skivene, to sekskantboltene (⅝ tomme) og to nylock-mutterne (⅝ tomme).
Note: Valsen kommer i kontakt med gresset noen få tommer bak piggene og gressholderne.

Deler som er nødvendige for dette trinnet:
| Fjærenhet | 2 |
| Fjærbrakett | 4 |
| Nylock-mutter (⅜ tomme) | 8 |
| Låsebolt (⅜ tomme) | 8 |
Fra venstre side av maskinen fester du fjærenheten til sideplaten og valsearmen med de to fjærbrakettene, to låseboltene (⅜ tomme) og to nylock-mutterne (⅜ tomme). Gjenta på høyre side av maskinen.

Smør hver valsenippel med et nr. 2 litiumbasert smørefett, ca. 15 ml per ende.
Løsne de to nedre nylock-mutterne (⅜ tommer) som fester skrapearmene til valsearmene. Juster valseskraperen til det er ca. 0,15 cm klaring mellom valsen og skraperen. Stram til nylock-mutteren.

Stram alle festene.
Note: Fjæren er forhåndsjustert ved fabrikken, men for å sikre riktig nedtrykk på valsen må du kontrollere at den komprimerte fjærlengden er 38,1 cm. Juster etter behov.Forkorting av fjærjusteringen øker ikke driftsnedovertrykket. Den vil heve transporthøyden og forsinke kontakten med bakken når du aktiverer luftehodet.