Aparque la máquina en una superficie nivelada.
Eleve el cabezal de perforación.
Apague el motor.
Ponga el freno de estacionamiento.
Retire la llave y espere a que se detengan todas las piezas en movimiento.
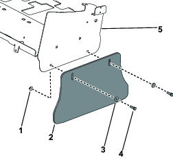
Piezas necesarias en este paso:
| Placa lateral | 2 |
| Perno de cabeza hexagonal (⅜") | 4 |
| Tuerca nyloc (⅜") | 4 |
Cierre el cerrojo de mantenimiento del cabezal de perforación.
Desde el lado izquierdo de la máquina, retire y guarde los 2 pernos de cabeza hexagonal (⅜"), las 2 arandelas, y las 2 tuercas con arandela prensada (⅜") que sujetan el protector lateral al cabezal de perforación. Retire el protector lateral del cabezal de perforación. Repita este procedimiento en el lado derecho de la máquina.

Desde el lado izquierdo de la máquina, instale la placa lateral en el cabezal de perforación; sujételo con 2 pernos de cabeza hexagonal (⅜") y 2 tuercas nyloc (⅜"). Repita este procedimiento en el lado derecho de la máquina.

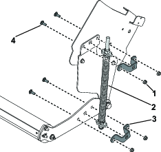
Piezas necesarias en este paso:
| Conjunto del rodillo | 1 |
| Arandela de muelle | 2 |
| Brazo del rodillo | 2 |
| Arandela endurecida | 1 |
| Tornillo del eje del rodillo | 2 |
| Engrasador (si no se montó anteriormente) | 2 |
| Rascador de rodillo | 1 |
| Brazos del rascador | 2 |
| Tornillo de cuello cuadrado (⅜") | 4 |
| Tuerca nyloc (⅜") | 4 |
Coloque la arandela de muelle en cada extremo del eje del rodillo (Figura 3).
Coloque un brazo de rodillo en cada extremo del eje del rodillo (Figura 3).
Sujete el brazo del rodillo a los 2 ejes del rodillo con la arandela endurecida (lado derecho solamente) y los 2 tornillos del eje del rodillo. Enrosque los 2 engrasadores en los 2 tornillos del eje del rodillo si no se montaron anteriormente (Figura 3).
Introduzca las pestañas de montaje del rascador de rodillo en las ranuras de cada uno de los brazos del rascador (Figura 3).
Instale los brazos del rascador en los brazos del rodillo (Figura 3).
En el lado izquierdo del brazo del rodillo, sujete el brazo del rascador al brazo del rodillo con 2 tornillos de cuello cuadrado (⅜") y 2 tuercas nyloc (⅜") (Figura 3). Repita este procedimiento en el brazo de rodillo derecho.

Piezas necesarias en este paso:
| Casquillo con brida | 2 |
| Arandela plana | 2 |
| Perno de cabeza hexagonal (⅝") | 2 |
| Tuerca nyloc (⅝") | 2 |
Alinee los 2 orificios de montaje de los brazos del rodillo con los 2 orificios de montaje de la placa lateral.
Sujete el conjunto del rodillo a la placa lateral con los 2 casquillos con arandela prensada, 2 arandelas planas, 2 pernos de cabeza hexagonal (⅝") y 2 tuercas nyloc (⅝").
Note: El rodillo toca el césped unos centímetros por detrás de los taladros y las pletinas de sujeción del césped.

Piezas necesarias en este paso:
| Conjunto del muelle | 2 |
| Soporte del muelle | 4 |
| Tuerca nyloc (⅜") | 8 |
| Perno de cuello cuadrado (⅜") | 8 |
Desde el lado izquierdo de la máquina, sujete el conjunto del muelle a la placa lateral y al brazo del rodillo con los 2 soportes de muelle, 2 pernos de cuello cuadrado (⅜") y 2 tuercas nyloc (⅜"). Repita este procedimiento en el lado derecho de la máquina.

Engrase cada engrasador del rodillo con grasa de litio Nº 2, aproximadamente 15 ml (0.5 onzas fluidas) en cada extremo.
Afloje las 2 tuercas nyloc inferiores (⅜") que sujetan los brazos del rascador a los brazos del rodillo. Ajuste el rascador del rodillo hasta que quede aproximadamente 0.15 cm (0.060") de holgura entre el rodillo y el rascador. Apriete la tuerca nyloc.

Apriete todas las fijaciones.
Note: El muelle viene ajustado de fábrica, pero para asegurar una presión descendente correcta sobre el rodillo, compruebe que la longitud del muelle comprimido es de 38.1 cm (15"). Ajuste según sea necesario.El acortamiento del muelle no aumenta la presión descendente. Eleva la altura de transporte y produce una demora en el contacto con el suelo al engranarse el cabezal de perforación.