Parkeer de machine op een horizontaal oppervlak.
Haal de boorkop omhoog.
Zet de motor af.
Haal de parkeerrem aan.
Verwijder het contactsleuteltje en wacht totdat alle bewegende onderdelen tot stilstand zijn gekomen.
Benodigde onderdelen voor deze stap:
| Zijplaat | 2 |
| Zeskantbout (⅜") | 4 |
| Nylock-moer (⅜") | 4 |
Maak de vergrendeling van de boorkop vast.
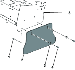
Aan de linkerkant van de machine verwijdert u de 2 zeskantbouten (⅜"), 2 sluitringen en 2 flensmoeren (⅜") waarmee de zijafscherming aan de boorkop is bevestigd. Bewaar alle onderdelen. Haal de zijafscherming van de boorkop af. Herhaal dit aan de rechterkant van de machine.

Aan de linkerkant van de machine bevestigt u de zijplaat aan de boorkop met 2 zeskantbouten (⅜") en 2 Nylock-moeren (⅜"). Herhaal dit aan de rechterkant van de machine.Herhaal dit aan de rechterkant van de machine.

Benodigde onderdelen voor deze stap:
| Rol | 1 |
| Veerring | 2 |
| Rolarm | 2 |
| Geharde ring | 1 |
| Schroef rolas | 2 |
| Smeernippel (indien niet eerder gemonteerd) | 2 |
| Rolschraper | 1 |
| Schraperarmen | 2 |
| Slotschroef (⅜") | 4 |
| Nylock-moer (⅜")Nylock-moer (⅜") | 4 |
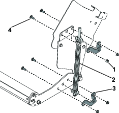
Breng een veerring aan op elk uiteinde van de rolas (Figuur 3).
Breng een rolarmas aan op elk uiteinde van de rolas (Figuur 3).
Bevestig de rolarm aan de 2 rolassen met de geharde ring (alleen rechterkant) en de 2 rolasschroeven. Schroef de 2 smeernippels op de 2 rolasschroeven, indien niet eerder gemonteerd (Figuur 3).
Steek de bevestigingslipjes van de rolschraper in de gleuven van elk van de schraperarmen (Figuur 3).
Bevestig de schraperarmen aan de rolarmen (Figuur 3).
Aan de linkerkant van de rolarm zet u de schraperarm vast aan de rolarm met 2 slotschroeven (⅜") en 2 Nylock-moeren (⅜") (Figuur 3). Herhaal dit bij de rechter rolarm.

Benodigde onderdelen voor deze stap:
| Flenslager | 2 |
| Platte ring | 2 |
| Zeskantbout (5/8") | 2 |
| Nylock-moer (5/8") | 2 |
Lijn de 2 bevestigingsgaten van de rollerarm uit met de 2 bevestigingsgaten van de zijplaat.
Bevestig de rol aan de zijplaat met de 2 flensbussen, 2 platte ringen, 2 zeskantbouten (5/8") en 2 borgmoeren (5/8").
Note: De rol raakt de grasmat een paar centimeter achter de tanden en grasmatbevestigingen.

Benodigde onderdelen voor deze stap:
| Veer | 2 |
| Veerbeugel | 4 |
| Nylock-moer (3/8")Nylock-moer (⅜") | 8 |
| Slotbout (⅜") | 8 |
Aan de linkerkant van de machine bevestigt u de veer aan de zijplaat en de rolarm met de 2 veerbeugels, 2 slotbouten (⅜") en 2 borgmoeren (⅜"). Herhaal dit aan de rechterkant van de machine.Herhaal dit aan de rechterkant van de machine.

Smeer elke rolfitting in met vet op lithiumbasis nummer 2, ongeveer 15 ml aan elk uiteinde.
Draai de 2 onderste Nylock-moeren (⅜") los waarmee de schraperarmen aan de rolarmen zijn bevestigd. Stel de rolschraper af tot er ongeveer 0,15 cm afstand is tussen de rol en de schraper. Draai de Nylock-moer vast.

Bevestig alle bevestigingsmaterialen.
Note: De veer is in de fabriek ingesteld, maar om een goede neerwaartse druk op de rol te verkrijgen, moet u controleren of de lengte van de ingedrukte veer 38,1 cm is. Indien nodig afstellen.Het inkorten van de veerafstelling verhoogt de neerwaartse werkdruk niet. Het verhoogt de transporthoogte en vertraagt het contact met de grond bij het inschakelen van de boorkop.