Parker maskinen på en plan overflade.
Hæv kernehovedet.
Sluk derefter motoren.
Aktiver parkeringsbremsen.
Tag nøglen ud, og vent, til alle bevægelige dele er standset.
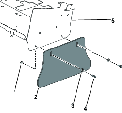
Dele, der skal bruges til dette trin:
| Sideplade | 2 |
| Sekskantbolt (⅜") | 4 |
| Nylock-møtrik (⅜") | 4 |
Fastgør kernehovedets servicelås.
Fjern og behold de 2 sekskantbolte (⅜"), 2 spændeskiver og 2 flangemøtrikker (⅜"), der fastgør sideskærmen til kernehovedet, fra venstre side af maskinen. Fjern sideskærmen fra kernehovedet. Gentag proceduren på maskinens højre side.

Fra venstre side af maskinen monteres sidepladen på kernehovedet. Fastgør den med 2 sekskantbolte (⅜") og 2 nylock-møtrikker (⅜"). Gentag proceduren på maskinens højre side.

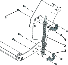
Dele, der skal bruges til dette trin:
| Rulleenhed | 1 |
| Fjederskive | 2 |
| Rullearm | 2 |
| Hærdet spændeskive | 1 |
| Rulleakselskrue | 2 |
| Smørenippel (hvis ikke allerede samlet) | 2 |
| Rulleskraber | 1 |
| Skraberarme | 2 |
| Bræddeskrue (⅜") | 4 |
| Nylock-møtrik (⅜") | 4 |
Sæt fjederskiven på hver ende af rulleakslen (Figur 3).
Indsæt en rullearm på hver ende af rulleakslen (Figur 3).
Fastgør rullearmen til de 2 rulleaksler med den hærdede spændeskive (kun højre side) og 2 rulleakselskruer. Skru de 2 smørenipler på de 2 rulleakselskruer, hvis de ikke allerede er samlet (Figur 3).
Indsæt rulleskraberens monteringsstapper i åbningerne i hver af skraberarmene (Figur 3).
Monter skraberarmene på rullearmene (Figur 3).
Fastgør skraberarmen til rullearmen på venstre side af rullearmen med 2 bræddeskruer (⅜") og 2 nylock-møtrikker (⅜") (Figur 3). Gentag proceduren på højre rullearm.

Dele, der skal bruges til dette trin:
| Flangebøsning | 2 |
| Flad spændeskive | 2 |
| Sekskantbolt (⅝") | 2 |
| Nylock-møtrik (⅝") | 2 |
Ret de 2 monteringshuller på rullearmen ind efter de 2 monteringshuller på sidepladen.
Fastgør rulleenheden til sidepladen med de 2 flangebøsninger, 2 flade spændeskiver, 2 sekskantbolte (⅝") og 2 nylock-møtrikker (⅝").
Note: Rullen kommer i kontakt med plænen nogle centimeter bag tinerne og plæneforankringerne.

Dele, der skal bruges til dette trin:
| Fjederenhed | 2 |
| Fjederbeslag | 4 |
| Nylock-møtrik (⅜") | 8 |
| Bræddebolt (⅜") | 8 |
Fra venstre side af maskinen fastgøres fjederenheden til sidepladen og rullearmen med de 2 fjederbeslag, 2 bræddebolte (⅜") og 2 nylock-møtrikker (⅜"). Gentag proceduren på maskinens højre side.

Smør hver rullenippel med en litiumbaseret fedt nr. 2, ca. 15 ml i hver ende.
Løsn de 2 nederste nylock-møtrikker (⅜"), der fastgør skraberarmene til rullearmene. Juster rulleskraberen, indtil der er en afstand på ca. 0,15 cm mellem rullen og skraberen. Tilspænd nylock-møtrikken.

Tilspænd alle fastgørelsesanordningerne.
Note: Fjederen forhåndsjusteres på fabrikken, men for at sikre korrekt nedadgående tryk på rullen skal det kontrolleres, at fjederens sammentrykkede længde er 38,1 cm. Juster efter behov.En afkortning af fjederjusteringen øger ikke det nedadgående driftstryk. Det hæver transporthøjden og forsinker kontakten med jorden, når kernehovedet aktiveres.