Parcheggiate la macchina su un terreno pianeggiante.
Sollevate la testa di carotaggio.
Spegnete il motore.
Inserite il freno di stazionamento.
Togliete la chiave e attendete che tutte le parti in movimento siano ferme.
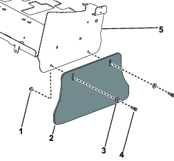
Parti necessarie per questa operazione:
| Piastra laterale | 2 |
| Bullone a testa esagonale (⅜") | 4 |
| Dado Nyloc (⅜") | 4 |
Fissate lo sportello di servizio della testa di carotaggio.
Dal lato sinistro della macchina, rimuovete e mettete da parte i 2 bulloni a testa esagonale (⅜"), le 2 rondelle e i 2 dadi flangiati (⅜") che fissano lo schermo laterale alla testa di carotaggio. Rimuovete lo schermo laterale dalla testa di carotaggio. Ripetete la procedura sul lato destro della macchina.

Dal lato sinistro della macchina, installate la piastra laterale sulla testa di carotaggio; fissatela con 2 bulloni a testa esagonale (⅜") e 2 dadi Nyloc (⅜"). Ripetete la procedura sul lato destro della macchina.

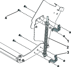
Parti necessarie per questa operazione:
| Gruppo rullo | 1 |
| Rondella elastica | 2 |
| Braccio rullo | 2 |
| Rondella rinforzata | 1 |
| Vite dell'albero del rullo | 2 |
| Raccordo d'ingrassaggio (se non è già stato montato) | 2 |
| Raschiarullo | 1 |
| Bracci raschiarullo | 2 |
| Vite a testa tonda (⅜") | 4 |
| Dado Nyloc (⅜") | 4 |
Inserite la rondella elastica su ciascuna estremità dell'albero del rullo (Figura 3).
Inserite un braccio rullo su ciascuna estremità dell'albero del rullo (Figura 3).
Fissate il braccio rullo ai 2 alberi dei rulli con la rondella rinforzata (solo lato destro) e le 2 viti dell'albero del rullo. Se non è stato già fatto, avvitate i 2 raccordi d'ingrassaggio sulle 2 viti dell'albero del rullo (Figura 3).
Inserite le linguette di montaggio del raschiarullo nelle fessure su ciascuno dei bracci raschiarullo (Figura 3).
Installate i bracci raschiarullo sui bracci rullo (Figura 3).
Fissate il braccio raschiarullo al braccio rullo di sinistra con 2 viti a testa tonda (⅜") e 2 dadi Nyloc (⅜") (Figura 3). Fate lo stesso sul braccio rullo di destra.

Parti necessarie per questa operazione:
| Boccola flangiata | 2 |
| Rondella piana | 2 |
| Bullone a testa esagonale (5/8") | 2 |
| Dado Nyloc (⅝") | 2 |
Allineate i 2 fori di montaggio del braccio rullo con i 2 fori di montaggio della piastra laterale.
Fissate il gruppo rullo alla piastra laterale con le 2 boccole flangiate, le 2 rondelle piane, i 2 bulloni a testa esagonale (⅝") e i 2 dadi Nyloc (⅝").
Note: Il rullo dovrà essere a contatto con il manto erboso qualche centimetro più indietro rispetto ai denti e ai distanziatori per il manto erboso.

Parti necessarie per questa operazione:
| Gruppo molla | 2 |
| Staffa a molla | 4 |
| Dado Nyloc (⅜") | 8 |
| Bullone a testa tonda (⅜") | 8 |
Dal lato sinistro della macchina, fissate il gruppo molla alla piastra laterale e al braccio rullo con le 2 staffe a molla, i 2 bulloni a testa tonda (⅜") e i 2 dadi Nyloc (⅜"). Ripetete la procedura sul lato destro della macchina.

Ingrassate ciascun raccordo del rullo con un grasso a base di litio numero 2, utilizzando circa 15 ml per ciascuna estremità.
Allentate i 2 dadi Nyloc (⅜") inferiori fissando i bracci raschiarullo ai bracci rullo. Regolate il raschiarullo fino a quando lo spazio tra il rullo e il raschiarullo non è pari a circa 0,15 cm. Serrate il dado Nyloc.

Serrate tutti i dispositivi di fissaggio.
Note: La molla è già regolata in fabbrica, ma per garantire una pressione verso il basso sufficiente del rullo, verificate che la lunghezza della molla compressa sia pari a 38,1 cm. Regolate secondo necessità.Ridurre la regolazione della molla non aumenterà la pressione verso il basso durante il funzionamento. Aumenterà invece l'altezza di trasporto e ritarderà il contatto con il terreno quando attiverete la testa di carotaggio.