Stellen Sie die Maschine auf einer ebenen Fläche ab.
Heben Sie den Aerifizierkopf an.
Stellen Sie den Motor ab.
Aktivieren Sie die Feststellbremse.
Ziehen Sie den Schlüssel ab und warten Sie, bis alle sich bewegenden Teile zum Stillstand gekommen sind.
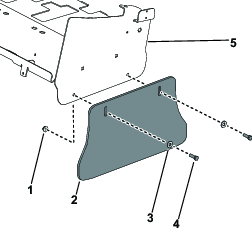
Für diesen Arbeitsschritt erforderliche Teile:
| Seitenplatte | 2 |
| Sechskantschraube (⅜") | 4 |
| Nylock-Mutter (⅜") | 4 |
Sichern Sie den Wartungsriegel des Aerifizierkopfs.
Entfernen Sie auf der linken Seite der Maschine die beiden Sechskantschrauben (⅜"), Unterlegscheiben und Flanschmuttern (⅜"), mit denen die Seitenabdeckung am Aerifizierkopf befestigt ist, und bewahren Sie diese auf. Entfernen Sie die Seitenabdeckung vom Aerifizierkopf. Wiederholen Sie die Schritte an der rechten Seite der Maschine.

Montieren Sie die Seitenplatte von der linken Seite der Maschine aus am Aerifizierkopf, befestigen Sie sie mit zwei Sechskantschrauben (⅜") und zwei Nylock-Muttern (⅜"). Wiederholen Sie die Schritte an der rechten Seite der Maschine.

Für diesen Arbeitsschritt erforderliche Teile:
| Rolle | 1 |
| Federscheibe | 2 |
| Rollenarm | 2 |
| Gehärtete Scheibe | 1 |
| Rollenwellenschraube | 2 |
| Schmiernippel (falls nicht bereits montiert) | 2 |
| Rollenabstreifer | 1 |
| Abstreiferarme | 2 |
| Schlossschraube (⅜") | 4 |
| Nylock-Mutter (⅜") | 4 |
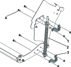
Setzen Sie die Federscheibe auf jedes Ende der Rollenwelle (Bild 3).
Setzen Sie einen Rollenarm auf jedes Ende der Rollenwelle (Bild 3).
Befestigen Sie den Rollenarm mit der gehärteten Unterlegscheibe (nur auf der rechten Seite) und den beiden Rollenwellenschrauben an den beiden Rollenwellen. Schrauben Sie die beiden Schmiernippel auf die beiden Schrauben der Rollenwelle, falls diese noch nicht montiert sind (Bild 3).
Stecken Sie die Befestigungslaschen des Rollenabstreifers in die Schlitze an den Abstreiferarmen (Bild 3).
Befestigen Sie die Abstreiferarme an den Rollenarmen (Bild 3).
Befestigen Sie den Abstreiferarm auf der linken Seite des Rollenarms mit zwei Schlossschrauben (⅜") und zwei Sicherungsmuttern (⅜") (Bild 3) am Rollenarm. Wiederholen Sie den Vorgang für den rechten Rollenarm.

Für diesen Arbeitsschritt erforderliche Teile:
| Bundbuchse | 2 |
| Flachscheibe | 2 |
| Sechskantschraube (⅝") | 2 |
| Nylock-Mutter (⅝") | 2 |
Richten Sie die beiden Befestigungslöcher des Rollenarms auf die neiden Befestigungslöcher der Seitenplatte aus.
Befestigen Sie die Rolleneinheit mit den beiden Flanschbuchsen, zwei Unterlegscheiben, zwei Sechskantschrauben (⅝") und 2 Sicherungsmuttern (⅝") an der Seitenplatte.
Note: Die Rolle berührt die Grasnarbe einige Zentimeter hinter den Zinken und den Grasnarbenniederhaltern.

Für diesen Arbeitsschritt erforderliche Teile:
| Federbaugruppe | 2 |
| Federhalterung | 4 |
| Nylock-Mutter (⅜") | 8 |
| Schlossschraube (⅜") | 8 |
Befestigen Sie die Federbaugruppe von der linken Seite der Maschine aus mit den beiden Federhalterungen, zwei Schlossschrauben (⅜") und zwei Sicherungsmuttern (⅜") an der Seitenplatte und dem Rollenarm. Wiederholen Sie die Schritte an der rechten Seite der Maschine.

Fetten Sie jeden Rollenanschluss mit Schmierfett auf Lithiumbasis Nr. 2 ein, etwa 15 ml pro Anschluss.
Lösen Sie die beiden unteren Sicherungsmuttern (⅜"), mit denen die Abstreiferarme an den Rollenarmen befestigt sind. Stellen Sie den Rollenabstreifer so ein, dass zwischen der Rolle und dem Abstreifer eine lichte Weite von ca. 1,5 mm besteht. Ziehen Sie die Nylock-Mutter fest.

Ziehen Sie alle Befestigungselemente an.
Note: Die Feder ist werksseitig voreingestellt. Um jedoch den richtigen Druck auf die Rolle zu gewährleisten, sollten Sie sicherstellen, dass die Länge des zusammengedrückten Federpakets 38,1 cm beträgt. Führen Sie die erforderlichen Einstellungen aus.Eine Verkürzung der Federeinstellung führt nicht zu einer Erhöhung des Andrucks. Sie erhöht die Transporthöhe und verzögert den Bodenkontakt beim Einkuppeln des Aerifizierkopfs.