平らな場所に駐車する。
コアリングヘッドを上昇させる。
エンジンを停止する。
駐車ブレーキを掛ける。
キーを抜き取って各部が完全に停止するのを待つ。
この作業に必要なパーツ
| サイドプレート | 2 |
| 六角ヘッドボルト(⅜") | 4 |
| ナイロックナット(⅜") | 4 |
コアリングヘッドを整備用ラッチで固定する。
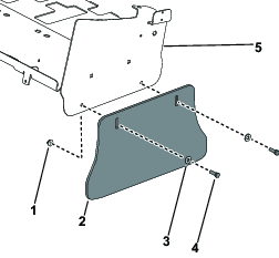
サイドシールドをコアリングヘッドに固定している六角ヘッドボルト(⅜")2本、ワッシャ 2枚、フランジナット(⅜")2個を、マシンの左側から外して保管する。コアリングヘッドからサイドシールドを外す。マシンの反対側についても同じ作業を行う。

マシンの左側で、コアリングヘッドにサイドプレートを取り付ける;六角ヘッドボルト(3/8")2本とライロックナット(⅜”)2個で固定する。 マシンの反対側についても同じ作業を行う。

この作業に必要なパーツ
| ローラアセンブリ | 1 |
| スプリングワッシャ | 2 |
| ローラアーム | 2 |
| 硬化ワッシャ | 1 |
| ローラシャフトのねじ | 2 |
| グリスフィッティング(取り付けられていない場合) | 2 |
| ローラスクレーパ | 1 |
| スクレーパアーム | 2 |
| キャリッジねじ(⅜") | 4 |
| ナイロックナット(⅜") | 4 |
ローラシャフトの両端それぞれにスプリングワッシャを挿入する(図 3)。
ローラシャフトの両端それぞれにローラアームを挿入する(図 3)。
ローラアームを、ローラシャフト(2本)に固定する;硬化ワッシャ(右側のみ)とローラシャフト用ねじを使用する。 ローラシャフト用ねじにグリスフィッティングが付いていない場合には、グリスフィッティングを取り付ける(図 3)。
各スクレーパアームのスロットに、ローラスクレーパ取り付けタブを挿入する(図 3)。
ローラアームにスクレーパアームを挿入する(図 3)。
ローラアームの左側で、スクレーパアームをローラアームに固定する;キャリッジねじ(⅜")2本とナイロックナット(⅜")を使用する(図 3)。 右側ローラアームについても同じ作業を行う。

この作業に必要なパーツ
| フランジブッシュ | 2 |
| 平ワッシャ | 2 |
| 六角ヘッドボルト(5/8") | 2 |
| ナイロックナット(⅝") | 2 |
ローラアーム(2本)の取り付け穴を、各サイドプレートの取り付け穴に整列させる。
サイドプレートにローラアセンブリを固定する;フランジブッシュ(2個)、平ワッシャ(2枚)、六角ヘッドボルト(⅝")2本、ナイロックナット(⅝”)2個を使用する。
Note: ローラは、タインの少し後方でターフに接触してターフを押さえつけます。

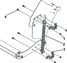
この作業に必要なパーツ
| スプリングアセンブリ | 2 |
| スプリングブラケット | 4 |
| ナイロックナット(⅜") | 8 |
| キャリッジボルト(⅜") | 8 |
マシンの左側で、サイドプレートとローラアームにスプリングアセンブリを固定する;スプリングブラケット 2個、キャリッジボルト(⅜")2本、ナイロックナット(⅜")2個を使用する。 マシンの反対側についても同じ作業を行う。

各ローラのフィッティングに、リチウム系 2 号グリスを注入する;一か所あたりおよそ 15 ml 注入する。
スクレーパアームをローラアームに固定している下側ナイロックナット(⅜")2個をゆるめる。ローラスクレーパとローラとの間がおよそ 1.5 mm になるように、ローラスクレーパを調節する。ナイロックナットを締める。

各締め具を本締めする。
Note: スプリングは出荷時に調整済みですが、念のために、圧縮時の長さが 38.1 cm になることを確認し、必要に応じて正しく調整してください。スプリングを短くしても押圧は大きくなりません。移動走行時の高さが高くなり、コアリングヘッドが動作したときのターフとの接触に遅れが生じるようになります。