El Kit AutoSteer es un accesorio para el sistema de fumigación GeoLink™, utilizado con un vehículo de fumigación del césped, y está diseñado para ser usado por operadores profesionales contratados en aplicaciones comerciales. Está diseñado principalmente para fumigar en césped bien mantenido en parques, campos de golf, campos deportivos y zonas verdes comerciales El uso de este producto para otros propósitos que los previstos podría ser peligroso para usted y para otras personas.
Visite www.toro.com para buscar materiales de formación y seguridad o información sobre accesorios, para localizar un distribuidor o para registrar su producto.
Los productos químicos son peligrosos y pueden causar lesiones personales.
Lea las instrucciones de las etiquetas de los productos químicos antes de manipular éstos, y siga todas las recomendaciones y precauciones del fabricante.
Evite el contacto de los productos químicos con la piel. Si entran en contacto con la piel, lave a fondo la zona afectada con jabón y agua limpia.
Lleve gafas protectoras y cualquier otro equipo de protección indicado por el fabricante del producto químico.
Estacione la máquina en una superficie nivelada.
Ponga el freno de estacionamiento.
Asegúrese de que los neumáticos están orientados hacia adelante en línea recta.
Pare el motor y retire la llave.
Espere a que se detenga todo movimiento antes de abandonar el asiento del operador.
Limpie el fumigador; consulte Limpieza del fumigador, en el Manual del operador de la máquina.
Deje que los componentes de la máquina se enfríen.
Gire la llave de contacto a la posición de MARCHA (gasolina) o PRECALENTAMIENTO/MARCHA (diésel).
Pulse el icono ACERCA DE (Toro) en la esquina superior izquierda de la consola de control (Figura 1).

Si la versión del software es correcta, el cuadro de diálogo Acerca de muestra la versión del software 4.04 o superior.
Note: Si las versiones de software son diferentes, póngase en contacto con el centro de asistencia técnica de Toro.
Vaya a www.danfoss.com.
Vaya a la página web de PVED CLS.
En la lista DOWNLOADS (descargas), descargue el archivo "PVED CLS 2.00 firmware release package" a su portátil.
En su portátil, extraiga el archivo "PVED CLS 2.00 firmware release package.zip".
En la carpeta de archivos extraídos, vaya a la carpeta VED-CLS 2.00 firmware release package\PVED-CLS 2.00 firmware release package\Service tool.
Abra el archivo “Plus+1 Guide Service Tool User Guide”.
Vaya a la página System Requirements (Requisitos del sistema).
Note: Asegúrese de que su portátil cumple los requisitos de hardware antes de instalar la herramienta Plus+1 Guide Service Tool.
En la carpeta de archivos extraídos, vaya a la carpeta \PVED-CLS 2.00 firmware release package\PVED-CLS 2.00 firmware release package\Service tool.
Copie el archivo PVED-CLS_2.00_REV_D.P1D al escritorio del portátil.
Vaya a www.danfoss.com.
Haga clic en el enlace Products, y haga clic en el enlace Software.
En la página Software, haga clic en el enlace "PLUS+1® software".
Amplíe la sección "PLUS+1® software products", y haga clic en el formulario "Service Tool Request" (Solicitud de Herramienta de Mantenimiento).
Rellene el formulario "Service Tool Request" y haga clic en el icono "Request PLUS+1 Service Tool" (Solicitar la Herramienta de mantenimiento PLUS+1).
Note: Recibirá un correo electrónico. Verifique su solicitud haciendo clic en el enlace de verificación (en rojo). Se abre la página Danfoss Power Solutions Subscription en su navegador.
Haga clic en el enlace "Products", y haga clic en el enlace "Software".
En la página "Software", haga clic en el enlace "PLUS+1® software".
En la sección "PLUS+1® software products", amplíe la lista "Service Tool", y haga clic en el enlace "Request" (Solicitar).
Rellene el formulario "Service Tool Request" y haga clic en el icono "Request PLUS+1 Service Tool" (Solicitar la Herramienta de mantenimiento PLUS+1).
Note: Recibirá otro correo electrónico.
Important: La persona que instale la PLUS+1 Service Tool debe tener privilegios de administrador en el portátil.
Note: Consulte la "PLUS+1 Service tool user guide" si desea más información.
En el segundo mensaje de correo electrónico, haga clic en el enlace "PLUS+1 Service Tool Download".
Note: En su navegador web se abre un cuadro de diálogo.
En el cuadro de diálogo, haga clic en el icono ABRIR.
Haga doble clic en el archivo de configuración: “PLUS+1 Service Tool 9.1.6 setup.exe” y haga clic en el icono RUN (Ejecutar).
Note: El portátil muestra el cuadro de diálogo del asistente de configuración.
Utilice el asistente de configuración para instalar el software “PLUS+1 Service Tool”.
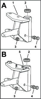
Piezas necesarias en este paso:
| Mangueta izquierda | 1 |
| Casquillo | 2 |
| Engrasador | 1 |
| Pivote de dirección | 1 |
| Chaveta (1¼" x ⅛" – del kit Modelo 41636) | 2 |
| Chaveta (1½" x 5/32" – del kit Modelo 41636) | 1 |
Eleve la máquina y apóyela sobre gatos fijos; consulte el Manual del operador de la máquina.
Retire las 5 tuercas que sujetan el neumático izquierdo y la rueda al cubo de la rueda, y retire la rueda de la máquina (Figura 3).

Retire la chaveta que sujeta la tuerca de seguridad a la rótula del cilindro de dirección, y retire la tuerca de seguridad y la arandela de empuje (Figura 5).
Note: Deseche la chaveta.

Separe la rótula del cilindro del brazo de dirección de la mangueta izquierda (Figura 5).
Retire la chaveta que sujeta la tuerca de seguridad a la rótula de la barra de acoplamiento, y retire la tuerca de seguridad (Figura 6).
Note: Deseche la chaveta.

Separe la rótula de la barra de acoplamiento del brazo de dirección de la mangueta izquierda (Figura 6).
Retire el perno con arandela prensada (5/16" x ⅝") y la arandela (⅜" x ⅞") que sujetan el pivote de dirección a la horquilla del eje delantero (Figura 7).
Note: Guarde el perno con arandela prensada y la arandela para la instalación de la mangueta nueva. Deseche el pivote de dirección antiguo.

Retire el pivote de dirección de la horquilla y de la mangueta izquierda, y retire la mangueta de la horquilla (Figura 7).
Introduzca los 2 casquillos en los extremos del tubo del pivote de dirección de la mangueta (Figura 8).
Note: Asegúrese de que los casquillos están asentados a fondo en la mangueta.

Monte el engrasador en el orificio del tubo del pivote de dirección (Figura 8).
Retire el casquillo de empuje de la parte superior de la mangueta izquierda antigua (Figura 9).

Retire la tuerca (½") que sujeta el perno de tope del eje a la mangueta (Figura 9).
Important: No mueva la otra tuerca montada en el centro del perno de tope.
Note: Ya no necesitará la mangueta izquierda antigua.
Monte el perno de tope del eje y la tuerca en el orificio de la mangueta izquierda nueva (Figura 9).
Sujete el perno de tope a la mangueta (Figura 9) con la tuerca que retiró en el paso 4.
Monte el cojinete de empuje en la parte superior de la mangueta izquierda nueva (Figura 9).
Alinee los orificios del casquillo de empuje y de la mangueta con el orificio de la horquilla del eje (Figura 10).

Monte la mangueta en la horquilla con el pivote de dirección nuevo (Figura 10).
Sujete el pivote de dirección a la horquilla con el perno con arandela prensada (5/16" x ⅝") y la arandela (⅜" x ⅞") que retiró en Retirada de la mangueta, y un nuevo suplemento.
Engrase la mangueta mediante el engrasador del tubo del pivote de dirección; consulte Preparación de la mangueta nueva; consulte en el Manual del operador las especificaciones de la grasa.
Monte la rótula de la barra de acoplamiento en el orificio del brazo de dirección de la mangueta izquierda (Figura 11).

Monte la tuerca de seguridad (½") en la rótula (Figura 11), y apriete la tuerca a 27–34 N∙m (20–25 pies-libra).
Note: Si la ranura de la tuerca y el orificio de la rótula no están alineados, apriete la tuerca hasta que la ranura siguiente quede alineada con el orificio.
Sujete la tuerca de seguridad al extremo de la rótula (Figura 11) con la chaveta (1¼" x ⅛").
Note: Doble ambos extremos de la chaveta.
Monte la rótula del cilindro de dirección en el orificio del brazo de dirección de la mangueta izquierda (Figura 12).

Monte la tuerca de seguridad (12 mm) y la arandela de empuje (½" x 1⅛") en la rótula (Figura 12), y apriete la tuerca a 27–34 N∙m (20–25 pies-libra).
Note: Si la ranura de la tuerca y el orificio de la rótula no están alineados, apriete la tuerca hasta que la ranura siguiente quede alineada con el orificio.
Sujete la tuerca de seguridad al extremo de la rótula (Figura 12) con la chaveta (1¼" x ⅛").
Note: Doble ambos extremos de la chaveta.
Alinee el cubo con la mangueta y deslice el cubo con cuidado sobre la mangueta (Figura 13).

Monte la arandela de empuje y la tuerca de seguridad (1") en la mangueta (Figura 13).
Apriete la tuerca de seguridad a 9 – 180 N∙m (75 – 180 pulgadas-libra).
Afloje la tuerca de seguridad hasta que se aleje de la arandela y el cubo tenga juego longitudinal.
Apriete la tuerca de seguridad a 170 – 226 N∙cm (15 – 20 pulgadas-libra).
Note: Si la ranura de la tuerca y el orificio de la mangueta no están alineados, apriete la tuerca hasta que la ranura siguiente quede alineada con el orificio.
Sujete la tuerca de seguridad a la rótula con la chaveta (Figura 13).
Note: Doble ambos extremos de la chaveta.
Retire el tornillo del extremo del pivote de dirección (Figura 14).
Note: Deseche el tornillo.

Enrosque la herramienta de alineación en la parte superior del pivote de dirección (Figura 14).
Alinee el soporte del sensor sobre la herramienta de alineación y las ranuras de la pestaña de la mangueta (Figura 15).

Monte provisionalmente el soporte en la pestaña (Figura 15) con 2 tornillos con arandela prensada (¼" x ¾") y 2 contratuercas (¼").
Note:
Coloque el soporte en la parte inferior de las ranuras de la pestaña de la mangueta, y apriete los tornillos con arandela prensada y las contratuercas (Figura 15).
Retire la herramienta de alineación (Figura 16).

Enrosque la contratuerca a fondo en el objetivo magnético (Figura 17).

Enrosque el objetivo magnético en la parte superior del pivote de dirección (Figura 17).
Monte el sensor de la posición de la dirección en el soporte del sensor con 2 tornillos de cabeza troncocónica (Nº 4 x ¾") y contratuercas (Nº 4), y apriete los tornillos y las contratuercas (Figura 18).

Ajuste la posición del objetivo magnético hasta que haya una distancia de 4 mm (0.16") entre el objetivo y la cara del sensor (Figura 19).

Gire el objetivo magnético hasta que la línea indicadora marcada en la parte plana del objetivo magnético quede alineada con el orificio de cableado del sensor (Figura 19).
Apriete la contratuerca (Figura 19).
Mida la distancia entre el objetivo y la cara del sensor (Figura 19). La distancia debe ser de 2 mm–7 mm (0.08"–0.27")
Note: Si la distancia es inferior a 2 mm (0.08") o superior a 7 mm (0.27"), ajuste la posición del objetivo magnético, alinee la línea indicadora y apriete la contratuerca.
Alinee los orificios de la rueda con los espárragos del cubo de la rueda (Figura 20).

Monte la rueda en los espárragos con las 5 tuercas de las ruedas y apriételas a mano (Figura 20).
Baje la máquina al suelo y retire los gatos fijos.
Apriete las tuercas de las ruedas en un patrón cruzado a 75 – 102 N∙m (55 – 75 pies-libra).
Desenchufe el conector del faro del arnés de cables de la máquina del conector de la lámpara del faro (Figura 21).

Repita el paso 1 en el otro faro.
Retire las 4 grapas que sujetan la pestaña inferior del capó a la máquina (Figura 22).

Retire los 2 pernos con arandela prensada (5/16" x ¾") que sujetan la pestaña inferior a la máquina (Figura 22).
Retire los 4 tornillos Phillips de cabeza troncocónica (¼" x 1") que sujetan el capó al soporte del salpicadero (Figura 23).

Retire las 2 grapas que sujetan el capó al soporte del salpicadero (Figura 23).
Retire el capó de la máquina (Figura 24).
Note: Guarde el capó, los 2 pernos con arandela prensada y los 4 tornillos Phillips de cabeza troncocónica.

Si está instalado, retire el protector térmico y el protector de bajos de la parte inferior de la máquina; consulte el Manual del operador de la máquina.
Piezas necesarias en este paso:
| Tapón de manguera (plástico) | 1 |
Important: Cuando retire la manguera de aspiración de la bomba hidráulica, debe instalar rápidamente el tapón de la manguera para minimizar la pérdida de fluido hidráulico.
En la parte inferior de la máquina, coloque un recipiente de vaciado debajo de la bomba hidráulica y coloque el tapón cerca de la bomba (Figura 25).

Afloje la abrazadera que sujeta la manguera de aspiración a la bomba hidráulica (Figura 26).

Retire la manguera de aspiración del acoplamiento dentado de la bomba e introduzca el tapón en la manguera (Figura 26).
Sujete el tapón a la manguera con la abrazadera.
Piezas necesarias en este paso:
| Arnés Bus ISO-CAN – 302 cm (119") | 1 |
| Bridas | 12 |
Mire el tipo de cubierta que hay sobre el cable de navegación del sistema GeoLink.

Anote aquí el tipo de cubierta del cable de navegación:
Incline el asiento del pasajero hacia adelante y sujételo con la varilla de sujeción.
Retire los conectores de 2 y 4 pines del arnés de cables de la resistencia de terminación del conector hembra de 2 vías (alimentación conmutada) y del conector hembra de 4 vías (marcado CAN 1/ISOBUS) del arnés GeoLink (Figura 28).


En el lado derecho del radiador, enrute el arnés Bus ISO-CAN hacia arriba, junto al arnés de cables de la máquina, y hacia la consola central (Figura 31).

Enrute el arnés Bus ISO-CAN por debajo de la base de la consola y junto al arnés de cables de la máquina (Figura 32).

Enrute el conector de 3 pines (marcado TO TORO CANBUS) y el conector hembra de 3 vías (marcado CAN PORT A) del arnés Bus ISO-CAN por el orificio de la base de la consola (Figura 32).
Recoja el arnés Bus ISO-CAN como se muestra en la Figura 33.

Sujete el arnés Bus ISO-CAN al arnés de cables de la máquina con 6 bridas.
En la parte delantera de la máquina, alinee el conector de 4 pines del arnés del Bus ISO-CAN – 302 cm (119") marcado TO ISOBUS hacia el panel de instrumentos (Figura 34).

Retire la terminación del Bus ISO del conector hembra de 4 vías del arnés GeoLink marcado CAN 1 ISOBUS TERMINATOR (Figura 35).
Note: Ya no necesitará el tapón.

Enchufe el conector TO ISOBUS del arnés del Bus ISO-CAN en el conector CAN 1 ISOBUS TERMINATOR del arnés GeoLink (Figura 35).
Enrute el otro extremo del arnés del Bus ISO-CAN a través del anillo de goma del suelo (Figura 36).

Sujete el arnés del Bus ISO-CAN al arnés de cables de la máquina con 2 bridas.
En la parte inferior de la máquina, enrute el arnés del Bus ISO-CAN junto al arnés de cables de la máquina (Figura 37).

Sujete el arnés del Bus ISO-CAN al arnés de cables de la máquina con 3 bridas.
Gire hacia adelante el asiento del pasajero y sujételo con la varilla de sujeción.
En el lado derecho del radiador, enrute el arnés del Bus ISO-CAN hacia arriba, junto al arnés de cables de la máquina, y hacia la consola central (Figura 38).

Enrute el arnés del Bus ISO-CAN por debajo de la base de la consola y junto al arnés de cables de la máquina (Figura 39).

Enrute el conector de 3 pines (marcado TO TORO CANBUS) y el conector hembra de 3 vías (marcado CAN PORT A) del arnés del Bus ISO-CAN por el orificio de la base de la consola (Figura 39).
Sujete el arnés del Bus ISO-CAN al arnés de cables de la máquina con 6 bridas.
Retire el tapón del conector hembra de 3 vías del arnés de cables de la máquina (marcado CAN DIAGNOSTICS INTERCONNECT), como se muestra en la Figura 40.

Enchufe el conector de 3 pines del arnés del Bus ISO-CAN (marcado TO TORO CANBUS) en el conector hembra de 3 vías del arnés de cables de la máquina (marcado CAN DIAGNOSTICS INTERCONNECT ), como se muestra en la Figura 40.
Baje el asiento del pasajero.
Retire los 4 tornillos con arandela prensada (¼" x ¾") que sujetan el panel lateral de la consola central, como se muestra en la Figura 41.

Incline el asiento del pasajero hacia adelante y retire el tornillo con arandela prensada trasero inferior (Figura 41).
Retire el panel lateral de la consola central.
Delante del controlador TEC, retire la resistencia de 75Ω del conector hembra de 3 vías (no marcado) del arnés de cables de la máquina (Figura 42).
Note: Guarde la resistencia para su instalación en Instalación del arnés adaptador y la resistencia de terminación.
Note: Se instalará el panel lateral en la consola central cuando se instale el Kit AutoSteer del Fumigador de césped Multi Pro 5800 con GeoLink; consulte las instrucciones de configuración en las Instrucciones de instalación del kit AutoSteer.

Piezas necesarias en este paso:
| Arnés adaptador – 13 cm (5") | 1 |
| Brida | 1 |
En el receptor de satélite, retire la terminación del Bus ISO del conector hembra de 6 vías del arnés GeoLink (Figura 43).
Note: Ya no necesitará la terminación del Bus ISO.

Enchufe el conector de 6 pines del arnés adaptador – 13 cm (5") – en el conector hembra de 6 vías del arnés GeoLink (Figura 43).
Enchufe la resistencia que retiró en Retirada de la resistencia de terminación el conector hembra de 3 vías del arnés adaptador (Figura 44).

Sujete el arnés adaptador al arnés GeoLink con una brida.
Retire los 2 tornillos y las 2 contratuercas que sujetan la guía de las mangueras a la pestaña del compartimento de almacenamiento, y retire la guía (Figura 46).
Note: Deseche los tornillos, las contratuercas y la guía de las mangueras.

Retire las bridas que sujetan las fundas superior e inferior a las mangueras de dirección, y retire las fundas (Figura 47).
Note: Guarde la funda de manguera inferior.

Desconecte las 5 mangueras de dirección de los acoplamientos de la válvula de dirección (Figura 48).

Retire la brida que sujeta las mangueras de dirección al arnés de cables de la máquina (Figura 49).

Retire la cubierta de la válvula de dirección (Figura 50).

Retire los 4 tornillos (8 mm x 20 mm) que sujetan la válvula de dirección a la placa de dirección, y retire la válvula de la placa (Figura 50).
Note: Ya no necesitará la válvula de dirección antigua; guarde la cubierta y los 4 tornillos.
Piezas necesarias en este paso:
| Válvula de dirección | 1 |
Introduzca el husillo de la válvula de dirección nueva a través de la placa de dirección (Figura 51).

Sitúe el acoplamiento del orificio R a la posición de las 3 (Figura 52).

Sujete la válvula a la placa (Figura 51) con los 4 tornillos (8 mm x 20 mm) que retiró en Retirada de la válvula.
Instale la cubierta sobre la válvula de dirección (Figura 51).
Asegúrese de que las ruedas delanteras están alineadas hacia adelante.
Aplique una capa fina de compuesto antigripante al husillo de la válvula de dirección.
Oriente el radio grande del volante hacia abajo, y móntelo sobre el husillo de la válvula de dirección (Figura 53).

Monte la arandela (⅝") y la tuerca (⅝") en el husillo (Figura 53).
Apriete la tuerca a 27 – 35 N∙m (20 – 26 pies-libra).
Monte la tapa en el volante (Figura 53).
Piezas necesarias en este paso:
| Tapón | 1 |
Debajo de la chapa de suelo, retire la tuerca (¼"), la arandela de freno (¼"), la arandela (⅜ x ⅞") y el tornillo (¼" x ⅞") que sujetan la grapa de sujeción de las mangueras hidráulicas a la placa de embrague, y retire la abrazadera (Figura 54).


En el lado derecho de la máquina, retire las contratuercas con arandela prensada (5/16"), el perno de cuello cuadrado (5/16" x 1") y el perno de cuello cuadrado (5/16" x 1½") que sujetan las 2 abrazaderas de sujeción de la manguera de retorno de la válvula de dirección a los soportes del motor, y retire las abrazaderas (Figura 55).


Retire las 2 contratuercas con arandela prensada (5/16") que sujetan las 2 mitades superiores de las abrazaderas, como se muestra en la Figura 56, y retire las mitades de las abrazaderas.

Desconecte la manguera de retorno de la válvula de dirección del acoplamiento en T de la parte inferior del depósito hidráulico (Figura 57).

Instale la tapa en el acoplamiento en T, como se muestra en la Figura 58.

Retire la manguera de retorno de la válvula de dirección de la máquina (Figura 59).
Note: Deseche la manguera de retorno.

Desconecte la manguera de presión delantera del distribuidor de elevación de los brazos del acoplamiento recto del lado izquierdo de la bomba hidráulica (Figura 62).

Desconecte la manguera de presión delantera del distribuidor de elevación de los brazos del pasamuros del extremo trasero del depósito hidráulico (Figura 64).

Retire la manguera de presión delantera de la máquina (Figura 64).
Note: Deseche la manguera de presión.

Desconecte las mangueras del cilindro de dirección de los acoplamientos de 90° de los orificios de extensión y retracción del cilindro de dirección (Figura 65).

Retire las mangueras del cilindro de dirección de la máquina.
Note: Deseche las mangueras del cilindro de dirección.
Piezas necesarias en este paso:
| Soporte del distribuidor | 1 |
| Tornillo con arandela prensada (¼" x ½") | 2 |
| Arandela (¼") | 2 |
| Contratuerca con arandela prensada (¼") | 2 |
| Abrazadera (⅜") | 2 |
| Contratuerca con arandela prensada (⅜") | 4 |
| Pegatina de modelo/serie | 1 |
| Válvula de dirección EHI | 1 |
| Acoplamiento hidráulico recto (-6 x 12 mm) | 2 |
| Acoplamiento hidráulico recto (-8 x 22 mm) | 4 |
| Acoplamiento hidráulico recto (-6 x 18 mm) | 4 |
| Tornillo con arandela prensada (8 mm x 16 mm) | 3 |
Alinee el soporte del distribuidor con la parte delantera de la máquina, como se muestra en la Figura 66.

Alinee los orificios del soporte del distribuidor con las ranuras de la pestaña del compartimento de almacenamiento (Figura 67).
Note: Asegúrese de que el arnés de cables no queda aprisionado entre el soporte y el compartimento.

Monte provisionalmente el soporte del distribuidor en la pestaña (Figura 67) con 2 tornillos con arandela prensada (¼" x ½"), 2 arandelas (¼") y 2 contratuercas con arandela prensada (¼").
Monte provisionalmente el soporte del distribuidor en el tubo de sujeción del salpicadero (Figura 68) con 2 abrazaderas (⅜") y 4 contratuercas con arandela prensada (⅜").

Apriete los tornillos, los abrazaderas y las contratuercas.
Retire el papel protector de la pegatina de modelo/serie.
Coloque la pegatina en el soporte del distribuidor, como se muestra en la Figura 69.

Monte 2 acoplamientos hidráulicos rectos (-6 x 12 mm) en la válvula de dirección EHI (Figura 70) como se indica a continuación:
Orificio LS1
Orificio LS2

Retire los 2 tapones de los orificios P y T de la válvula de dirección EHI (Figura 71).

Monte 4 acoplamientos hidráulicos rectos (-6 x 22 mm) en la válvula (Figura 71) como se indica a continuación:
OrificioP
Orificio T
Orificio P (EF)
Orificio T (EF)
Monte 4 acoplamientos hidráulicos rectos (-6 x 18 mm) en la válvula de dirección EHI (Figura 72) como se indica a continuación:
Orificio CR
Orificio R
Orificio CL
Orificio L

Piezas necesarias en este paso:
| Anillo de goma | 1 |
Incline el asiento del pasajero hacia adelante para tener acceso a la base de la consola (Figura 74).

Introduzca un trozo de chapa metálica de unos 120 mm (4") de ancho a través de la ranura de la varilla de sujeción de la base de la consola, entre la base y el arnés de cables que está debajo.
Note: La chapa metálica protege el arnés de cables durante la perforación de la base de la consola.
Mida 69 mm (2-11/16") hacia atrás desde el orificio cuadrado situado cerca de la ranura de la varilla de sujeción de la base de la consola, y marque la base de la consola (Figura 75).

Mida 45 mm (1-3/46") hacia dentro desde la pestaña ranurada de la base de la consola, y marque la base de la consola (Figura 75).
Marque con un punzón la base de la consola en la intersección de las marcas.
Perfore un orificio en la marca de la base de la consola con una broca de 32 mm (1¼") (Figura 75).
Retire la chapa metálica y elimine las rebabas de alrededor del orificio.
Instale el anillo de goma en el orificio (Figura 76).

Piezas necesarias en este paso:
| Interruptor de 2 posiciones | 1 |
| Pegatina de transporte | 1 |
| Arnés de cables | 1 |
| Brida | 7 |
| Fusible (10 A) | 1 |
| Interruptor de botón, contratuerca y arandela de freno | 1 |
| Pegatina de activación remota de AutoSteer | 1 |
Retire el tapón del salpicadero, como se muestra en la Figura 77.

Alinee el interruptor de 2 posiciones con el resalte del interruptor (Figura 77) alineado con la parte superior del salpicadero.
Introduzca el interruptor de 2 posiciones en el orificio del salpicadero (Figura 77).
Aplique la pegatina de transporte sobre la pegatina del salpicadero, como se muestra en la Figura 78.




En la parte delantera de la máquina, pase los conectores del arnés de cables (Figura 82) con las etiquetas siguientes a través de la parte inferior de la chapa de suelo:

Enchufe el conector hembra de 12 vías del arnés de cables marcado en el conector de 12 pines de la válvula de dirección EHI (Figura 83).

Enchufe el conector hembra de 2 vías del arnés de cables marcado en el conector de 2 pines del solenoide EHI (Figura 83).
Retire el tapón del arnés de cables GeoLink con conector hembra de 4 vías marcado (Figura 84).

Enchufe el conector de 4 pines del arnés de cables del kit marcado en el conector hembra de 4 vías marcado (Figura 84).
Enchufe el conector hembra de 8 vías del arnés de cables del kit marcado (Figura 85) en el interruptor de 2 posiciones que instaló en Montaje del interruptor de carretera en el salpicadero.

Enrute el arnés de cables del kit hacia atrás, junto al arnés de cables de la máquina (Figura 86).

Enrute la rama del arnés de cables que tiene el conector marcado por la parte trasera del tubo del eje delantero (Figura 86).
En la parte inferior trasera del radiador, enrute el arnés de cables hacia arriba junto al arnés de cables de la máquina (Figura 87).

Enchufe el conector de 6 pines del arnés del sensor de ángulo en el conector hembra de 6 vías del arnés de cables del kit marcado (Figura 88).

Sujete el arnés del sensor de ángulo de la rueda y la rama del sensor de ángulo del arnés de cables del kit al tubo del eje con 2 bridas.
Enrute la rama del arnés de cables que tiene los terminales marcados and por encima del radiador, junto al arnés de cables de la máquina (Figura 89).


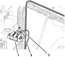
Retire un tornillo de terminal del bloque de terminales de tierra (Figura 90).

Conecte el terminal de anillo del arnés de cables del kit marcado al bloque de terminales de tierra con el tornillo del terminal (Figura 90).
Enchufe el terminal del arnés de cables del kit marcado en el conector plano de alimentación de accesorios del bloque de fusibles (Figura 91).
Note: Si el bloque de fusibles de la máquina no dispone de un circuito de alimentación de accesorios disponible, instale un bloque de fusibles adicional; consulte a su distribuidor autorizado Toro.

Introduzca el fusible (10 A) en el zócalo del bloque de fusibles (Figura 92) del circuito de alimentación de accesorios que utilizó en el paso 4.

Sujete la rama de corriente conmutada y masa del arnés de cables del kit al arnés de cables de la máquina con 4 bridas.
Enchufe el conector de 2 pines del arnés de cables del kit marcado en el conector hembra de 2 vías del arnés de cables GeoLink marcado (Figura 93).

Retire los 4 tornillos con arandela prensada (¼" x ¾") que sujetan el panel lateral de la consola central, como se muestra en la Figura 94.

Incline el asiento hacia adelante y retire el tornillo con arandela prensada trasero inferior (Figura 94).
Repita los pasos 1 y 2 en el otro lado de la consola central.
Retire el tornillo con arandela prensada (5/16" x ⅝") que sujeta el panel del brazo al bastidor de la consola (Figura 95).

Separe el panel del brazo del bastidor (Figura 95).
Mida 260 mm (10¼") desde el extremo trasero del panel del brazo, y marque el panel (Figura 96).

Mida 35 mm (1⅜") desde el extremo superior del panel del brazo, y marque el panel (Figura 96).
Marque con un punzón la intersección de las marcas.
Proteja el cable del panel del brazo.
Perfore un taladro de 17 mm (11/16") en el panel del brazo, en la marca del punzón (Figura 96).
Elimine cualquier rebaba del taladro.
Enrute la rama del arnés de cables marcada REMOTE ENGAGE SWITCH por el anillo de goma (Figura 98) que instaló en Perforación de la base de la consola.

Enrute la rama del arnés de cables marcada REMOTE ENGAGE SWITCH a la consola central (Figura 98).
Enrute la rama del arnés de cables marcada REMOTE ENGAGE SWITCH hacia el panel del brazo (Figura 99).

Conecte los terminales de la rama del arnés de cables marcada REMOTE ENGAGE SWITCH a los terminales del interruptor de botón (Figura 100).

Sujete la rama del arnés de cables al arnés de cables de la máquina con una brida.
Alinee las pestañas de la parte delantera del panel del brazo con las ranuras del bastidor de la consola, y gire hacia abajo el panel del brazo (Figura 101).

Sujete el panel del brazo al bastidor de la consola (Figura 101) con el tornillo con arandela prensada (5/16" x ⅝").
Monte el panel lateral en el bastidor de la consola (Figura 102) con 4 tornillos con arandela prensada (¼" x ¾").

Incline el asiento hacia adelante e instale el tornillo con arandela prensada trasero inferior (Figura 102).
Repita los pasos 3 y 4 en el otro lado de la consola central.
Coloque la pegatina de activación remota de AutoSteer en el panel del brazo como se muestra en la Figura 103.

Piezas necesarias en este paso:
| Junta tórica 1.6 mm/1.8 mm (0.489"/0.070") | 2 |
| Junta tórica 15.6 mm/1.8 mm (0.614"/0.070") | 1 |
| Junta tórica 29.7 mm/2.9 mm (1.171"/0.116") | 1 |
| Junta tórica 16.4 mm/2.3 mm (0.644"/0.090") | 1 |
| Bomba hidráulica | 1 |
| Acoplamiento recto (⅞" x 13/16") | 1 |
| Acoplamiento recto (¼" x ¼") | 1 |
| Junta tórica 85.7 mm/ 0.630 mm (3.375"/0.630") | 1 |
Desconecte la manguera de presión del motor de la bomba de fumigación del acoplamiento recto del lado izquierdo de la bomba hidráulica (Figura 104).

Retire los 2 tornillos allen (⅜" x 1") y las 2 arandelas (⅜") que sujetan la bomba hidráulica a la bomba de tracción, y retire la bomba hidráulica (Figura 105).

Trabajando con los 3 acoplamientos hidráulicos que retiró en Retirada de los acoplamientos hidráulicos de la bomba, retire las 5 juntas tóricas indicadas en Figura 107.

Instale una junta tórica nueva de 7.6 mm/1.8 mm (0,301"/0,070") y una junta tórica de 15.6 mm/1.8 mm (0,614"/0,070") en las ranuras del acoplamiento recto (⅝" x ¾"), como se muestra en la Figura 107.
Instale una junta tórica nueva de 29.7 mm/2.9 mm (1.171"/0.116") en la ranura del acoplamiento dentado (Figura 107).
Instale una junta tórica nueva de 7.6 mm/1.8 mm (0.301"/0.070") y una junta tórica de 16.4 mm/2.3 mm (0.644"/0.090") en las ranuras del acoplamiento en T (Figura 107).
Instale el acoplamiento en T, el acoplamiento de prueba y el tapón que retiró en el paso 2 de Retirada de los acoplamientos hidráulicos de la bomba en el orificio superior derecho de la bomba hidráulica nueva (Figura 108).

Instale el acoplamiento recto (⅞" x 13"/16") en el orificio superior izquierdo de la bomba hidráulica (Figura 108).
Apriete el acoplamiento recto a 134 – 164 N∙m (99 – 121 pies-libra).
Instale el acoplamiento recto (¼" x ¼") en el acoplamiento del orificio de la bomba hidráulica, como se muestra en la Figura 108.
Instale el acoplamiento recto (⅝" x ¾") en el cuerpo de la bomba hidráulica, como se muestra en la Figura 108.
Apriete el acoplamiento recto a 110 – 134 N∙m (81 – 99 pies-libra).
Instale el acoplamiento dentado en el cuerpo de la bomba hidráulica (Figura 108).
Apriete el acoplamiento dentado a 164 – 202 N∙m (121 – 149 pies-libra).
Monte una junta tórica de 85.7 mm/0.630 mm (3.375"/0.630") sobre la cubierta delantera de la bomba hidráulica (Figura 109).

Alinee las estrías del árbol de transmisión de la bomba hidráulica con las estrías de acoplamiento de la bomba de tracción, e inserte el árbol de transmisión en el acoplamiento (Figura 109).
Monte la bomba hidráulica en la bomba de tracción con los 2 tornillos allen (⅜" x 1") y las 2 arandelas (⅜") que retiró en Retirada de la bomba hidráulica.
Apriete los tornillos allen a 37–42 N∙m (27–31 pies-libra).
Conecte la manguera de presión del motor de la bomba de fumigación al acoplamiento recto, y apriete el acoplamiento (Figura 110).

Coloque un recipiente de vaciado debajo de la manguera de aspiración y la bomba hidráulica (Figura 111).

Afloje la abrazadera (Figura 112).

Retire el tapón de la manguera de aspiración y monte la manguera en el acoplamiento dentado de la bomba hidráulica (Figura 112).
Sujete la manguera al acoplamiento con la abrazadera (Figura 112).
Piezas necesarias en este paso:
| Manguera de presión hacia adelante 10 mmx 660 mm (⅜" x 26") | 1 |
Monte provisionalmente el acoplamiento recto de la manguera de presión delantera en el pasamuros (Figura 113).

Enrute la manguera hasta la bomba hidráulica (Figura 114).

Monte el acoplamiento de 45° de la manguera de presión delantera en el acoplamiento en T de la bomba hidráulica (Figura 114).
Apriete los acoplamientos de las mangueras.
Piezas necesarias en este paso:
| Manguera de 6 mm x 203 mm (¼" x 8"); acoplamientos -6 (recto) y -6 (45°) | 1 |
| Junta tórica 12.4 mm/1.8 mm (0.489"/0.070") | 2 |
| Manguera de 6 mm x 2819 mm (¼" x 111"); acoplamientos -4 (90°) y -6 (90°) | 1 |
| Manguera de 6 mm x 673 mm (¼" x 26½"); acoplamientos -4 (recto) y -6 (90°) | 1 |
| Manguera de 6 mm x 711 mm (¼" x 28"); acoplamientos -4 (recto) y -6 (90°) | 1 |
| Manguera de 10 mm x 187 mm (⅜ x 7⅜"); acoplamientos -6 (recto) y -8 (90°) | 1 |
| Manguera de 10 mm x 264 mm (⅜" x 10⅜"); acoplamientos -8 (90°) y -6 (45°) | 1 |
| Junta tórica 9.2 mm/1.8 mm (0.364"/0.070") | 2 |
| Manguera de 6 mm x 1397 mm (¼" x 55"); acoplamientos -6 (recto) y -6 (90°) | 1 |
| Manguera de 6 mm x 1270 mm (¼" x 50"); acoplamientos -6 (recto) y -6 (90°) | 1 |
| Manguera de 10 mm x 2921 mm (⅜" x 115"); acoplamientos -8 (90°) y -8 (90°) | 1 |
| Manguera de 10 mm x 2921 mm (⅜" x 115"); acoplamientos -8 (90°) y -6 (90°) | 1 |
| Junta tórica 7.6 mm/1.8 mm (0.301"/0.070") | 1 |
| Brida | 3 |
Monte el acoplamiento de 45° de la manguera de 6 mm x 203 mm (¼" x 8") en el acoplamiento del orificio LS2 de la válvula de dirección EHI (Figura 115).

Monte el acoplamiento recto de la manguera de 6 mm x 203 mm (¼" x 8") en el acoplamiento del orificio E de la válvula de dirección, y apriete ambos acoplamientos (Figura 115).
Enrute el extremo de la manguera de la bomba hidráulica de 6 mm x 2819 mm (¼" x 111") con el acoplamiento -4, 90° a través del anillo de goma de la chapa de suelo (Figura 116).

Monte el acoplamiento -6, 90° de la manguera de 6 mm x 2819 mm (¼" x 111") en el acoplamiento del orificio LS1 de la válvula de dirección EHI, y apriete el acoplamiento (Figura 116).
Monte el acoplamiento de 90° de la manguera de 6 mm x 673 mm (¼" x 26½") en el acoplamiento del orificio R de la válvula de dirección EHI (Figura 117).

Monte el acoplamiento recto de la manguera de 6 mm x 673 mm (¼" x 26½") en el acoplamiento del orificio R de la válvula de dirección, y apriete ambos acoplamientos (Figura 117).
Monte el acoplamiento de 90° de la manguera de 6 mm x 711 mm (¼" x 28") en el acoplamiento del orificio L de la válvula de dirección EHI (Figura 118).

Monte el acoplamiento recto de la manguera de 6 mm x 711 mm (¼" x 28") en el acoplamiento del orificio L de la válvula de dirección, y apriete ambos acoplamientos (Figura 118).
Monte el acoplamiento de 90° de la manguera de 10 mm x 187 mm (⅜" x 7⅜") en el acoplamiento del orificio T de la válvula de dirección EHI (Figura 119).

Monte el acoplamiento recto de la manguera de 10 mm x 187 mm (⅜" x 7⅜") en el acoplamiento en T de la válvula de dirección, y apriete ambos acoplamientos (Figura 119).
Monte el acoplamiento de 90° de la manguera de 10 mm x 264 mm (⅜" x 10⅜") en el acoplamiento del orificio P de la válvula de dirección EHI (Figura 120).

Monte el acoplamiento de 45° de la manguera de 10 mm x 264 mm (⅜" x 10⅜") en el acoplamiento del orificio P de la válvula de dirección, y apriete ambos acoplamientos (Figura 120).
Enrute el extremo de la manguera de 6 mm x 1397 mm (¼" x 55") con acoplamiento recto a través del anillo de goma de la chapa de suelo (Figura 121).

Monte el acoplamiento de 90° de la manguera de 6 mm x 1397 mm (¼" x 55") en el acoplamiento del orificio CR de la válvula de dirección EHI (Figura 121).
Retire las 2 juntas tóricas de las caras de los acoplamientos de 90° en los orificios de extensión y retracción del cilindro de dirección (Figura 122).
Note: Deseche la junta tórica.

Instale 2 juntas tóricas nuevas de 9.2 mm/1.8 mm (0.364"/0.070") en las ranuras de los acoplamientos de 90° (Figura 122).
Monte el acoplamiento recto de la manguera de 6 mm x 1397 mm (¼" x 55") en el acoplamiento de 90° del orificio de retracción del cilindro de dirección, y apriete ambos acoplamientos (Figura 121).
Enrute el extremo de la manguera de 6 mm x 1270 mm (¼" x 50") con acoplamiento recto a través del anillo de goma de la chapa de suelo (Figura 123).

Monte el acoplamiento de 90° de la manguera de 6 mm x 1270 mm (¼" x 50") en el acoplamiento del orificio CL de la válvula de dirección EHI (Figura 123).
Monte el acoplamiento recto de la manguera de 6 mm x 1270 mm (¼" x 50") en el acoplamiento de 90° del orificio de extensión del cilindro de dirección, y apriete ambos acoplamientos (Figura 123).
Identifique la manguera de retorno del depósito de 10 mm x 2921 mm (⅜" x 115") con 2 acoplamientos (90°).
Enrute el extremo de la manguera de retorno del depósito de 10 mm x 2921 mm (⅜" x 115") a través del anillo de goma de la chapa de suelo (Figura 124).

Monte el acoplamiento de 90° de la manguera de retorno del depósito de 10 mm x 2921 mm (⅜" x 115") en el acoplamiento del orificio EF de la válvula de dirección EHI, y apriete el acoplamiento (Figura 124).
Identifique la manguera de la bomba hidráulica de 10 mm x 2921 mm (⅜" x 115") con un acoplamiento de 90° y un acoplamiento de 45°.
Enrute el extremo de la manguera de la bomba hidráulica de 10 mm x 2921 mm (⅜" x 115") con acoplamiento de 45° a través del anillo de goma de la chapa de suelo (Figura 125).

Monte el acoplamiento de 90° de la manguera de la bomba hidráulica de 10 mm x 2921 mm (⅜" x 115") en el acoplamiento del orificio PT de la válvula de dirección EHI, y apriete el acoplamiento (Figura 125).
Enrute las 2 mangueras de la bomba hidráulica y la manguera de retorno del depósito hacia atrás, junto al tubo derecho del bastidor de la máquina (Figura 126).

Enrute la manguera de la bomba hidráulica de 10 mm x 2921 mm (⅜" x 115" – orificio PT de la válvula de dirección EHI) con acoplamiento de 45° en la ranura superior de la mitad de la abrazadera superior (Figura 127).

Enrute el acoplamiento de 45° de la manguera hacia la bomba hidráulica.
Enrute la manguera de la bomba hidráulica de 6 mm x 2819 mm (¼" x 111" – orificio LS1 de la válvula de dirección EHI) con acoplamiento de 90° en la ranura inferior de la mitad de la abrazadera superior (Figura 128).

Enrute el acoplamiento de 90° de la manguera hacia la bomba hidráulica.
Monte las 2 mitades de las abrazaderas en los tornillos, y sujete las mitades de las abrazaderas y las mangueras (Figura 129) con 2 contratuercas con arandela prensada (5/16").

Enrute la manguera de retorno del depósito de 6 mm x 2819 mm (¼" x 111" – orificio EF de la válvula de dirección EHI) por la parte superior de los soportes de montaje derechos del motor (Figura 130).

Monte las 2 abrazaderas en P en la manguera como se muestra en la Figura 130.
Alinee las 2 abrazaderas en P entre las placas de montaje de las abrazaderas y los soportes de montaje del motor (Figura 130).
Sujete las placas de montaje de las abrazaderas y las abrazaderas en P a los soportes de montaje del motor (Figura 130 y Figura 131) con los 2 pernos de cuello cuadrado (5/16" x 1") y 2 contratuercas con arandela prensada (5/16").

Retire la junta tórica de la cara del acoplamiento en T del depósito hidráulico (Figura 132).
Note: Deseche la junta tórica.

Instale una junta tórica nueva de 12.4 mm/1.8 mm (0.489"/0.070") en la ranura del acoplamiento en T (Figura 132).
Monte el acoplamiento de 90° de la manguera de retorno del depósito de 6 mm x 2819 mm (¼" x 111") en el acoplamiento en T, y apriete el acoplamiento (Figura 133).

Retire la junta tórica de la cara del acoplamiento en T del extremo de la bomba hidráulica (Figura 134).
Note: Deseche la junta tórica.

Instale una junta tórica nueva de 12.4 mm/1.8 mm (0.489"/0.070") en la ranura del acoplamiento en T (Figura 134).
Monte el acoplamiento de 45° de la manguera de 10 mm x 2921 mm (⅜" x 115") en el acoplamiento recto, y apriete el acoplamiento de la manguera (Figura 135).

Retire la junta tórica de la cara del acoplamiento recto de la bomba hidráulica (Figura 136).
Note: Deseche la junta tórica.

Instale una junta tórica nueva de 12.4 mm/1.8 mm (0.489"/0.070") en la ranura del acoplamiento recto (Figura 136).
Monte el acoplamiento de 90° de la manguera de 10 mm x 660 mm (⅜" x 26") en el acoplamiento recto, y apriete el acoplamiento de la manguera (Figura 137).

Retire la junta tórica de la cara del acoplamiento recto de la bomba hidráulica (Figura 138).
Note: Deseche la junta tórica.

Instale una junta tórica nueva de 7.6 mm/1.8 mm (0.301"/0.070") en la ranura del acoplamiento recto (Figura 138).
Monte el acoplamiento de 90° de la manguera de 6 mm x 2819 mm (¼" x 111") en el acoplamiento recto, y apriete el acoplamiento de la manguera (Figura 139).

Debajo de la chapa de suelo, sujete las mangueras y los arneses de cables al embrague y a la placa de embrague, como se muestra en la Figura 140, con la abrazadera de soporte, el tornillo (¼" x ⅞"), la tuerca (¼"), la arandela de freno (¼") y la arandela (⅜" x ⅞") que retiró en Retirada de las abrazaderas de sujeción de las mangueras.


Monte la funda inferior de la manguera sobre las mangueras de dirección (Figura 141).

Sujete la funda a las mangueras con 3 bridas (Figura 141).
Arranque el motor.
Gire el volante a tope a la izquierda y a la derecha hasta que la rueda gire suavemente.
Pare el motor y retire la llave.
Compruebe las mangueras y los acoplamientos de la válvula de dirección EHI y de la válvula de dirección en busca de fugas hidráulicas.
Important: Repare cualquier fuga antes de instalar el capó.
Compruebe que las mangueras y los acoplamientos del depósito hidráulico y de la bomba hidráulica no tienen fugas.
Important: Repare todas las fugas.
Piezas necesarias en este paso:
| Grapas | 6 |
Alinee los orificios del capó con los orificios del chasis de la máquina (Figura 143).

Monte el capó en el soporte del salpicadero con 2 grapas (Figura 144).

Sujete el capó al soporte del salpicadero (Figura 144) con 4 tornillos Phillips de cabeza troncocónica (¼" x 1").
Monte la pestaña inferior del capó en la máquina con 4 grapas (Figura 145).

Sujete la pestaña a la máquina (Figura 145) con 2 pernos con arandela prensada (5/16" x ¾").
Conecte el conector del faro del arnés de cables de la máquina al conector de la lámpara del faro (Figura 146).

Repita el paso 6 en el otro faro.
Si se retiraron, instale el protector térmico y el protector de bajos en la parte inferior de la máquina; consulte el Manual del operador de la máquina.
Asegúrese de calibrar la brújula del GeoLink; consulte el Manual del operador del X25 GeoLink de su máquina.
Equipo suministrado por el instalador: un cable de interfaz USB/CAN (cable Toro DIAG) Pieza Nº 115-1944
Aparque la máquina en la hierba en un sitio llano.
Apague el motor y ponga el freno de estacionamiento.
Enchufe el cable de interfaz USB/CAN en un puerto USB del ordenador portátil.
En la máquina, gire la llave a la posición de CONECTADO.
Abra la herramienta "Danfoss Plus+1 service tool" en su portátil.
Retire el tapón del conector hembra de 3 vías del conector CAN del arnés de cables del kit marcado DUPLICATE DIAG CONNECTOR y enchufe el cable de interfaz USB/CAN de 3 pines en el conector hembra de 3 vías (Figura 147).

En el salpicadero de la máquina, presione el interruptor habilitar/transporte a la posición ENABLE MODE (Modo Habilitar) (Figura 148).

En el portátil, haga clic en el archivo PVED-CLS_2.00_REV_D.P1D.
En la pestaña System Navigator (Navegador del Sistema), vaya a la carpeta AUTO CALIBRATION (Calibración automática) y haga clic en el icono + (Figura 149).

Haga clic en el icono WAS CALIBRATION (Calibración WAS) (Figura 149).
Arrancar el motor de la máquina.
En la pantalla WAS CALIBRATION (Calibración WAS), haga clic en el icono GOTO WAS CALIBRATION MODE (Ir a Modo de calibración WAS) (Figura 149).
Gire el volante a tope a la izquierda y pare.
Haga clic en el icono CAPTURE L (Captura Izq) (Figura 150).
Note: El valor del sensor cambia al girar el volante.

Gire el volante a tope a la derecha y pare.
Haga clic en el icono CAPTURE R (Captura Der) (Figura 151).
Note: El valor del sensor cambia al girar el volante.

Gire el volante hasta que los neumáticos estén alineados en línea recta hacia adelante y pare.
Haga clic en el icono CAPTURE N (Captura N) (Figura 152).
Note: El valor del sensor cambia al girar el volante.

Haga clic en el icono ACCEPT AND SAVE (Aceptar y Guardar) (Figura 153).

En el ordenador portátil, haga clic en el icono SPOOL CALIBRATION (Calibración del carrete) (Figura 154).

En la página de calibración del carrete, haga clic en el icono GOTO SPOOL CALIBRATION MODE (Ir a Modo de calibración del carrete) (Figura 154).
Haga clic en el icono START CALIBRATION (Iniciar calibración) (Figura 155).
Note: El estado del modo de mantenimiento debe mostrar Spool Calibration Armed (Calibración del carrete preparado) antes de iniciar la calibración.
Important: No toque el volante.
El volante se desplaza mientras se realizan las calibraciones del carrete. El proceso de calibración del carrete lleva varios minutos. Observe que el estado de movimiento de las ruedas cambia en la pestaña Status (Estado). La calibración está terminada cuando el campo Service Mode State (Estado del Modo de mantenimiento) muestra SPOOL PARAMETERS READY TO UPDATE (Preparado para actualizar los Parámetros del carrete).

En la parte inferior de la pantalla de calibración del carrete, haga clic en el icono ACCEPT AND SAVE (Aceptar y Guardar) (Figura 156).

Apague el motor.
Retire el conector del cable de interfaz USB/CAN del conector del arnés de cables del kit, e instale el tapón en el conector del arnés de cables (Figura 157).

Gire la llave a la posición de CONECTADO.
Arranque la consola de control X25, y pulse el icono SETUP (Configuración).
Pulse los iconos SYSTEM (Sistema), FEATURES (Características), y GUIDANCE (Guiado) (Figura 158).

Pulse el icono AUTOSTEER
(Figura 158).
En el cuadro de diálogo, pulse el icono ENABLE (Habilitar) y pulse el icono de confirmación (Figura 158).
Si la operación requiere el cuadro de diálogo Restart (Reinicio), pulse el icono de confirmación (Figura 158).
La consola de control X25 se reinicia en el modo de usuario estándar.
En la pantalla de configuración, pulse el icono USER (Usuario) y el icono ACCESS LEVEL (Nivel de acceso) (Figura 160).

En la pantalla de acceso de usuarios, icono ACCESS LEVEL (nivel de acceso) (Figura 160).
En el cuadro de diálogo, pulse el icono EXPERT (Experto) y pulse el icono de confirmación (Figura 160).
Pulse el icono PASSWORD (Contraseña), escriba la contraseña del distribuidor con el teclado emergente, y pulse el icono de confirmación (Figura 161).
Note: El nivel de acceso de usuarios muestra distribuidor.

Pulse el icono VEHICLE (Vehículo) y pulse el icono STEERING (Dirección) (Figura 162).

Pulse el icono STEERING ENGAGE (Activar dirección) (Figura 162).
En el cuadro de diálogo, pulse el icono VIRTUAL AND EXTERNAL CONSOLE INPUT (Entrada virtual y externa de la consola), y pulse el icono de confirmación (Figura 162).
Lleve la máquina a una zona abierta y llana, libre de árboles y edificios, donde pueda conducir la máquina 92 m (300 pies) en línea recta.
Pulse el icono STEERING OPTIONS (Opciones de dirección) (Figura 163).
Aparece el menú Steering options (Opciones de dirección).

Pulse el icono AUTOSTEER CALIBRATION (Calibración AutoSteer) (Figura 163).
Aparece el menú Steering calibration (Calibración de la dirección).
Pulse el icono WHEEL ANGLE SENSOR (Sensor del ángulo de las ruedas) (Figura 163).
Se inicia el asistente de calibración del sensor del ángulo de las ruedas.
Note: Si aparece el mensaje NOT INITIALIZED (No inicializado) en la consola de control, conduzca la máquina durante varios minutos.
En el paso 1, espere a que se inicie la calibración del sensor del ángulo de las ruedas, y pulse el icono Paso siguiente (Figura 164).

En el paso 2, gire el volante a la izquierda a tope, pare y pulse el icono Paso siguiente (Figura 165).
Important: Compruebe que los valores del sensor del ángulo de las ruedas cambian al girar el volante.

En el paso 3, gire el volante a la derecha a tope, pare y pulse el icono Paso siguiente (Figura 166).

En el paso 4, gire el volante hasta que los neumáticos estén alineados en línea recta hacia adelante, pare, y pulse el icono Paso siguiente (Figura 166).
En el paso 5, espere hasta que la calibración del sensor del ángulo de las ruedas guarde los datos, y pulse el icono Paso siguiente (Figura 167).

En el paso 6, pulse el icono de confirmación (Figura 167).
Utilice este procedimiento para calibrar la posición del receptor en su máquina. Calibre el sesgo de montaje del receptor de satélite cuando se instala por primera vez o si se cambia el receptor de satélite.
Note: Para esta calibración, necesita una zona llana y abierta donde pueda conducir 76 m (250 pies) o más en línea recta.
Pulse el icono STEERING OPTIONS (Opciones de dirección) (Figura 168).
Aparece el menú Steering options (Opciones de dirección).

Pulse el icono STEERING CALIBRATION (Calibración de la dirección) (Figura 168).
Aparece el menú Steering calibration (Calibración de la dirección).
Pulse el icono MOUNTING BIAS (Sesgo de montaje) (Figura 169).
Aparece el asistente de calibración del sesgo de montaje.
Note: Si el icono Sesgo de montaje indica NOT REQUIRED (No necesario), no es necesario calibrar el sesgo de montaje.

Conduzca la máquina hasta el final de la zona abierta, alinéela en línea recta y pulse el icono POSITION A (Posición A).
Note: Se muestra el símbolo del punto A en la consola de control.

Conduzca la máquina hacia adelante manualmente (Figura 171) a 2 km/h (1.2 mph) en línea recta.
Note: GeoLink inserta automáticamente el símbolo del punto B en la pantalla cuando la máquina se haya desplazado 70 m (230 pies).

La consola de control muestra la pantalla siguiente del proceso de calibración.
Gire la máquina, y alinéela con la línea de guía de las posiciones A y B en la consola de control (Figura 172).

Conduzca la máquina hacia el punto B y pulse
el icono AUTOSTEER
.
Important: Deje que la función de autoguiado dirija la máquina.
Antes de llegar al punto B, ajuste la velocidad de avance de la máquina a 2 km/h (1.2 mph) y engrane el bloqueo del acelerador de la máquina (Figura 172).
Note: Autosteer conduce la máquina entre los puntos B y A (Figura 173).

Pare la máquina.
La consola de control muestra lo siguiente:
El cuadro de diálogo que indica Calibration progress 100% (Progreso de calibración 100 %); pulse el icono Confirmar (Figura 174).

Cuadros de diálogo con pasos adicionales para realizar una pasada de calibración del sesgo de montaje del punto A al punto B.
Note: Si el sistema no indica un progreso de calibración del 100 % después de realizar la pasada de calibración del sesgo de montaje del punto A al punto B, póngase en contacto con el centro de asistencia técnica de Toro.

Compruebe el nivel de aceite hidráulico. Si el nivel de fluido es bajo, añada fluido al depósito hidráulico; consulte las especificaciones y el procedimiento de verificación del fluido hidráulico en el Manual del operador.
