Ce kit AutoSteer est un accessoire pour le système de pulvérisation GeoLink™ utilisé sur un véhicule pulvérisateur et destiné aux utilisateurs professionnels et temporaires affectés à des applications professionnelles. Il est principalement conçu pour la pulvérisation des pelouses entretenues régulièrement dans les parcs, les terrains de golf, les terrains de sport et les espaces verts commerciaux. L'utilisation de ce produit à d'autres fins que celle prévue peut être dangereuse pour vous-même et toute personne à proximité.
Lisez attentivement cette notice pour apprendre à utiliser et entretenir correctement votre produit, et éviter ainsi de l'endommager ou de vous blesser. Vous êtes responsable de l'utilisation sûre et correcte du produit.
Rendez-vous sur www.Toro.com pour tout document de formation à la sécurité et à l'utilisation des produits, pour tout renseignement concernant un produit ou un accessoire, pour obtenir l'adresse des concessionnaires ou pour enregistrer votre produit.
Pour obtenir des prestations de service, des pièces d'origine Toro ou des renseignements complémentaires, munissez-vous des numéros de modèle et de série du produit et contactez un concessionnaire-réparateur agréé ou le service client Toro. La Figure 1 indique l'emplacement des numéros de modèle et de série sur le produit. Inscrivez les numéros dans l'espace réservé à cet effet.
Important: Avec votre appareil mobile, vous pouvez scanner le QR code (selon l'équipement) sur la plaque du numéro de série pour accéder aux renseignements sur la garantie, les pièces et autres informations concernant le produit.

Les mises en garde de ce manuel soulignent des dangers potentiels et sont signalées par le symbole de sécurité (Figure 2), qui indique un danger pouvant entraîner des blessures graves ou mortelles si les précautions recommandées ne sont pas respectées.

Ce manuel utilise deux termes pour faire passer des renseignements essentiels. Important pour attirer l'attention sur des informations d'ordre mécanique spécifiques, et Remarque pour signaler des informations d'ordre général méritant une attention particulière.
Les substances chimiques utilisées dans le système de pulvérisation peuvent être nocives et toxiques pour vous-même, toute personne présente, les animaux, les plantes, le sol ou autres.
Lisez attentivement les étiquettes signalétiques et les fiches de données de sécurité (FDS) de tous les produits chimiques utilisés et protégez-vous en suivant les recommandations des fabricants des produits chimiques. Utilisez, par exemple, un équipement de protection individuelle (EPI), y compris une protection faciale et oculaire, des gants ou tout autre équipement de protection adapté au produit chimique.
Plusieurs produits chimiques peuvent être utilisés et vous devez donc prendre connaissance des données relatives à chacun d'eux.
Refusez d'utiliser ou d'intervenir sur le pulvérisateur si ces renseignements ne sont pas disponibles.
Avant toute intervention sur un système de pulvérisation, assurez-vous qu'il a été rincé à trois reprises et neutralisé en conformité avec les recommandations du ou des fabricant(s) des produits chimiques et que toutes les vannes ont effectué 3 cycles.
Assurez-vous de disposer d'une source d'eau propre et de savon à proximité afin de pouvoir vous laver immédiatement en cas de contact direct avec un produit chimique.
Avant de quitter la position d'utilisation, coupez le moteur de la machine, enlevez la clé (selon l'équipement) et attendez l'arrêt complet de tout mouvement. Laissez refroidir la machine avant de la régler, d'en faire l'entretien, de la nettoyer ou de la remiser.
L'usage ou l'entretien incorrect de cette machine
peut occasionner des accidents. Pour réduire les risques d'accidents
et de blessures, respectez les consignes de sécurité
qui suivent. Tenez toujours compte des mises en garde signalées
par le symbole de sécurité (
) et la mention
Prudence, Attention ou Danger. Le non respect de ces instructions
peut entraîner des blessures graves ou mortelles.
![]() |
Des autocollants de sécurité et des instructions bien visibles par l'utilisateur sont placés près de tous les endroits potentiellement dangereux. Remplacez tout autocollant endommagé ou manquant. |


Soulevez la machine et soutenez-la avec des chandelles ; voir le Manuel de l'utilisateur de la machine.
Retirez les 5 écrous qui fixent le pneu et la jante gauches au moyeu, puis déposez la roue complète (Figure 4).

Déposez la roue avant gauche.
Retirez le boulon et la rondelle au sommet du pivot de fusée puis déposez le pivot de fusée.
Pivotez l'ensemble moyeu/axe de roue pour l'éloigner de la machine.
Placez la cale dans l'ensemble moyeu/axe de roue.
Installez l'ensemble moyeu/axe de roue, le pivot de fusée et la roue. Serrez les écrous de roues à un couple de 75 à 102 N·m.
Utilisez la machine pour vérifier que le problème a bien été résolu.

Pièces nécessaires pour cette opération:
| Capteur de position de direction (cible magnétique et capteur) | 1 |
| Écrou de blocage(10 mm) | 1 |
| Support de capteur | 1 |
| Outil d'alignement du capteur | 1 |
| Vis à tête tronconique (nº 4 x 3/4") | 2 |
| Contre-écrou(nº 4) | 2 |
| Vis à embase (¼" x ¾") | 2 |
| Contre-écrou (¼") | 2 |
Retirez la vis d’assemblage à l’extrémité du pivot de fusée (Figure 6).
Note: Mettez la vis d'assemblage au rebut.

Vissez l’outil d'alignement dans le haut du pivot (Figure 6).
Alignez le support de capteur sur l’outil d'alignement et en face des fentes de la bride de l’axe (Figure 7).

Fixez sans serrer le support sur la bride (Figure 7) à l'aide de 2 vis à embase (¼" x ¾") et 2 contre-écrous (¼").
Placez le support en bas des fentes de la bride de l’axe, et serrez les vis à embase et les contre-écrous (Figure 7).
Retirez l'outil d'alignement (Figure 8).

Vissez complètement l'écrou de blocage sur la cible magnétique (Figure 9).

Vissez la cible magnétique dans le haut du pivot (Figure 9).
Montez le capteur de position de direction sur le support de capteur à l’aide de 2 vis à tête tronconique (n° 4 x 3/4") et 2 contre-écrous (nº 4), puis serrez les vis et les contre-écrous (Figure 10).

Réglez la position de la cible magnétique jusqu’à obtenir un écart de 4 mm entre la cible et la surface du capteur (Figure 11).

Tournez la cible magnétique jusqu’à ce que la ligne de repère gravée sur le plat de la cible magnétique soit alignée avec la prise de câblage du capteur (Figure 11).
Resserrez l'écrou de blocage (Figure 11).
Mesurez l’écart entre la cible et la surface du capteur (Figure 11). L'espace devrait mesurer entre 2 et 4 mm.
Note: Si l'écart est inférieur à 2 mm ou supérieur à 4 mm, ajustez la position de la cible magnétique, alignez la ligne de repère et serrez l'écrou de blocage.
Tournez la clé de contact à la position CONTACT (modèle essence) ou PRéCHAUFFAGE/CONTACT (modèle diesel).
Appuyez sur l'icône À PROPOS (Toro) en haut à gauche de la console de commande (Figure 13).

Quand la version du logiciel est correcte, la boîte de dialogue « À propos » indique une version du logiciel 4.04 ou supérieure.
Note: Si les versions logicielles sont différentes, adressez-vous au centre d'assistance technique Toro.
Avant d’installer l’outil de service Danfoss PLUS+1®, assurez-vous que votre ordinateur portable répond aux exigences en matière de matériel, de système d'exploitation et d'application ; reportez-vous aux tableaux ci-dessous.
|
Composant |
Capacité minimale |
|---|---|
|
CPU* |
1,5 GHz, 32 bits, monocœur, 2008 ou ultérieur |
|
Mémoire |
1 GB |
|
Espace disque inutilisé |
Supérieur à 1 GB |
|
Résolution d’affichage minimale |
1024 x 768 |
|
Port USB |
Version 2.0 ou supérieure |
|
* Le CPU doit être conçu pour une utilisation sur ordinateur portable. Les processeurs prévus pour des netbooks, des tablettes ou autres appareils de ce genre ne sont pas recommandés. |
|
|
Logiciel |
Version |
|---|---|
|
Version du système d'exploitation |
Microsoft Windows 7—32 bits |
|
Composants OS |
MSXML 4.0, Service Pack 2 (services de base Microsoft XML) |
|
Droits du compte utilisateur |
Accès administrateur local |
|
Logiciel |
Remarques |
|---|---|
|
Client/lecteur de messagerie |
Pour l’enregistrement de la licence. |
|
Lecteur PDF |
Tout lecteur conforme aux normes récentes. |
|
Navigateur Web |
Tout navigateur Web conforme aux normes récentes (pour l'aide F1 basée sur HTML). |
Rendez-vous sur la page Web Toro Connect (Figure 14).

Faites un clic gauche sur l’icône Bibliothèque de ressources (Figure 14).
Sur la page Web de la bibliothèque, tapez dans la zone de texte Saisir les termes de recherche, puis faites un clic gauche sur le bouton de recherche (Figure 15).

Dans la liste d’Affichage des documents, faites un double clic sur le lien hypertexte Logiciel AutoSteer Danfoss (Figure 16).

Sur la page Informations sur les documents, cliquez sur le lien hypertexte PVED-CLS 2.00 firmware release package.zip (Figure 17).

Cliquez sur le bouton Sauvegarder (Figure 17).
Note: Le fichier est sauvegardé dans le répertoire Téléchargements de votre ordinateur portable.
Sur la page Informations sur les documents, cliquez sur le lien hypertexte Outil de service Plus1 (Figure 18).

Cliquez sur le bouton Sauvegarder (Figure 18).
Note: Le fichier est sauvegardé dans le répertoire Téléchargements de votre ordinateur portable.
Important: La personne qui installe l'outil de service PLUS+1 doit avoir des privilèges administratifs sur l'ordinateur portable.
Ouvrez le répertoire Téléchargements de votre ordinateur portable, puis faites un clic droit sur le lien du fichier PLUS1ServiceTool1207Setup.zip ; cliquez ensuite sur le lien Extraire tout... dans le menu déroulant (Figure 19).

Dans la boîte de dialogue Extraire les dossiers compressés, vérifiez que la case est cochée, puis cliquez sur le bouton (Figure 20).

Dans le répertoire PLUS1SERVICETOOL1207SETUP, faites un double clic sur le fichier PLUS+1_ServiceTool_12.7_Setup.exe (Figure 21).

Si la boîte de dialogue Contrôle du compte utilisateur s’affiche, cliquez sur le bouton OUI (Figure 22).

Dans la boîte de dialogue Sélectionner l’emplacement de destination, cliquez sur le bouton SUIVANT (Figure 23).

Dans la boîte de dialogue Plus+1 Online, cliquez sur le bouton SUIVANT (Figure 24).

Dans la boîte de dialogue Sélectionner des tâches supplémentaires, cliquez sur le bouton SUIVANT (Figure 25).

Dans la boîte de dialogue Prêt pour l’installation, cliquez sur le bouton INSTALLER (Figure 26).

Note: La boîte de dialogue de progression (Figure 27) s’affiche.

Dans la boîte de dialogue Fin de l’assistant de configuration de l’outil de service, cliquez sur le bouton TERMINé (Figure 28).

Dans la boîte de dialogue Sélectionner l’emplacement de destination, cliquez sur le bouton SUIVANT (Figure 29).

Dans la boîte de dialogue Prêt pour l’installation, cliquez sur le bouton INSTALLER (Figure 30).

Note: La boîte de dialogue de progression (Figure 31) s’affiche.

Dans la boîte de dialogue Fin de l’assistant de configuration des pilotes de l’outil de service, cliquez sur le bouton TERMINé (Figure 32).

Dans la boîte de dialogue Fin de l’assistant de configuration de l’outil de service, cliquez sur le bouton TERMINé (Figure 33).

Ouvrez le répertoire Téléchargements de votre ordinateur portable, puis faites un clic droit sur le lien 6763_14472.en.zip ; cliquez ensuite sur le lien Extraire tout... dans le menu déroulant (Figure 34).

Dans la boîte de dialogue Extraire les dossiers compressés, cliquez sur le bouton (Figure 35).

Dans la boîte de dialogue Sélectionner une destination, accédez au dossier , puis cliquez sur le bouton (Figure 35).
Dans la boîte de dialogue Extraire les dossiers compressés, décochez la case , puis cliquez sur le bouton (Figure 36).

Branchez un câble Toro Diag sur la prise USB de l'ordinateur portable.
Dans la barre des tâches Windows, cliquez sur l’icône de (Figure 37).

Dans la zone de texte , tapez et appuyez sur la touche Entrée (Figure 37).
Cliquez sur l’icône PVED-CLS_2.00_rev_D.P1D (Figure 37).
Note: L’application Outil de service Plus+1 s’affiche sur votre ordinateur portable (Figure 38).

Si l’écran Sélectionner le canal de passerelle s’affiche sur votre ordinateur, passez à l’étape 10.
Dans le ruban de commandes, cliquez sur le bouton Communication (Figure 39).

Dans le menu déroulant Communication, cliquez sur le bouton Passerelle (Figure 39).
Dans le menu déroulant Passerelle, cliquez sur le bouton Avancé (Figure 39).
Dans le menu déroulant Avancé, cliquez sur le bouton Sélectionner une passerelle... (Figure 39).
Sur l’écran Sélectionner un canal de passerelle, cliquez sur l’option Kvaser dans la liste de Passerelles (Figure 40).

Dans le menu Canaux, cliquez sur l’option Câble de diagnostic (Figure 40).
Note: Si aucune option de câble de diagnostic ne s’affiche dans le menu Canaux, vérifiez que le câble Toro Diag est bien branché sur la prise USB de l’ordinateur portable, appuyez sur le bouton Actualiser (Figure 40) sur l’écran Sélectionner un canal de passerelle, puis cliquez sur l’option Câble de diagnostic.
Cliquez sur le bouton CHANGER sous la rubrique Sélection actuelle (Figure 40).
Important: Vous devez avoir des droits administratifs sur l'ordinateur portable pour pouvoir installer le package de version du firmware PVED CLS.
Sur votre ordinateur portable, ouvrez l'outil de service Danfoss Plus+1.
Cliquez sur l’icône et dans la liste déroulante, cliquez sur l’icône (Figure 41).

Dans la boîte de dialogue Installer les données de diagnostic, cliquez sur l’icône du protocole PLUS+1 puis sur l’icône (Figure 42).

Accédez au fichier PVED-CLS 2.00 firmware release package.zip puis cliquez sur le dossier PVED-CLS 2.00 firmware release package ; cliquez ensuite sur l’icône (Figure 43).

Cliquez sur le dossier Diagnostic data files, puis cliquez sur l’icône (Figure 44).

Cliquez sur le fichier APP-_CLS-_M_R200_SEHS----_11153340_... puis sur l’icône (Figure 45).

Dans la boîte de dialogue , cliquez sur l’icône (Figure 46).

Cliquez sur l’icône et dans la liste déroulante, cliquez sur l’icône (Figure 47).

Dans la boîte de dialogue Sélectionner un protocole, cliquez sur l’icône PLUS+1 puis sur l’icône (Figure 48).

Accédez au fichier PVED-CLS 2.00 firmware release package.zip puis cliquez sur le dossier PVED-CLS 2.00 firmware release package ; cliquez ensuite sur l’icône (Figure 49).

Cliquez sur le dossier Diagnostic data files, puis cliquez sur l’icône (Figure 50).

Cliquez sur le fichier APP-_CLS-_S_R200_SEHS----_11153341_... puis sur l’icône (Figure 51).

Dans la boîte de dialogue , cliquez sur l’icône (Figure 52).

Cliquez sur l’icône Fichier et dans la liste déroulante, cliquez sur l’icône Installer les données de diagnostic . . . (Figure 53).

Dans la boîte de dialogue Sélectionner un protocole, cliquez sur l’icône PLUS+1 puis sur l’icône (Figure 54).

Cliquez sur le dossier PVED-CLS 2.00 firmware release package puis sur l’icône (Figure 55).

Cliquez sur le dossier Diagnostic data files, puis cliquez sur l’icône (Figure 56).

Cliquez sur le fichier BOOT-_CLS-_M_R385_KWP2000-_1115347_... puis sur l’icône (Figure 57).

Dans la boîte de dialogue , cliquez sur l’icône (Figure 58).

Les produits chimiques sont dangereux et peuvent causer des blessures.
Avant de manipuler les produits chimiques, lisez le mode d'emploi et suivez toutes les recommandations et les précautions du fabricant.
Ne mettez pas les produits chimiques en contact avec la peau. En cas de contact, lavez soigneusement la zone affectée à l'eau propre et au savon.
Portez des lunettes enveloppantes et tout autre équipement de protection recommandé par le fabricant du produit chimique.
Garez la machine sur une surface plane et horizontale.
Serrez le frein de stationnement.
Vérifiez que les roues sont bien droites et alignées.
Coupez le moteur et retirez la clé.
Attendez l'arrêt complet de tout mouvement avant de quitter le siège de l'utilisateur.
Nettoyez le pulvérisateur ; voir la section Nettoyage du pulvérisateur dans le Manuel de l'utilisateur de la machine.
Laissez refroidir les composants de la machine.
Débranchez le connecteur de phare du faisceau de la machine, du connecteur de l’ampoule de phare (Figure 59).

Répétez l’étape 1 pour l’autre phare.
Retirez les 4 fixations à pression qui maintiennent la bride inférieure du capot sur la machine (Figure 60).

Retirez les 2 boulons à embase (5/16" x 3/4") qui fixent la bride inférieure sur la machine (Figure 60).
Déposez les 4 vis Phillips à tête tronconique (1/4" x 1") qui fixent le capot au support du tableau de bord (Figure 61).

Retirez les 2 fixations à pression qui maintiennent le capot sur le support du tableau de bord (Figure 61).
Déposez le capot de la machine (Figure 62).
Note: Conservez le capot, les 2 boulons à embase et les 4 vis Phillips à tête tronconique.

Si la machine en est équipée, déposez l’écran pare-chaleur et le carénage qui se trouvent au bas de la machine ; reportez-vous au Manuel de l'utilisateur de votre machine.
Pièces nécessaires pour cette opération:
| Capuchon | 1 |
Sous le plancher, déposez l’écrou (¼"), la rondelle-frein (¼"), la rondelle (⅜" x ⅞") et la vis d'assemblage (¼" x 7/8") qui fixent le collier soutenant les flexibles hydrauliques sur la plaque d'embrayage, puis déposez le collier (Figure 63).


Du côté droit de la machine, déposez les contre-écrous à embase (5/16"), le boulon de carrosserie (5/16" x 1") et le boulon de carrosserie (5/16" x 1-1/2") qui fixent les 2 colliers soutenant le flexible de retour de la soupape de direction sur les supports du moteur, puis déposez les colliers (Figure 64).


Dépose les 2 contre-écrous à embase (5/16") qui fixent les 2 demi-colliers de tube supérieurs, comme montré à la Figure 65, puis déposez les demi-colliers.

Débranchez le flexible de retour pour la soupape de direction du raccord en T au bas du réservoir hydraulique (Figure 66).

Placez le capuchon sur le raccord en T, comme montré à la Figure 67.

Déposez le flexible de retour pour la soupape de direction de la machine (Figure 68).
Note: Mettez le flexible de retour au rebut.

Débranchez les flexibles de vérin de direction des raccords à 90° qui se trouvent sur les orifices d’extension et de rétraction du vérin de direction (Figure 73).

Déposez les flexibles de vérin de direction de la machine.
Note: Mettez les flexibles du vérin de direction au rebut.
Pièces nécessaires pour cette opération:
| Support de collecteur | 1 |
| Vis à embase (1/4" x 1/2") | 2 |
| Rondelle (1/4") | 2 |
| Contre-écrou à embase (¼") | 2 |
| Étrier fileté (⅜") | 2 |
| Contre-écrou à embase (⅜") | 4 |
| Autocollant de modèle/série | 1 |
| Soupape de direction EHI | 1 |
| Raccord hydraulique droit (-6 x 12 mm) | 2 |
| Raccord hydraulique droit (-8 x 22 mm) | 4 |
| Raccord hydraulique droit (-6 x 18 mm) | 4 |
| Vis à embase (8 x 16 mm) | 3 |
Alignez le support de collecteur à l’avant de la machine, comme montré à la Figure 74.

Alignez les trous du support de collecteur et les trous de la bride du compartiment de rangement (Figure 75).
Note: Vérifiez que le faisceau de câblage n'est pas pincé entre le support et le compartiment.

Fixez sans serrer le support de collecteur sur la bride (Figure 75) à l'aide de 2 vis à embase (¼" x 1/2"), 2 rondelles (1/4") et 2 contre-écrous à embase (¼").
Assemblez sans serrer le support de collecteur au tube de support de tableau de bord (Figure 76) à l’aide de 2 étriers filetés (3/8") et 4 contre-écrous à embase (3/8").

Serrez les vis d’assemblage, les étriers filetés et les contre-écrous.
Retirez la pellicule de protection au dos de l'autocollant de modèle/série.
Apposez l'autocollant sur le support de collecteur, comme montré à la Figure 77.

Assemblez 2 raccords hydrauliques droits (-6 x 12 mm) dans la soupape de direction EH (Figure 78), en procédant comme suit :
Orifice LS1
Orifice LS2

Retirez les 2 obturateurs des orifices P et T sur la soupape de direction EHI (Figure 79).

Assemblez 4 raccords hydrauliques droits (-6 x 22 mm) dans la soupape (Figure 79), en procédant comme suit :
Orifice P
Orifice T
Orifice P (EF)
Orifice T (EF)
Assemblez 4 raccords hydrauliques droits (-6 x 18 mm) dans la soupape de direction EH (Figure 80), en procédant comme suit :
Orifice CR
Orifice R
Orifice CL
Orifice L

Pièces nécessaires pour cette opération:
| Passe-câble | 1 |
Basculez le siège passager vers l’avant pour accéder au socle de la console (Figure 82).

Placez un morceau de tôle d’environ 120 mm de largeur à travers la fente de la béquille dans le socle de la console et alignez-le entre le socle et le faisceau de câblage en dessous.
Note: La tôle sert à protéger le faisceau de câblage quand vous percerez le socle de la console.
Mesurez une distance de 69 mm vers l’arrière en partant du trou carré près de la fente de la béquille dans le socle de la console, et tracez un repère sur le socle (Figure 83).

Mesurez une distance de 45 mm vers l’intérieur en partant de la bride fendue du socle de la console, et tracez un repère sur le socle (Figure 83).
Marquez au pointeau le socle de la console à l'intersection des deux repères.
Avec un foret de 32 mm, percez un trou dans le socle de la console au niveau du repère marqué au pointeau (Figure 83).
Enlevez le morceau de tôle et supprimez les bavures éventuelles autour du trou.
Insérez le passe-câble dans le trou (Figure 84).

Pièces nécessaires pour cette opération:
| Commutateur à 2 positions | 1 |
| Autocollant de transport | 1 |
| Faisceau de câblage | 1 |
| Serre-câble | 7 |
| Fusible (10 A) | 1 |
| Commutateur à bouton-poussoir, écrou de blocage et rondelle-frein | 1 |
| Autocollant d'engagement à distance de l'AutoSteer | 1 |
Retirez l'obturateur du tableau de bord comme montré à la Figure 85.

Alignez le commutateur à 2 positions en veillant à ce que l’épaulement du commutateur (Figure 85) soit aligné avec le haut du tableau de bord.
Insérez le commutateur à 2 positions dans le trou du tableau de bord (Figure 85).
Apposez l’autocollant de transport sur l’autocollant du tableau de bord, comme montré à la Figure 86.




À l’avant de la machine, faites passer les connecteurs du faisceau de câblage (Figure 90) avec les étiquettes suivantes par le dessous du plancher :

Branchez le connecteur du faisceau de câblage à 12 douilles étiqueté dans le connecteur à 12 broches de la soupape de direction EHI (Figure 91).

Branchez le connecteur du faisceau de câblage à 2 douilles étiqueté dans le connecteur à 2 broches du solénoïde EHI (Figure 91).
Retirez le capuchon du connecteur à 4 douilles du faisceau de câblage GeoLink étiqueté (Figure 92).

Branchez le connecteur à 4 broches du faisceau de câblage du kit étiqueté dans le connecteur à 4 douilles étiqueté (Figure 92).
Branchez le connecteur à 8 douilles du faisceau de câblage du kit étiqueté (Figure 93) dans le commutateur à 2 positions que vous avez installé à l’étape Montage du commutateur routier sur le tableau de bord.

Acheminez le faisceau de câblage du kit vers l’arrière, le long du faisceau de la machine (Figure 94).

Faites passer la branche du faisceau de câblage dotée du connecteur étiqueté le long du dos du tube de pont avant (Figure 94).
En bas au dos du radiateur, acheminez le faisceau vers le haut, le long du faisceau de la machine (Figure 95).

Branchez le connecteur à 6 broches du faisceau de capteur d’angle au connecteur à 6 douilles du faisceau du kit étiqueté (Figure 96).

À l’aide de 2 serre-câbles, fixez le faisceau du capteur d'angle de roue et la branche capteur d'angle du faisceau de câblage du kit sur le tube de pont.
Acheminez la branche de faisceau de câblage dotée des bornes étiquetées et le long du haut du radiateur, parallèlement au faisceau de la machine (Figure 97).


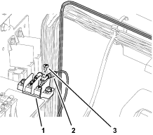
Enlevez une vis de borne du bornier de masse (Figure 98).

Fixez la cosse annulaire du faisceau du kit étiquetée au bornier de masse à l'aide de la vis de borne (Figure 98).
Branchez la borne du faisceau de câblage du kit étiquetée dans le connecteur à lame correspondant à l’alimentation des options du porte-fusibles (Figure 99).
Note: Si le porte-fusibles de votre machine n'a pas de circuit disponible pour l'alimentation des options, installez un porte-fusibles supplémentaire pour les options ; consultez votre distributeur Toro agréé.

Insérez le fusible (10 A) dans la prise du porte-fusibles (Figure 100) correspondant au circuit d’alimentation des options que vous avez utilisé à l’étape 4.

Au moyen de 4 serre-câbles, fixez la branche alimentation commutée et masse du faisceau de câblage du kit sur le faisceau de la machine.
Branchez le connecteur à 2 broches du faisceau de câblage du kit étiqueté dans le connecteur à 2 douilles du faisceau de câblage GeoLink étiqueté (Figure 101).

Retirez les 4 vis à embase (1/4" x 3/4") qui fixent le panneau latéral sur la console centrale, comme montré à la Figure 102.

Basculez le siège en avant. Et retirez la vis à embase arrière inférieure (Figure 102).
Répétez les opérations 1 et 2 de l'autre côté de la console centrale.
Retirez les vis à embase (5/16" x 5/8") qui fixent le panneau d’accoudoir sur le cadre de la console (Figure 103).

Soulevez le panneau d’accoudoir du cadre (Figure 103).
Mesurez une distance de 260 mm depuis l’extrémité arrière du panneau d’accoudoir, et tracez un repère sur le panneau (Figure 104).

Mesurez une distance de 35 mm depuis le dessus du panneau d’accoudoir, et tracez un repère sur le panneau (Figure 104).
Marquez au pointeau l’intersection des deux repères.
Protégez le câble qui se trouve dans le panneau d'accoudoir.
Percez un trou de 17 mm dans le panneau d’accoudoir au niveau du repère marqué au pointeau (Figure 104).
Ébavurez le trou.
Faites passer la branche du faisceau de câblage étiquetée REMOTE ENGAGE SWITCH à travers le passe-câble (Figure 106) que vous avez installé à l’étape Percer le socle de la console.

Faites passer la branche du faisceau de câblage étiquetée REMOTE ENGAGE SWITCH dans la console centrale (Figure 106).
Acheminez la branche du faisceau de câblage étiquetée REMOTE ENGAGE SWITCH vers le panneau d’accoudoir (Figure 107).

Fixez les bornes de la branche du faisceau de câblage étiquetée REMOTE ENGAGE SWITCH sur les bornes du commutateur à bouton-poussoir (Figure 108).

Fixez la branche du faisceau de câblage au faisceau de la machine avec un serre-câble.
Alignez les languettes qui se trouvent à l’avant du panneau d’accoudoir en face des fentes dans le cadre de console, et abaissez le panneau d’accoudoir (Figure 109).

Fixez le panneau d’accoudoir sur le cadre de console (Figure 109) avec la vis à embase (5/16" x 5/8").
Fixez le panneau latéral sur le cadre de console (Figure 110) avec les 4 vis à embase (1/4" x 3/4").

Basculez le siège vers l’avant et remettez la vis à embase arrière inférieure (Figure 110).
Répétez les opérations 3 et 4 de l'autre côté de la console centrale.
Apposez l’autocollant d'engagement à distance de l'AutoSteer sur le panneau d’accoudoir, comme montré à la Figure 111.

Pièces nécessaires pour cette opération:
| Joint torique 9,2/1,8 mm | 3 |
| Joint torique 7,6/1,8 mm | 2 |
Déposez les 3 joints toriques qui se trouvent sur les raccords -6 de la soupape de direction (Figure 112).
Note: Mettez les joints toriques au rebut.

Posez 3 nouveaux joints toriques 9,2/1,8 mm dans les rainures des raccords -6 (Figure 112).
Déposez les 2 joints toriques qui se trouvent sur les raccords -4 de la soupape de direction (Figure 112).
Note: Mettez les joints toriques au rebut.
Posez 2 nouveaux joints toriques 7,6/1,8 mm dans les rainures des raccords -4 (Figure 112).
Pièces nécessaires pour cette opération:
| Flexible 6 x 203 mm ; raccords -6 (droit) et -6 (45°) | 1 |
| Joint torique 12,4/1,8 mm | 2 |
| Flexible 6 x 2819 mm ; raccords -4 (90°) et -6 (90°) | 1 |
| Flexible 6 x 673 mm ; raccords -4 (droit) et -6 (90°) | 1 |
| Flexible 6 x 711 mm ; raccords -4 (droit) et -6 (90°) | 1 |
| Flexible 10 x 187 mm ; raccords -6 (droit) et -8 (90°) | 1 |
| Flexible 10 x 264 mm ; raccords -8 (90°) et -6 (45°) | 1 |
| Joint torique 9,2/1,8 mm | 2 |
| Flexible 6 x 1397 mm ; raccords -6 (droit) et -6 (90°) | 1 |
| Flexible 6 x 1270 mm ; raccords -6 (droit) et -6 (90°) | 1 |
| Flexible 10 x 2921 mm ; raccords -8 (90°) et -8 (90°) | 1 |
| Joint torique 7,6/1,8 mm | 1 |
| Serre-câble | 3 |
Assemblez le raccord à 45° du flexible de 6 x 203 mm sur le raccord de l’orifice LS2 de la soupape de direction EHI (Figure 113).

Assemblez le raccord droit du flexible de 6 x 203 mm sur le raccord de l’orifice E de la soupape de direction, et serrez les deux raccords de flexible (Figure 113).
Faites passer l’extrémité du flexible de pompe hydraulique (6 x 2819 mm) dotée du raccord -4 à 90° à travers le passe-câble dans le plancher (Figure 114).

Assemblez le raccord -6 à 90° du flexible de 6 x 2819 mm sur le raccord de l’orifice LS1 de la soupape de direction EHI, et serrez le raccord de flexible (Figure 114).
Assemblez le raccord à 90° du flexible de 6 x 673 mm sur le raccord de l’orifice R de la soupape de direction EHI (Figure 115).

Assemblez le raccord droit du flexible de 6 x 673 mm sur le raccord de l’orifice R de la soupape de direction, et serrez les deux raccords de flexible (Figure 115).
Assemblez le raccord à 90° du flexible de 6 x 711 mm sur le raccord de l’orifice L de la soupape de direction EHI (Figure 116).

Assemblez le raccord droit du flexible de 6 x 711 mm sur le raccord de l’orifice L de la soupape de direction, et serrez les deux raccords de flexible (Figure 116).
Assemblez le raccord à 90° du flexible de 10 x 187 mm sur le raccord de l’orifice T de la soupape de direction EHI (Figure 117).

Assemblez le raccord droit du flexible de 10 x 187 mm sur le raccord de l’orifice T de la soupape de direction, et serrez les deux raccords de flexible (Figure 117).
Assemblez le raccord à 90° du flexible de 10 x 264 mm sur le raccord de l’orifice P de la soupape de direction EHI (Figure 118).

Assemblez le raccord à 45° du flexible de 10 x 264 mm sur le raccord de l’orifice P de la soupape de direction, et serrez les deux raccords de flexible (Figure 118).
Faites passer l’extrémité du flexible de 6 x 1397 mm dotée du raccord droit à travers le passe-câble dans le plancher (Figure 119).

Assemblez le raccord à 90° du flexible de 6 x 1397 mm sur le raccord de l’orifice CR de la soupape de direction EHI (Figure 119).
Retirez les 2 joints toriques qui se trouvent sur les raccords à 90° dans les orifices d’extension et de rétraction du vérin de direction (Figure 120).
Note: Mettez les joints toriques au rebut.

Posez 2 nouveaux joints toriques 9,2/1,8 mm dans les rainures des raccords à 90° (Figure 120).
Assemblez le raccord droit du flexible de 6 x 1397 mm sur le raccord à 90° de l’orifice de rétraction du vérin de direction, et serrez les deux raccords de flexible (Figure 119).
Faites passer l’extrémité du flexible de 6 x 1270 mm dotée du raccord droit à travers le passe-câble dans le plancher (Figure 121).

Assemblez le raccord à 90° du flexible de 6 x 1270 mm sur le raccord de l’orifice CL de la soupape de direction EHI (Figure 121).
Assemblez le raccord droit du flexible de 6 x 1270 mm sur le raccord à 90° de l’orifice d’extension du vérin de direction, et serrez les deux raccords de flexible (Figure 121).
Repérez le flexible de retour du réservoir (10 x 2921 mm) doté de 2 raccords (90°).
Faites passer l’extrémité du flexible de retour du réservoir (10 x 2921 mm) à travers le passe-câble dans le plancher (Figure 122).

Assemblez le raccord à 90° du flexible de retour du réservoir (10 x 2921 mm) sur le raccord de l’orifice EF de la soupape de direction EHI, et serrez le raccord de flexible (Figure 122).
Repérez le flexible de pompe hydraulique (10 x 2921 mm) doté d’un raccord à 90° et d’un raccord à 45°.
Faites passer l’extrémité du flexible de pompe hydraulique (10 x 2921 mm) dotée du raccord à 45° à travers le passe-câble dans le plancher (Figure 123).

Assemblez le raccord à 90° du flexible de pompe hydraulique (10 x 2921 mm) sur le raccord de l’orifice PT de la soupape de direction EHI, et serrez le raccord de flexible (Figure 123).
Acheminez les 2 flexibles de pompe hydraulique et le flexible de retour du réservoir vers l’arrière, le long du tube du cadre droit de la machine (Figure 124).

Faites passer le flexible de pompe hydraulique (10 x 2921 mm – orifice PT de la vanne de direction EHI) doté du raccord à 45° dans la rainure supérieure du demi-collier de tube à l’emplacement supérieur (Figure 125).

Acheminez le raccord à 45° du flexible vers la pompe hydraulique.
Faites passer le flexible de pompe hydraulique (6 x 2819 mm – orifice LS1 de la vanne de direction EHI) doté du raccord à 90° dans la rainure inférieure du demi-collier de tube à l’emplacement supérieur (Figure 126).

Acheminez le raccord à 90° du flexible vers la pompe hydraulique.
Montez les 2 demi-colliers de tube sur les vis d’assemblage, puis fixez les demi-colliers et les flexibles (Figure 127) au moyen de 2 contre-écrous à embase (5/16").

Faites passer le flexible de retour du réservoir (6 x 2819 mm – orifice EF de la vanne de direction EHI) sur le dessus des supports de moteur droits (Figure 128).

Fixez les 2 colliers en P sur le flexible, comme montré à la Figure 128.
Alignez les 2 colliers en P entre les plaques de montage de collier de tube et les supports de moteur (Figure 128).
Fixez les plaques de montage de collier et les colliers en P aux supports de moteur (Figure 128 et Figure 129) au moyen des 2 boulons de carrosserie (5/16" x 1") et 2 contre-écrous à embase (5/16").

Déposez le joint torique qui se trouve sur le raccord en T du réservoir hydraulique (Figure 130).
Note: Mettez le joint torique au rebut.

Posez un nouveau joint torique 12,4/1,8 mm dans la rainure du raccord en T (Figure 130).
Assemblez le raccord à 90° du flexible de retour du réservoir (6 x 2819 mm) sur le raccord en T, et serrez le raccord de flexible (Figure 131).

Déposez le joint torique qui se trouve sur le raccord en T à l’extrémité de la pompe hydraulique (Figure 132).
Note: Mettez le joint torique au rebut.

Posez un nouveau joint torique 12,4/1,8 mm dans la rainure du raccord en T (Figure 132).
Assemblez le raccord à 45° du flexible de 10 x 2921 mm sur le raccord en T, et serrez le raccord de flexible (Figure 133).

Déposez le joint torique qui se trouve sur le raccord droit à l’extrémité de la pompe hydraulique (Figure 134).
Note: Mettez le joint torique au rebut.

Posez un nouveau joint torique 7,6/1,8 mm dans la rainure du raccord droit (Figure 134).
Assemblez le raccord à 90° du flexible de 6 x 2819 mm sur le raccord droit, et serrez le raccord de flexible (Figure 135).

Sous le plancher, fixez les flexibles et les faisceaux de câblage à l’embrayage et à la plaque d'embrayage, comme montré à la Figure 136, à l’aide du collier de support, de la vis d'assemblage (1/4" x 7/8"), de l’écrou (¼"), de la rondelle-frein (¼") et de la rondelle (3/8" x 7/8") que vous avez déposés à l’étape Dépose des colliers de support de flexible.


Montez la gaine de flexible inférieure sur les flexibles de de direction (Figure 137).

Fixez la gaine sur les flexibles avec 3 serre-câbles (Figure 137).
Démarrez le moteur.
Tournez le volant à fond vers la gauche et vers la droite, jusqu'à ce qu'il tourne en douceur.
Coupez le moteur et retirez la clé.
Vérifiez que les flexibles et les raccords au niveau de la vanne de direction EHI et de la vanne de direction ne présentent pas de fuites hydrauliques.
Important: Réparez toutes les fuites avant d’installer le capot.
Vérifiez que les flexibles et les raccords au niveau du réservoir hydraulique et de la pompe hydraulique ne présentent pas de fuite.
Important: Réparez toutes les fuites.
Pièces nécessaires pour cette opération:
| Fixations à pression | 6 |
Alignez les trous du capot en face des trous du châssis de la machine (Figure 139).

Fixez le capot au support du tableau de bord avec 2 fixations à pression (Figure 140).

Fixez le capot au support du tableau de bord (Figure 140) avec 4 vis Phillips à tête tronconique (1/4" x 1").
Fixez la bride inférieure du capot à la machine avec 4 fixations à pression (Figure 141).

Fixez la bride à la machine (Figure 141) avec 2 boulons à embase (5/16" x 3/4").
Assemblez le connecteur de phare du faisceau de la machine sur le connecteur de l’ampoule de phare (Figure 142).

Répétez l’étape 6 pour l’autre phare.
S’ils avaient été retirés, remettez l’écran pare-chaleur et le carénage de soubassement au bas de la machine ; reportez-vous au Manuel de l'utilisateur de votre machine.
Vérifiez que le compas GeoLink est étalonné ; reportez-vous au Manuel de l'utilisateur X25 GeoLink de votre machine.
Équipement fourni par l’installateur : un câble d’interface USB/CAN (câble Toro DIAG), Réf. 115-1944
Garez la machine sur le gazon, à un endroit plat et horizontal.
Coupez le moteur et serrez le frein de stationnement.
Note: Avant de connecter l'ordinateur portable à la machine pour l'étalonnage du logiciel, vous devez effectuer les procédures suivantes :
Vérification de la configuration matérielle minimale requise
Installation du logiciel et des fichiers de données de diagnostic
Téléchargement du logiciel et des fichiers de données de diagnostic (Diagnostic data files)
Si l'application Toro Diag est active sur l'ordinateur portable, fermez-la.
Important: Ne commencez pas le processus d'étalonnage si l'application Toro Diag est en cours d'exécution sur l'ordinateur portable.
Branchez le câble d’interface USB/CAN sur une prise USB de l'ordinateur portable.
Sur la machine, tournez la clé à la position ON (Marche).
Dans la barre des tâches Windows, cliquez sur l’icône de (Figure 143).

Dans la zone de texte , tapez et appuyez sur la touche Entrée (Figure 143).
Cliquez sur l’icône PVED-CLS_2.00_rev_D.P1D (Figure 143).
Note: L’application Outil de service Plus+1 s’affiche sur votre ordinateur portable (Figure 144).

Retirez le capuchon du connecteur à 3 douilles du port CAN du faisceau de câblage du kit étiqueté DUPLICATE DIAG CONNECTOR (CONNECTEUR DIAG DOUBLE), et branchez le connecteur à 3 broches du câble d’interface USB/CAN dans le connecteur à 3 douilles (Figure 145).

Sur le tableau de bord de la machine, placez le commutateur activation/transport à la position MODE ACTIVATION (Figure 146).

Sur votre ordinateur portable, cliquez sur le fichier PVED-CLS_2.00_REV_D.P1D.
Sous l’onglet System Navigator (Navigateur du système), accédez au répertoire AUTO CALIBRATION (étalonnage automatique), puis cliquez sur l’icône + (Figure 147).

Cliquez sur l’icône WAS CALIBRATION (Figure 147).
Mettez le moteur de la machine en marche.
Sur l’écran WAS CALIBRATION, cliquez sur l’icône MODE GOTO WAS CALIBRATION (Figure 147).
Tournez le volant à fond vers la gauche puis arrêtez-vous.
Cliquez sur l’icône CAPTURE L (Figure 148).
Note: La valeur du capteur change à mesure que vous tournez le volant.

Tournez le volant à fond vers la droite puis arrêtez-vous.
Cliquez sur l’icône CAPTURE R (Figure 149).
Note: La valeur du capteur change à mesure que vous tournez le volant.

Tournez le volant jusqu'à ce que les roues soient droites, puis arrêtez-vous.
Cliquez sur l’icône CAPTURE N (Figure 150).
Note: La valeur du capteur change à mesure que vous tournez le volant.

Cliquez sur l’icône ACCEPTER ET ENREGISTRER (Figure 151).

Tournez le volant au besoin, de sorte que les roues avant soient droites.
Sur votre ordinateur portable, cliquez sur l’icône ÉTALONNAGE DE LA BOBINE (Figure 152).

Sur la page d’étalonnage de la bobine, cliquez sur l’icône GOTO MODE ÉTALONNAGE DE LA BOBINE (Figure 152).
Cliquez sur l’icône DéMARRER L’éTALONNAGE (Figure 153).
Note: L’état du mode service doit indiquer Étalonnage de la bobine amorcé avant de commencer l’étalonnage.
Important: Ne touchez pas au volant.
Le volant bouge pendant le processus d'étalonnage de la bobine. L'étalonnage peut prendre plusieurs minutes. Veuillez noter que l'état de mouvement de la roue change sous l'onglet État. L’étalonnage est terminé quand le champ État du mode service affiche SPOOL PARAMETERS READY TO UPDATE (paramètres de bobine prêts à être mis à jour).

Au bas de l’écran d’étalonnage de la bobine, cliquez sur l’icône ACCEPTER ET ENREGISTRER (Figure 154).

Coupez le moteur.
Retirez le connecteur du câble d’interface USB/CAN du connecteur du faisceau de câblage du kit, et remettez le capuchon sur le connecteur du faisceau de câblage (Figure 155).

Tournez la clé en position ON.
Démarrez la console de commande X25 et appuyez sur l’icône CONFIGURATION.
Appuyez sur l’icône SYSTèME, l’icône CARACTéRISTIQUES, et l’icône GUIDAGE (Figure 156).

Appuyez sur l’icône AUTO
STEER
(Figure 156).
Dans la boîte de dialogue, appuyez sur l'icône ACTIVATION puis sur l'icône de confirmation (Figure 156).
Dans la boîte de dialogue Redémarrage obligatoire, appuyez sur l'icône de confirmation (Figure 156).
La console de commande X25 redémarre dans le mode utilisateur standard.
Dans l'écran de configuration, appuyez sur l'icône UTILISATEUR, puis sur l'icône NIVEAU D'ACCèS (Figure 158).

Sur l’écran d’accès utilisateur, cliquez sur l’icône NIVEAU D’ACCèS (Figure 158).
Dans la boîte de dialogue, appuyez sur l'icône EXPERT puis sur l'icône de confirmation (Figure 158).
Cliquez sur l’icône MOT DE PASSE, saisissez le mot de passe du concessionnaire à l’aide du clavier contextuel qui s’affiche, puis cliquez sur l'icône de confirmation (Figure 159).
Note: Le niveau d'accès utilisateur indique concessionnaire.

Appuyez sur l'icône VéHICULE, puis sur l'icône DIRECTION (Figure 160).

Cliquez sur l’icône ENGAGEMENT DE LA DIRECTION (Figure 160).
Dans la boîte de dialogue, appuyez sur l'icône ENTRéE CONSOLE VIRTUELLE ET EXTERNE, puis appuyez sur l'icône de confirmation (Figure 160).
Amenez la machine jusqu'à une zone plate et dégagée, sans arbres ni bâtiments, où vous pourrez conduire la machine en ligne droite sur 92 m.
Cliquez sur l’icône OPTIONS DE DIRECTION (Figure 161).
Le menu des options de direction s'affiche.

Cliquez sur l’icône ÉTALONNAGE DE LA DIRECTION AUTOMATIQUE (AUTO STEER) (Figure 161).
Le menu d’étalonnage de la direction s'affiche.
Cliquez sur l’icône CAPTEUR D’ANGLE DE ROUE (Figure 161).
L'assistant d'étalonnage du capteur d'angle de roue démarre.
Note: Si un message NON INITIALISé s’affiche sur la console de commande, conduisez la machine pendant plusieurs minutes.
À l’étape 1, attendez que l’étalonnage du capteur d’angle de roue s’initialise, puis cliquez sur l’icône Étape suivante (Figure 162).

À l’étape 2, tournez le volant à fond vers la gauche, arrêtez-vous, puis cliquez sur l’icône Étape suivante (Figure 163).
Important: Vérifiez que les valeurs du capteur d'angle de roue changent quand le volant tourne.

À l’étape 3, tournez le volant à fond vers la droite, arrêtez-vous, puis cliquez sur l’icône Étape suivante (Figure 164).

À l’étape 4, tournez le volant jusqu’à ce que les roues soient droites, arrêtez-vous, puis cliquez sur l’icône Étape suivante (Figure 164).
À l’étape 5, attendez que l’étalonnage du capteur d’angle de roue sauvegarde les données, puis cliquez sur l’icône Étape suivante (Figure 165).

À l'étape 6, appuyez sur l'icône de confirmation (Figure 165).
Suivez cette procédure pour étalonner la position du récepteur sur votre machine. Étalonnez le biais de montage du récepteur satellite lors de son installation initiale ou si le récepteur satellite est remplacé.
Note: Pour cet étalonnage, vous aurez besoin d'une zone plate et dégagée vous permettant de conduire en ligne droite sur 76 m ou plus.
Cliquez sur l’icône STEERING OPTIONS (Options de direction) (Figure 166).
Le menu des options de direction s'affiche.

Cliquez sur l’icône ÉTALONNAGE DE LA DIRECTION (Figure 166).
Le menu d’étalonnage de la direction s'affiche.
Cliquez sur l’icône BIAIS DE MONTAGE (Figure 167).
L'assistant d'étalonnage du biais de montage s'affiche.
Note: Si l’icône Mounting Bias indique NON REQUIS, vous n’avez pas besoin d’étalonner le réglage du biais de montage.

Conduisez la machine jusqu’à la fin de la zone dégagée, placez-la bien droite, puis cliquez sur l’icône POSITION A.
Note: Le symbole du point A s’affiche sur la console de commande.

Conduisez manuellement la machine en marche avant (Figure 169) à 2 km/h en ligne droite.
Note: GeoLink insère automatiquement le symbole du point B sur l’écran quand la machine parcourt 70 m.

La console de commande affiche l'écran suivant du processus d'étalonnage.
Faites demi-tour avec la machine, alignez-la sur la ligne directrice des positions A et B sur la console de commande (Figure 170).

Conduisez la machine vers le point B et cliquez sur
l’icône AUTO STEER
.
Important: Laissez la fonction de direction automatique diriger la machine.
Avant d’atteindre le point B, réglez la vitesse de déplacement de la machine sur 2 km/h, puis engagez le verrouillage d’accélérateur de la machine (Figure 170).
Note: L’Autosteer dirige la machine entre les points B et A (Figure 171).

Arrêtez la machine.
La console de commande affiche les éléments suivants :
La boîte de dialogue indiquant 100 % de progression de l’étalonnage, cliquez sur l’icône de confirmation (Figure 172).

Les boîtes de dialogue avec des étapes supplémentaires pour effectuer un passage d'étalonnage du biais de montage du point A au point B.
Note: Si le système n'indique pas 100 % de progression de l'étalonnage après avoir effectué le passage d'étalonnage du biais de montage du point A au point B, contactez le centre d'assistance technique Toro.

Contrôlez le niveau de liquide hydraulique. Si le niveau de liquide est bas, ajoutez du liquide dans le réservoir hydraulique ; reportez-vous au Manuel de l'utilisateur pour connaître les spécifications du liquide hydraulique et la procédure de contrôle.
