Le kit AutoSteer est un accessoire pour le système de pulvérisation GeoLink™, utilisé avec un véhicule pulvérisateur, qui est destiné aux utilisateurs professionnels et temporaires employés à des applications commerciales. Il est principalement conçu pour pulvériser les pelouses entretenues régulièrement dans les parcs, les terrains de golf, les terrains de sport et les espaces verts commerciaux. L'utilisation de ce produit à d'autres fins que celle prévue peut être dangereuse pour vous-même et toute personne à proximité.
Rendez-vous sur www.Toro.com pour tout document de formation à la sécurité et à l'utilisation des produits, pour tout renseignement concernant un produit ou un accessoire, pour obtenir l'adresse des dépositaires ou pour enregistrer votre produit.
Les produits chimiques sont dangereux et peuvent causer des blessures.
Lisez le mode d'emploi des produits chimiques avant de les manipuler, et suivez les recommandations et les consignes de sécurité du fabricant.
N'approchez pas les produits chimiques de la peau. En cas de contact, lavez soigneusement la zone affectée avec de l'eau propre et du savon.
Portez des lunettes à coques et autres équipements de protection selon les instructions du fabricant du produit chimique.
Garez la machine sur une surface plane et horizontale.
Serrez le frein de stationnement.
Placez les roues en position ligne droite.
Coupez le moteur et enlevez la clé.
Attendez l'arrêt complet de tout mouvement avant de quitter le siège de l'utilisateur.
Nettoyez le pulvérisateur; voir la section Nettoyage du pulvérisateur dans le Manuel de l'utilisateur de la machine.
Laissez refroidir les composants de la machine.
Tournez la clé de contact à la position CONTACT (modèle essence) ou PRéCHAUFFAGE/CONTACT (modèle diesel).
Appuyez sur l'icône À PROPOS DE (Toro) en haut à gauche de la console de commande (Figure 1).

Lorsque la version logicielle est correcte, la boîte de dialogue À propos de affiche la version 4.04 ou ultérieure.
Note: Si la version logicielle est différente, contactez le centre d’assistance technique Toro.
Rendez-vous sur www.danfoss.com.
Rendez-vous sur la page web PVED CLS.
Dans la liste des TéLéCHARGEMENTS, sélectionnez la version du microprogramme PVED CLS 2.00 et téléchargez-la sur votre ordinateur portable.
Sur votre ordinateur portable, dézippez le microprogramme PVED CLS 2.00.
Dans le dossier contenant les fichiers extraits, naviguez jusqu'au répertoire VED-CLS 2.00 firmware release package\PVED-CLS 2.00 firmware release package\Service tool.
Ouvrez le guide de l'utilisateur de l'outil de service Plus+1.
Naviguez jusqu'à la page System Requirements (exigences du système).
Note: Vérifiez que votre ordinateur portable répond aux exigences matérielles avant d'installer l'outil de service Plus+1 Guide.
Dans le dossier contenant les fichiers extraits, naviguez jusqu'au répertoire \PVED-CLS 2.00 firmware release package\PVED-CLS 2.00 firmware release package\Service tool.
Copiez le fichier PVED-CLS_2.00_REV_D.P1D sur le bureau de l'ordinateur portable.
Rendez-vous sur www.danfoss.com.
Cliquez sur le lien Products (produits), puis sur le lien Software (logiciel).
Sur la page web Software (logiciel), cliquez sur le lien du logiciel PLUS+1®.
Développez la section PLUS+1® software products (produits logiciels PLUS+1®), puis cliquez sur le formulaire Service Tool Request (demande d'outil de service).
Remplissez le formulaire de demande d'outil de service et cliquez sur l'icône Request PLUS+1 Service Tool (demander outil de service PLUS+1).
Note: Vous recevrez un courriel. Vérifiez votre demande en cliquant sur le lien de vérification (en rouge). La page web d'abonnement à Danfoss Power Solutions s'affiche dans votre navigateur.
Cliquez sur le lien Products (produits), puis sur le lien Software (logiciel).
Sur la page web Software (logiciel), cliquez sur le lien du logiciel PLUS+1®.
Dans la section PLUS+1® software products (produits logiciels PLUS+1®), développez la liste Service Tool (outil de service) et cliquez sur le lien Request (demande).
Remplissez le formulaire de demande d'outil de service et cliquez sur l'icône Request PLUS+1 Service Tool (demander outil de service PLUS+1).
Note: Vous recevrez un autre courriel.
Important: La personne qui installe l'outil de service PLUS+1 doit disposer des privilèges administratifs sur l'ordinateur portable.
Note: Consultez le guide de l'utilisateur de l'outil de service PLUS+1 pour plus de renseignements.
Dans le second courriel, cliquez sur le lien PLUS+1 Service Tool Download (téléchargement de l'outil de service PLUS+1).
Note: Une boîte de dialogue s'ouvre dans votre navigateur.
Dans la boîte de dialogue, cliquez sur l'icône OPEN (ouvrir).
Double cliquez sur le fichier de configuration : PLUS+1 Service Tool 9.1.6 setup.exe et cliquez sur l'icône RUN.
Note: L'ordinateur portable affiche la boîte de dialogue de l'assistant de configuration.
Utilisez l'assistant de configuration pour installer le logiciel PLUS+1 Service Tool.
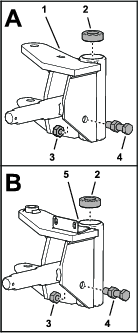
Pièces nécessaires pour cette opération:
| Fusée gauche | 1 |
| Douille | 2 |
| Graisseur | 1 |
| Pivot de fusée | 1 |
| Goupille fendue (1¼ x ⅛ po – du kit modèle 41636) | 2 |
| Goupille fendue (1½ x 5/32 po – du kit modèle 41636) | 1 |
Soulevez la machine et soutenez-la avec des chandelles; voir le Manuel de l'utilisateur de la machine.
Retirez les 5 écrous qui fixent la roue gauche au moyeu, puis déposez la roue de la machine (Figure 3).

Retirez la goupille fendue qui fixe l'écrou crénelé à l'embout de biellette de direction du vérin de direction, et retirez l'écrou crénelé et la rondelle de butée (Figure 5).
Note: Mettez la goupille fendue au rebut.

Séparez l'embout de biellette de direction du vérin du bras de direction vérin de la fusée gauche (Figure 5).
Retirez la goupille fendue qui fixe l'écrou crénelé à l'embout de biellette de la barre de direction, et retirez l'écrou crénelé (Figure 6).
Note: Mettez la goupille fendue au rebut.

Séparez l'embout de biellette de la barre de direction du bras de biellette sur la fusée gauche (Figure 6).
Retirez le boulon à embase (5/16 x ⅝ po) et la rondelle (⅜ x ⅞ po) qui fixent le pivot de fusée à la chape sur l'essieu avant (Figure 7).
Note: Conservez le boulon à embase et la rondelle pour installer la fusée neuve. Mettez au rebut l'ancien pivot de fusée.

Retirez le pivot de fusée de la chape et la fusée gauche, et déposez la fusée de la chape (Figure 7).
Insérez les 2 douilles aux bouts du manchon du pivot de fusée (Figure 8).
Note: Vérifiez que les douilles sont enfoncées au fond de la fusée.

Insérez le graisseur dans le trou du manchon du pivot de fusée (Figure 8).
Déposez la bague de butée au sommet de l'ancienne fusée gauche (Figure 9).

Retirez l'écrou (½ po) qui fixe le boulon d'arrêt d'essieu sur la fusée (Figure 9).
Important: Ne déplacez pas l'autre écrou qui est monté au centre du boulon d'arrêt.
Note: Vous n'avez plus besoin de l'ancienne fusée gauche.
Montez le boulon d'arrêt et l'écrou dans le trou de la nouvelle fusée gauche (Figure 9).
Fixez le boulon d'arrêt sur la fusée (Figure 9) avec l'écrou que vous avez retiré à l'opération 4.
Insérez le palier de butée au sommet de la nouvelle fusée gauche (Figure 9).
Alignez les trous de la bague de butée et la fusée sur le trou de la chape de l'essieu (Figure 10).

Fixez la fusée à la chape avec le nouveau pivot de fusée (Figure 10).
Fixez le pivot de fusée à la chape avec le boulon à embase (5/16 x ⅝ po) et la rondelle (⅜ x ⅞ po) que vous avez retirés sous Dépose de la fusée, et une nouvelle cale.
Graissez la fusée au niveau du graisseur sur le manchon du pivot de fusée; voir Préparation de la nouvelle fusée; voir la graisse spécifiée dans le Manuel de l'utilisateur.
Insérez l'embout de biellette de la barre de direction dans le trou du bras de biellette sur la fusée gauche (Figure 11).

Vissez l'écrou crénelé (½ po) sur l'embout de biellette de direction (Figure 11) et serrez-le à un couple de 27 à 34 N·m (20 à 25 pi-lb).
Note: Si la fente de l'écrou et le trou dans l'embout de biellette ne sont pas alignés, serrez l'écrou jusqu'à ce que la fente suivante s'aligne sur le trou.
Fixez l'écrou crénelé à l'embout de biellette de direction (Figure 11) avec la goupille fendue (1¼ x ⅛ po).
Note: Repliez les deux extrémités de la goupille fendue.
Insérez l'embout de biellette du vérin de direction dans le trou du bras de direction sur la fusée gauche (Figure 12).

Vissez l'écrou crénelé (½ po) et la rondelle de butée (½ po x 1⅛ po) sur l'embout de biellette de direction (Figure 12) et serrez-le à un couple de 27 à 34 N·m (20 à 25 pi-lb).
Note: Si la fente de l'écrou et le trou dans l'embout de biellette ne sont pas alignés, serrez l'écrou jusqu'à ce que la fente suivante s'aligne sur le trou.
Fixez l'écrou crénelé à l'embout de biellette de direction (Figure 12) avec la goupille fendue (1¼ x ⅛ po).
Note: Repliez les deux extrémités de la goupille fendue.
Placez le moyeu devant la fusée et glissez-le dessus avec précaution (Figure 13).

Placez la rondelle de butée et l'écrou crénelé (1 po) sur la fusée (Figure 13).
Serrez l'écrou crénelé à un couple de 9 à 180 N·m (75 à 180 po-lb).
Serrez l'écrou crénelé jusqu'à ce qu'il s'écarte de la rondelle et qu'un jeu axial du moyeu soit obtenu.
Serrez l'écrou crénelé à un couple de 170 à 226 N·m (15 à 20 po-lb).
Note: Si la fente de l'écrou et le trou dans la fusée ne sont pas alignés, serrez l'écrou jusqu'à ce que la fente suivante s'aligne sur le trou.
Fixez l'écrou crénelé à l'embout de biellette de direction avec la goupille fendue (Figure 13).
Note: Repliez les deux extrémités de la goupille fendue.
Retirez la vis au bout de l'axe de pivotement (Figure 14).
Note: Mettez la vis au rebut.

Vissez l'outil d'alignement au sommet de l'axe de pivotement (Figure 14).
Placez le support de capteur sur l'outil d'alignement, en face des fentes dans la bride de l'axe (Figure 15).

Fixez légèrement le support sur la bride (Figure 15) à l'aide de 2 vis à embase (¼ x ¾ po) et 2 contre-écrous (¼ po).
Note:
Positionnez le support en bas des fentes dans la bride de l'axe, puis serrez les vis à embase et les contre-écrous (Figure 15).
Enlevez l'outil d'alignement (Figure 16).

Vissez complètement l'écrou de blocage sur la cible magnétique (Figure 17).

Vissez la cible magnétique au sommet de l'axe de pivotement (Figure 17).
Montez le capteur de position de la direction sur son support à l'aide de 2 vis à tête tronconique (nº 4 x ¾ po) et contre-écrous (nº 4), puis serrez les vis et les contre-écrous (Figure 18).

Ajustez la position de la cible magnétique jusqu'à obtention d'un espace de 4 mm (0,16 po) entre la cible et la face du capteur (Figure 19).

Tournez la cible magnétique jusqu'à ce que le trait indicateur présent sur le méplat de la cible soient en face de l'orifice de câblage du capteur (Figure 19).
Resserrez l'écrou de blocage (Figure 19).
Mesurez l'espace entre la cible et la face du capteur (Figure 19). Il doit être compris entre 2 et 7 mm (0,08 et 0,27 po).
Note: Si l'espace est inférieur à 2 mm (0,08 po) ou supérieur à 7 mm (0,27 po), réglez la position de la cible magnétique, alignez le trait indicateur et serrez l'écrou de blocage.
Débranchez le connecteur de phare sur le faisceau de la machine du connecteur de l'ampoule du phare (Figure 21).

Répétez l'opération 1 pour l'autre phare.
Retirez les 4 fixations enfichables qui fixent la bride inférieure du capot sur la machine (Figure 22).

Retirez les 2 boulons à embase (5/16 x ¾ po) qui fixent la bride inférieure sur la machine (Figure 22).
Retirez les 4 vis à tête tronconique Phillips (¼ x 1 po) qui fixent le capot au support du tableau de bord (Figure 23).

Retirez les 2 fixations enfichables qui fixent le capot au support du tableau de bord (Figure 23).
Déposez le capot de la machine (Figure 24).
Note: Conservez le capot, les 2 boulons à embase et les 4 vis à tête tronconique Phillips.

Le cas échéant, déposez l'écran pare-chaleur et le carénage du dessous de la machine; voir le Manuel de l'utilisateur de la machine.
Pièces nécessaires pour cette opération:
| Obturateur de flexible (plastique) | 1 |
Important: Lorsque vous débranchez le flexible d'aspiration de la pompe hydraulique, vous devez insérer l'obturateur rapidement dans le flexible pour minimiser la perte de liquide hydraulique.
Au bas de la machine, placez un bac de vidange sous la pompe hydraulique et placez l'obturateur de flexible près de la pompe (Figure 25).

Desserrez le collier qui fixe le flexible d'aspiration sur la pompe hydraulique (Figure 26).

Débranchez le flexible d'aspiration du raccord cannelé de la pompe et insérez l'obturateur dans le flexible (Figure 26).
Fixez l'obturateur dans le flexible au moyen du collier.
Pièces nécessaires pour cette opération:
| Faisceau du bus ISO-CAN – 302 cm (119 po) | 1 |
| Attache-câbles | 12 |
Observez le type de gaine du câble de navigation du système GeoLink.

Notez le type de gaine du câble de navigation ici :
Basculez le siège passager en avant et fixez-le en position avec la béquille.
Débranchez les connecteurs à 2 et 4 broches sur le faisceau de la résistance de terminaison du connecteur à 2 douilles (alimentation commutée) et du connecteur à 4 douilles (étiqueté CAN 1/ISOBUS) du faisceau GeoLink (Figure 28).


Sur le côté droit du radiateur, faites remonter le faisceau de bus ISO-CAN le long du faisceau de la machine et vers la console centrale (Figure 31).

Acheminez le faisceau de bus ISO-CAN sous la base de la console et le long du faisceau de la machine (Figure 32).

Faites passer le connecteur à 3 broches (étiqueté TO TORO CANBUS) et le connecteur à 3 douilles (étiqueté CAN PORT A) du faisceau de bus ISO-CAN par le trou dans la base de la console (Figure 32).
Attachez le faisceau de bus ISO-CAN comme montré à la Figure 33.

Attachez le faisceau de bus ISO-CAN au faisceau de la machine à l'aide de 6 attache-câbles.
À l'avant de la machine, dirigez le connecteur à 4 broches du faisceau de bus ISO-CAN – 302 cm (119 po) étiqueté TO ISOBUS vers la planche de bord (Figure 34).

Retirez la terminaison du bus ISO du connecteur à 4 douilles du faisceau GeoLink étiqueté CAN 1 ISOBUS TERMINATOR (Figure 35).
Note: Vous n'avez plus besoin du capuchon.

Branchez le connecteur étiqueté TO ISOBUS du faisceau de bus ISO-CAN sur le connecteur étiqueté CAN 1 ISOBUS TERMINATOR du faisceau GeoLink (Figure 35).
Passez l'autre extrémité du faisceau de bus ISO-CAN dans le passe-câble du plancher (Figure 36).

Attachez le faisceau de bus ISO-CAN au faisceau de la machine à l'aide de 2 attache-câbles.
Au bas de la machine, acheminez le faisceau de bus ISO-CAN le long du faisceau de la machine (Figure 37).

Attachez le faisceau de bus ISO-CAN au faisceau de la machine à l'aide de 3 attache-câbles.
Basculez le siège passager en avant et soutenez-le avec la béquille.
Sur le côté droit du radiateur, faites remonter le faisceau de bus ISO-CAN le long du faisceau de la machine et vers la console centrale (Figure 38).

Acheminez le faisceau de bus ISO-CAN sous la base de la console et le long du faisceau de la machine (Figure 39).

Faites passer le connecteur à 3 broches (étiqueté TO TORO CANBUS) et le connecteur à 3 douilles (étiqueté CAN PORT A) du faisceau de bus ISO-CAN par le trou dans la base de la console (Figure 39).
Attachez le faisceau de bus ISO-CAN au faisceau de la machine à l'aide de 6 attache-câbles.
Retirez le capuchon du connecteur à 3 douilles du faisceau de la machine (étiqueté CAN DIAGNOSTICS INTERCONNECT), comme montré à la Figure 40.

Branchez le connecteur à 3 broches du faisceau de bus ISO-CAN (étiqueté TO TORO CANBUS) dans le connecteur à 3 douilles du faisceau de la machine (étiqueté CAN DIAGNOSTICS INTERCONNECT), comme montré à la Figure 40.
En avant du contrôleur TEC, déposez la résistance de 75 Ω du connecteur à 3 douilles (non étiqueté) du faisceau de la machine (Figure 42).
Note: Conservez la résistance pour l'installation sous Installation du faisceau adaptateur et de la résistance de terminaison.
Note: Vous monterez le panneau latéral sur la console centrale lors de l'installation du kit AutoSteer du pulvérisateur Multi Pro 5800 avec GeoLink; voir les instructions de réglage dans les Instructions d'installation du kit AutoSteer.

Pièces nécessaires pour cette opération:
| Faisceau adaptateur – 13 cm (5 po) | 1 |
| Attache-câble | 1 |
Sur le récepteur satellite, déposez la terminaison de bus ISO du connecteur à 6 douilles du faisceau GeoLink (Figure 43).
Note: Vous n'avez plus besoin de la terminaison de bus ISO.

Branchez le connecteur à 6 broches du faisceau adaptateur de 13 cm (5 po) sur le connecteur à 6 douilles du faisceau GeoLink (Figure 43).
Branchez la résistance que vous avez retirée sous Retrait de la résistance de terminaison sur le connecteur à 3 douilles du faisceau adaptateur (Figure 44).

Attachez le faisceau adaptateur au faisceau GeoLink avec un attache-câble.
Déposez le couvre-moyeu du volant (Figure 45).

Retirez l'écrou (⅝ po) et la rondelle (⅝ po) qui fixent le volant à l'arbre du distributeur de direction (Figure 45).
Déposez le volant de l'arbre du distributeur de direction (Figure 45).
Note: Conservez l'écrou, la rondelle, le volant et le couvre-moyeu.
Retirez les 2 vis et les 2 contre-écrous qui fixent le guide-flexible sur la bride du bac de rangement, et déposez le guide (Figure 46).
Note: Mettez au rebut les vis, les contre-écrous et le guide-flexible.

Enlevez les attache-câbles qui retiennent les gaines supérieure et inférieure sur les flexibles de direction, et déposez la gaines (Figure 47).
Note: Conservez la gaine de flexible inférieure.

Débranchez les 5 flexibles de direction du raccord sur le distributeur de direction (Figure 48).

Enlevez l'attache-câble qui fixe les flexibles de direction au faisceau de la machine (Figure 49).

Déposez le couvercle du distributeur de direction (Figure 50).

Retirez les 4 vis (8 x 20 mm) qui fixent le distributeur de direction à la plaque de direction, et déposez le distributeur de la plaque (Figure 50).
Note: Vous n'avez plus besoin de l'ancien distributeur; conservez le manchon de protection et les 4 vis.
Pièces nécessaires pour cette opération:
| Distributeur de direction | 1 |
Insérez l'arbre du nouveau distributeur de direction dans la plaque de direction (Figure 51).

Placez le graisseur de l'orifice R à la position de 3 heures (Figure 52).

Fixez le distributeur sur la plaque (Figure 51) à l'aide des 4 vis (8 x 20 mm) que vous avez retirées sous Dépose de la valve.
Enfilez le manchon de protection sur le distributeur de direction (Figure 51).
Vérifiez que les roues avant sont en position ligne droite.
Appliquez une fine couche de produit antigrippant sur l'arbre du distributeur de direction.
La grande branche du volant étant en bas, enfilez le volant sur l'arbre du distributeur de direction (Figure 53).

Placez la rondelle (⅝ po) et l'écrou (⅝ po) sur l'arbre (Figure 53).
Serrez l'écrou à un couple de 27 à 35 N·m (20 à 26 pi-lb).
Reposez le couvre-moyeu sur le volant (Figure 53).
Pièces nécessaires pour cette opération:
| Capuchon | 1 |
Sous le plancher, retirez l'écrou (¼ po), la rondelle frein (¼ po), la rondelle (⅜ x ⅞ po) et la vis (¼ x ⅞ po) qui fixent le collier de support des flexibles hydrauliques sur la plaque de l'embrayage, et déposez le collier (Figure 54).


Sur le côté droit de la machine, retirez les contre-écrous à embase (5/16 po), le boulon de carrosserie (5/16 x 1 po) et le boulon de carrosserie (5/16 x 1½ po) qui fixent les 2 colliers de support du flexible de retour du distributeur de direction aux supports moteur, et déposez les colliers (Figure 55).


Retirez les 2 contre-écrous à embase (5/16 po) qui fixent les moitiés supérieures des 2 colliers de tube, comme montré à la Figure 56, et déposez les moitiés de colliers.

Débranchez le flexible de retour du distributeur de direction sur le raccord en T au bas du réservoir hydraulique (Figure 57).

Placez le capuchon sur le raccord en T, comme montré à la Figure 58.

Débranchez le flexible de retour du distributeur de direction sur la machine (Figure 59).
Note: Mettez au rebut le flexible de retour.

Débranchez le flexible de pression avant du collecteur de levée de rampe qui est relié au raccord droit sur le côté gauche de la pompe hydraulique (Figure 62).

Débranchez le flexible de pression avant du collecteur de levée de rampe qui est relié au raccord de traversée au dos du réservoir hydraulique (Figure 64).

Déposez le flexible de pression avant de la machine (Figure 64).
Note: Mettez au rebut le flexible de pression.

Débranchez les flexibles du vérin de direction reliés aux raccords à 90° dans les orifices de déploiement et de rétraction du vérin de direction (Figure 65).

Déposez les flexibles du vérin de direction de la machine.
Note: Mettez les flexibles du vérin de direction au rebut.
Pièces nécessaires pour cette opération:
| Support de collecteur | 1 |
| Vis à embase (¼ x ½ po) | 2 |
| Rondelle (¼ po) | 2 |
| Contre-écrou à embase (¼ po) | 2 |
| Étrier fileté (⅜ po) | 2 |
| Contre-écrou à embase (⅜ po) | 4 |
| Autocollant de numéro de modèle/série | 1 |
| Distributeur de direction EHI | 1 |
| Raccord hydraulique droit (-6 x 12 mm) | 2 |
| Raccord hydraulique droit (-8 x 22 mm) | 4 |
| Raccord hydraulique droit (-6 x 18 mm) | 4 |
| Vis à embase (8 x 16 mm) | 3 |
Placez le support de collecteur devant l'avant de la machine, comme montré à la Figure 66.

Alignez les trous du support de collecteur et les fentes dans la brode du compartiment de rangement (Figure 67).
Note: Veillez à ne pas coincer le faisceau entre le support et le compartiment.

Fixez légèrement le support de collecteur sur la bride (Figure 67) à l'aide de 2 vis à embase (¼ x ½ po), 2 rondelles (¼ po) et 2 contre-écrous à embase (¼ po).
Fixez légèrement le support de collecteur au tube de support du tableau de bord (Figure 68) à l'aide de 2 étriers filetés (⅜ po) et 4 contre-écrous à embase (⅜ po).

Serrez les vis, les étriers filetés et les contre-écrous.
Décollez la pellicule de protection au dos de l'autocollant des numéros de modèle et de série.
Apposez l'autocollant sur le support de collecteur, comme montré à la Figure 69.

Montez les 2 raccords hydrauliques droits (-6 x 12 mm) dans le distributeur de direction EHI (Figure 70) comme suit :
Orifice LS1
Orifice LS2

Retirez les 2 bouchons des orifices P et T sur le distributeur de direction EHI (Figure 71).

Montez les 4 raccords hydrauliques droits (-6 x 22 mm) dans la valve (Figure 71) comme suit :
Orifice P
Orifice T
Orifice P (EF)
Orifice T (EF)
Montez les 4 raccords hydrauliques droits (-6 x 18 mm) dans le distributeur de direction EHI (Figure 72) comme suit :
Orifice CR
Orifice R
Orifice CL
Orifice L

Pièces nécessaires pour cette opération:
| Bague | 1 |
Basculez le siège passager en avant pour accéder à la base de la console (Figure 74).

Passez un morceau de tôle, large de 120 mm (4 po) environ, dans la fente de la béquille dans la base de la console, entre la base et le faisceau de câblage qui est dessous.
Note: La tôle sert à protéger le faisceau lorsque vous percez la base de la console.
Mesurez 69 mm (2-11/16 po) vers l'arrière en partant du trou carré près de la fente de la béquille dans la base de la console, et faites un repère sur la base de la console (Figure 75).

Mesurez 45 mm (1-3/46 po) vers l'intérieur à partir de la bride à fentes de la base de la console et faites un repère sur la base (Figure 75).
Marquez au pointeau la base de la console à l'intersection des deux repères.
Avec un foret de 32 mm, percez un trou dans la base de la console, à l'emplacement marqué au pointeau (Figure 75).
Retirez la tôle et ébavurez le trou.
Insérez le passe-câble dans le trou (Figure 76).

Pièces nécessaires pour cette opération:
| Interrupteur à 2 positions | 1 |
| Autocollant de transport | 1 |
| Faisceau électrique | 1 |
| Attache-câble | 7 |
| Fusible (10 A) | 1 |
| Bouton-poussoir, écrou de blocage et rondelle frein | 1 |
| Autocollant d'engagement à distance d'AutoSteer | 1 |
Retirez l'obturateur du tableau de bord comme montré à la Figure 77.

Alignez l'interrupteur à 2 positions sur l'épaulement (Figure 77) aligné au sommet de la planche de bord.
Insérez la commande à 2 positions dans le trou du tableau de bord (Figure 77).
Appliquez l'autocollant de transport par dessus l'autocollant du tableau de bord, comme montré à la Figure 78.




À l'avant de la machine, faites passer les connecteurs du faisceau (Figure 82) étiquetés comme suit par le fond du plancher :

Branchez le connecteur à 12 douilles du faisceau étiqueté sur le connecteur à 12 broches du distributeur de direction EHI (Figure 83).

Branchez le connecteur à 2 douilles du faisceau étiqueté sur le connecteur à 2 broches du solénoïde EHI (Figure 83).
Retirez le capuchon du connecteur à 4 douilles du faisceau GeoLink étiqueté (Figure 84).

Branchez le connecteur à 4 broches du faisceau du kit étiqueté sur le connecteur à 4 douilles étiqueté (Figure 84).
Branchez le connecteur à 8 douilles du faisceau du kit étiqueté (Figure 85) sur l'interrupteur à 2 positions que vous avez installé sous Montage de la commande de route sur le tableau de bord.

Acheminez le faisceau du kit vers l'arrière, le long du faisceau de la machine (Figure 86).

Acheminez la branche du faisceau avec le connecteur étiqueté le long de l'arrière du tube d'essieu avant (Figure 86).
Au dos et en bas du radiateur, faites remonter le faisceau le long du faisceau de la machine (Figure 87).

Branchez le connecteur à 6 broches du faisceau du capteur d'angle sur le connecteur à 6 douilles du faisceau du kit étiqueté (Figure 88).

Avec 2 attache-câble, fixez le faisceau du capteur d'angle de roue et la branche associée au capteur d'angle du faisceau du kit sur le tube d'essieu.
Acheminez la branche du faisceau avec les bornes étiquetées et en travers du haut du radiateur, le long du faisceau de la machine (Figure 89).


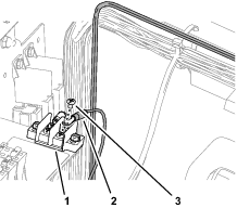
Retirez une vis de cosse du bornier de masse (Figure 90).

Fixez la cosse en anneau du faisceau du kit étiquetée sur le bornier de masse avec la vis (Figure 90).
Branchez la borne du faisceau du kit étiquetée sur le connecteur à lame pour l'alimentation des options du porte-fusibles (Figure 91).
Note: Si le porte-fusibles de la machine n'a pas de circuit d'alimentation des options disponible, installez un porte-fusibles supplémentaire pour les options; adressez-vous à un distributeur Toro agréé.

Insérez le fusible (10 A) dans l'emplacement sur le porte-fusibles (Figure 92) correspondant au circuit d'alimentation des options que vous avez utilisé à l'opération 4.

Fixez la branche alimentation/masse commutée du faisceau du kit au faisceau de la machine avec 4 attache-câbles.
Branchez le connecteur à 2 broches du faisceau du kit étiqueté sur le connecteur à 2 douilles du faisceau GeoLink étiqueté (Figure 93).

Retirez les 4 vis à embase (¼ x ¾ po) qui fixent le panneau latéral de la console centrale, comme montré à la Figure 94.

Basculez le siège en avant et retirez la vis à embase inférieure arrière (Figure 94).
Répétez les opérations 1 à 2 de l'autre côté de la console centrale.
Retirez la vis à embase (5/16 x ⅝ po) qui fixe le panneau de l'accoudoir au cadre de la console (Figure 95).

Soulevez et déposez le panneau d'accoudoir du cadre (Figure 95).
Mesurez 260 mm (10¼ po) à partir de l'arrière du panneau d'accoudoir et faites un repère sur le panneau (Figure 96).

Mesurez 35 mm (1⅜ po) à partir du haut du panneau d'accoudoir et faites un repère sur le panneau (Figure 96).
Marquez au pointeau l'intersection des repères.
Protégez le fil dans le panneau d'accoudoir.
Percez un trou de 17 mm (11/16 po) dans le panneau d'accoudoir à l'emplacement marqué au pointeau (Figure 96).
Ébavurez le trou.
Faites passer la branche du faisceau étiquetée REMOTE ENGAGE SWITCH par le passe-fil (Figure 98) que vous avez installé sous Perçage de la base de la console.

Faites passer la branche du faisceau étiquetée REMOTE ENGAGE SWITCH) dans la console centrale (Figure 98).
Acheminez la branche du faisceau étiquetée REMOTE ENGAGE SWITCH) vers le panneau d'accoudoir (Figure 99).

Placez les cosses de la branche du faisceau étiquetée REMOTE ENGAGE SWITCH sur les bornes du bouton-poussoir (Figure 100).

Attachez le faisceau de câblage au faisceau de la machine avec un attache-câble.
Alignez les languettes à l'avant du panneau d'accoudoir et les fentes dans le cadre de la console, puis faites pivoter le panneau vers le bas (Figure 101).

Fixez le panneau d'accoudoir au cadre de la console (Figure 101) avec la vis à embase (5/16 x ⅝ po).
Fixez le panneau latéral au cadre de la console (Figure 102) avec 4 vis à embase (¼ x ¾ po).

Basculez le siège en avant et installez la vis à embase inférieure arrière (Figure 102).
Répétez les opérations 3 à 4 de l'autre côté de la console centrale.
Apposez l'autocollant d'engagement à distance d'AutoSteer sur le panneau d'accoudoir, comme montré à la Figure 103.

Pièces nécessaires pour cette opération:
| Joint torique 1,6/1,8 mm (0,489/0,070 po) | 2 |
| Joint torique 15,6/1,8 mm (0,614/0,070 po) | 1 |
| Joint torique 29,7/2,9 mm (1,171/0,116 po) | 1 |
| Joint torique 16,4/2,3 mm (0,644/0,090 po) | 1 |
| Pompe hydraulique | 1 |
| Raccord droit (⅞ x 13/16 po) | 1 |
| Raccord droit (¼ x ¼ po) | 1 |
| Joint torique 85,7/16 mm (3,375/0,630 po) | 1 |
Débranchez le flexible de pression du moteur de la pompe de pulvérisation qui est relié au raccord droit sur le côté gauche de la pompe hydraulique (Figure 104).

Retirez les 2 vis à tête creuse (⅜ x 1 po) et les 2 rondelles (3/8 po) qui fixent la pompe hydraulique à la pompe de traction, et déposez la pompe hydraulique (Figure 105).

En travaillant avec les 3 raccords hydrauliques que vous avez déposés sous Dépose des raccords hydrauliques de la pompe, déposez les 5 joints toriques, comme montré à la Figure 107.

Placez un joint torique 7,6/1,8 mm (0,301/0,070 po) et un joint torique 15,6/1,8 mm (0,614/0,070 po) neufs dans les rainures du raccord droit (⅝ x ¾ po), comme montré à la Figure 107.
Placez un joint torique 29,7/2,9 mm (1,171/0,116 po) neuf dans la rainure du raccord cannelé (Figure 107).
Placez un joint torique 7,6/1,8 mm (0,301/0,070 po) et un joint torique 16,4/2,3 mm (0,644/0,070 po) neufs dans les rainures du raccord en T (Figure 107).
Placez le raccord en T, le raccord de contrôle et le chapeau que vous avez déposés à l'opération 2 de Dépose des raccords hydrauliques de la pompe dans l'orifice supérieur droit de la nouvelle pompe hydraulique (Figure 108).

Placez le raccord à droit (⅞ x 13/6 po) dans l'orifice supérieur gauche de la pompe hydraulique (Figure 108).
Serrez le raccord droit à un couple de 134 à 164 N·m (99 à 121 pi-lb).
Placez le raccord droit (¼ x ¼ po) dans le raccord d'orifice de la pompe hydraulique, comme montré à la Figure 108.
Placez le raccord droit (⅝ x ¾ po) dans le corps de la pompe hydraulique, comme montré à la Figure 108.
Serrez le raccord droit à un couple de 110 à 134 N·m (81 à 99 pi-lb).
Placez le raccord cannelé dans le corps de la pompe hydraulique (Figure 108).
Serrez le raccord cannelé à un couple de 164 à 202 N·m (121 à 149 pi-lb).
Placez le joint torique 85,7/16 mm (3,375/0,630 po) par dessus le couvercle avant de la pompe hydraulique (Figure 109).

Alignez les cannelures de l'arbre d'entraînement de la pompe hydraulique et les cannelures de l'accouplement sur la pompe de traction, et insérez l'arbre d'entraînement dans l'accouplement (Figure 109).
Fixez la pompe hydraulique sur la pompe de traction avec les 2 vis à tête creuse (⅜ x 1 po) et les 2 rondelles (3/8 po) que vous avez retirées sous Dépose de la pompe hydraulique.
Serrez les vis à tête creuse à un couple de 37 à 42 N·m (27 à 31 pi-lb).
Branchez le flexible de pression du moteur de la pompe de pulvérisation au raccord droit, et serrez le raccord (Figure 110).

Placez un bac de vidange sous le flexible d'aspiration de la pompe hydraulique (Figure 111).

Desserrez le collier du flexible (Figure 112).

Retirez l'obturateur du flexible d'aspiration et branchez le flexible sur le raccord cannelé de la pompe hydraulique (Figure 112).
Fixez le flexible sur le raccord au moyen du collier (Figure 112).
Pièces nécessaires pour cette opération:
| Flexible de pression 10 x 660 mm (⅜ x 26 po) | 1 |
Pièces nécessaires pour cette opération:
| Flexible 6 x 203 mm (¼ x 8 po); raccords -6 (droit) et -6 (45°) | 1 |
| Joint torique 12,4/1,8 mm (0,489/0,070 po) | 2 |
| Flexible 6 x 2819 mm (¼ x 111 po); raccords -4 (90°) et -6 (90°) | 1 |
| Flexible 6 x 673 mm (¼ x 26½ po); raccords -4 (droit) et -6 (90°) | 1 |
| Flexible 6 x 711 mm (¼ x 28 po); raccords -6 (droit) et -6 (90°) | 1 |
| Flexible 10 x 187 mm (⅜ x 7⅜ po); raccords -6 (droit) et -8 (90°) | 1 |
| Flexible 10 x 264 mm (⅜ x 10⅜ po); raccords -8 (90°) et -6 (45°) | 1 |
| Joint torique 9,2/1,8 mm (0,364/0,070 po) | 2 |
| Flexible 6 x 1397 mm (¼ x 55 po); raccords -6 (droit) et -6 (90°) | 1 |
| Flexible 6 x 1270 mm (¼ x 50 po); raccords -6 (droit) et -6 (90°) | 1 |
| Flexible 10 x 2921 mm (⅜ x 115 po); raccords -8 (90°) et -8 (90°) | 1 |
| Flexible 10 x 2921 mm (⅜ x 115 po); raccords -8 (90°) et -6 (90°) | 1 |
| Joint torique 7,6/1,8 mm (0,301/0,070 po) | 1 |
| Attache-câble | 3 |
Branchez le raccord à 45° du flexible de 6 x 203 mm (¼ x 8 po) au raccord de l'orifice LS2 du distributeur de direction EHI (Figure 115).

Branchez le raccord droit du flexible de 6 x 203 mm (¼ x 8 po) au raccord de l'orifice E du distributeur de direction, et serrez les deux raccords (Figure 115).
Faites passer l'extrémité du flexible de pompe hydraulique de 6 x 2819 mm (¼ x 111 po) munie du raccord -4 (90°) par le passe-câble du panneau de plancher (Figure 116).

Branchez le raccord -6 (90°) du flexible de 6 x 2819 mm (¼ x 111 po) au raccord de l'orifice LS1 du distributeur de direction EHI, et serrez le raccord du flexible (Figure 116).
Branchez le raccord à 90° du flexible de 6 x 673 mm (¼ x 26½ po) au raccord de l'orifice R du distributeur de direction EHI (Figure 117).

Branchez le raccord droit du flexible de 6 x 673 mm (¼ x 26½ po) au raccord de l'orifice R du distributeur de direction, et serrez les deux raccords (Figure 117).
Branchez le raccord à 90° du flexible de 6 x 711 mm (¼ x 28 po) au raccord de l'orifice L du distributeur de direction EHI (Figure 118).

Branchez le raccord droit du flexible de 6 x 711 mm (¼ x 28 po) au raccord de l'orifice L du distributeur de direction, et serrez les deux raccords (Figure 118).
Branchez le raccord à 90° du flexible de 10 x 187 mm (⅜ x 7⅜ po) au raccord de l'orifice T du distributeur de direction EHI (Figure 119).

Branchez le raccord droit du flexible de 10 x 187 mm (⅜ x 7⅜ po) au raccord de l'orifice T du distributeur de direction, et serrez les deux raccords (Figure 119).
Branchez le raccord à 90° du flexible de 10 x 264 mm (⅜ x 10⅜ po) sur le raccord de l'orifice P du distributeur de direction EHI (Figure 120).

Branchez le raccord à 45° du flexible de 10 x 264 mm (⅜ x 10⅜ po) au raccord de l'orifice P du distributeur de direction, et serrez les deux raccords (Figure 120).
Faites passer l'extrémité du flexible de 6 x 1397 mm (¼ x 55 po) munie du raccord droit par le passe-câble du panneau de plancher (Figure 121).

Branchez le raccord à 90° du flexible de 6 x 1397 mm (¼ x 55 po) au raccord de l'orifice CR du distributeur de direction EHI (Figure 121).
Déposez les 2 joints toriques sur la face des raccords à 90° situés dans les orifices de déploiement et de rétraction du vérin de direction (Figure 122).
Note: Mettez le joint torique au rebut.

Placez 2 joints toriques 9,2/1,8 mm (0,364/0,116 po) neufs dans la rainure du raccord à 90° (Figure 122).
Branchez le raccord droit du flexible de 6 x 1397 mm (¼ x 55 po) au raccord à 90° de l'orifice de rétraction du vérin de direction, et serrez les deux raccords (Figure 121).
Faites passer l'extrémité du flexible de 6 x 1270 mm (¼ x 50 po) munie du raccord droit par le passe-câble du panneau de plancher (Figure 123).

Branchez le raccord à 90° du flexible de 6 x 1270 mm (¼ x 50 po) au raccord de l'orifice CL du distributeur de direction EHI (Figure 123).
Branchez le raccord droit du flexible de 6 x 1270 mm (¼ x 50 po) au raccord à 90° de l'orifice de déploiement du vérin de direction, et serrez les deux raccords (Figure 123).
Identifiez le flexible de retour du réservoir de 10 x 2921 mm (⅜ x 115 po) muni de 2 raccords à 90°.
Faites passer l'extrémité du flexible de retour du réservoir de 10 x 2921 mm (⅜ x 115 po) par le passe-câble du panneau de plancher (Figure 124).

Branchez le raccord à 90° du flexible de retour du réservoir de 10 x 2921 mm (⅜ x 115 po) au raccord de l'orifice EF du distributeur de direction EHI, et serrez le raccord du flexible (Figure 124).
Identifiez le flexible de la pompe hydraulique de 10 x 2921 mm (⅜ x 115 po) muni d'un raccord à 90° et d'un raccord à 45°.
Faites passer l'extrémité du flexible de pompe hydraulique de 10 x 2921 mm (⅜ x 115 po) munie du raccord à 45° par le passe-câble du panneau de plancher (Figure 125).

Branchez le raccord à 90° du flexible de pompe hydraulique de 10 x 2921 mm (⅜ x 115 po) au raccord de l'orifice PT du distributeur de direction EHI, et serrez le raccord du flexible (Figure 125).
Acheminez les 2 flexibles de la pompe hydraulique et le flexible de retour du réservoir vers l'arrière, le long du tube de cadre droit de la machine (Figure 126).

Faites passer le flexible de la pompe hydraulique de 10 x 2921 mm (⅜ x 115 po – orifice PT du distributeur de direction EHI) muni du raccord à 45° dans la rainure supérieure du demi-collier de tube, en haut (Figure 127).

Dirigez le raccord à 45° du flexible vers la pompe hydraulique.
Faites passer le flexible de la pompe hydraulique de 6 x 2819 mm (¼ x 111 po – orifice LS1 du distributeur de direction EHI) muni du raccord à 90° dans la rainure inférieure du demi-collier de tube, en haut (Figure 128).

Dirigez le raccord à 90° du flexible vers la pompe hydraulique.
Enfilez les 2 moitiés des colliers de tube sur la vis et fixez-les ainsi que les flexibles (Figure 129) avec 2 contre-écrous à embase (5/16 po).

Acheminez le flexible de retour du réservoir de 6 x 2819 mm (¼ x 111 po – orifice EF du distributeur de direction EHI) transversalement au sommet des supports droits du moteur (Figure 130).

Placez les 2 colliers en P sur le flexible, comme montré à la Figure 130.
Alignez les 2 colliers en P entre les plaques de montage de collier et les supports du moteur (Figure 130).
Fixez les plaques de montage et les colliers en P sur les supports du moteur (Figure 130 et Figure 131) avec les 2 boulons de carrosserie (5/16 x 1 po) et les 2 contre-écrous à embase (5/16 po).

Retirez le joint torique de la face du raccord en T sur le réservoir hydraulique (Figure 132).
Note: Mettez le joint torique au rebut.

Placez un joint torique 12,4/1,8 mm (0,489/0,070 po) neuf dans la rainure du raccord en T (Figure 132).
Branchez le raccord à 90° du flexible de retour du réservoir de 6 x 2819 mm (¼ x 111 po) sur le raccord en T et serrez le raccord du flexible (Figure 133).

Retirez le joint torique de la face du raccord en T au bout de la pompe hydraulique (Figure 134).
Note: Mettez le joint torique au rebut.

Placez un joint torique 12,4/1,8 mm (0,489/0,070 po) neuf dans la rainure du raccord en T (Figure 134).
Branchez le raccord à 45° du flexible de 10 x 2921 mm (⅜ x 115 po) sur le raccord droit et serrez le raccord du flexible (Figure 135).

Retirez le joint torique de la face du raccord droit sur la pompe hydraulique (Figure 136).
Note: Mettez le joint torique au rebut.

Placez un joint torique 12,4/1,8 mm (0,489/0,070 po) neuf dans la rainure du raccord droit (Figure 136).
Branchez le raccord à 90° du flexible de 10 mm x 660 mm (⅜ po x 26 po) sur le raccord droit et serrez le raccord du flexible (Figure 137).

Retirez le joint torique de la face du raccord droit sur la pompe hydraulique (Figure 138).
Note: Mettez le joint torique au rebut.

Placez un joint torique 7,6/1,8 mm (0,301/0,070 po) neuf dans la rainure du raccord droit (Figure 138).
Branchez le raccord à 90° du flexible de 6 x 2819 mm (¼ x 111 po) sur le raccord droit et serrez le raccord du flexible (Figure 139).

Sous le panneau de plancher, comme montré à la Figure 140, fixez les flexibles et les faisceaux de câblage sur l'embrayage et la plaque d'embrayage à l'aide du collier de support, de la vis (¼ x ⅞ po), de l'écrou (¼ po), de la rondelle frein (¼ po) et de la rondelle (⅜ x ⅞ po) que vous avez retirés sous Dépose des colliers de support de flexibles.


Placez la gaine inférieure sur les flexibles de la direction (Figure 141).

Fixez la gaine sur les flexibles avec 3 attache-câbles (Figure 141).
Démarrez le moteur.
Tournez le volant à fond à droite et à gauche jusqu'à ce que la roue tourne régulièrement.
Coupez le moteur et enlevez la clé.
Recherchez des fuites hydrauliques au niveau des flexibles et des raccords du distributeur de direction EHI et du distributeur de direction.
Important: Réparez les fuites avant de poser le capot.
Recherchez des fuites au niveau des flexibles et des raccords sur le réservoir hydraulique et la pompe hydraulique.
Important: Réparez toutes les fuites.
Pièces nécessaires pour cette opération:
| Fixations enfichables | 6 |
Alignez les trous du capot et les trous du châssis de la machine (Figure 143).

Fixez le capot au support du tableau de bord avec 2 fixations enfichables (Figure 144).

Fixez le capot au support du tableau de bord (Figure 144) avec 4 vis Phillips à tête creuse (¼ x 1 po).
Fixez la bride inférieure du capot de la machine avec 4 fixations enfichables (Figure 145).

Fixez la bride sur la machine (Figure 145) avec 2 boulons à embase (5/16 x ¾ po).
Branchez le connecteur de phare sur le faisceau de la machine au connecteur de l'ampoule du phare (Figure 146).

Répétez l'opération 6 pour l'autre phare.
Si vous l'avez déposé, reposez l'écran pare-chaleur et le carénage du soubassement sur le dessous de la machine; voir le Manuel de l'utilisateur de la machine.
Vérifiez que le compas GeoLink est étalonné, voir le Manuel de l'utilisateur X25 GeoLink de la machine.
Équipement fourni par l'installateur : un câble d'interface USB/CAN (câble DIAG Toro), réf. 115-1944
Garez la machine sur une partie de niveau du gazon.
Coupez le moteur et serrez le frein de stationnement.
Branchez le câble d'interface USB/CAN sur le port USB de l'ordinateur portable.
Sur la machine, tournez la clé à la position CONTACT.
Ouvrez l'outil de service Danfoss Plus+1 sur votre ordinateur portable.
Enlevez le capuchon du connecteur à 3 douilles du port CAN faisceau du kit étiqueté DUPLICATE DIAG CONNECTOR et branchez le connecteur à 3 broches du câble d'interface USB/CAN sur le connecteur à 3 douilles (Figure 147).

Sur le tableau de bord de la machine, poussez la commande d'activation/transport à la position MODE ACTIVATION (Figure 148).

Sur l'ordinateur portable, cliquez sur le fichier PVED-CLS_2.00_REV_D.P1D.
Sous l'onglet System Navigator (navigateur système), naviguez jusqu'au répertoire AUTO CALIBRATION (auto-étalonnage), et cliquez sur l'icône + (Figure 149).

Cliquez sur l'icône WAS CALIBRATION (étalonnage WAS) (Figure 149).
Démarrer le moteur de la machine.
Sur l'écran WAS CALIBRATION (étalonnage WAS), cliquez sur l'icône GOTO WAS CALIBRATION MODE (passer au mode étalonnage WAS) (Figure 149).
Tournez le volant à gauche jusqu'à la butée.
Cliquez sur l'icône CAPTURE L (Figure 150).
Note: La valeur du capteur changes quand vous tournez le volant.

Tournez le volant à droite jusqu'à la butée.
Cliquez sur l'icône CAPTURE R (Figure 151).
Note: La valeur du capteur changes quand vous tournez le volant.

Tournez le volant jusqu'à ce que les roues soient en position ligne droite, puis arrêtez.
Cliquez sur l'icône CAPTURE N (Figure 152).
Note: La valeur du capteur changes quand vous tournez le volant.

Cliquez sur l'icône ACCEPT AND SAVE (accepter et enregistrer) (Figure 153).

Sur l'ordinateur portable, cliquez sur l'icône SPOOL CALIBRATION (étalonnage du tiroir) (Figure 154).

Sur la page Spool Calibration (étalonnage du tiroir), cliquez sur l'icône GOTO SPOOL CALIBRATION MODE (passer au mode étalonnage du tiroir) (Figure 154).
Cliquez sur l'icône START CALIBRATION (lancer étalonnage) (Figure 155).
Note: L'état du mode service doit être Spool Calibration Armed (étalonnage du tiroir armé) avant de lancer l'étalonnage.
Important: Ne touchez pas le volant.
Le volant tourne pendant le processus d'étalonnage du tiroir. Ce processus prend plusieurs minutes. Notez que l'état du mouvement du volant change dans l'onglet Status (état). L'étalonnage est terminé quand le champ Service Mode State (état du mode service) affiche SPOOL PARAMETERS READY TO UPDATE (paramètres de tiroir prêts à être mis à jour).

Au bas de l'écran d'étalonnage du tiroir, cliquez sur l'icône ACCEPT AND SAVE (accepter et enregistrer) (Figure 156).

Coupez le moteur.
Débranchez le connecteur du câble d'interface USB/CAN du connecteur du faisceau du kit et placez le chapeau du le connecteur du faisceau (Figure 157).

Tournez la clé à la position CONTACT.
Démarrez la console de commande X25 et appuyez sur l'icône SETUP (réglage).
Appuyez sur les icônes SYSTEM (système), FEATURES (fonctions) et GUIDANCE (guide) (Figure 158).

Appuyez sur l'icône AUTO STEER
(Figure 158).
Dans la boîte de dialogue, appuyez sur l'icône ENABLE (activer), puis sur l'icône de confirmation (Figure 158).
Dans la boîte de dialogue Operation Requires Restart (redémarrage nécessaire), appuyez sur l'icône de confirmation (Figure 158).
La console de commande X25 redémarrer en mode utilisateur standard.
Sur l'écran de réglage, appuyez sur l'icône USER (utilisateur) puis sur l'icône ACCESS LEVEL (niveau d'accès) (Figure 160).

Sur l'écran d'accès utilisateur, appuyez sur l'icône ACCESS LEVEL (niveau d'accès) (Figure 160).
Dans la boîte de dialogue, appuyez sur l'icône EXPERT, puis sur l'icône de confirmation (Figure 160).
Appuyez sur l'icône PASSWORD (mot de passe), saisissez le mot de passe du dépositaire à partir du clavier de la fenêtre contextuelle, et appuyez sur l'icône de confirmation (Figure 161).
Note: Le niveau d'accès utilisateur affiche Dealer (dépositaire).

Appuyez sur l'icône VEHICLE (véhicule), puis appuyez sur l'icône STEERING (direction) (Figure 162).

Appuyez sur l'icône STEERING ENGAGE (engagement de direction) (Figure 162).
Dans la boîte de dialogue, appuyez sur l'icône VIRTUAL AND EXTERNAL CONSOLE INPUT (entrée de console virtuelle et externe), puis sur l'icône de confirmation (Figure 162).
Conduisez la machine jusqu'à une zone dégagée, plane et horizontale, exempte d'arbres et de bâtiments, où la machine peut parcourir 92 m (300 pi) en ligne droite.
Appuyez sur l'icône STEERING OPTIONS (options de direction) (Figure 163).
Le menu des options de direction s'affiche.

Appuyez sur l'icône AUTO STEER CALIBRATION (étalonnage d'AutoSteer) (Figure 163).
Le menu étalonnage de direction s'affiche.
Appuyez sur l'icône WHEEL ANGLE SENSOR (capteur d'angle de roue) (Figure 163).
L'assistant d'étalonnage du capteur d'angle de roue démarre.
Note: Si le message NOT INITIALIZED (non initialisé) s'affiche sur la console de commande, conduisez la machine pendant quelques minutes.
À l'étape 1, attendez que le capteur d'angle de roue soit initialisé puis appuyez sur l'icône Étape suivante (Figure 164).

À l'étape 2, tournez le volant à fond à gauche jusqu'à la butée, puis appuyez sur l'icône Étape suivante (Figure 165).
Important: Vérifiez que les valeurs du capteur d'angle de roue changent quand vous tournez le volant.

À l'étape 3, tournez le volant à fond à droite jusqu'à la butée, puis appuyez sur l'icône Étape suivante (Figure 166).

À l'étape 4, tournez le volant jusqu'à ce que les roues soient en position ligne droite, puis appuyez sur l'icône Étape suivante (Figure 166).
À l'étape 5, attendez que les données d'étalonnage du capteur d'angle de roue soient sauvegardées, puis appuyez sur l'icône Étape suivante (Figure 167).

À l'étape 6, appuyez sur l'icône de confirmation (Figure 167).
Utilisez cette procédure pour étalonner la position du récepteur sur la machine. Étalonnez le biais de montage du récepteur satellite lors du tout premier montage ou si le récepteur satellite est remplacé.
Note: Pour effectuer l'étalonnage, vous devez vous rendre jusqu'à une surface plane et dégagée sur laquelle la machine pourra parcourir au moins 76 m (250 pi) en ligne droite.
Appuyez sur l'icône STEERING OPTIONS (options de direction) (Figure 168).
Le menu des options de direction s'affiche.

Appuyez sur l'icône STEERING CALIBRATION (étalonnage de direction) (Figure 168).
Le menu étalonnage de direction s'affiche.
Appuyez sur l'icône MOUNTING BIAS (biais de montage) (Figure 169).
L'assistant d'étalonnage du biais de montage s'affiche
Note: Si l'icône Mounting Bias (biais de montage) indique NOT REQUIRED (non requis), il n'est pas nécessaire d'étalonner le paramètre du biais de montage.

Conduisez la machine au bout de la surface dégagée, placez-la en ligne droite et appuyez sur l'icône POSITION A.
Note: Le symbole du point A s'affiche sur la console de commande.

Conduisez la machine manuellement en marche avant (Figure 171) à 2 km/h (1,2 mi/h) en ligne droite.
Note: GeoLink insère automatiquement le symbole du point B dans l'affichage quand la machine parcourt 70 m (230 pi).

La console de commande affiche l'écran suivant dans le processus d'étalonnage.
Faites demi-tour, alignez la machine sur la ligne guide des positions A et B sur la console de commande (Figure 172).

Conduisez la machine vers le point B et appuyez sur
l'icône AUTO STEER
.
Important: Utilisez la fonction AutoSteer pour diriger la machine.
Avant d'atteindre le point B, réglez la vitesse de déplacement de la machine à 2 km/h (1,2 mi/h) et engagez le blocage de l'accélérateur de la machine (Figure 172).
Note: La fonction AutoSteer dirige la machine entre les points B et A (Figure 173).

Arrêtez la machine.
La console de commande affiche ce qui suit :
Dans la boîte de dialogue indiquant la progression d'étalonnage à 100 %, appuyez sur l'icône de confirmation (Figure 174).

Des boîtes de dialogue avec des étapes supplémentaires pour exécuter une passe d'étalonnage de biais de montage entre les points A et B.
Note: Si le système n'indique pas que l'étalonnage est terminé (progression 100 %), après la passe d'étalonnage du biais de montage entre les points A et B, contactez le centre d'assistance technique Toro.

Contrôlez le niveau de liquide hydraulique. Si le niveau de liquide est trop bas, faites l'appoint de liquide hydraulique dans le réservoir; voir la procédure de contrôle et les spécifications du liquide hydraulique dans le Manuel de l'utilisateur.
