| Onderhoudsinterval | Onderhoudsprocedure |
|---|---|
| Bij elk gebruik of dagelijks |
|
Dit multifunctionele werkvoertuig is voornamelijk bedoeld om mensen en ladingen materiaal te transporteren op kleine wegen en terrein. Dit product gebruiken voor andere doeleinden dan het bedoelde gebruik kan gevaarlijk zijn voor u of voor omstanders.
Lees deze informatie zorgvuldig door, zodat u weet hoe u dit product op de juiste wijze moet gebruiken en onderhouden en om letsel en schade aan de machine te voorkomen. U bent verantwoordelijk voor het juiste en veilige gebruik van de machine.
Ga naar www.Toro.com voor documentatie over productveiligheid en bedieningsinstructies, informatie over accessoires, hulp bij het vinden van een dealer of om uw product te registreren.
Als u service, originele Toro onderdelen of aanvullende informatie nodig hebt, kunt u contact opnemen met een erkende servicedealer of met de klantenservice van Toro. U dient hierbij altijd het modelnummer en het serienummer van het product te vermelden. De locatie van het plaatje met het modelnummer en het serienummer van het product is aangegeven op Figuur 1. U kunt de nummers noteren in de ruimte hieronder.
Important: U kunt met uw mobiel apparaat de QR-code op het plaatje met het serienummer (indien aanwezig) scannen om toegang te krijgen tot de garantie, onderdelen en andere productinformatie.

Er worden in deze handleiding twee woorden gebruikt om uw aandacht op bijzondere informatie te vestigen. Belangrijk attendeert u op bijzondere technische informatie en Opmerking duidt algemene informatie aan die bijzondere aandacht verdient.
Het veiligheidssymbool (Figuur 2) verschijnt zowel in deze handleiding als op de machine; het wijst op belangrijke boodschappen aangaande de veiligheid die u in acht dient te nemen om ongevallen te voorkomen. Het symbool zal verschijnen met het woord Gevaar, Waarschuwing of Voorzichtig.
Gevaar: een direct gevaarlijke situatie die, als deze niet wordt voorkomen, altijd zal leiden tot de dood of ernstig letsel.
Waarschuwing: een mogelijk gevaarlijke situatie die, als deze niet wordt voorkomen, kan leiden tot de dood of ernstig letsel.
Voorzichtig: een mogelijk gevaarlijke situatie die, als deze niet wordt voorkomen, kan leiden tot licht of middelmatig letsel.

Dit product voldoet aan alle relevante Europese richtlijnen; zie voor details de aparte productspecifieke conformiteitsverklaring.
Als de machine zonder een goed werkende vonkenvanger, zoals omschreven in sectie 4442, of een goed onderhouden, brandveilige motor wordt gebruikt in een bosgebied of op een met dicht struikgewas of gras begroeid terrein, handelt de bestuurder in strijd met de bepalingen van sectie 4442 of 4443 van de Wet op de Openbare Hulpbronnen (Public Resources Code) van de Staat Californië.
De bij deze motor geleverde Gebruikershandleiding bevat informatie over het Environmental Protection Agency (EPA) in de Verenigde Staten en de California Emission Control Regulation voor emissiesystemen, onderhoud en garantie. Bestel vervangingsonderdelen bij de fabrikant van de motor.
CALIFORNIË
Proposition 65 Waarschuwing
De uitlaatgassen van de motor van dit product bevatten chemische stoffen waarvan bekend is dat ze kanker, geboorteafwijkingen of andere schade aan de voortplantingsorganen kunnen veroorzaken.
Accuklemmen, accupolen en dergelijke onderdelen bevatten lood en loodverbindingen. Van deze stoffen is bekend dat ze kanker en schade aan de voortplantingsorganen veroorzaken. Was altijd uw handen nadat u met deze onderdelen in aanraking bent geweest.
Deze machine werd ontworpen in overeenstemming met de vereisten van SAE J2258 (nov 2016).
Dit product kan lichamelijk letsel veroorzaken. Volg altijd alle veiligheidsinstructies op om ernstig letsel te voorkomen.
Lees de Gebruikershandleiding en verzeker dat u deze begrijpt voordat u de machine start. Zorg dat alle gebruikers van dit product weten hoe ze het dienen te gebruiken en dat ze de waarschuwingen begrijpen.
Geef uw volledige aandacht als u de machine gebruikt. Zorg ervoor dat u met niets anders bezig bent waardoor u kunt worden afgeleid, anders kan er letsel ontstaan of kan eigendom worden beschadigd.
Houd handen en voeten uit de buurt van de bewegende onderdelen van de machine.
Gebruik de machine enkel als de nodige schermen en andere beveiligingsmiddelen aanwezig zijn en naar behoren werken.
Laat geen omstanders of kinderen het werkgebied betreden. Laat kinderen nooit de machine bedienen.
Stop en schakel de machine uit en verwijder het contactsleuteltje voordat u onderhoud uitvoert of brandstof bijvult.
Onjuist gebruik of onderhoud van deze machine kan letsel tot
gevolg hebben. Om het risico op letsel te verkleinen, dient u zich
aan de volgende veiligheidsinstructies te houden en altijd op het
veiligheidssymbool
te letten, dat betekent Voorzichtig, Waarschuwing
of Gevaar – instructie voor persoonlijke veiligheid. Niet-naleving
van deze instructies kan leiden tot lichamelijk of dodelijk letsel.
![]() |
Veiligheidsstickers en veiligheidsinstructies zijn gemakkelijk zichtbaar voor de bestuurder en bevinden zich bij plaatsen waar gevaar kan ontstaan. Vervang alle beschadigde of ontbrekende stickers. |














Note: Bepaal vanuit de normale bedieningspositie de linker- en rechterzijde van de machine.
Benodigde onderdelen voor deze stap:
| Stuurwiel | 1 |
| Borgmoer | 1 |
| Wieldeksel | 1 |
| Schroef | 3 |
Pllats het stuurwiel op de stuuras.
Zorg ervoor dat her stuurwiel centraal is (d.w.z. de platte onderkant moet evenweidig met de grond zijn).
Gebruik de borgmoer om het stuurwiel aan de stuuras te bevestigen.
Draai de borgmoer vast met een torsie van 27 N·m.

Gebruik 3 schroeven om her wieldeksel aan het stuurwiel de bevestigen.
Draai de 3 schroeven vast met een torsie van 0,6 N·m.

Controleer het peil van de motorolie voor- en nadat u de motor de eerste keer hebt gestart; zie Het motoroliepeil controleren.
Controleer het peil van de remvloeistof voordat u de motor voor de eerste keer start; zie Remvloeistofpeil controleren.
Controleer het peil van de transaxlevloeistof voordat u de motor voor de eerste keer start; zie Het peil van de transaxlevloeistof controleren.
Controleer de bandenspanning; zie Bandenspanning controleren.
Om ervoor te zorgen dat het remsysteem optimaal functioneert, moet u de remmen gebruiksklaar maken (inrijden) voordat u het voertuig gaat gebruiken.
Laat het voertuig op volle snelheid rijden en rem dan om de machine snel te laten stoppen zonder de wielen te blokkeren.
Herhaal deze procedure 10 keer en wacht steeds 1 minuut voordat u opnieuw remt om te voorkomen dat de remmen oververhit raken.
Important: Deze procedure is het meest effectief als de machine is beladen met 227 kg.
Benodigde onderdelen voor deze stap:
| Gebruikershandleiding | 1 |
| Gebruikershandleiding van de motor | 1 |
| Registratiekaart | 1 |
| Inspectieformulier | 1 |
| Kwaliteitscertificaat | 1 |
| Sleuteltje | 2 |
Lees de Gebruikershandleiding en de gebruikershandleiding van de motor.
Vul de registratiekaart in.
Vul het Inspectieformulier in.
Bekijk het Kwaliteitscertificaat


Zorg dat u vertrouwd bent met alle bedieningsorganen voordat u de motor start en de machine gebruikt.

Gebruik het gaspedaal (Figuur 7) om de rijsnelheid van de machine te veranderen. Als u het gaspedaal intrapt, start u de motor. Als u het pedaal verder intrapt, verhoogt u de rijsnelheid. Als u het pedaal laat opkomen, vermindert de snelheid van de machine en slaat de motor af.
Note: De maximumsnelheid vooruit is 26 km per uur.
Met het rempedaal kunt u de machine tot stilstand brengen of de snelheid verminderen (Figuur 7).
Gebruik van een machine met versleten of onjuist afgestelde remmen kan tot persoonlijk letsel leiden.
Als de vrije slag van het rempedaal tot de vloer van de machine minder dan 25 mm bedraagt, moeten de remmen worden afgesteld of gerepareerd.
De contactschakelaar bevindt zich in de rechterbenedenhoek van het dashboard (Figuur 7).
De contactschakelaar heeft 3 standen: UIT, AAN en START.
U kunt de machine op 2 manieren starten; zie Motor starten.
De parkeerremhendel bevindt zich op het bedieningspaneel (Figuur 7).
Als u de motor afzet, moet u de parkeerrem in werking stellen om te voorkomen dat de machine per ongeluk in beweging komt. Als u de machine op een steile helling parkeert, moet u de parkeerrem in werking stellen.
Om de parkeerrem in werking te stellen, moet u de parkeerremhendel naar u toe trekken (Figuur 8).

Om de parkeerrem uit te schakelen, moet u de knop bovenaan de parkeerremhendel indrukken, de parkeerremhendel naar u toe trekken om de belasting weg te nemen, en de parkeerremhendel naar voren duwen (Figuur 9).

De chokehendel bevindt zich op het bedieningspaneel. Als u een koude motor wilt starten, trek dan de chokeknop uit. Nadat de motor is gestart, kunt u met behulp van de choke de motor regelmatig laten lopen. Zodra de motor warmgedraaid is, drukt u de chokeknop in naar de stand UIT.
De schakelhendel kan in 3 standen gezet worden op de schakelindicator: VOORUIT, ACHTERUIT en NEUTRAAL (Figuur 10).
Note: U kunt de motor in elke van de drie standen starten en laten lopen.
U kunt de schakelhendel vanuit NEUTRAAL naar links zetten in de VOORUIT-stand, of naar rechts in de ACHTERUIT-stand (Figuur 10).
Important: De machine moet altijd eerst tot stilstand worden gebracht voordat u schakelt.

De claxonschakelaar bevindt zich op het bedieningspaneel (Figuur 7). Druk op de claxonschakelaar om te claxonneren.
Gebruik de lichtschakelaar (Figuur 7) om de koplampen aan te zetten. Duw de schakelaar naar boven om de koplampen in te schakelen. Duw de schakelaar naar beneden om de koplampen uit te schakelen.
De urenteller bevindt zich rechts van de lichtschakelaar (Figuur 7). Gebruik de urenteller om het totale aantal bedrijfsuren van de motor na te gaan. De urenteller gaat lopen als de contactschakelaar in de stand AAN of START wordt gezet of als de motor loopt.
Note: Wanneer de machine loopt, zal de urenteller voortdurend knipperen, wat betekent dat de machine in gebruik is.
Het usb-aansluitpunt bevindt zich links van de parkeerremhendel (Figuur 7). Het aansluitpunt dient om mobiele toestellen van stroom te voorzien.
Important: Wanneer u het USB-aansluitpunt niet gebruikt, breng dan de rubberen plug aan om te voorkomen dat het aansluitpunt beschadigd raakt.
De brandstofmeter (Figuur 11) vindt u op de brandstoftank in de vuldop, aan de linkerkant van de machine. De brandstofmeter geeft aan hoeveel brandstof er in de tank zit.

De handgrepen voor de passagiers bevinden zich aan de buitenkanten van de stoelen (Figuur 12).

Note: Specificaties en ontwerp kunnen zonder voorafgaande kennisgeving worden gewijzigd.
| Basisgewicht | 397 kg |
| Nominale inhoud (op vlak terrein) | Totaalgewicht 544 kg, inclusief bestuurder (91 kg) en passagier (91 kg), lading, accessoires en werktuigen |
| Maximaal toelaatbaar totaalgewicht van voertuig – op vlak terrein | 941 kg in totaal, inclusief alle bovengenoemde gewichten |
| Maximaal laadvermogen (op vlak terrein) | 363 kg in totaal, inclusief achteraan gemonteerde accessoires |
| Maximale capaciteit accessoirebevestiging achteraan laadbak | 45 kg in totaal |
| Trekvermogen | Koppelgewicht: 91 kg |
| Maximale gewicht van de aanhanger: 680 kg | |
| Totale breedte | 119 cm |
| Totale lengte | 302 cm |
| Totale hoogte | 127,5 cm |
| Afstand tot de grond | 21,6 cm aan de voorzijde, zonder lading of bestuurder |
| 14 cm aan de achterzijde, zonder lading of bestuurder | |
| Wielbasis | 220 cm |
| Wielloopvlak (middellijn tot middellijn) | Voor: 119 cm |
| Achter: 119 cm | |
| Lengte laadbak | Binnen: 102 cm |
| Buiten: 114,3 cm | |
| Breedte laadbak | Binnenkant: 98 cm |
| Buitenkant van de bumpers: 107,3 cm | |
| Hoogte laadbak | 28 cm binnenzijde |
| Motortoerental | Laag stationair: 1.250 tot 1.350 tpm |
| Hoog stationair: 3.650 tot 3.750 tpm |
Een selectie van door Toro goedgekeurde werktuigen en accessoires is verkrijgbaar voor gebruik met de machine om de mogelijkheden daarvan te verbeteren en uit te breiden. Neem contact op met een erkende servicedealer of een erkende Toro- distributeur, of bezoek www.Toro.com voor een lijst van alle goedgekeurde werktuigen en accessoires.
Om de beste prestaties te verkrijgen en ervoor te zorgen dat de veiligheidscertificaten van de machine blijven gelden, moet u ter vervanging altijd originele onderdelen en accessoires van Toro aanschaffen. Gebruik ter vervanging nooit onderdelen en accessoires van andere fabrikanten, omdat dit gevaarlijk kan zijn en de productgarantie kan tenietdoen.
Note: Bepaal vanuit de normale bedieningspositie de linker- en rechterzijde van de machine.
Voorkom dat de machine wordt gebruikt of onderhouden door kinderen of mensen die daarvoor niet opgeleid zijn of daartoe niet lichamelijk in staat zijn. Plaatselijke voorschriften kunnen nadere eisen stellen aan de leeftijd van degene die met de machine werkt. De eigenaar is verantwoordelijk voor de instructie van alle bestuurders en technici.
Zorg ervoor dat u vertrouwd raakt met de bedieningsorganen en de veiligheidssymbolen, en weet hoe u de machine veilig kunt gebruiken.
Zet de machine af, verwijder het contactsleuteltje en wacht totdat alle bewegende onderdelen tot stilstand zijn gekomen voordat u de bestuurderspositie verlaat. Laat de machine afkoelen voordat u er instellingen of onderhoud aan verricht, of de machine schoonmaakt of stalt.
Zorg dat u weet hoe u de machine en de motor snel kunt stoppen.
Verzeker dat er niet meer mensen (u en passagiers) op de machine zitten dan er handgrepen zijn.
Controleer of alle veiligheidsvoorzieningen en stickers op hun plaats zitten. Repareer of vervang veiligheidsvoorzieningen en vervang onleesbare of ontbrekende stickers. Gebruik de machine uitsluitend als deze aanwezig zijn en naar behoren werken.
Wees uiterst voorzichtig bij het omgaan met brandstof. Brandstof is ontvlambaar en de dampen kunnen tot ontploffing komen.
Doof alle sigaretten, sigaren, pijpen en andere ontstekingsbronnen.
Gebruik uitsluitend een goedgekeurd vat of blik voor de brandstof.
Wanneer de motor loopt of heet is, mag u de brandstofdop niet verwijderen of brandstof toevoegen.
Geen brandstof bijvullen of aftappen in een afgesloten ruimte.
Bewaar de machine en het brandstofvat niet op plaatsen waar open vlammen, vonken of waakvlammen (bv. van een boiler of een ander toestel) aanwezig kunnen zijn.
Probeer de motor niet te starten als u brandstof hebt gemorst; voorkom elke vorm van open vuur of vonken totdat de brandstofdampen volledig zijn verdwenen.
| Onderhoudsinterval | Onderhoudsprocedure |
|---|---|
| Bij elk gebruik of dagelijks |
|
Voer elke dag voordat u de machine start de procedures uit in het onderdeel Telkens voor gebruik/Dagelijks in .
| Onderhoudsinterval | Onderhoudsprocedure |
|---|---|
| Bij elk gebruik of dagelijks |
|
Aanbevolen bandenspanning voor- en achteraan: 1,65 tot 2,07 bar
Important: De maximale bandenspanning op de wang van de band niet overschrijden.
Note: De vereiste bandenspanning is afhankelijk van het gewicht dat u van plan bent te transporteren.
Controleer de bandenspanning.
Gebruik een lagere bandenspanning voor lichtere ladingen, voor minder bodemcompactie, voor een soepeler rijgedrag en voor minder bandensporen op de grond.
Gebruik een hogere bandenspanning om zwaardere ladingen met hogere snelheid te transporteren.
Indien nodig dient u de luchtdruk in de banden aan te passen door lucht in de banden te pompen of deze af te laten.

| Type | Loodvrije benzine |
| Minimaal octaangetal | 87 (VS) of 91 (researchoctaangetal; buiten de VS) |
| Ethanol | Niet meer dan 10% van het volume |
| Methanol | Geen |
| MTBE (methyl-tertiair-butylether) | Niet meer dan 15% van het volume |
| Olie | Niet toevoegen aan de brandstof |
Gebruik uitsluitend schone, verse brandstof (minder dan 30 dagen oud) van een betrouwbare leverancier.
Important: Om startproblemen te verminderen, moet u stabilizer/conditioner toevoegen aan de verse brandstof volgens de voorschriften van de fabrikant van de stabilizer/conditioner.
Raadpleeg de gebruikershandleiding van uw motor voor meer informatie.
De inhoud van de brandstoftank is ongeveer 18,9 liter.
Parkeer de machine op een horizontaal oppervlak.
Zet de transmissie op NEUTRAAL.
Stel de parkeerrem in werking.
Zet de machine uit en verwijder het sleuteltje.
Maak de omgeving van de dop van de brandstoftank schoon (Figuur 14).

Verwijder de dop van de brandstoftank.
Vul de tank tot ongeveer 25 mm vanaf de bovenkant van de tank (de onderkant van de vulbuis).
Note: De ruimte in de tank geeft de brandstof de kans om uit te zetten. De tank niet te vol vullen.
Draai de tankdop stevig vast.
Neem eventueel gemorste brandstof op.
| Onderhoudsinterval | Onderhoudsprocedure |
|---|---|
| Na de eerste 100 bedrijfsuren |
|
Neem de volgende richtlijnen in acht om ervoor te zorgen dat de machine goede prestaties levert.
Controleer of de remmen gebruiksklaar zijn gemaakt; zie De remmen gebruiksklaar maken.
Controleer regelmatig het peil van de vloeistoffen en de motorolie. Let op signalen van oververhitting van de machine of onderdelen ervan.
Na een koude start moet u de motor ongeveer 15 seconden laten warmlopen voordat u de machine gebruikt.
Note: Laat de motor langer warmdraaien als u gaat werken bij een lage omgevingstemperatuur.
Varieer de snelheid van de machine tijdens het gebruik. Vermijd snel starten en stoppen.
De motor heeft geen inrij-olie nodig. De originele motorolie is hetzelfde type olie dat is voorgeschreven voor regelmatige olieverversingen.
Zie het hoofdstuk voor bijzondere controles op rustige momenten.
Controleer de stand van de voorwielophanging en stel deze af indien nodig; zie De uitlijning van de voorwielen afstellen.
De eigenaar/bestuurder is verantwoordelijk voor ongevallen die kunnen leiden tot lichamelijk letsel en materiële schade, en hij kan zulke ongevallen voorkomen.
Passagiers mogen alleen op de daarvoor bedoelde stoelen zitten. Vervoer geen passagiers in de laadbak. Laat geen omstanders of kinderen het werkgebied betreden.
Draag geschikte kleding en uitrusting, zoals oogbescherming, een lange broek, stevige schoenen met een gripvaste zool en gehoorbescherming. Draag lang haar niet los en draag geen losse kleding of juwelen.
Geef uw volledige aandacht als u de machine gebruikt. Zorg ervoor dat u met niets anders bezig bent waardoor u kunt worden afgeleid, anders kan er letsel ontstaan of kan eigendom worden beschadigd.
Gebruik de machine niet als u ziek, moe of onder de invloed van alcohol, medicijnen of drugs bent.
Bedien de machine uitsluitend buitenshuis of in een goed geventileerde ruimte.
U mag het maximaal toelaatbare totaalgewicht van de machine niet overschrijden.
Wees extra voorzichtig bij het remmen, door een bocht gaan of gebruiken van de machine als er een zware last in de laadbak zit.
Te grote ladingen transporteren in de laadbak vermindert de stabiliteit van de machine. Overschrijd de draagcapaciteit van de laadbak niet.
Materiaal transporteren dat niet kan worden vastgemaakt aan de machine heeft een nadelig effect op de stabiliteit en het stuur- en remgedrag van de machine. Wanneer u materiaal transporteert dat niet kan worden vastgemaakt aan de machine, moet u voorzichtig sturen en remmen.
Kies een lichtere lading en verminder uw snelheid als u moet rijden op ruw of oneffen terrein en vlak langs wegranden, kuilen en andere abrupte veranderingen in het terrein. De lading kan gaan schuiven waardoor de machine haar stabiliteit verliest.
Voordat u de machine start: verzeker dat de transmissie in de neutraalstand staat, de parkeerrem ingeschakeld is, en u op de bestuurdersstoel zit.
U en uw passagiers moeten blijven zitten wanneer de machine rijdt. Houd uw handen aan het stuurwiel; uw passagiers moeten de daartoe voorziene handgrepen gebruiken. Houd uw armen en benen te allen tijde binnen de machine.
Bedien de machine uitsluitend wanneer de zichtbaarheid goed is. Kijk uit voor gaten, geulen, hobbels, stenen of andere verborgen objecten. De machine kan omslaan op oneffenheden in het terrein. In hoog gras zijn obstakels niet altijd zichtbaar. Wees voorzichtig bij het naderen van blinde hoeken, struiken, bomen, en andere objecten die uw zicht kunnen belemmeren.
Rij de machine niet in de buurt van steile hellingen, greppels of dijken. De machine kan plotseling omslaan als een wiel over de rand komt, of als de rand afbrokkelt.
Kijk altijd goed uit en vermijd laag overhangende objecten, zoals boomtakken, deurposten, loopbruggen, enz.
Kijk achterom en omlaag voordat u de machine achteruitrijdt om er zeker van te zijn dat de weg vrij is.
Als u zich met de machine op de openbare weg begeeft, neem dan de verkeersregels in acht en gebruik bijkomende accessoires die wettelijk verplicht kunnen zijn, zoals verlichting, richtingaanwijzers, tekens 'langzaam rijdend voertuig', etc.
Als de machine abnormaal trilt moet u onmiddellijk stoppen, de motor uitschakelen, wachten tot alle bewegende delen tot stilstand zijn gekomen en het voertuig op beschadigingen controleren. Repareer alle schade aan de machine alvorens door te gaan met het werk.
De stoptijd van de machine op een nat oppervlak kan langer zijn dan op een droog oppervlak. Om natte remmen uit te drogen, moet u langzaam rijden op een vlak oppervlak, terwijl u lichte druk uitoefent op het rempedaal.
Als de machine snel rijdt en abrupt stopt, kunnen de achterwielen worden geblokkeerd, waardoor de machine moeilijk bestuurbaar wordt.
Raak de motor, de transmissie, de geluiddemper of het verdeelstuk van de geluiddemper niet aan als de motor loopt of direct nadat u de motor hebt afgezet. Deze onderdelen kunnen heet zijn en brandwonden veroorzaken.
U mag een machine met draaiende motor niet onbeheerd achterlaten.
Doe het volgende voordat u de bestuurdersstoel verlaat:
Parkeer de machine op een horizontaal oppervlak.
Zet de transmissie op NEUTRAAL.
Stel de parkeerrem in werking.
Zet de machine uit en verwijder het sleuteltje.
Wacht totdat alle bewegende onderdelen tot stilstand zijn gekomen.
Gebruik de machine niet als het kan bliksemen.
Gebruik alleen door The Toro® Company goedgekeurde accessoires en werktuigen.
U mag het maximaal toelaatbare totaalgewicht van de machine niet overschrijden. U moet rekening houden met het extra gewicht van uzelf, uw passagiers en de lading in de laadbak met het oog op het maximale toelaatbare totaalgewicht van de machine.
Passagiers mogen alleen op de daarvoor bedoelde stoelen zitten. Laat passagiers niet plaatsnemen in de laadbak.
U en uw passagiers moeten blijven zitten wanneer de machine in beweging is.
Een langere machine heeft een grotere draaicirkel; zorg dat er genoeg ruimte is om de machine te draaien.
Note: Een rolbeugel met twee stangen is als accessoire beschikbaar voor deze machine. Gebruik een rolbeugel als u gaat werken in de buurt van steile randen of water, of op oneffen terrein of een helling waar de machine zou kunnen omkantelen. Neem voor verdere informatie contact op met een erkende Toro distributeur.
Hellingen zijn de belangrijkste oorzaak dat de bestuurder de macht over de machine verliest en deze omkantelt. Dit kan leiden tot ernstig of dodelijke letsel.
Inspecteer het terrein en ga na op welke hellingen u de machine veilig kunt gebruiken; stel een procedure en regels op voor het werken op deze hellingen. Gebruik altijd uw gezond verstand en uw beoordelingsvermogen wanneer u dit onderzoek uitvoert.
Als u zich ongemakkelijk voelt wanneer u de machine op een helling gebruikt, maai die helling dan niet.
Voer alle bewegingen op hellingen langzaam en geleidelijk uit. Verander niet plots de snelheid of rijrichting van de machine.
Gebruik de machine niet op een nat terrein. Wielen kunnen grip verliezen. De machine kan omrollen voordat de wielen grip verliezen.
Rij hellingen in een rechte lijn op en af.
Als u vaart begint te verliezen terwijl u een helling oprijdt, moet u voorzichtig het rempedaal indrukken en de helling langzaam achterwaarts in een rechte lijn afrijden.
Draaien als u een helling op- of afrijdt, kan gevaarlijk zijn. Als u absoluut moet draaien op een helling, dient u dit langzaam en voorzichtig te doen.
Een zware lading heeft invloed op de stabiliteit van het voertuig op een helling. Verklein de lading en neem gas terug als u op een helling rijdt of als de lading een hoog zwaartepunt heeft. Maak de lading vast aan de laadbak van de machine om te voorkomen dat de lading gaat schuiven. Wees extra voorzichtig als u ladingen transporteert die gemakkelijk schuiven (vloeistoffen, stenen, zand, enz.).
Zorg dat u de machine niet moet starten, stoppen of keren op een helling, vooral als u een lading vervoert. Stoppen tijdens de afdaling van een helling kost meer tijd dan op vlak terrein. Als u de machine tot stilstand moet brengen, mag u de snelheid niet te abrupt verminderen; anders kan de machine omslaan of gaan rollen. Trap niet te abrupt op het rempedaal als u achterwaarts rolt, omdat de machine dan kan omslaan.
Overschrijd het maximale toelaatbare gewicht van de machine niet als u een lading transporteert in de laadbak en/of als u een aanhangwagen sleept; zie Specificaties.
Verdeel de lading gelijkmatig in de laadbak om de stabiliteit en uw controle over de machine te verbeteren.
Let erop dat er niemand achter de machine staat voordat u de lading stort.
Stort de lading niet uit de bak als de machine zijwaarts op een helling staat. Als gevolg van de verandering in de gewichtsverdeling kan de machine omslaan.
Een opgehaalde laadbak kan vallen en letsel toebrengen aan personen die eronder aan het werk zijn.
Gebruik altijd de steun om de bak omhoog te houden voordat u onder een opgehaalde laadbak gaat werken.
Verwijder de lading uit de laadbak voordat u deze omhoogbrengt.
Als de laadbak tijdens het rijden omhoogstaat, kan de machine gemakkelijker omslaan of gaan rollen. U kunt de laadbak beschadigen als deze tijdens het gebruik van de machine omhoog staat.
Gebruik de machine met de laadbak neergelaten.
Laat de laadbak neer als u hem geleegd hebt.
Als de achterkant van de laadbak belast is wanneer u de sluitingen losmaakt, kan de laadbak onverwacht openklappen en u of andere omstanders verwonden.
Belast indien mogelijk het midden van de laadbak.
Houd de laadbak naar beneden en controleer of niemand over de laadbak leunt of erachter staat als u de sluitingen losmaakt.
Verwijder de lading uit de laadbak voordat u deze omhoogbrengt voor onderhoud aan de machine.
De laadbak kan zwaar zijn. Handen of andere lichaamsdelen kunnen bekneld raken.
Houd uw handen en andere lichaamsdelen uit de buurt van de bak als u deze neerlaat.
Als u los materiaal zoals zand, kiezels of houtsnippers uit de laadbak van de machine hebt gestort, kan een deel van het gestorte materiaal tussen de hengsels van de achterlaadklep beland zijn. Voer de volgende stappen uit voordat u de achterlaadklep sluit.
Verwijder handmatig zo veel mogelijk materiaal van tussen de hengsels.
Draai de achterlaadklep ongeveer in de 45°-stand (Figuur 18).

Beweeg de achterlaadklep enkele keren heen en weer met korte, schokkende bewegingen (Figuur 18).
Note: Dit helpt om materiaal tussen de hengsels vandaan te krijgen.
Laat de achterlaadklep zakken en controleer of er materiaal is achtergebleven tussen de hengsels.
Herhaal stappen 1 tot 4 tot al het materiaal van tussen de hengsels is.
Draai de achterlaadklep naar boven en til ze in de groeven in de laadbak.
Gebruik de accessoirebevestiging achteraan de laadbak om accessoires achteraan de machine te bevestigen.
Draagvermogen: 45 kg
Zet de T-hendel los door deze rechtsom te draaien (Figuur 19).

Breng uw accessoire aan in de houder en zorg dat de gaten overeenkomen (Figuur 19).
Bevestig het gemonteerde accessoire aan de bevestigingsbuis met de gaffelpen en de haarspeldveer.
Zet de T-hendel vast door deze linksom te draaien (Figuur 20).

Neem de volgende richtlijnen in acht bij het laden van de laadbak en het gebruik van de machine:
Hou rekening met het laadvermogen van de machine en beperk het gewicht van de lading die u in de laadbak transporteert volgens de specificaties in Specificaties en op het label met het toelaatbare totaalgewicht van de machine.
Note: Het laadvermogen geldt alleen voor gebruik van de machine op een gelijke ondergrond.
Verminder het gewicht van de lading die u in de laadbak transporteert als u de machine gebruikt op hellingen en ruw terrein.
Verminder het gewicht van de lading die u in de laadbak transporteert als het materiaal hoog opgestapeld is (en een hoog zwaartepunt heeft), zoals een stapel bakstenen, planken voor tuinelementen of zakken met kunstmest. Verdeel de lading zo laag mogelijk zodat de lading uw zicht achter de machine tijdens gebruik niet belemmert.
Hou ladingen gecentreerd door de laadbak als volgt te laden:
Verdeel het gewicht gelijkmatig over de breedte van de laadbak.
Important: Het risico om te kantelen is groter als de laadbak aan 1 kant zwaarder is geladen.
Verdeel het gewicht gelijkmatig over de lengte van de laadbak.
Important: Als u de lading achter de achteras legt, hebben de voorbanden minder tractie, wat ertoe kan leiden dat de machine onbestuurbaar wordt of omkantelt.
Wees extra voorzichtig als u erg omvangrijke ladingen transporteert in de laadbak, in het bijzonder als u het gewicht van de lading niet centraal in de laadbak kunt plaatsen.
Maak indien mogelijk de lading vast aan de laadbak zodat de lading niet gaat schuiven.
Wanneer u vloeistoffen vervoert, dient u voorzichtig te zijn wanneer u de machine heuvelopwaarts of -afwaarts rijdt, wanneer u stopt of plots van snelheid verandert of wanneer u over ruwe oppervlakken rijdt.
De inhoud van de laadbak is 0,28 m3. De hoeveelheid (het volume) materiaal die u in de bak kunt laden zonder dat het draagvermogen van de machine wordt overschreden, kan sterk variëren afhankelijk van de dichtheid van het materiaal.
Raadpleeg de volgende tabel voor de maximale belading met verschillende materialen.
| Materiaal | Dichtheid | Maximaal laadvermogen laadbak(op een vlakke ondergrond) |
| Grind, droog | 1522 kg/m3 | Vol |
| Grind, nat | 1922 kg/m3 | ¾ vol |
| Zand, droog | 1442 kg/m3 | Vol |
| Zand, nat | 1922 kg/m3 | ¾ vol |
| Hout | 721 kg/m3 | Vol |
| Schors | <721 kg/m3 | Vol |
| Aarde, samengedrukt | 1602 kg/m3 | ¾ vol (bij benadering) |
Neem plaats op de bestuurdersstoel, steek het sleuteltje in de contactschakelaar en draai dit naar rechts op AAN of START.
U kunt de machine op 2 manieren starten:
Pedaalstart – Draai het contactsleuteltje naar de stand AAN en trap het gaspedaal in.
Note: De motor wordt uitgeschakeld als u uw voet van het gaspedaal neemt.
Sleutelstart – draai de contactschakelaar naar de stand START; de motor blijft ingeschakeld totdat u het sleuteltje in de UIT-stand zet.
Note: Wanneer u sleutelstart gebruikt, kunt u de parkeerrem inschakelen en en de machine verlaten om werkzaamheden uit te voeren terwijl de motor nog loopt zolang de accu niet leeg is.
Note: Als u het contactsleuteltje naar de stand START draait, zal de motor draaien tot deze aanslaat. Als de motor meer dan 10 seconden draait maar niet aanslaat, ga dan terug naar de UIT-stand en ga na wat het probleem is (bv. u moet de choke gebruiken, het luchtfilter is verstopt, de brandstoftank is leeg, de bougie werkt niet, enz.) alvorens de machine opnieuw te starten.
Note: Als de machine is uitgerust met een optioneel achteruitrijalarm en de schakelhendel in de stand ACHTERUIT wordt gezet wanneer de contactschakelaar in de stand AAN of START staat, klinkt er een zoemer om de bestuurder te waarschuwen dat de machine in achteruitstand staat.
Zet de schakelhendel van de machine in de gewenste rijrichting.
Zet de parkeerrem vrij.
Trap langzaam het gaspedaal in.
Note: Als de motor koud is, moet u het gaspedaal intrappen en ongeveer half ingetrapt houden en de chokeknop uittrekken en op AAN zetten. Zet de chokeknop terug in de stand UIT zodra de motor warm is.
Important: Als u de machine op een helling laat stoppen, moet u de bedrijfsremmen intrappen en de parkeerrem in werking stellen om te voorkomen dat de machine van zijn plaats rolt. Als u het gaspedaal gebruikt om de machine op de helling tot stilstand te brengen, kan de machine schade oplopen.
Haal uw voet van het gaspedaal.
Druk het rempedaal langzaam in om met de bedrijfsremmen de machine volledig tot stilstand te brengen.
Note: De lengte van de remweg kan variëren, afhankelijk van de lading en de snelheid van de machine.
Stop de machine met de bedrijfsremmen door het rempedaal ingedrukt te houden.
Stel de parkeerrem in werking door de parkeerremhendel naar u toe te trekken.
Draai het contactsleuteltje linksom naar de stand UIT.
Verwijder het sleuteltje.
Doe het volgende voordat u de bestuurdersstoel verlaat:
Parkeer de machine op een horizontaal oppervlak.
Zet de transmissie op NEUTRAAL.
Stel de parkeerrem in werking.
Zet de machine uit en verwijder het sleuteltje.
Wacht totdat alle bewegende onderdelen tot stilstand zijn gekomen.
Laat de machine afkoelen voordat u er instellingen of onderhoud aan verricht, of de machine schoonmaakt of stalt.
Sla de machine niet op op plaatsen waar open vlammen, vonken of waakvlammen (bv. van een boiler of andere toestellen) aanwezig kunnen zijn.
Zorg ervoor dat alle onderdelen van de machine in goede staat verkeren en alle bevestigingselementen stevig vastzitten.
Onderhoud en reinig de veiligheidsgordel(s) indien nodig.
Vervang versleten, beschadigde en ontbrekende stickers.
Wees voorzichtig als u de machine inlaadt op een aanhanger of een vrachtwagen of uitlaadt.
Gebruik een oprijplaat van volledige breedte bij het laden van de machine op een aanhanger of vrachtwagen.
Maak de machine stevig vast.
Zie Figuur 21 en Figuur 22 voor de plaats van de bevestigingspunten van de machine.
Note: Laad de machine op de aanhangwagen met de voorzijde van de machine naar voren gericht. Als dat niet mogelijk is, bevestig dan de motorkap met een riem aan het frame of verwijder de motorkap zodat deze er niet af kan waaien tijden het transport.
Losse stoelen kunnen van de machine en de aanhangwagen vallen tijdens het transport van de machine, en de stoelen kunnen op een andere machine terechtkomen de weg versperren.
Verwijder de stoelen of zorg ervoor dat de stoelen bevestigd zijn door de draaipennen.


In noodgevallen kunt u de machine over een korte afstand slepen; maak hier evenwel geen gewoonte van.
Als u de machine bij een te hoge snelheid sleept, kunt u de controle over het stuur verliezen. Dit kan letsel veroorzaken.
Sleep de machine nooit sneller dan 8 km per uur.
De machine moet worden gesleept door 2 personen. Als u de machine over een grote afstand moet verplaatsen, moet u deze vervoeren op een vrachtwagen of een aanhanger; zie Een aanhangwagen trekken
Verwijder de drijfriem van de machine; zie Aandrijfriem vervangen.
Maak een sleepkabel vast aan de sleeplip aan de voorkant van het frame van de machine (Figuur 21).
Zet de transmissie in de NEUTRAALSTAND en zet de parkeerrem vrij.
De machine kan een aanhangwagen trekken. Er is een trekhaak verkrijgbaar voor de machine. Neem voor verdere informatie contact op met een erkende Toro verdeler.
Als u een lading vervoert of een aanhangwagen trekt, mag u de machine of de aanhangwagen niet te zwaar beladen. Een te zware lading van de machine of de aanhanger kan leiden tot slechte prestaties of beschadiging van de remmen, as, motor, transaxle, stuurinrichting, ophanging, carrosserie of banden.
Zorg er altijd voor dat 60% van het gewicht van de lading zich in het voorste deel van de aanhangwagen bevindt. Hierdoor komt ongeveer 10% van het totale gewicht van de aanhangwagen op de trekhaak van de machine.
Ten behoeve van een goede remwerking en tractie moet de laadbak altijd zijn geladen als u een aanhangwagen gebruikt. U mag het maximaal toelaatbare totaalgewicht van de trailer en het voertuig niet overschrijden.
Parkeer de machine nooit op een helling als er een aanhangwagen is aangekoppeld. Als u toch op een helling moet parkeren, dient u de parkeerrem in werking te stellen en de wielen van de aanhangwagen te blokkeren.
Laat personeel dat niet bekend is met de instructies nooit onderhoudswerkzaamheden aan de machine uitvoeren.
Doe het volgende voordat u de bestuurdersstoel verlaat:
Parkeer de machine op een horizontaal oppervlak.
Zet de transmissie op NEUTRAAL.
Stel de parkeerrem in werking.
Laat de laadbak neer.
Zet de machine uit en verwijder het sleuteltje.
Wacht totdat alle bewegende onderdelen tot stilstand zijn gekomen.
Laat de machine afkoelen voordat u er instellingen of onderhoud aan verricht, of de machine schoonmaakt of stalt.
Ondersteun de machine met assteunen als u onder de machine werkt.
Werk nooit onder een opgetilde laadbak zonder dat de juiste laadbakbeveiliging is geplaatst.
Laad de accu's niet op terwijl u onderhoud uitvoert aan de machine.
Om de machine in goede staat te houden moet u verzekeren dat alle bevestigingsmiddelen goed zijn aangetrokken.
Om het risico op brand te verminderen moet u de omgeving van de machine vrij houden van overtollig vet, gras, bladeren en vuil.
Indien mogelijk moet u geen onderhoud uitvoeren bij ingeschakelde machine. Blijf uit de buurt van bewegende onderdelen.
Als de machine ingeschakeld moet zijn om een instelling te maken moet u uw handen en voeten, kleding en alle lichaamsdelen uit de buurt van bewegende delen houden. Hou omstanders uit de buurt van de machine.
Veeg gemorste olie en brandstof op.
Controleer de werking van de parkeerrem volgens het onderhoudsschema en stel deze in en voer onderhoud uit naar behoefte.
Zorg dat alle onderdelen van de machine in goede staat verkeren en alle bevestigingsmiddelen goed zijn aangetrokken. Vervang versleten of beschadigde stickers.
Voer geen handelingen uit die van invloed zijn op de bedoelde werking van een veiligheidsvoorziening of die de bescherming waarin de veiligheidsvoorziening voorziet verminderen.
Voorkom dat de motor het maximaal toelaatbare toerental overschrijdt, doordat de instellingen van de motor zijn veranderd. De servicedealer kan het maximale toerental controleren met een toerenteller om de veiligheid en nauwkeurigheid te verzekeren.
Indien grote reparaties nodig zijn of hulp is vereist, moet u contact opnemen met een erkende Toro- distributeur.
Elke verandering aan deze machine kan gevolgen hebben voor de werking, prestaties of levensduur van de machine, en kan letsel of de dood veroorzaken. Dergelijke veranderingen kunnen ertoe leiden dat de garantie op het product van The Toro® Company komt te vervallen.
| Onderhoudsinterval | Onderhoudsprocedure |
|---|---|
| Na de eerste 5 bedrijfsuren |
|
| Na de eerste 8 bedrijfsuren |
|
| Na de eerste 50 bedrijfsuren |
|
| Na de eerste 100 bedrijfsuren |
|
| Bij elk gebruik of dagelijks |
|
| Om de 50 bedrijfsuren |
|
| Om de 100 bedrijfsuren |
|
| Om de 200 bedrijfsuren |
|
| Om de 300 bedrijfsuren |
|
| Om de 400 bedrijfsuren |
|
| Om de 800 bedrijfsuren |
|
| Om de 1000 bedrijfsuren |
|
| Jaarlijks |
|
Note: Download het elektrische schema gratis op www.Toro.com; u kunt uw machine zoeken via de link Handleidingen op de startpagina.
Important: Raadpleeg de gebruikershandleiding van de motor voor verdere onderhoudsprocedures.
Als u de machine niet goed onderhoudt, kunnen systemen van de machine voortijdig defect raken en u of omstanders mogelijk letsel toebrengen.
U moet de machine goed onderhouden en in goede staat houden volgens deze instructies.
De machine mag uitsluitend worden onderhouden, gerepareerd, afgesteld of geïnspecteerd door vakbekwame en erkende technici.
Voorkom brandgevaar en zorg ervoor dat er brandbestrijdingsapparatuur in het werkgebied aanwezig is. Controleer nooit met een open vuur het peil van vloeistoffen, het accuzuur of de koelvloeistof, of een lekkage.
Gebruik geen open bakken met brandstof of ontvlambare reinigingsvloeistoffen om onderdelen schoon te maken.
Als u het sleuteltje in het contact laat, bestaat de kans dat iemand de motor per ongeluk start waardoor u en andere omstanders ernstig letsel kunnen oplopen.
Zet de motor af en verwijder het sleuteltje uit het contact voordat u onderhoudswerkzaamheden uitvoert.
Gelieve deze pagina te kopiëren ten behoeve van gebruik bij routinecontroles.
| Gecontroleerde item | Voor week van: | ||||||
|---|---|---|---|---|---|---|---|
| maandag | dinsdag | woensdag | donderdag | vrijdag | zaterdag | zondag | |
| Werking van rem en parkeerrem controleren. | |||||||
| Werking van schakelinrichting/neutraalstand controleren. | |||||||
| Het waterpeil van de accu's controleren. | |||||||
| Remvloeistofpeil controleren. | |||||||
| Controleren op ongewone geluiden tijdens het gebruik. | |||||||
| De bandenspanning controleren. | |||||||
| Controleren op lekkages. | |||||||
| Werking van instrumenten controleren. | |||||||
| Werking van het gaspedaal controleren. | |||||||
| Beschadigde lak bijwerken. | |||||||
| Was de machine. | |||||||
Important: Als de machine wordt gebruikt in de hieronder genoemde omstandigheden, moet u de onderhoudswerkzaamheden twee keer zo vaak uitvoeren:
Gebruik in woestijngebied
Gebruik bij lage temperaturen: beneden 0 °C
Trekken van een aanhangwagen
Veelvuldig gebruik in stoffige omstandigheden
Bouwwerkzaamheden
Doe het volgende na langdurig gebruik in modder, zand, water of soortgelijke vuile omstandigheden:
Laat de remmen zo snel mogelijk controleren en reinigen. Dit voorkomt dat schurend materiaal overmatige slijtage veroorzaakt.
Reinig de machine met alleen water of een mild reinigingsmiddel.
Important: Gebruik geen brak of teruggewonnen water om de machine schoon te maken.
Parkeer de machine op een horizontaal oppervlak.
Zet de transmissie op NEUTRAAL.
Stel de parkeerrem in werking.
Zet de motor af en haal het sleuteltje uit het contact.
Leeg de laadbak en breng hem omhoog.
Een opgekrikte machine kan wankel staan. De machine kan van de krik afglijden, waardoor iemand die zich eronder bevindt letsel kan oplopen.
Start de motor niet als de machine is opgekrikt.
Haal altijd het sleuteltje uit het contact voordat u van de machine stapt.
Blokkeer de wielen wanneer de machine wordt ondersteund door hefwerktuigen.
Gebruik assteunen om de machine te ondersteunen wanneer deze gehesen is.
Important: Als u de machine voor routineonderhoud en/of diagnose laat draaien, zorg dan dat de achterwielen van de machine 25 mm vrij van de grond zijn door de achteras op assteunen te zetten.
Het hefpunt vooraan de machine bevindt zich aan de voorzijde van het frame, achter de sleeplip (Figuur 23).

Het hefpunt aan de achterzijde van de machine bevindt zich onder de asbuizen (Figuur 24).

Til de handgreep van de rubberen grendels aan weerszijden van de motorkap op (Figuur 25).

Til de motorkap op.
Laat de motorkap langzaam zakken.
Bevestig de motorkap door de rubberen grendels uit te lijnen met de grendelbevestigingen aan weerszijden van de motorkap (Figuur 25).
Schuif de zitbank opzij op de pennen en laat de zitbank zakken (Figuur 28).

| Onderhoudsinterval | Onderhoudsprocedure |
|---|---|
| Om de 300 bedrijfsuren |
|
Specificatie smeermiddel: Mobilgrease XHP™-222
Til de voorkant van de machine op en plaats deze op assteunen.
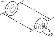
Verwijder de 4 wielmoeren waarmee het wiel aan de naaf bevestigd is (Figuur 29).

Verwijder de flenskopbouten (⅜" x ¾") waarmee de beugel voor de rem is bevestigd aan de as en verwijder de rem van de as (Figuur 30).
Note: Ondersteun de rem voordat u verder gaat met de volgende stap.

Verwijder de stofkap van de naaf (Figuur 31).

Verwijder de borgpen en de moerzekering van de as en de asmoer (Figuur 31).
Verwijder de asmoer van de as, en verwijder de naaf en de rotor van de as (Figuur 31 en Figuur 32).

Maak de as schoon met een doek.
Herhaal stap 1 tot en met 7 voor de naaf en de rotor aan de andere kant van de machine.
Verwijder het buitenste lager en de loopring van het lager van de naaf (Figuur 33).

Verwijder de afdichting en het binnenste lager van de naaf (Figuur 33).
Maak de afdichting schoon en controleer op slijtage en beschadiging.
Note: Gebruik geen reinigingsmiddel om de afdichting schoon te maken. Vervang de afdichting als deze versleten of beschadigd is.
Maak de lagers en de loopringen schoon en controleer deze onderdelen op slijtage en beschadiging.
Note: Vervang versleten of beschadigde onderdelen. Controleer of de lagers en loopringen schoon en droog zijn.
Verwijder alle vuil en vet uit de holte van de naaf (Figuur 33).
Smeer de lagers met het aanbevolen smeermiddel.
Vul de holte van de naaf voor 50 tot 80% met het aanbevolen smeermiddel (Figuur 33).
Monteer het binnenste lager op de loopring aan de binnenkant van de naaf en monteer de afdichting (Figuur 33).
Herhaal stap 1 tot en met 8 voor de lagers van de andere naaf.
Breng een laagje van het aanbevolen smeermiddel aan op de as (Figuur 34).

Monteer de naaf en de rotor op de as met de rotor aan de binnenkant (Figuur 34).
Monteer het buitenste lager op de as en plaats het lager in de buitenste loopring (Figuur 34).
Monteer het borgplaatje op de as (Figuur 34).
Draai de asmoer op de as en zet de moer vast met een torsie van 15 N·m terwijl u de naaf draait om het lager te plaatsen (Figuur 34).
Draai de asmoer los tot de naaf vrij kan draaien.
Draai de asmoer vast met een torsie van 1,70 tot 2,26 N·m.
Monteer de borgschroef over de moer en controleer de uitlijning van de sleuf in de schroef en de opening in de as voor de borgpen (Figuur 35).
Note: Als de sleuf in de borgschroef en de opening in de as niet uitgelijnd zijn, moet u de asmoer vastzetten met een torsie van maximaal 2,26 N·m om de sleuf en de opening uit te lijnen.

Monteer de borgpen en plooi beide uiteinden rond de borgschroef (Figuur 35).
Plaats de stofkap op de naaf (Figuur 35).
Herhaal stap 1 tot en met 10 voor de naaf en de rotor aan de andere kant van de machine.
Reinig de 2 flenskopbouten (⅜" x ¾") en breng een laag schroefdraadborgmiddel met gemiddelde sterkte aan op de draden van de bouten.
Lijn de remblokken aan beide zijden van de rotor (Figuur 30) en de openingen in de beugel van de remklauw uit met de openingen in de rembevestiging van het asframe (Figuur 34).
Bevestig de beugel van de remklauw aan het asframe (Figuur 30) met de 2 flenskopbouten (⅜" x ¾").
Draai de 2 flenskopbouten vast met een torsie van 47 tot 54 N·m.
Lijn de openingen in het wiel uit met de bouten van de naaf en monteer het wiel op de naaf met het ventiel naar buiten gericht (Figuur 29).
Note: Zorg dat het montagevlak van het wiel gelijk komt met de naaf.
Bevestig het wiel aan de naaf met de wielmoeren (Figuur 29).
Draai de wielmoeren vast met een torsie van 108 tot 122 N·m.
Herhaal stap 1 tot en met 5 voor de rem en het wiel aan de andere kant van de machine.
Zet de motor af, verwijder het sleuteltje en wacht totdat alle bewegende onderdelen tot stilstand zijn gekomen voordat u de olie controleert of olie bijvult in het carter.
Houd uw handen, voeten, gezicht, kleding en andere lichaamsdelen uit de buurt van de geluiddemper en andere hete oppervlakken.
| Onderhoudsinterval | Onderhoudsprocedure |
|---|---|
| Om de 50 bedrijfsuren |
|
Controleer de luchtfilterbehuizing op beschadigingen die een luchtlek kunnen veroorzaken. Vervang een beschadigde luchtfilterbehuizing.
Maak het luchtfilterdeksel schoon en verwijder vuil van de stofkap zoals getoond in Figuur 36.

| Onderhoudsinterval | Onderhoudsprocedure |
|---|---|
| Om de 50 bedrijfsuren |
|
| Om de 100 bedrijfsuren |
|
Note: Het luchtfilterelement moet vaker een onderhoudsbeurt krijgen (om de paar uren) als de machine wordt gebruikt in buitengewoon stoffige of zanderige omstandigheden.
Schuif het luchtfilterelement voorzichtig uit de luchtfilterbehuizing (Figuur 37).
Note: Zorg ervoor dat u niet met het luchtfilter tegen de zijkant van de luchtfilterbehuizing stoot.
Important: Probeer het luchtfilterelement niet te reinigen.
Inspecteer het nieuwe element op beschadiging door een felle lichtbron op de buitenkant van het element te richten en er doorheen te kijken.
Note: Gaten in het element zien eruit als lichte vlekken. Controleer het element op scheuren, een vettig oppervlak of beschadiging van de rubberen afdichting. Als het element beschadigd is, mag u het niet gebruiken.
Schuif het element voorzichtig in de luchtfilterbehuizing.
Important: Druk niet op het zachte midden van het element.
Monteer het luchtfilterdeksel met de kant met het opschrift UPUP naar boven gericht en maak de sluitingen vast (Figuur 37).

Carterinhoud: 1,0 liter
Type olie: Reinigingsolie API-klasse SJ of hoger
Viscositeit: Zie onderstaande tabel.

| Onderhoudsinterval | Onderhoudsprocedure |
|---|---|
| Bij elk gebruik of dagelijks |
|
Note: De machine wordt geleverd met olie in het carter; u dient echter het oliepeil te controleren voor- en nadat u de motor start.
Note: De beste tijd om de motorolie te controleren is wanneer de motor koud is voordat deze is gestart voor de dag. Als hij al heeft gedraaid, moet u de olie eerst terug laten lopen gedurende tenminste 10 minuten voordat u controleert. Als het oliepeil te laag is, vult u olie bij totdat het oliepeil de Vol-markering bereikt. Niet te vol vullen.
Controleer het oliepeil zoals wordt getoond in Figuur 39.

| Onderhoudsinterval | Onderhoudsprocedure |
|---|---|
| Na de eerste 5 bedrijfsuren |
|
| Om de 50 bedrijfsuren |
|
| Om de 100 bedrijfsuren |
|
Note: Ververs de olie vaker als het voertuig in zeer stoffige of zanderige omstandigheden wordt gebruikt.
Note: Geef de oude motorolie en het gebruikte oliefilter af bij een erkende inzamelplaats.
Start de machine en laat de motor een paar minuten lopen.
Parkeer de machine op een horizontaal oppervlak.
Haal de parkeerrem aan.
Zet de motor af en haal het sleuteltje uit het contact.
Breng de laadbak omhoog en ondersteun deze met de steunstang; zie De laadbak omhoogbrengen in de onderhoudsstand.
Ververs de motorolie zoals wordt getoond in Figuur 40.

| Onderhoudsinterval | Onderhoudsprocedure |
|---|---|
| Om de 100 bedrijfsuren |
|
Type bougie van model met carburateur: Champion XC12YC
Type bougie EFI-model: Champion RC12LC4
Elektrodenafstand voor modellen met carburateur: 0,76 mm
Elektrodenafstand voor EFI-modellen: 1 mm
Important: Als de bougie gebarsten of vuil is of niet goed werkt, moet u deze vervangen. U mag de elektroden niet zandstralen, afkrabben of reinigen met een staalborstel omdat hierdoor gruis kan losraken en in de cilinder terechtkomen. Dit leidt meestal tot beschadiging van de motor.
Note: Een bougie heeft meestal een lange levensduur. U moet de bougie echter uitnemen en controleren als de motor slecht functioneert.
Maak de omgeving van de bougie schoon zodat er geen vuil in de cilinder kan terechtkomen als u de bougie verwijdert.
Trek de kabel van het aansluitpunt van de bougie.
Haal de plug uit de cilinderkop.
Controleer de staat van de massa-elektrode, de centrale elektrode en de isolator van de centrale elektrode op beschadigingen (Figuur 41).
Note: Geen beschadigde of versleten bougie gebruiken. Vervang de bougie door een nieuwe bougie van het aanbevolen type.

Zorg ervoor dat de elektrodenafstand tussen de centrale elektrode en de massa-elektrode 1 mm bedraagt voor EFI-modellen of 0,76 mm voor modellen met carburateur zoals getoond in Figuur 41.
Plaats de bougie in de cilinderkop en draai de bougie vast tot 27 N·m.
Bevestig de kabel van de bougie.
Herhaal stap 1 tot en met 7 voor de andere bougie.
Breng de laadbak omhoog en zet deze vast met de steunstang.
Draai aan de behuizing van de gaskabel de voorste contramoer losser en de achterste contramoer vaster om het toerental in laag stationair te verhogen (Figuur 42).

Test het hoog stationaire toerental met een toerenteller:
Zorg ervoor dat de schakelhendel in NEUTRAAL staat.
Start de motor.
Druk het gaspedaal volledig in en controleer het motortoerental met een toerenteller; het toerental moet tussen 3.650 en 3.750 tpm liggen. Als dat niet het geval is, moet u de motor afzetten en de contramoeren van de kabel afstellen.
Important: Stel het toerental in hoog stationair niet lager in. Controleer met een toerenteller of het toerental in hoog stationair tussen 3.650 en 3.750 tpm ligt.
Laat de laadbak zakken en zet hem vast.
| Onderhoudsinterval | Onderhoudsprocedure |
|---|---|
| Om de 400 bedrijfsuren |
|
Inspecteer de brandstofleidingen, aansluitingen en klemmen op tekenen van lekkage, slijtage, beschadiging of losse connecties.
Note: Repareer beschadigde of lekkende onderdelen van het brandstofsysteem voordat u de machine gebruikt.
| Onderhoudsinterval | Onderhoudsprocedure |
|---|---|
| Om de 400 bedrijfsuren |
|
Parkeer de machine op een horizontaal oppervlak.
Haal de parkeerrem aan.
Zet de motor af en haal het sleuteltje uit het contact.
Breng de bak omhoog en ondersteun hem met de stang.
Koppel de accu af; zie De accu afkoppelen.
Plaats een schone opvangbak onder het brandstoffilter en vervang het brandstoffilter zoals wordt getoond in Figuur 43.

Sluit de accu aan en laat de laadbak zakken; zie De accu aansluiten.
| Onderhoudsinterval | Onderhoudsprocedure |
|---|---|
| Na de eerste 50 bedrijfsuren |
|
| Om de 200 bedrijfsuren |
|
Inspecteer de opening onderaan het luchtfilter voor de koolstofhouder en zorg ervoor dat deze vrij is van vuil en verstopping (Figuur 44).
Reinig het luchtfilter van de koolstofhouder met schone perslucht.

Koppel de accu af voordat u reparaties aan de machine verricht. Maak eerst de minpool van de accu los en daarna de pluspool. Bevestig eerst de pluspool van de accu en daarna de minpool.
Laad de accu op in een open, goed geventileerde ruimte, uit de buurt van vonken en open vuur. Haal de oplader uit het stopcontact voordat u de accu aan- of loskoppelt. Draag beschermende kleding en gebruik geïsoleerd gereedschap.
Accuspanning: 12 V, 300 A, koude start bij -18 °C.
Houd de accu altijd schoon en volledig geladen.
Als de accupolen zijn geoxideerd, moet u deze schoonmaken met een oplossing van vier delen water en één deel zuiveringszout.
Breng een laagje vet op de accupolen aan om corrosie te voorkomen.
Als accukabels verkeerd worden verbonden, kan dit schade aan de machine en de kabels tot gevolg hebben en vonken veroorzaken. Hierdoor kunnen accugassen tot ontploffing komen, waardoor lichamelijk letsel kan ontstaan.
Maak altijd de minkabel (zwart) van de accu los voordat u de pluskabel (rood) losmaakt.
Sluit altijd eerst de pluskabel (rood) van de accu aan voordat u de minkabel (zwart) aansluit.
Zorg ervoor dat de accuhouder altijd op zijn plaats zit om de accu te beschermen en vast te zetten.
Accupolen of metalen gereedschappen kunnen kortsluiting maken met metalen onderdelen van de machine, waardoor vonken kunnen ontstaan. Hierdoor kunnen accugassen tot ontploffing komen en lichamelijk letsel veroorzaken.
Zorg ervoor dat bij het verwijderen of installeren van de accu de accupolen niet in aanraking komen met metalen onderdelen van de machine.
Voorkom dat metalen gereedschappen kortsluiting veroorzaken tussen de accupolen en metalen onderdelen van de machine.
Ontkoppel de accu zoals wordt getoond in Figuur 45.

Koppel de accukabels af; zie De accu afkoppelen.
Verwijder de accu zoals wordt getoond in Figuur 46.

Plaats de accu zoals wordt getoond in Figuur 47.

Sluit de accukabels aan; zie De accu aansluiten.
Sluit de accu aan zoals wordt getoond in Figuur 48.

Bij het opladen produceert de accu gassen die tot ontploffing kunnen komen.
Rook nooit in de buurt van de accu en zorg ervoor dat er geen vonken of vlammen vlakbij de accu komen.
Important: Houd de accu altijd volledig geladen. Dit is vooral belangrijk om beschadiging van de accu te voorkomen bij temperaturen onder 0 °C.
Verwijder de accu van de machine; raadpleeg Accu verwijderen.
Sluit een acculader van 3 tot 4 A aan op de accupolen. Laad de accu op gedurende 4 tot 8 uur bij 3-4 A (12 V).
Note: De accu niet te ver opladen.
Monteer de accu; zie Accu monteren.
Als u de machine langer dan 30 dagen stalt, moet u de accu verwijderen en volledig opladen. U moet de accu apart opslaan of in het voertuig laten zitten. De accukabels mogen niet aangesloten zijn op de accu als u deze in het voertuig laat zitten. Sla de accu op in een koele omgeving om te voorkomen dat de batterij snel ontlaadt. Om te voorkomen dat de accu bevriest, moet deze volledig zijn opgeladen.
Het elektrisch systeem beschikt over 4 zekeringen; de andere sleuven zijn vrij voor opties. Deze bevinden zich onder de bestuurdersstoel (Figuur 49).
| Claxon | 30 A |
| Hoofdvoeding | 15 A |
| Koplampen | 10 A |
| Usb-aansluitpunt/opties | 10 A |
| Optionele hefset – open | 15 A |

Het elektrisch systeem beschikt over 5 zekeringen; de andere sleuven zijn vrij voor opties. Deze bevinden zich onder de bestuurdersstoel (Figuur 50).
| Claxon | 20 A |
| Hoofdvoeding | 15 A |
| Koplampen | 10 A |
| Usb-aansluitpunt/opties | 10 A |
| Brandstof | 10 A |
| Optionele hefset – open | 15 A |

Specificatie: Raadpleeg uw Onderdelencatalogus.
Koppel de accu af; zie De accu afkoppelen.
Open de motorkap.
Koppel de elektrische aansluiting voor de kabelboom los van de aansluiting van de lamp (Figuur 51).

Verwijder de snelklemmen waarmee de koplamp aan de koplampbeugel is bevestigd (Figuur 51).
Note: Bewaar alle onderdelen voor de montage van de nieuwe koplamp.
Verwijder de koplamp door deze naar voren door de opening in de voorbumper te trekken (Figuur 51).
Monteer de nieuwe koplamp via de opening in de bumper (Figuur 51).
Note: Zorg ervoor dat de afstelpennen op één lijn zijn met de openingen in de montagebeugel achter de bumper.
Zet de koplamp vast met de snelklemmen die u hebt verwijderd in stap 4.
Koppel de elektrische aansluiting voor de kabelboom aan op de aansluiting van de lamp (Figuur 51).
Verstel de koplampen om de lichtbundel in de gewenste stand te zetten; zie Koplampen afstellen.
Ga als volgt te werk om de stand van de koplampen af te stellen als een koplamp is vervangen of verwijderd.
Parkeer de machine op een horizontaal oppervlak met de koplampen op ongeveer 7,6 meter verwijderd van een muur (Figuur 52).
Meet de afstand van de vloer tot het midden van de koplamp en maak een markering op dezelfde hoogte op de muur.
Draai het contactsleuteltje op AAN en ontsteek de koplampen.
Onthoud waar de koplampen gericht zijn op de muur.
Het helderste gedeelte van de lichtstraal van de koplampen dient zich 20 cm onder de markering op de muur te bevinden (Figuur 52).

Draai achteraan de koplamp de stelschroeven (Figuur 51) om de koplamp te draaien en de straal te richten.
Sluit de accu aan en sluit de motorkap; zie De accu aansluiten.
| Onderhoudsinterval | Onderhoudsprocedure |
|---|---|
| Om de 100 bedrijfsuren |
|
Inspecteer de banden en velgen op tekenen van slijtage en beschadiging.
Note: Ongelukken tijdens werkzaamheden, zoals een botsing tegen een trottoirband, kunnen een band of een velg beschadigen en tevens de wieluitlijning verstoren. Daarom moet u na een ongeluk de conditie van de banden controleren.
Draai de wielmoeren vast met een torsie van 108 tot 122 N∙m.
| Onderhoudsinterval | Onderhoudsprocedure |
|---|---|
| Om de 100 bedrijfsuren |
|
Zet het stuurwiel in de gecentreerde stand (Figuur 53), en draai het stuurwiel naar links of rechts. Als u het stuurwiel meer dan 13 mm naar links of rechts draait en de banden draaien niet, controleer dan de volgende onderdelen van de stuurinrichting en de ophanging om er zeker van te zijn dat ze niet los zitten of beschadigd zijn:
Stuuras tot verbinding van stuurhuis
Important: Controleer de toestand van de afdichting van de rondselas en ga na of u deze op een veilige manier kunt gebruiken (Figuur 54).
Trekstangen van het stuurhuis


| Onderhoudsinterval | Onderhoudsprocedure |
|---|---|
| Om de 100 bedrijfsuren |
|
Controleer de bandendruk en zorg ervoor dat de banden vooraan tot 0,83 bar gepompt zijn.
Leg ofwel een gewicht op de bestuurdersstoel dat overeenkomt met het gemiddelde gewicht van de bestuurders die met de machine zullen werken, of laat een bestuurder plaatsnemen op de stoel. Het gewicht of de bestuurder dienen gedurende de hele instellingsprocedure op de stoel te blijven.
Rol op een vlakke ondergrond de machine 2 tot 3 meter recht achteruit en vervolgens recht vooruit naar de plaats waar u vertrok. Hierdoor kan de ophanging de bedrijfsstand aannemen.
Benodigdheden (door de eigenaar verschaft): schroefsleutel, Toro onderdeel 132-5069; verkrijgbaar bij een erkende Toro verdeler.
Important: Stel de vlucht uitsluitend af indien u een werktuig aan de voorkant gebruikt of indien de slijtage aan de banden ongelijkmatig is.
Controleer de vlucht aan elk wiel; deze moet zo dicht mogelijk in de buurt komen bij neutraal (nul).
Note: De banden moeten uitgelijnd zijn en het loopvlak moet gelijkmatig op de grond rusten om ongelijkmatige slijtage te voorkomen.
Als de vlucht van het wiel onjuist afgesteld is, draai dan met de schroefsleutel aan de kraag van de schokdemper tot het wiel uitgelijnd is (Figuur 55).

Important: Voordat u het toespoor gaat afstellen, moet u ervoor zorgen dat de vlucht zo dicht mogelijk tegen neutraal aanligt; zie De vlucht afstellen.
Meet ter hoogte van de as de afstand tussen de voorwielen aan de voorkant en de achterkant van de wielen (Figuur 56).

Als deze afstand buiten het bereik van 0 tot 6 mm valt, moet u de contramoeren aan het uiteinde van de spoorstangen losdraaien (Figuur 57).

Draai aan beide spoorstangen om de voorzijde van het wiel naar binnen of naar buiten te draaien.
Draai de contramoeren van de spoorstang weer vast als de afstelling correct is.
Zorg ervoor dat het stuur in beide richtingen volledig kan uitslaan.
| Onderhoudsinterval | Onderhoudsprocedure |
|---|---|
| Om de 100 bedrijfsuren |
|
Type vloeistof: SAE 80W-90 (API MT-1) of SAE 80W-90 (API GL-5)
Parkeer de machine op een horizontaal oppervlak.
Haal de parkeerrem aan.
Zet de motor af en haal het sleuteltje uit het contact.
Verwijder de vulplug op de transaxle (Figuur 58).
Note: Het vloeistofpeil moet tot aan de onderkant van de vulplug komen.

Als het vloeistofpeil te laag is, verwijder dan de vulplug en vul bij met de aanbevolen vloeistof tot deze uit de opening stroomt (Figuur 58).
Plaats de vulplug terug en draai deze vast met een torsie van 20 tot 27 N·m.
| Onderhoudsinterval | Onderhoudsprocedure |
|---|---|
| Om de 800 bedrijfsuren |
|
Type vloeistof: SAE 80W-90 (API MT-1) of SAE 80W-90 (API GL-5)
Vloeistofinhoud: 1,6 liter
Plaats een opvangbak onder de aftapplug (Figuur 58).
Verwijder de vulplug en de pakking (Figuur 58).
Note: Bewaar de vulplug en de pakking om deze te monteren in stap 6.
Verwijder de aftapplug en de pakking, en laat alle vloeistof weglopen (Figuur 58).
Note: Bewaar de aftapplug en de pakking om deze te monteren in stap 4.
Monteer de aftapplug en de pakking, en draai deze vast met een torsie van 20 tot 27 N·m.
Vul de transaxle met de aanbevolen vloeistof tot deze uit de vulopening stroomt.
Monteer de vulplug en de pakking, en draai deze vast met een torsie van 20 tot 27 N·m.
| Onderhoudsinterval | Onderhoudsprocedure |
|---|---|
| Bij elk gebruik of dagelijks |
|
| Om de 100 bedrijfsuren |
|
Als u routine-onderhoudswerkzaamheden uitvoert en/of de motor test, moet u de transaxle in NEUTRAAL zetten. De machine heeft een NEUTRAALSTAND op de schakelhendel, waarmee u de transaxle in de neutraalstand kunt zetten. Om ervoor te zorgen dat de schakelhendel de transaxle naar behoren in de neutraalstand zet, moet u de volgende stappen uitvoeren:
Zet de schakelhendel in de NEUTRAALSTAND.
Draai de secundaire koppeling (Figuur 65) om na te gaan of ze vrij ronddraait in de NEUTRAALSTAND.
Zet de schakelhendel in de stand VOORUIT.
Draai de secundaire koppeling (Figuur 65) om na te gaan of ze de achterwielen laat draaien.
Zet de schakelhendel in de stand ACHTERUIT.
Draai de secundaire koppeling (Figuur 65) om na te gaan of ze de achterwielen laat draaien.
Als een van deze tests mislukt, ga dan verder met De neutraalstand van de schakelhendel afstellen.
Draai de contramoeren op de schakelkabel los en stel ze af zoals vereist (Figuur 59).

Test de stand van de schakelhendel door deze naar de 3 standen te draaien; controleer of de schakelhendel (Figuur 59) naar behoren schakelt wanneer u de hendel beweegt; zie Schakelhendel en schakelindicator.
Controleer of alle standen naar behoren werken door de stappen in De neutraalstand van de schakelhendel controleren te herhalen.
| Onderhoudsinterval | Onderhoudsprocedure |
|---|---|
| Om de 400 bedrijfsuren |
|
Het stof in de koppeling verspreidt zich hierbij door de lucht, waardoor u oogletsel kunt oplopen of bij inademing ervan ademhalingsproblemen kunt krijgen.
Draag een veiligheidsbril en een stofmasker of andere oog- en adembescherming als u deze werkzaamheden verricht.
Hef de laadbak op en vergrendel deze.
Verwijder de 3 bouten waarmee de kap van de koppeling is bevestigd, en haal de kap weg (Figuur 60).
Note: Bewaar de kap en de bouten voor de montage.

Reinig de binnenkant van de kap en het binnenwerk van de koppeling grondig met perslucht.
Plaats de kap van de koppeling en bevestig deze met de 3 bouten (Figuur 60) die u verwijderd hebt in 2.
Laat de laadbak neer.
Het stof in de koppeling verspreidt zich hierbij door de lucht, waardoor u oogletsel kunt oplopen of bij inademing ervan ademhalingsproblemen kunt krijgen.
Draag een veiligheidsbril en een stofmasker of andere oog- en adembescherming als u deze werkzaamheden verricht.
Zet de laadbak omhoog en vergrendel deze; zie De laadbak omhoogbrengen in de onderhoudsstand.
Verwijder de bouten waarmee de kap van de primaire koppeling is bevestigd zoals getoond in Figuur 61.
Important: Wees voorzichtig wanneer u de kap verwijdert; de veer staat onder spanning.
Important: Onthoud de stand van de X op de kappen en sluitingen van de koppeling met het oog op het vervolg van de montageprocedure.

Verwijder de veer.
Voeg afstandsstukken toe of verwijder deze om de topsnelheid in te stellen. Gebruik de onderstaande tabel om het aantal vereiste afstandsstukken te bepalen.
| Afstandsstukken | Topsnelheid |
| 2 (standaard) | 26 km/u (standaard) |
| 3 | 19 km/u |
| 4 | 14 km/u |
| 5 | 10 km/u |
| 6 | 6 km/u |
Important: Gebruik de machine nooit met minder dan 2 afstandsstukken op de koppeling.
Plaats de veer en de kap weer terug.
Important: Zorg ervoor dat de X op de oorspronkelijke locatie wordt teruggeplaatst.
Draai de bouten vast met 179 tot 228 N∙m.
Motorkoelvloeistof inslikken kan vergiftiging veroorzaken; buiten bereik van kinderen en huisdieren houden.
Als u hete, onder druk staande koelvloeistof over u heen krijgt of in aanraking komt met een hete radiateur of omliggende delen, kunt u ernstige brandwonden oplopen.
Laat de motor minstens 15 minuten afkoelen voordat u de radiateurdop verwijdert.
Gebruik een doek als u de radiateurdop verwijdert en draai de dop langzaam open om de stoom te laten ontsnappen.
Gebruik de machine nooit zonder dat de kappen zijn geplaatst.
Houd uw vingers, handen en kleding uit de buurt van draaiende ventilatoren en drijfriemen.
Zet de motor af en verwijder het sleuteltje voordat u onderhoudswerkzaamheden uitvoert.
| Onderhoudsinterval | Onderhoudsprocedure |
|---|---|
| Om de 100 bedrijfsuren |
|
Important: Als u de motor gebruikt met een verstopt scherm, vuile of verstopte koelribben, of verwijderde uitlaatringen, leidt dit tot beschadiging van de motor als gevolg van oververhitting.
Important: Reinig de motor nooit met een hogedrukreiniger omdat er dan water in het brandstofsysteem kan terechtkomen.
Reinig de ingang, de koelribben en de buitenkant van de motor.
Note: Reinig de onderdelen van de motorkoeling vaker in zeer stoffige, vuile omstandigheden.
Stel de parkeerrem in werking door de parkeerremhendel naar u toe te trekken tot u weerstand voelt.
Als u nog geen weerstand voelt wanneer u de parkeerrem naar u toe trekt tot 11,4-16,5 cm van het P-symbool op het dashboard, dient u de parkeerrem af te stellen; zie Parkeerrem afstellen.
Zorg dat de parkeerrem uitgeschakeld is.
Zet de achterkant van de machine op assteunen; raadpleeg De machine omhoog brengen.
Gebruik 2 sleutels en houd met de ene de afstelstang van de klauw vast terwijl u met de andere sleutel de contramoer een kwartslag losdraait (Figuur 62).

Hou de afstelstang en de contramoer vast en draai de afstelstang in om deze te bevestigen (Figuur 62).
Note: Blijf deze stap uitvoeren tot u weerstand voelt op het wiel.
Hou de afstelstang en de contramoer vast en draai een kwartslag los (Figuur 62).
Hou de afstelstang en de contramoer vast en draai de contramoer aan (Figuur 62).
Voer stap 1 tot en met 6 uit voor de andere kant.
Controleer of de parkeerrem is afgesteld op de juiste spanning; zie De parkeerrem controleren).
Note: Als u de parkeerrem niet op de vereiste spanning kunt brengen, zijn de remblokken misschien versleten en zijn ze aan vervanging toe. Neem contact op met uw erkende Toro verdeler als u hulp nodig heeft.
| Onderhoudsinterval | Onderhoudsprocedure |
|---|---|
| Bij elk gebruik of dagelijks |
|
Remvloeistoftype: DOT 3
Parkeer de machine op een horizontaal oppervlak.
Haal de parkeerrem aan.
Zet de motor af en haal het sleuteltje uit het contact.
Open de motorkap om toegang te krijgen tot de hoofdremcilinder en het reservoir (Figuur 63).

Kijk naar de omtreklijn van het vloeistofpeil aan de zijkant van het reservoir (Figuur 64).
Note: Het peil moet hoger staan dan de Minimum-streep.

Doe het volgende als het vloeistofpeil te laag is:
Sluit de motorkap van de machine.
| Onderhoudsinterval | Onderhoudsprocedure |
|---|---|
| Om de 100 bedrijfsuren |
|
Important: De remmen zijn van essentieel belang voor een veilig gebruik van de machine. Controleer de remmen zorgvuldig op de aanbevolen onderhoudsintervallen om de optimale prestaties en veiligheid te verzekeren.
Controleren van de remvoering op slijtage of beschadigingen controleren. Als de dikte van de remvoering (remblok) minder dan 1,6 mm is, moet u de remvoering vervangen.
De ankerplaat en andere onderdelen controleren op tekenen van overmatige slijtage of vervorming. Vervang eventuele beschadigde onderdelen.
Controleer het remvloeistofpeil; zie Remvloeistofpeil controleren.
| Onderhoudsinterval | Onderhoudsprocedure |
|---|---|
| Om de 400 bedrijfsuren |
|
Vraag uw Toro verdeler om de service- en parkeerremblokken te controleren en mogelijk te vervangen.
| Onderhoudsinterval | Onderhoudsprocedure |
|---|---|
| Om de 1000 bedrijfsuren |
|
Neem contact op met uw erkende Toro-distributeur dealer.
| Onderhoudsinterval | Onderhoudsprocedure |
|---|---|
| Na de eerste 8 bedrijfsuren |
|
| Om de 200 bedrijfsuren |
|
Parkeer de machine op een horizontaal oppervlak.
Haal de parkeerrem aan.
Zet de motor af en haal het sleuteltje uit het contact.
Breng de laadbak omhoog en ondersteun deze met de steunstang; zie De laadbak omhoog brengen in de stortstand.
Zet de transmissie in de NEUTRAALSTAND.
Laat de riem (Figuur 65) ronddraaien en controleer deze op tekenen van overmatige slijtage of beschadigingen.
Note: Vervang de riem als deze overmatig versleten of beschadigd is; zie Aandrijfriem vervangen.

Laat de laadbak neer.
Zet de laadbak omhoog; zie De laadbak omhoog brengen in de stortstand.
Zet de transmissie in de NEUTRAALSTAND, stel de parkeerrem in werking, draai de contactschakelaar naar de stand UIT en verwijder het sleuteltje.
Laat de drijfriem over de secundaire koppeling ronddraaien (Figuur 65).
Verwijder de riem van de primaire koppeling (Figuur 65).
Note: Gooi de oude riem weg.
Lijn de nieuwe riem uit op de primaire koppeling (Figuur 65).
Laat de drijfriem over de secundaire koppeling ronddraaien (Figuur 65).
Laat de laadbak neer.
| Onderhoudsinterval | Onderhoudsprocedure |
|---|---|
| Na de eerste 8 bedrijfsuren |
|
| Om de 200 bedrijfsuren |
|
Zet de laadbak omhoog; zie De laadbak omhoog brengen in de stortstand.
Draai de ankerbout van de dynamo van de starter los (Figuur 65).
Plaats een breekijzer tussen de motorsteun en de starter.
Duw het breekijzer naar beneden om de starter omlaag in de sleuf te draaien tot de riem niet meer dan 6 mm doorbuigt als u een kracht van 44 N·m uitoefent (Figuur 65).
Draai de ankerbout van de starter handmatig vast en verwijder het breekijzer (Figuur 65).
Draai de ankerbout vast tot 88 à 115 N·m.
Laat de laadbak neer.
Als de vergrendeling van de laadbak slecht is afgesteld, trilt de laadbak op en neer tijdens het rijden. U kunt de vergrendelstangen zodanig afstellen dat de vergrendelingen de laadbak stevig tegen het chassis houden.
Controleer of de laadbak vergrendeld wordt.
Note: Als de laadbak niet vergrendeld wordt, staat het stootvlak van de laadbakgrendel waarschijnlijk te laag. Als de laadbak vergrendeld wordt maar op en neer gaat tijdens het rijden, staat het stootvlak van de laadbakgrendel waarschijnlijk te hoog.
Breng de laadbak omhoog; De laadbak omhoog brengen in de stortstand.
Zet de 2 bouten op het stootvlak van de laadbakgrendel los en zet het stootvlak zoals vereist naar boven of naar beneden (Figuur 66).

Draai de 2 bouten van het stootvlak van de laadbakgrendel vast (Figuur 66).
Controleer of de afstelling correct is door de laadbak enkele keren te vergrendelen.
| Onderhoudsinterval | Onderhoudsprocedure |
|---|---|
| Bij elk gebruik of dagelijks |
|
Reinig de machine indien nodig met alleen water of een mild reinigingsmiddel. Bij het schoonmaken van de machine kunt u een doek gebruiken.
Important: Gebruik geen brak of teruggewonnen water om de machine schoon te maken.
Important: Gebruik nooit een hogedrukreiniger om de machine schoon te maken. Hogedrukreinigers kunnen het elektrische systeem beschadigen, belangrijke stickers losweken en noodzakelijk vet op wrijvingspunten wegspoelen. Gebruik niet te veel water in de buurt van het bedieningspaneel, de motor en de accu.
Important: Reinig de machine niet terwijl de motor loopt. De machine reinigen terwijl de motor loopt kan interne motorschade veroorzaken.
Zet de machine af, verwijder het contactsleuteltje en wacht totdat alle bewegende onderdelen tot stilstand zijn gekomen voordat u de bestuurderspositie verlaat. Laat de machine afkoelen voordat u er instellingen of onderhoud aan verricht, of de machine schoonmaakt of stalt.
Bewaar de machine en het brandstofvat niet op plaatsen waar open vlammen, vonken of waakvlammen (bv. van een boiler of een ander toestel) aanwezig kunnen zijn.
Parkeer de machine op een horizontaal oppervlak.
Haal de parkeerrem aan.
Zet de motor af en haal het sleuteltje uit het contact.
Verwijder het vuil en vet van het hele voertuig, inclusief de buitenkant van de koelribben van de cilinderkop en de ventilatorbehuizing.
Important: U kunt de machine met een mild reinigingsmiddel en water wassen. Gebruik nooit een hogedrukreiniger om de machine schoon te maken. De machine reinigen met een hogedrukreiniger kan het elektrische systeem beschadigen of noodzakelijk vet op wrijvingspunten wegspoelen. Gebruik niet te veel water in de buurt van het bedieningspaneel, de verlichting, de motor en de accu.
Controleer de remmen; zie De remmen controleren.
Geef het luchtfilter een onderhoudsbeurt, zie Onderhoud van het luchtfilter.
Ververs de motorolie, zie De motorolie verversen.
Controleer de bandenspanning; zie Bandenspanning controleren.
Wanneer het voertuig langer dan 30 dagen niet wordt gebruikt, moet het brandstofsysteem als volgt worden voorbereid op stalling:
Voeg een stabilizer/conditioner toe aan de verse brandstof in de tank. Gebruik geen brandstofstabilizer op alcoholbasis (ethanol of methanol).
Important: Bewaar brandstof die stabilisator/conditioner bevat niet langer dan aanbevolen door de fabrikant van de stabilisator.
Laat de motor 5 minuten lopen om de stabilisator/conditioner door het brandstofsysteem te verspreiden.
Zet de motor af, wacht totdat deze is afgekoeld en laat de benzine uit de tank lopen.
Note: U moet brandstof op de juiste wijze afvoeren. Verwerk deze volgens de plaatselijk geldende voorschriften.
Start de motor opnieuw en laat deze lopen tot hij afslaat.
Choke de motor.
Start de motor opnieuw totdat deze niet meer start.
Verwijder de bougie en controleer de toestand ervan; zie Onderhoud van de bougie.
Nadat de bougies uit de motor zijn verwijderd, giet u 15 ml (2 eetlepels) motorolie in de bougie-opening.
Gebruik de elektrische startmotor om de motor te laten draaien en zo de olie over de cilinderwand te verspreiden.
Monteer de bougie(s) en draai ze vast met de aanbevolen torsie; zie Onderhoud van de bougie.
Note: De bougiekabel niet op de bougie(s) drukken.
Verwijder de accu van het chassis en laad de accu volledig op; raadpleeg Accu verwijderen.
Note: U mag de accukabels niet aansluiten op de accupolen tijdens stalling.
Important: De accu moet volledig opgeladen zijn om te voorkomen dat deze bevriest en beschadigd raakt bij temperaturen beneden 0 °C. Een volledig opgeladen accu kan ongeveer 50 dagen worden gestald bij temperaturen beneden 4 °C zonder tussentijds te worden opgeladen.
Controleer alle bevestigingen en zet ze vast. Repareer of vervang beschadigde onderdelen.
Werk alle krassen en afgebladderde metaaloppervlakken bij met lak die verkrijgbaar bij uw erkende Toro- distributeur.
Stal de machine in een schone, droge garage of opslagruimte.
Verwijder het contactsleuteltje uit de contactschakelaar en bewaar het op een veilige plaats buiten het bereik van kinderen.
Dek de machine af om deze te beschermen en schoon te houden.