Note: Los lados derecho e izquierdo de la máquina se determinan desde la posición normal del operador.
Note: Los procedimientos de instalación de este kit requieren que usted trabaje debajo de la máquina.
![]() |
Las pegatinas de seguridad e instrucciones están a la vista del operador y están ubicadas cerca de cualquier zona de peligro potencial. Sustituya cualquier pegatina que esté dañada o que falte. |


Si deja la llave en el interruptor de encendido, alguien podría arrancar el motor accidentalmente y causar lesiones graves a usted o a otras personas.
Retire la llave del interruptor de encendido antes de realizar cualquier operación de mantenimiento.
Important: Tape o tapone cualquier manguera, tubo o conector hidráulico que no esté conectado para evitar la contaminación del sistema.
Aparque la máquina en una superficie nivelada o mueva la máquina a un elevador de máquinas.
Ponga el freno de estacionamiento.
Apague el motor y retire la llave.
Espere a que se detengan todas las piezas en movimiento y deje que el motor se enfríe.
Mueva los controles hidráulicos hacia adelante y hacia atrás para aliviar la presión hidráulica; consulte el Manual del operador.
Retire el apero combinado del palet y colóquelo debajo de la máquina con la niveladora hacia la parte trasera de la máquina.
Piezas necesarias en este paso:
| Conjunto de apero combinado | 1 |
| Acoplamiento de elevación | 2 |
| Contratuerca (½") | 4 |
| Arandela (½") | 2 |
| Perno de cuello cuadrado (½" x 2 ½") | 4 |
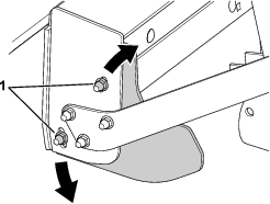
Instale, pero no apriete, la parte inferior de un acoplamiento de elevación en el bastidor usando un perno de cuello cuadrado (½" x 2 ½"), una arandela de empuje y una contratuerca (Figura 1).

Gire hacia arriba el acoplamiento de elevación y alinéelo con la pletina del brazo de elevación, y gire la rótula hasta que el orificio de la rótula esté alineado con el orificio de la pletina del brazo de elevación.

Conecte la rótula a la pletina del brazo de elevación con el perno de cuello cuadrado y la contratuerca, y apriete la contratuerca a 112-136 N∙m (83-101 pies-libra).
Apriete las contratuercas que sujetan los acoplamientos al apero combinado a 112-136 N∙m (83-101 pies-libra).
Apriete las contratuercas que sujetan la rótula al acoplamiento de elevación a 91-113 N∙m (67-83 pies-libra).
Repita los pasos 1 a 6 en el otro lado de la máquina.
Piezas necesarias en este paso:
| Brazo de empuje | 2 |
| Pletina de apriete | 2 |
| Perno de cuello cuadrado (⅜" x 1 ¾") | 6 |
| Contratuerca (⅜") | 6 |
| Perno de cuello cuadrado (½" x 2 ½") | 2 |
| Arandela de empuje | 2 |
| Contratuerca (½") | 2 |
Instale, pero no apriete, un brazo de empuje en el apero combinado con pletinas de apriete y pernos de cuello cuadrado (⅜" x 1 ¾"), como se muestra en la Figura 3.
Apriete las contratuercas que sujetan los brazos de empuje a 46-54 N∙m (34-40 pies-libra).

Gire el brazo de empuje hacia arriba y alinee el casquillo con la pestaña de montaje paralela de la parte inferior del bastidor.

Monte el extremo del brazo de empuje en la pestaña de montaje de la parte inferior del bastidor con el perno de cuello cuadrado, la arandela de empuje y la contratuerca, y apriete la contratuerca a 112-136 N∙m (83-101 pies-libra).
Repita este procedimiento con el brazo de empuje del otro lado de la máquina.
Piezas necesarias en este paso:
| Perno de cuello cuadrado (½" x 2 ½") | 1 |
| Arandela de empuje | 1 |
| Contratuerca (½") | 1 |
Gire la varilla de conexión hacia arriba y alinee el casquillo con la pestaña de montaje de la parte inferior del bastidor.

Monte el extremo de la varilla de conexión en la pestaña de montaje perpendicular de la parte inferior del bastidor con el perno de cuello cuadrado, la arandela de empuje y la contratuerca, y apriete la contratuerca a 112-136 N∙m (83-101 pies-libra).
Piezas necesarias en este paso:
| Tapón de goma | 2 |
| Reductor recto | 2 |
Instale los anillos de goma en los orificios del lado derecho del soporte del pivote de elevación.
Enrute las mangueras hidráulicas desde el cilindro del apero combinado hacia los controles a través de los anillos de goma.
Note: Enrute las mangueras hidráulicas lejos de cualquier pieza afilada, caliente o móvil; asegúrese de que las mangueras no están entrecruzadas.

Retire el capó; consulte el Manual del operador de la máquina.
Retire un tapón hidráulico de la parte delantera del distribuidor de las válvulas de control.
Note: Al retirar el tapón, es posible que salga fluido hidráulico del distribuidor; coloque un recipiente de vaciado debajo para recoger el fluido derramado.
Instale un reductor recto en el distribuidor en el lugar donde estaba el tapón; repita este procedimiento con el otro tapón.

Apriete el reductor recto a 81.3-89.5 N∙m (60-66 pies-libra).
Retire el tapón del reductor recto superior y conecte la manguera desde la parte inferior del cilindro del apero combinado al reductor superior.
Retire el tapón del reductor recto inferior y conecte la manguera desde la parte superior del cilindro del apero combinado al reductor inferior.
Note: Si nota u observa cualquier torcedura en las mangueras, afloje las fijaciones, deje que las mangueras vuelvan a una posición neutral y apriete las fijaciones.

Apriete los acoplamientos de manguera a 40.6-44.7 N∙m (30-33 pies-libra).
Piezas necesarias en este paso:
| Palanca de control | 1 |
| Tuerca hexagonal (M10) | 1 |
Las fugas de fluido hidráulico bajo presión pueden penetrar en la piel y causar lesiones.
Busque atención médica inmediatamente si el fluido penetra en la piel. El fluido que penetre en la piel debe ser retirado quirúrgicamente por un médico en el término de pocas horas.
Asegúrese de que todas las mangueras y líneas de fluido hidráulico están en buenas condiciones de uso y que todos los acoplamientos y conexiones hidráulicos están apretados, antes de aplicar presión al sistema hidráulico.
Mantenga el cuerpo y las manos alejados de fugas pequeñas o boquillas que liberan fluido hidráulico a alta presión.
Utilice un cartón o un papel para detectar fugas de fluido hidráulico.
Alivie de manera segura toda presión en el sistema hidráulico antes de realizar trabajos en el sistema hidráulico.

Instale la palanca en el distribuidor de las válvulas de control con la tuerca hexagonal (M10), como se muestra en la Figura 9.
Asegúrese de que todos los acoplamientos y conexiones hidráulicas están firmemente sujetos y apretados.
Asegúrese de que las cubiertas de las mangueras cubren ambos extremos de las mangueras de forma que ninguna parte de las mangueras quede expuesta al operador.
Retire el palet del apero combinado.
Instale el capó; consulte el Manual del operador.
Asegúrese de que las válvulas de desvío de la bomba hidráulica están en la posición de operación; consulte el Manual del operador.
Compruebe el nivel de fluido hidráulico y rellene según sea necesario; consulte el Manual del operador.
Arranque la máquina y deje que se presurice el sistema hidráulico.
Apague el motor y compruebe que no hay fugas en las mangueras, los tubos o los acoplamientos hidráulicos. Compruebe de nuevo el nivel de fluido hidráulico y rellene si es necesario; consulte el Manual del operador.
Note: Repare cualquier fuga antes de utilizar la máquina.
Arranque la máquina y compruebe que el control funciona correctamente; al empujar el control hacia adelante, el apero combinado debe girar hacia el operador y, al tirar del control hacia atrás, el apero combinado debe girar en dirección contraria del operador.
Note: Si estas operaciones se realizan al revés, asegúrese de que las conexiones hidráulicas se han hecho según lo descrito en estas instrucciones.
Calibre la altura de parada del apero combinado y asegúrese de que esté nivelado; consulte el Manual del operador.

|
Longitud |
91.5 cm (36”) |
|
Anchura |
172.7 cm (68”) |
|
Altura |
51.7 cm (21”) |
|
Peso neto |
213.2 kg (470 lb) |
Está disponible una selección de aperos y accesorios homologados por Toro que se pueden utilizar con la máquina a fin de potenciar y aumentar sus prestaciones. Póngase en contacto con su Servicio Técnico Autorizado o con su distribuidor autorizado Toro, o visite www.Toro.com para obtener una lista de todos los aperos y accesorios homologados.
Para asegurar un rendimiento óptimo y mantener la certificación de seguridad de la máquina, utilice solamente piezas y accesorios genuinos Toro. Las piezas de recambio y accesorios de otros fabricantes podrían ser peligrosos, y su uso podría invalidar la garantía del producto.
Mueva el control de inclinación del apero de montaje intermedio hacia adelante para rotar hacia atrás el ángulo de penetración de las púas.


Mueva el control de inclinación del apero de montaje intermedio hacia atrás para rotar hacia adelante el ángulo de penetración de las púas.


Eleve completamente el soporte del apero combinado; consulte el Manual del operador de la máquina.
Gire el soporte del apero combinado hacia atrás hasta que pueda acceder al pasador y al orificio de 13 mm (½") de la placa de selección de ángulo; consulte Inclinación hacia atrás del apero de montaje intermedio.

Retire el pasador de horquilla y el pasador que sujetan el brazo del apero combinado a la placa de selección de ángulo (Figura 14).

Repita el paso 3 en el otro lado de la máquina.
El brazo del apero combinado gira libremente cuando se retiran los pasadores; si las manos o los dedos se encuentran entre el brazo del apero combinado y la placa de selección de ángulo, podrían quedarse atrapados y sufrir lesiones.
Mantenga las manos y los dedos alejados de la zona situada detrás de la placa de selección de ángulo mientras gira el apero combinado.
Inmovilice el brazo del apero combinado antes de retirar el segundo pasador.
Gire el brazo del apero combinado para seleccionar un juego de púas (Figura 15).

Alinee el orificio del brazo del apero combinado con el orificio de la placa de selección de ángulo (Figura 16).

Sujete el brazo del apero combinado a la placa de selección de ángulo con el pasador y el pasador de horquilla.
Repita el paso 7 en el otro lado de la máquina.
Ajuste la inclinación del soporte del apero combinado según sea necesario (Figura 17).

Utilice los pasadores de tope y el tope del apero de montaje intermedio para limitar el recorrido hacia arriba y hacia abajo del apero combinado durante el transporte de la máquina y durante el mantenimiento del apero combinado; consulte el Manual del operador de su máquina.
Las posiciones de la hoja niveladora y las hojas laterales son ajustables según las preferencias del operador y para compensar el desgaste.

La hoja niveladora tiene 3 posiciones de altura: retire los 4 pernos de cuello cuadrado y las contratuercas que sujetan la hoja niveladora y ajústela hacia arriba o hacia abajo Figura 19.

La altura y el ángulo de las hojas laterales son ajustables; afloje las contratuercas que sujetan la hoja lateral al apero combinado; repita esto en el otro lado Figura 20.
