Note: Les côtés gauche et droit de la machine sont déterminés d'après la position d'utilisation normale.
Note: Les procédures de montage de ce kit exigent de travailler sous la machine.
![]() |
Des autocollants de sécurité et des instructions bien visibles par l'opérateur sont placés près de tous les endroits potentiellement dangereux. Remplacez tout autocollant endommagé ou manquant. |


Si vous laissez la clé dans le commutateur d'allumage, quelqu'un pourrait mettre le moteur en marche accidentellement et vous blesser gravement, ainsi que toute personne à proximité.
Avant tout entretien, retirez la clé de contact du commutateur d'allumage.
Important: Obturez les flexibles hydrauliques, les tubes ou les orifices des composants pour éviter toute contamination du système.
Garez la machine sur une surface plane et horizontale ou conduisez-la jusqu'à un dispositif de levage.
Serrez le frein de stationnement.
Coupez le moteur et enlevez la clé.
Attendez l'arrêt complet de toutes les pièces mobiles et laissez refroidir le moteur.
Actionnez les commandes hydrauliques en avant et en arrière pour évacuer la pression hydraulique; voir le Manuel de l'utilisateur.
Retirez l'outil polyvalent de la palette et placez-le sous la machine, en dirigeant la niveleuse vers l'arrière de la machine.
Pièces nécessaires pour cette opération:
| Outil polyvalent | 1 |
| Biellette de levage | 2 |
| Contre-écrou (½ po) | 4 |
| Rondelle (½ po) | 2 |
| Boulon de carrosserie (½ x 2½ po) | 4 |
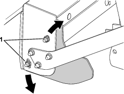
Installez, mais ne serrez pas, la partie inférieure d'une biellette de levage sur le cadre à l'aide d'un boulon de carrosserie (½ x 2½ po), d'une rondelle de butée et d'un contre-écrou (Figure 1).

Tournez la biellette de levage vers le haut et alignez-la sur le support du bras de levage, puis faites tourner le côté tige de manière à placer le trou en face du trou dans le support du bras de levage.

Fixez le côté tige au support du bras de levage à l'aide du boulon de carrosserie et du contre-écrou, et serrez le contre-écrou à un couple de 112 à 136 N⋅m (83 à 101 pi-lb).
Serrez les contre-écrous qui fixent les biellettes à l'outil polyvalent à un couple de 112 à 136 N⋅m (83 à 101 pi-lb).
Serrez les écrous de blocage qui fixent le côté tige à la biellette de levage à un couple de 91 à 113 N⋅m (67 à 83 pi-lb).
Répétez les opérations 1 à 6 de l'autre côté de la machine.
Pièces nécessaires pour cette opération:
| Bras de poussée | 2 |
| Plaque de serrage | 2 |
| Boulon de carrosserie (⅜ x 1¾ po) | 6 |
| Contre-écrou (⅜ po) | 6 |
| Boulon de carrosserie (½ x 2½ po) | 2 |
| Rondelle de butée | 2 |
| Contre-écrou (½ po) | 2 |
Installez, mais ne serrez pas, un bras de poussée sur l'outil polyvalent à l'aide de plaques de serrage et de boulons de carrosserie (⅜ x 1¾ po), comme montré à la Figure 3.
Serrez les contre-écrous qui fixent les bras de poussée à un couple de 46 à 54 N⋅m (34 à 40 pi-lb).

Tournez l'arbre de poussée vers le haut et placez la douille dans l'alignement de la patte de montage parallèle sur le dessous du cadre.

Fixez l'extrémité du bras de poussée à la patte de montage sur le dessous du cadre à l'aide du boulon de carrosserie, de la rondelle de butée et du contre-écrou, et serrez le contre-écrou à un couple de 112 à 136 N⋅m (83 à 101 pi-lb).
Répétez cette procédure pour le bras de poussée de l'autre côté de la machine.
Pièces nécessaires pour cette opération:
| Boulon de carrosserie (½ x 2½ po) | 1 |
| Rondelle de butée | 1 |
| Contre-écrou (½ po) | 1 |
Tournez la tige de guidage vers le haut et placez la douille dans l'alignement de la patte de montage sur le dessous du cadre.

Fixez l'extrémité de la tige de guidage à la patte de montage perpendiculaire sur le dessous du cadre à l'aide du boulon de carrosserie, de la rondelle de butée et du contre-écrou, et serrez le contre-écrou à un couple de 112 à 136 N⋅m (83 à 101 pi-lb).
Pièces nécessaires pour cette opération:
| Bague en caoutchouc | 2 |
| Raccord à orifice droit | 2 |
Insérez les bagues en caoutchouc dans les trous sur le côté droit du support du pivot de levage.
Acheminez les flexibles hydrauliques du vérin de l'outil polyvalent aux commandes en passant par les bagues.
Note: Faites passer les flexibles hydrauliques à l'écart des pièces coupantes, chaudes ou mobiles; assurez-vous que les flexibles ne s'enroulent pas les uns autour des autres.

Déposez le capot; voir le manuel de l'utilisateur de la machine.
Retirez un obturateur hydraulique à l'avant du collecteur du distributeur de commande.
Note: Lorsque vous retirez l'obturateur, du liquide hydraulique peut s'échapper du collecteur; placez un bac de vidange dessous pour recueillir le liquide qui s'échappe.
Montez un raccord à orifice droit à la place de l'obturateur; répétez cette procédure pour l'autre obturateur.

Serrez le raccord à orifice droit à un couple de 81,3 à 89,5 N·m (60 à 66 pi-lb).
Retirez l'obturateur du raccord à orifice droit supérieur et fixez le flexible entre le bas du vérin de l'outil polyvalent et le raccord supérieur.
Retirez l'obturateur du raccord à orifice droit inférieur et fixez le flexible entre le haut du vérin de l'outil polyvalent et le raccord inférieur.
Note: Si vous constatez ou sentez que les flexibles sont vrillés, desserrez les raccords, attendez que les flexibles reprennent une position neutre, puis resserrez les raccords.

Serrez les raccords droits à un couple de 40,6 à 44,7 N·m (30 à 33 pi-lb).
Pièces nécessaires pour cette opération:
| Poignée de commande | 1 |
| Écrou hexagonal (M10) | 1 |
Les fuites de liquide hydraulique sous pression peuvent transpercer la peau et causer des blessures graves.
Consultez immédiatement un médecin si du liquide est injecté sous la peau. Toute injection de liquide hydraulique sous la peau doit être éliminée dans les quelques heures qui suivent par une intervention chirurgicale réalisée par un médecin.
Vérifiez l'état de tous les flexibles et conduits hydrauliques, ainsi que le serrage de tous les raccords et branchements avant de mettre le système hydraulique sous pression.
N'approchez pas les mains ni aucune autre partie du corps des fuites en trou d'épingle ou des gicleurs d'où sort du liquide hydraulique sous haute pression.
Utilisez un morceau de papier ou de carton pour détecter les fuites.
Dépressurisez avec précaution le système hydraulique avant toute intervention sur le système.

Montez la poignée sur le collecteur du distributeur de commande à l'aide de l'écrou hexagonal (M10), comme montré à la Figure 9.
Vérifiez que tous les raccords et tous les raccordements hydrauliques sont bien fixés et serrés au couple correct.
Assurez-vous que les protections des flexibles recouvrent les deux extrémités des flexibles afin qu'aucun élément des flexibles ne soient visibles par l'utilisateur.
Retirez la palette de l'outil polyvalent.
Posez le capot; voir le Manuel de l'utilisateur.
Assurez-vous que les vannes de dérivation de la pompe hydraulique sont en position de marche; voir le Manuel de l'utilisateur.
Contrôlez le niveau de liquide hydraulique et faites l'appoint au besoin; voir le Manuel de l'utilisateur de la machine.
Démarrez le moteur et attendez que le système hydraulique soit sous pression.
Coupez le moteur et vérifiez l'étanchéité des tubes, flexibles et raccords hydrauliques. Contrôlez à nouveau le niveau de liquide hydraulique et faites l'appoint au besoin; voir le Manuel de l'utilisateur.
Note: Réparez toutes les fuites avant d'utiliser la machine.
Démarrez la machine et vérifiez que la commande fonctionne correctement; lorsque vous poussez la commande en avant, l'outil polyvalent devrait pivoter vers l'utilisateur, et si vous la tirer en arrière, l'outil polyvalent devrait pivoter dans la direction opposée à l'utilisateur.
Note: Si cette opération est inversée, vérifiez que les raccordements hydrauliques sont installés comme décrit dans ces instructions.
Étalonnez la hauteur de butée de l'outil polyvalent et vérifiez qu'il est horizontal; voir le Manuel de l'utilisateur.

|
Longueur |
91,5 cm (36 po) |
|
Largeur |
172,7 cm (68 po) |
|
Hauteur |
51,7 cm (21 po) |
|
Poids net |
213 kg (470 lb) |
Une sélection d'outils et accessoires agréés par Toro est disponible pour augmenter et améliorer les capacités de la machine. Pour obtenir la liste de tous les accessoires et outils agréés, contactez votre dépositaire-réparateur ou votre distributeur Toro agréé, ou rendez-vous sur www.Toro.com.
Pour garantir un rendement optimal et conserver la certification de sécurité de la machine, utilisez uniquement des pièces de rechange et accessoires Toro d'origine. Les pièces de rechange et accessoires d'autres constructeurs peuvent être dangereux et leur utilisation risque d'annuler la garantie de la machine.
Déplacez vers l'avant la commande de basculement de l'accessoire ventral pour faire pivoter l'angle d'engagement des louchets vers l'arrière.


Déplacez vers l'arrière la commande de basculement de l'accessoire ventral pour faire pivoter l'angle d'engagement des louchets vers l'avant.


Levez complètement le porte-outil polyvalent; voir le Manuel de l'utilisateur de la machine.
Tournez le porte-outil polyvalent en arrière jusqu'à ce qu'il soit possible d'accéder à l'axe de chape et au trou de 13 mm (½ po) dans la plaque de sélection d'angle; voir Basculement arrière de l'accessoire ventral.

Retirez le goupille fendue et l'axe de chape qui fixent le bras de l'outil polyvalent à la plaque de sélection d'angle (Figure 14).

Répétez l’opération 3 de l'autre côté de la machine.
Le bras de l'outil polyvalent pivote librement quand les axes de chape sont retirés; les mains et les doigts peuvent être pincés et blessés s'ils sont pris entre le bras de l'outil polyvalent et la plaque de sélection d'angle.
N'approchez pas les mains ou les doigts de la zone située derrière la plaque de sélection d'angle pendant que vous faites tourner l'outil polyvalent.
Bloquez le bras de l'outil polyvalent en position avant de retirer le second axe de chape.
Faites tourner le bras de l'outil polyvalent et choisissez un jeu de dents (Figure 15).

Alignez le trou du bras de l'outil polyvalent et le trou de la plaque de sélection d'angle (Figure 16).

Fixez le bras de l'outil polyvalent à la plaque de sélection d'angle à l'aide de l'axe de chape et de la goupille fendue.
Répétez l’opération 7 de l'autre côté de la machine.
Réglez le basculement du porte-outil polyvalent selon vos besoins (Figure 17).

Utilisez les goupilles d'arrêt et la butée de l'accessoire ventral pour limiter la distance vers le haut ou le bas de positionnement de l'outil polyvalent lors du transport de la machine et de l'entretien de l'outil polyvalent; voir le Manuel de l'utilisateur de la machine.
La position de la lame niveleuse et de la lame en caisson peut être réglée pour tenir compte de l'usure et des préférences de l'utilisateur.

La lame niveleuse peut se régler à 3 hauteurs différentes; retirez les 4 boulons de carrosserie et contre-écrous qui la fixent en place et montez-la ou baissez-la Figure 19.

La hauteur et l'angle des lames en caisson sont réglables; desserrez les contre-écrous qui la fixent à l'outil polyvalent; répétez cette opération de l'autre côté Figure 20.
