| Maintenance Service Interval | Maintenance Procedure |
|---|---|
| After each use |
|
Without the grass deflector mounted in place, you and others are exposed to blade contact and thrown debris. Contact with rotating mower blade(s) and thrown debris will cause injury or death.
Never remove the grass guard from the mower because the grass guard routes material down toward the turf. If the grass guard is ever damaged, replace it immediately.
Never put your hands or feet under the mower.
Never try to clear the discharge area or mower blades unless you engage the parking brake, disengage the power take off (PTO) lever, shutoff the engine, remove the ignition key, and wait for all motion to stop. Also pull the wire off the spark plug(s).
Ensure that the mower has the rear grass guard to disperse clippings rearward and down toward the turf while in rear discharge mode.
To mulch grass clippings, install the baffles on the mower deck as instructed in the following procedures.
Note: Recycler blades (sold separately) are required to install this kit; refer to the Parts Catalog for your machine.
Note: Determine the left and right sides of the machine from the normal operating position.
Park the machine on a level surface.
Disengage the drives and the power take-off.
Shut off the machine and remove the key.
Wait for all moving parts to stop.
Electric models only: turn the battery-disconnect switch to the OFF position.
Thoroughly clean the mower deck. Remove all debris to ensure that the baffles fit properly against the mower deck.
Repair all bent or damaged areas of the mower deck and replace any missing or damaged parts.
Remove the spark-plug wire from the spark plug.
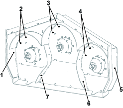
Remove the 2 flange-head screws that secure the tensioner cover to the left belt cover and remove the tensioner cover (Figure 5).

Remove the bolt that secures the belt cover flanges as shown in Figure 6.

Remove the 2 carriage bolts and 2 locknuts that secure the left side CE cover to the left belt cover (Figure 7).

Remove the 3 bolts that secure the left belt cover to the deck and remove the cover (Figure 8).

The blades are sharp. Contact with a sharp blade can cause serious personal injury.
Wear gloves or wrap the sharp edges of the blade with a rag.
Lift the machine so that you can access the bottom of the mower deck.
Remove the existing blades from the spindles; refer to the Operator’s Manual for your machine.
Using a drill without proper eye protection may allow debris to enter the eye, causing injury.
When drilling, always wear eye protection.
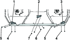
Electric models only: drill the 10 pilot holes in the deck to a diameter of 9.8 mm (0.3875 inch) as shown below.

Gas models only: drill the 9 pilot holes in the deck to a diameter of 9.8 mm (0.3875 inch) as shown below.

Drill the 2 pilot holes to a diameter of 8.23 mm (0.325 inch) as shown below.

Parts needed for this procedure:
| Left baffle support | 1 |
| Center/right baffle support | 2 |
| Hex-head flange bolt (5/16 x 3/4 inch) | 2 |
| Flange nut (5/16 inch) | 6 |
| Carriage bolt (5/16 x 1-1/4 inches) | 4 |
Remove the 4 outboard carriage bolts (5/16 x 7/8 inch) and 4 outboard locknuts (5/16 inch) that secure the deflector bracket to the mower deck.

Secure the left and right baffle supports to the deflector bracket and mower deck using 4 carriage bolts (5/16 x 1-1/4 inches) and 4 flange nuts (5/16 inch) as shown in Figure 13.
Secure the center baffle support to the mower deck using 2 hex-head flange bolts (5/16 x 3/4 inch) and 2 flange nuts (5/16 inch) as shown in Figure 13.

Parts needed for this procedure:
| Left baffle | 1 |
| Center baffle | 1 |
| Right baffle | 1 |
| Baffle plate adapter | 1 |
| Carriage bolt (3/8 x 1 inch) | 10 |
| Locknut (3/8 inch) | 10 |
Loosely install the baffles to align the baffles with all the holes in the mower deck (Figure 14).
Position the right baffle into the mower deck.
Loosely secure the right baffle to the right discharge plate using 1 carriage bolt (3/8 x 1 inch) and 1 locknut (3/8 inch) as shown in Figure 14.
Loosely secure the right baffle to the baffle plate adapter using 1 carriage bolt (3/8 x 1 inch) and 1 locknut (3/8 inch) as shown in Figure 14.
Loosely secure the baffle plate adapter to the right mower deck divider using 1 carriage bolt (3/8 x 1 inch) and 1 locknut (3/8 inch) as shown in Figure 14.
Position the left baffle in the mower deck.
Loosely secure the left baffle to the left discharge plate using 1 carriage bolt (3/8 x 1 inch) and 1 locknut (3/8 inch) as shown in Figure 14.
Loosely secure the left baffle to the left mower deck divider and left baffle support using 2 carriage bolts (3/8 x 1 inch) and 2 locknuts (3/8 inch) as shown in Figure 14.
Position the center baffle into the mower deck.
Loosely secure the center baffle to the right and left mower deck dividers and center baffle support using 3 carriage bolts (3/8 x 1 inch) and 3 locknuts (3/8 inch) as shown in Figure 14.
Tighten all the locknuts.

Parts needed for this procedure:
| Left baffle | 1 |
| Center baffle | 1 |
| Right baffle | 1 |
| Carriage bolt (3/8 x 1 inch) | 9 |
| Locknut (3/8 inch) | 9 |
Loosely install the baffles to align the baffles with all the holes in the mower deck (Figure 15).
Position the right baffle into the mower deck.
Loosely secure the right baffle to the right discharge plate using 1 carriage bolt (3/8 x 1 inch) and 1 locknut (3/8 inch) as shown in Figure 15.
Loosely secure the right baffle to the baffle plate adapter using 1 carriage bolt (3/8 x 1 inch) and 1 locknut (3/8 inch) as shown in Figure 15.
Loosely secure the right baffle to the right mower deck divider and right baffle support using 2 carriage bolts (3/8 x 1 inch) and 2 locknuts (3/8 inch) as shown in Figure 15.
Position the left baffle in the mower deck.
Loosely secure the left baffle to the left discharge plate using 1 carriage bolt (3/8 x 1 inch) and 1 locknut (3/8 inch) as shown in Figure 15.
Loosely secure the left baffle to the left mower deck divider and left baffle support using 2 carriage bolts (3/8 x 1 inch) and 2 locknuts (3/8 inch) as shown in Figure 15.
Position the center baffle into the mower deck.
Loosely secure the center baffle to the right and left mower deck dividers and center baffle support using 3 carriage bolts (3/8 x 1 inch) and 3 locknuts (3/8 inch) as shown in Figure 15.
Tighten all the locknuts.

Parts needed for this procedure:
| Kicker | 3 |
| Carriage bolt (3/8 x 1 inch) | 6 |
| Locknut (3/8 inch) | 6 |
Secure the 3 kickers to the mower deck using 6 carriage bolts (3/8 x 1 inch) and 6 locknuts (3/8 inch) as shown in Figure 16.

Parts needed for this procedure:
| Recycler blade (sold separately) | 3 |
The blades are sharp. Contact with a sharp blade can cause serious personal injury.
Wear gloves or wrap the sharp edges of the blade with a rag.
Refer to the Operator’s Manual for instructions on installing the blades.
Assemble the left belt cover to the deck with the 3 bolts that were previously removed.

Assemble the left side CE cover to the left belt cover with the 2 carriage bolts and 2 locknuts that were previously removed.

Secure the belt cover flanges with the flange-head screw that was previously removed.

Assemble the tensioner cover to the left belt cover with the 2 flange-head screws that were previously removed.

Connect the spark-plug wire to the spark plug.
Parts needed for this procedure:
| Flange-head bolt (3/8 x 1 inch) | 8 |
Prepare the mower; refer to Preparing the Mower.
Gas models only, remove the guard and remove the left belt cover; refer to Opening the Engine Guard and Removing the Guard Extension (Gas Models Only) and Removing the Left Belt Cover (Gas Models Only).
Remove the recycling blades; refer to the Operator’s Manual for your machine.
Reverse the steps in Installing the Kickers and install new flange-head bolts (3/8 x 1 inch) and previously removed locknuts (3/8 inch) where you removed the kickers.
Reverse the steps in Installing the Baffles (Gas Models Only) or Installing the Baffles (Electric Models Only) and install new flange-head bolts (3/8 x 1 inch) and previously removed locknuts (3/8 inch) where you removed the baffles.
Reverse the steps in Installing the Baffle Supports and install the previously removed carriage bolts (5/16 x 7/8 inch) and locknuts (5/16 inch) where you removed the baffle supports.
Install the non-recycling blades; refer to the Operator’s Manual for your machine.
Gas models only: install the belt cover and guard; refer to Installing the Left Belt Cover (Gas Models Only) and Installing the Guard Extension and Closing the Engine Guard (Gas Models Only).
Remove approximately 2.5 cm (1 inch) or no more than 1/3 of the grass blade when cutting. In exceptionally lush and dense grass, you may need to raise the height-of-cut setting or convert the mower deck for rear discharge operations.
Air is required to cut and recut grass clippings in the mower housing, so do not set the height-of-cut too low or fully surround the housing by uncut grass. Always try to keep the back up of the mower deck free from uncut grass, allowing air to be drawn into the housing. When making an initial cut through the center of an uncut area, operate the machine slower and back the machine if the mower starts to clog.
Grass grows at different rates at different times of the year. To maintain the same cutting height, mow more often in early spring. As the grass growth rate slows in midsummer, mow less frequently. If you cannot mow for an extended period, first mow at a high cutting height, then mow again 2 days later at a lower height setting.
A sharp blade cuts cleanly without tearing or shredding the grass. A dull blade tears and shreds the grass. Tearing and shredding causes the grass to turn brown at the edges, which impairs growth and increases susceptibility to disease.
| Maintenance Service Interval | Maintenance Procedure |
|---|---|
| After each use |
|
To ensure optimum performance, clean the underside of the mower deck after each use.
Important: Do not use brackish or reclaimed water to clean the machine.
Note: If residue grass builds up in the mower deck, cutting performance decreases.