| Vedlikeholdsintervall | Vedlikeholdsprosedyre |
|---|---|
| Etter hver bruk |
|
Hvis ikke gressavlederen sitter på plass, vil du selv eller andre risikere å komme i kontakt med knivbladet eller gjenstander som blir slengt opp i luften. Kontakt med gressklipperknivblad som roterer og gjenstander som slynges opp i luften, kan føre til at noen blir alvorlig skadet eller drept.
Fjern aldri gressvernet fra gressklipperen fordi gressvernet leder materiale ned mot bakken. Hvis gressvernet blir skadet, må det skiftes ut omgående.
Hold hender og føtter borte fra undersiden av gressklipperen.
Du må aldri prøve å rengjøre utslippsområdet eller knivbladene på klippeenheten med mindre du aktiverer parkeringsbremsen, deaktiverer kraftuttaket (PTO), slår av motoren, fjerner tenningsnøkkelen og venter på at all bevegelse stopper. Trekk også ledningen av tennpluggen(e).
Påse at gressklipperen har det bakre gressvernet som sprer det klipte gresset bakover og ned mot bakken når den er i bakutslippsmodus.
For å kverne gresset må du installere skjermene på klippeenheten som beskrevet i disse prosedyrene.
Note: Resirkuleringskniver (selges separat) kreves for å montere dette settet. Se delekatalogen for maskinen din.
Note: Fastslå hva som er høyre og venstre side på maskinen, ved å stå i normal arbeidsstilling.
Parker maskinen på en jevn flate.
Koble fra drivverkene og kraftuttaket.
Slå av maskinen og ta ut nøkkelen.
Vent til alle bevegelige deler har stanset.
Kun for elektriske modeller:Vri batterifrakoblingsbryteren til AV-posisjonen.
Rengjør klippeenheten grundig. Fjern alt rusk for å sikre at skjermene sitter tett inntil klippeenheten.
Reparer alle bøyde eller skadde områder av klippeenheten og erstatt eventuelle manglende eller skadde deler.
Koble tennpluggledningen fra tennpluggen.
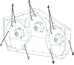
Fjern de to flenshodeskruene som fester remstrammerdekslet til venstre remdeksel, og fjern remstrammerdekslet (Figur 5).

Fjern bolten som fester remdekslets flenser som vist i Figur 6.

Fjern de to låseskruene og to låsemutterne som fester venstre CE-deksel til venstre remdeksel (Figur 7).

Fjern de tre boltene som fester det venstre remdekslet til maskinen, og fjern dekslet (Figur 8).

Knivene er skarpe. Hvis du kommer i kontakt med et skarpt blad, kan du bli alvorlig skadet.
Bruk hansker, eller legg en fille rundt de skarpe kantene på kniven.
Løft maskinen slik at du får tilgang til bunnen av klippeenheten.
Fjern de eksisterende knivene fra spindlene. Se brukerhåndboken til maskinen.
Bruk av drill uten egnede vernebriller kan føre til at det kommer rusk inn i øynene og forårsake skade.
Bruk alltid vernebriller når du borer.
Kun for elektriske modeller: Bor de ti pilothullene i klippeenheten med en diameter på 9,8 mm som vist nedenfor.

Kun for gassmodeller: Bor de ni pilothullene i klippeenheten med en diameter på 9,8 mm som vist nedenfor.

Bor de to pilothullene med en diameter på 8,23 mm som vist nedenfor.

Deler som er nødvendige for dette trinnet:
| Venstre skjermstøtte | 1 |
| Midtre/høyre skjermstøtte | 2 |
| Flensbolt med sekskanthode (5/16 x ¾ tomme) | 2 |
| Flensmutter (5/16 tomme) | 6 |
| Låsebolt (5/16 x 1¼ tomme) | 4 |
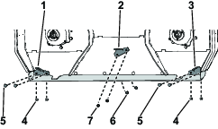
Fjern de to ytre låseboltene (5/16 x ⅞ tomme) og de fire ytre låsemutterne (5/16 tomme) som fester avlederbraketten til klippeenheten.

Fest de venstre og høyre skjermstøttene til avlederbraketten og klippeenheten med fire låsebolter (5/16 x 1¼ tomme) og fire flensmuttere (5/16 tomme) som vist i Figur 13.
Fest den midtre skjermstøtten til klippeenheten med to flensbolter med sekskanthode (5/16 x ¾ tomme) og to flensmuttere (5/16 tomme), som vist i Figur 13.

Deler som er nødvendige for dette trinnet:
| Venstre skjerm | 1 |
| Midtre skjerm | 1 |
| Høyre skjerm | 1 |
| Skjermplateadapterne | 1 |
| Låsebolt (⅜ x 1 tomme) | 10 |
| Låsemutter (⅜ tomme) | 10 |
Monter skjermene løst for å rette dem inn med alle hullene i klippeenheten (Figur 14).
Plasser den høyre skjermen på klippeenheten.
Fest løst den høyre skjermstøtten til den høyre utslippsplaten med én låsebolt (⅜ x 1 tomme) og én låsemutter (3/8 tomme), som vist i Figur 14.
Fest høyre skjerm til skjermplateadapteren løst med én låsebolt (⅜ x 1 tomme) og én låsemutter (⅜ tomme), som vist i Figur 14.
Fest skjermplateadapteren til høyre klippeenhetfordeler løst med én låsebolt (⅜ x 1 tomme) og én låsemutter (⅜ tomme), som vist i Figur 14.
Plasser den venstre skjermen på klippeenheten.
Fest løst den venstre skjermen til den venstre utslippsplaten med én låsebolt (⅜ x 1 tomme) og én låsemutter (⅜ tomme), som vist i Figur 14.
Fest løst den venstre skjermen til den venstre skilleplaten for klippeenheten og den venstre skjermstøtten med to låsebolter (⅜ x 1 tomme) og to låsemuttere (⅜ tomme), som vist i Figur 14.
Plasser den midtre skjermen på klippeenheten.
Fest løst den midtre skjermen til de høyre og venstre skilleplatene for klippeenheten og den midtre skjermstøtten med tre låsebolter (⅜ x 1 tomme) og tre låsemuttere (⅜ tomme), som vist i Figur 14.
Stram til alle låsemutterne.

Deler som er nødvendige for dette trinnet:
| Venstre skjerm | 1 |
| Midtre skjerm | 1 |
| Høyre skjerm | 1 |
| Låsebolt (⅜ x 1 tomme) | 9 |
| Låsemutter (⅜ tomme) | 9 |
Monter skjermene løst for å rette dem inn med alle hullene i klippeenheten (Figur 15).
Plasser den høyre skjermen på klippeenheten.
Fest løst den høyre skjermstøtten til den høyre utslippsplaten med én låsebolt (⅜ x 1 tomme) og én låsemutter (⅜ tomme), som vist i Figur 15.
Fest høyre skjerm til skjermplateadapteren løst med én låsebolt (⅜ x 1 tomme) og én låsemutter (⅜ tomme), som vist i Figur 15.
Fest løst den høyre skjermstøtten til skilleplaten for klippeenheten og høyre skjermstøtte med to låsebolter (⅜ x 1 tomme) og to låsemuttere (⅜ tomme), som vist i Figur 15.
Plasser den venstre skjermen på klippeenheten.
Fest løst den venstre skjermen til den venstre utslippsplaten med én låsebolt (⅜ x 1 tomme) og én låsemutter (⅜ tomme), som vist i Figur 15.
Fest løst den venstre skjermen til den venstre skilleplaten for klippeenheten og den venstre skjermstøtten med to låsebolter (⅜ x 1 tomme) og to låsemuttere (⅜ tomme), som vist i Figur 15.
Plasser den midtre skjermen på klippeenheten.
Fest løst den midtre skjermen til de høyre og venstre skilleplatene for klippeenheten og den midtre skjermstøtten med tre låsebolter (⅜ x 1 tomme) og tre låsemuttere (⅜ tomme), som vist i Figur 15.
Stram til alle låsemutterne.

Deler som er nødvendige for dette trinnet:
| Gresskaster | 3 |
| Låsebolt (⅜ x 1 tomme) | 6 |
| Låsemutter (⅜ tomme) | 6 |
Fest de tre gresskasterne til klippeenheten med seks låsebolter (⅜ x 1 tomme) og seks låsemuttere (⅜ tomme) som vist i Figur 16.

Deler som er nødvendige for dette trinnet:
| Resirkuleringsknivblad (selges separat) | 3 |
Knivene er skarpe. Hvis du kommer i kontakt med et skarpt blad, kan du bli alvorlig skadet.
Bruk hansker, eller legg en fille rundt de skarpe kantene på kniven.
Se brukerhåndboken for instruksjoner om hvordan du monterer knivene.
Monter venstre remdeksel til klippeenheten med de tre boltene som tidligere ble fjernet.

Monter venstre CE-deksel til venstre remdeksel med de to låseboltene og to låsemutterne som tidligere ble fjernet.

Fest remdekselflensene med flenshodeskruen som tidligere ble fjernet.

Monter strammerdekslet til venstre remdeksel med de to flenshodeskruene som tidligere ble fjernet.

Koble tennpluggledningen til tennpluggen.
Deler som er nødvendige for dette trinnet:
| Flenshodebolt (⅜ x 1 tomme) | 8 |
Klargjør klippeenheten. Se Klargjøre gressklipperen.
Kun for gassmodeller: Fjern vernet og det venstre remdekslet. Se Åpne motorvernet og fjerne verneplateforlengelsen (kun for gassmodeller) og Fjerne venstre remdeksel (kun for gassmodeller).
Fjern resirkuleringsknivbladene. Se brukerhåndboken for maskinen.
Reverser trinnene i Montere gresskasterne og monter nye flensehodebolter (⅜ x 1 tomme) og låsemutterne (⅜ tomme) du fjernet tidligere, der du fjernet gresskasterne.
Reverser trinnene i Montere skjermene (kun for gassmodeller) eller Montere skjermene (kun for elektriske modeller), og monter nye flensehodebolter (⅜ x 1 tomme) og låsemutterne (⅜ tomme) du fjernet tidligere, der du fjernet skjermene.
Reverser trinnene i Montere skjermstøttene, og monter de tidligere fjernede låseboltene (5/16 x 7/8 tomme) og låsemutterne (5/16 tomme) der du fjernet skjermstøttene.
Monter knivbladene som ikke kan resirkuleres. Se brukerhåndboken for maskinen.
Kun for gassmodeller: Monter remdekslet og vernet, se Montere venstre remdeksel (kun for gassmodeller) og Montere verneplateforlengelsen og lukke motorvernet (kun for gassmodeller).
Klipp omtrent 2,5 cm eller ikke mer enn en tredjedel av gresstrået når du klipper. I svært frodig og tett gress kan det hende at du må heve klippehøyden eller skifte klippeenheten til bakutslipp.
Luft er nødvendig for å klippe og klippe restene på nytt i gressklipperhuset, så ikke still klippehøyden for lavt og la ikke huset bli helt omgitt av uklippet gress. Prøv alltid å holde den bakre delen av klippeenheten unna uklippet gress, slik at luften kan trekkes inn i gressklipperhuset. Når du foretar den innledende klippingen i midten av et uklippet område, må du kjøre maskinen saktere og rygge hvis klippeenheten blir tilstoppet.
Gress vokser med varierende hastighet til forskjellige tider på året. For å opprettholde samme klippehøyde, må du klippe gresset oftere tidlig på våren. Midt på sommeren vokser gresset saktere og man behøver ikke klippe det like ofte. Hvis du er ute av stand til å klippe plenen i en lengre periode, klipper du først med en høy klippehøyde. Vent i to dager, og klipp deretter på nytt med en lavere høyde.
En skarp kniv lager et jevnere kutt uten å rive eller trevle opp gresset. En sløv kniv river eller trevler opp gresset. Riving og trevling fører til at gresset blir brunt på tuppene. Dette går ut over veksten til gresset og gjør det mer utsatt for sykdommer.
| Vedlikeholdsintervall | Vedlikeholdsprosedyre |
|---|---|
| Etter hver bruk |
|
For å sørge for optimal ytelse rengjør du undersiden av klippeenheten etter hver bruk.
Important: Ikke bruk brakkvann eller gjenvunnet vann til å rengjøre maskinen.
Note: Hvis gressrester hoper seg opp i klippeenheten, reduseres klippeytelsen.