| Périodicité d'entretien | Procédure d'entretien |
|---|---|
| Après chaque utilisation |
|
Si le déflecteur d'herbe n'est pas en place, vous-même ou d'autres personnes pouvez être touchés par une lame ou la projection de débris. Le contact avec les lames en rotation et la projection de débris peuvent occasionner des blessures graves ou mortelles.
N'enlevez jamais le déflecteur d'herbe de la tondeuse, sa présence est nécessaire pour diriger l'herbe tondue sur la pelouse. Si le déflecteur d'herbe est endommagé, remplacez-le immédiatement.
Ne mettez jamais les mains ou les pieds sous l'unité de coupe.
Avant de dégager la goulotte d'éjection ou les lames, vous devez toujours serrer le frein de stationnement, désengager le levier de la prise de force (PDF), couper le moteur, enlever la clé de contact et attendre l'arrêt complet de tout mouvement. Vous devez également débrancher le fil des bougies.
La tondeuse doit être équipée du déflecteur d'herbe arrière qui permet de disperser les déchets de tonte à l'arrière et à la surface de la pelouse quand le mode éjection arrière est sélectionné.
Pour le mulching des déchets d'herbe, montez les déflecteurs sur le plateau de coupe comme expliqué dans les procédures suivantes.
Note: Les lames Recycler (vendues séparément) sont nécessaires pour installer ce kit ; voir le Catalogue de pièces de la machine.
Note: Les côtés gauche et droit de la machine sont déterminés d'après la position d'utilisation normale.
Garez la machine sur une surface plane et horizontale.
Débrayez toutes les commandes et la prise de force.
Coupez le moteur et enlevez la clé de contact.
Attendez l'arrêt complet de toutes les pièces mobiles.
Modèles électriques seulement : tournez le coupe-batterie en position HORS TENSION.
Nettoyez soigneusement le plateau de coupe. Enlevez tous les débris pour que les déflecteurs s'adaptent parfaitement sur le plateau de coupe.
Réparez toutes les parties faussées ou endommagées du plateau de coupe et remplacez les pièces manquantes ou endommagées.
Débranchez le fil de la bougie.
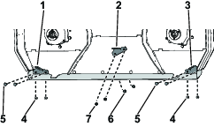
Retirez les 2 vis à embase qui fixent le couvercle du tendeur au protège-courroie gauche et déposez le couvercle (Figure 5).

Retirez le boulon qui fixe les brides du protège-courroie, comme montré à la Figure 6.

Retirez les 2 boulons de carrosserie et les 2 contre-écrous qui fixent le couvercle CE gauche au protège-courroie gauche (Figure 7).

Retirez les 2 boulons qui fixent le protège-courroie gauche au plateau de coupe, et déposez le protège-courroie (Figure 8).

Les lames du plateau de coupe sont coupantes. Le contact avec une lame tranchante peut causer des blessures graves.
Portez des gants ou enveloppez la lame d'un chiffon.
Soulevez la machine pour accéder au dessous du plateau de coupe.
Enlevez les lames existantes de leur axe ; voir le Manuel de l'utilisateur de la machine.
Des débris peuvent être projetés dans les yeux et causer des blessures en cas d'utilisation d'une perceuse sans protection oculaire adaptée.
Portez toujours une protection oculaire pour les opérations de perçage.
Modèles électriques seulement : percez 10 avant-trous dans le plateau de coupe avec un foret de 10 mm, comme montré ci-dessous.

Modèles à essence seulement : percez 9 avant-trous dans le plateau de coupe avec un foret de 10 mm, comme montré ci-dessous.

Percez 2 avant-trous avec un foret de 8 mm, comme montré ci-dessous.

Pièces nécessaires pour cette opération:
| Support de déflecteur gauche | 1 |
| Support de déflecteur central/droit | 2 |
| Boulon à embase à tête hexagonale (5/16" x ¾") | 2 |
| Écrou à embase (5/16") | 6 |
| Boulon de carrosserie (5/16" x 1¼") | 4 |
Retirez les 4 boulons de carrosserie extérieurs (5/16" x ⅞") et les 4 contre-écrous extérieurs (5/16") qui fixent le support du déflecteur sur le plateau de coupe.

Fixez les supports de déflecteur gauches et droits sur le grand support de déflecteur et le plateau de coupe à l'aide de 4 boulons de carrosserie (5/16" x 1¼") et de 4 contre-écrous à embase (5/16"), comme montré à la Figure 13.
Fixez le support de déflecteur central sur le plateau de coupe à l'aide de 2 boulons de carrosserie à tête hexagonale (5/16" x ¾") et de 2 écrous à embase (5/16"), comme montré à la Figure 13.

Pièces nécessaires pour cette opération:
| Déflecteur gauche | 1 |
| Déflecteur central | 1 |
| Déflecteur droit | 1 |
| Adaptateur plat de déflecteur | 1 |
| Boulon de carrosserie (⅜" x 1") | 10 |
| Contre-écrou (⅜") | 10 |
Fixez légèrement les déflecteurs en place afin de bien les aligner sur tous les trous du plateau de coupe (Figure 14).
Placez le déflecteur droit sur le plateau de coupe.
Fixez légèrement le déflecteur droit sur la plaque d'éjection droite à l'aide de 1 boulon de carrosserie (⅜" x 1") et 1 contre-écrou (⅜"), comme montré à la Figure 14.
Fixez légèrement le déflecteur droit sur l'adaptateur plat à l'aide de 1 boulon de carrosserie (⅜" x 1") et 1 contre-écrou (⅜"), comme montré à la Figure 14.
Fixez légèrement l'adaptateur plat sur le diviseur du plateau de coupe droit de 1 boulon de carrosserie (⅜" x 1") et 1 contre-écrou (⅜"), comme montré à la Figure 14.
Placez le déflecteur gauche sur le plateau de coupe.
Fixez légèrement le déflecteur gauche sur la plaque d'éjection gauche à l'aide de 1 boulon (⅜" x 1") et 1 contre-écrou (⅜"), comme montré à la Figure 14.
Fixez légèrement le déflecteur gauche sur le diviseur de plateau de coupe gauche et le support de déflecteur gauche à l'aide de 2 boulons de carrosserie (⅜" x 1") et de 2 contre-écrous (⅜"), comme montré à la Figure 14.
Placez le déflecteur central sur le plateau de coupe.
Fixez légèrement le déflecteur central sur le diviseur de plateau de coupe gauche et droit et le support de déflecteur central à l'aide de 3 boulons de carrosserie (⅜" x 1") et 3 contre-écrous (⅜"), comme montré à la Figure 14.
Serrez tous les contre-écrous.

Pièces nécessaires pour cette opération:
| Déflecteur gauche | 1 |
| Déflecteur central | 1 |
| Déflecteur droit | 1 |
| Boulon de carrosserie (⅜" x 1") | 9 |
| Contre-écrou (⅜") | 9 |
Fixez légèrement les déflecteurs en place afin de bien les aligner sur tous les trous du plateau de coupe (Figure 15).
Placez le déflecteur droit sur le plateau de coupe.
Fixez légèrement le déflecteur droit sur la plaque d'éjection droite à l'aide de 1 boulon de carrosserie (⅜" x 1") et 1 contre-écrou (⅜"), comme montré à la Figure 15.
Fixez légèrement le déflecteur droit sur l'adaptateur plat à l'aide de 1 boulon de carrosserie (⅜" x 1") et 1 contre-écrou (⅜"), comme montré à la Figure 15.
Fixez légèrement le déflecteur droit sur le diviseur du plateau de coupe droit et le support de déflecteur droit à l'aide de 2 boulons de carrosserie (⅜" x 1") et 2 contre-écrous (⅜"), comme montré à la Figure 15.
Placez le déflecteur gauche sur le plateau de coupe.
Fixez légèrement le déflecteur gauche sur la plaque d'éjection gauche à l'aide de 1 boulon (⅜" x 1") et 1 contre-écrou (⅜"), comme montré à la Figure 15.
Fixez légèrement le déflecteur gauche sur le diviseur de plateau de coupe gauche et le support de déflecteur gauche à l'aide de 2 boulons de carrosserie (⅜" x 1") et de 2 contre-écrous (⅜"), comme montré à la Figure 15.
Placez le déflecteur central sur le plateau de coupe.
Fixez légèrement le déflecteur central sur le diviseur de plateau de coupe gauche et droit et le support de déflecteur central à l'aide de 3 boulons de carrosserie (⅜" x 1") et 3 contre-écrous (⅜"), comme montré à la Figure 15.
Serrez tous les contre-écrous.

Pièces nécessaires pour cette opération:
| Kicker | 3 |
| Boulon de carrosserie (⅜" x 1") | 6 |
| Contre-écrou (⅜") | 6 |
Fixez les 3 kickers sur le plateau de coupe à l'aide de 6 boulons de carrosserie (⅜" x 1") et de 6 contre-écrous (⅜"), comme montré à la Figure 16.

Pièces nécessaires pour cette opération:
| Lame Recycler(vendue séparément) | 3 |
Les lames du plateau de coupe sont coupantes. Le contact avec une lame tranchante peut causer des blessures graves.
Portez des gants ou enveloppez la lame d'un chiffon.
Voir comment poser les lames dans le Manuel de l'utilisateur.
Fixez le protège-courroie gauche au plateau à l'aide des 3 boulons retirés précédemment.

Fixez le couvercle CE gauche au protège-courroie gauche à l'aide des 2 boulons de carrosserie et des 2 contre-écrous retirés précédemment.

Fixez les brides du protège-courroie à l'aide de la vis à embase retirée précédemment.

Fixez le couvercle du tendeur au protège-courroie gauche à l'aide des 2 vis à embase retirées précédemment.

Branchez le fil à la bougie.
Pièces nécessaires pour cette opération:
| Boulon à embase (⅜" x 1") | 8 |
Préparez la tondeuse ; voir Préparation de la tondeuse.
Modèles à essence seulement, déposez la protection et déposez le protège-courroie gauche ; voir la Ouverture de la protection du moteur et dépose de l'extension de la protection(modèles à essence seulement) et la Dépose du protège-courroie gauche(modèles à essence seulement).
Déposez les lames de recyclage ; voir le Manuel de l'utilisateur de la machine.
Inversez les opérations de la section Montage des kickers et installez les nouveaux boulons à embase (⅜" x 1") et les contre-écrous (⅜") retirés précédemment à l'emplacement qu'occupaient les kickers.
Inversez les opérations de la section Installation des déflecteurs (modèles à essence seulement) ou Installation des déflecteurs (modèles électriques seulement), et installez les nouveaux boulons à embase (⅜" x 1") et les contre-écrous (⅜") retirés précédemment à l'emplacement qu'occupaient les déflecteurs.
Inversez les opérations de la section Pose des supports de déflecteur et installez les boulons de carrosserie (5/16" x ⅞") et les contre-écrous (5/16") retirés précédemment aux emplacements qu'occupaient les supports de déflecteurs.
Montez les lames ordinaires ; voir le Manuel de l'utilisateur de la machine.
Modèles à essence seulement : posez le protège-courroie ; voir Pose du protège-courroie gauche(modèles à essence seulement) et Montage de l'extension de la protection et fermeture de la protection du moteur(modèles à essence seulement).
Ne coupez pas plus de 2,5 cm environ ou un tiers de la hauteur de l'herbe. Si l'herbe est extrêmement drue et fournie, il peut être préférable d'augmenter la hauteur de coupe ou de faire passer le plateau de coupe au mode d'éjection arrière.
L'air doit pouvoir circuler pour bien couper et recouper l'herbe dans le carter du plateau de coupe. Pour cette raison, ne sélectionnez pas une hauteur de coupe trop basse et évitez d'entourer complètement le carter d'herbe haute. Efforcez-vous de toujours garder l'arrière du plateau de coupe à l'extérieur de la zone non encore tondue pour permettre à l'air de circuler librement dans le carter. Lorsque vous commencez à tondre au centre d'une surface encore intacte, avancez plus lentement et reculez si la tondeuse commence à se boucher.
L'herbe pousse à une vitesse différente selon les saisons. Pour conserver une hauteur de coupe uniforme, tondez plus souvent au début du printemps. Réduisez la fréquence de la tonte au milieu de l'été, lorsque l'herbe pousse moins vite. Si vous n'avez pas tondu depuis un certain temps, effectuez un premier passage à une hauteur de coupe élevée, puis repassez 2 jours plus tard en abaissant la hauteur de coupe.
Utilisez une lame bien aiguisée durant toute la saison de coupe, pour obtenir une coupe nette sans arracher ou déchiqueter les brins d'herbe. Une lame émoussée arrache et déchiquète l'herbe. L'herbe arrachée ou déchiquetée brunit sur les bords, sa croissance ralentit et elle devient plus sensible aux maladies.
| Périodicité d'entretien | Procédure d'entretien |
|---|---|
| Après chaque utilisation |
|
Pour obtenir des résultats optimaux, nettoyez le dessous du plateau de coupe après chaque utilisation.
Important: Ne nettoyez pas la machine avec de l'eau saumâtre ou recyclée.
Note: Ne laissez pas l'herbe s'accumuler à l'intérieur du plateau de coupe, car la qualité de la tonte finira par en souffrir.