| Onderhoudsinterval | Onderhoudsprocedure |
|---|---|
| Na elk gebruik |
|
Als de grasgeleider niet is geplaatst, staan uzelf en anderen bloot aan contact met de messen en uitgeworpen voorwerpen. Contact met het draaiende maaimes en uitgeworpen voorwerpen kan lichamelijk of dodelijk letsel veroorzaken.
Verwijder de grasgeleider nooit van het maaidek, omdat hiermee het maaisel wordt afgevoerd naar het gazon. Een beschadigde grasgeleider moet direct worden vervangen.
Steek nooit handen of voeten onder het maaidek.
Probeer nooit de uitworpzone of de messen van de maaier te reinigen zonder eerst de parkeerrem in werking te stellen, de aftakashendel uit te schakelen, de motor uit te schakelen, het contactsleuteltje te verwijderen en te wachten tot alle bewegende onderdelen gestopt zijn. Trek ook de kabel van de bougie(s).
De maaier moet zijn uitgerust met een achterste grasgeleider die het maaisel achterwaarts en omlaag naar het gazon afvoert als de machine in de achteruitworpmodus staat.
Om maaisel te mulchen, moet u eerst de schotten op het maaidek monteren zoals omschreven in de volgende procedures.
Note: Recycler-messen (afzonderlijk verkrijgbaar) zijn vereist om deze set te monteren; raadpleeg de Onderdelencatalogus voor uw machine.
Note: Bepaal vanuit de normale bedieningspositie de linker- en rechterzijde van de machine.
Parkeer de machine op een horizontaal oppervlak.
Schakel de aandrijvingen en de aftakas uit.
Schakel de machine uit en verwijder het contactsleuteltje.
Wacht tot alle bewegende onderdelen tot stilstand zijn gekomen.
Uitsluitend voor elektrische modellen: Draai de afkoppelschakelaar van de accu op UIT.
Maak het maaidek grondig schoon. Verwijder al het vuil zodat de schotten goed tegen het maaidek aan zitten.
Herstel alle gebogen of beschadigde delen van het maaidek en vervang eventuele beschadigde of ontbrekende onderdelen.
Koppel de bougiekabel af van de bougie.
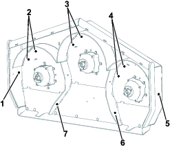
Verwijder de 2 flenskopschroeven waarmee de kap van de riemspanner is bevestigd aan de linker drijfriemkap en verwijder de kap van de riemspanner (Figuur 5).

Verwijder de bout waarmee de flenzen van de drijfriemkap bevestigd zijn, zoals getoond in Figuur 6.

Verwijder de 2 slotbouten en de 2 borgmoeren waarmee de linker CE-kap is bevestigd aan de linker drijfriemkap (Figuur 7).

Verwijder de 3 bouten waarmee de linker drijfriemkap is bevestigd aan het maaidek en verwijder de kap (Figuur 8).

De messen zijn scherp. Contact met een scherp mes kan ernstig persoonlijk letsel veroorzaken.
Draag handschoenen of wikkel een doek om de scherpe kanten van het mes.
Til de machine op zodat u bij de onderkant van het maaidek kunt komen.
Verwijder de bestaande messen van de assen; raadpleeg de Gebruikershandleiding van uw machine.
Een boor gebruiken zonder geschikte oogbescherming kan ertoe leiden dat vuil in het oog belandt en letsel veroorzaakt.
Draag altijd oogbescherming wanneer u boort.
Alleen voor elektrische modellen: Boor de 10 voorboringen in het maaidek tot een diameter van 9,8 mm zoals hieronder getoond.

Uitsluitend voor benzinemodellen: Boor de 9 voorboringen in het maaidek tot een diameter van 9,8 mm zoals hieronder getoond.

Boor de 2 voorboringen in tot een diameter van 8,23 mm zoals hieronder getoond.

Benodigde onderdelen voor deze stap:
| Linkersteun voor schot | 1 |
| Middelste/rechter steun voor schot | 2 |
| Flensbout met zeskantige kop (5/16" x ¾") | 2 |
| Flensmoer (5/16") | 6 |
| Slotbout (5/16" x 1¼") | 4 |
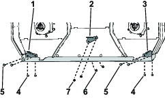
Verwijder de 4 buitenste slotbouten (5/16" x ⅞") en de 4 buitenste borgmoeren (5/16") waarmee de geleiderbeugel aan het maaidek is bevestigd.

Bevestig de linker- en rechtersteun voor het schot aan de geleiderbeugel en het maaidek met 4 slotbouten (5/16" x 1¼") en 4 flensmoeren (5/16") zoals getoond in Figuur 13.
Bevestig de middelste steun voor het schot aan het maaidek met 2 flensbouten met zeskantige kop (5/16" x ¾") en 2 flensmoeren (5/16") zoals getoond in Figuur 13.

Benodigde onderdelen voor deze stap:
| Linkerschot | 1 |
| Middelste schot | 1 |
| Rechterschot | 1 |
| Adapter voor schottenplaat | 1 |
| Slotbout (⅜" x 1") | 10 |
| Borgmoer (⅜") | 10 |
Monteer de schotten losjes om ze uit te lijnen met alle openingen in het maaidek (Figuur 14).
Plaats het rechterschot in het maaidek.
Bevestig het rechterschot losjes aan de rechter afvoerplaat; gebruik hiervoor 1 slotbout (⅜" x 1") en 1 borgmoer (⅜") zoals getoond in Figuur 14.
Bevestig het rechterschot losjes aan de adapter voor de schottenplaat; gebruik hiervoor 1 slotbout (⅜" x 1") en 1 borgmoer (⅜") zoals getoond in Figuur 14.
Bevestig de adapter voor de schottenplaat losjes aan de rechter maaidekverdeler; gebruik hiervoor 1 slotbout (⅜" x 1") en 1 borgmoer (⅜") zoals getoond in Figuur 14.
Plaats het linkerschot in het maaidek.
Bevestig het linkerschot losjes aan de linker afvoerplaat; gebruik hiervoor 1 slotbout (⅜" x 1") en 1 borgmoer (⅜") zoals getoond in Figuur 14.
Bevestig het linkerschot losjes aan de linker maaidekverdeler en de linkersteun voor het schot; gebruik hiervoor 2 slotbouten (⅜" x 1") en 2 borgmoeren (⅜") zoals getoond in Figuur 14.
Plaats het middelste schot in het maaidek.
Bevestig het middelste schot losjes aan de rechter en linker maaidekverdeler en de middelste steun voor het schot; gebruik hiervoor 3 slotbouten (⅜" x 1") en 3 borgmoeren (⅜") zoals getoond in Figuur 14.
Draai alle borgmoeren vast.

Benodigde onderdelen voor deze stap:
| Linkerschot | 1 |
| Middelste schot | 1 |
| Rechterschot | 1 |
| Slotbout (⅜" x 1") | 9 |
| Borgmoer (⅜") | 9 |
Monteer de schotten losjes om ze uit te lijnen met alle openingen in het maaidek (Figuur 15).
Plaats het rechterschot in het maaidek.
Bevestig het rechterschot losjes aan de rechter afvoerplaat; gebruik hiervoor 1 slotbout (⅜" x 1") en 1 borgmoer (⅜") zoals getoond in Figuur 15.
Bevestig het rechterschot losjes aan de adapter voor de schottenplaat; gebruik hiervoor 1 slotbout (⅜" x 1") en 1 borgmoer (⅜") zoals getoond in Figuur 15.
Bevestig het rechterschot losjes aan de rechter maaidekverdeler en de rechtersteun voor het schot; gebruik hiervoor 2 slotbouten (⅜" x 1") en 2 borgmoeren (⅜") zoals getoond in Figuur 15.
Plaats het linkerschot in het maaidek.
Bevestig het linkerschot losjes aan de linker afvoerplaat; gebruik hiervoor 1 slotbout (⅜" x 1") en 1 borgmoer (⅜") zoals getoond in Figuur 15.
Bevestig het linkerschot losjes aan de linker maaidekverdeler en de linkersteun voor het schot; gebruik hiervoor 2 slotbouten (⅜" x 1") en 2 borgmoeren (⅜") zoals getoond in Figuur 15.
Plaats het middelste schot in het maaidek.
Bevestig het middelste schot losjes aan de rechter en linker maaidekverdeler en de middelste steun voor het schot; gebruik hiervoor 3 slotbouten (⅜" x 1") en 3 borgmoeren (⅜") zoals getoond in Figuur 15.
Draai alle borgmoeren vast.

Benodigde onderdelen voor deze stap:
| Kicker | 3 |
| Slotbout (⅜" x 1") | 6 |
| Borgmoer (⅜") | 6 |
Bevestig de 3 kickers aan het maaidek met 6 slotbouten (⅜" x 1") en 6 borgmoeren (⅜") zoals getoond in Figuur 16.

Benodigde onderdelen voor deze stap:
| Recyclermes(afzonderlijk verkrijgbaar) | 3 |
De messen zijn scherp. Contact met een scherp mes kan ernstig persoonlijk letsel veroorzaken.
Draag handschoenen of wikkel een doek om de scherpe kanten van het mes.
Raadpleeg de Gebruikershandleiding voor instructies om de messen te monteren.
Monteer de linker drijfriemkap aan het maaidek met de 3 bouten die u eerder hebt verwijderd.

Monteer de linker CE-kap aan de linker drijfriemkap met de 2 slotbouten en 2 borgmoeren die u eerder hebt verwijderd.

Bevestig de flenzen van de drijfriemkap met de flenskopschroef die u eerder hebt verwijderd.

Monteer de kap van de riemspanner aan de linker drijfriemkap met de 2 flenskopschroeven die u eerder hebt verwijderd.

Sluit de bougiekabel aan op de bougie.
Benodigde onderdelen voor deze stap:
| Flenskopbout (⅜" x 1") | 8 |
Bereid de maaier voor; zie De maaier gebruiksklaar maken.
Uitsluitend voor benzinemodellen: verwijder het scherm en verwijder de linker drijfriemkap; zie Het motorscherm openen en het schermaanhangsel verwijderen (uitsluitend voor benzinemodellen) en De linker drijfriemkap verwijderen (uitsluitend voor benzinemodellen).
Verwijder de recyclingmessen; raadpleeg de Gebruikershandleiding van uw machine.
Voer de stappen in De kickers monteren in omgekeerde volgorde uit en monteer nieuwe flenskopbouten (⅜" x 1") en de eerder verwijderde borgmoeren (⅜") waar u de kickers verwijderde.
Voer de stappen in De schotten monteren (uitsluitend voor benzinemodellen) of De schotten monteren (uitsluitend voor elektrische modellen) in omgekeerde volgorde uit en monteer nieuwe flenskopbouten (⅜" x 1") en de eerder verwijderde borgmoeren (⅜") waar u de schotten verwijderde.
Voer de stappen in De steunen voor het schot monteren in omgekeerde volgorde uit en monteer de eerder verwijderde slotbouten (5/16" x ⅞") en borgmoeren (5/16") waar u de steunen voor het schot verwijderde.
Plaats de niet-recyclingmessen; raadpleeg de Gebruikershandleiding van uw machine.
Uitsluitend voor benzinemodellen: monteer de drijfriemkap en het scherm; zie De linker drijfriemkap monteren (uitsluitend voor benzinemodellen) en Het schermaanhangsel monteren en het motorscherm sluiten (uitsluitend voor benzinemodellen).
Verwijder bij het maaien ongeveer 2,5 cm of niet meer dan ⅓ van de grassprieten. Bij zeer lang, mals en dicht gras moet u mogelijk de maaihoogte vergroten of het maaidek veranderen naar achteruitworp.
Om het gras goed te maaien en het maaisel in de maaikast fijn te maken, is lucht nodig; zet de maaihoogte dus niet te laag en zorg ervoor dat de maaikast niet volledig door ongemaaid gras omgeven is. Probeer altijd de achterkant van het maaidek vrij van ongemaaid gras te houden, zodat lucht kan worden aangezogen naar het maaidek. Als u begint te maaien door het midden van een ongemaaid gebied, moet u langzaam rijden en achteruit rijden als de maaier verstopt raakt.
Het tempo waarmee het gras groeit, varieert per jaargetijde. Om dezelfde maaihoogte te behouden, moet u in het vroege voorjaar vaker maaien. Als de groeisnelheid in de zomer afneemt, maait u minder vaak. Als u langere tijd niet hebt kunnen maaien, maait u eerst op een hoge maaihoogte. Maai 2 dagen later op een lagere maaihoogte.
Een scherp mes snijdt het gras goed af zonder het te scheuren of te rafelen. Een bot mes scheurt en rafelt het gras. Als het gras inscheurt of kapot wordt getrokken, wordt het bruin aan de punten, waardoor het gras minder goed groeit en vatbaarder wordt voor ziekten.
| Onderhoudsinterval | Onderhoudsprocedure |
|---|---|
| Na elk gebruik |
|
Om optimale resultaten te waarborgen, moet de onderkant van het maaidek na iedere maaibeurt worden gereinigd.
Important: Gebruik geen brak of teruggewonnen water om de machine schoon te maken.
Note: Als zich grasresten ophopen in het maaidek, verslechteren de maairesultaten.