| Cadenza di manutenzione | Procedura di manutenzione |
|---|---|
| Dopo ogni utilizzo |
|
Se non è montato il deflettore dell’erba, voi ed altre persone siete esposti al rischio di contatto con la lama e con oggetti scagliati dal tosaerba. Il contatto con le lame rotanti e con i detriti scagliati può provocare gravi infortuni o la morte.
Non togliete mai la protezione dallo sfalcio dal tosaerba, perché indirizza lo sfalcio verso il tappeto erboso. Nel caso in cui sia danneggiata, sostituite immediatamente la protezione.
Non infilate mai le mani o i piedi sotto il tosaerba.
Non tentate mai di liberare l’area di scarico o le lame del tosaerba senza aver prima inserito il freno di stazionamento, disinnestato la presa di forza (PDF), spento il motore, tolto la chiave di accensione e atteso l’arresto di ogni movimento. Inoltre, scollegate il cappellotto (o cappellotti) dalla candela (o candele).
Verificate che il tosaerba sia dotato di una protezione dallo sfalcio posteriore per spargere lo sfalcio in direzione posteriore e verso il terreno, quando è in modo scarico posteriore.
Per il mulching dello sfalcio, montate i deflettori sul piatto di taglio, come indicato nelle procedure seguenti.
Note: Per l’installazione di questo kit, sono necessarie le lame del Recycler (vendute separatamente); fate riferimento al Catalogo ricambi per la vostra macchina.
Note: Stabilite i lati sinistro e destro della macchina rispetto alla normale posizione di guida.
Parcheggiate la macchina su un terreno pianeggiante.
Lasciate le leve del cambio in folle e disinnestate la presa di forza.
Spegnete la macchina e togliete la chiave.
Attendete finché tutte le parti mobili si siano fermate.
Solo modelli elettrici: girate l'interruttore di scollegamento della batteria in posizione OFF.
Pulite accuratamente il piatto di taglio. Rimuovete tutti i detriti per assicurarvi che i deflettori si inseriscano correttamente nel piatto di taglio.
Riparate tutte le sezioni piegate o danneggiate del piatto di taglio, e sostituite le parti smarrite o danneggiate.
Togliete il cappellotto dalla candela.
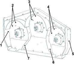
Togliete le 2 viti a testa flangiata che fissano la protezione del tendicinghia al copricinghia sinistro e rimuovete il copricinghia (Figura 5).

Rimuovete il bullone che fissa le flange del copricinghia come illustrato nella Figura 6.

Rimuovete i 2 bulloni a testa tonda e i 2 dadi di bloccaggio che fissano la protezione CE del lato sinistro al copricinghia sinistro (Figura 7).

Rimuovete i 3 bulloni che fissano il copricinghia sinistro al piatto e rimuovete la protezione (Figura 8).

Le lame sono affilate. Il contatto con una lama affilata può causare gravi ferite.
Indossate guanti o avvolgete i bordi della lama con un panno.
Sollevate la macchina in modo da poter accedere alla parte inferiore del piatto di taglio.
Rimuovete le lame esistenti dai mandrini; fate riferimento al Manuale dell’operatore per la vostra macchina.
L'utilizzo di un trapano senza un'adeguata protezione per gli occhi può permettere la penetrazione di detriti negli occhi, causando lesioni.
Quando praticate fori, indossate sempre una protezione per gli occhi.
Solo modelli elettrici: praticate i 10 fori pilota nel piatto di taglio a un diametro di 9,8 mm, come mostrato sotto.

Solo modelli a benzina: praticate i 9 fori pilota nel piatto di taglio a un diametro di 9,8 mm, come mostrato sotto.

Praticate i 2 fori pilota a un diametro di 8,23 mm, come mostrato sotto.

Parti necessarie per questa operazione:
| Supporto deflettore sinistro | 1 |
| Supporto deflettore centrale/destro | 2 |
| Bullone flangiato a testa esagonale (5/16" x ¾") | 2 |
| Dado flangiato (5/16") | 6 |
| Bullone a testa tonda (5/16" x 1¼") | 4 |
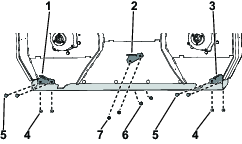
Rimuovete i 4 bulloni a testa tonda esterni (5/16" x ⅞") e i 4 dadi di bloccaggio esterni (5/16") che fissano la staffa del deflettore al piatto di taglio del tosaerba.

Fissate i supporti del deflettore destro e sinistro alla staffa del deflettore e al piatto di taglio del tosaerba utilizzando 4 bulloni a testa tonda (5/16" x 1¼") e 4 dadi flangiati (5/16") come illustrato nella Figura 13.
Fissate il supporto del deflettore centrale al piatto di taglio del tosaerba utilizzando 2 bulloni flangiati a testa esagonale (5/16" x ¾") e 2 dadi flangiati (5/16"), come illustrato nella Figura 13.

Parti necessarie per questa operazione:
| Deflettore sinistro | 1 |
| Deflettore centrale | 1 |
| Deflettore destro | 1 |
| Adattatore della piastra del deflettore | 1 |
| Bullone a testa tonda (⅜" x 1") | 10 |
| Dado di bloccaggio (⅜") | 10 |
Montate senza serrarli i deflettori per allinearli con tutti i fori del piatto di taglio del tosaerba (Figura 14).
Posizionate il deflettore destro nel piatto di taglio del tosaerba.
Fissate senza serrare il deflettore destro alla piastra di scarico destra utilizzando 1 bullone a testa tonda (⅜" x 1") e 1 dado di bloccaggio (⅜"), come illustrato nella Figura 14.
Fissate senza serrare il deflettore destro all’adattatore della piastra del deflettore utilizzando 1 bullone a testa tonda (⅜" x 1") e 1 dado di bloccaggio (⅜"), come illustrato nella Figura 14.
Fissate senza serrare l’adattatore della piastra del deflettore al divisore del piatto di taglio del tosaerba di destra utilizzando 1 bullone a testa tonda (⅜" x 1") e 1 dado di bloccaggio (⅜"), come illustrato nella Figura 14.
Posizionate il deflettore sinistro nel piatto di taglio del tosaerba.
Fissate senza serrare il deflettore sinistro alla piastra di scarico sinistra utilizzando 1 bullone a testa tonda (⅜" x 1") e 1 dado di bloccaggio (⅜"), come illustrato nella Figura 14.
Fissate senza serrare il deflettore sinistro al divisore del piatto di taglio del tosaerba sinistro e al supporto del deflettore sinistro utilizzando 2 bulloni a testa tonda (⅜" x 1") e 2 dadi di bloccaggio (⅜"), come illustrato nella Figura 14.
Posizionate il deflettore centrale nel piatto di taglio del tosaerba.
Fissate senza serrare il deflettore centrale ai divisori del piatto di taglio del tosaerba destro e sinistro e al supporto del deflettore centrale utilizzando 3 bulloni a testa tonda (⅜" x 1") e 3 dadi di bloccaggio (⅜"), come illustrato nella Figura 14.
Serrate tutti i dadi di bloccaggio.

Parti necessarie per questa operazione:
| Deflettore sinistro | 1 |
| Deflettore centrale | 1 |
| Deflettore destro | 1 |
| Bullone a testa tonda (⅜" x 1") | 9 |
| Dado di bloccaggio (⅜") | 9 |
Montate senza serrarli i deflettori per allinearli con tutti i fori del piatto di taglio del tosaerba (Figura 15).
Posizionate il deflettore destro nel piatto di taglio del tosaerba.
Fissate senza serrare il deflettore destro alla piastra di scarico destra utilizzando 1 bullone a testa tonda (⅜" x 1") e 1 dado di bloccaggio (⅜"), come illustrato nella Figura 15.
Fissate senza serrare il deflettore destro all’adattatore della piastra del deflettore utilizzando 1 bullone a testa tonda (⅜" x 1") e 1 dado di bloccaggio (⅜"), come illustrato nella Figura 15.
Fissate senza serrare il deflettore destro al divisore del piatto di taglio del tosaerba destro e al supporto del deflettore destro utilizzando 2 bulloni a testa tonda (⅜" x 1") e 2 dadi di bloccaggio (⅜"), come illustrato nella Figura 15.
Posizionate il deflettore sinistro nel piatto di taglio del tosaerba.
Fissate senza serrare il deflettore sinistro alla piastra di scarico sinistra utilizzando 1 bullone a testa tonda (⅜" x 1") e 1 dado di bloccaggio (⅜"), come illustrato nella Figura 15.
Fissate senza serrare il deflettore sinistro al divisore del piatto di taglio del tosaerba sinistro e al supporto del deflettore sinistro utilizzando 2 bulloni a testa tonda (⅜" x 1") e 2 dadi di bloccaggio (⅜"), come illustrato nella Figura 15.
Posizionate il deflettore centrale nel piatto di taglio del tosaerba.
Fissate senza serrare il deflettore centrale ai divisori del piatto di taglio del tosaerba destro e sinistro e al supporto del deflettore centrale utilizzando 3 bulloni a testa tonda (⅜" x 1") e 3 dadi di bloccaggio (⅜"), come illustrato nella Figura 15.
Serrate tutti i dadi di bloccaggio.

Parti necessarie per questa operazione:
| Spingitore | 3 |
| Bullone a testa tonda (⅜" x 1") | 6 |
| Dado di bloccaggio (⅜") | 6 |
Fissate i 3 spingitori al piatto di taglio del tosaerba utilizzando 6 bulloni a testa tonda (⅜" x 1") e 6 dadi di bloccaggio (⅜"), come illustrato nella Figura 16.

Parti necessarie per questa operazione:
| Lama Recycler(venduto a parte) | 3 |
Le lame sono affilate. Il contatto con una lama affilata può causare gravi ferite.
Indossate guanti o avvolgete i bordi della lama con un panno.
Per informazioni sull'installazione delle lame fate riferimento al Manuale dell'operatore.
Montate il copricinghia sinistro sul piatto con i 3 bulloni rimossi in precedenza.

Montate la protezione CE del lato sinistro sul copricinghia sinistro con i 2 bulloni a testa tonda e i 2 dadi di bloccaggio rimossi in precedenza.

Fissate le flange del copricinghia con la vite a testa flangiata rimossa in precedenza.

Montate la protezione del tendicinghia sul copricinghia sinistro con le 2 viti a testa flangiata rimosse in precedenza.

Collegate il cappellotto alla candela.
Parti necessarie per questa operazione:
| Bullone a testa flangiata (⅜" x 1”) | 8 |
Preparate il tosaerba; fate riferimento a Preparazione del tosaerba.
Solo per i modelli a benzina, rimuovete la protezione e rimuovete il copricinghia sinistro; fate riferimento a Apertura della protezione del motore e rimozione della prolunga della protezione(Solo modelli a benzina) e Rimozione del copricinghia sinistro(Solo modelli a benzina).
Rimuovete le lame Recycler; fate riferimento al Manuale dell’operatore per la vostra macchina.
Invertite i passaggi seguiti in Montaggio degli spingitori e montate i nuovi bulloni a testa flangiata (⅜" x 1") e i dadi di bloccaggio rimossi in precedenza (⅜") laddove avete rimosso gli spingitori.
Invertite i passaggi seguiti in Montaggio dei deflettori (Solo modelli a benzina) o Montaggio dei deflettori (Solo modelli elettrici) e montate i nuovi bulloni a testa flangiata (⅜" x 1") e i dadi di bloccaggio rimossi in precedenza (⅜") laddove avete rimosso i deflettori.
Invertite i passaggi seguiti in Montaggio dei supporti dei deflettori e montate i bulloni a testa tonda (5/16" x ⅞") e i dadi di bloccaggio (5/16") rimossi in precedenza laddove avete rimosso i supporti del deflettore.
Montate le lame non Recycler; fate riferimento al Manuale dell’operatore per la vostra macchina.
Solo modelli a benzina: installate il copricinghia e la protezione; fate riferimento a Montaggio del copricinghia sinistro (Solo modelli a benzina) e Montaggio della prolunga della protezione e chiusura della protezione del motore(Solo modelli a benzina).
Falciate circa 2,5 cm o comunque non più di un terzo del filo d'erba. In caso di erba eccezionalmente rigogliosa e fitta, potrebbe essere necessario alzare l'impostazione dell'altezza di taglio o effettuare la conversione del piatto di taglio al funzionamento con scarico posteriore.
Per tagliare e sminuzzare lo sfalcio nell'alloggiamento del tosaerba è necessaria l'aria, quindi non impostate l'altezza di taglio a un livello troppo basso e non circondate completamente l'alloggiamento di erba non tagliata. Perché l'aria venga aspirata nell’alloggiamento, cercate sempre di lasciare la parte posteriore del piatto di taglio libera da erba non tagliata. Rallentate durante la falciatura iniziale al centro di una zona d'erba non tagliata e fate marcia indietro se il tosaerba inizia a intasarsi.
L'erba cresce a ritmi diversi in momenti diversi dell'anno. Per mantenere la stessa altezza di taglio, tosate più spesso all'inizio della primavera. Poiché a mezza estate il ritmo di crescita dell'erba rallenta, tagliate l'erba meno di frequente. Qualora l'erba non sia stata tagliata per un periodo prolungato, tagliatela prima a un'altezza di taglio elevata, e di nuovo 2 giorni dopo, riducendo gradualmente l'altezza di taglio.
La lama affilata falcia con precisione, senza strappare o tagliuzzare l'erba. Una lama smussata strappa e lacera l'erba. Strappi e lacerazioni fanno sì che l'erba diventi marrone attorno ai bordi, il che ne disturba la crescita e aumenta l'esposizione alle malattie.
| Cadenza di manutenzione | Procedura di manutenzione |
|---|---|
| Dopo ogni utilizzo |
|
Per assicurare le migliori prestazioni, pulite il sottoscocca del tosaerba ogni volta che finite di usarlo.
Important: Non utilizzate acqua salmastra o rigenerata per pulire la macchina.
Note: Se i residui si accumulano nel piatto di taglio, le prestazioni di taglio saranno ridotte.