| Vedligeholdelsesintervaller | Vedligeholdelsesprocedure |
|---|---|
| Efter hver anvendelse |
|
Hvis der ikke er monteret græsdeflektorafskærmning, udsætter du dig selv og andre for kontakt med skærekniven og udslyngede genstande. Kontakt med plæneklipperens roterende skærekniv(e) og udslyngede genstande vil medføre personskade eller død.
Fjern aldrig græsafskærmningen fra plæneklipperen, da afskærmningen leder materialerne ned mod plænen. Hvis græsafskærmningen beskadiges, skal den straks udskiftes.
Placer aldrig hænder eller fødder under plæneklipperen.
Forsøg aldrig at rengøre udblæsningsområdet eller plæneklipperens skæreknive, medmindre du har aktiveret parkeringsbremsen, udkoblet kraftudtagshåndtaget (PTO), slukket motoren, taget tændingsnøglen ud, og al bevægelse er standset. Træk også ledningen af tændrøret/-ene.
Sørg for, at plæneklipperen er udstyret med en baggræsafskærmning, der kaster det afklippede græs bagud og ned mod plænen, når maskinen er i bagudblæsningstilstand.
For at kværne det afklippede græs skal du montere skærmene på plæneklipperskjoldet som anvist i følgende procedurer.
Note: Recycler-skæreknive (sælges separat) er påkrævet for at montere dette sæt. Se reservedelskataloget for din maskine.
Note: Maskinens venstre og højre side er som set fra den normale betjeningsposition.
Parker maskinen på en plan overflade.
Afbryd drevene og kraftudtaget.
Sluk maskinen, og tag nøglen ud.
Vent, til alle bevægelige dele standser.
Kun elektriske modeller: Drej batteriets afbryderkontakt til positionen OFF (fra).
Rengør plæneklipperskjoldet grundigt. Fjern alt affald for at sikre, at skærmene sidder rigtigt i forhold til plæneklipperskjoldet.
Reparer alle bøjede eller beskadigede områder på plæneklipperskjoldet, og udskift manglende eller beskadigede dele.
Fjern tændrørskablet fra tændrøret.
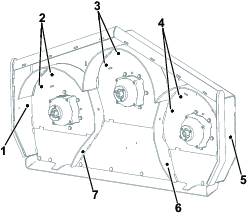
Fjern de 2 flangehovedskruer, der fastgør spændeafskærmningen til venstre remafskærmning, og afmonter spændeafskærmningen (Figur 5).

Fjern bolten, der fastgør remafskærmningens flanger, som vist i Figur 6.

Fjern de 2 bræddebolte og 2 låsemøtrikker, der fastgør venstre side af CE-afskærmningen til venstre remafskærmning (Figur 7).

Fjern de 3 bolte, der fastgør den venstre remafskærmning til skjoldet, og afmonter afskærmningen (Figur 8).

Skæreknivene er skarpe. Kontakt med en skarp kniv kan forårsage alvorlig personskade.
Bær handsker, eller pak skæreknivens skarpe kanter ind i en klud.
Løft maskinen, så du kan få adgang til bunden af plæneklipperskjoldet.
Afmonter de eksisterende skæreknive fra spindlerne. Se betjeningsvejledningen til maskinen.
Hvis der bores uden at bruge beskyttelsesbriller, kan materiale trænge ind i øjnene og forårsage øjenskade.
Bær altid beskyttelsesbriller, når der bores.
Kun elektriske modeller: Bor de 10 pilothuller i skjoldet med en diameter på 9,8 mm som vist nedenfor.

Kun gasmodeller: Bor de 9 pilothuller i skjoldet med en diameter på 9,8 mm som vist nedenfor.

Bor de 2 pilothuller med en diameter på 8,23 mm som vist nedenfor.

Dele, der skal bruges til dette trin:
| Venstre skærmstøtte | 1 |
| Midterste/højre skærmstøtte | 2 |
| Sekskantet flangebolt (5/16" x ¾") | 2 |
| Flangemøtrik (5/16") | 6 |
| Bræddebolt (5/16" x 1¼") | 4 |
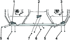
Fjern de 4 udvendige bræddebolte (5/16" x ⅞") og 4 udvendige låsemøtrikker (5/16"), der fastgør deflektorbeslaget til plæneklipperskjoldet.

Fastgør venstre og højre skærmstøtte på deflektorbeslaget og plæneklipperskjoldet med 4 bræddebolte (5/16" x 1¼") og 4 flangemøtrikker (5/16") som vist i Figur 13.
Fastgør midterste skærmstøtte på plæneklipperskjoldet med 2 sekskantede flangebolte (5/16" x ¾") og 2 flangemøtrikker (5/16") som vist i Figur 13.

Dele, der skal bruges til dette trin:
| Venstre skærm | 1 |
| Midterste skærm | 1 |
| Højre skærm | 1 |
| Skærmpladeadapter | 1 |
| Bræddebolt (⅜" x 1") | 10 |
| Låsemøtrik (⅜") | 10 |
Monter skærmene løst, så de rettes ind efter alle hullerne i plæneklipperskjoldet (Figur 14).
Placer højre skærm på plæneklipperskjoldet.
Fastgør løst højre skærm på højre udblæsningsplade med 1 bræddebolt (⅜" x 1") og 1 låsemøtrik (⅜") som vist i Figur 14.
Fastgør løst højre skærm på skærmpladeadapteren med 1 bræddebolt (⅜" x 1") og 1 låsemøtrik (⅜") som vist i Figur 14.
Fastgør løst skærmpladeadapteren på højre plæneklipperskjoldsdeleplade med 1 bræddebolt (⅜" x 1") og 1 låsemøtrik (⅜") som vist i Figur 14.
Placer venstre skærm i plæneklipperskjoldet.
Fastgør løst venstre skærm på venstre udblæsningsplade med 1 bræddebolt (⅜" x 1") og 1 låsemøtrik (⅜") som vist i Figur 14.
Fastgør løst venstre skærm på venstre plæneklipperskjoldsdeleplade og venstre skærmstøtte med 2 bræddebolte (⅜" x 1") og 2 låsemøtrikker (⅜") som vist i Figur 14.
Placer den midterste skærm på plæneklipperskjoldet.
Fastgør løst midterste skærm på højre og venstre plæneklipperskjoldsdeleplade og midterste skærmstøtte med 3 bræddebolte (⅜" x 1") og 3 låsemøtrikker (⅜") som vist i Figur 14.
Stram alle låsemøtrikkerne.

Dele, der skal bruges til dette trin:
| Venstre skærm | 1 |
| Midterste skærm | 1 |
| Højre skærm | 1 |
| Bræddebolt (⅜" x 1") | 9 |
| Låsemøtrik (⅜") | 9 |
Monter skærmene løst, så de rettes ind efter alle hullerne i plæneklipperskjoldet (Figur 15).
Placer højre skærm på plæneklipperskjoldet.
Fastgør løst højre skærm på højre udblæsningsplade med 1 bræddebolt (⅜" x 1") og 1 låsemøtrik (⅜") som vist i Figur 15.
Fastgør løst højre skærm på skærmpladeadapteren med 1 bræddebolt (⅜" x 1") og 1 låsemøtrik (⅜") som vist i Figur 15.
Fastgør løst højre skærm på højre plæneklipperskjoldsdeleplade og højre skærmstøtte med 2 bræddebolte (⅜" x 1") og 2 låsemøtrikker (⅜") som vist i Figur 15.
Placer venstre skærm i plæneklipperskjoldet.
Fastgør løst venstre skærm på venstre udblæsningsplade med 1 bræddebolt (⅜" x 1") og 1 låsemøtrik (⅜") som vist i Figur 15.
Fastgør løst venstre skærm på venstre plæneklipperskjoldsdeleplade og venstre skærmstøtte med 2 bræddebolte (⅜" x 1") og 2 låsemøtrikker (⅜") som vist i Figur 15.
Placer den midterste skærm på plæneklipperskjoldet.
Fastgør løst midterste skærm på højre og venstre plæneklipperskjoldsdeleplade og midterste skærmstøtte med 3 bræddebolte (⅜" x 1") og 3 låsemøtrikker (⅜") som vist i Figur 15.
Stram alle låsemøtrikkerne.

Dele, der skal bruges til dette trin:
| Udsparker | 3 |
| Bræddebolt (⅜" x 1") | 6 |
| Låsemøtrik (⅜") | 6 |
Fastgør løst de 3 udsparkere på plæneklipperskjoldet med 6 bræddebolte (⅜" x 1") og 6 låsemøtrikker (⅜") som vist i Figur 16.

Dele, der skal bruges til dette trin:
| Recycler-skærekniv (sælges separat) | 3 |
Skæreknivene er skarpe. Kontakt med en skarp kniv kan forårsage alvorlig personskade.
Bær handsker, eller pak skæreknivens skarpe kanter ind i en klud.
Se betjeningsvejledningen for anvisninger om montering af skæreknive.
Monter venstre remafskærmning på skjoldet med de 3 bolte, du fjernede tidligere.

Monter CE-afskærmningen på venstre remafskærmning med de 2 bræddebolte og 2 låsemøtrikker, du fjernede tidligere.

Fastgør remafskærmningens flanger med den flangehovedskrue, du fjernede tidligere.

Monter spændeafskærmningen på venstre remafskærmning med de 2 flangehovedskruer, du fjernede tidligere.

Slut tændrørskablet til tændrøret.
Dele, der skal bruges til dette trin:
| Flangehovedbolt (⅜" x 1") | 8 |
Klargør plæneklipperen. Se Klargøring af plæneklipper.
Kun gasmodeller: Afmonter afskærmningen, og afmonter venstre remafskærmning. Se Åbning af motorafskærmningen og fjernelse af afskærmningsforlængelsen (kun gasmodeller) og Afmontering af venstre remafskærmning (kun gasmodeller).
Fjern Recycler-skæreknivene. Se maskinens betjeningsvejledning.
Udfør trinnene i Montering af udsparkerne i omvendt rækkefølge, og isæt de nye flangehovedbolte (⅜" x 1") og låsemøtrikkerne (⅜"), du fjernede tidligere under afmontering af udsparkerne.
Udfør trinnene i Montering af skærmene (kun gasmodeller) eller Montering af skærmene (kun elektriske modeller) i omvendt rækkefølge, og isæt de nye flangehovedskruer (⅜" x 1") og låsemøtrikkerne (⅜"), du fjernede tidligere under afmontering af skærmene.
Udfør trinnene i Montering af skærmstøtterne i omvendt rækkefølge, og isæt bræddeboltene (5/16" x ⅞") og låsemøtrikkerne (5/16"), du fjernede tidligere under afmontering af skærmstøtterne.
Monter ikke-Recycler-skæreknivene. Se maskinens betjeningsvejledning.
Kun gasmodeller: Monter remskærmen og afskærmningen. Se Montering af venstre remafskærmning (kun gasmodeller) og Montering af afskærmningsforlængelsen og lukning af motorafskærmningen (kun gasmodeller).
Fjern ca. 2,5 cm eller højst ⅓ af græsstrået, når du klipper. I usædvanligt frodigt og tæt græs kan det være nødvendigt at hæve klippehøjdeindstillingen eller skifte plæneklipperskjoldet over til bagudkast.
Luft er nødvendig for at kunne klippe og findele græsafklippet i plæneklipperhuset, og derfor må du ikke indstille klippehøjden for lavt eller lade huset være helt omgivet af uklippet græs. Forsøg altid at holde bagsiden af plæneklipperskjoldet fri for uklippet græs, så den nødvendige luft kan trækkes ind i huset. Når du klipper første bane midt gennem et uklippet område, skal du køre maskinen langsommere og bakke lidt, hvis plæneklipperen begynder at blive blokeret.
Græs vokser med forskellig hastighed på forskellige tider af året. Hvis du vil bevare den samme klippehøjde, skal græsset slås oftere i det tidlige forår. Når græssets væksthastighed falder midt på sommeren, skal græsset ikke slås så tit. Hvis du ikke har mulighed for at slå græs over en længere periode, skal du først slå det med en høj klippehøjde og derefter igen to dage senere med en lavere højdeindstilling.
En skarp skærekniv skærer rent og uden at rive græsset eller få det til at flosse. En sløv kniv sønderriver græsset. Sønderrivning får græsset til at blive brunt i kanterne, hvilket forringer væksten og øger modtageligheden for sygdomme.
| Vedligeholdelsesintervaller | Vedligeholdelsesprocedure |
|---|---|
| Efter hver anvendelse |
|
Rengør undersiden af plæneklipperskjoldet efter hver brug for at sikre optimal ydeevne.
Important: Brug ikke brakvand eller genanvendt vand til at rengøre maskinen.
Note: Hvis der samler sig bundfaldsgræs i plæneklipperskjoldet, forringes klippeydeevnen.