Important: Asenna tuulilasisarjat ennen tämän sarjan asennusta.

Turvaohjeet

Jäähdytysjärjestelmän turvallinen käyttö

  • Jäähdytysneste on myrkyllistä. Pidä poissa lasten ja lemmikkieläinten ulottuvilta.

  • Paineella suihkuava kuuma jäähdytysneste, kuuma jäähdytin ja sitä ympäröivät osat voivat aiheuttaa vakavia palovammoja.

    • Anna moottorin jäähtyä ainakin 15 minuuttia ennen jäähdyttimen korkin irrottamista.

    • Käytä korkkia käsitellessäsi liinaa ja aukaise korkki hitaasti, jotta paine pääsee pois.

  • Älä käytä konetta, jos suojukset eivät ole paikoillaan.

  • Pidä sormet, kädet ja vaatteet etäällä pyörivästä tuulettimesta ja käyttöhihnasta.

  • Sammuta moottori ja irrota virta-avain ennen huoltotoimenpiteiden suorittamista.

Turva- ja ohjetarrat

Graphic

Turva- ja ohjetarrat on sijoitettu hyvin näkyville paikoille mahdollisten vaara-alueiden lähettyville. Korvaa vioittuneet tai kadonneet tarrat uusilla.

decal145-2219

Asennus

Koneen valmistelu

  1. Pysäköi kone tasaiselle alustalle.

  2. Siirrä vaihteistovipu P (PYSäKöINTI) ‑asentoon.

  3. Sammuta moottori ja irrota virta-avain.

  4. Odota, että moottori jäähtyy kokonaan.

    g364252
  5. Irrota akun miinuskaapeli (–) akun navasta.

    g365494
  6. Nosta konepelti. Katso lisätietoja koneen käyttöoppaasta.

  7. Tyhjennä jäähdytysjärjestelmästä jäähdytysnestettä noin 2 litraa (tai kunnes jäähdytysnestettä ei enää virtaa kumiletkuista). Katso lisätietoja käyttöoppaasta.

    Note: Säilytä jäähdytysneste uudelleenkäyttöä varten, kun olet asentanut sarjan.

Ilmastoinnin ohjauspaneelin asennus

Vaiheeseen tarvittavat osat:

Ilmastoinnin ohjauspaneeli1
Kiertovalitsin1
Lineaarinen kiertovalitsin1
Ilmastointilaitteen keinukytkin1
Kytkinmutteri (7/16 tuumaa)2
Nuppi2
Pyöreäkantainen pultti (⅝ tuumaa)4
Lukkomutteri (#10-24)4
Ohjauskaapeli1
Johdinsarja1
  1. Irrota kojelaudasta neljä kytkintulppaa ja leikkaa kytkinaukkojen välinen materiaali (Kuva 3).

    g398819

    Vaara

    Poran käyttö ilman silmäsuojaimia voi johtaa roskien pääsyyn silmiin ja siten silmävammaan.

    Käytä poraustöissä aina silmäsuojaimia.

  2. Paikanna kaksi poran ohjauskoloa (Kuva 4) ja poraa kaksi ohjausreikää (5 mm tai 3/16 tuumaa) suoraan ohjauskolojen päälle.

    g398820
  3. Poraa kaksi reikää myös oikealle puolelle käyttäen ilmastoinnin ohjauspaneelia mallina.

  4. Asenna kaksi kytkintä, joissa on nupit, ohjauspaneeliin kahdella kytkinmutterilla (7/16 tuumaa) kuvien Kuva 5 ja Kuva 6 mukaisesti.

  5. Asenna ilmastointilaitteen keinukytkin paneeliin (Kuva 5 ja Kuva 6).

  6. Asenna nuppi jokaisen kytkimen päälle (Kuva 5 ja Kuva 6).

    g431722
    g418766
  7. Siirrä säätönupit keskiasentoon kuvan Kuva 7 mukaisesti.

    g430156
  8. Varmista, että lämmittimen kytkin on keskiasennossa ja kytke ohjauskaapelin toinen pää lämmittimen kytkimen taakse (Kuva 8).

    g409582
  9. Varmista, että vesiventtiili on keskiasennossa, ja kytke se ohjauskaapelin toiseen päähän (Kuva 9).

    g460374
  10. Varmista, että lämmittimen kytkin voi liikkua alhaisesta lämmöstä korkeaan lämpöön. Varmista, että vesiventtiili avautuu ja sulkeutuu kokonaan. Säädä kaapelia tarvittaessa.

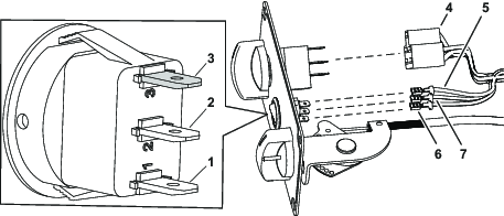
  11. Ilmastointilaitteen keinukytkin edellyttää, että mustan johdon litteä liitin kytketään kullanväriseen kytkinliittimeen, joka on merkitty numerolla 3.

    Note: Katso oikeat liittimet ilmastointilaitteen keinukytkimeen merkityistä numeroista (Kuva 10).

  12. Kytke valkoisen johdon litteä liitin kytkinliittimeen, joka on merkitty numerolla 2.

  13. Kytke punaisen johdon litteä liitin kytkinliittimeen, joka on merkitty numerolla 1 (Kuva 10).

  14. Kytke laitteen johdinsarjan 5-napainen liitin ilmavirtauskytkimen taakse (Kuva 10).

  15. Vie ohjauskaapeli, vesiventtiili ja johdinsarja kojelaudan läpi. Asenna ohjauspaneelikokoonpano kojelautaan neljällä pyöreäkantaisella pultilla (⅝ tuumaa) ja neljällä lukkomutterilla (#10-24). Katso Kuva 11. Kiristä pultit momenttiin 3 N·m.

    g419184
    g419185
  16. Kytke ilmastoinnin johdinsarja ajoneuvon johdinsarjaan (Kuva 12 ja Kuva 18).

    g418763
  17. Vie johdinsarja oikeapuoleista runkokiskoa pitkin. Pidä johdinsarja kiskon sisäpuolella (Kuva 13).

    g419314

Ilmanvaihtoaukkojen reikien leikkaus

  1. Paikanna neljä poran ohjauskoloa kojelaudan yläosasta (Kuva 14) ja poraa neljä reikää (76 mm) suoraan ohjauskolojen päälle.

    Note: Poraa ilmanvaihtoaukot 76 mm:n reikäsahalla.

    g398901
  2. Paikanna kaksi lattialevyssä olevaa poran ohjauskoloa (Kuva 15) ja poraa kaksi reikää (76 mm) suoraan ohjauskolojen päälle.

  3. Poista jäysteet rei’istä.

    g398912

Pitkien letkujen vienti

Vaiheeseen tarvittavat osat:

Imuletku1
Pitkä poistoletku1

Note: Suorita pitkän poistoletkun ja imuletkun vienti ennen ilmastointikotelon asennusta. Näin letkujen vientiä varten on enemmän tilaa.

  1. Vie imuletku koneen etuosasta takaosaan kompressorin alueen lähelle (Kuva 16 ja Kuva 17).

    g443239
  2. Vie poistoletku koneen etuosasta takaosaan lauhduttimen alueen lähelle (Kuva 17 ja Kuva 18).

    g460889
    g443114

Ilmastointikotelon kokoonpanon asennus

Vaiheeseen tarvittavat osat:

Ilmastointikotelon kokoonpano1
Ilmanoton suoja1
Ilmastoinnin asennuskannatin1
Laippasovitin2
Vaahtotiiviste1
Lukkopultti (1/4 × 3/4 tuumaa)6
Lukkomutteri (¼ tuumaa)6
Jäähdytysnesteletku (⅝ × 13 tuumaa)1
Jäähdytysnesteletku (⅝ × 26 tuumaa)1
Ilmaletku (55 mm × 68,6 cm tai 27 tuumaa)4
Ilmaletku (55 mm × 45,7 cm tai 18 tuumaa)2
Puristin2
Suuri nippuside 6
Ilmanvaihtoaukko (ei säädettävä)2
Ilmanvaihtoaukko (säädettävä)4
Itsekierteittävä ruuvi (1,46 × 13 mm)4
Kupukantainen kuusiokoloruuvi (M5 × 22 mm)4
  1. Liitä neljä ilmaletkua (55 mm × 68,6 cm tai 27 tuumaa) säädettäviin ilmanvaihtoaukkoihin ja kaksi ilmaletkua (55 mm × 45,7 cm tai 18 tuumaa) ei-säädettäviin ilmanvaihtoaukkoihin kuudella suurella nippusiteellä kuvan mukaisesti (Kuva 24).

    Note: Varmista, että ilmanvaihtoaukot on suunnattu puhaltamaan ilmaa käyttäjää kohti koneenkäyttäjän puolella ja matkustajaa kohti matkustajan puolella.

  2. Vie letkut ja asenna neljä säädettävää ilmanvaihtoaukkoa neljään yläosassa olevaan aukkoon. Katso Kuva 23 ja Kuva 24.

  3. Vie letkut ja asenna kaksi ei-säädettävää ilmanvaihtoaukkoa kahteen alempaan aukkoon. Katso Kuva 23 ja Kuva 24.

  4. Kiinnitä ilmastointikotelon kokoonpano ilmastoinnin asennuskannattimeen kuudella lukkopultilla (¼ × ¾ tuumaa) ja kuudella lukkomutterilla (¼ tuumaa). Katso Kuva 19. Kiristä pultit momenttiin 11 N·m.

    g443116
  5. Irrota ilmansuodattimen nykyinen suoja ja neljä pulttia ilmastointikokoonpanon sivulta. Hävitä suoja ja pultit (Kuva 20).

    g419204
  6. Asenna vaahtotiiviste ilmanoton suojan päälle kulmasta alkaen (Kuva 21).

    Note: Pidä vaahto kireänä, kun kiinnität sen kulmien ympärille, jotta se rypistyy mahdollisimman vähän.

  7. Leikkaa ylimääräinen vaahto, kun sen asennus on valmis.

  8. Asenna laippasovittimet ilmanoton suojaan (Kuva 21 ja Kuva 23).

    g419186
  9. Asenna ilmanoton suoja ilmastointikoteloon neljällä kupukantaisella kuusiokoloruuvilla (M5 × 22 mm). Katso Kuva 22 ja Kuva 23.

    Note: Aloita ruuvaus käsin, jotta paisuvat kumimutterit eivät työnny ilmastointikoteloon (Kuva 22).

    g443133
  10. Asenna ilmanoton suoja ilmastointikoteloon neljällä itsekierteittävällä ruuvilla (1,46 × 13 mm), katso Kuva 23.

    Note: Estä muovin kierteiden kuluminen kiristämällä itsekierteittävät ruuvit käsin.

    g418768
    g419205
  11. Liitä kaksi jäähdytysnesteletkua ilmastointikotelon etuosaan kahdella puristimella kuvan Kuva 25 mukaisesti.

    g460446

Ilmastointikotelon kokoonpanon ja letkujen asennus

Vaiheeseen tarvittavat osat:

Kuusiopultti (5/16 × ¾ tuumaa)2
Lukkopultti (¼ × ¾ tuumaa)2
Lukkomutteri (¼ tuumaa)2
Suuri nippuside 6
Torx®-ruuvi (#10 × ⅜ tuumaa)4
Rele (280 12 V 50/30 A)2
Letku3
Puristin2
Vesiventtiili1
Lyhyt poistoletku1
  1. Liitä neljä ilmaletkua (55 mm × 68,6 cm tai 27 tuumaa) ilmastointikoteloon ja kaksi ilmaletkua (55 mm × 45,7 cm tai 18 tuumaa) ilmanoton suojaan kuudella suurella nippusiteellä kuvien mukaisesti (Kuva 23 ja Kuva 24).

  2. Asenna ilmastointikotelon kokoonpanon etuosa koneen runkoon kahdella kuusiopultilla (5/16 × ¾ tuumaa). Kiristä pultit momenttiin 22,6 N·m. Katso Kuva 26.

    g419206

    Important: Älä muuta vaihtimen kytkentää tai ohjauspylvästä letkuja asennettaessa.

  3. Kiinnitä ilmastointikotelon kokoonpanon takaosa koneen kojelaudan kannattimiin kahdella lukkopultilla (¼ × ¾ tuumaa) ja kahdella lukkomutterilla (¼ tuumaa). Katso Kuva 27.

    g427099
  4. Asenna releet johdinsarjaan ja ilmastointikotelon kokoonpanoon (Kuva 12).

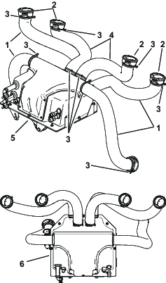
  5. Irrota nykyinen jäähdytysnesteletku jäähdytysnestesäiliön sivusta (Kuva 28) ja lyhennä letkua 23 cm. Säilytä puristin.

    g409844
  6. Liitä lämmitinkoteloon aiemmin asennetut kaksi jäähdytysnesteletkua vesiventtiilin asianmukaisiin aukkoihin kahdella puristimella (Kuva 30).

    Note: Jos koneeseen on asennettu BOSS-lumiaura, vie lämmittimen kennon alempi letku (Kuva 29) auran solenoidin ympärille.

  7. Liitä aiemmin lyhennetty termostaatin ohitusletku vesiventtiiliin puristimella (Kuva 29 ja Kuva 30).

  8. Liitä jäljellä oleva letku vesiventtiiliin puristimella ja liitä sitten letkun toinen pää ylemmän säiliön suureen aukkoon puristimella (Kuva 29 ja Kuva 30).

    g460521
    g460707
  9. Liitä imuletku ja poistoletku ilmastointikoteloon (Kuva 31).

    g460886

Kompressorin asennus bensiinikäyttöistä moottoria varten

Vaiheeseen tarvittavat osat:

Kompressori1
Hihna1
Kiristinpyörä2
Lukkomutteri (⅜ tuumaa)5
Kaksitoiminen kytkin1
T-liitin (#8, ¼ tuumaa)1
90 asteen kulmaliitin (O-rengasohjaus, -8)1
O-rengas (-08)2
90 asteen kulmaliitin (O-rengasohjaus, -10)2
O-rengas (-10)2
Laippapultti (3/8 × 3-1/4 tuumaa)2
Hihnan kiristinkokoonpano1
Laippapultti (⅜ × 1-¼ tuumaa)3
  1. Löysää ylälaturin säätöpultti ja irrota hihna.

  2. Asenna kiristinpyörät ja hihnan kiristinkokoonpano kahdella pultilla (⅜ × 3‑¼ tuumaa) ja kahdella lukkomutterilla (⅜ tuumaa). Katso Kuva 32 ja Kuva 35. Kiristä pultit momenttiin 40,7 N·m.

    g443225
  3. Asenna kompressori moottorin kannattimeen johdinsarjan maadoitusrengasliittimellä, kolmella laippapultilla (⅜ × 1‑¼ tuumaa) ja kolmella lukkomutterilla (⅜ tuumaa). Katso Kuva 35. Kiristä pultit momenttiin 40,7 N·m.

  4. Asenna kompressorin liittimet kompressoriin käsin. Katso Kuva 33 ja Kuva 34.

    Note: Varmista, että O-renkaat ovat kunnolla kiinni liittimissä, jotta ne eivät puristu tai leikkaudu, kun asennat liittimet.

  5. Aseta liittimet oikeisiin kohtiin ja merkitse niiden sijainnit (Kuva 33 ja Kuva 34).

  6. Irrota liittimet ja aseta ne paikoilleen merkintöjen mukaisesti. Kiristä liittimet.

  7. Asenna kompressorin liittimet kompressoriin ja kiristä ne (Kuva 33 ja Kuva 34).

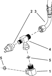
  8. Asenna liittimet, O-renkaat ja kulmaliittimet kompressoriin kuvan mukaisesti (Kuva 34).

    g443238
    g443226
    g418769
    g419210
  9. Asenna hihna kompressoriin, kiristinpyöriin, moottoriin ja laturiin (Kuva 35 ja Kuva 37).

    g419209

    Note: Lisää hihnan kireyttä säätämällä laturia.

  10. Säädä laturia, kunnes hihna on kiristetty. Tässä vaiheessa voit käyttää vääntörautaa.

  11. Kiristä laturin ylempi säätöpultti.

  12. Mittaa hihnan painuma käyttämällä hihnaan 98 N·m:n voimaa tai 8–10 mm:n (5/16–⅜ tuuman) painumaa puhaltimen hihnapyörän ja laturin hihnapyörän välillä (Kuva 38).

  13. Jos hihnan kireys ei ole oikea, toista hihnan kiristämisen vaiheet.

    g423269

Kompressorin asennus dieselkäyttöistä moottoria varten

Vaiheeseen tarvittavat osat:

Kompressori1
Hihna1
Laippapultti (⅜ × 1‑¼ tuumaa)3
Lukkomutteri (⅜ tuumaa)2
Kaksitoiminen kytkin1
O-rengas (-08)1
T-liitin (#8, ¼ tuumaa)1
90 asteen kulmaliitin (O-rengasohjaus, -10)2
O-rengas (-10)2
  1. Löysää ylälaturin säätöpultti ja irrota hihna.

  2. Asenna liittimet, O-renkaat ja kulmaliittimet kompressoriin kuvan Kuva 39 mukaisesti.

    Note: Varmista, että O-renkaat ovat kunnolla kiinni liittimissä, jotta ne eivät puristu tai leikkaudu liitinten asennuksen aikana.

  3. Asenna kompressorin letkut liittimiin kuvan Kuva 39 mukaisesti.

  4. Asenna kompressori moottorin kannattimeen johdinsarjan maadoitusrengasliittimellä, kolmella laippapultilla (⅜ × 1‑¼ tuumaa) ja kahdella lukkomutterilla (⅜ tuumaa). Katso Kuva 39 ja Kuva 40. Kiristä pultit momenttiin 40,7 N·m.

  5. Asenna hihna kompressoriin, kiristinpyöriin, moottoriin ja laturiin (Kuva 39).

    Note: Lisää hihnan kireyttä säätämällä laturia.

    g419364
    g419365

    Note: Lisää hihnan kireyttä säätämällä laturia.

  6. Säädä laturia, kunnes hihna on kiristetty. Tässä vaiheessa voit käyttää vääntörautaa.

  7. Kiristä laturin ylempi säätöpultti.

  8. Mittaa hihnan painuma sormella tai viivaimella käyttämällä hihnaan 98 N·m:n voimaa kiristimien välillä kuvan Kuva 41 mukaisesti.

  9. Jos hihnan kireys ei ole oikea, toista hihnan kiristämisen vaiheet.

    g423268

Lauhduttimen ja sivupaneelin asennus

Vaiheeseen tarvittavat osat:

Lauhdutin1
Lauhduttimen kannatin1
Sivupaneeli1
Laippamutteri (5/16 tuumaa)3
R-liitin2
Pultti (5/16 × 1‑¼ tuumaa)3
180 asteen liitin1
O-rengas (-06)1
90 asteen kulmaliitin (O-rengasohjaus, -08)1
O-rengas (-08)1
Litteä aluslaatta (5/16 tuumaa)2
Itsekierteittävä ruuvi (5/16 × ¾ tuumaa)2
Lukkopultti (¼ × ¾ tuumaa)1
Lukkomutteri (¼ tuumaa)1
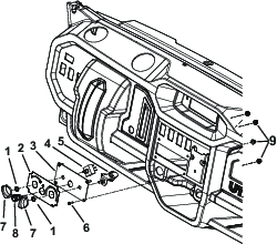
  1. Irrota nykyinen sivupaneeli koneesta. Poista nykyiset painettavat kiinnittimet nykyisestä sivupaneelista, jotta niitä voidaan käyttää uudessa sivupaneelissa. Säilytä kiinnittimet.

  2. Asenna 90 asteen kulmaliitin (O-rengasohjaus, -8) ja O-rengas (08) lauhduttimen yläosaan (Kuva 42).

  3. Asenna 180 asteen liitin ja O-rengas (06) lauhduttimen sivulle (Kuva 42).

  4. Liu'uta R-liittimet lauhduttimen letkujen päälle (Kuva 42).

  5. Asenna lauhdutin lauhduttimen kannattimeen pultilla (5/16 × 1‑¼ tuumaa) ja laippamutterilla (5/16 tuumaa). Katso Kuva 42. Kiristä pultit momenttiin 22,6 N·m.

  6. Asenna ilmastointikoteloon menevä lauhduttimen letku (alaletku) lauhduttimeen R-liittimellä, pultilla (5/16 × 1‑¼ tuumaa) ja laippamutterilla (5/16 tuumaa). Katso Kuva 42.

    g419211
  7. Vie johdinsarja lauhduttimeen ja asenna liitin lauhduttimeen.

    g419229
  8. Asenna uusi sivupaneeli koneen runkoon takaosasta alkaen käyttämällä aiemmin irrotettuja painettavia liittimiä (Kuva 44).

    Note: Sivupaneelin kaksi viimeistä reikää on tarkoitettu kahdelle itsekierteittävälle ruuville (5/16 × ¾ tuumaa).

  9. Asenna lauhduttimen kannatin ja uusi sivupaneeli koneen runkoon kahdella itsekierteittävällä ruuvilla (5/16 × ¾ tuumaa) ja kahdella litteällä aluslaatalla (5/16 tuumaa). Katso Kuva 44 ja Kuva 49.

  10. Asenna lauhduttimen letku kompressorista (yläletku) lauhduttimeen R-liittimellä, pultilla (5/16 × 1‑¼ tuumaa) ja laippamutterilla (5/16 tuumaa). Katso Kuva 42.

    g419248
  11. Asenna aiemmin irrotetut muoviruuvit koneen alapuolelta uuteen paneeliin ja polttoainesäiliön sivupaneeliin (Kuva 45 ja Kuva 47). Kiristä muoviruuvit momenttiin 2,25 N·m.

    g419272
  12. Löysää dieselkäyttöisten koneiden polttoainepumpun alempi lukkomutteri kuvan Kuva 48 mukaisesti.

    Note: Älä irrota dieselkäyttöisten koneiden pulttia. Löysää vain lukkomutteria.

  13. Asenna bensiinikäyttöisiin koneisiin lukkopultti (¼ × ¾ tuumaa) ja lukkomutteri (¼ tuumaa) lukkopultin aukon avulla (Kuva 46).

    Note: Älä kiristä lukkopulttia ja mutteria.

    g419212
  14. Liu'uta lauhduttimen kannatin lukkomutterin (¼ tuumaa) ja koneen alarungon väliin (Kuva 47 ja Kuva 48).

  15. Kiristä lukkopultti (¼ × ¾ tuumaa) ja lukkomutteri (¼ tuumaa). Katso Kuva 47 ja Kuva 48.

    g419224
    g424030
    g418773

Johdinsarjakytkentöjen ja letkuliitäntöjen tarkistus

Tarkista ja varmista, että letkuliitännät ovat tiukasti kiinni.

Kiinnitä johdinsarja ja letkut pois liikkuvista osista ja kuumista pinnoista nippusiteillä (Kuva 12, Kuva 13 ja Kuva 50).

g443240

Akun kytkentä

Kytke akun miinuskaapeli (–) akun napaan.

g365493

Jäähdytysjärjestelmän tyhjennys

Vaara

Jos moottori on juuri sammutettu, kuuma, paineenalainen jäähdytysneste saattaa roiskua ja aiheuttaa palovammoja.

  • Älä aukaise jäähdyttimen korkkia moottorin käydessä.

  • Käytä korkkia käsitellessäsi liinaa ja aukaise korkki hitaasti, jotta paine pääsee pois.

Jäähdytysnesteen tyyppi: 50 % OAT-etyleeniglykolia ja 50 % tislattua vettä

  1. Irrota korkki jäähdytysjärjestelmän säiliöstä.

  2. Täytä jäähdytysjärjestelmän säiliötä, kunnes jäähdytysneste saavuttaa säiliön alemman viivan.

  3. Käännä lämpötilan ohjausnuppi täydelle lämmitykselle.

  4. Käynnistä moottori ja anna sen käydä, kunnes jäähdytyspuhallin pyörii.

    Kun kone on käyttölämpötilassa, säiliön jäähdytysnesteen tason on oltava ylemmän viivan kohdalla.

  5. Lisää jäähdytysnestettä tarpeen mukaan jäähdytysjärjestelmästä puhdistetun ilman tilalle.

  6. Asenna jäähdytysjärjestelmän säiliön korkki.

Ilmastointijärjestelmän täyttö

Ilmastointijärjestelmän tilavuus: 414 ml

Kylmäainetyyppi: R134a

  1. Varmista, että koneen kaikki ilmastointiosat on asennettu ja kiinnitetty paikoilleen.

  2. Sertifioidun ilmastointihuoltoteknikon on tyhjennettävä ilmastointijärjestelmä kokonaan, täytettävä järjestelmä uudelleen asianmukaisesti R134a-kylmäaineella ja testattava järjestelmä vuotojen varalta.

Käyttö

Puhaltimen käyttö

Puhaltimessa on neljä nopeusasetusta (POIS PääLTä, MATALA, KESKITASO ja SUURI). Säädä puhaltimen nopeutta kiertämällä puhaltimen säätönuppia.

Säädä ohjaamon ilman lämpötilaa kiertämällä lämpötilan säätönuppia.

Jäähdytä ohjaamoa kääntämällä ilmastointikytkin PääLLä-asentoon.

Kunnossapito

Ilmastoinnin ilmansuodattimen huolto

HuoltoväliHuoltotoimenpide
250 käyttötunnin välein
  • Vaihda ilmastoinnin ilmansuodatin (useammin pölyisissä tai likaisissa olosuhteissa).
  • Note: Ilmastoinnin ilmansuodatin on suunniteltu pitämään ohjaamon ilma puhtaana.

    1. Irrota ilmanoton suoja ilmastointikotelon kokoonpanosta (Kuva 52).

      g419375
    2. Irrota suodatin varovasti ilmastointikotelon kokoonpanosta.

      Note: Älä yritä puhdistaa suodatinta.

    3. Tarkista uuden suodattimen eheys katsomalla sen läpi kirkasta valoa vasten.

      Note: Suodattimessa olevat reiät näkyvät kirkkaina pisteinä. Tarkista, ettei panos ole repeytynyt, ettei siinä ole öljykalvoa tai ettei kumitiiviste ole vaurioitunut. Jos suodatin on vaurioitunut, älä käytä sitä.

      Note: Käsittele suodatinta varovasti, jotta se ei vaurioidu tai muuta muotoaan.

    4. Asenna suodatin varovasti.

    5. Asenna ilmanoton suoja ilmastointikotelon kokoonpanoon vastaavilla kiinnikkeillä.

    Ilmastointikotelon puhdistus

    Important: Ilmastointikotelo ja osat eivät saa kastua.