Lea este manual detenidamente para aprender a utilizar y mantener correctamente su producto. La información de este manual puede ayudarle a usted y a otros a evitar lesiones personales y daños al producto. Aunque Toro diseña y fabrica productos seguros, usted es responsable de utilizar el producto correctamente y con seguridad.
Puede ponerse en contacto con Toro directamente en www.Toro.com si desea materiales de formación y seguridad o información sobre accesorios, para localizar un distribuidor o para registrar su producto.
Cuando necesite asistencia técnica, piezas genuinas Toro o información adicional, póngase en contacto con un Servicio Técnico Autorizado o con Asistencia al Cliente Toro, y tenga a mano los números de modelo y serie de su producto. Figura 1 indica la ubicación de los números de modelo y serie en el producto.
Note: Este producto cumple todas las directivas europeas aplicables. Para obtener más detalles, consulte la Declaración de Incorporación (DOI) al final de esta publicación.Los lados derecho e izquierdo de la máquina se determinan desde la posición normal del operador.

CALIFORNIA
Advertencia de la Propuesta 65
El uso de este producto puede provocar la exposición a sustancias químicas que el Estado de California considera causantes de cáncer, defectos congénitos u otros trastornos del sistema reproductor.
El uso o mantenimiento indebido por parte del operador o el propietario puede causar lesiones. Para reducir la posibilidad de sufrir lesiones, siga estas instrucciones de seguridad y preste siempre atención al símbolo de alerta de seguridad, que indica una Precaución, una Advertencia o un Peligro, es decir, una instrucción de seguridad personal. El incumplimiento de estas instrucciones puede dar lugar a lesiones personales e incluso la muerte.
Lea también las instrucciones de seguridad y de operación en el Manual del operador del vehículo.
No dirija el fumigador manual contra personas o animales. Los fluidos a alta presión pueden penetrar en la piel y causar lesiones graves, incluso posiblemente la amputación o la muerte. Los líquidos calientes y productos químicos también pueden causar quemaduras o lesiones. Si alguna parte del cuerpo entra en contacto con el caudal de fumigación, consulte inmediatamente a un médico que esté familiarizado con lesiones por fluidos inyectados.
No coloque la mano ni otras partes del cuerpo delante de la boquilla de fumigación.
No deje el equipo bajo presión cuando usted no está presente.
No utilice el fumigador manual si la manguera, el seguro del gatillo, la boquilla o cualquier otra pieza está dañada o falta.
No utilice el fumigador manual si hay fugas en alguna manguera, acoplamiento u otro componente.
No pulverice cerca de tendidos eléctricos.
No conduzca mientras utiliza un fumigador manual.
Lleve guantes de goma, gafas de seguridad y un traje de protección de cuerpo completo mientras fumiga productos químicos con el fumigador manual.
Los rayos pueden causar graves lesiones o incluso la muerte. Si se ven relámpagos o rayos o se oyen truenos en la zona, no utilice la máquina; busque un lugar donde resguardarse.
Los productos químicos son peligrosos y pueden causar lesiones personales.
Lea las instrucciones de las etiquetas de los productos químicos antes de manipular éstos, y siga todas las recomendaciones y precauciones del fabricante.
Evite el contacto de los productos químicos con la piel. Si entran en contacto con la piel, lave a fondo la zona afectada con jabón y agua limpia.
Lleve gafas protectoras y cualquier otro equipo de protección indicado por el fabricante del producto químico.
![]() |
Las calcomanías de seguridad e instrucciones están a la vista del operador y están ubicadas cerca de cualquier zona de peligro potencial. Sustituya cualquier calcomanía que esté dañada o que falte. |

Materiales proporcionados por el cliente:
Sellador de roscas de PTFE (cinta o pasta)
Un lubricante no basado el petróleo, como aceite vegetal
Los bornes de la batería o una herramienta metálica podrían hacer cortocircuito si entran en contacto con los componentes metálicos de la máquina, causando chispas. Las chispas podrían hacer explotar los gases de la batería, causando lesiones personales.
Al retirar o colocar la batería, no deje que los bornes toquen ninguna parte metálica del tractor.
No deje que las herramientas metálicas hagan cortocircuito entre los bornes de la batería y las partes metálicas de la máquina.
Un enrutado incorrecto de los cables de la batería podría dañar la máquina y los cables, causando chispas. Las chispas podrían hacer explotar los gases de la batería, causando lesiones personales.
Desconecte siempre el cable negativo (negro) de la batería antes de desconectar el cable positivo (rojo).
Conecte siempre el cable positivo (rojo) de la batería antes de conectar el cable negativo (negro).
Si está instalado el depósito de enjuague opcional, vacíe el depósito en el depósito de fumigación; consulte Uso del kit de enjuague en las Instrucciones de instalación del Kit de enjuague del depósito.
Asegúrese de que el depósito de fumigación de la máquina está totalmente vacía.
Note: Si el depósito de fumigación ha contenido soluciones químicas, enjuague el depósito y el sistema de fumigación a fondo con agua limpia; consulte las instrucciones del Manual del operador del vehículo.
Aparque la máquina en una superficie nivelada, ponga el freno de estacionamiento, pare la bomba de fumigación, pare el motor y retire la llave del interruptor.
Desconecte el cable negativo de la batería del borne negativo de la batería; consulte el Manual del operador.
Desconecte el cable positivo de la batería del borne positivo de la batería; consulte el Manual del operador.
En la parte superior del depósito de fumigación, retire la horquilla de retención que sujeta el acoplamiento dentado de 90° de la manguera de aspiración al alojamiento del filtro de aspiración y separe el acoplamiento dentado del alojamiento (Figura 2).

Retire el acoplamiento de 90° del alojamiento del filtro de aspiración (Figura 2).
En la parte inferior del depósito de enjuague, retire la horquilla de retención que sujeta el acoplamiento de 90° de la manguera de alimentación al pasamuros (Figura 3).

Retire el acoplamiento de 90° del pasamuros (Figura 3).
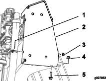
Retire los 2 pernos, las 4 arandelas y las 2 contratuercas con arandela prensada que fijan los 2 soportes de sujeción del depósito de enjuague al bastidor de la válvula y retire los soportes de sujeción (Figura 4).

Retire el depósito de enjuague de la máquina (Figura 5).


Afloje las 4 contratuercas con arandela prensada y los 4 pernos que sujetan las mitades del fleje del depósito (Figura 7).

Desplace el depósito de fumigación hacia delante, hasta que los flejes queden enrasados con el hombro más trasero del limitador del fleje moldeado en el depósito (Figura 8).

Apriete las 4 contratuercas con arandela prensada y los 4 pernos en la parte superior de los flejes hasta que estos queden enrasados con la superficie del depósito (Figura 7).
Piezas necesarias en este paso:
| Tuerca (¼"-20") | 1 |
| Tuerca con arandela prensada (5/16"-18") | 5 |
| Tuerca con arandela prensada (⅜"-16") | 12 |
| Perno (⅜"-16" x 1") | 5 |
| Perno (¼"-20" x ¾") | 1 |
| Perno (⅜"-16") | 2 |
| Perno (⅜"-16" x 3½") | 2 |
| Soporte superior | 1 |
| Refuerzo del soporte inferior | 1 |
| Soporte inferior | 1 |
| Perno autoblocante (5/16"-18 x 1") | 1 |
| Perno en U | 1 |
| Perno (⅜"-16" x 2¼") | 2 |
| Soporte de la bandeja del carrete | 1 |
| Perno de cuello largo | 4 |
| Bastidor de la bandeja del carrete | 1 |
| Contratuerca (5/16"-18") | 2 |
| Perno (5/16"–18 x 1") | 2 |
| Racor reductor del manómetro | 1 |
| Acoplamiento | 1 |
| Manómetro | 1 |
Monte el soporte superior usando 1 perno (¼-20 x ¾"), 1 tuerca (¼-20), 1 perno autoblocante (5/16-18 x 1") y 1 tuerca con arandela prensada (5/16-18), según se muestra en Figura 9.

Sujete la parte trasera del soporte superior con un perno en U, 1 perno (⅜"-16 x 1") y 3 tuercas con arandela prensada (⅜"-16), según se muestra en Figura 10.

Note: Si se retiró el depósito de enjuague antes de instalar el soporte superior, instale el depósito de enjuague antes de continuar con el paso siguiente.
Sujete el soporte inferior y el refuerzo del soporte inferior al bastidor usando 2 pernos (⅜"–16), 2 pernos (⅜"–16 x 3½") y 4 tuercas con arandela prensada (⅜"–16), según se muestra en Figura 11.

Si la máquina dispone del kit de depósito de enjuague opcional instalado, alinee el depósito con la máquina, tal y como se muestra en la figura (Figura 12).
Note: La instalación del depósito de enjuague se finalizará en Instalación del depósito de enjuague.

Sujete el soporte de la bandeja del carrete a los soportes superior e inferior con 4 pernos (⅜"-16 x 1"), 2 pernos (⅜"–16 x 2¼") y 6 tuercas con arandela prensada (⅜"–16), según se muestra en Figura 13.

Introduzca el bastidor de la bandeja del carrete en las ranuras del soporte de la bandeja del carrete, y sujete la bandeja con 4 pernos de cuello largo, 4 tuercas con arandela prensada (5/16"-18), 2 pernos (5/16"–18 x 1"), y 2 contratuercas (5/16"-18), según se muestra en Figura 14.

Aplique cinta PTFE a las roscas del manómetro e instale el conjunto de manómetro según se muestra en Figura 15.

Apriete los pernos del soporte del manómetro contra el bastidor de la bandeja del carrete.
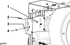
Alinee el soporte de sujeción con los limitadores moldeados en la parte superior del depósito de enjuague (Figura 16)

Alinee la ranura del soporte de sujeción con el taladro del bastidor de las válvulas (Figura 16).
Monte provisionalmente la pletina de sujeción en el bastidor de las válvulas (Figura 16) con un perno (⅜" x 1½"), 2 arandelas (⅜") y una contratuerca con arandela prensada (⅜") que retiró en Retirada del depósito de enjuague.
Repita los pasos 1 a 3 con la otra pletina de sujeción en el otro hueco del depósito de enjuague (Figura 16).
Apriete cuidadosamente a mano los pernos y las tuercas con arandela prensada.
Important: El depósito de enjuague debe estar firmemente sujeto, pero sin que la pletina de sujeción pueda deformar o combar el depósito
Note: Después de llenar por primera vez el depósito de enjuague, compruebe la holgura de las pletinas de sujeción y el depósito de enjuague (el peso del agua del depósito puede hacer que el depósito se asiente aún más contra el bastidor). Si es necesario, apriete los pernos y las contratuercas con arandela prensada hasta que las pletinas de sujeción estén tensadas contra el depósito de enjuague, pero sin deformar el depósito.
Alinee el acoplamiento dentado de 90° de la manguera de alimentación con el alojamiento del filtro de aspiración (Figura 18).

Sujete el acoplamiento dentado de 90° al alojamiento (Figura 18) con la horquilla de retención que retiró en el paso 1 de Retirada del depósito de enjuague.
Piezas necesarias en este paso:
| Arnés de cables | 1 |
| Caja de interruptores | 1 |
| Arandela de empuje | 1 |
| Anilla a presión | 1 |
| Conjunto de carrete de la manguera | 1 |
| Pasador elástico | 1 |
| Arandela (7/16") | 4 |
| Tuerca con arandela prensada (5/16"-18") | 2 |
| Perno (5/16"–18 x ¼") | 2 |
| Arandela | 1 |
| Tuerca con arandela prensada (⅜"-16") | 4 |
| Perno (⅜"-16" x 1") | 4 |
Note: El fusible del motor del carrete de la manguera está situado en la caja de interruptores (Figura 19).

Introduzca el soporte giratorio en el orificio de la base del carrete de la manguera.
En la parte inferior del bastidor del carrete de la manguera, coloque la arandela de empuje y la anilla a presión en la columna del soporte giratorio (Figura 20).

Monte la caja de interruptores en el soporte giratorio con 2 pernos (5/16"-18 x ¼") y 2 tuercas con arandela prensada (5/16"-18), según se muestra en Figura 21.

Sujete el arnés de cables al lateral del soporte giratorio usando los clips existentes (Figura 21).
Sujete el carrete de la manguera al soporte giratorio con 4 pernos (⅜"–16 x 1"), 4 arandelas (7/16") y 4 tuercas con arandela prensada (⅜"–16), según se muestra en Figura 22.
Note: El motor del carrete de la manguera debe estar orientado hacia fuera respecto al panel de interruptores.

Instale la arandela y el pasador elástico a la parte inferior del bastidor del carrete de la manguera (Figura 23).

Enchufe los conectores restantes del arnés de cables en los conectores del motor, de alimentación del arnés principal y del kit de carrete de manguera.
Piezas necesarias en este paso:
| Válvula de control | 1 |
| Acoplamiento en T | 1 |
| Abrazadera | 1 |
| Brida | 3 |
| Abrazadera en R | 1 |
| Manguera (71") | 1 |
| Brida | 1 |
| Codo de 90° | 1 |
| Acoplamiento del tubo | 1 |
| Tuerca (¼"-20") | 1 |
| Tuerca con arandela prensada (⅜"–16") | 1 |
| Tubo del transductor de presión | 1 |
| Perno (¼"-20" x ¾") | 1 |
| Bastidor de válvula | 1 |
| Soporte de válvula de control | 1 |
| Perno (6 mm x 12 mm) | 4 |
| Arandela (8 mm) | 4 |
| Perno con arandela prensada (6 x 16 mm) | 4 |
| Contratuerca con arandela prensada (6 mm) | 4 |
Desconecte el tapón y el acoplamiento del orificio del manómetro (Figura 24).

Instale el conjunto de la válvula de control según se muestra en Figura 24.
Instale el acoplamiento en el orificio abierto del codo de 90° (Figura 24 y Figura 37).
Note: El conector puede desecharse.
Conecte la manguera de suministro del carrete de la manguera a la válvula de control con una abrazadera (Figura 24).
Desconecte el conector hembra de 3 vías del transductor de presión (Figura 25).

Retire la brida de fijación que sujeta el transductor de presión al acoplamiento de 90° y retire el transductor, la junta y la brida de fijación (Figura 26).

Retire la brida de fijación que sujeta el acoplamiento de 90° al acoplamiento de 90° con conector para el tubo del sensor, y retire el acoplamiento de 90°, la junta y la brida de fijación (Figura 26)
Monte el soporte de la válvula en la válvula de control, según se muestra en Figura 27, A.

Sujete el soporte de la válvula a la válvula de control con el tornillo con arandela prensada (N.º 6), y apriete el tornillo a mano (Figura 27, B).
Monte el soporte de la válvula en la escuadra de la válvula de control (Figura 28) usando los 4 pernos (6 x 12 mm) y 4 arandelas planas; apriete los pernos a 10–12 N·m.

Alinee la brida del acoplamiento en T con la brida de la válvula de control, según se muestra en Figura 29.

Sujete provisionalmente el acoplamiento en T a la válvula de control con una junta y una brida de fijación (Figura 29).
Alinee la brida del transductor de presión con la brida del acoplamiento en T, según se muestra en Figura 30.

Monte el transductor de presión en el acoplamiento en T con una junta y una brida de fijación, y apriete la brida a mano (Figura 30).
Alinee la brida del acoplamiento de T con la brida del acoplamiento de 90°Figura 31 con conector para el tubo del sensor ().

Ensamble provisionalmente el acoplamiento en T y el acoplamiento de 90° con una junta y una brida de fijación (Figura 31)
Note: Gire la escuadra de la válvula de control según sea necesario hasta que esté enrasada con la superficie del soporte de la válvula.
Usando la escuadra de la válvula de control como plantilla, marque la posición de los taladros de la escuadra en la superficie del soporte del distribuidor (Figura 32).

Retire la abrazadera, la junta y el acoplamiento en T con brida, del codo de 90°Figura 31 con conector para el tubo del sensor ().
Señale con un punzón las posiciones que marcó en el soporte del distribuidor en el paso 3.
Perfore 4 taladros de 6 mm en el soporte del distribuidor en las marcas que hizo en el paso 5.

Alinee la brida del acoplamiento en T con la brida del acoplamiento de 90° con un conector para el tubo del sensor (Figura 34).

Ensamble provisionalmente el acoplamiento de T y el acoplamiento de 90° con una junta y una brida de fijación (Figura 34).
Monte la escuadra de la válvula de control en el soporte del distribuidor (Figura 35) con 4 pernos con arandela prensada (6 mm x 16 mm) y 4 tuercas con arandela prensada (6 mm); apriete los pernos a 10–12 N·m.
Apriete a mano la brida de fijación que sujeta la válvula de control y el acoplamiento en T (Figura 29) y la brida de fijación que sujeta el acoplamiento en T al codo de 90° con conector para el tubo del sensor (Figura 31 y Figura 34).
Conecte el conector hembra de 3 vías del transductor de presión (Figura 35).

Conecte la manguera de la lanza de fumigación en el acoplamiento dentado de la válvula de control, y sujete la manguera al acoplamiento con una abrazadera (Figura 36).

Sujete la manguera de 180 cm al soporte superior usando una abrazadera en R, un perno (¼"-20 x ¾") y una tuerca (¼"-20), según se muestra en Figura 37.

Aplique sellador de PTFE a las roscas del acoplamiento en T, y conecte el acoplamiento en T a la válvula de control (Figura 37).
Aplique sellador de PTFE a las roscas del acoplamiento y conecte el acoplamiento al acoplamiento en T (Figura 37).
Conecte el tubo del transductor de presión al conector del acoplamiento en T en el codo de 90°Figura 38 y al acoplamiento del indicador de presión ().

Conecte la manguera de 180 cm al conector de manguera dentado del carrete de la manguera, y sujete la manguera al acoplamiento con una abrazadera, según se muestra en Figura 39.

Sujete el arnés de cables del kit de carrete de manguera giratorio a la manguera de alimentación del carrete con 3 bridas (Figura 39).
Piezas necesarias en este paso:
| Manguera de la pistola de fumigación con acoplamiento | 1 |
| Pistola de fumigación | 1 |
| Abrazadera, pequeña | 1 |
Aplique sellador de PTFE a las roscas del conector de manguera de la manguera larga, e instale el acoplamiento en el tubo de conexión del carrete (Figura 40).

Conecte el extremo libre de la manguera larga al acoplamiento de la pistola de fumigación (Figura 41).

Sujete el extremo de la manguera con una abrazadera pequeña.
Conecte los cables de la batería como se indica a continuación:
Un enrutado incorrecto de los cables de la batería podría dañar la máquina y los cables, causando chispas. Las chispas podrían hacer explotar los gases de la batería, causando lesiones personales.
Desconecte siempre el cable negativo (negro) de la batería antes de desconectar el cable positivo (rojo).
Conecte siempre el cable positivo (rojo) de la batería antes de conectar el cable negativo (negro).
Conecte el cable positivo de la batería al borne positivo de la batería; consulte el Manual del operador.
Conecte el cable negativo de la batería al borne negativo de la batería; consulte el Manual del operador.
Presione el botón de recogida de la manguera y guíe la manguera con cuidado mientras se enrolla en el carrete, desplazándola de un lado al otro para distribuirla de forma homogénea.
Las manos, las prendas sueltas, el pelo largo y las joyas podrían enredarse en la manguera y en el carrete durante la recogida y provocar lesiones.
Mantenga las manos alejadas del carrete y de la manguera mientras se recoge.
No lleve prendas o joyas sueltas y, si tiene el pelo largo, recójaselo.
Cualquier fuga de fluido bajo presión del sistema de fumigación puede penetrar en la piel y causar lesiones.
Asegúrese de que todas las mangueras y líneas están en buenas condiciones, y que todos los acoplamientos y conectores están bien apretados antes de aplicar presión al sistema de fumigación.
Mantenga el cuerpo y las manos alejados de fugas pequeñas o de boquillas que liberan fluido hidráulico a alta presión.
Utilice un cartón o un papel para buscar fugas de fluido.
Alivie de manera segura toda la presión del sistema de fumigación antes de realizar trabajo alguno en el mismo.
Busque atención médica inmediatamente si el aceite hidráulico penetra en la piel.
Llene parcialmente el depósito de fumigación con agua limpia.
Arranque el motor, mueva el acelerador a la posición de velocidad media y ponga el interruptor de la bomba de fumigación en la posición de Encendido; CONSULTE EL Manual del operador.
Asegúrese de que la válvula de control situada al final del distribuidor de sección está abierta.
Compruebe que no hay fugas en el distribuidor, la válvula de control o la manguera.
Utilice el interruptor de caudal de la caja de control para aumentar la presión del sistema de fumigación en el carrete de la manguera.
Compruebe que no hay fugas en los siguientes componentes:
acoplamientos y conectores
indicador de presión y válvula del carrete de manguera
tubos, mangueras y pistola de fumigación
Note: Repare cualquier fuga antes de usar el sistema de fumigación.
Cierre la válvula de control del carrete de la manguera, ponga el interruptor de la bomba de fumigación en la posición de APAGADO, y pare el motor.
El fluido bajo presión puede penetrar en la piel y causar lesiones.
Mantenga el cuerpo y las manos alejados de boquillas que liberan fluido a alta presión.
No dirija el fumigador contra personas o animales.
Asegúrese de que todas las mangueras y los tubos de fluidos están en buenas condiciones, y que todos los acoplamientos y conectores están apretados, antes de aplicar presión al sistema.
Utilice un cartón o un papel para buscar fugas.
Alivie de manera segura toda presión en el sistema antes de realizar trabajo alguno en el mismo.
Busque atención médica inmediatamente si el fluido hidráulico penetra en la piel.
Los líquidos calientes y productos químicos también pueden causar quemaduras u otros daños.
Important: Siempre vacíe y limpie el fumigador inmediatamente después de cada uso. Si no lo hace, los productos químicos pueden secarse o espesarse en las tuberías, atascando la bomba y otros componentes.
Limpie el sistema de fumigación después de cada fumigación. Para limpiar adecuadamente el sistema de fumigación:
Realice tres enjuagues individuales.
Utilice un mínimo de 189 litros para cada enjuague.
Utilice los productos de limpieza y los neutralizadores recomendados por los fabricantes de los productos químicos.
Utilice agua limpia (sin productos de limpieza ni neutralizadores) en el último enjuague.
Si conduce mientras utiliza el fumigador manual podría perder el control, con resultado de lesiones o muerte. No utilice el fumigador manual mientras conduce.
Pare la máquina, desactive los brazos y ponga el freno de estacionamiento.
En la parte trasera de la máquina, asegúrese de que está puesto el seguro del gatillo de la pistola de fumigación.
Gire la palanca de la válvula de control a la posición de ABIERTO.
En el puesto del operador, encienda la bomba.
Ponga el interruptor maestro en posición de ACTIVADO.
Ajuste el motor a la velocidad deseada, luego active el bloqueo de la velocidad en punto muerto del motor.
Important: No utilice una presión de más de 10,34 bar con el fumigador manual.
Retire del carrete la longitud de manguera deseada.
Important: No tire de la manguera con la pistola de fumigación. Sujete siempre la manguera y tire directamente de ella. Si tira de la manguera con la pistola puede romper el acoplamiento de la pistola o dañar la manguera.
Quite el seguro del gatillo.
Dirija la boquilla de la pistola de fumigación a la zona a fumigar, y apriete el gatillo.
Suelte el gatillo y ponga el seguro del gatillo cuando termine.
Las manos, las prendas sueltas, el pelo largo y las joyas podrían enredarse en la manguera y en el carrete durante la recogida y provocar lesiones.
Mantenga las manos alejadas del carrete y de la manguera mientras se recoge.
No lleve prendas o joyas sueltas y, si tiene el pelo largo, recójaselo.
Pulse el botón de recogida del carrete de la manguera hasta que sólo quede aproximadamente un metro de manguera fuera del carrete.
Gire la palanca de la válvula de control a la posición de CERRADO.
Dirija la boquilla de la pistola de fumigación a una zona en la que la fumigación no suponga problemas, quite el seguro del gatillo y apriete el gatillo hasta vaciar la manguera de todo el fluido restante, luego ponga el seguro del gatillo.
Coloque la pistola de fumigación en su soporte en la parte trasera del carrete.
Vuelva a poner el motor en velocidad de ralentí.
Pare la bomba.
Important: Asegúrese de limpiar la pistola de fumigación con agua limpia y fresca durante su rutinaria de limpieza diaria (consulte el Manual del operador del fumigador). Una falta de limpieza correcta de la pistola de fumigación puede degradar el rendimiento y la fiabilidad del kit de carrete de manguera y de la pistola de fumigación.
Utilice el interruptor de caudal para ajustar la presión.