Garez la machine sur une surface plane et horizontale.
Débrayez toutes les commandes et la prise de force.
Coupez le moteur et enlevez la clé de contact.
Attendez l'arrêt complet de toutes les pièces mobiles.
Tournez le coupe-batterie en position HORS TENSION.
Note: Pour plus de renseignements sur l'installation, contactez un concessionnaire-réparateur agréé.
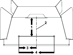
Sur la partie supérieure du couvercle du contrôleur du moteur, mesurez et marquez l'emplacement des trous comme montré ci-dessous.

Des débris peuvent être projetés dans les yeux et causer des blessures en cas d'utilisation d'une perceuse sans protection oculaire adaptée.
Portez toujours une protection oculaire pour les opérations de perçage.
Utilisez une mèche de 7/32" pour percer un trou à l'emplacement marqué.
Note: Pendant le perçage, évitez d'enfoncer la mèche trop loin au-delà du couvercle.
Utilisez de l'air comprimé pour éliminer les copeaux de perçage.
Sur la partie inférieure du couvercle du contrôleur du moteur, mesurez et marquez l'emplacement des 2 trous comme montré ci-dessous.

Utilisez une mèche de 7/32" pour percer les 2 trous aux emplacements marqués.
Note: Pendant le perçage, évitez d'enfoncer la mèche trop loin au-delà du couvercle.
Utilisez de l'air comprimé pour éliminer les copeaux de perçage.
Pièces nécessaires pour cette opération:
| Plaque de montage du seau | 1 |
| Vis (¼" x ½") | 3 |
| Support de fixation | 1 |
| Support supérieur | 1 |
| Boulon de carrosserie (5/16" x ⅞") | 1 |
| Molette | 1 |
| Autocollant de poids maximum | 1 |
| Seau (19 litres) | 1 |
Montez la plaque de montage du seau sur la partie inférieure du couvercle du contrôleur du moteur à l'aide de 2 vis (¼" x ½").

Apposez l’autocollant sur le support comme montré ci-dessous.

Montez le support de fixation sur la partie supérieure du couvercle du contrôleur du moteur à l'aide de 2 vis (¼" x ½").

Fixez légèrement le support supérieur au support de fixation à l'aide du boulon de carrosserie (5/16" x ⅞") et de la molette.

Placez le seau sur la plaque de montage et fixez-le avec le support supérieur. Serrez la molette.
