Aparque la máquina en una superficie nivelada.
Desengrane las transmisiones y la toma de fuerza.
Apague la máquina y retire la llave.
Espere a que se detengan todas las piezas en movimiento.
Gire el interruptor de desconexión de las baterías a la posición de APAGADO.
Note: Para obtener ayuda con la instalación, póngase en contacto con un Servicio Técnico Autorizado.
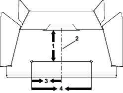
En la parte superior de la cubierta del controlador del motor, mida y marque las ubicaciones de los taladros, tal y como se muestra a continuación.

Si utiliza un taladro sin la protección ocular adecuada, puede que salten residuos al ojo y le causen lesiones.
Al taladrar, lleve siempre protección ocular.
Utilice una broca (7/32") para realizar un taladro a través de la ubicación marcada.
Note: Al taladrar, evite presionar la broca demasiado más allá de la cubierta.
Utilice aire comprimido para eliminar las virutas de generadas al taladrar.
En la parte inferior de la cubierta del controlador del motor, mida y marque las ubicaciones de los 2 taladros, tal y como se muestra a continuación.

Utilice una broca (7/32") para realizar 2 taladros a través de las ubicaciones marcadas.
Note: Al taladrar, evite presionar la broca demasiado más allá de la cubierta.
Utilice aire comprimido para eliminar las virutas de generadas al taladrar.
Piezas necesarias en este paso:
| Placa de montaje de cubo | 1 |
| Tornillo (¼" × ½") | 3 |
| Soporte de montaje | 1 |
| Soporte superior | 1 |
| Perno de cuello cuadrado (5/16" x ⅞") | 1 |
| Pomo | 1 |
| Pegatina de peso máximo | 1 |
| Cubo (19 litros) | 1 |
Instale la placa de montaje del cubo sobre la cubierta del controlador del motor inferior con los 2 tornillos (¼" × ½").

Coloque la pegatina en el soporte de montaje, tal y como se muestra a continuación.

Instale el soporte de montaje sobre la cubierta del controlador del motor superior con el tornillo (¼" × ½").

Instale provisionalmente el soporte superior en el soporte de montaje usando el perno de cuello cuadrado (5/16" x ⅞") y el pomo.

Coloque el cubo en la placa de montaje del cubo y fíjelo con el soporte superior. Apriete el pomo.
