| Underhållsintervall | Underhållsförfarande |
|---|---|
| Varje användning eller dagligen |
|
Maskinen är en åkgräsklippare med en knivcylinder som är avsedd att användas av yrkesförare som har anlitats för kommersiellt arbete. Den är främst konstruerad för att klippa gräs på väl underhållna golfbanor, parkgräsmattor, sportanläggningar och kommersiella anläggningar. Den är inte avsedd för att klippa snår, gräs och annat längs med motorvägen eller för jordbruksändamål.
Läs den här informationen noga så att du lär dig att använda och underhålla produkten på rätt sätt och för att undvika person- och produktskador. Du är ansvarig för att produkten används på ett korrekt och säkert sätt.
Om du behöver utbildningsmaterial för säkerhet och drift, information om tillbehör, hjälp med att hitta en återförsäljare eller om du vill registrera din produkt kan du kontakta Toro via www.toro.com.
Kontakta en auktoriserad återförsäljare eller Toros kundservice och ha produktens modell- och serienummer till hands om du har behov av service, Toro originaldelar eller ytterligare information. Figur 1 visar var på produktens främre rambalk som modell- och serienumren sitter. Skriv numren i det tomma utrymmet.

I den här bruksanvisningen anges potentiella risker och alla säkerhetsmeddelanden har markerats med en varningssymbol (Figur 2), som anger fara som kan leda till allvarliga personskador eller dödsfall om föreskrifterna inte följs.

Två ord används också i den här bruksanvisningen för att markera information. Viktigt anger speciell teknisk information och Observera anger allmän information som bör ges särskild uppmärksamhet.
Denna produkt uppfyller kraven i alla relevanta europeiska direktiv. Mer information finns i den separata produktspecifika försäkran om överensstämmelse.
Det är ett brott mot avsnitt 4442 eller 4443 i Kaliforniens Public Resource Code att använda eller köra motorn på skogs-, busk- eller grästäckt mark om motorn inte är utrustad med en gnistsläckare som är i fullgott skick, vilket anges i avsnitt 4442, eller utan att motorn är konstruerad, utrustad och underhållen för att förhindra brand.
Den bifogade bruksanvisningen till motorn tillhandahålls för information om den amerikanska miljömyndigheten EPA:s (US Environmental Protection Agency) och Kaliforniens lagstiftning om utsläppskontroll för emissionssystem, underhåll och garanti. Extra bruksanvisningar kan beställas från motortillverkaren.
KALIFORNIEN
Proposition 65 Varning
Avgaserna från dieselmotorer och vissa avgaskomponenter innehåller ämnen som av den amerikanska delstaten Kalifornien anses orsaka cancer, fosterskador och andra fortplantningsskador.
Användning av produkten kan orsaka kemikalieexponering som av den amerikanska delstaten Kalifornien anses orsaka cancer, fosterskador och andra fortplantningsskador.
Maskinen har utformats för att uppfylla eller överträffa SS-EN ISO 5395:2013 (när lämpliga dekaler har applicerats) och ANSI B71.4-2012.
Maskinen kan slita av händer och fötter och kasta omkring föremål. Följ alltid alla säkerhetsanvisningar för att undvika allvarliga personskador.
Det kan medföra fara för dig och kringstående om maskinen används i andra syften än vad som avsetts.
Läs och se till att du har förstått innehållet i den här bruksanvisningen innan du startar motorn.
Håll händer och fötter på avstånd från maskinens rörliga delar.
Kör endast maskinen om skydd och andra säkerhetsanordningar sitter på plats och fungerar.
Håll avstånd till utkastaröppningen. Håll kringstående och husdjur på säkert avstånd från maskinen.
Håll barn på säkert avstånd från arbetsområdet. Låt aldrig barn använda maskinen.
Stanna maskinen och stäng av motorn innan du utför service på, tankar eller rensar maskinen.
Felaktigt bruk eller underhåll av maskinen kan leda till personskador. För att minska risken för skador ska du alltid följa säkerhetsanvisningarna och uppmärksamma varningssymbolen. Symbolen betyder Var försiktig, Varning eller Fara – anvisning om personsäkerhet. Underlåtenhet att följa anvisningarna kan leda till personskador eller dödsfall.
Ytterligare säkerhetsinformation finns i den här bruksanvisningen.
Maskinens motor uppfyller kraven i EU Stage 3A.
![]() |
Säkerhetsdekalerna och anvisningarna är fullt synliga för föraren och finns nära alla potentiella farozoner. Dekaler som har skadats eller ramlat bort ska bytas ut eller ersättas. |























Note: Vänster och höger sida på maskinen är lika med förarens vänstra respektive högra sida vid normal körning.
Beroende på vilken bredd klippenheterna som ska monteras på traktorenheten har justerar du stödvalsarna enligt följande:
Parkera maskinen på ett plant underlag, koppla in parkeringsbromsen, stäng av motorn och ta ut nyckeln.
Delar som behövs till detta steg:
| Varningsdekal | 1 |
Fäst varningsdekalen för CE (artikelnr 120-1686) ovanpå standarvarningsdekalen (artikelnr 120-1683) på maskiner som ska följa CE-bestämmelserna.
Delar som behövs till detta steg:
| Motorhuvslåsfäste | 1 |
| Nit | 2 |
| Skruv (¼ x 2 tum) | 1 |
| Planbricka (¼ tum) | 2 |
| Låsmutter (¼ tum) | 1 |
Kroka av motorhuvsspärren från dess fäste (Figur 4).

Ta bort de två nitarna som fäster motorhuvslåsfästet på motorhuven (Figur 5).

Kroka av motorhuvslåsfästet på motorhuven.
Placera CE-låsfästet och motorhuvslåsfästet på motorhuven när du passar in monteringshålen.
Note: Låsfästet måste ligga mot motorhuven (Figur 5).Ta inte bort bult- och mutterenheten från låsfästets arm.

Rikta in brickorna mot hålen på motorhuvens insida.
Nita fast fästena och brickorna på motorhuven (Figur 6).
Kroka fast spärren på motorhuvslåsfästet (Figur 7).

Skruva i skruven i den andra armen på motorhuvslåsfästet för att låsa spärren på plats (Figur 8).

Dra åt skruven ordentligt, men dra inte åt muttern.
Delar som behövs till detta steg:
| Höger främre slangstyrning | 1 |
| Vänster främre slangstyrning | 1 |
Demontera cylindermotorerna från transportfästena.
Demontera transportfästena och kasta dem.
Ta ut klippenheterna ur kartongerna.
Montera och justera dem i enlighet med anvisningarna i bruksanvisningen till klippenheterna.
Kontrollera att motvikten (Figur 9) har monterats på rätt sida av klippenheten i enlighet med anvisningarna i bruksanvisningen till klippenheterna.

Alla klippenheter levereras med gräsutjämningsfjädern monterad på klippenhetens högra sida. Gräsutjämningsfjädern måste monteras på samma sida av klippenheten som cylinderns drivmotor. Flytta gräsutjämningsfjädern på följande sätt:
Demontera de två vagnskruvar och muttrar som håller fast stångbeslaget på klippenhetens flikar (Figur 10).

Demontera den flänsmutter som håller fast fjäderrörets bult på bärramens flik (Figur 10).
Ta bort enheten.
Montera fjäderrörets bult på bärramens motsatta flik, och fäst skruven med flänsmuttern.
Note: Placera bultens huvud mot flikens yttre sida såsom visas i Figur 11.

Montera stångbeslaget på klippenhetens flikar med hjälp av vagnskruvarna och muttrarna (Figur 11). Montera den vänstra slangstyrningen längst fram på klippenhetens flikar när du monterar om stångbeslaget på klippenheten (Figur 13).
Important: Använd stångbeslagets fästmuttrar när du monterar slangstyrningen längst fram på klippenhetens flikar på den fjärde (vänster fram) och femte (höger fram) klippenheten. Slangstyrningen ska luta mot klippenheten i mitten (Figur 12 till Figur 14).



Note: Sätt hårnålssprinten i fjäderstångens hål bredvid stångbeslaget när du monterar eller demonterar klippenheterna. I annat fall måste hårnålssprinten monteras i hålet i stångens ände.
Öka styrningen på de bakre klippenheterna genom att ta bort de två vridbrickorna, insexskruvarna och flänslåsmuttrarna (Figur 15) från de bakre klippenheternas bärramar (klippenhet 2 och 3). Se Figur 12.

Sänk ned alla lyftarmar helt.
Smörj bärramens axel med rent fett (Figur 16).

Vid montering av de främre klippenheterna ska en klippenhet skjutas in under lyftarmen samtidigt som bärramens axel förs upp och in i lyftarmens svängok (Figur 16). Kontrollera att tryckbrickan sitter på plats på bärramens axel.
Fäst bärramens axel på lyftarmens ok med hjälp av sprinten (Figur 16).
Lås fast styrningen på klippenheterna genom att fästa svängoket vid bärramen med låsstiftet (Figur 17).

Note: Fast styrning rekommenderas vid klippning i sluttningar.
Följ anvisningarna nedan för att montera de bakre klippenheterna när klipphöjden är över 19 mm.
Fäst lyftarmens kedja på kedjefästet med låsstiftet (Figur 19).
Note: Använd så många kedjelänkar som rekommenderas i bruksanvisningen till klippenheterna.

Stryk på rent fett på cylindermotorns räfflade axel.
Olja in cylindermotorns o-ring och montera den på motorflänsen.
Montera motorn genom att vrida den medurs så att motorflänsarna går fria från skruvarna (Figur 20).

Vrid motorn moturs så att skruvarna omges av flänsarna, och dra sedan åt skruvarna.
Important: Se till att cylindermotorns slangar inte är vridna, har snott sig eller att de kan komma i kläm.
Gräsutjämningsfjädern (Figur 21) överför vikt från den främre till den bakre valsen. Detta hjälper till att minska förekomsten av det vågformade mönster i gräsmattan som kallas för ”ondulering” eller ”bobbing”.
Important: Justera fjädern med klippenheten monterad på traktorenheten, riktad rakt fram och nedsänkt till verkstadsgolvet.
Se till att hårnålssprinten sitter i det bakre hålet på fjäderstången (Figur 21).
Note: Vid service av klippenheten flyttar du hårnålssprinten till fjäderstångshålet bredvid gräsutjämningsfjädern.

Dra åt sexkantsmuttrarna på fjäderstångens främre ände tills fjäderns sammanpressade längd är 15,9 cm, se Figur 21.
Note: Förkorta fjäderns längd med 13 mm om du ska använda maskinen i ojämn terräng. Detta medför en något minskad kontakt med marken.
Note: Gräsutjämningsinställningen måste ställas in igen om klipphöjdsinställningen eller klippintensitetsinställningen ändras.
Delar som behövs till detta steg:
| Klippenhetens stöd | 1 |
Om du behöver välta klippenheten för att få tillgång till understålet eller cylindern, ska du lägga klippenhetens bakdel på stödet så att inte muttrarna på bakre delen av underknivstångens justerskruvar vilar mot arbetsytan (Figur 22).

Fäst stödet i kedjefästet med låsstiftet (Figur 23).

Innan maskinen används måste den smörjas för att man ska få rätt smörjegenskaper. Se Smörjning. Om man inte smörjer maskinen riktigt kommer dess komponenter att gå sönder i förtid.
Kontrollera smörjemedelsnivån för bakaxeln innan motorn startas. Se Kontrollera bakaxelns oljenivå.
Kontrollera hydraulvätskenivån innan motorn startas för första gången. Se Kontrollera hydraulvätskenivån.
Kontrollera motoroljenivån före och efter att motorn startas för första gången. Se Kontrollera nivån för motorolja.
Delar som behövs till detta steg:
| Mätstång | 1 |
Justera klippenheten med hjälp av mätstången. Mer information om justeringen finns i bruksanvisningen till klippenheterna (Figur 24).

De två fotpedalerna (Figur 25) sköter individuella hjulbromsar och underlättar svängning och körning i backar.
Pedallåsspärren (Figur 25) kopplar samman pedalerna för att dra åt parkeringsbromsen.
Lägg i parkeringsbromsen (Figur 25) genom att koppla ihop pedalerna med pedallåsspärren och trampa ner den högra bromspedalen samtidigt som du ansätter fotpedalen. Frigör parkeringsbromsen genom att trampa ner en av bromspedalerna tills parkeringsbromsspärren lossas.

Gaspedalen (Figur 25) reglerar körning framåt och bakåt. Tryck ned pedalens övre del för att köra framåt och dess undre del för att backa. Hastigheten står i proportion till hur mycket du trycker ned pedalen. Om du vill köra i maxhastighet för du gasreglaget till det SNABBA läget och trampar ned pedalen helt.
Du stannar maskinen genom att försiktigt lyfta foten från gaspedalen och låta pedalen återgå till mittläget.
Om du vill luta ratten mot dig ska du trampa ned fotpedalen (Figur 25) och dra ratten mot dig så att den sitter bekvämt, och sedan släppa upp pedalen.
När klipphastighetsbegränsaren (Figur 26) vrids upp reglerar den klipphastigheten och gör så att klippenheterna kan kopplas in. Varje distansbricka justerar klipphastigheten med 0,8 km/h. Ju fler distansbrickor du sätter på skruven, desto långsammare går maskinen. Under transport ska du vrida ned klipphastighetsbegränsaren så att maskinen får maximal transporthastighet.
Justera skruven/skruvarna (Figur 26) för att begränsa hur långt pedalen kan trampas ned vid körning framåt eller bakåt, vilket begränsar hastigheten.
Important: Hastighetsbegränsarskruven måste stanna gaspedalen innan pumpen når fullt kolvslag, annars kan skador uppstå på pumpen.

Med det här reglaget (Figur 27) kan du höja och sänka klippenheterna samt starta och stoppa cylindrarna när de har aktiverats i klippläget. Det går inte att sänka klippenheterna när spaken för klippning/transport har satts i transportläget.
Tändningslåset (Figur 27) har tre lägen: AV, På/FöRVäRMNING och START.
På LCD-skärmen InfoCenter visas information om din maskin, t.ex. driftsstatus, diagnostik och övrig information om maskinen (Figur 27).
Figur 27Kraftuttagsbrytaren har två lägen: START och STOPP. Tryck kraftuttagsbrytaren framåt för att aktivera klippenhetens knivar. Tryck knappen bakåt för att avaktivera klippenhetens knivar.

Motorhastighetsknappen (Figur 27) har två lägen för ändring av motorhastigheten. Om du trycker kort på knappen kan motorhastigheten ökas eller minskas i steg om 100 varv/minut. Om du håller knappen intryckt går maskinen automatiskt till hög eller låg tomgång, beroende på vilken ände av knappen som är nedtryckt.
Vrid omkopplaren nedåt för att tända strålkastarna (Figur 27).
Använd kraftuttaget (Figur 28) för att driva elektrisk extrautrustning med 12 V.

Använd påshållaren (Figur 29) för förvaring.

Använd slipningsspakarna för att slipa cylindrarna (Figur 30).


Dra spaken utåt för att skjuta sätet framåt och bakåt (Figur 31).
Vrid på ratten för att justera armstödets vinkel (Figur 31).
Flytta spaken för att justera ryggstödets vinkel (Figur 31).
Anger när sätet är inställt efter förarens vikt (Figur 31). Höjdjusteringen görs genom att fjädringen ställs in i det gröna området.
Ställ in sätet efter förarens vikt (Figur 31). Dra upp spaken för att öka lufttrycket och tryck ned spaken för att minska lufttrycket. Sätet är korrekt justerat när viktmätaren är i det gröna området.
LCD-skärmen InfoCenter visar information om din maskin, t.ex. driftsstatus, diagnostik och övrig information om maskinen (Figur 32). InfoCenter har en startskärm och en huvudinformationsskärm. Du kan växla mellan startbilden och huvudinformationsbilden närsomhelst genom att trycka på någon av InfoCenter-knapparna och sedan välja lämplig riktningspil.

Vänster knapp, menyåtkomst-/tillbakaknapp – tryck på den här knappen för att öppna InfoCenter-menyerna. Du kan använda den för att gå ut ur menyn som du använder.
Mittenknapp – använd den här knappen för att bläddra nedåt i menyerna.
Högerknapp – använd den här knappen för att öppna en meny där en högerpil visar att det finns mer innehåll.
Manuell ändring av fläktens blåsriktning – aktivera genom att trycka ned vänster och höger knapp samtidigt.
Pip – aktiveras när du sänker ned däcken eller för meddelanden och fel.
Note: Varje knapps funktion kan ändras beroende på vad tillfället kräver. Vid varje knapp visas en ikon som förklarar den aktuella funktionen.
| SERVICE DUE | Anger när schemalagd service bör utföras |
![]() | Infoikon |
![]() | Timmätare |
![]() | Snabbt |
![]() | Långsamt |
![]() | Ändring av fläktens blåsriktning – anger när fläktens blåsriktning ändras |
![]() | Luftintagsvärmaren är aktiv |
![]() | Höj upp klippenheterna |
![]() | Sänk ned klippenheterna |
![]() | Föraren måste sitta på stolen |
![]() | Parkeringsbromsindikator – anger när parkeringsbromsen är PÅ |
![]() | Identifierar området som högt |
![]() | Neutralläge |
![]() | Identifierar området som lågt |
![]() | Kylvätsketemperatur – visar temperaturen på motorns kylvätska i antingen °C eller °F |
![]() | Temperatur (hög) |
![]() | Nekas eller ej tillåtet |
![]() | Kraftuttaget är inkopplat |
![]() | Motor, start |
![]() | Stopp eller avstängning |
![]() | Motor |
![]() | Tändningslås |
![]() | Anger när klippenheterna sänks ned |
![]() | Anger när klippenheterna höjs upp |
![]() | PIN-kod |
![]() | Hydrauloljans temperatur anger hydrauloljans temperatur |
![]() | CAN-buss |
![]() | InfoCenter |
![]() | Ogiltig eller misslyckad |
![]() | Lampa |
![]() | Utmatning från TEC-styrenheten eller styrkabel i kablage |
![]() | Högt: över det tillåtna området |
![]() | Lågt: under det tillåtna området |
/![]() | Utanför området |
![]() | Brytare |
![]() | Föraren måste frisläppa brytaren |
![]() | Föraren ska ändra till det angivna läget |
| Symbolerna kombineras ofta och skapar meningar. Vissa av exemplen visas nedan. | |
![]() | Föraren ska ställa maskinerna i neutralläget |
![]() | Motorstart nekad |
![]() | Motorn stängs av |
![]() | Motorns kylvätska är för varm |
![]() | Hydrauloljan är för varm |
![]() | Sitt ned eller lägg i parkeringsbromsen |
Tryck på menyåtkomstknappen i huvudskärmen för att få åtkomst till InfoCenters menysystem. Då kommer du till huvudmenyn. Se följande tabeller för en sammanfattning av vilka alternativ som finns tillgängliga från menyerna:
| Huvudmeny | |
| Menyobjekt | Beskrivning |
| Fel | Felmenyn innehåller en lista med de senaste maskinfelen som uppstått. Läs servicehandboken eller kontakta din auktoriserade Toro-återförsäljare för mer information om felmenyn och informationen som finns där. |
| Service | Servicemenyn innehåller information om maskinen som t.ex. antal brukstimmar och andra liknande siffror. |
| Diagnostik | Diagnostikmenyn visar statusen för alla brytare, givare och styruteffekt på maskinen. Den kan användas för att felsöka vissa problem eftersom den snabbt visar vilka av maskinens reglage som är på och av. |
| Inställningar | Med hjälp av inställningsmenyn kan du anpassa och ändra konfigurationsvariabler på InfoCenter-skärmen. |
| Om | I menyn Om står maskinens modellnummer, artikelnummer och programvaruversion. |
| Service | |
| Menyobjekt | Beskrivning |
| Hours | Anger det totala antal timmar som maskinen, motorn och kraftuttaget har varit på samt antalet timmar som maskinen har transporterats och när det är dags för service. |
| Counts | Anger händelser som har inträffat i maskinen. |
| Diagnostik | |
| Menyobjekt | Beskrivning |
| Cutting Units | Anger indata, kvalificerare och utdata för höjning och sänkning av klippenheterna. |
| Hi/Low Range | Anger indata, kvalificerare och utdata för körning i transportläge. |
| PTO | Anger indata, kvalificerare och utdata för aktivering av PTO-kretsen. |
| Engine Run | Anger indata, kvalificerare och utdata för start av motorn. |
| Backlap | Anger indata, kvalificerare och utdata för hantering av slipningsfunktionen. |
| Inställningar | |
| Menyobjekt | Beskrivning |
| Enheter | Styr enheterna som används på InfoCenter. Menyalternativen är brittiska standardenheter eller metriska |
| Språk | Styr språken som används på InfoCenter*. |
| Bakgrundsbelysning | Styr LCD-skärmens ljusstyrka. |
| Kontrast | Styr LCD-skärmens kontrast. |
| Cylinderhastighet för främre slipningsspak | Styr hastigheten hos de främre cylindrarna i slipningsläge. |
| Cylinderhastighet för bakre slipningsspak | Styr hastigheten hos de bakre cylindrarna i slipningsläge. |
| Låsta menyer | Ger arbetsledaren/mekanikern åtkomst till låsta menyer med hjälp av ett lösenord. |
| Auto. tomgång | Styr den tid det tar innan motorn går på låg tomgång när maskinen inte används. |
| Antal knivar | Styr antalet knivar på cylindern för cylinderhastighet. |
| Klipphast. | Styr markhastigheten för bestämning av cylinderhastigheten. |
| Klipphöjd | Styr klipphöjden för bestämning av cylinderhastigheten. |
| Varvtal för främre cylinder | Visar de främre cylindrarnas beräknade hastighet. Cylindrarna kan också justeras manuellt. |
| Varvtal för bakre cylinder | Visar de bakre cylindrarnas beräknade hastighet. Cylindrarna kan också justeras manuellt. |
* Endast text som är riktad mot föraren är översatt. Skärmarna Fel, Service och Diagnostik visas vid service. Rubrikerna visas på det valda språket men menyobjekten är på engelska.
| Om | |
| Menyobjekt | Beskrivning |
| Modell | Visar maskinens modellnummer. |
| Art.nr | Visar maskinens artikelnummer. |
| Maskinstyrenhetens versionsnummer | Visar versionsnumret för masterstyrenheten. |
| InfoCenter-versionsnummer | Visar versionsnumret för InfoCenter. |
| CAN-buss | Visar status för maskinens kommunikationsbuss. |
Det finns fem inställningar för driftskonfigurering som kan justeras på inställningsmenyn i InfoCenter: Antal knivar, Klipphast., Klipphöjd, Varvtal för främre cylinder och Varvtal för bakre cylinder. Inställningarna kan låsas med hjälp av den låsta menyn.
Note: Den initiala lösenordskoden har programmerats av återförsäljaren vid leverans.
Från huvudmenyn bläddrar du ned till inställningsmenyn och trycker på högerknappen.
I huvudmenyn bläddrar du ned till den låsta menyn och trycker på högerknappen.
För att ange lösenordet använder du mittknappen för att ange den första siffran och trycker på högerknappen för att gå till nästa siffra.
Använd mittknappen för att ange den andra siffran och tryck sedan på högerknappen för att gå till nästa siffra.
Använd mittknappen för att ange den tredje siffran och tryck sedan på högerknappen för att gå till nästa siffra.
Använd mittknappen för att ange den fjärde siffran och tryck sedan på högerknappen.
Tryck på mittknappen för att ange koden.
Om koden bekräftas och den låsta menyn har låsts upp visas PIN längst upp till höger på displayskärmen.
Möjligheten att visa och ändra inställningarna i den låsta menyn kan ändras. När den låsta menyn har öppnats bläddrar du ned till Lås inställn. Om du ändrar Lås inställn. till AV med hjälp av högerknappen kan du visa och ändra inställningarna på den låsta menyn utan att ange lösenordet. Om du ändrar Lås inställn. till PÅ döljs de låsta alternativen och du måste ange ett lösenord för att ändra inställningarna i den låsta menyn. När lösenordet har ställts in måste tändningslåset stängas av och slås på igen för att funktionen ska sparas.
Note: Kontakta återförsäljaren om du har glömt eller tappat bort lösenordet.
Bläddra ned till Auto. tomgång i inställningsmenyn.
Tryck på högerknappen för att ändra tiden för automatisk tomgång mellan AV, 8 s, 10 s, 15 s, 20 s och 30 s.
Bläddra till Antal knivar på inställningsmenyn.
Tryck på högerknappen för att ändra antal knivar till 5, 8 eller 11 knivar.
Bläddra till Klipphast. på inställningsmenyn.
Tryck på högerknappen för att välja klipphastighet.
Välj lämplig klipphastighet för gaspedalens mekaniska klipphastighetsbegränsare med hjälp av mitten- och högerknappen.
Avsluta och spara klipphastighetsinställningen genom att trycka på vänsterknappen.
Bläddra till Klipphöjd på inställningsmenyn.
Välj Klipphöjd genom att trycka på högerknappen.
Välj lämplig klipphöjdsinställning med hjälp av mitten- och högerknappen.
Note: Om den exakta inställningen inte visas väljer du närmaste klipphöjdsinställning i listan som visas.
Avsluta och spara klipphöjdsinställningen genom att trycka på vänsterknappen.
Hastigheten för de främre och bakre cylindrarna beräknas utifrån den information om antal knivar, klipphastighet och klipphöjd som anges i InfoCenter, men du kan även ändra inställningen manuellt och därmed anpassa den till olika klippförhållanden.
Bläddra till varvtalet för främre cylinder och/eller varvtalet för bakre cylinder.
Ändra värdet för cylinderhastighet genom att trycka på högerknappen. När hastighetsinställningen har ändrats kommer det värde som har beräknats utifrån angiven information om antal knivar, klipphastighet och klipphöjd fortsätta att visas på displayen tillsammans med det nya värdet.
Note: Delarnas specifikationer och utformning kan ändras utan föregående meddelande.
| Klippbredd, 69 cm breda klippenheter | 307 cm |
| Klippbredd, 81 cm breda klippenheter | 320 cm |
| Total maskinbredd med klippenheterna (69 cm) nedsänkta | 345 cm |
| Total maskinbredd med klippenheterna (81 cm) nedsänkta | 358 cm |
| Total maskinbredd med klippenheterna upplyfta (transport) | 239 cm |
| Total längd | 370 cm |
| Höjd med vältskydd | 220 cm |
| Bandbredd, fram | 229 cm |
| Bandbredd, bak | 141 cm |
| Hjulbas | 171 cm |
| Nettovikt (utan klippenheter och vätskor) | 1 574 kg |
Det finns ett urval av godkända Toro-redskap och -tillbehör som du kan använda för att förbättra och utöka maskinens kapacitet. Kontakta en auktoriserad serviceverkstad eller återförsäljare eller gå till www.Toro.com för att se en lista över alla godkända redskap och tillbehör.
Note: Vänster och höger sida på maskinen är lika med förarens vänstra respektive högra sida vid normal körning.
Låt aldrig barn eller någon som inte har fått utbildning använda eller utföra underhåll på maskinen. Lokala föreskrifter kan begränsa förarens ålder. Det är ägaren som ansvarar för att utbilda alla förare och mekaniker.
Lär dig hur du använder utrustningen på ett säkert sätt och bekanta dig med manöverorgan och säkerhetsskyltar.
Lär dig att stanna maskinen och motorn snabbt.
Kontrollera att förarkontroller, säkerhetsbrytare och skydd sitter fast och fungerar som de ska. Kör inte maskinen om dessa inte fungerar som de ska.
Före klippning ska du alltid kontrollera att knivarna, knivbultarna och klippenheterna är i gott fungerande skick. Byt ut slitna eller skadade knivar och skruvar i satser så att balanseringen bibehålls.
Inspektera området där maskinen ska användas och ta bort föremål som maskinen kan slunga iväg.
Var ytterst försiktig när du hanterar bränsle. Det är brandfarligt och dess ångor är explosiva.
Släck alla cigaretter, cigarrer, pipor och allt annat som brinner.
Använd endast en godkänd bränsledunk.
Ta aldrig bort tanklocket och fyll aldrig på bränsle i bränsletanken medan motorn är igång eller fortfarande är varm.
Fyll aldrig på bränsle i maskinen i ett slutet utrymme.
Förvara aldrig maskinen eller bränslebehållaren i närheten av en öppen låga, gnista eller tändlåga, t.ex. på en varmvattenberedare eller någon annan maskin.
Om du spiller ut bränsle ska du inte försöka starta motorn. Undvik att skapa några gnistor tills bränsleångorna har skingrats.
Läs alla säkerhetsanvisningar och symboler i avsnittet om säkerhet noga. Att känna till den här informationen kan hjälpa dig och kringstående att undvika skador.
Körning på vått gräs eller i branta sluttningar kan orsaka slirning eller förlust av kontrollen.
Hjul som glider över en kant kan orsaka vältolyckor vilket kan resultera i allvarliga skador, dödsfall eller drunkning.
Läs och följ anvisningarna och varningarna som rör vältning.
Följ anvisningarna nedan för att undvika att förlora kontrollen och välta klipparen.
Använd inte maskinen nära stup eller vattendrag.
Kör inte i backar med brantare lutning än vad som har angetts för modellen.
Minska hastigheten och var ytterst försiktig vid arbete i sluttningar.
Undvik att svänga plötsligt eller snabbt ändra hastighet.
Denna maskin ger ljudnivåer som kan orsaka hörselskador vid längre arbetspass.
Använd hörselskydd när du kör denna maskin.

| Underhållsintervall | Underhållsförfarande |
|---|---|
| Varje användning eller dagligen |
|
Motorn levereras med olja i vevhuset. Oljenivån måste dock kontrolleras innan och efter motorn startas första gången.
Vevhusets kapacitet är ca 9,5 liter med filter.
Använd högkvalitativ motorolja som uppfyller följande specifikationer:
Nödvändig API-klassificering: CH-4, CI-4 eller högre.
Rekommenderad olja: SAE 15W-40: över –18 °C
Alternativ olja: SAE 10W-30 eller 5W-30 (alla temperaturer)
Note: Toro Premium-motorolja finns tillgänglig att köpa från din återförsäljare med oljeviskositet på 15W-40 eller 10W-30. Se reservdelskatalogen för artikelnummer.
Note: Det är bäst att kontrollera motoroljan när motorn är kall, innan den har startats för dagen. Om motorn redan har varit igång, ska du låta oljan rinna tillbaka ned till sumpen i minst 10 minuter innan du kontrollerar den. Fyll på olja tills nivån når upp till markeringen ”Full” på oljestickan om nivån ligger på eller under markeringen ”Add”. Fyll inte på för mycket i motorn. Du behöver inte fylla på olja om nivån ligger mellan markeringarna Full och Add.
Parkera maskinen på en plan yta.
Lossa motorhuvsspärrarna och öppna huven (Figur 34).

Ta ut oljestickan, torka av den, sätt tillbaka den i röret och dra ut den igen.
Oljenivån ska ligga inom de säkra markeringarna (Figur 35).

Om oljenivån ligger under den säkra markeringen tar du av påfyllningslocket (Figur 36) och fyller på olja tills nivån når markeringen Full.
Important: Fyll inte på för mycket i motorn.

Note: När du använder annan olja, bör du tappa ut all gammal olja ur vevhuset innan du fyller på ny olja.
Sätt tillbaka påfyllningslocket och oljestickan.
Stäng huven och lås den med spärrarna.
| Underhållsintervall | Underhållsförfarande |
|---|---|
| Varje användning eller dagligen |
|
Kontrollera kylvätskenivån varje dag innan motorn startas. Systemet rymmer 12,3 liter.
Ta av kylarlocket försiktigt.
Om motorn har varit igång kan det trycksatta, heta kylmedlet läcka ut och orsaka brännskador.
Ta inte bort kylarlocket när motorn är igång.
Ta hjälp av en trasa för att öppna kylarlocket och öppna locket sakta så att ånga kan komma ut.

Kontrollera kylvätskenivån i kylaren.
Note: Kylaren ska fyllas upp till påfyllningsrörets översta del och expansionstanken ska fyllas upp till Full-markeringen (Figur 37).
Tillsätt en 50/50-blandning av vatten och frostskyddsmedel med etylenglykol om kylvätskenivån är låg.
Note: Använd inte enbart vatten och inte heller alkohol-/metanolbaserade kylvätskor.
Sätt tillbaka kylarlocket och locket till expansionstanken.
Bränsletankens kapacitet: 83 liter.
Använd endast rent, färskt dieselbränsle med mycket lågt (< 15 ppm) svavelinnehåll som uppfyller ASTM D975 eller EN590. Minsta cetantal ska vara 40. Köp inte mer bränsle än vad som går åt inom 180 dagar så att det garanterat är färskt.
Important: Om du använder bränsle som har högre svavelinnehåll skadas motorns emissionssystem.
Använd diesel för sommarbruk (nr 2-D) vid temperaturer över –7 °C och diesel för vinterbruk (nr 1-D eller blandning av nr 1-D/2-D) under –7 °C. Användning av bränsle för vinterbruk vid lägre temperaturer ger lägre flampunkts- och flytpunktsegenskaper, vilket gör att maskinen startar lättare och att bränslefiltret inte sätts igen lika mycket.
Om diesel för sommarbruk används vid temperaturer över −7 °C bidrar det till att pumpen håller längre och har större effekt jämfört med bränsle för vinterbruk.
Important: Använd inte fotogen eller bensin istället för dieselbränsle. Motorn skadas om detta råd inte följs.
Maskinen kan också använda ett biodieselbränsle, upp till B20 (20 % biodiesel, 80 % petrodiesel). Petrodieselandelens svavelhalt ska vara låg eller mycket låg. Vidta följande säkerhetsåtgärder:
Bränslets biodieselandel måste uppfylla någon av specifikationerna ASTM D6751 eller SS-EN 14214.
Bränsleblandningens sammansättning ska uppfylla ASTM D975 eller SS-EN 590.
Målade ytor kan skadas av biodiesel.
Använd B5 (andel biodiesel är 5 %) eller blandningar med mindre biodieselandel vid kallt väder.
Kontrollera alla tätningar, slangar och packningar som kommer i kontakt med bränslet eftersom de kan försämras med tiden.
Vid byte till biodiesel kan bränslefiltret sättas igen efter en tid.
Kontakta din återförsäljare om du vill ha mer information om biodiesel.
Bränsle är skadligt eller dödligt om det förtärs. Längre exponering för bränsleångor kan orsaka allvarliga skador och sjukdom.
Undvik att andas in bränsleångor under en längre tid.
Håll ansiktet borta från munstycket och bränsletanken eller stabilisatoröppningen.
Håll bränsle borta från ögon och hud.
Under vissa förhållanden är bränsle extremt brandfarligt och mycket explosivt. Brand eller explosion i bränsle kan orsaka brännskador och materiella skador.
Fyll tanken på en öppen plats, utomhus, när motorn är kall. Torka upp utspillt bränsle.
Fyll aldrig på bränsletanken i en sluten släpvagn.
Rök aldrig när du handskas med bensin och håll dig borta från öppen eld eller platser där bensinångor kan antändas av gnistor.
Förvara bränslet i en godkänd dunk och håll den utom räckhåll från barn. Köp aldrig mer bränsle än vad som går åt inom 180 dagar.
Kör inte maskinen utan att ha hela avgassystemet på plats och i gott fungerande skick.
Vid tankning under vissa förhållanden kan statisk elektricitet frigöras och orsaka gnistor som kan antända bensinångorna. Brand eller explosion i bränsle kan orsaka brännskador och materiella skador.
Ställ alltid bränsledunkar på marken en bit bort från ditt fordon före påfyllning.
Fyll inte på bränsledunkar inne i ett fordon eller på lastbilsflak eller släp, eftersom plastmattor och liknande kan isolera dunken och förlänga urladdningstiden för statisk elektricitet.
Lasta av maskinen från lastbilen eller släpet om så är praktiskt möjligt och fyll på bränsle när maskinen står på marken.
Fyll på maskinen från en dunk hellre än med munstycket på en bränslepump om det inte är möjligt att lasta av maskinen från lastbilen eller släpet.
Håll hela tiden kontakt mellan munstycket på bränslepumpen och kanten på tank- eller dunköppningen tills tankningen är klar om tankning måste ske från en bränslepump.
Parkera maskinen på en plan yta.
Gör rent runt tanklocket med hjälp av en ren trasa.
Ta bort locket från bränsletanken (Figur 38).

Fyll tanken med bränsle tills nivån ligger precis vid påfyllningsrörets nedersta del.
Sätt tillbaka tanklocket och dra åt ordentligt när du har fyllt på tanken.
Note: Fyll om möjligt på tanken varje gång maskinen har använts. Detta minskar eventuell ansamling av kondens i bränsletanken.
| Underhållsintervall | Underhållsförfarande |
|---|---|
| Varje användning eller dagligen |
|
Hydraultanken fylls på fabriken med ca 28,4 liter högkvalitativ hydraulvätska. Kontrollera hydraulvätskenivån innan motorn startas för första gången och därefter dagligen.
Rekommenderad utbytesvätska är hydraulvätska av typen Toro Premium All Season Hydraulic Fluid. (Finns i hinkar om 19 liter eller fat om 208 liter. Se reservdelskatalogen eller kontakta en Toro-återförsäljare för artikelnummer).
Alternativa vätskor: Om du inte har tillgång till Toro-vätskan kan du använda andra vedertagna petroleumbaserade vätskor, under förutsättning att de uppfyller nedanstående materialegenskaper och branschspecifikationer. Kontrollera med din oljeleverantör att vätskan uppfyller dessa specifikationer.
Note: Toro ansvarar inte för skador som uppstått till följd av att felaktiga vätskor använts. Använd därför endast produkter från välkända tillverkare som ansvarar för sina rekommendationer.
| Nötningsförhindrande flergradig hydraulvätska med hög viskositet/låg flytpunkt, ISO VG 46 | |||
| Materialegenskaper: | |||
| Viskositet, ASTM D445 | cSt vid 40 °C: 44 till 48cSt vid 100 °C: 7,9 till 9,1 | ||
| Viskositetsindex, ASTM D2270 | 140 eller högre (högt viskositetsindex anger en flerviktsvätska) | ||
| Flytpunkt, ASTM D97 | -37 °C till -45 °C | ||
| FZG, steg för fel | 11 eller bättre | ||
| Vatteninnehåll (ny vätska) | 500 ppm (max.) | ||
| Branschspecifikationer: | |||
| Vickers I-286-S, Vickers M-2950-S, Denison HF-0, Vickers 35 VQ 25 (Eaton ATS373-C) | |||
Lämpliga hydraulvätskor måste vara angivna för mobila maskiner (i motsats till användning på en industriell anläggning), av flerviktstyp, med nötningsförhindrande ZnDTP- eller ZDDP-tillsatspaket (inte en askfri vätsketyp).
Important: Den flergradiga hydraulvätskan ISO VG 46 har visat sig ge optimal prestanda vid en mängd olika temperaturförhållanden. Hydraulvätskan ISO VG 68 kan ge bättre prestanda vid användning i konstant höga omgivningstemperaturer, dvs. 18 till 49 °C.
Biologiskt nedbrytbar premiumhydraulvätska – MobilEAL EnviroSyn 46H
Important: Mobil EAL EnviroSyn 46H är den enda syntetiska, biologiskt nedbrytbara vätskan som har godkänts av Toro. Vätskan kan blandas med de elastomerer som används i Toros hydraulsystem och kan användas i många olika temperaturer. Vätskan kan blandas med traditionella vätskor, men för största möjliga biologiska nedbrytbarhet och prestanda bör hydraulsystemet sköljas noga så att inga traditionella vätskor finns kvar. Du kan köpa vätskan i dunkar om 19 liter eller fat om 208 liter hos din Mobil-återförsäljare.
Important: Många hydraulvätskor är nästintill färglösa vilket gör det svårt att upptäcka läckor. Det finns en rödfärgstillsats till hydraulvätskan i flaskor om 20 ml. En flaska räcker till 15–22 liter hydraulvätska. Beställ artikelnr 44-2500 från en auktoriserad Toro-återförsäljare.
Ställ maskinen på en plan yta, sänk ner klippenheterna, stäng av motorn och ta ur nyckeln.
Gör rent omkring påfyllningsröret och hydraultanklocket (Figur 39).

Skruva av tanklocket på påfyllningsröret.
Ta ut oljestickan ur påfyllningsröret och torka av den med en ren trasa.
För in oljestickan i påfyllningsröret, och ta sedan ut den igen och kontrollera oljenivån.
Note: Nivån ska ligga mellan de två märkena på oljestickan.
Fyll på lämplig vätska så att nivån når upp till den övre markeringen om nivån är låg.
Sätt tillbaka oljestickan och locket på påfyllningsröret.
| Underhållsintervall | Underhållsförfarande |
|---|---|
| Varje användning eller dagligen |
|
Däcken levereras med förhöjt tryck. Lufta därför däcken en aning för att minska trycket. Lufttrycket i däcken ska vara 0,83–1,03 bar. Kontrollera däcktrycket dagligen.
Important: Upprätthåll rekommenderat tryck i alla däck för att få god klippkvalitet och korrekt maskindrift. Däcken får inte vara för löst pumpade.
Ägaren/operatören kan förebygga och ansvarar för olyckor som kan ge upphov till personskador eller skador på egendom.
Använd lämpliga kläder samt skyddsglasögon, hörselskydd och rejäla, halkfria skor. Sätt upp långt hår och använd inte smycken.
Kör inte maskinen om du är sjuk, trött eller påverkad av alkohol eller läkemedel.
Låt aldrig passagerare åka på maskinen och håll kringstående personer och husdjur på avstånd från maskinen under drift.
Använd endast maskinen om du har god sikt, så att du kan undvika gropar och dolda faror.
Undvik att klippa vått gräs. Försämrat grepp kan göra att maskinen glider.
Se till att alla drivenheter är i neutralläge, parkeringsbromsen är inkopplad och du sitter i förarsätet innan du startar motorn.
Håll händer och fötter borta från klippenheterna. Håll alltid avstånd till utkastaröppningen.
Titta bakåt och nedåt innan du backar för att se till att vägen är fri.
Var försiktig när du närmar dig hörn med skymd sikt, buskage, träd eller andra objekt som kan försämra sikten.
Klipp inte gräset nära stup, diken eller flodbäddar. Maskinen kan välta plötsligt om ett hjul kör över en kant eller kanten ger med sig.
Stoppa klippenheterna om du inte klipper.
Stanna maskinen och undersök klippenheterna om du kör på ett föremål eller om maskinen vibrerar på ett onormalt sätt. Reparera alla skador innan du börjar köra maskinen igen.
Sakta ned och var försiktig när du svänger och korsar vägar och trottoarer med maskinen. Lämna alltid företräde.
Koppla ur drivningen till klippenheten och stäng av motorn innan du ställer in klipphöjden (om du inte kan justera den från förarplatsen).
Låt aldrig motorn gå i ett utrymme där avgaser inte kan komma ut.
Lämna aldrig en maskin som är i gång utan uppsikt.
Innan du lämnar förarplatsen (till exempel för att tömma gräsuppsamlarna eller för att rensa utkastaren) ska du göra följande:
Ställ maskinen på en plan yta.
Koppla ur kraftuttaget och sänk ned redskapen.
Koppla in parkeringsbromsen.
Stäng av motorn och ta ut nyckeln.
Vänta tills alla rörliga delar har stannat.
Använd inte maskinen när det finns risk för blixtnedslag.
Använd inte maskinen som bogserfordon.
Använd endast tillbehör, redskap och reservdelar som har godkänts av Toro®.
Ta inte bort vältskyddet från maskinen.
Kontrollera att säkerhetsbältet är fastspänt och att du kan knäppa upp det snabbt i en nödsituation.
Var mycket uppmärksam på hinder som kan finnas ovanför dig och vidrör dem inte.
Håll vältskyddet i säkert bruksskick genom att regelbundet inspektera det noga och kontrollera att det inte är skadat samt hålla alla fästelement åtdragna.
Byt ut ett skadat vältskydd. Reparera eller ändra det inte.
Använd alltid säkerhetsbältet när störtbågen är uppfälld.
Vältskyddet är en inbyggd säkerhetsanordning. Håll den fällbara störtbågen i upprätt låst läge, och använd säkerhetsbältet när du kör maskinen med störtbågen uppfälld.
Störtbågen ska endast fällas ned tillfälligt när så behövs. Använd inte säkerhetsbältet när störtbågen är nedfälld.
Tänk på att det inte finns något vältskydd när störtbågen är nedfälld.
Kontrollera området som ska klippas och ha aldrig störtbågen nedfälld i närheten av sluttningar, stup eller vattendrag.
Skapa egna rutiner och regler för körning i sluttningar. Rutinerna ska innehålla en kartläggning av arbetsplatsen för att avgöra vilka sluttningar som är säkra för maskindrift. Använd alltid sunt förnuft och ett gott omdöme när du utför kontrollen.
Sluttningar är en betydande faktor vid olyckor som orsakas av förlorad kontroll eller tippning. Sådana olyckor kan orsaka allvarliga personskador eller dödsfall. Om du kör maskinen i en sluttning måste du vara extra försiktig.
Kör maskinen i en lägre hastighet när du befinner dig i en sluttning.
Om du känner dig osäker när du kör maskinen i sluttningar ska du inte köra där.
Se upp för hål, rötter, ojämnheter, stenar och andra dolda risker. Ojämn terräng kan göra att maskinen välter. Det kan finnas dolda hinder i högt gräs.
Välj en låg hastighet så att du inte behöver stanna eller växla när du kör i en sluttning.
Maskinen kan välta innan däcken förlorar greppet.
Kör aldrig maskinen på vått gräs. Däcken kan förlora greppet oavsett om bromsarna är tillgängliga och fungerar.
Undvik att starta, stänga av eller vända maskinen i en sluttning.
Rörelse i sluttningar ska ske långsamt och gradvis. Ändra inte maskinens hastighet eller riktning tvärt.
Kör inte maskinen nära stup, diken, flodbäddar eller vattendrag. Maskinen kan välta plötsligt om ett hjul kör över en kant eller kanten ger med sig. Håll ett säkert avstånd mellan maskinen och riskfyllda områden (två maskinbredder).
Important: Lufta bränslesystemet om något av följande har inträffat:
Motorn har stannat till följd av att bränslet har tagit slut.
Underhåll har utförts på komponenter i bränslesystemet.
Ta bort foten från gaspedalen och kontrollera att pedalen är i NEUTRALLäGET.
Note: Kontrollera att parkeringsbromsen är inkopplad.
För motorhastighetsknappen till läget för LåG TOMGåNG.
Vrid tändningsnyckeln till KöRLäGET.
Note: Glödstiftsindikatorn tänds.
Vid tändningsnyckeln till STARTLäGET när glödindikatorn slocknar.
Släpp nyckeln omedelbart när motorn startar och låt den gå tillbaka till KöRLäGET.
Justera motorhastigheten.
Important: Kör inte startmotorn i mer än 15 sekunder åt gången, annars kan den gå sönder i förtid. Om motorn inte startar efter 15 sekunder vrider du nyckeln till AVSTäNGT läge. Undersök reglagen och procedurerna igen, vänta i ytterligare 15 sekunder och upprepa startproceduren.
Om temperaturen är under –7 °C kan startmotorn vara på i 30 sekunder och sedan vara avstängd i 60 sekunder under två försök.
Kontakt med rörliga delar kan orsaka personskador.
Stäng av motorn och vänta tills samtliga rörliga delar har stannat innan du kontrollerar om det finns oljeläckor, lösa delar eller andra problem.
Important: Låt motorn gå på tomgång i fem minuter innan du stänger av den efter arbete under full belastning. Detta gör att turboladdaren hinner svalna innan motorn stängs av. Om detta inte görs kan det resultera i turboladdningsproblem.
Note: Sänk ned klippenheterna till marken när du parkerar maskinen. Detta frigör den hydrauliska belastningen från systemet, förhindrar slitage på systemets delar och förebygger även att klippenheterna sänks ned av misstag.
Ställ motorn i låg tomgång igen.
För kraftuttagsbrytaren till URKOPPLAT läge.
Koppla in parkeringsbromsen.
Vrid tändningsnyckeln till AV.
Ta ut nyckeln ur tändningslåset för att undvika oavsiktlig start.
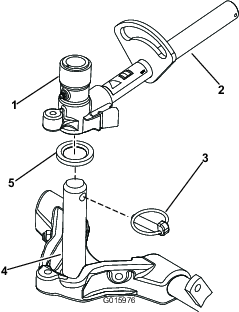
Du kan justera motvikten på den bakre klippenhetens lyftarmar för att kompensera för olika gräsförhållanden och bibehålla en jämn klipphöjd även om marken är ojämn eller i områden med mycket torrt gräs.
Varje motviktsfjäder kan justeras till en av fyra inställningar. För varje steg ökas eller minskas klippenhetens motvikt med 2,3 kg. Du kan även placera fjädrarna på baksidan av fjäderdonet för att eliminera all motvikt (fjärde läget).
Ställ maskinen på ett plant underlag, sänk ned klippenheterna, stäng av motorn, lägg i parkeringsbromsen och ta ut nyckeln ur tändningslåset.
Sätt i ett rör eller liknande i den långa fjäderänden för att minska fjädrarnas spänning under justeringen (Figur 40).
Fjädrarna är spända och kan orsaka personskada.
Var försiktig när du justerar fjädrarna.
När du minskar fjädrarnas spänning ska du ta bort skruven och låsmuttern som håller fast fjäderdonet på fästet (Figur 40).

Flytta fjäderdonet till det hål som önskas och fäst det med en låsmutter.
Upprepa proceduren på den återstående fjädern.
Ställ maskinen på ett plant underlag, sänk ned klippenheterna, stäng av motorn, lägg i parkeringsbromsen och ta ut nyckeln ur tändningslåset.
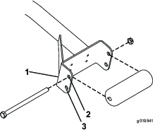
Lyftarmsbrytaren sitter bakom den främre högra lyftarmen (Figur 41).

Lossa brytarens fästskruvar (Figur 41) och flytta upp brytaren för att öka lyftarmens vändhöjd eller flytta ned den för att minska vändhöjden.
Dra åt fästskruvarna.
Du kan fälla ned vältskyddets ram för att komma åt områden där höjden är begränsad.
Maskinen har inget vältskyddssystem när störtbågen är nedfälld och ska inte betraktas som ett vältskyddssystem.
Bär inte säkerhetsbälte när störtbågen är nedfälld.
Ställ maskinen på ett plant underlag, stäng av motorn, lägg i parkeringsbromsen och ta ut nyckeln ur tändningslåset.
Stötta den övre ramens vikt samtidigt som du tar bort låssprintarna och sprintbultarna från tappfästena (Figur 42).
Sänk försiktigt ner ramen tills den vilar på stopparna.
För in sprintbultarna i de nedre hålen och fäst med låssprintarna så att den övre ramen stöttas i sitt nedsänkta läge.
Utför dessa instruktioner i omvänd ordning för att höja ramen.

Vältskyddssystemet kanske inte är effektivt om vältskyddets fästbultsenheter är lösa, vilket kan orsaka allvarliga personskador eller dödsfall vid vältning.
Du måste montera och dra åt båda fästskruvarna helt i det upphöjda läget för att erhålla ett fullgott vältskydd.
När du höjer och sänker vältskyddets ram kan fingrar hamna i kläm mellan maskinen och vältskyddet.
När du höjer och sänker vältskyddet ska du vara försiktig så att du inte klämmer fingrarna mellan strukturens fasta och rörliga delar.
Håll samtliga muttrar, bultar och skruvar korrekt åtdragna för att säkerställa att utrustningen är i säkert bruksskick.
Byt ut slitna och skadade delar så att maskinen går att använda på ett säkert sätt.
Kontrollera att säkerhetsbältet och fästelementen är i säkert bruksskick.
Använd säkerhetsbälte när störtbågen är uppfälld och inget säkerhetsbälte när störtbågen är nedfälld.
Important: Störtbågen är en integrerad säkerhetsanordning. Ha störtbågen i det uppfällda läget när du använder klipparen. Fäll ned störtbågen tillfälligt endast när det är absolut nödvändigt.
| Underhållsintervall | Underhållsförfarande |
|---|---|
| Varje användning eller dagligen |
|
Om säkerhetsbrytarna är frånkopplade eller skadade kan maskinen plötsligt aktiveras vilket i sin tur kan leda till personskador.
Gör inga otillåtna ändringar på säkerhetsbrytarna.
Kontrollera säkerhetsbrytarnas funktion dagligen och byt ut eventuella skadade brytare innan maskinen körs.
Maskinen har säkerhetsbrytare i det elektriska systemet. Dessa brytare är avsedda att stänga av motorn om föraren kliver ur förarsätet samtidigt som gaspedalen är nedtryckt. Föraren kan dock lämna sätet medan motorn är igång och gaspedalen står i neutralläge. Även om motorn kommer att fortsätta vara igång när kraftuttagsbrytaren urkopplats och gaspedalen är släppt, rekommenderas du å det bestämdaste att stänga av motorn innan du stiger ner från sätet.
För att kontrollera säkerhetsbrytarnas funktion utför du följande procedur:
Kör maskinen sakta till ett stort, relativt öppet område.
Sänk ned klippenheterna, stäng av motorn och koppla in parkeringsbromsen.
Sitt på sätet och tryck på gaspedalen.
Försök att starta motorn.
Note: Motorn ska inte gå runt. Om motorn går runt, föreligger ett funktionsfel i säkerhetssystemet som bör åtgärdas innan arbetet återupptas.
Sitt på sätet och starta motorn.
Res dig från sätet och för kraftuttagsbrytaren till läget på.
Note: Kraftuttaget ska inte kopplas in. Om kraftuttaget startar ändå finns det ett funktionsfel i säkerhetssystemet som bör åtgärdas innan arbetet återupptas.
Sitt på sätet, koppla in parkeringsbromsen och starta motorn.
Flytta gaspedalen så att den inte ligger i NEUTRALLäGET.
Note: Motorn ska stängas av. Om motorn inte stängs av finns det ett funktionsfel i säkerhetssystemet som bör åtgärdas innan arbetet återupptas.
Ta bort gräs och skräp från klippenheterna, ljuddämparna och motorrummet för att undvika eldsvåda. Torka upp eventuellt olje- eller bränslespill.
Om klippenheterna är i transportläget ska du använda det positiva låset (om så utrustad) innan du lämnar maskinen utan uppsikt.
Låt motorn svalna innan maskinen ställs undan i ett slutet utrymme.
Stäng av bränsletillförseln på maskinen vid förvaring och transport.
Förvara aldrig maskinen eller bränslebehållaren i närheten av en öppen låga, gnista eller tändlåga, t.ex. på en varmvattenberedare eller någon annan anordning.
Håll alla maskindelar i gott bruksskick och samtliga beslag åtdragna, i synnerhet knivens fästelement.
Byt ut alla slitna eller skadade dekaler.
I nödfall kan du skjuta maskinen framåt genom att aktivera förbikopplingsventilen i den varierbara hydraulpumpen och sedan ansluta en hydraulslang som förbikopplar backventilen, och därefter knuffa eller bogsera maskinen.
Important: Skjut eller bogsera inte maskinen snabbare än 3–4,8 km/h och inte längre än 400 m eftersom transmissionen kan skadas. Förbikopplingsventilen måste alltid vara öppen när maskinen knuffas eller bogseras. Dessutom måste du montera en hydraulslang som kopplar förbi backventilen när du knuffar eller bogserar maskinen bakåt.
Om du behöver knuffa eller bogsera maskinen kommer du förmodligen att behöva flytta den både framåt och bakåt. Det är bäst att se till att maskinen kan knuffas eller bogseras både framåt och bakåt för att säkerställa att den inte skadas under åtgärden.
Important: Om du behöver knuffa eller bogsera maskinen bakåt måste du först koppla förbi backventilen i fyrhjulsdrivningens grenrör.
Följande Toro-delar behövs för att förbikoppla backventilen:
Toro-artikelnr 59-7410, diagnoskoppling
Toro-artikelnr 354-79, lock till diagnoskoppling
Toro-artikelnr 95-8843, hydraulslang
Toro-artikelnr 95-0985, koppling (2)
Toro-artikelnr 340-77, hydraulkoppling (2)
Montera en diagnoskoppling i den omarkerade porten som sitter mellan portarna M8 och P2 på det bakre grenröret (Figur 43).

Anslut en hydraulslang mellan diagnoskopplingen som monterades i det bakre grenröret och tryckkontrollporten för backdrift (Figur 44).
Note: Använd de hydraulkopplingar och kopplingar som behövs för att montera slangen.

Vrid förbikopplingsventilen 90° (¼ varv) i endera riktningen för att öppna den så att vätska kan avledas internt (Figur 45).
Note: Eftersom vätskan leds förbi transmissionen kan du flytta maskinen långsamt utan att transmissionen skadas.Observera ventilens läge när du öppnar och stänger den.

När du har knuffat eller bogserat klart maskinen tar du bort hydraulslangen som du monterade.
Sätt på det befintliga locket på tryckkontrollporten för backdrift.
Sätt på diagnoskopplingslocket på kopplingen som du monterade på grenröret.
Vrid överströmningsventilen 90° (¼ varv) innan motorn startas.
Note: Använd ett åtdragningsmoment på högst 7–11 N·m för att stänga ventilen.
Om du endast behöver knuffa eller bogsera maskinen framåt räcker det med att vrida på överströmningsventilen.
Important: Se Förbereda maskinen för att bli knuffad eller bogserad bakåt om du behöver knuffa eller bogsera maskinen bakåt.
Öppna huven och avlägsna det mittersta höljet.
Vrid förbikopplingsventilen 90° (¼ varv) i endera riktningen för att öppna den så att vätska kan avledas internt (Figur 45).
Note: Eftersom vätskan leds förbi transmissionen kan du flytta maskinen framåt långsamt utan att transmissionen skadas.Observera ventilens läge när du öppnar och stänger den.
Vrid överströmningsventilen 90° (¼ varv) innan motorn startas.
Note: Använd ett åtdragningsmoment på högst 7–11 N·m för att stänga ventilen.
Använd ramper i fullbredd när du lastar maskinen på en släpvagn eller lastbil.
Bind fast maskinen så att den sitter säkert.
Domkraftspunkterna finns på följande platser:
Framtill på maskinen, på ramen till respektive drivhjul (insida).
Baktill på maskinen, vid axelcentrum
Fästpunkterna finns på följande platser:
På varje sida om ramen bakom de främre stegen.
Bakre kofångare
Öva att köra maskinen eftersom den har en hydrostatisk transmission och dess egenskaper skiljer sig från många gräsunderhållningsmaskiner. Faktorer att tänka på vid drift av traktorenheten och klippenheterna är transmission, motorvarvtal, belastning på knivarna samt bromsarnas betydelse.
Håll motorns hastighet hög och relativt konstant med gaspedalen. Detta behövs för att upprätthålla tillräckligt med kraft för maskinen under körning. En bra regel är att sänka körhastigheten när belastningen på klippenheterna ökar och att öka den när belastningen minskar.
Låt därför gaspedalen gå bakåt när motorns varvtal minskar och tryck ner pedalen långsamt när varvtalet ökar. När du kör från ett arbetsområde till ett annat utan belastning och med klippenheterna höjda bör du som jämförelse ha gasreglaget i det snabba läget och trycka ner gaspedalen långsamt, men helt, för att erhålla högsta möjliga hastighet.
En annan egenskap att uppmärksamma är funktionen hos pedalerna som är anslutna till bromsarna. Bromsarna kan användas för att svänga med maskinen. De ska dock användas med försiktighet, i synnerhet på mjukt eller vått gräs eftersom gräsmattan kan få revor av misstag. En annan fördel med bromsarna är att de upprätthåller drivningen. Under vissa lutningsförhållanden slirar motlutshjulet och förlorar fästet. Om denna situation skulle uppstå, trycker du ner motlutspedalen gradvis och med jämna mellanrum tills motlutshjulet slutat att slira, vilket därmed ökar drivningen på medlutshjulet.
Var extra försiktig när du kör maskinen på lutande underlag. Se till att säteslåset är ordentligt säkrat, vältskyddet är upphöjt och spärrat och att säkerhetsbältet är fastsatt. Kör sakta och undvik tvära svängar i sluttningar så att du inte välter.
Important: Låt motorn gå på tomgång i 5 minuter innan du stänger av den efter arbete under full belastning. Detta gör att turboladdaren hinner svalna innan motorn stängs av. Om detta inte görs kan det resultera i turboladdningsproblem.
Koppla ur samtliga reglage och för gasreglaget till det LåNGSAMMA läget innan du stänger av motorn. När du för gasreglaget till det LåNGSAMMA läget sänks det höga motorvarvtalet samt bullernivån och vibrationerna minskar. Vrid nyckeln till AVSTäNGT läge för att stänga av motorn.
Öva dig på att köra maskinen på ett öppet område innan du klipper gräs med den för första gången. Starta och stäng av motorn. Kör framåt och backa. Sänk och höj klippenheterna och koppla in och ur cylindrarna. När du har bekantat dig med maskinen övar du på att köra uppför och nedför sluttningar med olika hastigheter.
Om en varningslampa tänds under drift ska maskinen stannas omedelbart och problemet åtgärdas innan driften återupptas. Om maskinen körs med ett funktionsfel kan allvarliga skador uppstå.
Starta motorn och sätt motorhastighetsknappen i det SNABBA läget. För klipphastighetsbegränsaren till KLIPPLäGET. För kraftuttagsbrytaren till det INKOPPLADE läget och använd lyftbrytaren för att styra klippenheterna (de främre klippenheterna är inställda så att de sänks före de bakre klippenheterna). Tryck gaspedalen framåt för att köra framåt och klippa gräset.
För kraftuttagsbrytaren till det URKOPPLADE läget och höj upp klippenheterna till transportläget. För klipphastighetsbegränsaren till transportläget. Var försiktig när du kör mellan föremål så att du inte skadar maskinen eller klippenheterna av misstag. Var extra försiktig när du kör maskinen på lutande underlag. Kör sakta och undvik tvära svängar i sluttningar så att du inte välter.
Note: Vänster och höger sida på maskinen är lika med förarens vänstra respektive högra sida vid normal körning.
| Underhållsintervall | Underhållsförfarande |
|---|---|
| Efter de första 8 timmarna |
|
| Efter de första 200 timmarna |
|
| Varje användning eller dagligen |
|
| Var 50:e timme |
|
| Var 100:e timme |
|
| Var 200:e timme |
|
| Var 250:e timme |
|
| Var 400:e timme |
|
| Var 800:e timme |
|
| Före förvaring |
|
Kopiera sidan och använd den regelbundet.
| Kontrollpunkt | Vecka: | ||||||
|---|---|---|---|---|---|---|---|
| Mån. | Tis. | Ons. | Tors. | Fre. | Lör. | Sön. | |
| Kontrollera säkerhetsbrytarnas funktion. | |||||||
| Kontrollera bromsens funktion. | |||||||
| Kontrollera motoroljenivån och bränslenivån. | |||||||
| Kontrollera kylvätskenivån. | |||||||
| Töm vatten-/bränsleseparatorn. | |||||||
| Kontrollera luftfiltrets serviceindikator. | |||||||
| Undersök om det finns skräp i kylaren, oljekylaren eller filtret. | |||||||
| Kontrollera ovanliga motorljud.1 | |||||||
| Kontrollera ovanliga driftljud. | |||||||
| Kontrollera hydraulsystemets vätskenivå. | |||||||
| Kontrollera att det inte finns skador på hydraulslangarna. | |||||||
| Kontrollera att systemet inte har några oljeläckor. | |||||||
| Kontrollera däcktrycket. | |||||||
| Kontrollera instrumentfunktionen. | |||||||
| Kontrollera justeringen av cylinder mot understål. | |||||||
| Kontrollera klipphöjdsinställningen. | |||||||
| Smörj alla smörjnipplar.2 | |||||||
| Bättra på skadad lack. | |||||||
1. Undersök glödstift och insprutarmunstycken om motorn är trögstartad eller om överdrivet mycket rök eller ojämn gång uppmärksammas.
2. Omedelbart efter varje tvätt, oavsett intervallet i listan
| Kontrollen utförd av: | ||
| Artikel | Datum | Information |
| 1 | ||
| 2 | ||
| 3 | ||
| 4 | ||
| 5 | ||
| 6 | ||
| 7 | ||
| 8 | ||
Important: Se bruksanvisningen till motorn respektive klippenheterna för ytterligare underhållsförfaranden.
Note: Om du behöver ett el- eller hydraulschema för din maskin hittar du det på www.Toro.com.

Om du lämnar nyckeln i tändningslåset kan någon råka starta motorn av misstag och skada dig eller någon annan person allvarligt.
Ta ut nyckeln ur tändningslåset innan du utför något underhåll.
Gör följande innan du justerar, rengör eller reparerar maskinen, eller när du lämnar den utan uppsikt:
Ställ maskinen på ett plant underlag.
Flytta gasreglaget till läget för låg tomgång.
Koppla ur klippenheterna.
Sänk klippenheterna.
Se till att drivningen är i neutralläge.
Koppla in parkeringsbromsen.
Stäng av motorn och ta ut nyckeln.
Vänta tills alla rörliga delar har stannat.
Låt maskinens komponenter svalna innan du utför något underhåll.
Om klippenheterna är i transportläget ska du använda det positiva låset (om så utrustad) innan du lämnar maskinen utan uppsikt.
Utför om möjligt inget underhåll på maskinen medan motorn är igång. Håll dig på avstånd från rörliga delar.
Stötta upp maskinen eller dess komponenter med domkrafter när så behövs.
Lätta försiktigt på trycket i komponenter med upplagrad energi.
Öppna motorhuvsspärrarna (Figur 47) och öppna huven.

Ta bort saxpinnarna som fäster de bakre motorhuvsfästena till rampiggarna och lyft av huven.
| Underhållsintervall | Underhållsförfarande |
|---|---|
| Var 50:e timme |
|
Maskinen har smörjnipplar som måste smörjas regelbundet med fett nr 2 på litiumbas. Om maskinen används under normala förhållanden ska samtliga lager och bussningar smörjas var 50:e körtimme eller omedelbart efter varje tvätt.
Smörjnipplarnas placering och antal är som följer:
Bromsaxelns lager (5) (Figur 48)

Bakre axeltappsbussningar (2) (Figur 49)

Styrcylinders kulleder (2) (Figur 50)

Fästanordningarnas kulleder (2) (Figur 50)
Axeltappsbussningar (2) (Figur 50). Den översta nippeln på axeltappen ska bara smörjas en gång om året (2 pumpningar).
Lyftarmsbussningar (en per klippenhet) (Figur 51)

Lyftcylinderbussningar (två per klippenhet) (Figur 51)
Lyftarmens vridfästebussningar (en per klippenhet) (Figur 52)
Klippenhetens bärramar (två per klippenhet) (Figur 52)
Klippenhetens lyftarmsvridfäste (ett per klippenhet) (Figur 52)

Stäng av motorn innan du kontrollerar oljenivån eller fyller på olja i vevhuset.
Ändra inte varvtalshållarens inställning och övervarva inte motorn.
| Underhållsintervall | Underhållsförfarande |
|---|---|
| Var 400:e timme |
|
Undersök om luftrenarhuset har skador som skulle kunna orsaka en luftläcka. Byt ut den om den är skadad. Kontrollera hela intagssystemet och leta efter läckor, skador eller lösa slangklämmor.
Utför service på luftrenarfiltret bara när serviceindikatorn (Figur 53) anger att det krävs. Om du byter ut luftfiltret tidigare ökar det risken för att smuts kommer in i motorn när filtret tas bort.

Important: Säkerställ att kåpan sitter som den ska och sluter tätt runt luftrenarhuset.
Parkera maskinen på ett plant underlag, sänk ned klippenheterna, koppla in parkeringsbromsen, stäng av motorn och ta ut nyckeln.
Dra ut spärren och vrid luftrenarkåpan motsols (Figur 54).

Ta bort kåpan från luftrenaren.
Använd lågtrycksluft (2,76 bar, ren och torr) innan du avlägsnar filtret för att ta bort stora ansamlingar skräp som packats mellan huvudfiltrets utsida och skålen. Undvik att använda högtrycksluft eftersom den kan tvinga smutsen genom filtret och in i luftintagsröret.
Denna rengöringsprocess förhindrar att det kommer in skräp i luftintaget när huvudfiltret tas bort.
Ta bort och byt ut huvudfiltret (Figur 55).
Vi rekommenderar inte att du rengör det använda filtret eftersom det då finns risk för att filtret skadas. Undersök om det nya filtret har några transportskador genom att kontrollera filtrets förseglade ände och själva filtret. Använd inte ett skadat filter.
Sätt i det nya filtret genom att trycka på dess yttre kant för att fästa det i skålen. Tryck inte mitt på filtret där det är böjligt.

Important: Försök aldrig att rengöra säkerhetsfiltret (Figur 56). Byt ut säkerhetsfiltret mot ett nytt var tredje gång huvudfiltret servas.

Rengör smutsutblåsningens öppning i den avtagbara kåpan.
Demontera gummiutloppsventilen från kåpan, rengör håligheten och montera utloppsventilen.
Montera kåpan med gummiutloppsventilen i nedåtläge – mellan cirka klockan 5 till klockan 7 sett från änden.
Nollställ indikatorn (Figur 53) om den är röd.
| Underhållsintervall | Underhållsförfarande |
|---|---|
| Var 250:e timme |
|
Parkera maskinen på ett plant underlag, sänk ned klippenheterna, koppla in parkeringsbromsen, stäng av motorn och ta ut nyckeln.
Ta bort avtappningspluggen (Figur 57) och låt oljan rinna ned i ett avtappningskärl.

Sätt tillbaka avtappningspluggen när oljan har slutat att rinna.
Avlägsna oljefiltret (Figur 58).

Stryk på ett tunt lager ren olja på den nya filterpackningen innan du monterar den.
Note: Dra inte åt filtret för hårt.
Fyll på olja i vevhuset, se Kontrollera nivån för motorolja.
Justera gasvajern (Figur 59) så att varvtalsspaken på motorn går emot inställningsskruven för hög hastighet samtidigt som gasvajern kommer i kontakt med skårans ände på reglagearmen.

Under vissa omständigheter är dieselbränsle och bränsleångor mycket brandfarliga och explosiva. Bränslebrand eller explosion kan skada dig själv och andra och orsaka materiella skador.
Fyll bränsletanken på en öppen plats utomhus när motorn är avstängd och kall. Torka upp utspillt bränsle.
Fyll inte tanken helt full. Fyll bränsletanken med bränsle tills nivån ligger på 25 mm under påfyllningsrörets nedersta del. Det tomma utrymmet behövs för bränslets expansion.
Rök aldrig när du handskas med bensin och håll dig borta från öppen eld eller platser där bensinångor kan antändas av gnistor.
Förvara bränsle i en ren, säkerhetsgodkänd behållare och se till att locket sitter på.
| Underhållsintervall | Underhållsförfarande |
|---|---|
| Var 800:e timme |
|
| Före förvaring |
|
Parkera maskinen på en plan yta, sänk ned klippenheterna, lägg i parkeringsbromsen, stäng av motorn och ta ur nyckeln.
Töm och rengör bränsletanken om bränslesystemet har förorenats eller om maskinen ska ställas i förvar under en längre period. Använd rent bränsle för att spola ur tanken.
| Underhållsintervall | Underhållsförfarande |
|---|---|
| Var 400:e timme |
|
Parkera maskinen på ett plant underlag, sänk ned klippenheterna, koppla in parkeringsbromsen, stäng av motorn och ta ut nyckeln.
Kontrollera om bränsleledningarna har skadats eller försämrats på något annat sätt, eller om det finns lösa anslutningar.
| Underhållsintervall | Underhållsförfarande |
|---|---|
| Varje användning eller dagligen |
|
| Var 400:e timme |
|
Parkera maskinen på ett plant underlag, sänk ned klippenheterna, koppla in parkeringsbromsen, stäng av motorn och ta ut nyckeln.
Sätt en ren behållare under bränslefiltret.
Lossa avtappningspluggen längst ner på filterskålen.

Rengör området där filterskålen ska monteras.
Avlägsna filterskålen och rengör fästytan.
Smörj packningen på filterskålen med ren olja.
Montera filterskålen för hand tills packningen vidrör fästytan och vrid sedan ytterligare ett halvt varv.
Dra åt avtappningspluggen längst ned på filterskålen.
Parkera maskinen på ett plant underlag, sänk ned klippenheterna, koppla in parkeringsbromsen, stäng av motorn och ta ut nyckeln.
Bränsleintagningsröret som sitter på bränsletankens insida är utrustad med ett filter för att förhindra att skräp kommer in i bränslesystemet. Demontera bränsleintagningsröret och rengör filtret vid behov.
Koppla bort batteriet innan reparation utförs på maskinen. Lossa minuskabelanslutningen först och pluskabelanslutningen sist. Återanslut pluskabelanslutningen först och minuskabelanslutningen sist.
Ladda batteriet i ett öppet och välventilerat utrymme, på avstånd från gnistor och öppna lågor. Koppla ur laddaren innan batteriet ansluts eller kopplas bort. Använd skyddskläder och isolerade verktyg.
Batteripoler, kabelanslutningar och tillbehör till dessa innehåller bly och blykomponenter: kemikalier som staten Kalifornien anser orsaka cancer och fortplantningsskador. Tvätta händerna när du har hanterat batteriet.
Parkera maskinen på ett plant underlag, sänk ned klippenheterna, koppla in parkeringsbromsen, stäng av motorn och ta ut nyckeln.
Lossa och höj förarens konsolpanel (Figur 61).

Batterielektrolyt innehåller svavelsyra som är ett dödligt gift och som orsakar allvarliga brännskador.
Drick inte elektrolyten och undvik kontakt med hud, ögon eller kläder. Använd skyddsglasögon för att skydda ögonen och gummihandskar för att skydda händerna.
Fyll på batteriet på en plats där du har tillgång till rent vatten och kan skölja av huden.
Anslut en batteriladdare på 3–4 A till batteripolerna.
Ladda batteriet med 3–4 A under 4–8 timmar.
Koppla ur laddningsanordningen från eluttaget och batteripolerna när batteriet är laddat.
Vid laddning av batteriet bildas explosiva gaser.
Rök aldrig nära batteriet och håll det borta från gnistor och lågor.
Fäst pluskabeln (röd) till plusanslutningen (+) och minuskabeln (svart) till minusanslutningen (–) på batteriet (Figur 62).

Fäst kablarna vid polerna med huvudskruvar och muttrar.
Se till att plusanslutningen (+) går ända upp till polen och att kabeln sitter tätt emot batteriet. Kabeln får inte vidröra batterilocket.
Förhindra eventuell kortslutning genom att trä gummiskon över plusanslutningen.
Fetta in båda batterianslutningar med smörjfett av typen Grafo 112X (skin-over), Toro-artikelnr 505-47, vaselin eller ett lättare fett för att förhindra korrosion.
Trä gummiskon över den positiva anslutningen.
Stäng konsolpanelen och säkra spärren.
Batteriets kabelanslutningar eller verktyg av metall kan orsaka kortslutning mot metall och orsaka gnistor. Gnistor kan få batterigaserna att explodera, vilket kan leda till personskador.
Vid avlägsnande eller installation av batteriet får du inte låta batterianslutningarna komma i kontakt med några av maskinens metalldelar.
Låt inte metallverktyg kortslutas mellan batterianslutningarna och maskinens metalldelar.
Felaktig dragning av batterikablarna kan skada maskinen och kablarna samt orsaka gnistor. Gnistor kan få batterigaserna att explodera, vilket kan leda till personskador.
Lossa alltid batteriets minuskabel (svart) innan du lossar pluskabeln (röd).
Anslut alltid pluskabeln (röd) innan minuskabeln (svart) ansluts.
| Underhållsintervall | Underhållsförfarande |
|---|---|
| Var 50:e timme |
|
Important: Lossa minuskabeln från batteriet innan svetsning företas på maskinen så att skador på det elektriska systemet kan undvikas.
Note: Kontrollera batteriets skick varje vecka eller var 50:e körtimme. Se till att hålla kabelanslutningarna och batterilådan rena eftersom ett smutsigt batteri långsamt kommer att laddas ur.
Rengör batteriet på följande sätt:
Parkera maskinen på ett plant underlag, sänk ned klippenheterna, koppla in parkeringsbromsen, stäng av motorn och ta ut nyckeln.
Ta bort batteriet från maskinen.
Tvätta hela lådan med en lösning bestående av natriumbikarbonat och vatten.
Skölj lådan med rent vatten.
Fetta in batteripoler och kabelskor med smörjfett av typen Grafo 112X (skinover) (Toro artikelnr 505-47) eller vaselin för att förhindra korrosion.
| Underhållsintervall | Underhållsförfarande |
|---|---|
| Efter de första 8 timmarna |
|
| Var 200:e timme |
|
Parkera maskinen på ett plant underlag, sänk ned klippenheterna, koppla in parkeringsbromsen, stäng av motorn och ta ut nyckeln.
Om hjulmuttrarna inte dras åt ordentligt kan hjulen fungera felaktigt eller falla av vilket kan leda till personskada.
Dra åt de främre och bakre hjulmuttrarna till mellan 115 och 136 N·m efter 1 till 4 timmars användning och återigen efter 8 timmars användning. Dra sedan åt muttrarna var 200:e timme.
Note: De främre hjulmuttrarna är ½–20 UNF. De bakre hjulmuttrarna är M12 x 1,6–6H (metrisk).
| Underhållsintervall | Underhållsförfarande |
|---|---|
| Var 400:e timme |
|
Kontrollera oljenivån efter var 400:e arbetstimme. Använd en högkvalitativ olja av typen SAE 85W-140 när du byter ut oljan.
Parkera maskinen på ett plant underlag, sänk ned klippenheterna, koppla in parkeringsbromsen, stäng av motorn och ta ut nyckeln.
Placera hjulen så att en kontrollplugg (Figur 66) är i läget klockan 12 och den andra är i läget klockan 3.

Ta bort pluggen som sitter i läget klockan 3 (Figur 66).
Note: Oljenivån ska vara i nivå med hålets nedre kant.
Om oljenivån är låg ska du ta bort pluggen som är i läget klockan 12 och fylla på med olja tills den rinner ut ur hålet som är i läget klockan 3.
Sätt i båda pluggarna.
Upprepa steg 2 till 5 på den andra planetväxeln.
| Underhållsintervall | Underhållsförfarande |
|---|---|
| Efter de första 200 timmarna |
|
| Var 800:e timme |
|
Byt till en början oljan efter de första 200 körtimmarna. Byt sedan olja efter var 800:e körtimme eller en gång per år, beroende på vilket som inträffar först. Använd en högkvalitativ olja av typen SAE 85W-140 när du byter ut oljan.
Parkera maskinen på ett plant underlag, sänk ned klippenheterna, koppla in parkeringsbromsen, stäng av motorn och ta ut nyckeln.
Placera ett hjul så att en av kontrollpluggarna befinner sig i det lägsta läget (klockan 6) (Figur 67).

Placera kärlet under planetnavet, ta bort pluggen och låt oljan rinna ner i kärlet.
Placera ett kärl under bromshuset, ta bort pluggen och låt oljan rinna ned i kärlet (Figur 68).

Sätt i pluggen i bromshuset när all olja har tappats av från båda ställena.
Rotera hjulet tills det öppna plugghålet i planetväxlen är i läget klockan 12.
Fyll långsamt på planetväxeln med 0,65 liter högkvalitativ olja av typen SAE 85W-140 genom det öppna hålet.
Important: Om planetväxeln är full innan 0,65 liter olja har tillsatts ska du vänta i en timme eller sätta tillbaka pluggen och flytta maskinen cirka tre meter så att oljan fördelas i bromssystemet. Ta sedan bort pluggen och fyll på resterande olja.
Montera pluggen igen.
Upprepa proceduren på den motsatta planetväxeln/bromsen.
| Underhållsintervall | Underhållsförfarande |
|---|---|
| Var 400:e timme |
|
Bakaxeln är fylld med olja av typen SAE 85W-140 när den levereras från fabriken. Kontrollera oljenivån innan motorn startas för första gången och därefter var 400:e körtimme. Kapaciteten är 2,4 liter. Gör en visuell läckagekontroll varje dag.
Parkera maskinen på ett plant underlag, sänk ned klippenheterna, koppla in parkeringsbromsen, stäng av motorn och ta ut nyckeln.
Ta bort en kontrollplugg från axelns ena sida (Figur 69) och se till att oljan når upp till botten av hålet. Ta bort påfyllningspluggen (Figur 69) om nivån är låg, och tillsätt tillräckligt med olja så att nivån når botten av kontrollhålet.

| Underhållsintervall | Underhållsförfarande |
|---|---|
| Efter de första 200 timmarna |
|
| Var 800:e timme |
|
Parkera maskinen på ett plant underlag, sänk ned klippenheterna, koppla in parkeringsbromsen, stäng av motorn och ta ut nyckeln.
Gör rent runt de tre avtappningspluggarna, en i varje ände och en i mitten (Figur 70).

Ta bort oljekontrollpluggarna och huvudaxelns luftningslock, så att oljan kan rinna ut lättare.
Ta bort avtappningspluggarna så att oljan kan rinna ned i kärlen.
Montera pluggarna.
Ta bort en kontrollplugg och fyll axeln med 2,37 liter olja av typen 85W-140, eller tills oljan nått upp till hålets botten.
Montera kontrollpluggen.
| Underhållsintervall | Underhållsförfarande |
|---|---|
| Var 400:e timme |
|
Växellådan är fylld med olja av typen SAE 85W-140. Kontrollera oljenivån innan motorn startas för första gången och därefter var 400:e körtimme. Kapaciteten är 0,5 liter. Gör en visuell läckagekontroll varje dag.
Parkera maskinen på ett plant underlag, sänk ned klippenheterna, koppla in parkeringsbromsen, stäng av motorn och ta ut nyckeln.
Ta bort kontroll-/påfyllningspluggen på växellådans vänstra sida (Figur 71), och kontrollera att oljan når upp till botten av hålet. Fyll på tillräckligt med olja så att den når botten av hålet om nivån är för låg.

Maskinen får inte ”krypa” när gaspedalen släpps upp. Om den ändå kryper är en justering nödvändig.
Parkera maskinen på ett plant underlag, stäng av motorn, för hastighetsreglaget till ett lågt läge och sänk ned klippenheterna.
Tryck endast ned höger bromspedal och lägg i parkeringsbromsen.
Hissa upp maskinens vänstra sida tills vänster framhjul lyfter från verkstadsgolvet. Stötta maskinen med domkrafter så att den inte kan ramla ned av misstag.
Starta motorn och låt den gå på låg tomgångshastighet.
Justera kontramuttrarna på pumpstavsänden för att flytta pumpkontrollröret framåt för att eliminera krypning framåt, eller bakåt för att eliminera krypning bakåt (Figur 72).

Dra åt kontramuttrarna för att säkra justeringen när rotationen har upphört.
Stäng av motorn och släpp höger broms.
Ta bort domkrafterna och sänk ned maskinen till verkstadsgolvet.
Testkör maskinen och kontrollera att den inte kryper.
| Underhållsintervall | Underhållsförfarande |
|---|---|
| Var 800:e timme |
|
Parkera maskinen på ett plant underlag, sänk ned klippenheterna, koppla in parkeringsbromsen, stäng av motorn och ta ut nyckeln.
Mät avståndet från mitt till mitt (vid axelhöjd) framtill och baktill på styrhjulen.
Note: Det främre måttet ska vara 3 mm mindre än det bakre måttet (Figur 73).

Justera skränkningen genom att ta bort saxpinnen och muttern från kullederna på dragstången (Figur 74).

Avlägsna kulleden på dragstången från stödet till axelhuset.
Lossa klämmorna på dragstängernas bägge ändar (Figur 74).
Vrid den lösgjorda kulleden inåt eller utåt ett helt varv.
Dra åt klämman i den lösa änden på dragstången.
Vrid hela dragstångsenheten åt samma håll (inåt eller utåt) ett helt varv.
Dra åt klämman vid den anslutna änden på dragstången.
Montera kulleden på stödet till axelhuset och dra åt muttern med fingrarna.
Mät skränkningen.
Upprepa proceduren om så behövs.
Dra åt muttern och montera en ny saxpinne när justeringen är korrekt.
Motorns kylvätska kan orsaka förgiftning vid förtäring. Förvara den utom räckhåll för barn och husdjur.
Het kylvätska som sprutas ut under tryck kan orsaka allvarliga brännskador, och detsamma gäller om man vidrör den heta kylaren eller närliggande delar.
Låt motorn svalna i minst 15 minuter innan du öppnar kylarlocket.
Ta hjälp av en trasa för att öppna kylarlocket och öppna locket sakta så att ånga kan komma ut.
| Underhållsintervall | Underhållsförfarande |
|---|---|
| Varje användning eller dagligen |
|
Ta bort skräp från motorområdet, oljekylaren och kylaren varje dag. Rengör dem oftare vid smutsiga förhållanden.
Parkera maskinen på ett plant underlag, sänk ned klippenheterna, koppla in parkeringsbromsen, stäng av motorn och ta ut nyckeln.
Frigör och sväng upp bakpanelen (Figur 75).

Rengör panelen noggrant och ta bort allt skräp.
Note: Ta bort gångjärnsbultarna för att avlägsna panelen.
Rengör på båda sidor om oljekylaren/kylaren (Figur 76) ordentligt med tryckluft. Börja framifrån och blås skräpet bakåt. Rengör sedan bakifrån och blås framåt. Upprepa detta flera gånger tills allt skräp har försvunnit.

Important: Rengöring av kylaren/oljekylaren med vatten främjar för tidig uppkomst av rost och att skräp packas samman.
Stäng den bakre panelen och lås den med spärrhaken.
Justera fotbromsarna om bromspedalens rörelseavstånd överstiger 13 mm eller om bromsarna inte fungerar effektivt. Rörelseavståndet är det avstånd bromspedalen förflyttar sig innan bromsmotståndet känns av.
Parkera maskinen på ett plant underlag, sänk ned klippenheterna, koppla in parkeringsbromsen, stäng av motorn och ta ut nyckeln.
Koppla ur låsspärren från bromspedalen så att båda pedalerna fungerar oberoende av varandra.
För att minska bromspedalernas fria spel ska du dra åt bromsarna som följer:
Lossa frontmuttern på den gängade änden av bromsvajern (Figur 77).

Dra åt den bakre muttern för att dra vajern bakåt tills bromspedalernas rörelseavstånd är mellan 0 och 13 mm.
Note: Kontrollera att det inte finns någon spänning i bromsen när pedalen släpps upp.
Dra åt de främre muttrarna efter att bromsarna har justerats korrekt.
| Underhållsintervall | Underhållsförfarande |
|---|---|
| Var 100:e timme |
|
Kontrollera remmarnas tillstånd och spännkraft (Figur 78) var 100:e körtimme.
Om remmen är korrekt spänd kan den böjas ned 10 mm med en kraft på 45 N mittemellan remskivorna.
Om nedböjningen inte är 10 mm lossar du generatorns fästbultar (Figur 78).

Öka eller minska generatorremmens spänning och dra åt bultarna.
Kontrollera remmens nedböjning igen för att säkerställa att spännkraften är korrekt.
Se till att alla hydrauloljeslangar och -ledningar är i gott skick och att alla hydraulanslutningar och -kopplingar är ordentligt åtdragna innan hydraulsystemet trycksätts.
Håll kropp och händer borta från småläckor eller munstycken som sprutar ut hydraulvätska under högtryck.
Använd en kartong- eller pappersbit för att hitta hydraulläckor.
Lätta på allt tryck i hydraulsystemet på ett säkert sätt innan något arbete utförs i hydraulsystemet.
Sök läkare omedelbart om du träffas av en stråle hydraulvätska och vätskan tränger in i huden. Vätska som trängt in i huden måste opereras bort inom några få timmar av en läkare.
| Underhållsintervall | Underhållsförfarande |
|---|---|
| Var 800:e timme |
|
Byt ut hydrauloljan efter var 800:e körtimme, under normala förhållanden. Om den är förorenad, kontakta din lokala Toro-återförsäljare eftersom systemet måste spolas. Förorenad hydraulvätska ser mjölkaktig eller svart ut jämfört med ren vätska.
Parkera maskinen på ett plant underlag, sänk ned klippenheterna, koppla in parkeringsbromsen, stäng av motorn och ta ut nyckeln.
Öppna motorhuven.
Lossa returröret från behållarens botten och låt hydraulvätskan rinna ner i ett stort kärl.
Sätt tillbaka röret när hydraulvätskan slutar droppa.
Fyll tanken med ca 28,4 liter hydraulvätska. Se Kontrollera hydraulvätskenivån.
Important: Använd endast specificerade hydrauloljor. Andra oljor kan orsaka skador på systemet.
Sätt tillbaka tanklocket.
Starta motorn och använd samtliga hydraulreglage för att sprida hydrauloljan i hela systemet.
Kontrollera om det finns några läckor och stäng av motorn.
Kontrollera vätskenivån och fyll på tillräckligt så att nivån når upp till markeringen Full på oljestickan.
Note: Fyll inte på för mycket vätska i hydraulsystemet.
| Underhållsintervall | Underhållsförfarande |
|---|---|
| Efter de första 200 timmarna |
|
| Var 800:e timme |
|
Byt ut hydraulfiltren (2) för första gången efter 200 körtimmar. Byt därefter ut filtren efter var 800:e körtimme, under normala förhållanden.
Använd Toro-originalfilter med artikelnr 94-2621 på maskinens baksida (klippenhet) och 75-1310 på dess framsida (laddning).
Important: Om något annat filter används kan garantin för några av komponenterna bli ogiltig.
Parkera maskinen på ett plant underlag, sänk ned klippenheterna, koppla in parkeringsbromsen, stäng av motorn och ta ut nyckeln.
Rengör runt området där filtret monteras.
Placera ett kärl under filtret och avlägsna filtret (Figur 79 och Figur 80).
Smörj den nya filterpackningen och fyll filtret med hydraulolja.


Kontrollera att området där filtret ska monteras är rent.
Skruva fast filtret tills packningen vidrör fästplattan och dra sedan åt filtret ytterligare ett halvt varv.
Starta motorn och låt den gå i ca två minuter så att systemet luftas.
Stäng av motorn och undersök om det finns några läckor.
| Underhållsintervall | Underhållsförfarande |
|---|---|
| Varje användning eller dagligen |
|
Undersök hydraulledningarna och slangarna dagligen och kontrollera om det finns läckor, vridna ledningar, lösa fäststöd, slitage, lösa beslag, väderslitage och kemiskt slitage. Reparera alla skador innan du kör maskinen igen.
Hydraulolja som läcker ut under tryck kan tränga in i huden och orsaka skada.
Kontrollera att alla hydraulvätskeslangar och -ledningar är i gott skick och att alla hydraulanslutningar och -kopplingar är ordentligt åtdragna innan hydraulsystemet trycksätts.
Håll kropp och händer borta från småläckor eller munstycken som sprutar ut hydraulvätska under högtryck.
Använd en kartong- eller pappersbit för att hitta hydraulläckor.
Lätta på allt tryck i hydraulsystemet på ett säkert sätt innan något arbete utförs i hydraulsystemet.
Sök läkare omedelbart om du träffas av en stråle hydraulvätska och vätskan tränger in i huden.
En sliten eller skadad klippenhet kan gå sönder och en bit av en cylinder eller understål kan slungas ut mot dig eller någon kringstående, vilket kan innebära livsfara eller leda till allvarliga personskador.
Kontrollera med jämna mellanrum om klippenheterna är slitna eller skadade.
Var försiktig när du inspekterar klippenheterna. Linda in knivarna i något material eller ta på dig handskar, och var försiktig när du hanterar cylindrarna eller understålen. Cylindrarna och understålen får endast bytas ut eller slipas – de ska aldrig rätas ut eller svetsas.
Var försiktig när en cylinder roteras på maskiner med flera knivar, eftersom den kan få även andra knivar att börja rotera.
Om man kommer i kontakt med cylindrar eller andra rörliga delar kan detta orsaka personskador.
Håll fingrar, händer och kläder på avstånd från cylindrarna och andra rörliga delar.
Försök aldrig att vrida cylindrarna för hand eller med foten när motorn är igång.
Note: Under slipning arbetar samtliga främre enheter tillsammans och samtliga bakre enheter tillsammans.
Parkera maskinen på ett plant underlag, sänk ned klippenheterna, koppla in parkeringsbromsen, stäng av motorn och för kraftuttagsbrytaren till URKOPPLAT läge.
Lossa och höj upp huven för att frilägga reglagen.
Utför de första justeringarna av cylinder mot understål som behövs för slipning på samtliga klippenheter som ska slipas: se bruksanvisningen till klippenheterna.
Välj den främre, bakre eller bägge slipningsspakarna för att bestämma vilka enheter som ska slipas (Figur 81).
Starta motorn och låt den gå på låg tomgång.
Om motorns hastighet ändras under slipningen kan cylindrarna stanna.
Ändra aldrig motorhastigheten under slipningen.
Slipa endast när motorn går på låg tomgång.
Kontakt med klippenheterna kan leda till personskador.
Var noga med att hålla avstånd till klippenheterna innan du fortsätter med arbetet.
När klipphastighetsbegränsaren är i KLIPPLäGET för du kraftuttagsbrytaren till det INKOPPLADE läget.
Tryck på lyftbrytaren för att starta slipningen på de angivna cylindrarna.
Stryk på slippasta med en borste med långt skaft.
Note: Använd inte en borste med kort skaft.

Om cylindrarna stannar eller går ojämnt vid slipning kan du välja en högre hastighetsinställning tills cylindrarna stabiliseras.
Om du vill justera klippenheterna under slipningen ska du stänga av cylindrarna genom att trycka på den bakre delen av lyftbrytaren och föra kraftuttagsbrytaren till det URKOPPLADE läget samt stänga av motorn. Upprepa steg 5 till 9när du är klar med justeringarna.
Upprepa proceduren för alla klippenheter som ska slipas.
När du är klar ska du föra tillbaka slipningsreglagen till KLIPPLäGET, fälla ned motorhuven och tvätta bort all slippasta från klippenheterna. Justera klippenhetscylindern mot understålet efter behov. Sätt hastighetsreglagen för klippenheternas cylindrar i önskat klippläge.
Important: Om slipningsbrytaren inte förs tillbaka till det AVSTäNGDA läget efter slipningen kommer klippenheterna inte att höjas upp eller fungera som de ska.
Note: Ytterligare instruktioner och procedurer för slipning finns i Toros bruksanvisning om slipning av cylinder- och rotorklippare, formulär 80–300SL.
Note: Dra en fil över understålets framsida när slipningen har avslutats så blir skäreggen bättre. Det avlägsnar eventuella grader ("skägg") eller ojämna kanter som kan uppstå på skäreggen.
Parkera maskinen på ett plant underlag, sänk ned klippenheterna, koppla in parkeringsbromsen, stäng av motorn och ta ut nyckeln.
Rengör traktorenheten, klippenheterna och motorn ordentligt.
Kontrollera lufttrycket i däcken; se Kontrollera däcktrycket.
Kontrollera alla fästelement. Dra åt dem vid behov.
Smörj eller olja samtliga smörjnipplar och svängpunkter. Torka av överflödigt fett.
Sandpappra lätt och måla i områden där färgen har skrapats av, flagat eller rostat. Reparera eventuella bucklor i metallchassit.
Serva batteriet och kablarna på följande sätt:
Ta bort batteriets kabelanslutningar från batteripolerna.
Rengör batteriet, kabelanslutningarna och polerna med en stålborste och bakpulverlösning.
Fetta in kabelanslutningarna och batteriposterna med smörjfett av typen Grafo 112X (skin-over) (Toro-artikelnr 505-47) eller vaselin för att förhindra korrosion.
Ladda långsamt upp batteriet i 24 timmar var 60:e dag för att förhindra att det blysulfateras.
Töm motoroljan från kärlet och sätt tillbaka avtappningspluggen.
Ta bort och kasta oljefiltret. Montera ett nytt oljefilter.
Fyll på motorn med angiven motorolja.
Starta motorn och kör den på tomgång i cirka två minuter.
Stäng av motorn.
Spola bränsletanken med färskt, rent bränsle.
Dra åt alla anslutningar i bränslesystemet.
Rengör och serva luftrenaren ordentligt.
Täta luftrenarens inlopp och avgasutloppet med väderbeständig tejp.
Kontrollera frostskyddsmedlet och fyll på med en 50/50 blandning av vatten och frostskyddsmedel med etylenglykol om så behövs, så att du klarar de förväntade lägsta temperaturerna i ditt område.