| Intervalo de assistência | Procedimento de manutenção |
|---|---|
| Em todas as utilizações ou diariamente |
|
Esta máquina é um cortador de relva com transporte de utilizador e cilindro de lâminas destinada a ser utilizada por operadores profissionais contratados em aplicações comerciais. Foi principalmente concebida para cortar a relva em parques, campos de golfe, campos desportivos e relvados comerciais bem mantidos. Não foi concebida para cortar arbustos, cortar relva e outras ervas ao longo de autoestradas nem para utilizações agrícolas.
Leia estas informações cuidadosamente para saber como utilizar o produto, como efetuar a sua manutenção de forma adequada, evitar ferimentos pessoais e danos no produto. A utilização correta e segura do produto é da exclusiva responsabilidade do utilizador.
Pode contactar a Toro diretamente em www.Toro.com para obter informações sobre materiais de formação de operação e segurança dos produtos, informações sobre acessórios, para obter o contacto de um representante ou para registar o seu produto.
Sempre que necessitar de assistência, peças genuínas Toro ou informações adicionais, entre em contacto com um representante de assistência autorizado ou com a assistência ao cliente Toro, indicando os números de série e modelo do produto. Figura 1 identifica a localização dos números de série e de modelo na travessa dianteira direita do chassis do produto. Escreva os números no espaço fornecido.

Este manual identifica potenciais perigos e tem mensagens de segurança identificadas pelo símbolo de alerta de segurança (Figura 2), que sinaliza um perigo que pode provocar ferimentos graves ou mesmo a morte, se não respeitar as precauções recomendadas.

Este manual utiliza duas palavras para destacar informações. Importante chama atenção para informações especiais de ordem mecânica e Nota sublinha informações gerais que requerem especial atenção.
Este produto cumpre todas as diretivas europeias relevantes. Para mais informações, consultar a folha de Declaração de conformidade (DOC) em separado, específica do produto.
Utilizar ou operar o motor em qualquer terreno com floresta, arbustos ou relva é uma violação da secção 4442 ou 4443 do código de recursos públicos da Califórnia exceto se o motor estiver equipado com uma proteção contra chamas, como definido na secção 4442, mantido em boas condições ou o motor for construído equipado e mantido para a prevenção de fogo.
O Manual do proprietário do motor é fornecido para informações acerca do sistema de emissões, manutenção e garantia da US Environmental Protection Agency (EPA) e regulamento de controlo de emissões da Califórnia. A substituição pode ser solicitada através do fabricante do motor.
CALIFÓRNIA
Proposição 65 Aviso
É do conhecimento do Estado da Califórnia que os gases de escape a alguns dos componentes deste veículo contêm químicos que podem provocar cancro, defeitos congénitos ou outros problemas reprodutivos.
É do conhecimento do Estado da Califórnia que a utilização deste produto pode causar exposição a químicos que podem provocar cancro, defeitos congénitos ou outros problemas reprodutivos.
Esta máquina foi concebida para cumprir ou exceder a norma EN ISO 5395:2013 (quando são aplicados os autocolantes adequados) e a norma ANSI B71.4-2012.
Este produto é capaz de amputar mãos e pés e projetar objetos. Respeite sempre todas as instruções de segurança, de modo a evitar ferimentos pessoais graves.
Se a máquina for utilizada para um fim diferente da sua utilização prevista, poderá pôr em perigo o utilizador e outras pessoas.
Leia e compreenda o conteúdo deste Manual do utilizador antes de ligar o motor.
Não coloque as mãos ou os pés perto de componentes em movimento da máquina.
Não opere a máquina sem que todos os resguardos e outros dispositivos protetores de segurança estejam instalados e a funcionar.
Mantenha-se afastado de qualquer abertura de descarga. Mantenha as pessoas e animais a uma distância segura da máquina.
Mantenha as crianças afastadas da área de operação. Nunca permita que crianças utilizem a máquina.
Pare a máquina e desligue o motor antes de proceder à assistência, atestar ou desobstruir a máquina.
A utilização ou manutenção inadequada desta máquina pode provocar ferimentos. De modo a reduzir o risco de ferimentos, deverá respeitar estas instruções de segurança e prestar sempre atenção ao símbolo de alerta de segurança, que indica Cuidado, Aviso ou Perigo – instrução de segurança pessoal. O não cumprimento destas instruções pode resultar em ferimentos pessoais ou mesmo em morte.
Pode encontrar informações de segurança adicionais onde for necessário ao longo deste Manual do utilizador.
O motor desta máquina possui a conformidade EU Etapa 3A.
![]() |
Os autocolantes de segurança e de instruções são facilmente visíveis e situam-se próximo das zonas de potencial perigo. Substitua todos os autocolantes danificados ou perdidos. |























Note: Determine os lados direito e esquerdo da máquina a partir da posição normal de utilização.
Dependendo da largura das unidades de corte que vão ser instaladas na unidade de tração, ajuste os rolos de apoio da seguinte forma:
Estacione a máquina para uma superfície nivelada, engate o travão de estacionamento, desligue o motor e retire a chave.
Peças necessárias para este passo:
| Autocolante de aviso | 1 |
Em máquinas que exigem conformidade CE, coloque o autocolante de aviso CE (peça n.º 120–1686) sobre o autocolante de aviso presente na máquina (peça n.º 120–1683).
Peças necessárias para este passo:
| Suporte do trinco do capot | 1 |
| Rebite | 2 |
| Parafuso (¼ pol. x 2 pol.) | 1 |
| Anilha plana (¼ pol.) | 2 |
| Porca de bloqueio (¼ pol.) | 1 |
Solte o trinco do capot do suporte (Figura 4).

Retire os 2 rebites que prendem o suporte do trinco ao capot (Figura 5).

Retire o suporte do trinco do capot.
Ao alinhar os furos de montagem, posicione o suporte do trinco CE e o suporte do trinco do capot no capot.
Note: O suporte do trinco tem de estar contra o capot (Figura 5).Não retire o parafuso e porca do braço do suporte do trinco.

Alinhe as anilhas com os orifícios no lado interior do capot.
Aplique rebites nos suportes e nas anilhas ao capot (Figura 6).
Prenda o trinco no suporte do trinco do capot (Figura 7).

Aperte o parafuso no outro braço do suporte do trinco do capot e prenda o trinco na posição (Figura 8).

Aperte o parafuso firmemente, mas não aperte a porca.
Peças necessárias para este passo:
| Guia de tubos frontal (direito) | 1 |
| Guia de tubos frontal (esquerdo) | 1 |
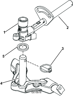
Retire os motores dos cilindros para fora dos suportes de envio.
Retire e elimine os suportes de envio.
Retire as unidades de corte das respetivas embalagens.
Proceda à respetiva montagem e aos ajustes conforme descrito no Manual do utilizador da unidade de corte.
Certifique-se de que o contrapeso (Figura 9) está instalado na extremidade adequada da unidade de corte conforme descrito no Manual do utilizador da unidade de corte.

Todas as unidades de corte são enviadas com a mola de compensação de relva montada do lado direito da unidade de corte. A mola de compensação da relva deve ser montada do mesmo lado da unidade de corte que o motor da transmissão do cilindro. Reposicione a compensação de relva como se segue:
Retire os 2 parafusos de carroçaria e porcas que prendem o suporte da barra aos separadores da unidade de corte (Figura 10).

Retire a porca flangeada que prende o parafuso com cabeça do tubo de mola ao separador da estrutura de suporte (Figura 10).
Retire o conjunto.
Monte o parafuso no tubo da mola no separador oposto na estrutura de suporte e prenda com a porca flangeada.
Note: Posicione a cabeça do parafuso para o lado exterior do separador como se mostra na Figura 11.

Monte o suporte da barra nos separadores da unidade de corte com os parafusos e porcas da carroçaria (Figura 11). Na unidade de corte, monte o guia de tubos do lado esquerdo na frente dos separadores da unidade de corte ao reinstalar o suporte da barra (Figura 13).
Important: Na unidade de corte 4 (frontal esquerda) e na unidade de corte 5 (frontal direita), utilize as porcas de montagem do suporte da barra para instalar os guias de tubos na frente dos separadores da unidade de corte. Os guias de tubos devem inclinar para a unidade de corte central (Figura 12 a Figura 14).



Note: Quando instalar ou remover as unidades de corte certifique-se de que o contrapino de gancho está montado no orifício da haste da mola junto ao suporte da barra. Caso contrário, o contrapino do gancho deve ser instalado no orifício na extremidade da barra.
Aumente a marcha das unidades de corte traseiras removendo os 2 espaçadores da articulação, parafusos de cabeça sextavada e porcas de bloqueio flangeadas (Figura 15) das estruturas de transporte das unidades de corte traseiras (unidades de corte 2 e 3); consulte Figura 12.

Baixe completamente todos os braços de elevação.
Revista o veio da estrutura de suporte com massa lubrificante limpa (Figura 16).

Nas unidades de corte dianteiras, faça deslizar uma unidade de corte sob o braço de elevação enquanto insere o veio da estrutura de suporte para cima para dentro da forquilha da articulação do braço de elevação (Figura 16). Certifique-se de que a anilha de encosto está no sítio no veio da estrutura de suporte.
Prenda o veio da estrutura de suporte à forquilha do braço de elevação com o pino de encaixe (Figura 16).
Para bloquear (fixar) a marcha das unidades de corte, prenda a forquilha da articulação à estrutura de suporte com um pino de encaixe (Figura 17).

Note: A marcha fixa é recomendada ao cortar declives.
Utilize o seguinte procedimento nas unidades de corte traseiras quando a altura de corte for superior a 19 mm.
Retire o pino de sujeição e a anilha que prende o veio da articulação do braço de elevação ao braço de elevação e faça deslizar o veio de articulação para fora do braço de elevação (Figura 18).

Insira a forquilha do braço de elevação no veio da estrutura de suporte (Figura 16).
Insira o veio do braço de elevação no braço de elevação e prenda-o com a anilha e o pino de sujeição (Figura 18).
Prenda a corrente do braço de elevação ao suporte da corrente com o pino de encaixe (Figura 19).
Note: Utilize o número de elos da corrente conforme descrito no Manual do utilizador da unidade de corte.

Revista o veio estriado do motor do cilindro com massa lubrificante limpa.
Lubrifique o anel de retenção do motor do cilindro e instale-o na flange do motor.
Instale o motor rodando-o no sentido dos ponteiros do relógio de forma a que as flanges do motor se afastem dos parafusos (Figura 20).

Rode o motor no sentido contrário aos ponteiros do relógio até que as flanges envolvam os parafusos e apertem os parafusos.
Important: Certifique-se de que os tubos do motor do cilindro não estão torcidos, vincados ou em risco de ficarem entalados.
A mola de compensação de relva (Figura 21) transfere peso do cilindro dianteiro para o cilindro traseiro. Isto ajuda a reduzir o efeito ondulado na relva, também conhecido como ondulação ou “bobbing”.
Important: Faça ajustes na mola com a unidade de corte montada na unidade de tração, a apontar a direito para a frente e descida até ao nível do chão da oficina.
Certifique-se de que o pino de perno de gancho está instalado no orifício traseiro na haste da mola (Figura 21).
Note: Ao fazer a manutenção à unidade de corte, mova o perno de gancho para o furo da haste da mola junto da mola de compensação de relva.

Aperte as porcas sextavadas na extremidade dianteira da haste da mola até que o comprimento da mola em compressão seja de 15,9 cm; consulte a Figura 21.
Note: Quando trabalhar em terrenos agrestes diminua o comprimento da mola em 13 mm. O acompanhamento do solo fica ligeiramente diminuído.
Note: A compensação da relva tem de ser reposta se a definição Altura de corte ou a Agressividade do corte forem alteradas.
Peças necessárias para este passo:
| Apoio da unidade de corte | 1 |
Se for necessário inclinar a unidade de corte para que a lâmina de corte e o cilindro fiquem expostos, coloque um apoio por baixo da unidade de corte para assegurar que as porcas nos parafusos de ajuste da extremidade traseira da barra de apoio não fiquem apoiadas sobre a superfície de trabalho (Figura 22).

Prenda a apoio ao suporte da corrente com o pino de encaixe (Figura 23).

Antes da sua utilização, a máquina deve ser lubrificada para garantir a lubrificação adequada. Consulte Lubrificação. Não realizar uma lubrificação adequada pode causar uma falha prematura de peças vitais.
Verifique o nível de lubrificante do eixo traseiro antes de o motor ser ligado pela primeira vez; consulte Verificar o nível do óleo do eixo traseiro.
Verifique o nível do fluido hidráulico antes de o motor ser ligado pela primeira vez; consulte Verificar o nível do fluido hidráulico.
Verifique o nível do óleo do motor antes e depois de o motor ser ligado pela primeira vez; consulte Verificar o nível do óleo do motor.
Peças necessárias para este passo:
| Barra indicadora | 1 |
Utilize a barra indicadora para ajustar a unidade de corte. Consulte o Manual do utilizador da unidade de corte quanto aos procedimentos de ajuste (Figura 24).

Os 2 pedais (Figura 25) controlam individualmente a tração das rodas, para apoiar nas mudanças de direção, assim como para ajudar a obter uma melhor tração em ladeiras.
A barra de bloqueio dos pedais (Figura 25) liga ambos os pedais para engatar o travão de estacionamento.
Para engatar o travão de estacionamento, (Figura 25) junte os pedais com a alavanca de bloqueio do pedal, empurre para baixo o pedal da direita engatando o pedal de pé. Para libertar o travão de estacionamento, deverá pressionar um dos pedais do travão até que o bloqueio do travão de estacionamento desengate.

O pedal de tração (Figura 25) permite controlar o avanço e recuo da máquina. Pressione a zona superior do pedal para deslocar a máquina para a frente e a zona inferior para deslocar a máquina para trás. A velocidade é determinada pela pressão exercida sobre o pedal. Para obter a velocidade máxima, deverá pressionar completamente o pedal quando o regulador se encontrar na posição FAST (rápido).
Para parar a máquina, reduza a pressão exercida sobre o pedal, até que este volte à posição central.
Para inclinar o volante da direção na sua direção, carregue no pedal (Figura 25) para baixo, e puxe o volante para si para a posição mais confortável e, em seguida, solte o pedal.
Quando o limitador da velocidade de corte (Figura 26) está voltado para cima controla a velocidade de corte e permite que as unidades de corte sejam engatadas. Cada espaçador ajusta a velocidade de corte em 0,8 km/h. Quanto mais espaçadores tiver na parte de cima do parafuso, mais devagar anda. Para transportar, incline para trás o limitador da velocidade de corte e a máquina obterá a velocidade de transporte máxima.
Efetue o ajuste do(s) parafuso(s) (Figura 26) para limitar o curso do pedal de tração em marcha à frente ou atrás para limitar a velocidade.
Important: O parafuso limitador de velocidade deverá parar o pedal de tração antes que a bomba atinja o seu curso máximo, caso contrário, poderá danificar a bomba.

Esta alavanca (Figura 27) sobe e desce as unidades de corte e aciona e bloqueia os cilindros quando os cilindros estão ativados para o modo de corte. As unidades de corte não podem ser baixadas quando a alavanca de corte/transporte está na posição de transporte.
A ignição (Figura 27) tem 3 posições: DESLIGAR, LIGAR/PREAQUECIMENTO e ARRANQUE.
O ecrã LCD InfoCenter mostra informações acerca da máquina como, por exemplo, o estado de operação e vários diagnósticos e outras informações acerca da máquina (Figura 27).
O interruptor da tomada de força (Figura 27) dispõe de duas posições: ARRANQUE e PARAR. Empurre o botão de tomada de força para a frente para engatar as lâminas da unidade de corte. Empurre o botão para trás para desengatar as lâminas da unidade de corte.

O interruptor da velocidade do motor (Figura 27) tem 2 modos de alterar a velocidade do motor. Carregando momentaneamente no interruptor, a velocidade do motor pode ser aumentada ou diminuída em incrementos de 100 rpm. Mantendo pressionado o interruptor move automaticamente para ralenti elevado ou reduzido, dependendo de que extremidade do interruptor é pressionada.
Articule o interruptor para baixo para ligar os faróis (Figura 27).
Utilize o ponto de corrente (Figura 28) para ligar acessórios elétricos opcionais de 12 volts.

Utilize o suporte do saco (Figura 29) para armazenamento.

Utilize as alavancas de retificação para retificar os cilindros (Figura 30).


Puxe a alavanca para fora para deslizar o banco para a frente ou para trás (Figura 31).
Rode o manípulo para ajustar o ângulo do descanso do braço do banco (Figura 31).
Mova a alavanca para ajustar o ângulo do encosto do banco (Figura 31).
Indica quando o banco está ajustado ao peso do operador (Figura 31). O ajuste da altura é feito posicionando a suspensão dentro da gama da região verde.
Ajuste do peso do operador (Figura 31). Puxe a alavanca para cima para aumentar a pressão de ar e empurre para baixo para diminuir a pressão de ar. O devido ajuste é obtido quando o indicador de peso se encontra na região verde.
O ecrã LCD InfoCenter apresenta informações sobre sua máquina, como o estado de utilização, os vários diagnósticos e outras informações sobre a máquina (Figura 32). Existe um ecrã de inicialização e um ecrã de informações principal do InfoCenter. Pode alternar entre o ecrã de inicialização e o ecrã de informações principal a qualquer altura pressionando qualquer dos botões do InfoCenter e, em seguida, selecionando a seta direcional adequada.

Botão esquerdo, Botão de acesso ao menu/retroceder – pressione este botão para aceder aos menus InfoCenter. Também o pode utilizar para sair de qualquer menu que esteja a utilizar.
Botão do meio – utilize este botão para se deslocar pelos menus.
Botão direito – utilize este botão para abrir um menu em que uma seta para a direita indica conteúdo adicional.
Ventilação manual inversa – ativada pressionando, em simultâneo, os botões esquerdo e direito.
Sinal sonoro – ativado quando baixar as plataformas ou para avisos ou erros.
Note: O objetivo de cada botão pode mudar, dependendo do que é requerido no momento. Cada botão terá a indicação de um ícone apresentando a função atual.
| SERVICE DUE | Indica quando deve ser efetuado o serviço programado |
![]() | Ícone info |
![]() | Contador de horas |
![]() | Rápido |
![]() | Lento |
![]() | Ventilação inversa – indica quando a ventilação está invertida |
![]() | O aquecimento da admissão de ar está ativo |
![]() | Levantar as unidades de corte |
![]() | Baixar as unidades de corte |
![]() | O utilizador tem de se sentar no banco |
![]() | Indicador de travão de estacionamento – indica quando o travão de estacionamento está acionado |
![]() | Identifica a gama como alta |
![]() | Ponto morto |
![]() | Identifica a gama como baixa |
![]() | Temperatura do líquido de arrefecimento – indica a temperatura do líquido de arrefecimento em °C ou °F |
![]() | Temperatura (quente) |
![]() | Negado ou não permitido |
![]() | A tomada de força está engatada |
![]() | Arranque do motor |
![]() | Interromper ou desligar |
![]() | Motor |
![]() | Ignição |
![]() | Indica quando as unidades de corte estão a ser baixadas |
![]() | Indica quando as unidades de corte estão a ser levantadas |
![]() | Palavra-passe PIN |
![]() | Temperatura do óleo hidráulico - indica a temperatura do óleo hidráulico |
![]() | CAN bus |
![]() | InfoCenter |
![]() | Avariado ou com falha |
![]() | Lâmpada |
![]() | Saída do controlador TEC ou fio de controlo na cablagem |
![]() | Alto: acima da gama permitida |
![]() | Baixo: abaixo da gama permitida |
/![]() | Fora da gama |
![]() | Interruptor |
![]() | O utilizador tem de soltar o interruptor |
![]() | O utilizador deve mudar para o estado indicado |
| Os símbolos são frequentemente combinados para formar frases. São mostrados alguns exemplos a seguir. | |
![]() | O utilizador deve colocar a máquina em ponto-morto |
![]() | Arranque do motor negado |
![]() | Desligamento do motor |
![]() | Líquido de arrefecimento do motor muito quente |
![]() | Óleo hidráulico muito quente |
![]() | Sentar ou engatar o travão de estacionamento |
Para aceder ao sistema de menus InfoCenter, pressione o botão de acesso ao menu quando está no menu principal. Isto vai levá-lo ao menu principal. Consulte as tabelas seguintes para obter uma sinopse das opções disponíveis dos menus:
| Menu principal | |
| Item de menu | Descrição |
| Faults | O menu Falhas contém uma lista das falhas recentes da máquina. Consulte o Manual de manutenção ou o Distribuidor autorizado Toro para mais informações acerca do menu de falhas e as informações aqui contidas. |
| Serviço | O menu Serviço contém informações sobre a máquina como, por exemplo, contadores das horas de utilização e outros números semelhantes. |
| Diagnóstico | O menu Diagnóstico apresenta o estado de cada interruptor, sensor e saída de controlo da máquina. Pode utilizar isto para solucionar determinados problemas, uma vez que o informa rapidamente que controlos da máquina estão ligados e quais estão desligados. |
| Settings | O menu Settings (Definições) permite-lhe personalizar e modificar as variáveis de configuração no ecrã InfoCenter. |
| About | O menu About (Acerca) indica o número do modelo, número de série e versão de software da sua máquina. |
| Serviço | |
| Item de menu | Descrição |
| Hours | Indica o número total de horas em que a máquina, o motor e a tomada de força estiveram a funcionar, bem como o número de horas em que a máquina foi transportada e serviço devido. |
| Counts | Indica as várias contagens que a máquina sofreu. |
| Diagnóstico | |
| Item de menu | Descrição |
| Cutting Units | Indica os dados de introdução, qualificação e saída para elevar e descer as unidades de corte. |
| Hi/Low Range | Indica os dados de introdução, qualificação e saída para conduzir no modo de transporte. |
| PTO | Indica os dados de introdução, qualificação e saída para permitir o circuito da tomada de força. |
| Engine Run | Indica os dados de introdução, qualificação e saída para ligar o motor. |
| Backlap | Indica os dados de introdução, qualificação e saída para operar a função de retificação. |
| Definições | |
| Item de menu | Descrição |
| Units | Controla as unidades utilizadas no InfoCenter. As escolhas do menu são inglês ou métricas |
| Language | Controla o idioma utilizado no InfoCenter*. |
| LCD Backlight | Controla o brilho do ecrã LCD. |
| LCD Contrast | Controla o contraste do ecrã LCD. |
| Front Backlap Reel Speed | Controla a velocidade dos cilindros frontais no modo de retificação. |
| Rear Backlap Reel Speed | Controla a velocidade dos cilindros traseiros no modo de retificação. |
| Protected Menus | Permite ao supervisor/mecânico aceder a menus protegidos introduzindo uma palavra-passe. |
| Ralenti automático | Controla a quantidade de tempo permitido antes de o motor regressar a baixo ralenti quando a máquina está estacionária. |
| Contagem das lâminas | Controla o número de lâminas no cilindro para a velocidade do cilindro. |
| Mow Speed | Controla a velocidade para determinar a velocidade do cilindro. |
| Height of cut (HOC) | Controla a altura de corte para determinar a velocidade do cilindro. |
| F Reel RPM | Indica a posição da velocidade calculada do cilindro dos cilindros frontais. Os cilindros podem ser ajustados manualmente. |
| R Reel RPM | Indica a posição da velocidade calculada do cilindro dos cilindros traseiros. Os cilindros podem ser ajustados manualmente. |
* Apenas o texto “voltado para o utilizador” é traduzido. Os ecrãs Falhas, Serviço e Diagnóstico são “voltados para o serviço ”. Os títulos estarão no idioma selecionado, mas os itens de menu estão em inglês.
| Acerca | |
| Item de menu | Descrição |
| Model | Indica o número do modelo da máquina. |
| SN | Indica o número de série da máquina. |
| Machine Controller Revision | Indica a revisão de software do controlador principal. |
| InfoCenter Revision | Indica a revisão de software do InfoCenter. |
| CAN Bus | Indica o estado communication bus da máquina. |
Há 5 definições de configuração de funcionamento que são ajustáveis no menu de definições do InfoCenter: contagem das lâminas, velocidade de corte, altura de corte, RPM cilindro frontal e RPM cilindro traseiro. Estas definições podem ser bloqueadas utilizando o Menu protegido.
Note: No momento da entrega, é programada a palavra-passe inicial pelo distribuidor.
A partir do menu Principal, percorra até ao menu Definições e prima o botão direito.
No menu Definições, percorra até ao Menu protegido e prima o botão direito.
Para introduzir a palavra-passe, utilize o botão central para definir o primeiro dígito e depois prima o botão direito para avançar para o próximo dígito.
Utilize o botão central para definir o segundo dígito e depois prima o botão direito para avançar para o próximo dígito.
Utilize o botão central para definir o terceiro dígito e depois prima o botão direito para avançar para o próximo dígito.
Utilize o botão central para definir o quarto dígito e depois prima o botão direito.
Prima o botão do meio para introduzir o código.
Se o código tiver sido aceite e o menu protegido tiver sido “Unlocked”, é apresentado “PIN” no canto superior direito do ecrã.
A capacidade para visualizar e alterar as definições no menu Protegido pode ser alterada. Assim que tiver acedido ao menu Protegido, percorra até encontrar Proteger config. Utilizando o botão direito, se alterar as Proteger config. para Off, poderá visualizar e alterar as definições no menu Protegido sem introduzir palavra-passe. Se alterar as Proteger config. para On, oculta as opções protegidas e terá de introduzir de uma palavra-passe para alterar as definições no menu Protegido. Depois de ser configurada a palavra-passe, o interruptor tem de ser desligado e voltado a ligar para ativar e guardar esta função.
Note: Se se esquecer ou perder a palavra-passe, contacte o distribuidor para obter ajuda.
No menu Definições, percorra até Ralenti automático.
Prima o botão direito para alterar o tempo de ralenti automático entre Desligar, 8S, 10S, 15S, 20S e 30S.
No menu Definições, percorra até Contagem das lâminas.
Pressione o botão direito para alterar a contagem das lâminas entre 5, 8 ou 11 lâminas.
No menu Definições, percorra até Velocidade de corte.
Pressione o botão direito para selecionar a velocidade de corte.
Utilize o botão central e direito para selecionar uma velocidade de corte adequada definida no limitador de velocidade de corte mecânico no pedal de tração.
Pressione o botão esquerdo para sair da velocidade de corte e guardar a definição.
No menu Definições, percorra até Altura de corte.
Pressione o botão direito para selecionar a altura de corte.
Utilize o botão central e direito para selecionar a definição de altura de corte adequada.
Note: Se não for indicada a definição exata, selecione a definição de altura de corte mais aproximada da lista.
Pressione o botão esquerdo para sair da altura de corte e guardar a definição.
Embora as velocidades do cilindro frontal e traseiro sejam calculadas pela introdução do número de lâminas, velocidade de corte e altura de corte no InfoCenter, a definição pode ser alterada manualmente para acomodar as diferentes condições de corte.
Deslize para baixo para RPM do cilindro frontal, RPM do cilindro traseiro ou ambos.
Pressione o botão direito para alterar o valor de velocidade do cilindro. Quando a definição da velocidade é alterada, o ecrã continua a mostrar a velocidade calculada do cilindro com base na contagem das lâminas, velocidade de corte e altura de corte previamente introduzidas, mas também é indicado o novo valor.
Note: As especificações e o desenho do produto estão sujeitos a alterações sem aviso prévio.
| Largura de corte, unidades de corte de 69 cm | 307 cm |
| Largura de corte, unidades de corte de 81 cm | 320 cm |
| Largura total, unidades de corte de 69 cm descidas | 345 cm |
| Largura total, unidades de corte de 81 cm descidas | 358 cm |
| Largura total, unidades de corte elevadas (transporte) | 239 cm |
| Comprimento total | 370 cm |
| Altura com proteção contra capotamento | 220 cm |
| Bitola, dianteira | 229 cm |
| Bitola, traseira | 141 cm |
| Distância entre eixos | 171 cm |
| Peso líquido (sem unidades de corte e sem fluidos) | 1.574 kg |
Está disponível uma seleção de engates e acessórios aprovados pela Toro para utilização com a máquina, para melhorar e expandir as suas capacidades. Contacte um representante ou um distribuidor autorizado ou vá a www.Toro.com para uma lista de todos os engates e acessórios aprovados.
Note: Determine os lados direito e esquerdo da máquina a partir da posição normal de utilização.
Nunca permita que crianças ou pessoal não qualificado utilizem ou procedam à assistência técnica da máquina. Os regulamentos locais podem determinar restrições relativamente à idade do operador. A formação de todos os operadores e mecânicos é da responsabilidade do proprietário.
Familiarize-se com o funcionamento seguro do equipamento, com os comandos do utilizador e com os sinais de segurança.
Saiba como parar a máquina e o motor rapidamente.
Verifique se os comandos de presença do utilizador, os interruptores de segurança e os resguardos estão corretamente montados e a funcionar corretamente. Não utilize a máquina se estes componentes não estiverem a funcionar corretamente.
Antes do corte, inspecione sempre a máquina para assegurar que as lâminas, os parafusos das lâminas e as unidades de corte estão em bom estado de funcionamento. Substitua as lâminas e os parafusos gastos ou danificados em grupos para manter o equilíbrio.
Inspecione a área onde vai utilizar a máquina e remova todos os objetos que a máquina possa projetar.
Tenha muito cuidado quando manusear combustível. Este combustível é inflamável e os seus vapores são explosivos.
Apague todos os cigarros, charutos, cachimbos e outras fontes de ignição.
Utilize apenas recipientes aprovados para combustível.
Nunca retire a tampa do depósito nem encha o depósito enquanto o motor se encontrar em funcionamento ou estiver quente.
Nunca ateste a máquina num espaço fechado.
Nunca guarde a máquina ou o recipiente de combustível onde exista uma fonte de fogo, faísca ou luz piloto, como junto de uma caldeira ou outros eletrodomésticos.
Em caso de derrame de combustível, não tente ligar o motor; evite criar qualquer fonte de ignição até os vapores do combustível se terem dissipado.
Leia atentamente todas as instruções de segurança e os símbolos referidos na secção sobre segurança. Esta informação pode contribuir para evitar que o utilizador e outras pessoas sofram acidentes.
Operar em relva molhada ou em declives acentuados pode provocar derrapagem e perda de controlo.
Se as rodas tombarem nas bordas dos declives, a máquina pode capotar e provocar lesões graves, morte ou afogamento.
Leia e siga as instruções e avisos de proteção contra capotamento.
Para evitar qualquer perda de controlo e eventual capotamento:
Não utilize a máquina perto de depressões ou junto da água.
Não operar em inclinações com ângulo superior ao especificado para o modelo da sua máquina.
Nos declives reduza a velocidade e tenha o máximo de cuidado.
Evite mudanças bruscas de velocidade ou direção.
Esta máquina produz níveis de ruído que podem provocar perda de audição, caso utilize a máquina durante longos períodos.
Deverá utilizar proteções para os ouvidos quando utilizar este máquina.

| Intervalo de assistência | Procedimento de manutenção |
|---|---|
| Em todas as utilizações ou diariamente |
|
O motor já é enviado com óleo no cárter; no entanto, o nível de óleo deverá ser verificado antes e depois de ligar o motor pela primeira vez.
A capacidade do cárter é de cerca de 9,5 litros com o filtro.
Utilize óleo de motor de alta qualidade que satisfaça as seguintes especificações:
Nível de classificação API necessário: CH-4, CI-4 ou superior.
Óleo preferido: SAE 15W-40 - acima: -18°C
Óleo alternativo: SAE 10W-30 ou 5W-30 (todas as temperaturas)
Note: O óleo Toro Premium Engine encontra-se disponível no seu distribuidor na viscosidade 15W-40 ou 10W-30. Consulte o catálogo das peças para saber quais são os números das peças.
Note: A melhor altura para verificar o nível de óleo do motor será quando o motor estiver frio antes do dia de trabalho começar. Se já tiver funcionado, espere 10 minutos até o óleo voltar para o reservatório e verifique depois. Se o nível de óleo estiver exatamente na marca ou abaixo da marca Adicionar na vareta, adicione óleo até o nível atingir a marca Cheio. Não encha muito o motor. Se o nível de óleo se encontrar entre as marcas Cheio e Adicionar, não é necessário adicionar óleo.
Estacione a máquina numa superfície nivelada.
Desengate o trinco do capot e abra o capot (Figura 34).

Retire a vareta, limpe-a, coloque-a no tubo e volte a retirá-la em seguida.
O nível de óleo deve encontrar-se na zona de segurança (Figura 35).

Se o nível de óleo se encontrar abaixo da zona de segurança, deverá retirar a tampa de enchimento (Figura 36) e adicionar óleo até que o nível atinja a marca Cheio.
Important: Não encha muito o motor.

Note: Quando utilizar um óleo diferente deve esvaziar todo o óleo existente no cárter antes de adicionar óleo novo.
Volte a montar a tampa e a vareta.
Feche o capot e fixe-o com os trincos.
| Intervalo de assistência | Procedimento de manutenção |
|---|---|
| Em todas as utilizações ou diariamente |
|
Deverá verificar o nível do líquido de arrefecimento no início de cada dia de trabalho. A capacidade do sistema é de 12,3 litros.
Retire cuidadosamente o tampão do radiador.
Se o motor esteve em funcionamento, o líquido de refrigeração pressurizado e quente pode derramar-se e provocar queimaduras.
Não abra o tampão do radiador quando o motor estiver a funcionar.
Use um trapo quando abrir o tampão do radiador, fazendo-o lentamente para permitir a saída do vapor.

Verifique o nível do líquido de arrefecimento do radiador.
Note: O radiador deverá encontrar-se cheio de líquido até ao cimo do tubo de enchimento e o nível de líquido no depósito de expansão deverá atingir a marca Cheio (Figura 37).
Se o nível do líquido de arrefecimento for baixo, deverá juntar uma solução 50/50 de água e anticongelante etileno-glicol.
Note: Não use apenas água ou produtos de arrefecimento à base de álcool/metanol.
Volte a colocar os tampões no radiador e no depósito de expansão.
Capacidade do depósito de combustível: 83 litros.
Use apenas diesel limpo com baixo conteúdo ou ultra baixo conteúdo (<15 ppm) de enxofre que cumpra as especificações ASTM D975 ou EN 590. A classificação mínima de cetane deve ser 40. Adquira combustível em quantidades que possam ser usadas no prazo de 180 dias para assegurar a pureza do combustível.
Important: A utilização de combustível que não seja de ultra baixo conteúdo de enxofre danifica o sistema de emissões do motor.
Utilize gasóleo de verão (N.º 2-D) a temperaturas superiores a -7°C e gasóleo de inverno (N.º 1-D ou mistura N.º 1-D/2-D) abaixo de -7°C. Utilizar gasóleo de inverno a temperaturas inferiores significa um ponto de inflamação e características de fluxo frio que facilitam o arranque e reduzem a obstrução do filtro de combustível.
A utilização de gasóleo de Verão acima de -7°C contribui para uma maior duração da bomba de combustível e maior potência quando comparado com o gasóleo de inverno.
Important: Não utilize querosene nem gasolina em vez de gasóleo. A não observação desta precaução danifica o motor.
Esta máquina também pode usar um combustível com mistura de biodiesel de até B20 (20% biodiesel, 80% petrodiesel). A parte de petrodiesel deve ter baixo teor ou ultra baixo teor de enxofre. Tome as seguintes precauções:
A parte de biodiesel do combustível tem de cumprir as especificações ASTM D6751 ou EN 14214.
A composição do gasóleo de mistura deve cumprir a ASTM D975 ou EN 590.
As superfícies pintadas podem ser danificadas pelas misturas de biodiesel.
Utilize misturas B5 (conteúdo de biodiesel de 5%) ou inferiores no tempo frio.
Verifique os vedantes, tubos e juntas em contacto com o combustível, uma vez que podem degradar-se ao longo do tempo.
Conte com obstrução do filtro do combustível durante algum tempo após mudar para misturas de biodiesel.
Contacte o distribuidor se desejar mais informações sobre o biodiesel.
O combustível pode ser prejudicial ou mesmo fatal quando ingerido. A exposição prolongada a vapores pode provocar lesões graves ou doenças.
Evite inalar vapores durante muito tempo.
Mantenha a cara afastada do bico e do depósito de combustível ou da abertura do condicionador.
Mantenha o combustível afastado dos olhos e da pele.
Em determinadas circunstâncias, o combustível é extremamente inflamável e altamente explosivo. Um incêndio ou explosão provocado(a) por combustível pode resultar em queimaduras e danos materiais.
Encha o depósito de combustível no exterior, num espaço aberto, quando o motor estiver frio. Limpe todo o combustível derramado.
Nunca encha o depósito de combustível num reboque fechado.
Não fume quando se encontrar próximo de combustível e mantenha-se afastado de todas as fontes de chama ou faíscas que possam inflamar os vapores existentes nesse meio.
Guarde a gasolina num recipiente aprovado e mantenha-a longe do alcance das crianças. Nunca adquira mais do que o combustível necessário para 180 dias.
Não utilize a máquina sem que todos os componentes do sistema de escape estejam corretamente montados e em boas condições de funcionamento.
Em determinadas condições durante o abastecimento, pode ser libertada eletricidade estática que provoca uma faísca que pode inflamar os vapores do combustível. Um incêndio ou explosão provocado(a) por combustível pode resultar em queimaduras e danos materiais.
Coloque sempre os recipientes de combustível no chão, longe do veículo, antes de os encher.
Não encha os recipientes de combustível no interior de uma carrinha, outro veículo ou um atrelado, porque os revestimentos do interior ou a cobertura de plástico da carrinha podem isolar o recipiente e abrandar a perda de energia estática do mesmo.
Sempre que possível, retire a máquina do veículo ou do atrelado e encha o depósito da máquina com as respetivas rodas no chão.
Se tal não for possível, abasteça a máquina no veículo ou no atrelado a partir de um recipiente portátil e não do bico de abastecimento normal.
Se for necessário utilizar um bico de abastecimento, mantenha-o em contacto permanente com o anel exterior do depósito de combustível ou com a abertura do recipiente até concluir a operação.
Estacione a máquina numa superfície nivelada.
Utilize um pano limpo para limpar a zona em redor da tampa do depósito de combustível.
Retire a tampa do depósito de combustível (Figura 38).

Encha o depósito até que o nível atinja a parte inferior do tubo de enchimento.
Aperte novamente a tampa no depósito de combustível após o seu enchimento.
Note: Se for possível, encha o depósito de combustível após cada utilização. Isto minimiza uma eventual formação de condensação dentro do depósito de combustível.
| Intervalo de assistência | Procedimento de manutenção |
|---|---|
| Em todas as utilizações ou diariamente |
|
O reservatório é enchido na fábrica com aproximadamente 28,4 litros de fluido hidráulico de grande qualidade. Verifique o nível de fluido hidráulico antes de ligar o motor pela primeira vez e diariamente, a partir daí.
O fluido de substituição recomendado é Fluido hidráulico Toro Premium All Season (disponível em recipientes de 19 litros ou tambores de 208 litros. Consulte o catálogo das peças ou o distribuidor Toro para saber quais são os números destas peças).
Fluidos alternativos: Se não estiver disponível fluido Toro, podem utilizar-se outros fluidos convencionais, à base de petróleo desde que satisfaçam todas as seguintes propriedades de material e especificações industriais. Consulte o seu fornecedor de óleo para confirmar se o óleo satisfaz estas especificações.
Note: A Toro não assume a responsabilidade por danos causados devido ao uso de substitutos inadequados, pelo que recomendamos a utilização exclusiva de produtos de fabricantes com boa reputação no mercado.
| Fluido hidráulico antidesgaste com índice de viscosidade elevada/ponto de escoamento baixo, multigraduado ISO VG 46 | |||
| Propriedades do material: | |||
| Viscosidade, ASTM D445 | cSt a 40°C 44 até 48cSt a 100°C 7,9 até 9,1 | ||
| Índice de viscosidade ASTM D2270 | 140 ou superior (um índice elevado de viscosidade indica um fluido multidensidade) | ||
| Ponto de escoamento, ASTM D97 | -37°C a -45°C | ||
| FZG, Nível de falha | 11 ou melhor | ||
| Conteúdo de água (novo fluido) | 500 ppm (máximo) | ||
| Especificações industriais: | |||
| Vickers I-286-S, Vickers M-2950-S, Denison HF-0, Vickers 35 VQ 25 (Eaton ATS373-C) | |||
Os fluidos hidráulicos adequados têm de ser específicos para maquinaria móvel (por oposição à utilização em unidades industriais), tipo multidensidade, com o pacote de aditivo antidesgaste ZnDTP ou ZDDP (não um fluido tipo sem cinzas).
Important: O fluído multigraduado ISO VG 46 proporciona uma performance otimizada num amplo leque de temperaturas. Para a operação em temperaturas ambiente consistentemente elevadas, de 18°C a 49°C, o fluido hidráulico ISO VG 68 pode permitir um desempenho melhorado.
Fluido hidráulico biodegradável Premium – Mobil EAL EnviroSyn 46H
Important: Mobil EAL EnviroSyn 46H é o único fluido biodegradável sintético aprovado pela Toro. Este fluido é compatível com os elastómeros utilizados nos sistemas hidráulicos da Toro e é adequado a uma vasta gama de condições térmicas. Este fluido é compatível com óleos minerais convencionais, mas para um desempenho e biodegradabilidade máximos deve remover totalmente o fluido convencional do sistema hidráulico. O óleo está disponível em recipientes de 19 litros ou tambores de 208 litros junto do seu distribuidor Mobil.
Important: A maioria dos fluidos é incolor, o que dificulta a deteção de fugas. Encontra-se à sua disposição um aditivo vermelho para o fluido hidráulico, em recipientes de 20 ml. Um recipiente é suficiente para 15 a 22 litros de fluido hidráulico. Encomende a peça 44-2500 no seu distribuidor Toro autorizado.
Coloque a máquina numa superfície nivelada, baixe as unidades de corte, desligue o motor e retire a chave da ignição.
Limpe a zona em redor do tubo de enchimento e da tampa do depósito hidráulico (Figura 39).

Retire a tampa do tubo de enchimento.
Retire a vareta do tubo de enchimento e limpe-a com um pano limpo.
Introduza a vareta no tubo de enchimento, retire-a e verifique o nível do fluido.
Note: O nível de óleo deverá ficar entre as 2 marcas da vareta.
Se o nível estiver baixo, junte fluido suficiente para o nível subir até à marca superior.
Volte a colocar a tampa e a vareta no tubo de enchimento.
| Intervalo de assistência | Procedimento de manutenção |
|---|---|
| Em todas as utilizações ou diariamente |
|
Os pneus são colocados sob pressão excessiva aquando do seu envio. Portanto, deve libertar algum ar para reduzir a pressão. A pressão correta dos pneus é de 0,83 a 1,03 bar. Verifique a pressão dos pneus diariamente.
Important: Mantenha a pressão recomendada em todos os pneus, de modo a garantir uma boa qualidade de corte e um desempenho adequado da máquina. Não encha de menos os pneus.
O proprietário/operador pode prevenir e é responsável por acidentes que possam causar ferimentos pessoais ou danos materiais.
Utilize vestuário adequado, incluindo proteção visual, calçado resistente antiderrapante e proteções para os ouvidos. Prenda cabelo comprido e não use joias.
Nunca utilize a máquina se se sentir cansado, doente ou sob o efeito de álcool ou drogas.
Nunca transporte passageiros na máquina e mantenha as pessoas e animais afastados da máquina durante o funcionamento.
Utilize a máquina apenas quando tiver boa visibilidade para evitar buracos ou outros perigos não visíveis.
Evite cortar relva molhada. Uma redução da tração poderá fazer com que a máquina derrape.
Antes de ligar o motor, certifique-se de que as transmissões estão em Ponto morto, o travão de estacionamento está engatado e coloque-se na posição de operação.
Mantenha as mãos e pés longe das unidades de corte. Mantenha-se sempre afastado da abertura de descarga.
Antes de recuar, olhe para trás e para baixo para ter a certeza de que o caminho está desimpedido.
Tome todas as precauções necessárias quando se aproximar de esquinas sem visibilidade, arbustos, árvores ou outros objetos que possam obstruir o seu campo de visão.
Não utilize o cortador perto de declives muito acentuados, valas ou margens. A máquina poderá capotar repentinamente se uma roda resvalar ou se o piso ceder.
Pare as unidades de corte sempre que não estiver a cortar.
Pare a máquina e inspecione as unidades de corte depois de atingir um objeto ou se existir uma vibração anormal na máquina. Efetue todas as reparações necessárias antes de retomar o funcionamento.
Abrande e tome as precauções necessárias quando virar e atravessar estradas e passeios com a máquina. Dê sempre prioridade.
Desengate a transmissão para a unidade de corte e desligue o motor antes de ajustar a altura de corte (exceto se a puder ajustar a partir da posição de operação).
Nunca ligue o motor numa área onde os gases de escape fiquem presos.
Nunca deixe a máquina em funcionamento sem vigilância.
Antes de sair da posição de operação (incluindo para esvaziar os depósitos de recolha ou desobstruir a calha), faça o seguinte:
Estacione a máquina numa superfície nivelada.
Desative a tomada de força e desça os acessórios.
Engate o travão de estacionamento.
Desligue o motor e retire a chave.
Espere até todas as peças móveis pararem.
Não opere a máquina quando existir risco de relâmpagos.
Não use a máquina como um veículo de reboque.
Utilize apenas acessórios, engates e peças de substituição aprovados pela The Toro® Company.
Não retire a unidade ROPS da máquina.
Certifique-se de que o cinto de segurança está preso e o pode tirar rapidamente em caso de emergência.
Verifique cuidadosamente se existem obstruções suspensas e não entre em contacto com elas.
Mantenha o ROPS em boas condições de funcionamento inspecionando-o regularmente para verificar se há danos e mantenha apertados todos os fixadores.
Substitua um ROPS danificado. Não efetue nenhuma reparação ou modificação.
Use sempre o cinto de segurança com a barra de segurança na posição elevada.
O ROPS é um dispositivo integral de segurança. Mantenha a barra de segurança elevada e bloqueada e use o cinto de segurança quando operar a máquina com a barra de segurança na posição elevada.
Baixe a barra de segurança temporariamente só quando necessário. Não use o cinto de segurança com a barra de segurança na posição para baixo.
Tenha em atenção que não há nenhuma proteção contra capotamento quando a barra de segurança dobrável estiver em baixo.
Verifique a área que vai cortar e nunca dobre uma barra de segurança dobrável onde houver declives, depressões ou água.
Estabeleça os seus próprios procedimentos e regras para operar em inclinações. Estes procedimentos têm de incluir vigilância do local para determinar que inclinações são seguras para operação da máquina. Utilize sempre o bom senso e capacidade crítica ao efetuar esta avaliação.
Os declives são um dos principais fatores que contribuem para a perda de controlo e acidentes de capotamento que podem resultar em ferimentos graves ou morte. Operação da máquina em qualquer declive requer cuidado adicional.
Opere a máquina a uma velocidade mais reduzida quando está num declive.
Se não se sentir à vontade ao operar numa inclinação, não o faça.
Preste atenção a buracos, raízes, altos, pedras ou outros objetos não visíveis. O terreno desnivelado pode fazer capotar a máquina. A relva alta pode esconder diversos obstáculos.
Escolha uma velocidade baixa que não implique ter de parar ou mudar a mudança quando estiver num declive.
O capotamento pode ocorrer antes de perder a tração.
Evite operar a máquina em relva molhada. Os pneus podem perder tração; independentemente de os travões serem ativados e estarem a funcionar corretamente.
Evite arrancar, parar ou virar num declive.
Todos os movimentos em declives devem ser lentos e graduais. Não altere subitamente a velocidade ou a direção da máquina.
Não opere a máquina perto de depressões, valas, diques ou massas de água. A máquina poderá capotar repentinamente se uma roda resvalar ou se o piso ceder. Estabeleça uma área de segurança entre a máquina e qualquer perigo (duas vezes a largura da máquina).
Important: Purgue o sistema de combustível, caso tenha ocorrido uma das seguintes situações:
Paragem do motor por falta de combustível.
Manutenção dos componentes do sistema de combustível.
Retire o pé do pedal de tração e certifique-se de que este se encontra na posição NEUTRA.
Note: Certifique-se de que o travão de estacionamento se encontra engatado.
Desloque o interruptor da velocidade do motor para a posição RALENTI BAIXO.
Rode a chave da ignição para a posição FUNCIONAMENTO.
Note: A luz indicadora acende.
Quando a luz indicadora das velas apagar, rode a chave da ignição para a posição ARRANQUE.
Liberte imediatamente a chave quando o motor arrancar, deixando-a regressar à posição FUNCIONAMENTO.
Ajuste da velocidade do motor.
Important: O motor de arranque não deverá funcionar mais de 15 segundos em cada tentativa, de modo a não prejudicar o seu desempenho. Se o motor não arrancar no espaço de 15 segundos, rode a chave para a posição DESLIGAR, volte a verificar os comandos e os procedimentos efetuados, aguarde mais 15 segundos e repita o procedimento de arranque.
Quando a temperatura ambiente for inferior a -7°C, o motor de arranque poderá funcionar duas vezes durante 30 segundos, com um intervalo de 60 segundos entre as duas tentativas.
Tocar em peças em movimento pode provocar ferimentos.
Desligue o motor e aguarde até que todas as peças se encontrem imóveis antes de verificar se existem fugas de óleo, peças soltas ou quaisquer outros problemas.
Important: Deixe o motor a funcionar ao ralenti durante 5 minutos antes de o desligar, depois de uma opera com a carga total. Isto permite que o turbocompressor arrefeça antes de se desligar o motor. O não cumprimento deste procedimento pode provocar avarias ao nível do turbocompressor.
Note: Baixe as unidades de corte sempre que estacionar a máquina. Isto alivia a carga hidráulica do sistema, evita o desgaste nas peças do sistema e evita também um abaixamento acidental das unidades de corte.
Volte a colocar o motor ao ralenti.
Desloque o interruptor da tomada de força para a posição DESLIGAR.
Engate o travão de estacionamento.
Rode a chave da ignição para a posição DESLIGAR.
Tire a chave da ignição para evitar arranques acidentais.
Pode ajustar o contrapeso nos braços de elevação da unidade de corte traseira para compensar condições de relva diferentes e para manter uma altura de corte uniforme em condições difíceis ou em áreas onde se acumula palha.
Pode ajustar cada mola do contrapeso para 1 dos 4 ajustes. Cada incremento aumenta ou diminui o contrapeso da unidade de corte em 2,3 kg. As molas podem ser colocadas na parte de trás do atuador de mola para retirar o contrapeso (quarta posição).
Coloque a máquina numa superfície nivelada, baixe as unidades de corte, desligue o motor, engate o travão de estacionamento e retire a chave da ignição.
Insira um tubo ou objeto semelhante na extremidade longa da mola para aliviar a tensão durante o ajuste (Figura 40).
As molas estão sob tensão e podem causar ferimentos.
Tenha cuidado ao ajustar as molas.
Enquanto alivia a tensão da mola, retire o parafuso e a porca de bloqueio que prendem o atuador de mola ao suporte (Figura 40).

Desloque o atuador da mola para a localização do orifício desejado e prenda-o com a porca de bloqueio.
Repita este procedimento para a outra mola.
Coloque a máquina numa superfície nivelada, baixe as unidades de corte, desligue o motor, engate o travão de estacionamento e retire a chave da ignição.
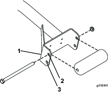
O interruptor do braço de elevação encontra-se por trás do braço de elevação direito dianteiro (Figura 41).

Solte os parafusos de montagem do interruptor (Figura 41) e desloque o interruptor para cima para aumentar a altura de viragem do braço de elevação ou desloque o interruptor para baixo para diminuir a altura de viragem do braço de elevação.
Aperte os parafusos de montagem.
Pode dobrar a estrutura ROPS para permitir o acesso a áreas de altura restrita.
A máquina não tem um Sistema de proteção anticapotamento (ROPS) quando a barra de segurança está dobrada e não deve ser considerado um ROPS.
Não use o cinto de segurança com a barra de segurança para baixa.
Coloque a máquina numa superfície nivelada, desligue o motor, aplique o travão de estacionamento e retire a chave da ignição.
Suporte o peso da estrutura superior enquanto remove os pinos de encaixe e os passadores de forquilha articulados (Figura 42).
Baixe cuidadosamente a estrutura para baixo até que apoie nos batentes.
Insira os passadores de forquilha nos furos inferiores e prenda com os pinos de encaixe para suportar a estrutura superior na sua posição mais baixa.
Para elevar a estrutura, siga estas instruções pela ordem inversa.

O Sistema de proteção anticapotamento (ROPS) pode não ser eficaz se os conjuntos do parafuso de retenção do ROPS estiverem soltos, o que pode causar ferimentos graves ou até a morte em caso de capotamento.
Quando na posição elevada, ambos os conjuntos de parafusos de retenção têm de ser instalados e completamente apertados para assegurar a completa proteção ROPS.
Quando descer e elevar a estrutura ROPS, os dedos podem ficar presos entre a máquina e o ROPS.
Tenha cuidado quando descer e elevar o ROPS para evitar entalar os dedos entre a parte fixa e a parte articulada da estrutura.
Mantenha todas as porcas, parafusos e cavilhas corretamente apertadas para se assegurar de que a máquina funcionará em perfeitas condições.
Substitua as peças gastas ou danificadas para garantir a segurança.
Certifique-se de que o cinto de segurança e montagens estão em boas condições.
Use sempre o cinto de segurança quando a barra de segurança estiver levantada e não use o cinto de segurança quando barra de segurança estiver baixada.
Important: A barra de segurança é um dispositivo integral de segurança. Mantenha a barra de segurança na posição elevada quando utilizar o cortador. Baixe a barra de segurança temporariamente só quando for mesmo necessário.
| Intervalo de assistência | Procedimento de manutenção |
|---|---|
| Em todas as utilizações ou diariamente |
|
A máquina poderá arrancar inesperadamente se os interruptores de bloqueio de segurança se encontrarem desligados ou danificados e provocar lesões.
Não desative os interruptores de bloqueio.
Verifique o funcionamento dos interruptores de bloqueio diariamente e substitua todos os interruptores danificados antes de utilizar a máquina.
A máquina possui interruptores de segurança no sistema elétrico. Estes interruptores foram concebidos para desligar o motor quando o utilizador se levantar do seu banco após ter carregado no pedal de tração. No entanto, o utilizador poderá abandonar o banco enquanto o motor se encontrar em funcionamento e se o pedal de tração se encontrar na posição neutra. Ainda que o motor continue a funcionar, se o interruptor da tomada de força for desengatada e o pedal de tração libertado, recomenda-se que desligue o motor antes de abandonar o banco.
Para verificar o funcionamento dos interruptores de segurança siga o seguinte procedimento:
Conduza a máquina lentamente para uma zona espaçosa e aberta.
Desça as unidades de corte, desligue o motor e engate o travão de estacionamento.
Sente-se no banco e pressione o pedal de tração.
Tente ligar o motor.
Note: O motor não deverá arrancar. Se o motor arrancar, significa que existe uma avaria no sistema de segurança e que deverá ser corrigida antes de iniciar a operação.
Sente-se no banco e ligue o motor.
Levante-se e desloque o interruptor da tomada de força para a posição Ligar.
Note: A tomada de força não deve engatar. Se a tomada de força se acionar, significa que existe uma avaria no sistema de segurança e que deverá ser corrigida antes de iniciar a operação.
Sente-se no banco, engate o travão de estacionamento e ligue o motor.
Retire o pedal de tração da posição de PONTO-MORTO.
Note: O motor deve desligar. Se o motor não se desligar, significa que existe uma avaria no sistema de segurança e que deverá ser corrigida antes de iniciar a operação.
Limpe todos os vestígios de relva e detritos das unidades de corte, silenciosos e compartimento do motor, de modo a evitar qualquer risco de incêndio. Limpe as zonas que tenham óleo ou combustível derramado.
Se as unidades de corte estiverem na posição de transporte, utilize o bloqueio mecânico positivo (se disponível) antes de abandonar a máquina.
Espere que o motor arrefeça antes de armazenar a máquina em ambiente fechado.
Desative o sistema de combustível antes do armazenamento ou transporte da máquina.
Nunca guarde a máquina ou o recipiente de combustível onde uma fonte de fogo, faísca ou luz piloto, como junto de uma caldeira ou outros aparelhos.
Mantenha todas as peças da máquina em boas condições de trabalho e as partes corretamente apertadas, especialmente as partes do engate da lâmina.
Substitua todos os autocolantes gastos ou danificados.
Em caso de emergência, a máquina pode ser deslocada, ativando a válvula de derivação na bomba hidráulica de deslocação variável e instalando um tubo hidráulico para desviar a válvula de retenção e depois puxando ou rebocando a máquina.
Important: Não empurre nem reboque a máquina a uma velocidade superior a 3–4,8 km/h ou durante mais de 0,4 km porque o sistema interno de transmissão pode sofrer danos. A válvula de derivação deve ser aberta sempre que empurrar ou rebocar a máquina. Para além disto, tem de instalar um tubo hidráulico para desviar a válvula de retenção sempre que empurrar ou rebocar a máquina em marcha-atrás.
Se tiver de empurrar ou rebocar a máquina, provavelmente vai precisar de a mover tanto para a frente como em marcha-atrás. Para assegurar que o sistema de transmissão não fica danificado devido a empurrar ou rebocar, é melhor preparar a máquina para ser empurrada ou rebocada tanto para a frente como em marcha-atrás.
Important: Se precisar de empurrar ou rebocar a máquina num sentido inverso ao normal, primeiro tem de desviar a válvula de retenção do coletor da tração às quatro rodas.
As seguintes peças Toro são necessárias para desviar a válvula de retenção:
Peça Toro No. 59-7410, encaixe de diagnóstico
Peça Toro No. 354-79, tampa do encaixe de diagnóstico
Peça Toro No. 95-8843, tubo hidráulico
Peça Toro No. 95-0985, encaixe do acoplador (2)
Peça Toro No. 340-77, encaixe hidráulico (2)
Instale um encaixe de diagnóstico na porta não assinalada que se encontra entre as portas M8 e P2 no coletor da tração traseiro (Figura 43).

Ligue um tubo hidráulico entre o encaixe de diagnóstico instalado no coletor da tração traseiro e a porta de teste de pressão da tração traseira (Figura 44).
Note: Utilize os encaixes hidráulicos e os encaixes do acoplador conforme necessário para instalar o tubo.

Rode a válvula de derivação 90° (1/4 de volta) em qualquer direção, para permitir a passagem interna do fluido (Figura 45).
Note: Após este procedimento, pode deslocar lentamente a máquina sem danificar a transmissão.Observe a posição da válvula quando a abrir e fechar.

Quando terminar de empurrar ou rebocar a máquina, retire o tubo hidráulico que instalou.
Coloque o tampão existente na porta de teste de pressão da tração traseira.
Coloque o tampão do encaixe de diagnóstico no encaixe que colocou no coletor.
Rode a válvula de derivação 90° (1/4 de volta) novamente antes de ligar o motor.
Note: Não deverá exceder uma força de aperto de 7 a 11 N·m quando fechar a válvula.
Se precisar de empurrar ou rebocar a máquina apenas para a frente, basta rodar a válvula de derivação.
Important: Se precisar de empurrar ou rebocar a máquina em marcha-atrás, consulte a Preparação da máquina para empurrar ou rebocar em marcha-atrás.
Abra o capot e retire o resguardo central.
Rode a válvula de derivação 90° (1/4 de volta) em qualquer direção, para permitir a passagem interna do fluido (Figura 45).
Note: Após este procedimento, pode deslocar lentamente a máquina para a frente sem danificar a transmissão.Observe a posição da válvula quando a abrir e fechar.
Rode a válvula de derivação 90° (1/4 de volta) novamente antes de ligar o motor.
Note: Não deverá exceder uma força de aperto de 7 a 11 N·m quando fechar a válvula.
Utilize rampas de largura total para carregar máquina num atrelado ou camião.
Prenda bem a máquina.
Os pontos de apoio encontram-se nos seguintes locais:
Na parte dianteira da máquina, na estrutura do lado interior de cada pneu de direção
Na parte traseira da máquina, no centro do eixo
Os pontos de fixação encontram-se nos seguintes locais:
Em cada lado da estrutura por baixo dos degraus dianteiros
Pára-choques traseiro
A condução da máquina devido à transmissão hidrostática e às suas caraterísticas é bastante diferente da maioria das máquinas de manutenção de relvados. Quando operar a unidade de tração e unidades de corte, tenha em conta a transmissão, a velocidade do motor, a carga nas lâminas de corte e os travões.
Para manter uma potência suficiente para a máquina durante a operação, deverá utilizar o pedal de tração para manter a velocidade do motor elevada e constante. Aconselha-se vivamente a reduzir a velocidade se o peso nas unidades de corte aumentar e, por outro lado, a aumentar a velocidade se o peso diminuir.
Assim sendo, deverá soltar o pedal à medida que a velocidade do motor diminui e pressioná-lo lentamente durante o aumento da velocidade. Por comparação, quando se deslocar de uma zona de trabalho para outra, sem qualquer carga e com a unidade de corte levantadas, deverá colocar o acelerador na posição Rápido e pressionar lenta mas completamente o pedal de tração, de modo a atingir a velocidade máxima da máquina.
Outra característica que deverá tomar em linha de conta é a utilização dos pedais que se encontram ligados aos travões. Os travões podem ser utilizados para facilitar a mudança de direção da máquina. Deverá, no entanto, utilizá-los com algum cuidado, especialmente em relva macia ou molhada, já que poderá danificar a relva acidentalmente. Outra vantagem dos travões é a sua capacidade de manutenção da tração. Por exemplo, em algumas inclinações, a roda dianteira pode derrapar e fazer com que a máquina perca tração. Se tal acontecer, deverá pressionar o pedal de tração gradual e intervaladamente até que a roda dianteira pare de derrapar, aumentando deste modo a tração da roda traseira.
Tome todas as precauções necessárias quando utilizar a máquina em declives. Certifique-se de que o trinco do banco se encontra engatado, que a barra de segurança está elevada e fixa e de que o cinto está corretamente colocado. Conduza lentamente e evite mudanças de direção bruscas, de modo a prevenir qualquer capotamento.
Important: Deixe o motor a funcionar ao ralenti durante 5 minutos antes de o desligar, depois de uma operação com a carga total. Isto permite que o turbocompressor arrefeça antes de se desligar o motor. O não cumprimento deste procedimento pode provocar avarias ao nível do turbocompressor.
Antes de desligar o motor, desative todos os comandos e mova o acelerador para a posição LENTO. Ao deslocar o acelerador para LENTO irá reduzir a alta velocidade do motor, assim como o seu ruído e vibração. Rode a chave para a posição DESLIGAR para desligar o motor.
Antes de cortar a relva, treine a utilização da máquina num espaço aberto. Ligue e desligue o motor. Pratique a marcha para a frente e a marcha-atrás. Levante e baixe as unidades de corte e engate e desengate os cilindros. Quando se sentir à vontade com a máquina, pratique a subida e a descida de terrenos inclinados a diferentes velocidades.
Se se acender uma luz de advertência durante a operação, pare imediatamente a máquina e solucione o problema antes de continuar. Se continuar a utilizar a máquina com uma avaria pode danificar gravemente a máquina.
Ponha o motor a funcionar e coloque o interruptor de velocidade do motor na posição RáPIDO. Mova o limitador de velocidade de corte para a posição de CORTE. Coloque o interruptor da tomada de força (PTO) para a posição LIGAR e utilize o interruptor de elevação para controlar as unidades de corte (as unidades de corte dianteiras são baixadas antes das unidades de corte traseiras). Para avançar e cortar a relva, carregue no pedal de tração para a frente.
Mova o interruptor da tomada de força (PTO) para a posição DESLIGAR e eleve as unidades de corte para a posição de transporte. Mova o limitador de velocidade de corte para a posição de transporte. Tenha cuidado ao conduzir por entre objetos para não danificar acidentalmente a máquina e as unidades de corte. Tome todas as precauções necessárias quando utilizar a máquina em declives. Conduza lentamente e evite mudanças de direção bruscas, de modo a prevenir qualquer capotamento.
Note: Determine os lados direito e esquerdo da máquina a partir da posição normal de utilização.
| Intervalo de assistência | Procedimento de manutenção |
|---|---|
| Após as pimeiras 8 horas |
|
| Após as pimeiras 200 horas |
|
| Em todas as utilizações ou diariamente |
|
| A cada 50 horas |
|
| A cada 100 horas |
|
| A cada 200 horas |
|
| A cada 250 horas |
|
| A cada 400 horas |
|
| A cada 800 horas |
|
| Antes do armazenamento |
|
Copie esta página para uma utilização de rotina.
| Verificações de manutenção | Para a semana de: | ||||||
|---|---|---|---|---|---|---|---|
| Seg. | Ter. | Qua. | Qui. | Sex. | Sáb. | Dom. | |
| Verifique o funcionamento dos interruptores de segurança. | |||||||
| Verifique o funcionamento dos travões. | |||||||
| Verifique os níveis do óleo do motor e do combustível. | |||||||
| Verifique o nível do fluido do sistema de arrefecimento. | |||||||
| Efetue a drenagem do separador de combustível/água. | |||||||
| Verifique o indicador de manutenção do filtro do ar. | |||||||
| Verifique se existem detritos no radiador, refrigerador do óleo e no painel. | |||||||
| Procure ruídos estranhos no motor.1 | |||||||
| Verifique os ruídos estranhos de funcionamento. | |||||||
| Verifique o nível de fluido do sistema hidráulico. | |||||||
| Verifique se os tubos hidráulicos se encontram danificados. | |||||||
| Verifique se há fuga de fluidos. | |||||||
| Verifique a pressão dos pneus. | |||||||
| Verifique o funcionamento do painel de instrumentos. | |||||||
| Verifique o ajuste do cilindro à lâmina de corte. | |||||||
| Verifique o ajuste da altura do corte. | |||||||
| Lubrifique todos os bocais de lubrificação.2 | |||||||
| Retoque a pintura danificada. | |||||||
1. Em caso de arranque difícil, verifique as velas de incandescência e os injetores; poderá ainda verificar-se alguma produção excessiva de fumo ou um funcionamento irregular da máquina.
2. Imediatamente após cada lavagem, independentemente do intervalo previsto
| Inspeção executada por: | ||
| Item | Data | Informação |
| 1 | ||
| 2 | ||
| 3 | ||
| 4 | ||
| 5 | ||
| 6 | ||
| 7 | ||
| 8 | ||
Important: Para informações detalhadas sobre os procedimentos de manutenção adicionais, consulte o Manual do utilizador do motor e Manual do utilizador da unidade de corte.
Note: Para obter um esquema elétrico ou esquema hidráulico da máquina, visite www.Toro.com.

Se deixar a chave na ignição, alguém pode ligar acidentalmente o motor e feri-lo a si ou às pessoas que se encontrarem próximo da máquina.
Retire a chave da ignição antes de fazer qualquer revisão.
Antes de ajustar, limpar, reparar ou abandonar a máquina, faça o seguinte:
Estacione a máquina numa superfície plana.
Desloque o interruptor do acelerador para a posição de ralenti baixo.
Desengate as unidades de corte.
Baixe as unidades de corte.
Certifique-se de que a tração está em Ponto morto.
Engate o travão de estacionamento.
Desligue o motor e retire a chave.
Espere até todas as peças móveis pararem.
Deixe os componentes da máquina arrefecerem antes de proceder à manutenção.
Se as unidades de corte estiverem na posição de transporte, utilize o bloqueio mecânico positivo (se disponível) antes de abandonar a máquina.
Se possível, não faça manutenção com o motor em funcionamento. Mantenha-se longe das peças móveis.
Utilize apoios para suportar a máquina ou os seus componentes sempre que necessário.
Cuidadosamente, liberte a pressão dos componentes com energia acumulada.
Solte os trincos do capot (Figura 47) e levante o capot.

Retire os contrapinos que prendem os suportes do capot aos pinos da estrutura e eleve o capot.
| Intervalo de assistência | Procedimento de manutenção |
|---|---|
| A cada 50 horas |
|
A máquina possui bocais de lubrificação que deverão ser lubrificados regularmente com massa lubrificante nº 2 à base de lítio. Se a máquina for utilizada em condições normais, deverá lubrificar todos os rolamentos e casquilhos após cada 50 horas de funcionamento ou imediatamente após cada lavagem.
A localização dos bocais de lubrificação e as quantidades são as seguintes:
Rolamentos articulados do eixo do travão (5) (Figura 48)

Articulação do casquilho do eixo traseiro (2) (Figura 49)

Rótulas do cilindro de direção (2) (Figura 50)

Rótulas esféricas da barra de ligação (2) (Figura 50)
Buchas do pino principal (2) (Figura 50). O bocal superior do pino principal apenas deverá ser lubrificado uma vez por ano (2 bombas).
Casquilhos do braço de elevação (1 por unidade de corte) (Figura 51)

Casquilhos do cilindro de elevação (2 por unidade de corte) (Figura 51)
Casquilhos da articulação do braço de elevação (1 por unidade de corte) (Figura 52)
Estrutura suporte da unidade de corte (2 por cada unidade de corte) (Figura 52)
Articulação do braço de elevação da unidade de corte (1 por cada unidade de corte) (Figura 52)

Desligue o motor antes de verificar ou adicionar óleo no cárter.
Não altere os valores do acelerador nem acelere o motor excessivamente.
| Intervalo de assistência | Procedimento de manutenção |
|---|---|
| A cada 400 horas |
|
Verifique se existe algum dano no corpo do filtro de ar que possa provocar uma fuga de ar. Substitua se estiver danificado. Verifique todo o sistema de admissão para ver se tem fugas, se está danificado ou se há braçadeiras de tubos soltas.
Faça a manutenção ao filtro de ar apenas quando o indicador de serviço(Figura 53) o exigir. Mudar o filtro de ar antes de ser necessário apenas aumenta a possibilidade de entrar sujidade no motor quando se retira o filtro.

Important: Certifique-se de que a cobertura está corretamente assente e veda com o corpo do filtro de ar.
Coloque a máquina numa superfície nivelada, baixe as unidades de corte até ao solo, engate o travão de estacionamento, desligue o motor e retire a chave da ignição.
Puxe o trinco para fora e rode a cobertura do filtro de ar no sentido contrário ao dos ponteiros do relógio (Figura 54).

Retire a cobertura do corpo do filtro de ar.
Antes de remover o filtro, utilize ar de baixa pressão – 2,76 bar, limpo e seco – para ajudar a retirar grandes acumulações de detritos que se encontram entre o lado de fora do filtro principal e o recipiente. Evite a utilização de ar de alta pressão, que pode forçar a entrada de sujidade no sistema de admissão através do filtro.
Este processo de limpeza evita que a sujidade migre para dentro da admissão quando se retira o filtro primário.
Retire e substitua o filtro primário (Figura 55).
Não se recomenda a limpeza do elemento usado devido a possibilidade de danos no meio do filtro. Inspecione o filtro novo para ver se sofreu danos durante o transporte, verificando a extremidade vedante do filtro e o corpo. Não utilize um elemento danificado.
Insira um filtro novo aplicando pressão no anel exterior do elemento para o assentar no recipiente. Não pressione no centro flexível do filtro.

Important: Nunca tente limpar o filtro de segurança (Figura 56). Substitua o filtro de segurança após três operações de manutenção do filtro primário.

Limpe a porta de ejeção de sujidade que se encontra na cobertura amovível.
Retire a válvula de saída em borracha da cobertura, limpe a cavidade e coloque a válvula de saída.
Instale a tampa orientando a válvula de saída de borracha para uma posição descendente – entre cerca de 5:00 a 7:00 quando vista da extremidade.
Reinicie o indicador (Figura 53) se este se apresentar vermelho.
| Intervalo de assistência | Procedimento de manutenção |
|---|---|
| A cada 250 horas |
|
Coloque a máquina numa superfície nivelada, baixe as unidades de corte até ao solo, engate o travão de estacionamento, desligue o motor e retire a chave da ignição.
Retire o tampão de escoamento (Figura 57) e deixe o óleo escorrer para um recipiente adequado.

Instale o tampão de escoamento quando o óleo parar.
Retire o filtro do óleo (Figura 58).

Aplique uma leve camada de óleo limpo no novo vedante do filtro antes de o montar.
Note: Não aperte demasiado o filtro.
Junte óleo ao cárter; consulte Verificar o nível do óleo do motor.
Ajuste o cabo do regulador (Figura 59) de modo a permitir que a alavanca de comando do motor fique em contacto com os parafusos de fixação de velocidade reduzida e elevada, antes que a alavanca do acelerador toque na ranhura do painel de controlo.

Em determinadas condições, o gasóleo e respetivos gases podem tornar-se inflamáveis e explosivos. Um incêndio ou explosão de combustível poderá provocar queimaduras e danos materiais.
Encha o depósito de combustível no exterior, num espaço aberto, quando o motor estiver desligado e frio. Limpe todo o combustível derramado.
Não encha completamente o depósito de combustível. Adicione gasolina ao depósito de combustível até que o nível se encontre 25 mm abaixo da parte superior do depósito, não do tubo de enchimento. Este espaço no depósito permite a expansão do combustível.
Não fume quando se encontrar próximo de combustível e mantenha-se afastado de todas as fontes de chama ou faíscas que possam inflamar os vapores existentes nesse meio.
Guarde o combustível num recipiente limpo e seguro e mantenha-o sempre bem fechado.
| Intervalo de assistência | Procedimento de manutenção |
|---|---|
| A cada 800 horas |
|
| Antes do armazenamento |
|
Coloque a máquina numa superfície nivelada, baixe as unidades de corte até ao solo, engate o travão de estacionamento, desligue o motor e retire a chave da ignição.
Drene e lave o depósito de combustível se o sistema de combustível ficar contaminado ou se tiver de guardar a máquina por um período de tempo prolongado. Utilize combustível limpo para lavar o depósito.
| Intervalo de assistência | Procedimento de manutenção |
|---|---|
| A cada 400 horas |
|
Coloque a máquina numa superfície nivelada, baixe as unidades de corte até ao solo, engate o travão de estacionamento, desligue o motor e retire a chave da ignição.
Verifique as tubagens de combustível quanto a sinais de deterioração, danos ou ligações soltas.
| Intervalo de assistência | Procedimento de manutenção |
|---|---|
| Em todas as utilizações ou diariamente |
|
| A cada 400 horas |
|
Coloque a máquina numa superfície nivelada, baixe as unidades de corte até ao solo, engate o travão de estacionamento, desligue o motor e retire a chave da ignição.
Coloque um recipiente limpo debaixo do filtro de combustível.
Liberte o tampão de escoamento que se encontra na zona inferior do recipiente do filtro.

Limpe a zona de montagem do recipiente do filtro.
Retire o recipiente do filtro e limpe a superfície de montagem.
Lubrifique a junta vedante do filtro com óleo limpo.
Monte o recipiente do filtro manualmente até que a junta entre em contacto com a superfície de montagem, rodando em seguida esse recipiente mais 1/2 volta.
Aperte o tampão de escoamento que se encontra na zona inferior do recipiente do filtro.
Coloque a máquina numa superfície nivelada, baixe as unidades de corte até ao solo, engate o travão de estacionamento, desligue o motor e retire a chave da ignição.
O tubo de admissão de combustível, localizado no interior do depósito de combustível, está equipado com um filtro para evitar que entre sujidade no sistema de combustível. Retire o tubo de admissão de combustível e limpe o filtro conforme necessário.
Desligue a bateria antes de reparar a máquina. Desligue o terminal negativo em primeiro lugar e o terminal positivo no final. Ligue o terminal positivo em primeiro lugar e o terminal negativo no final.
Carregue a bateria num espaço aberto e bem ventilado, longe de faíscas e chamas. Retire a ficha do carregador da tomada antes de o ligar ou desligar da bateria. Utilize roupas adequadas e ferramentas com isolamento.
Os bornes, terminais e restantes acessórios da bateria contêm chumbo e derivados de chumbo. É do conhecimento do Estado da Califórnia que estes produtos químicos podem provocar cancro e problemas reprodutivos. Lave as mãos após o manuseamento.
Coloque a máquina numa superfície nivelada, baixe as unidades de corte até ao solo, engate o travão de estacionamento, desligue o motor e retire a chave da ignição.
Desbloqueie e eleve o painel da consola do operador (Figura 61).

O eletrólito da bateria contém ácido sulfúrico, uma substância extremamente venenosa que pode provocar queimaduras graves.
Não beba eletrólito e evite qualquer contacto com a pele, olhos e vestuário. Use óculos de proteção para proteger os olhos e luvas de borracha para proteger as mãos.
Ateste a bateria apenas em locais onde exista água limpa para lavar as mãos.
Ligue um carregador de baterias de 3 a 4 amperes aos pólos da bateria.
Carregue a bateria com um carregador de bateria de 3 a 4 amperes, durante 4 a 8 horas.
Quando a bateria estiver carregada, desligue o carregador da tomada elétrica e dos polos da bateria.
O carregamento da bateria gera gases que podem explodir.
Nunca fume perto da bateria e mantenha-a afastada de faíscas e chamas.
Instale o cabo positivo (vermelho) no terminal positivo (+) e o cabo negativo (negro) no terminal negativo (-) da bateria (Figura 62).

Prenda os cabos aos pólos com parafusos e porcas.
Certifique-se de que o terminal positivo (+) se encontra corretamente colocado no pólo e de que o cabo se encontra corretamente encaixado na bateria. O cabo não deverá estar em contacto com a cobertura da bateria.
Coloque a proteção de borracha sobre o terminal positivo para evitar um curto-circuito.
Cubra as ligações da bateria com lubrificante Grafo 112X, peça Toro n.º 505-47, vaselina ou lubrificante suave, para evitar a corrosão, e coloque a tampa de borracha no terminal positivo.
Coloque a cobertura de borracha no terminal positivo.
Feche o painel da consola e prenda o trinco.
Os terminais da bateria e as ferramentas de metal poderão provocar curto-circuitos noutros componentes do veículo, produzindo faíscas. As faíscas podem provocar uma explosão dos gases da bateria, resultando em acidentes pessoais.
Quando retirar ou montar a bateria, não toque com os terminais da bateria noutras peças metálicas da máquina.
Não deixe as ferramentas de metal entrar em curto-circuito com os terminais da bateria e peças metálicas da máquina.
O encaminhamento errado dos cabos da bateria pode danificar a máquina e os cabos, produzindo faíscas. As faíscas podem provocar uma explosão dos gases da bateria, resultando em ferimentos pessoais.
Desligue sempre o cabo negativo (preto) da bateria antes de desligar o cabo positivo (vermelho).
Ligue sempre o cabo positivo (vermelho) da bateria antes de ligar o cabo negativo (preto).
| Intervalo de assistência | Procedimento de manutenção |
|---|---|
| A cada 50 horas |
|
Important: Antes de efetuar qualquer soldagem na máquina, deverá desligar o cabo negativo da bateria, de modo a evitar quaisquer danos no sistema elétrico.
Note: Verifique o estado da bateria semanalmente ou após cada 50 horas de funcionamento. Mantenha os terminais e toda a caixa da bateria em perfeitas condições de limpeza já que uma bateria suja descarrega mais rapidamente.
Limpe a bateria da seguinte forma:
Coloque a máquina numa superfície nivelada, baixe as unidades de corte até ao solo, engate o travão de estacionamento, desligue o motor e retire a chave da ignição.
Retire a bateria da máquina.
Lave toda a caixa com uma solução de bicarbonato de sódio e água.
Lave a caixa com água limpa.
Cubra os pólos da bateria e ligações dos cabos com lubrificante Grafo 112X (peça Toro n.º 505-47) ou vaselina para evitar qualquer corrosão.
Os fusíveis estão debaixo do painel de controlo do operador.

Coloque a máquina numa superfície nivelada, baixe as unidades de corte até ao solo, engate o travão de estacionamento, desligue o motor e retire a chave da ignição.
Liberte o capot e eleve o painel da consola do operador (Figura 64) para expor os fusíveis (Figura 65).


| Intervalo de assistência | Procedimento de manutenção |
|---|---|
| Após as pimeiras 8 horas |
|
| A cada 200 horas |
|
Coloque a máquina numa superfície nivelada, baixe as unidades de corte até ao solo, engate o travão de estacionamento, desligue o motor e retire a chave da ignição.
Se não mantiver um aperto das porcas das rodas adequado, as rodas poderão falhar ou soltar-se e provocar lesões graves.
Aperte as porcas das rodas dianteiras e traseiras com um binário de 115 a 136 N·m após 1 a 4 horas de funcionamento e novamente após 8 horas de funcionamento. Aperte as porcas das rodas a cada 200 horas a partir daí.
Note: As porcas das rodas dianteiras são 1/2–20 UNF. As porcas das rodas traseiras são M12 x 1,6-6H (métrico).
| Intervalo de assistência | Procedimento de manutenção |
|---|---|
| A cada 400 horas |
|
Verifique o nível de óleo a cada 400 horas de funcionamento. Utilize lubrificante para engrenagens SAE 85W-140 de alta qualidade.
Coloque a máquina numa superfície nivelada, baixe as unidades de corte até ao solo, engate o travão de estacionamento, desligue o motor e retire a chave da ignição.
Posicione a roda de forma a que 1 tampão de verificação (Figura 66) fique na posição das 12 horas e o outro na das 3 horas.

Retire o tampão da posição das 3 horas (Figura 66).
Note: O óleo deve ficar ao nível do fundo do orifício.
Se o nível estiver baixo, retire o tampão da posição das 12 horas e adicione óleo até que comece a sair pelo furo da posição das 3 horas.
Instale ambos os tampões.
Repita os passos 2 a 5 na estrutura oposta.
| Intervalo de assistência | Procedimento de manutenção |
|---|---|
| Após as pimeiras 200 horas |
|
| A cada 800 horas |
|
Inicialmente, substitua o óleo após cada 200 horas de funcionamento. Daí em diante, substitua o óleo a cada 800 horas ou anualmente, consoante o que ocorrer primeiro. Utilize lubrificante para engrenagens SAE 85W-140 de alta qualidade.
Coloque a máquina numa superfície nivelada, baixe as unidades de corte até ao solo, engate o travão de estacionamento, desligue o motor e retire a chave da ignição.
Posicione uma roda de forma a que um dos tampões de verificação se encontre na sua posição mais baixa (6 horas) (Figura 67).

Coloque o recipiente de escoamento por baixo do cubo da roda, retire o tampão e deixe o óleo escorrer para o recipiente.
Coloque o recipiente de escoamento por baixo da estrutura do travão, retire o tampão e deixe o óleo escorrer para o recipiente (Figura 68).

Quando terminar de drenar o óleo de ambos os locais, volte a colocar o tampão inferior na estrutura do travão.
Rode a roda até que o furo aberto fique na posição das 12 horas.
Através do furo aberto, encha lentamente com 0,65 litros de lubrificante para engrenagens SAE 85W-140 de elevada qualidade.
Important: Se o sistema encher antes de adicionar 0,65 l de óleo, aguarde 1 hora ou instale o tampão e mova a máquina cerca de três metros para distribuir o óleo através do sistema de travões. Em seguida, retire o tampão e adicione o restante óleo.
Volte a colocar o tampão.
Repita o procedimento para a transmissão/travões opostos.
| Intervalo de assistência | Procedimento de manutenção |
|---|---|
| A cada 400 horas |
|
O eixo traseiro é enviado de fábrica já com lubrificante SAE 85W-140 aplicado. Verifique o nível do fluido antes de ligar o motor pela primeira vez e a cada 400 horas de funcionamento depois em diante. A sua capacidade é de 2,4 litros. Efetue diariamente uma inspeção visual quanto a fugas.
Coloque a máquina numa superfície nivelada, baixe as unidades de corte até ao solo, engate o travão de estacionamento, desligue o motor e retire a chave da ignição.
Retire o tampão de verificação que se encontra numa das extremidades do eixo (Figura 69) e certifique-se de que existe óleo até ao fundo do orifício. Se o nível estiver baixo, retire o tampão de enchimento (Figura 69) e adicione óleo suficiente para o nível de lubrificante subir até ao fundo dos orifícios do tampão de verificação.

| Intervalo de assistência | Procedimento de manutenção |
|---|---|
| Após as pimeiras 200 horas |
|
| A cada 800 horas |
|
Coloque a máquina numa superfície nivelada, baixe as unidades de corte até ao solo, engate o travão de estacionamento, desligue o motor e retire a chave da ignição.
Limpe a zona em redor dos 3 tampões de escoamento, 1 em cada extremidade e 1 no centro (Figura 70).

Retire os tampões de verificação do nível de óleo e o tampão de ventilação do eixo principal para facilitar a drenagem do óleo.
Retire os tampões de escoamento e deixe o óleo escorrer para recipientes adequados.
Instale os tampões.
Retire um tampão de verificação e encha o eixo com cerca de 2,37 litros de lubrificante 85W-140 ou até que o óleo chegue à parte de baixo do orifício.
Coloque o tampão de verificação.
| Intervalo de assistência | Procedimento de manutenção |
|---|---|
| A cada 400 horas |
|
O eixo traseiro é abastecido com lubrificante para engrenagens SAE 85W-140. Verifique o nível do fluido antes de ligar o motor pela primeira vez e a cada 400 horas de funcionamento depois em diante. A capacidade é de 0,5 litros. Efetue diariamente uma inspeção visual quanto a fugas.
Coloque a máquina numa superfície nivelada, baixe as unidades de corte até ao solo, engate o travão de estacionamento, desligue o motor e retire a chave da ignição.
Retire o tampão de verificação/enchimento que se encontra na zona esquerda da caixa de velocidades (Figura 71) e certifique-se de que existe lubrificante até ao fundo do orifício. Se o nível estiver baixo, junte lubrificante suficiente para o nível subir até ao fundo do orifício.

A máquina não pode deslizar quando soltar o pedal de tração. Se isso acontecer, tem de fazer um ajuste.
Coloque a máquina numa superfície nivelada, desligue o motor, coloque o controlo da velocidade na gama baixa e baixe as unidades de corte até ao solo.
Pressione apenas o pedal do travão direito e engate o travão de estacionamento.
Levante a zona esquerda da máquina, de modo a elevar a roda esquerda dianteira do chão. Utilize apoios de forma a evitar qualquer queda acidental.
Ligue o motor e deixe-o funcionar ao ralenti lento.
Ajuste as porcas de segurança na extremidade da barra da bomba para mover o tubo de controlo da bomba para a frente e eliminar o risco de deslizamentos para a frente, ou para trás para eliminar os deslizamentos para trás (Figura 72).

Quando as rodas pararem de rodar, aperte as porcas de segurança para fixar o ajuste.
Desligue o motor e solte o travão direito.
Retire os apoios e baixe a máquina.
Teste a máquina para ter a certeza de que não desliza.
| Intervalo de assistência | Procedimento de manutenção |
|---|---|
| A cada 800 horas |
|
Coloque a máquina numa superfície nivelada, baixe as unidades de corte até ao solo, engate o travão de estacionamento, desligue o motor e retire a chave da ignição.
Meça a distância de centro a centro (à altura do eixo) na zona dianteira e traseira dos pneus da direção.
Note: A medição dianteira deve ser 3 mm inferior à medição traseira (Figura 73).

Para ajustar o alinhamento, remova o contrapino e a porca de cada uma das rótulas da barra de ligação (Figura 74).

Remova a rótula da barra de ligação do suporte do eixo.
Desaperte as abraçadeiras que estão em ambas as extremidades das barras de ligação (Figura 74).
Rode uma volta completa a rótula separada, para dentro ou para fora.
Aperte a braçadeira na extremidade solta da barra de ligação.
Rode 1 volta completa todo o conjunto da barra de ligação na mesma direção (para dentro ou para fora).
Aperte a braçadeira na extremidade unida da barra de ligação.
Instale a rótula no suporte do eixo e aperte bem a porca.
Verifique o alinhamento, fazendo as devidas medições.
Repita o procedimento caso seja necessário.
Aperte a porca e instale um novo contrapino quando o ajuste estiver correto.
Ingerir líquido de refrigeração do motor pode ser tóxico; Mantenha as crianças e os animais de estimação afastados.
O derrame de líquido de refrigeração quente pressurizado ou o contacto com o radiador quente e peças adjacentes pode provocar queimaduras graves.
Deixe sempre o motor arrefecer pelo menos 15 minutos antes de retirar a tampa do radiador.
Use um trapo quando abrir o tampão do radiador, fazendo-o lentamente para permitir a saída do vapor.
| Intervalo de assistência | Procedimento de manutenção |
|---|---|
| Em todas as utilizações ou diariamente |
|
Remova diariamente os detritos da área do motor, do refrigerador de óleo e do radiador. Limpe-os com mais frequência em condições de grande sujidade.
Coloque a máquina numa superfície nivelada, baixe as unidades de corte até ao solo, engate o travão de estacionamento, desligue o motor e retire a chave da ignição.
Destranque e abra o painel traseiro (Figura 75).

Limpe cuidadosamente os detritos do painel.
Note: Para retirar o painel, levante os pinos das dobradiças.
Limpe ambos os lados do radiador/refrigerador (Figura 76) com ar comprimido. Comece a partir da parte frontal e sopre os detritos para fora na direção da parte posterior. Depois, limpe a partir da parte posterior e sopre na direção da parte frontal. Repita o procedimento várias vezes até remover toda a sujidade e detritos.

Important: A limpeza do radiador /refrigerador com água poderá acelerar o processo de corrosão destes componentes e compactar os resíduos.
Feche o filtro traseiro e fixe-o com os trincos.
Ajuste os travões de serviço se o pedal do travão apresentar uma folga superior a 13 mm ou quando os travões não funcionarem de forma eficaz. Folga é a distância percorrida pelo pedal antes de se verificar qualquer resistência ao movimento.
Coloque a máquina numa superfície nivelada, baixe as unidades de corte até ao solo, engate o travão de estacionamento, desligue o motor e retire a chave da ignição.
Desengate o trinco de bloqueio dos pedais dos travões, de forma a que ambos os pedais possam funcionar de forma independente.
Para reduzir as folgas no pedais dos travões, aperte os travões da seguinte forma:
Desaperte a porca dianteira na extremidade roscada do cabo do travão (Figura 77).

Aperte a porca traseira para deslocar o cabo para trás até que os pedais dos travões apresentem uma folga de 0 a 13 mm.
Note: Certifique-se de que não existe tensão no travão quando o pedal é libertado.
Aperte as porcas dianteiras depois de os travões estarem corretamente ajustados.
| Intervalo de assistência | Procedimento de manutenção |
|---|---|
| A cada 100 horas |
|
Verifique o estado e a tensão das correias (Figura 78) após cada 100 horas de funcionamento.
Uma tensão adequada deverá permitir um desvio de 10 mm quando for aplicada uma força de 45 N numa zona intermédia da correia entre as duas polias.
Se a deslocação obtida não for igual a 10 mm, deve desapertar os parafusos de montagem do alternador (Figura 78).

Aumente ou diminua a tensão da correia do alternador e aperte os parafusos.
Verifique uma vez mais a deslocação da correia para se certificar de que a tensão está correta.
Certifique-se de que todos os tubos e tubos hidráulicos se encontram em bom estado de conservação e que todas as ligações e uniões hidráulicas estão bem apertadas antes de colocar o sistema sob pressão.
Mantenha os seus corpo e mãos longe de fugas ou bicos que projetem fluido hidráulico sob pressão.
Utilize um pedaço de cartão ou papel para encontrar fugas do fluido hidráulico.
Elimine com segurança toda a pressão do sistema hidráulico antes de executar qualquer procedimento neste sistema.
Em caso de penetração do fluido na pele, consulte imediatamente um médico. O fluido penetrado deve ser removido cirurgicamente dentro de algumas horas por um médico.
| Intervalo de assistência | Procedimento de manutenção |
|---|---|
| A cada 800 horas |
|
Mude o fluido hidráulico após cada 800 horas de funcionamento, quando utilizar a máquina em condições normais. Se o fluido tiver sido contaminado, deverá entrar em contacto com o seu distribuidor TORO para efetuar uma lavagem do sistema. O fluido contaminado tem uma aparência leitosa ou negra quando comparado com fluido limpo.
Coloque a máquina numa superfície nivelada, baixe as unidades de corte até ao solo, engate o travão de estacionamento, desligue o motor e retire a chave da ignição.
Eleve o capot.
Desligue o tubo de retorno da caixa da zona inferior do reservatório e deixe que o fluido escorra para um recipiente adequado.
Ligue o tubo quando o fluido hidráulico parar de escorrer.
Encha o reservatório com aproximadamente 28,4 litros de fluido hidráulico; consulte a Verificar o nível do fluido hidráulico.
Important: Utilize apenas os fluidos hidráulicos especificados. A utilização de outros fluidos poderá danificar o sistema.
Em seguida, volte a montar a tampa do reservatório.
Ligue o motor e utilize todos os comandos hidráulicos, de modo a distribuir o fluido hidráulico por todo o sistema.
Verifique se existem fugas e desligue o motor.
Verifique o nível de fluido e adicione fluido suficiente para elevar o nível até à marca Cheio da vareta.
Note: Não encha demasiado o sistema hidráulico.
| Intervalo de assistência | Procedimento de manutenção |
|---|---|
| Após as pimeiras 200 horas |
|
| A cada 800 horas |
|
Inicialmente, substitua ambos os filtros hidráulicos após as primeiras 200 horas de funcionamento. Daí em diante, substitua os filtros após cada 800 horas de funcionamento, quando utilizar a máquina em condições normais.
Utilize os filtros sobressalentes Toro (peça n.º 94-2621 para a traseira da máquina (unidade de corte) e a peça 75-1310 para a dianteira (carga) da máquina.
Important: A utilização de outro filtro poderá anular a garantia de alguns componentes.
Coloque a máquina numa superfície nivelada, baixe as unidades de corte até ao solo, engate o travão de estacionamento, desligue o motor e retire a chave da ignição.
Limpe a zona em torno da montagem do filtro.
Coloque um recipiente de escoamento debaixo do filtro e retire o filtro (Figura 79 e Figura 80).
Lubrifique a junta vedante do novo filtro e encha o filtro com fluido hidráulico.


Certifique-se de que a zona de montagem do filtro se encontra limpa.
Aparafuse o filtro até a junta vedante tocar na placa de montagem; depois, aperte o filtro com mais 1/2 volta.
Ligue o motor e deixe funcionar a máquina durante dois minutos para eliminar o ar do sistema.
Desligue o motor e verifique se existem fugas.
| Intervalo de assistência | Procedimento de manutenção |
|---|---|
| Em todas as utilizações ou diariamente |
|
Verifique diariamente as tubagens e as mangueiras hidráulicas quanto à existência de fugas, tubagens dobradas, suportes de montagem soltos, desgaste, juntas soltas e danos provocados pelas condições atmosféricas ou por agentes químicos. Efetue todas as reparações necessárias antes de utilizar a máquina.
O fluido hidráulico que sai sob pressão pode penetrar na pele e provocar lesões.
Certifique-se de que todos os tubos e tubos hidráulicos se encontram em bom estado de conservação e que todas as ligações e uniões hidráulicas estão bem apertadas antes de colocar o sistema sob pressão.
Mantenha os seus corpo e mãos longe de fugas ou bicos que projetem fluido hidráulico sob pressão.
Utilize um pedaço de cartão ou papel para detetar fugas do fluido hidráulico.
Elimine com segurança toda a pressão do sistema hidráulico antes de executar qualquer procedimento neste sistema.
Em caso de penetração do fluido na pele, consulte imediatamente um médico.
Uma unidade de corte desgastada ou danificada pode partir-se e um pedaço de cilindro ou lâmina pode ser projetado e atingir o operador ou alguém que esteja por perto, provocando ferimentos pessoais graves ou até mesmo a morte.
Inspecione periodicamente as unidades de corte para verificar se apresentam sinais de desgaste ou outros danos.
Tome todas as precauções necessárias quando efetuar a verificação das unidades de corte. Envolva as lâminas ou utilize luvas e tome todas as precauções necessárias quando efetuar a manutenção dos cilindros e das lâminas. Substitua ou retifique os cilindros ou lâminas de corte; não os endireite nem solde.
Em máquinas multilâminas, esteja atento ao facto de que a rotação de um cilindro pode provocar a rotação de outras lâminas.
Tocar nos cilindros ou noutras peças em movimento pode provocar lesões graves.
Mantenha os dedos, mãos e roupa afastados dos cilindros e de todas as outras peças em movimento.
Nunca tente rodar os cilindros com a mão ou com o pé enquanto o motor está em funcionamento.
Note: durante a retificação, todas as unidades dianteiras funcionam em conjunto; as unidades traseiras também funcionam em conjunto.
Estacione a máquina numa superfície nivelada, desça as unidades de corte, engate o travão de estacionamento, desligue o motor e mova o interruptor para a posição DESLIGAR.
Desbloqueie e levante o capot para expor os controlos.
Faça os ajustes iniciais do cilindro à lâmina de corte, adequados à retificação em todas as unidades de corte que quer retificar; consulte o Manual do utilizador da unidade de corte.
Selecione as alavancas de retificação dianteiras, traseiras ou ambas para determinar quais as unidades a retificar (Figura 81).
Ligue o motor e faça-o funcionar ao ralenti lento.
Mudar a velocidade do motor ao retificar pode fazer com que os cilindros parem.
Nunca mude a velocidade do motor durante a retificação.
Faça a retificação apenas com o motor ao ralenti.
O contacto com as unidades de corte em movimento pode provocar lesões graves.
Para evitar ferimentos pessoais certifique-se de que está afastado das unidades de corte antes de continuar.
Com o limitador de velocidade corte na posição CORTE, desloque o interruptor da tomada de força (PTO) para a posição LIGAR.
Pressione o interruptor de elevação para ligar a operação de retificação nos cilindros designados.
Aplique o produto de retificação com uma escova de cabo comprido.
Note: Não utilize uma escova de cabo curto.

Se os cilindros pararem ou ficarem erráticos durante a retificação, aumente a velocidade de aceleração até que o cilindro estabilize.
Para ajustar as unidades de corte durante a retificação, desative os cilindros, pressionando a parte traseira do interruptor de elevação; coloque o interruptor da tomada de força (PTO) na posição DESLIGAR e desligue o motor. Depois de concluir os ajustes, repita os passos 5 a 9.
Repita este procedimento para todas as unidades de corte a retificar.
Quando concluir, volte a colocar as alavancas de retificação na posição CORTAR, baixe o capot e lave todo o produto de retificação das unidades de corte. Ajuste o cilindro da unidade de corte às lâminas, conforme necessário. Desloque os controlos da velocidade do cilindro da unidade de corte para a posição desejada.
Important: Se as alavancas de retificação não voltarem à posição DESLIGAR após a retificação, as unidades de corte não se elevam ou deixam de funcionar devidamente.
Note: Instruções e procedimentos adicionais sobre manutenção estão disponíveis no Manual de afinação de cilindros e cortadores rotativos Toro, formulário n.º 80-300SL.
Note: Para um melhor fio de corte, passe uma lima na frente da lâmina de corte depois de concluída a retificação. Assim, reduz imperfeições ou arestas que se possam ter formado no fio de corte.
Coloque a máquina numa superfície nivelada, baixe as unidades de corte até ao solo, engate o travão de estacionamento, desligue o motor e retire a chave da ignição.
Limpe bem a unidade de tração, unidades de corte e motor.
Verifique a pressão dos pneus; consulte a Verificar a pressão dos pneus.
Verifique todos os dispositivos de fixação para ver se estão soltos; aperte-os conforme necessário.
Lubrifique todos os bocais de lubrificação e pontos de articulação. Limpe a massa lubrificante em excesso.
Lixe e retoque todas as zonas riscadas, estaladas ou enferrujadas. Efetue a reparação de todas as mossas existentes no corpo metálico.
Efetue a manutenção da bateria e dos cabos da seguinte forma:
Retire os terminais dos polos da bateria.
Limpe a bateria, terminais e polos com uma escova de arame e uma solução de bicarbonato de sódio.
Cubra os terminais do cabo e os pólos da bateria com lubrificante Grafo 112X (peça Toro n.º 505-47) ou vaselina para evitar qualquer corrosão.
Carregue a bateria lentamente durante 24 horas, de 2 em 2 meses, para evitar a sulfatização do chumbo da bateria.
Esvazie o óleo do motor do cárter e monte o tampão de escoamento.
Retire o filtro do óleo. Coloque um novo filtro de óleo.
Encha o motor com o óleo de motor especificado.
Ligue o motor e faça-o funcionar a uma velocidade de ralenti durante cerca de 2 minutos.
Desligue o motor.
Lave o depósito de combustível com combustível novo e limpo.
Aperte todas as juntas do sistema de combustível.
Limpe e efetue a manutenção da estrutura do filtro de ar.
Vede a entrada do filtro de ar e a saída de gases com fita impermeável.
Verifique os níveis do líquido anticongelante e adicione uma solução de 50/50 de água e anticongelante etileno-glicol, adequada à temperatura mínima prevista para a zona.