| Vedlikeholdsintervall | Vedlikeholdsprosedyre |
|---|---|
| For hver bruk eller daglig |
|
Maskinen er en plentraktor med spolekniver som er beregnet for bruk av profesjonelle, innleide operatører i kommersielle applikasjoner. Den er hovedsakelig laget for å klippe gress på allerede godt vedlikeholdte parkplener, golfbaner, idrettsbaner og plener i kommersielle områder. Den er ikke beregnet på å klippe kratt, høyt gress og andre vekster langs motorveier eller til å brukes til landbruk.
Les denne håndboken nøye, slik at du lærer å bruke og vedlikeholde produktet på riktig måte og unngår person- eller produktskade. Du har ansvar for å bruke produktet på en riktig og sikker måte.
Du kan kontakte Toro direkte på www.Toro.com for materialer for produktsikkerhet og opplæring i bruk, og informasjon om tilbehør, hjelp til å finne en forhandler eller for å registrere produktet ditt.
Hvis maskinen må repareres eller du trenger originale Toro-deler eller mer informasjon, kan du kontakte et autorisert forhandlerverksted eller Toros kundeserviceavdeling. Ha modell- og serienummer for hånden når du tar kontakt. Figur 1 identifiserer plasseringen av modell- og serienumre på høyre side av frontrammen på produktet. Skriv inn numrene i de tomme feltene.

Denne brukerhåndboken identifiserer mulige farer, og markerer sikkerhetsbeskjeder gjennom sikkerhetsvarslingssymbolet (Figur 2) som varsler om en fare som kan føre til alvorlige skader eller dødsfall hvis du ikke følger de anbefalte forholdsreglene.

I tillegg brukes to ord for å utheve informasjon. Viktig gjør oppmerksom på spesiell mekanisk informasjon og Obs henviser til generell informasjon som er verdt å huske.
Dette produktet er i samsvar med alle relevante europeiske direktiver. Se eget samsvarserklæringsskjema for produktet for detaljert informasjon.
Det er i strid med Californias Public Resource Code, avsnitt 4442 eller 4443, å bruke denne motoren i skogs-, busk- eller gressområder med mindre motoren er utstyrt med en fungerende gnistfanger, som definert i avsnitt 4442, eller en motor som er beregnet, utstyrt og vedlikeholdt for å unngå brann.
Den vedlagte brukerhåndboken for motoren inneholder informasjon om amerikanske miljømyndigheters (EPA) og Californias utslippskontrollreguleringer for utslippssystemer, vedlikehold og garanti. Du kan bestille nye brukerhåndbøker fra motorprodusenten.
CALIFORNIA
Proposition 65-advarsel
Staten California kjenner til at motoreksosen fra dette produktet inneholder kjemikalier som kan forårsake kreft, fosterskader og skade forplantningsevnen på andre måter.
Bruk av dette produktet kan forårsake eksponering for kjemikalier som staten California vet forårsaker kreft, fødselsdefekter eller annen forplantningsskade.
Denne maskinen har blitt designet for å oppfylle eller overgå EN ISO-standard 5395:2013 (når de riktige merkene er festet på maskinen) og ANSI-standard B71.4-2012.
Dette produktet kan amputere hender og føtter og slynge gjenstander opp i luften. Følg alltid alle sikkerhetsinstruksjoner for å unngå alvorlige skader.
Hvis du bruker dette produktet til andre formål enn det er beregnet på, kan du utsette deg selv eller andre for fare.
Les og forstå innholdet i denne brukerhåndboken før du starter motoren.
Hold hender og føtter borte fra roterende deler på maskinen.
Bruk aldri maskinen uten at alle verneplater og andre sikkerhetsanordninger sitter på plass og fungerer.
Hold deg unna alle åpninger på utløpssjakten. Hold tilskuere og kjæledyr på trygg avstand fra maskinen.
Hold barn borte fra arbeidsområdet. Utstyret er ikke tillatt for barn.
Stopp maskinen og slå av motoren før du utfører service på, fyller drivstoff på eller fjerner materiale fra maskinen.
Feilaktig bruk og vedlikehold av maskinen kan føre til personskade. For å redusere muligheten for skader bør du følge disse sikkerhetsinstruksjonene og alltid være oppmerksom på sikkerhetsalarmsymbolet som betyr Forsiktig, Advarsel eller Fare – personsikkerhetsinstruks. Hvis ikke disse instruksjonene tas hensyn til, kan dette føre til at noen blir alvorlig skadet eller drept.
Du finner mer sikkerhetsinformasjon når det trengs i brukerhåndboken.
Motoren i denne maskinen er i samsvar med EU-trinn 3A.
![]() |
Sikkerhetsmerker og instruksjoner er lett synlige for føreren og er plassert i nærheten av alle områder som representerer en potensiell fare. Bytt ut alle merker som er ødelagte eller mangler. |























Note: Angi hva som er høyre og venstre side på maskinen ved å stå i normal arbeidsstilling.
Avhengig av bredden på klippeenhetene som skal monteres på trekkenheten, skal støttevalsene justeres som følger:
Parker maskinen på en jevn overflate, koble inn parkeringsbremsen, slå av motoren, og ta ut nøkkelen.
Deler som er nødvendige for dette trinnet:
| Varselmerke | 1 |
På maskiner som krever CE-samsvar, fester du CE-varselmerket (delenr. 120-1686) over standardvarselmerket (delenr. 120-1683).
Deler som er nødvendige for dette trinnet:
| Panserlåsbrakett | 1 |
| Nagle | 2 |
| Skrue (¼ x 2 tommer) | 1 |
| Flat skive (¼ tomme) | 2 |
| Låsemutter (¼ tomme) | 1 |
Hekt løs panserlåsen fra panserlåsbraketten (Figur 4).

Fjern de to naglene som fester panserlåsbraketten til panseret (Figur 5).

Fjern panserlåsbraketten fra panseret.
Plasser CE-låsebraketten og panserlåsbraketten på panseret på linje med monteringshullene.
Note: Låsebraketten må være mot panseret (Figur 5).Ikke fjern bolten og mutteren fra låsebrakettarmen.

Rett inn skivene med hullene på innsiden av panseret.
Nagle brakettene og skivene til panseret (Figur 6).
Hekt låsen på panserlåsbraketten (Figur 7).

Skru bolten inn på den andre armen til panserlåsbraketten for å låse låsen i stilling (Figur 8).

Stram til bolten, men ikke stram mutteren.
Deler som er nødvendige for dette trinnet:
| Fremre slangefører (høyre) | 1 |
| Fremre slangefører (venstre) | 1 |
Fjern spolemotorene fra fraktbraketten.
Fjern transportbrakettene, og kast dem.
Fjern klippeenhetene fra kartongene.
Monter og juster som beskrevet i henhold til klippeenhetens brukerhåndbok.
Kontroller at motvekten (Figur 9) er installert i den korrekte enden av klippeenheten som beskrevet i klippeenhetens brukerhåndbok.

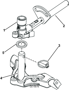
Alle klippeenhetene sendes med dekkekompenseringsfjæren festet til høyre side av klippeenheten. Dekkekompenseringsfjæren må være festet på samme side av klippeenheten som spoledrivmotoren. Plasser dekkekompenseringsfjæren på nytt på følgende måte:
Fjern de to låseskruene og mutterne som fester stangbraketten til klippeenhetstappene (Figur 10).

Fjern flensmutteren som fester fjærrørsskruen til bærerammetappen (Figur 10).
Fjern enheten.
Monter skruen til fjærrøret på motsatt tapp på bærerammen, og fest med flensmutteren.
Note: Still skruehodet på utsiden av tappen, som vist i Figur 11.

Monter stangbraketten til klippeenhetstappene med låseskruene og mutterne (Figur 11). På klippeenheten monterer du venstre slangefører på fremsiden av klippeenhetstappene når du monterer stangbraketten igjen (Figur 13).
Important: På klippeenhet nr. 4 (venstre foran) og klippeenhet nr. 5 (høyre foran) bruker du monteringsmutterne for stangbraketten til å montere slangeførerne foran på klippenhetstappene. Slangeførerne skal lene mot midtre klippeenhet (Figur 12 til og med Figur 14).



Note: Når du installerer eller fjerner klippeenheten må du kontrollere at hårnålssplinten er installert i fjærstanghullet ved siden av stangbraketten. Ellers skal hårnålssplinten være installert i hullet på enden av stangen.
Øk styringen på de bakre klippeenhetene ved å fjerne de to svingavstandsstykkene, sokkelskruene med sekskanthode og flenslåsemutre (Figur 15) fra bærerammene på de bakre klippeenhetene (klippeenhet 2 og 3). Se Figur 12.

Senk alle løftearmene fullstendig.
Dekk bærerammeakselen med rent smørefett (Figur 16).

For de fremre klippeenhetene skyver du en klippeenhet under løftearmen mens du fører akselen til bærerammen inn i løftearmens dreiegaffel (Figur 16). Sørg for at trykkskiven er på plass på bærerammeakselen.
Sikre bærerammen til løftearmens dreiegaffel med ringstiften (Figur 16).
Fest dreiegaffelen til bærerammen med låsestiften (Figur 17) for å låse (feste) styringen på klippeenhetene.

Note: Fast styring anbefales ved klipping av skråbakker.
Bruk følgende prosedyre på de bakre klippeenhetene når klippehøyden er over 19 mm.
Fest løftearmkjedet til kjedebraketten med låsestiften (Figur 19).
Note: Bruk det antallet kjedekoblinger som angis i klippeenhetens brukerhåndbok.

Dekk kileakselen i spolemotoren med rent smørefett.
Påfør olje i motorens O-ring og sett den på motorflensen.
Installer motoren ved å rotere den med klokken slik at motorflensene går klar av skruene (Figur 20).

Roter motoren mot klokken til flensene omringer boltene, og trekk deretter til boltene.
Important: Sørg for at spolemotorslangene ikke er vridd, knekt eller står i fare for å komme i klem.
Dekkekompenseringsfjæren (Figur 21) overfører vekten fra den fremre til den bakre valsen. Dette er med på å redusere bølgemønsteret i gresset, også kjent som "ondulering".
Important: Foreta fjærjusteringer med klippeenheten på trekkenheten, vendt rett fremover og senket til gulvet.
Kontroller at hårnålssplinten er installert i det bakre hullet på enden av stangen (Figur 21).
Note: Flytt hårnålssplintpinnen til fjærstaghullet ved siden dekkekompenseringsfjæren når service skal utføres på klippeenheten.

Stram til sekskantmutrene foran på fjærstangen helt til den komprimerte lengden på fjæren er 15,9 cm. Se Figur 21.
Note: Ved bruk i ujevnt terreng bør du redusere fjærlengden med 13 mm. Bakkefølgingen vil reduseres noe.
Note: Innstillingen for plenjevning må nullstilles hvis klippehøydeinnstillingen eller aggresjonen for klippeenheten blir endret.
Deler som er nødvendige for dette trinnet:
| Klippeenhetsstøtte | 1 |
Når klippeenheten må tippes på siden for at man skal komme til motstål/spole, vipp opp baksiden av klippeenheten med støtten for å sikre at mutterne bak på enden av justeringsskruen til motstangen ikke hviler på arbeidsoverflaten (Figur 22).

Fest støtten til kjedebraketten med låsestiften (Figur 23).

Før du bruker maskinen må den smøres godt. Se Smøring. Hvis du ikke smører maskinen, ødelegges viktige deler tidligere enn ellers.
Kontroller oljenivået i bakakselen før motoren startes for første gang. Se Kontrollere oljenivået i bakakselen.
Kontroller hydraulikkvæskenivået før du starter motoren for første gang. Se Kontrollere nivået på hydraulikkvæsken.
Kontroller motoroljenivået før og etter motoren startes for første gang. Se Kontrollere nivået på motoroljen.
Deler som er nødvendige for dette trinnet:
| Styrestag | 1 |
Bruk styrestaget til å justere klippeenheten. Referer til klippenhetens brukerhåndbok for justeringsprosedyrer (Figur 24).

De to fotpedalene (Figur 25) brukes til å kontrollere bremsene enkeltvis, slik at det blir enklere å snu og slik at du får bedre veigrep når du kjører på tvers av bakker.
Pedallåsen (Figur 25) brukes til å koble pedalene sammen for å sette på parkeringsbremsen.
Du kan aktivere parkeringsbremsen (Figur 25) ved å koble pedalene sammen med pedallåsen. Trykk ned på høyre bremsepedal mens du aktiverer tåpedalen. Når du vil koble ut parkeringsbremsen, trykker du ned én av bremsepedalene til parkeringsbremselåsen trekkes inn.

Trekkpedalen (Figur 25) brukes til å kjøre framover og bakover. Trykk ned den øvre delen av pedalen for å kjøre fremover og den nedre for å kjøre bakover. Bakkehastigheten er proporsjonal med hvor langt ned du trykker pedalen. Hvis du vil oppnå maksimal hastighet, trykker du pedalen helt ned når gassen er i HURTIG-stillingen.
Du stopper maskinen ved å redusere trykket fra foten på pedalen slik at den går tilbake til midtstillingen.
For å vippe rattet mot deg trykker du ned fotpedalen (Figur 25) og trekker rattårnet mot deg til den mest komfortabel posisjonen og deretter slipper du pedalen.
Når klippehastighetsbegrenseren (Figur 26) er vippet opp, kontrollerer den klippehastigheten og gjør at klippeenhetene aktiveres. Hvert avstandsstykke justerer klippehastigheten med 0,8 km/t. Jo flere avstandsstykker det er oppå bolten, jo saktere kjører maskinen. For transport, vipp tilbake klippehastighetsbegrenseren og maskinen kan oppnå maksimal transporthastighet.
Juster skruen(e) (Figur 26) for å begrense hvor langt ned du kan trykke trekkpedalen forover eller bakover for å begrense hastigheten.
Important: Skruen for hastighetssperren må stoppe trekkpedalen før pumpen når full slaglengde, ellers kan pumpen bli skadet.

Denne spaken (Figur 27) hever og senker klippeenheten og starter og stopper også spolene når de er aktivert i klippemodus. Klippeenhetene kan ikke senkes når klippe-/transportbryteren er i transportstilling.
Nøkkeltenningen (Figur 27) har tre stillinger: AV, På/FORVARME og START.
InfoCenter LCD-displayet viser informasjon om maskinen, som driftsstatus, diverse diagnostikk og annen informasjon om maskinen (Figur 27).
Kraftuttaksbryteren (Figur 27) har to stillinger: START og STOPP. Skyv kraftuttaksknappen fremover for å aktivere klippeenhetens kniver. Skyv knappen tilbake for å deaktivere klippeenhetens kniver.

Motorhastighetsbryteren (Figur 27) har to måter å endre motorhastigheten på. Den kan økes eller reduseres i trinn på 100 o/min ved å trykke lett på bryteren. Ved å holde bryteren nede vil motoren automatisk gå til høy eller lav tomgang avhengig av hvilken side av bryteren som blir trykket ned.
Trykk bryteren nedover for å slå på frontlyktene (Figur 27).
Bruk stikkontakten (Figur 28) til å gi 12 volts strøm til valgfritt elektrisk tilbehør.

Bruk poseholderen (Figur 29) for lagring.

Bruk slipespakene for å slipe spolene (Figur 30).


Trekk ut spaken for å skyve setet frem- og bakover (Figur 31).
Roter knotten for å justere armlenets vinkel (Figur 31).
Flytt spaken for å justere seteryggens vinkel (Figur 31).
Indikerer når setet er justert til førerens vekt (Figur 31). Høydejustering gjøres ved å posisjonere opphenget til innenfor det grønne området.
Juster for operatørvekt (Figur 31). Trekk opp spaken for å øke lufttrykket og trykk ned for å redusere lufttrykket. Korrekt justering er oppnådd når vektmåleren i det grønne området.
InfoCenter LCD-displayet viser informasjon om maskinen, for eksempel driftsstatus, diverse diagnostikk og annen informasjon om maskinen (Figur 32). InfoCenter har også et oppstartsskjermbilde og et hovedskjermbilde for informasjon. Du kan når som helst bytte mellom oppstartsskjermbildet og hovedskjermbildet for informasjon ved å trykke på en InfoCenter-knapp og velge en pil.

Venstre-knapp, Meny-/Tilbake-knapp – trykk på denne knappen for å få tilgang til InfoCenter-menyen. Du kan også bruke knappen til å gå ut av en meny du befinner deg i.
Midten-knapp – bruk denne knappen til å rulle ned i menyer.
Høyre knapp – bruk denne knappen til å åpne en meny der en høyrepil angir at det finnes mer innhold.
Manuell viftereversering – aktiveres ved å trykke venstre og høyre knapper samtidig.
Pipealarm – aktiveres når klippeenhetene senkes, eller for varselsfeil og systemfeil.
Note: Hver enkelt knapp kan ha ulike formål avhengig av hva situasjonen krever. Hver knapp vil også være merket med et ikon som viser dens gjeldende funksjon.
| SERVICE DUE | Angir når planlagt vedlikehold skal utføres |
![]() | Informasjonsikon |
![]() | Timeteller |
![]() | Hurtig |
![]() | Sakte |
![]() | Viftereversering – angir når viften er reversert |
![]() | Luftinntaksvarmeren er aktiv |
![]() | Hev klippeenhetene |
![]() | Nedre klippeenheter |
![]() | Føreren må sitte i setet |
![]() | Parkeringsbremseindikator – angir at parkeringsbremsen er på |
![]() | Identifiserer hastigheten som høy |
![]() | Fri |
![]() | Identifiser hastigheten som lav |
![]() | Kjølemiddeltemperatur – Angir motorens kjølemiddeltemperatur i °C eller °F |
![]() | Temperatur (varm) |
![]() | Avslått eller ikke tillatt |
![]() | Kraftuttaket er aktivert |
![]() | Starte motoren |
![]() | Stopp eller nedstengning |
![]() | Motor |
![]() | Nøkkelbryter |
![]() | Angir når klippeenhetene senkes |
![]() | Angir når klippeenhetene heves |
![]() | PIN-kode |
![]() | Temperatur for hydraulisk olje – Angir temperaturen til den hydrauliske oljen |
![]() | CAN-bus |
![]() | InfoCenter |
![]() | Feil eller mislykket |
![]() | Lyspære |
![]() | Uttak for TEC-kontroller eller kontrollkabelen i nettet |
![]() | Høy: over tillatt hastighet |
![]() | Lav: under tillatt hastighet |
/![]() | Utenfor rekkevidde |
![]() | Bryter |
![]() | Føreren må slippe bryteren |
![]() | Føreren må endre til angitt tilstand |
| Symboler brukes ofte til å forme setninger. Noen eksempler er vist nedenfor. | |
![]() | Føreren må sette maskinen i fri |
![]() | Motorstart avslått |
![]() | Motoren stanses |
![]() | Motorkjølevæske for varm |
![]() | Hydraulikkolje for varm |
![]() | Sitt ned eller koble inn parkeringsbremse |
Trykk på knappen for menytilgang mens du er i hovedskjermbildet for å få tilgang til InfoCenter-menysystemet. Du vil da komme til hovedmenyen. Se følgende tabeller for en oversikt over alternativene som er tilgjengelige fra menyene:
| Hovedmeny | |
| Menyelement | Beskrivelse |
| Feil | Menyen Feil inneholder en liste over de siste maskinfeilene. Se servicehåndboken eller ta kontakt med din autoriserte Toro-forhandler for mer informasjon om menyen Feil og informasjonen den inneholder. |
| Tjeneste | Menyen Tjeneste inneholder informasjon om maskinen som for eksempel antall brukstimer og liknende. |
| Diagnostikk | Menyen Diagnostikk viser tilstanden til hver bryter, sensor og kontrollutgang for maskinen. Dette kan brukes til å feilsøke visse problemer, siden du raskt vil få greie på hvilke maskinkontroller som er av- og påslått. |
| Innstillinger | Menyen Innstillinger gjør at du kan tilpasse og endre konfigurasjonsfaktorer på InfoCenter-skjermen. |
| Om | Menyen Om viser modellnummeret, serienummeret og programvareversjonen til maskinen din. |
| Tjeneste | |
| Menyelement | Beskrivelse |
| Hours | Oppgir samlet antall timer som maskinen, motoren, og kraftuttaket har vært på, samt antall timer som maskinen har blitt transportert og trengt vedlikehold. |
| Counts | Lister opp diverse hendelser maskinen har opplevd. |
| Diagnostikk | |
| Menyelement | Beskrivelse |
| Cuttings Units | Indikerer innganger, kvalifikatorer og utganger for heving og senking av klippeenheter. |
| Hi/Low Range | Indikerer innganger, kvalifikatorer og utganger for kjøring i transportmodus. |
| PTO | Indikerer innganger, kvalifikatorer og utganger for aktivering av kraftuttakskretsen. |
| Engine Run | Indikerer innganger, kvalifikatorer og utganger for aktivering av motoren. |
| Backlap | Indikerer innganger, kvalifikatorer og utganger for aktivering av slipefunksjonen. |
| Innstillinger | |
| Menyelement | Beskrivelse |
| Enheter | Kontrollerer enhetene som brukes i InfoCenter. Menyvalgene er Britisk og Metrisk |
| Språk | Kontrollerer språkene som brukes i InfoCenter*. |
| LCD bakgrunn | Kontrollerer lysstyrken til LCD-skjermen. |
| LCD kontrast | Kontrollerer kontrasten til LCD-skjermen. |
| Spolehastighet for frontsliper | Indikerer hastigheten for fremre spoler i slipemodus. |
| Spolehastighet for baksliper | Indikerer hastigheten for bakre spoler i slipemodus. |
| Beskyttede menyer | Gir oppsynsperson/mekaniker tilgang til beskyttede menyer ved å oppgi et passord. |
| Auto Tomgang | Styrer hvor lang tid som skal gå før motoren går tilbake til lav tomgangskjøring når maskinen står stille. |
| Knivteller | Styrer antall kniver på spolen for spolehastighet. |
| Klippehastighet | Styrer bakkehastigheten for å avgjøre spolehastighet. |
| Klippehøyde | Styrer klippehøyde for å avgjøre spolehastighet. |
| F Hjul o/min | Viser beregnet spolehastighetsposisjon for de fremre spolene. Spolene kan også justeres manuelt. |
| B Hjul o/min | Viser beregnet spolehastighetsposisjon for de bakre spolene. Spolene kan også justeres manuelt. |
* Kun tekst som vises for føreren er oversatt. Skjermbilder for feil, tje og diagnostikk vises ved vedlikehold. Titlene vil være på valgt språk, men menyelementene vil være på engelsk.
| Om | |
| Menyelement | Beskrivelse |
| Modelnr. | Viser maskinens modellnummer. |
| Serienr. | Viser maskinens serienummer. |
| Revisjon av maskinkontroller | Viser programvarerevisjonen til hovedkontrolleren. |
| InfoCenter-revisjon | Viser programvarerevisjonen til InfoCenter. |
| CAN-bus | Viser bus-status for maskinkommunikasjon. |
Det finnes fem innstillinger for konfigurasjonsinnstillinger som kan justeres i menyen Innstillinger i InfoCenter: Knivteller, Klippehastighet, Klippehøyde, F Hjul O/Min og B Hjul O/Min. Disse innstillingene kan låses ved hjelp av den beskyttede menyen.
Note: Passordkoden programmert av distributøren før levering.
Bla ned til menyen Innstillinger fra hovedmenyen, og trykk på høyre knapp.
Bla ned til den beskyttede menyen på menyen Innstillinger, og trykk på høyre knapp.
Tast inn sikkerhetskoden ved å bruke midtknappen til å angi første siffer, og trykk deretter på høyre knapp for å gå videre til neste siffer.
Bruk den midtre knappen for å angi andre siffer, og trykk deretter på høyre-knappen for å gå videre til neste siffer.
Bruk den midtre knappen for å angi andre siffer, og trykk deretter på høyre-knappen for å gå videre til neste siffer.
Bruk den midtre knappen til å angi fjerde siffer, og trykk på høyre-knappen.
Trykk på den midtre knappen for å taste inn koden.
Hvis koden har blitt godkjent og den beskyttede menyen har blitt "låst opp", vises "PIN" øverst til høyre på skjermen.
Evnen til å vise og endre innstillingene i den beskyttede menyen kan endres. Bla ned til beskyttelsesinnstillingen etter du har gått inn på den beskyttede menyen. Bruk høyre-knappen til å endre beskyttelsesinnstillingene til Av. Dette vil gjøre det mulig å vise og endre innstillingene i den beskyttede menyen uten å taste inn sikkerhetskoden. Ved å endre beskyttelsesinnstillingene til På vil de beskyttede alternativene skjules, og du må oppgi en sikkerhetskode for å kunne endre innstillingen i den beskyttede menyen. Etter at passordkoden er angitt, må nøkkelbryteren slås av og på igjen for å aktivere og lagre denne funksjonen.
Note: Hvis man glemmer eller forlegger passordkoden, må man ta kontakt med distributøren for å få hjelp.
Bla ned til Auto Idle (auto tomgang) i Settings (innstillinger)-menyen.
Trykk på den høyre knappen for å endre tiden for automatisk tomgang mellom Off (av), 8 sek., 10 sek., 15 sek., 20 sek. og 30 sek.
Bla ned til Knivteller i menyen Innstillinger
Trykk på den høyre knappen for å endre antall kniver mellom spoler med 5, 8 eller 11 kniver.
Bla ned til Klippehastighet i menyen Settings (innstillinger).
Trykk på den høyre knappen for å velge klippehastighet.
Bruk den midtre og høyre knappen til å velge ønsket klippehastighet stilt inn på den mekaniske klippehastighetsbegrenseren på trekkpedalen.
Trykk på den venstre knappen for å gå ut av Klippehastighet og lagre innstillingen.
Bla ned til Klippehøyde i menyen Settings (innstillinger).
Trykk på den høyre knappen for å velge klippehøyde.
Bruk den venstre og høyre knappen til å velge ønsket klippehøydeinnstilling.
Note: Hvis den eksakte innstillingen ikke vises, kan du velge nærmeste klippehøydeinnstilling fra listen som vises.
Trykk på den venstre knappen for å gå ut av Klippehøyde og lagre innstillingen.
Selv om fremre og bakre spolehastighet beregnes ved å angi antall kniver, klippehastighet og klippehøyde i InfoCenter, kan innstillingen endres manuelt for å tilpasse til ulike klippeforhold.
Rull ned til F Hjul O/min, B Hjul O/min eller begge.
Trykk på den høyre knappen for å endre spolehastighetsverdi. Når hastighetsinnstillingen endres, fortsetter skjermen å vise den beregnede spolehastigheten basert på antall kniver, klippehastighet og klippehøyde som tidligere angitt, men den nye verdien vises også.
Note: Spesifikasjoner og konstruksjon kan forandres uten varsel.
| Klippebredde, 69 cm klippeenheter | 307 cm |
| Klippebredde, 81 cm klippeenheter | 320 cm |
| Samlet bredde, 69 cm klippeenheter nede | 345 cm |
| Samlet bredde, 81 cm klippeenheter nede | 358 cm |
| Total bredde, klippeenhetene oppe (transport) | 239 cm |
| Total lengde | 370 cm |
| Høyde med veltebeskyttelse | 220 cm |
| Gressbredde, foran | 229 cm |
| Gressbredde, bak | 141 cm |
| Akselavstand | 171 cm |
| Nettovekt (uten klippeenhetene og uten olje) | 1574 kg |
Et utvalg av Toro-godkjent tilbehør som kan brukes sammen med maskinen for å forbedre og utvide dens funksjoner er tilgjengelig. Ta kontakt med din autoriserte serviceforhandler, eller gå til www.Toro.com for å få en liste over godkjent tilbehør og utstyr.
Note: Angi hva som er høyre og venstre side på maskinen ved å stå i normal arbeidsstilling.
Ikke la barn eller personer som ikke er opplært, kjøre eller utføre vedlikehold på maskinen. Det kan hende at lokale forskrifter setter en aldersgrense for bruk. Eieren er ansvarlig for opplæring av alle operatører og mekanikere.
Gjør deg kjent med sikker bruk av utstyret, driftskontrollene og sikkerhetssymbolene.
Lær deg å stanse maskinen og motoren raskt.
Kontroller at dødmannskontrollene, sikkerhetsbryterne og verneplatene er montert og fungerer på korrekt måte. Ikke bruk maskinen hvis disse ikke fungerer som de skal.
Før du klipper, må du alltid undersøke maskinen for å sikre at knivene, knivboltene og klippeenhetene er i god stand. Skadde eller slitte knivblader og bolter må skiftes ut i sett for å opprettholde balansen.
Undersøk området der du skal bruke maskinen, og fjern alle gjenstander som kan slynges ut av maskinen.
Vær svært forsiktig når du håndterer drivstoff. Det er brannfarlig, og dampen er eksplosiv.
Slukk alle sigaretter, sigarer, piper og andre tennkilder.
Bruk bare en godkjent drivstoffkanne.
Ta aldri lokket av drivstofftanken eller fyll på drivstofftanken mens motoren går eller er varm.
Ikke fyll drivstoff på maskinen i et innelukket rom.
Oppbevar aldri maskinen eller bensinkannen hvor det er åpen ild, gnist eller kontrollampe, som på en varmtvannstank eller annet apparat.
Hvis du søler drivstoff, må du ikke prøve å starte motoren. Unngå alt som kan antennes, til all drivstoffdamp er forsvunnet.
Vi ber deg om å se nøye på alle sikkerhetsinstruksjoner og symboler i avsnittet om sikkerhet. Kunnskap om dette kan forhindre personskader.
Hvis du klipper på vått gress eller i bratte skråninger kan det føre til at maskinen sklir og at du mister kontrollen.
Hvis hjulene kjører over en kant kan det føre til velt, som igjen kan resultere i alvorlig skade, dødsfall eller drukning.
Les og følg instruksjonene og advarslene for veltebøylebeskyttelsen.
Hvordan unngå at kjøretøyet sklir samt tap av kontroll:
Ikke bruk gressklipperen i nærheten av kanter eller vann.
Kjøretøyet skal ikke brukes i bakker som har en skråning som er brattere enn det som er angitt for maskinmodellen din.
Reduser hastigheten og vær svært forsiktig i skråninger.
Ikke start eller skift hastighet plutselig.
Denne maskinen har en lydstyrke som kan føre til hørselsskade hvis du utsettes for denne lydstyrken i lengre perioder.
Bruk hørselsvern når du bruker denne maskinen.

| Vedlikeholdsintervall | Vedlikeholdsprosedyre |
|---|---|
| For hver bruk eller daglig |
|
Motoren leveres med olje i veivhuset. Oljenivået må imidlertid sjekkes før og etter at motoren startes for første gang.
Veivhusets kapasitet er på ca. 9,5 liter med filteret.
Bruk motorolje av høy kvalitet som overholder følgende spesifikasjoner:
Nødvendig API-klassifisering: CH-4, CI-4 eller høyere
Anbefalt olje: SAE 15W-40 (over 18 °C)
Alternativ olje: SAE 10W-30 eller 5W-30 (alle temperaturer)
Note: Toro Premium-motorolje er tilgjengelig fra din distributør med viskositet på enten 15W-40 eller 10W-30. Se delekatalogen for delenumre.
Note: Den beste tiden for å sjekke motoroljen er når motoren er kald før den har blitt startet for dagen. Hvis den allerede har blitt kjørt, la oljen flyte tilbake ned i bunnpannen i minst ti minutter før du sjekker oljen. Hvis oljenivået er på eller under "Add"-merket på peilestaven, tilfør mer olje til oljenivået når "Full"-merket. Ikke overfyll motoren. Hvis oljenivået er mellom "Full"- og "Add"-merkene, trenger du ikke fylle på mer olje.
Parker maskinen på en jevn flate.
Lås opp panserlåsene og åpne panseret (Figur 34).

Ta ut peilestaven, tørk av den, sett den ned igjen i røret og ta den deretter ut igjen.
Oljenivået skal være i det sikre området (Figur 35).

Hvis oljenivået er under det sikre området, ta av lokket (Figur 36) og fyll på olje til nivået når opp til "Full"-merket.
Important: Ikke overfyll motoren.

Note: Når du skal bruke en annen olje, tapper du all den gamle oljen fra veivhuset før du fyller på ny olje.
Sett peilestaven på plass, og skru på oljelokket.
Lukk panseret, og fest det med låsene.
| Vedlikeholdsintervall | Vedlikeholdsprosedyre |
|---|---|
| For hver bruk eller daglig |
|
Kontroller kjølevæskenivået hver dag før du bruker maskinen. Kapasiteten til systemet er 12,3 liter.
Ta forsiktig av radiatorlokket.
Hvis motoren er varm, kan det hende at varm kjølevæske under trykk kommer ut, noe som kan forårsake brannsår.
Ikke åpne radiatorlokket når motoren går.
Bruk en klut når du åpner radiatorlokket. Åpne det forsiktig, slik at dampen kan slippe ut.

Kontroller kjølemiddelnivået i radiatoren.
Note: Fyll radiatoren opp til toppen av påfyllingshalsen og ekspansjonstanken opp til "Full"-merket (Figur 37).
Hvis kjølemiddelnivået er lavt, fyller du halvt om halvt med vann og frostvæske med etylenglykol.
Note: Ikke bruk bare vann eller alkohol-/metanolbaserte kjølemidler.
Sett på radiatorlokket og ekspansjonstanklokket.
Drivstofftankkapasitet: 83 liter.
Bruk kun ren, frisk diesel med ultralavt svovelinnhold (<15 ppm) som oppfyller spesifikasjonene i ASTM D975 eller EN590. Minimumsklassifisering for cetan bør være 40. Ikke kjøp mer drivstoff enn det som kan brukes opp i løpet av 180 dager, dette for å sikre at drivstoffet er ferskt.
Important: Bruk av drivstoff med ikke-ultralavt svovelinnhold vil skade motorens utslippssystem.
Bruk dieseldrivstoff av sommertype (nr. 2-D) ved temperaturer over -7 °C og drivstoff av vintertype (nr. 1-D eller nr. 1-D/2-D) under den temperaturen. Når man bruker drivstoff av vintertype ved lavere temperaturer, medfører det et lavere flammepunkt og kaldflytkarakteristika som gjør det lettere å starte og som reduserer tetting av drivstoffilteret.
Bruk av drivstoff av sommertype over -7 °C medfører lengre levetid for drivstoffpumpen og gir økt effekt sammenliknet med drivstoff av vintertype.
Important: Ikke bruk parafin eller bensin i stedet for dieseldrivstoff. Dersom du unnlater å følge denne advarselen kan det skade motoren.
Denne maskinen kan også bruke biodieselblandet drivstoff opptil B20 (20 % biodiesel, 80 % petrodiesel). Petrodieseldelen skal ha lavt eller ultralavt svovelinnhold. Ta følgende forholdsregler:
Biodieseldelen av drivstoffet må oppfylle kravene i spesifikasjonen ASTM D6751 eller EN 14214.
Den blandede dieselsammensetningen må oppfylle kravene i ASTM D975 eller EN590.
Malte/lakkerte overflater kan skades av biodieselblandinger.
Bruk B5 (biodieselinnhold på 5 %) eller lavere blandinger i kaldt vær.
Hold øye med forseglinger, slanger og pakninger som kommer i kontakt med drivstoffet, da de kan forringes over tid.
Du kan forvente at drivstoffilteret tettes en tid etter å ha konvertert til biodieselblandinger.
Ta kontakt med din distributør hvis du ønsker mer informasjon om biodiesel.
Drivstoff kan føre til skader eller dødsfall hvis det svelges. Hvis du utsettes for damp fra drivstoff over lengre tid, kan dette føre til alvorlig skade og sykdom.
Unngå innånding av damp fra drivstoff over lengre tid.
Hold ansiktet unna dyse og drivstofftank og åpningen til kondisjonsmiddelet.
Hold drivstoffet unna øyne og hud.
Under visse forhold er drivstoff er meget brannfarlig og svært eksplosivt. Brann eller eksplosjon forårsaket av drivstoff kan påføre deg og andre brannskader samt ødelegge eiendom.
Fyll opp drivstofftanken utendørs på et åpent område når motoren er nedkjølt. Tørk opp eventuelt drivstoffsøl.
Fyll aldri på drivstofftanken inni en lukket tilhenger.
Røyk aldri når du håndterer drivstoff, og hold deg borte fra åpen ild eller steder der drivstoffgass kan antennes av gnister.
Drivstoff må oppbevares på en godkjent kanne, utenfor barns rekkevidde. Kjøp aldri mer drivstoff enn til 180 dagers forbruk.
Ikke bruk maskinen uten at hele eksossystemet er på plass og i korrekt arbeidstilstand.
Under enkelte forhold ved fylling av drivstoff kan statisk elektrisitet utløses og føre til at gnister antenner drivstoffdamp. Brann eller eksplosjon forårsaket av drivstoff kan påføre deg og andre brannskader samt ødelegge eiendom.
Plasser alltid drivstoffbeholderne på bakken i god avstand fra sprederen før du fyller drivstoff.
Ikke fyll opp drivstoffkannen inne i et kjøretøy eller på en lastebil eller tilhenger, fordi tepper eller presenninger kan isolere kannen og hemme utladning av eventuell statisk elektrisitet.
Når dette lar seg gjøre skal utstyr tas ut av lastebilen eller tilhengeren og fylles med bensin mens hjulene står på bakken.
Hvis dette ikke lar seg gjøre, og maskinen må fylles med drivstoff mens den står på lastebilen, bør du bruke en kanne til å fylle drivstoff i stedet for å fylle direkte fra pumpen.
Hvis det er helt nødvendig å fylle drivstoff direkte fra pumpen, må påfyllingstuten være i kontakt med kanten på drivstofftanken eller kannens åpning helt til du er ferdig med å fylle.
Parker maskinen på en jevn flate.
Bruk en ren klut til å rengjøre området rundt tanklokket.
Ta lokket av drivstofftanken (Figur 38).

Fyll tanken helt til nivået er ved bunnen av påfyllingshalsen.
Skru tanklokket godt på etter at du har fylt tanken.
Note: Fyll på drivstofftanken etter hver bruk, hvis det er mulig. Dette vil minimere mulig oppsamling av kondensasjon inne i drivstofftanken.
| Vedlikeholdsintervall | Vedlikeholdsprosedyre |
|---|---|
| For hver bruk eller daglig |
|
Beholderen fylles på i fabrikken med rundt 28,4 l hydraulikkvæske av høy kvalitet. Kontroller hydraulikkvæsken før du starter maskinen for første gang, og deretter hver dag.
Anbefalt erstatningsvæske er Toro Premium All Season Hydraulic Fluid (tilgjengelig i spann på 19 l eller fat på 208 l. Se delekatalogen eller kontakt en Toro-distributør for å få oppgitt delenumre).
Alternative væsker: Hvis Toro-væske ikke er tilgjengelig, kan andre konvensjonelle, petroleumsbaserte væsker brukes, forutsatt at de oppfyller alle følgende materialegenskaps- og bransjespesifikasjoner. Hør med oljeleverandøren for å få vite om væske oppfyller disse spesifikasjonene.
Note: Toro er ikke ansvarlig for skader som skyldes uegnede erstatninger. Bruk bare produkter fra anerkjente produsenter som kan stå for sine anbefalinger.
| Hydraulikkvæske med høy viskositetsindeks og lavt flytepunkt mot slitasje, flergrads ISO VG 46 | |||
| Materielle egenskaper: | |||
| Viskositet, ASTM D445 | cSt ved 40 °C 44 til 48cSt ved 100 °C 7,9 til 9,1 | ||
| Viskositetsindeks ASTM D2270 | 140 eller høyere (høy viskositetsindeks indikerer en væske med forskjellig vekt) | ||
| Flytepunkt, ASTM D97 | -37 °C to -45 °C | ||
| FZG, sviktstadium | 11 eller bedre | ||
| Vanninnhold (ny væske) | 500 ppm (maks.) | ||
| Bransjespesifikasjoner: | |||
| Vickers I-286-S, Vickers M-2950-S, Denison HF-0, Vickers 35 VQ 25 (Eaton ATS373-C) | |||
Riktige hydrauliske væsker må angis for mobilt maskineri (i motsetning til industriell anleggsbruk), for forskjellig vekt, med ZnDTP- eller ZDDP-tilsetningsstoffpakke mot slitasje (ikke en væske uten aske).
Important: ISO VG 46-flergradsvæsken har vist seg å ha maksimal ytelse under en rekke ulike temperaturforhold. Når maskinen brukes i høye temperaturer (18 °C til 49 °C), kan hydraulikkvæsken ISO VG 68 gi forbedret ytelse.
Premium biologisk nedbrytbar hydraulikkvæske – Mobil EAL EnviroSyn 46H
Important: Mobil EAL EnviroSyn 46H er den eneste syntetiske og biologisk nedbrytbare oljen som er godkjent av Toro. Denne oljen er kompatibel med elastomerne som benyttes i Toros hydraulikksystemer, og er egnet til en rekke temperaturforhold. Denne oljen er kompatibel med tradisjonelle væsker, men for å oppnå maksimal biologisk nedbrytbarhet og ytelse, må hydraulikksystemet tømmes fullstendig for tradisjonell olje. Væsken er tilgjengelig i spann på 19 l eller fat på 208 l fra Mobil-forhandlere.
Important: Mange hydrauliske væsker er nesten fargeløse, noe som gjør det vanskelig å oppdage lekkasjer. Et rødt fargestoff for hydraulikkvæsken er tilgjengelig i flasker på 20 ml. En flaske er nok til 15–22 liter med hydraulikkvæske. Bestill delenr. 44-2500 fra en autorisert Toro-forhandler.
Parker maskinen på en jevn flate, senk klippeenhetene, stopp motoren og ta ut tenningsnøkkelen.
Rengjør rundt påfyllingshalsen og lokket på tanken for hydraulisk olje (Figur 39).

Ta lokket av påfyllingshalsen.
Fjern peilestaven fra påfyllingshalsen, og tørk av den med en ren fille.
Før peilestaven ned i påfyllingshalsen før du tar den ut og kontroller oljenivået.
Note: Oljenivået må være mellom de to merkene på peilestaven.
Hvis nivået er lavt, fyller du på olje for å heve nivået til det øvre merket.
Sett peilestaven og lokket på plass på påfyllingshalsen.
| Vedlikeholdsintervall | Vedlikeholdsprosedyre |
|---|---|
| For hver bruk eller daglig |
|
Det ble pumpet ekstra mye luft i dekkene på fabrikken. Derfor må du slippe ut litt luft for å redusere trykket. Korrekt lufttrykk i dekkene er 0,83 til 1,03 bar. Kontroller trykket i dekkene daglig.
Important: Pass på at alle dekkene har det samme lufttrykket, slik at kvaliteten på klippingen blir god og maskinen virker riktig. Ikke pump for lite trykk i dekkene.
Eieren/brukeren kan forhindre og er ansvarlig for ulykker som kan forårsake personskader eller materielle skader.
Ha på deg passende klær, inkludert vernebriller, sklisikkert og kraftig fottøy og hørselsvern. Sett opp langt hår og ikke bruk smykker.
Ikke bruk maskinen når du er syk, trett eller påvirket av alkohol eller andre rusmidler.
Ha aldri med passasjerer på maskinen, og hold mennesker og kjæledyr borte fra maskinen under drift.
Bruk maskinen bare når det er god sikt, for å unngå hull eller skjulte farer.
Unngå å klippe vått gress. Redusert veigrep kan føre til at maskinen glir.
Påse at alle drivverk står i nøytral stilling, at parkeringsbremsen er aktivert og at du er i førerposisjon før du starter motoren.
Hold hendene og føttene borte fra klippeenhetene. Hold deg unna åpningen på utløpssjakten til enhver tid.
Se bak- og nedover før du rygger, slik at du ikke kjører på noen.
Vær forsiktig når du nærmer deg hjørner, busker, trær eller annet som begrenser synsfeltet.
Ikke bruk gressklipperen i nærheten av kanter, grøfter eller voller. Maskinen kan plutselig velte hvis et hjul går over kanten eller hvis kanten gir etter.
Stopp klippeenhetene når du ikke klipper.
Stopp maskinen og undersøk klippeenhetene hvis du har kjørt over gjenstander, eller hvis maskinen begynner å vibrere unormalt. Foreta alle nødvendige reparasjoner før du gjenopptar bruk.
Kjør sakte, og vær forsiktig når du svinger og krysser veier og fortau med maskinen. Overhold alltid vikeplikten.
Koble ut drivkraften til klippeenheten og slå av motoren før du justerer klippehøyden (med mindre du kan justere den fra driftsstillingen).
La aldri motoren gå i et lukket rom hvor eksosen ikke slipper ut.
La aldri maskinen stå uten tilsyn når den er i gang.
Før du forlater førersetet (inkludert for å tømme gressoppsamlerene eller rense sjakten), gjør følgende:
Parker maskinen på en jevn flate.
Koble ut kraftoverføringen, og senk utstyret.
Sett på parkeringsbremsen.
Slå av motoren og ta ut nøkkelen.
Vent til alle bevegelige deler har stanset.
Ikke bruk maskinen hvis det er fare for lynnedslag.
Ikke bruk maskinen til tauing.
Bruk kun utstyr, tilbehør og reservedeler som er godkjent av The Toro® Company.
Ikke fjern veltebeskyttelsen fra maskinen.
Sørg for at sikkerhetsbeltet er festet og at du kan frigjøre det raskt i nødstilfeller.
Kontroller nøye om det finnes overhengende hindringer, og sørg for at du ikke kommer i kontakt med slike.
Sørg for at veltebøylebeskyttelsen er i sikker driftstilstand ved å inspisere den grundig for skade med jevne mellomrom og kontrollere at alle monteringsfester er strammet til.
En skadet veltebeskyttelse skal skiftes ut. Ikke reparer eller endre den.
Bruk alltid sikkerhetsbeltet når veltebøylen er i hevet stilling.
Veltebøylebeskyttelsen er en integrert sikkerhetsenhet. Hold en sammenleggbar veltebøyle i hevet og låst stilling, og bruk sikkerhetsbelte når du bruker maskinen med veltebøylen i hevet stilling.
Senk en sammenleggbar veltebøyle midlertidig kun når nødvendig. Ikke bruk sikkerhetsbelte når veltebøylen er felt ned.
Vær oppmerksom på at det ikke finnes veltebøylebeskyttelse når en sammenleggbar veltebøyle er i senket stilling.
Kontroller området som du skal klippe, og ta aldri ned en sammenleggbar veltebøyle i områder med skråninger, kanter eller vann.
Fastsett egne prosedyrer og regler for bruk i skråninger. Disse prosedyrene skal inkludere kontroll av området for å avgjøre hvilke skråninger som er trygge for maskindrift. Bruk alltid sunn fornuft og god dømmekraft når du utfører denne kontrollen.
Skråninger er en ledende årsak til tap av kontroll og velting, og kan føre til alvorlige skader eller dødsfall. Bruk av maskinen i skråninger krever ekstra forsiktighet.
Kjør maskinen i en lavere hastighet når du kjører i en skråning.
Hvis du føler deg utrygg når du bruker maskinen i skråninger, skal du ikke gjøre det.
Vær oppmerksom på hull, steiner eller andre skjulte objekter. Maskinen kan velte i ujevnt terreng. Gjenstander kan ligge skjult i høyt gress.
Kjør med lav hastighet, slik at du slipper å stoppe eller gire mens du kjører i en skråning.
Velting kan oppstå før dekkene mister grepet.
Ikke bruk maskinen på vått gress. Dekk kan miste grepet, uavhengig av om bremsene er tilgjengelige og fungerer.
Ikke start, stopp eller sving maskinen i skråninger.
Kjør sakte i skråninger, og øk og reduser hastigheten gradvis. Ingen brå endringer av maskinens hastighet eller retning.
Ikke bruk maskinen nær kanter, grøfter, voller eller vannmasser. Maskinen kan plutselig velte hvis et hjul går over kanten eller kanten gir etter. Fastsett et sikkerhetsområde mellom maskinen og eventuelle farer (to maskinbredder).
Important: Du må kanskje tappe drivstoffsystemet hvis noen av følgende situasjoner har oppstått:
Motoren har stoppet på grunn av for lite drivstoff.
Vedlikeholdsarbeid har blitt utført på komponenter i drivstoffsystemet.
Ta foten av trekkpedalen, og kontroller at den står i NøYTRAL stilling.
Note: Kontroller at parkeringsbremsen er koblet inn.
Flytt motorhastighetsbryteren til LAV TOMGANG-stilling.
Vri tenningsnøkkelen til KJøR.
Note: Glødepluggindikatoren lyser.
Når glødepluggindikatorlyset dempes, vrir du nøkkelen til START.
Slipp nøkkelen med en gang motoren starter, og la den gå tilbake til KJøR-stillingen.
Juster motorhastigheten.
Important: Ikke kjør startmotoren i flere enn 15 sekunder om gangen siden dette kan skade startmotoren. Hvis motoren ikke starter etter 15 sekunder, vrir du tenningsnøkkelen til AV-stillingen. Deretter kontrollerer du kontrollene og prosedyrene, og venter i 15 sekunder før du gjentar startforsøket.
Hvis temperaturen er under -7 °C, kan du slå på og la startmotoren gå i 30 sekunder for så å slå av og la den være av i 60 sekunder. Dette kan du gjøre to ganger.
Kontakt med bevegelige deler kan forårsake personskader.
Slå av motoren, og vent til alle bevegelige deler har stoppet før du kontrollerer om maskinen har oljelekkasjer, løse deler eller andre feil.
Important: La motoren gå på tomgang i fem minutter før du slår den av etter å ha brukt den med full last. På denne måten kan turboladeren kjøle seg ned før motoren slås av. Hvis du ikke gjør dette, kan du få problemer med turboladeren.
Note: Senk klippeenhetene helt ned når du parkerer maskinen. Dette letter den hydrauliske belastningen på systemet, forhindrer slitasje på systemdeler og forhindrer også at klippeenheten blir senket ved et uhell.
Sett motorhastigheten i lav tomgang.
Sett kraftuttaksbryteren til AV-stillingen.
Sett på parkeringsbremsen.
Drei tenningsnøkkelen til AV-stilling.
Ta nøkkelen ut av tenningen for å unngå at kjøretøyet startes ved et uhell.
Du kan justere motvektsbalansen på de bakre løftearmene på klippeenheten for å kompensere for forskjellige gressforhold og for å opprettholde en jevn klippehøyde i ujevnt terreng eller i områder der det bygges opp halm.
Du kan justere hver motvektsfjær til én av fire innstillinger. Hvert trinn hever eller senker motvekten på klippeenheten med 2,3 kg. Fjærene kan plasseres på baksiden av fjæraktuatoren for å fjerne all motvekten (fjerde stilling).
Sett maskinen på en jevn overflate, senk klippeenhetene, stopp motoren, sett på parkeringsbremsene og ta nøkkelen ut av tenningsbryteren.
Før inn et rør eller lignende objekt på den lange fjærenden for å slippe noe av fjærspenningen under justering (Figur 40).
Fjærene er spente, og det kan det føre til personskader.
Utvis forsiktighet ved justering av fjærene.
Mens du letter spenningen i fjæren, fjern bolten og låsemutteren som fester fjæraktuatoren til braketten (Figur 40).

Flytt fjæraktuatoren til ønsket hullplassering og fest med låsemutteren.
Gjenta prosedyren på de andre fjærene.
Sett maskinen på en jevn overflate, senk klippeenhetene, stopp motoren, sett på parkeringsbremsene og ta nøkkelen ut av tenningsbryteren.
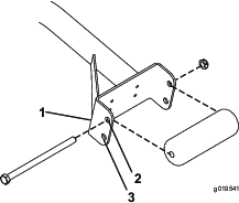
Løftearmbryteren finnes bak fremre høyre løftearm (Figur 41).

Løsne bryterens festeskruer (Figur 41) og flytt bryteren opp for å heve løftearmens vendehøyde, eller flytt bryteren ned for å senke løftearmens vendehøyde.
Stram til festeskruene.
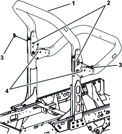
Veltebeskyttelsesrammen kan legges sammen for å gi tilgang til områder med begrenset høyde.
Maskinen har ikke et veltebeskyttelsessystem når veltebøylen er felt ned, og den skal ikke anses som et veltebeskyttelsessystem.
Ikke bruk sikkerhetsbelte når veltebøylen er senket.
Parker maskinen på en jevn overflate, slå av motoren, sett på parkeringsbremsen, og ta nøkkelen ut av tenningsbryteren.
Støtt vekten av den øvre rammen mens du fjerner låsepinnene og splittpinnene fra svingbrakettene (Figur 42).
Senk forsiktig rammen nedover til den hviler på stopperne.
Sett splittpinnene i de nedre hullene, og fest med låsepinnene for å støtte den øvre rammen i senket stilling.
Følg disse instruksjonene i omvendt rekkefølge for å heve rammen.

Veltebeskyttelsessystemet vil kanskje ikke være effektivt hvis veltebeskyttelsens festebolter er løse, noe som kan forårsake alvorlige skader eller død ved velt.
Når den er i hevet posisjon, skal begge festeboltene være montert og strammet helt til for å sikre full veltebeskyttelse.
Når du senker og hever veltebeskyttelsesrammen, kan fingre komme i klem mellom maskinen og veltebeskyttelsen.
Vær forsiktig når du senker og hever veltebeskyttelsen for å hindre at fingrene kommer i klem mellom faste og bevegelige deler av strukturen.
Sørg for at alle muttere, bolter og skruer er korrekt tilstrammet, for å være sikker på at utstyret er trygt å bruke.
Skift alltid ut deler med skader eller slitasje for sikkerhets skyld.
Påse at sikkerhetsbeltet og festene er i trygg driftstilstand.
Bruk sikkerhetsbelte når veltebøylen er hevet, ikke bruk sikkerhetsbelte når veltebøylen er senket.
Important: Veltebøylen er en integrert sikkerhetsenhet. Hold veltebøylen i hevet stilling ved bruk av gressklipperen. Senk veltebøylen midlertidig kun når det er helt nødvendig.
| Vedlikeholdsintervall | Vedlikeholdsprosedyre |
|---|---|
| For hver bruk eller daglig |
|
Hvis sikkerhetssperrebryterne utkobles eller ødelegges, kan maskinen fungere uventet og forårsake personskader.
Ikke rør sperrebryterne.
Sjekk sperrebryterne daglig, og bytt ut ødelagte brytere før du bruker maskinen.
Maskinen har sperrebrytere i det elektriske systemet. Disse bryterne er laget for å slå av motoren når føreren forlater setet og trekkpedalen er trykt ned. Føreren kan imidlertid forlate setet mens motoren går og trekkpedalen er i fri. Selv om motoren fortsetter å gå hvis kraftuttaksbryteren kobles ut og trekkpedalen slippes opp, anbefales det sterkt at du stopper motoren før du forlater setet.
Slik kontrollerer du at sperrebryterne fungerer:
Kjør maskinen sakte til et stort, relativt åpent område.
Senk klippeenhetene, slå av motoren og koble inn parkeringsbremsen.
Sitt i setet, og trykk ned trekkpedalen.
Prøv å starte motoren.
Note: Startmotoren skal ikke gå rundt. Hvis startmotoren går rundt, er det en feil i sperresystemet som må repareres før du begynner å bruke maskinen.
Sitt i setet når du starter motoren.
Reis deg opp fra setet, og flytt kraftuttaksbryteren til På-stilling.
Note: Kraftuttaket skal ikke kobles inn. Hvis kraftuttaket kobles inn, er det en feil i sperresystemet som må repareres før du begynner å bruke maskinen.
Sitt i setet, sett på parkeringsbremsen, og start motoren.
Trykk ned trekkpedalen fra NøYTRAL-stillingen.
Note: Motoren skal slå seg av. Hvis motoren ikke slås av, er det en feil i sperresystemet som må repareres før du begynner å bruke maskinen.
Fjern gress og rusk fra klippeenhetene, drivverk, lyddemperne og motorrommet for å unngå at det begynner å brenne. Tørk opp eventuelt olje- eller drivstoffsøl.
Hvis klippeenhetene er i transportstilling, bruk mekanisk lås (hvis tilgjengelig) før du forlater maskinen uten tilsyn.
La motoren bli kald før maskinen settes på et lukket sted.
Steng drivstofftilførselen før oppbevaring eller transport av maskinen.
Oppbevar aldri maskinen eller bensinkannen hvor det er åpen ild, gnist eller kontrollampe som på en varmtvannstank eller andre apparater.
Hold alle deler av maskinen i god stand, og sørg for at de er godt festet, spesielt delene som fester knivene.
Skift ut slitte eller skadde merker.
I nødstilfeller kan du bevege maskinen ved å aktivere omløpsventilen i den hydrauliske pumpen med variabelt fortrengningsvolum og montere en hydraulikkslange for å omgå kontrollventilen og deretter skyve eller taue den.
Important: Ikke skyv eller tau maskinen med en større hastighet enn 3–4,8 km/t eller i mer enn 0,4 km, da dette kan føre til skader i det interne drivverket. Omløpsventilen må være åpen når du skyver eller tauer maskinen. I tillegg må du montere en hydraulikkslange for å omgå kontrollventilen når du skyver eller tauer maskinen i revers.
Hvis du må skyve eller taue maskinen, vil du trolig måtte flytte både den både forover og i revers. For å sikre at drivverket ikke blir skadet under skyving eller tauing er det best å klargjøre maskinen for både fremover og bakover skyving eller tauing.
Important: Hvis du må skyve eller taue maskinen i revers, må du først omgå kontrollventilen i manifolden for firehjulsdrift.
Følgende Toro-deler er nødvendig å gå utenom kontrollventilen:
Toro-delenr. 59-7410, diagnosekobling
Toro-delenr. 354-79, diagnosekoblingshette
Toro-delenr. 95-8843, hydraulikkslange
Toro-delenr. 95-0985, kobling (2)
Toro-delenr. 340-77, hydraulikkobling (2)
Monter en diagnosekobling i den umarkerte porten som ligger mellom portene M8 og P2 på bakre trekkmanifold (Figur 43).

Koble en hydraulikkslange mellom diagnosekoblingen som er montert i den bakre trekkmanifolden og testporten for reverstrekktrykk (Figur 44).
Note: Bruk de hydrauliske koblingene og koblingsniplene etter behov for å montere slangen.

Vri ventilen 90° (¼ omdreining) til venstre eller høyre for å åpne den og la væske gå utenom internt (Figur 45).
Note: Fordi væske går utenom drivverket, kan du flytte maskinen sakte uten at drivverket skades.Merk deg plasseringen til ventilen når du åpner eller lukker den.

Når du er ferdig med å skyve eller taue maskinen, fjerner du hydraulikkslangen som du installerte.
Monter den eksisterende hetten på testporten for reverstrekktrykk.
Monter diagnosekoblingshetten på nippelen du monterte på manifolden.
Roter omløpsventilen 90° (¼ omdreining) før du starter motoren.
Note: Du må ikke lukke ventilen med et moment på mer enn 7 til 11 N·m.
Hvis du må skyve eller taue maskinen kun fremover, kan du bare dreie på omløpsventilen.
Important: Hvis du må skyve eller taue maskinen i revers, se Klargjøre maskinen for skyving eller tauing i revers.
Åpne dekslet og fjern senterdekselet.
Vri ventilen 90° (¼ omdreining) til venstre eller høyre for å åpne den og la væske gå utenom internt (Figur 45).
Note: Fordi væsken går utenom drivverket, kan du flytte maskinen sakte forover uten at drivverket skades.Merk deg plasseringen til ventilen når du åpner eller lukker den.
Roter omløpsventilen 90° (¼ omdreining) før du starter motoren.
Note: Du må ikke lukke ventilen med et moment på mer enn 7 til 11 N·m.
Bruk en bred rampe når du laster maskinen på en tilhenger eller lastebil.
Fest maskinen godt.
Jekkepunktene er på følgende steder:
Fremme på maskinen på rammen, innenfor hvert av dekkene
Bak på maskinen midt på akselen
Festepunktene er på følgende steder:
På hver side av rammen under fortrinnene
Bakre støtfanger
Øv deg på å kjøre maskinen siden den har et hydrostatisk drivverk og egenskaper som er forskjellige fra mange andre gressklippere. Når du bruker trekkenheten og klippeenhetene, må du være oppmerksom på drivverket, motorhastigheten, belastningen på knivene og at det er viktig å bruke bremsene.
For å gi nok kraft til maskinen når du bruker maskinen, må du justere trekkpedalen slik at du holder en høy og noenlunde konstant maskinhastighet. En god regel er å redusere hastigheten når belastningen på klippeenhetene øker, og øke hastigheten når belastningen reduseres.
Derfor lar du trekkpedalen bevege seg bakover når motorhastigheten reduseres, og når den øker trykker du pedalen sakte ned. Når du til sammenligning kjører fra ett arbeidsområde til et annet uten belastning og med hevet klippeenhet, setter du gassen i stillingen Hurtig og trykker pedalen sakte, men helt ned for å oppnå maksimal bakkehastighet.
Du må også ta hensyn til hvordan pedalene som er koblet til bremsene, brukes. Du kan bruke bremsene til å hjelpe til med å svinge maskinen. Vær forsiktig når du bruker dem, spesielt på vått gress, siden gressplenen kan rives opp. En annen fordel med bremsene er at veigrepet beholdes. I enkelte skråninger kan det for eksempel hende at hjulet øverst i bakken begynner å gli og miste grepet. Hvis dette skjer, trykker du inn svingpedalen for hjulet øverst i bakken gradvis og periodevis til hjulet øverst i bakken slutter å gli og veigrepet til hjulet nederst i bakken økes.
Vær svært forsiktig når du bruker maskinen i bakker. Kontroller at setelåsen er godt festet, veltebøylen hevet og sikkerhetsbeltet festet. Kjør sakte og unngå skarpe svinger i bakker, slik at gressklipperen ikke velter.
Important: La motoren gå på tomgang i fem minutter før du slår den av etter å ha brukt den med full last. På denne måten kan turboladeren kjøle seg ned før motoren slås av. Hvis du ikke gjør dette, kan du få problemer med turboladeren.
Før du slår av motoren, kobler du fra alle kontrollene og flytter gassen i SAKTE-stillingen. Når du setter gassen i SAKTE-stillingen, reduseres motorhastigheten, støyen og vibrasjonen. Stopp motoren ved å vri nøkkelen til AV.
Før du klipper gress bør du øve på å bruke maskinen i et åpent område. Start og lå av motoren. Bruk i fremover- og reversstilling. Senk og hev klippeenhetene og aktiver og deaktiver spolene. Når du føler at du kjenner maskinen kan du øve på å kjøre opp og ned skråninger ved ulike hastigheter.
Hvis en varsellampe tennes under drift må du stoppe maskinen umiddelbart og rette opp problemet før du fortsetter klippingen. Alvorlig skade kan inntreffe hvis du driver maskinen med en feil.
Start motoren, og flytt motorhastighetsbryteren til HURTIG-stillingen. Flytt klippehastighetsbegrenseren til KLIPPE-stilling. Flytt kraftuttaksbryteren til På-stillingen, og bruk hevebryteren til å kontrollere klippeenhetene (fremre klippeenheter er timet til å senkes før de bakre klippeenhetene). For å kjøre fremover og klippe gress, trykk trekkpedalen fremover.
Flytt kraftuttaksbryteren til AV-stilling, og hev klippeenhetene til transporteringsstilling. Flytt klippehastighetsbegrenseren til transportstilling. Vær forsiktig når du kjører mellom gjenstander, slik at du ikke skader maskinen eller klippeenhetene ved et uhell. Vær svært forsiktig når du bruker maskinen i bakker. Kjør sakte og unngå skarpe svinger i bakker, slik at gressklipperen ikke velter.
Note: Angi hva som er høyre og venstre side på maskinen ved å stå i normal arbeidsstilling.
| Vedlikeholdsintervall | Vedlikeholdsprosedyre |
|---|---|
| Etter de 8 første timene |
|
| Etter de 200 første timene |
|
| For hver bruk eller daglig |
|
| Hver 50. driftstime |
|
| Hver 100. driftstime |
|
| Hver 200. driftstime |
|
| Hver 250. driftstime |
|
| Hver 400. driftstime |
|
| Hver 800. driftstime |
|
| Før lagring |
|
Ta kopi av denne siden for rutinemessig bruk.
| Vedlikeholdskontrollpunkt | For uke: | ||||||
|---|---|---|---|---|---|---|---|
| Ma. | Ti. | On. | To. | Fr. | Lø. | Sø. | |
| Kontroller at sikkerhetssperrene virker ordentlig. | |||||||
| Kontroller at bremsene virker som de skal. | |||||||
| Kontroller nivået på motoroljen og drivstoffet. | |||||||
| Kontroller nivået på kjølevæsken. | |||||||
| Tøm drivstoff-/vannutskilleren. | |||||||
| Kontroller serviceindikatoren for luftfilteret. | |||||||
| Kontroller at det ikke er rusk i radiatoren, i oljekjøleren eller på skjermen. | |||||||
| Kontroller uvanlige motorlyder.1 | |||||||
| Kontroller uvanlige driftslyder. | |||||||
| Kontroller væskenivået i hydraulikksystemet. | |||||||
| Kontroller om de hydrauliske slangene er skadet. | |||||||
| Kontroller om det har oppstått oljelekkasjer. | |||||||
| Kontroller trykket i dekkene. | |||||||
| Kontroller at instrumentene virker. | |||||||
| Kontroller justeringen mellom spole og motstål. | |||||||
| Kontroller klippehøydejusteringen. | |||||||
| Smør alle smøreniplene.2 | |||||||
| Lakker over ødelagt maling. | |||||||
1. Kontroller glødepluggene og injektormunnstykkene hvis maskinen er vanskelig å starte, hvis det kommer ut mye røyk, eller hvis motoren går ujevnt.
2. Straks etter hver vask, uansett hva som står oppført
| Kontroll utført av: | ||
| Punkt | Dato | Informasjon |
| 1 | ||
| 2 | ||
| 3 | ||
| 4 | ||
| 5 | ||
| 6 | ||
| 7 | ||
| 8 | ||
Important: Se maskinens brukerhåndbok og klippeenhetens brukerhåndbok for mer informasjon om vedlikeholdsprosedyrer.
Note: Hvis du vil ha tak i elektronikkskjema eller hydraulikkskjema for maskinen din, går du til www.Toro.com.

Dersom du lar nøkkelen stå i tenningsbryteren, kan noen utilsiktet starte motoren, noe som kan påføre deg eller andre personer alvorlige skader.
Fjern nøkkelen fra tenningen før du begynner med vedlikeholdsarbeid.
Før du justerer, rengjør, reparerer eller forlater maskinen, må du gjøre følgende:
Parker maskinen på en jevn flate.
Flytt gassbryteren til stillingen for lavt tomgangsturtall.
Koble fra klippeenhetene.
Senk klippeenhetene.
Sjekk at trekkenheten er i fri.
Sett på parkeringsbremsen.
Slå av motoren og ta ut nøkkelen.
Vent til alle bevegelige deler har stanset.
La maskinen kjøle seg ned før du utfører vedlikehold.
Hvis klippeenhetene er i transportstilling, bruk mekanisk lås (hvis tilgjengelig) før du forlater maskinen uten tilsyn.
Ikke utfør vedlikehold når motoren er i gang hvis du kan unngå det. Hold deg borte fra bevegelige deler.
Bruk jekkstøtter for å støtte maskinen eller komponenter når det er nødvendig.
Vær forsiktig når du reduserer trykket i komponenter under trykk.
Frigjør panserfestene (Figur 47) og sving opp panseret.

Ta ut splinten som fester de bakre dekselbrakettene til rammetappene og løft opp panseret.
| Vedlikeholdsintervall | Vedlikeholdsprosedyre |
|---|---|
| Hver 50. driftstime |
|
Maskinen har smørenipler som må smøres regelmessig med litiumbasert smørefett nr. 2. Hvis du bruker maskinen under vanlige forhold, smører du alle lagrene og hylsene etter hver 50. driftstime eller umiddelbart etter hver vask.
Plassering av og antall smørenipler er som følger:
Tapplagrene for bremseakselen (5) (Figur 48)

Bakakselens tapphylser (2) (Figur 49)

Styresylinderens kuleledd (2) (Figur 50)

Parallellstagets kuleledd (2) (Figur 50)
Kingbolthylsene (2) (Figur 50) Den øverste anordningen på kingbolten skal bare smøres årlig (to pumpetrykk).
Løftearmhylsene (én per klippeenhet) (Figur 51)

Løftesylinderhylsene (to per klippeenhet) (Figur 51)
Løftearmens tapphylser (én per klippeenhet) (Figur 52)
Klippeenhetens bæreramme (to per klippeenhet) (Figur 52)
Klippeenhetens løftearmtapp (én per klippeenhet) (Figur 52)

Slå av motoren før du sjekker oljen eller tilsetter olje til veivhuset.
Du må ikke endre hastighetsregulatoren eller ruse motoren.
| Vedlikeholdsintervall | Vedlikeholdsprosedyre |
|---|---|
| Hver 400. driftstime |
|
Kontroller om luftrenserkroppen er skadet, noe som kan forårsake en luftlekkasje. Skift den ut om den er skadet. Kontroller hele inntakssystemet for lekkasjer, skade eller løse slangeklemmer.
Overhal filteret på luftrenseren kun når indikatoren (Figur 53) tilsier det. Hvis du skifter filteret før det er nødvendig, øker det bare risikoen for at det kommer inn smuss i motoren når filteret er fjernet.

Important: Pass på at dekselet sitter korrekt på og er forseglet rundt luftrenserkroppen.
Parker maskinen på en jevn flate, senk klippeenheten, sett på parkeringsbremsen, stopp motoren og ta ut tenningsnøkkelen.
Trekk låsen utover, og drei luftrenserdekslet mot urviseren (Figur 54).

Fjern dekslet fra luftrenserhuset.
Før du tar av filteret bruker du luft under lavt trykk (2,76 bar, ren og tørr) til å fjerne store oppsamlinger av smuss mellom utsiden av det primære filteret og boksen. Unngå bruk av luft under høyt trykk, som kan presse smuss gjennom filteret og inn i inntakstrakten.
Denne rengjøringsprosessen forhindrer at smuss flyttes til inntaket når det primære filteret fjernes.
Ta ut og skift det primære filteret (Figur 55).
Det anbefales ikke at det brukte elementet rengjøres, da det er mulighet for at filtermediet blir skadet. Inspiser det nye filteret for transportskade, kontroller forseglingsenden av filteret og huset. Ikke bruk et ødelagt filter.
Sett inn det nye filteret ved å påføre trykk på den utvendige kanten av elementet for å sette det på plass i boksen. Ikke trykk på det elastiske midtpunktet til filteret.

Important: Ikke prøv å rengjøre sikkerhetsfilteret (Figur 56). Erstatt sikkerhetsfilteret med et nytt etter hver tredje overhaling av det primære luftfilteret.

Rengjør smussutstøtningsporten i det avtakbare dekselet:
Fjern uttaksventilen i gummi fra dekselet, rengjør hulrommet og monter uttaksventilen.
Monter dekselet med uttaksventilen i gummi vendt nedover – mellom urviserstillingene kl. 5 til kl. 7 sett fra enden.
Tilbakestill indikatoren (Figur 53) hvis den viser rødt.
| Vedlikeholdsintervall | Vedlikeholdsprosedyre |
|---|---|
| Hver 250. driftstime |
|
Parker maskinen på en jevn overflate, senk klippeenhetene, koble inn parkeringsbremsen, stopp motoren og ta ut tenningsnøkkelen.
Fjern tappepluggen (Figur 57) og la oljen renne ut i en beholder.

Sett tappepluggen på igjen når oljen slutter å renne.
Ta av oljefilteret (Figur 58).

Stryk et tynt lag med ren olje på den nye filterforseglingen før du setter den inn.
Note: Filteret må ikke trekkes til for hardt.
Tilsett olje til veivhuset, se Kontrollere nivået på motoroljen.
Juster gasskabelen (Figur 59) slik at regulatorspaken berører settboltene for høy hastighet samtidig som gasskabelen kommer i kontakt med enden av sporet i styrearmen.

Under visse forhold er diesel og dampen fra drivstoff svært brannfarlig og eksplosivt. En brann eller eksplosjon forårsaket av drivstoff, kan påføre deg og andre brannskader og forårsake skade på eiendom.
Fyll drivstofftanken på et åpent område utendørs mens motoren er av og kald. Tørk opp eventuelt drivstoffsøl.
Tanken må ikke fylles helt opp. Fyll drivstoff på tanken helt til nivået er 25 mm under toppen av tanken, ikke påfyllingshalsen. Dette tomrommet i tanken gir drivstoffet plass til å utvide seg.
Røyk aldri når du håndterer drivstoff, og hold deg borte fra åpen ild eller steder der drivstoffgass kan antennes av gnister.
Oppbevar drivstoffet i en ren, godkjent beholder, og pass på at lokket er skrudd på.
| Vedlikeholdsintervall | Vedlikeholdsprosedyre |
|---|---|
| Hver 800. driftstime |
|
| Før lagring |
|
Parker maskinen på en jevn flate, senk klippeenheten, sett på parkeringsbremsen, stopp motoren og ta ut tenningsnøkkelen.
Tøm og rengjør drivstofftanken hvis drivstoffsystemet blir forurenset, eller hvis du har tenkt å oppbevare maskinen i en lengre periode. Bruk rent drivstoff til å spyle tanken.
| Vedlikeholdsintervall | Vedlikeholdsprosedyre |
|---|---|
| Hver 400. driftstime |
|
Parker maskinen på en jevn overflate, senk klippeenhetene, koble inn parkeringsbremsen, stopp motoren og ta ut tenningsnøkkelen.
Kontroller om koblingene er slitte, ødelagte eller løse.
| Vedlikeholdsintervall | Vedlikeholdsprosedyre |
|---|---|
| For hver bruk eller daglig |
|
| Hver 400. driftstime |
|
Parker maskinen på en jevn overflate, senk klippeenhetene, koble inn parkeringsbremsen, stopp motoren og ta ut tenningsnøkkelen.
Plasser en ren beholder under drivstoffilteret.
Løsne tappepluggen på bunnen av filterboksen.

Rengjør området der filterboksen skal festes.
Fjern filterboksen og rengjør monteringsoverflaten.
Smør pakningen på filterboksen med ren olje.
Monter filterboksen for hånd til pakningen kommer i berøring med monteringsoverflaten, og drei den deretter en halv omdreining til.
Stram til tappepluggen på bunnen av filterboksen.
Parker maskinen på en jevn overflate, senk klippeenhetene, koble inn parkeringsbremsen, stopp motoren og ta ut tenningsnøkkelen.
Drivstoffinntaksslangen, som finnes inne i drivstofftanken, er utstyrt med en skjerm som hindrer at smuss kommer inn i drivstoffsystemet. Fjern drivstoffinntaksslangen og rengjør skjermen etter behov.
Koble fra batteriet før du reparerer maskinen. Koble kabelen fra den negative polen først, og deretter den andre kabelen fra den positive polen. Koble til den positive polen først og den negative polen sist.
Lad opp batteriet på et åpent sted med god ventilasjon og borte fra gnister eller åpen ild. Koble laderen fra strømuttaket før du kobler den til eller fra batteriet. Ha på deg beskyttelsesklær og bruk verktøy som er isolert.
Batteripoler, klemmer og tilknyttet tilbehør inneholder bly og blyforbindelser: kjemikalier som er kjente i staten California for å føre til kreft og forplantningsskader. Vask hendene etter at du har håndtert et batteri.
Parker maskinen på en jevn overflate, senk klippeenhetene, koble inn parkeringsbremsen, stopp motoren og ta ut tenningsnøkkelen.
Lås opp og hev operatørens konsollpanel (Figur 61).

Elektrolytten i batteriet inneholder svovelsyre, en dødelig gift som også kan forårsake alvorlige brannskader.
Ikke drikk elektrolytt, og unngå kontakt med hud, øyne og klær. Bruk vernebriller for å beskytte øynene og gummihansker for å beskytte hendene.
Fyll batteriet i nærheten av rent vann som kan brukes til å skylle huden.
Koble en batterilader på 3–4 A til batteripolene.
Lad batteriet med 3–4 A i 4 til 8 timer.
Når batteriet er oppladet, kobler du laderen fra strømuttaket og batteripolene.
Når batteriet lades, utvikles det gasser som kan eksplodere.
Røyk aldri i nærheten av batteriet, og hold gnister og åpen ild borte fra batteriet.
Koble den positive kabelen (rød) til den positive (+) polen og den negative kabelen (svart) til den negative (-) polen (Figur 62).

Fest kablene til polene med hodeskruer og muttere.
Kontroller at den positive (+) klemmen er skjøvet helt ned på polen, og at kabelen er plassert tett inntil batteriet. Kabelen må ikke komme i berøring med batteridekslet.
Skyv gummihetten over den positive polen for å hindre muligheten for kortslutning.
Smør begge batterikoplingene med Grafo 112X (Toro-delenummer 505-47), vaselin eller smørefett for å forhindre korrosjon.
Skyv gummihetten over den positive polen.
Lukk konsollpanelet, og fest låsen.
Batteripolene eller metallverktøy kan kortslutte mot metallkomponenter og forårsake gnister. Gnistene kan føre til at batterigassene eksploderer, noe som kan forårsake personskade.
Når du fjerner eller monterer batteriet, må du passe på at batteripolene ikke berører metalldeler på maskinen.
La ikke metallverktøy kortslutte mellom batteripolene og metalldeler på maskinen.
Feilaktig ruting av batterikabler kan skade maskinen og kablene og forårsake gnister. Gnistene kan føre til at batterigassene eksploderer, noe som kan forårsake personskade.
Koble alltid fra den negative (svarte) batterikabelen før du kobler fra den positive (røde) kabelen.
Koble alltid til den positive (røde) batterikabelen før du setter på den negative (svarte) kabelen.
| Vedlikeholdsintervall | Vedlikeholdsprosedyre |
|---|---|
| Hver 50. driftstime |
|
Important: Før du sveiser på maskinen, må du koble den negative kabelen fra batteriet for å forhindre at det elektriske systemet tar skade.
Note: Kontroller batteriets tilstand ukentlig eller etter hver 50. driftstime. Hold batteripolene og hele batterikassen ren. Et skittent batteri lades sakte ut.
Rengjør batteriet på følgende måte:
Parker maskinen på en jevn overflate, senk klippeenhetene, koble inn parkeringsbremsen, stopp motoren og ta ut tenningsnøkkelen.
Fjern batteriet fra maskinen.
Vask hele kassen med en oppløsning av natron og vann.
Skyll kassen med rent vann.
Smør batteripolene og kabelskjøtestykkene med Grafo 112X (Toro-delenummer 505-47) eller vaselin for å forhindre korrosjon.
| Vedlikeholdsintervall | Vedlikeholdsprosedyre |
|---|---|
| Etter de 8 første timene |
|
| Hver 200. driftstime |
|
Parker maskinen på en jevn overflate, senk klippeenhetene, koble inn parkeringsbremsen, stopp motoren og ta ut tenningsnøkkelen.
Hvis hjulmutterne ikke er strammet tilstrekkelig til, kan det hende at det oppstår en feil med et hjul, eller at det faller av. Dette kan føre til personskader.
Stram de fremre og bakre hjulmutterne til 115–136 N·m etter 1–4 driftstimer, og gjenta etter 8 driftstimer. Trekk deretter til hjulmutterne hver 200. time.
Note: De fremre hjulmutrene er ½–20 UNF. Hjulmutterne på bakhjulene er M 12 x 1,6–6 H (metrisk).
| Vedlikeholdsintervall | Vedlikeholdsprosedyre |
|---|---|
| Hver 400. driftstime |
|
Kontroller oljenivået etter hver 400. driftstime. Bruk SAE 85W-140-girolje av høy kvalitet.
Parker maskinen på en jevn overflate, senk klippeenhetene, koble inn parkeringsbremsen, stopp motoren og ta ut tenningsnøkkelen.
Plasser hjulet slik at en kontrollplugg (Figur 66) er plassert i urviserstilling kl. 12 og den andre i urviserstilling kl. 3.

Ta ut pluggen som er i klokken tre-stilling (Figur 66).
Note: Oljenivået bør være opptil bunnen av hullet.
Hvis oljenivået er lavt, ta ut pluggen i klokken tolv-stilling og tilfør olje til den begynner å renne ut av hullet i klokken tre-stillingen.
Sett inn begge pluggene.
Gjenta trinn 2 til 5 på det andre planetgiret.
| Vedlikeholdsintervall | Vedlikeholdsprosedyre |
|---|---|
| Etter de 200 første timene |
|
| Hver 800. driftstime |
|
Skift oljen etter de første 200 driftstimene. Skift oljen deretter hver 800. driftstime eller årlig, avhengig av hva som inntreffer først. Bruk SAE 85W-140-girolje av høy kvalitet som en erstatning.
Parker maskinen på en jevn overflate, senk klippeenhetene, koble inn parkeringsbremsen, stopp motoren og ta ut tenningsnøkkelen.
Plasser et hjul slik at én av kontrollpluggene står på laveste stilling (klokken seks) (Figur 67).

Plasser et tappefat under planetnavet. Ta ut pluggen, og la oljen renne ut.
Plasser et tappefat under bremsehuset. Ta ut tappepluggen, og la oljen renne ut (Figur 68).

Sett pluggen i bremsehuset når all oljen har rent ut fra begge steder.
Roter hjulet til det åpne plugghullet i planetgiret peker mot urviserretning klokken tolv.
Fyll planetgiret med 0,65 l SAE 85W-140-girsmøring med høy kvalitet gjennom det åpne hullet.
Important: Hvis planetgiret fylles opp før 0,65 liter med olje tilføres, må du vente i én time, eller sette inn pluggen og bevege maskinen omtrent tre meter for å distribuere oljen gjennom bremsesystemet. Ta deretter ut pluggen og tilfør den gjenværende oljen.
Sett pluggen på plass.
Gjør det samme med planetgiret/bremsene på motsatt side.
| Vedlikeholdsintervall | Vedlikeholdsprosedyre |
|---|---|
| Hver 400. driftstime |
|
Bakakselen har blitt fylt med SAE 85W-140-girolje på fabrikken. Kontroller oljenivået før du starter motoren for første gang, og deretter hver 400. time. Kapasiteten er 2,4 l. Se etter lekkasjer hver dag.
Parker maskinen på en jevn overflate, senk klippeenhetene, koble inn parkeringsbremsen, stopp motoren og ta ut tenningsnøkkelen.
Ta ut en kontrollplugg på den ene enden av akselen (Figur 69), og kontroller at oljen når opp til bunnen av hullet. Hvis nivået er lavt, fjerner du fyllepluggen (Figur 69) og fyller olje til den når opp til bunnen av kontrollplugghullene.

| Vedlikeholdsintervall | Vedlikeholdsprosedyre |
|---|---|
| Etter de 200 første timene |
|
| Hver 800. driftstime |
|
Parker maskinen på en jevn overflate, senk klippeenhetene, koble inn parkeringsbremsen, stopp motoren og ta ut tenningsnøkkelen.
Rengjør områdene rundt de tre tappepluggene, én på hver ende og én i midten (Figur 70).

Fjern kontrollpluggene for oljenivå og ventilasjonslokket til hovedakselen, slik at oljen renner ut raskere.
Fjern tappepluggene, og la oljen renne ut i tappefatene.
Sett pluggene på plass.
Fjern en kontrollplugg og fyll akselen med rundt 2,37 l 85W-140-girolje eller til oljenivået når opp til bunnen av hullet.
Sett kontrollpluggen på plass igjen.
| Vedlikeholdsintervall | Vedlikeholdsprosedyre |
|---|---|
| Hver 400. driftstime |
|
Girkassen er fylt med SAE 85W-140-girolje. Kontroller oljenivået før du starter motoren for første gang, og deretter hver 400. time. Kapasiteten er 0,5 l. Se etter lekkasjer hver dag.
Parker maskinen på en jevn overflate, senk klippeenhetene, koble inn parkeringsbremsen, stopp motoren og ta ut tenningsnøkkelen.
Fjern kontroll-/påfyllingspluggen på den ene enden av girkassen (Figur 71), og kontroller at oljen når opp til bunnen av hullet. Hvis nivået er lavt, fyll på nok smøremiddel til at nivået når opp til bunnen av hullet.

Maskinen må ikke bevege seg når du slipper opp trekkpedalen. Hvis dette skjer, må maskinen justeres.
Parker maskinen på en jevn overflate, slå av motoren, sett hastighetskontrollen til lav hastighetsinnstilling, og senk klippeenhetene.
Trykk kun ned høyre bremsepedal, og sett på parkeringsbremsen.
Jekk opp den venstre siden av maskinen til frontdekket er over verkstedsgulvet. Støtt maskinen med jekkstøtter, slik at den ikke kan falle ned ved et uhell.
Start motoren, og la den gå på tomgang.
Juster låsemutrene på pumpens stagende for å flytte pumpekontrollrøret forover for å unngå bevegelse framover, eller bakover for å unngå bevegelse bakover (Figur 72).

Når hjulet slutter å rotere, stram låsemutterne for å sikre justeringen.
Stopp motoren, og slipp opp den høyre bremsen.
Ta bort jekkstøttene, og senk maskinen ned på verkstedsgulvet.
Prøvekjør maskinen for å kontrollere at den ikke kryper.
| Vedlikeholdsintervall | Vedlikeholdsprosedyre |
|---|---|
| Hver 800. driftstime |
|
Parker maskinen på en jevn overflate, senk klippeenhetene, koble inn parkeringsbremsen, stopp motoren og ta ut tenningsnøkkelen.
Mål avstanden fra midten til midten (i akselhøyde) foran og bak på styredekkene.
Note: Målingen foran må være 3 mm kortere enn målingen bak (Figur 73).

Fjern splinten og mutteren fra begge kuleleddene til parallellstaget når du vil justere spissingen (Figur 74).

Fjern parallellstagets kuleledd fra støtten til akselkassen.
Løsne klemmene på begge sider av parallellstagene (Figur 74).
Vri det frittstående kuleleddet innover eller utover én hel omdreining.
Stram klemmene på den løse enden av parallellstaget.
Vri hele kuleleddet i samme retning (innover eller utover) én hel omdreining.
Stram klemmene på den tilkoblede enden av parallellstaget.
Fest kuleleddet til støtten for akselkassen, og fest mutteren godt.
Mål spissingen.
Gjenta fremgangsmåten hvis det er nødvendig.
Stram mutteren, og sett i en ny splint når justeringen er riktig.
Du kan bli forgiftet av å svelge motorkjølevæske. Oppbevares utilgjengelig for barn og kjæledyr.
Utslipp av varm kjølevæske under trykk, eller berøring av en varm radiator og omsluttende deler, kan føre til alvorlige brannsår.
La alltid motoren kjøle seg ned i minst 15 minutter før du fjerner radiatorlokket.
Bruk en klut når du åpner radiatorlokket. Åpne det forsiktig, slik at dampen kan slippe ut.
| Vedlikeholdsintervall | Vedlikeholdsprosedyre |
|---|---|
| For hver bruk eller daglig |
|
Fjern rusk fra motorområdet, oljekjøleren og radiatoren daglig. Rengjør dem oftere under skitne forhold.
Parker maskinen på en jevn overflate, senk klippeenhetene, koble inn parkeringsbremsen, stopp motoren og ta ut tenningsnøkkelen.
Lås opp og sving bakre skjerm åpen (Figur 75).

Rengjør skjermen grundig for alt rusk og skitt.
Note: Når du vil flytte skjermen, løfter du av hengselsplintene.
Rengjør begge sidene av oljekjøleren/radiatorområdet (Figur 76) grundig med trykkluft. Start fra forsiden og blås rusk ut mot bakdelen. Rengjør så fra baksiden og blås fremover og ut. Gjenta prosedyren flere ganger til alt rusk er borte.

Important: Hvis du rengjør oljekjøleren eller radiatoren med vann, vil komponentene blir skadet eller ruster tidligere enn ellers.
Lukk bakskjermen, og fest den med låsene.
Juster bremsene når det er mer enn 13 mm frigang på bremsepedalen, eller når bremsene ikke virker effektivt. Frigang er avstanden bremsepedalen kan beveges før du merker bremsemotstand.
Parker maskinen på en jevn overflate, senk klippeenhetene, koble inn parkeringsbremsen, stopp motoren og ta ut tenningsnøkkelen.
Fjern låsen fra bremsepedalene, slik at pedalene virker uavhengig av hverandre.
Hvis du vil redusere frigangen til bremsepedalene, strammer du bremsene på følgende måte:
Løsne den fremre mutteren på gjengeenden på bremsekabelen (Figur 77).

Trekk til den bakre mutteren for å flytte kabelen bakover til bremsepedalene har en frigang på 0–13 mm.
Note: Påse at det ikke spenning i bremsen når pedalen slippes opp.
Trekk til de fremre mutrene etter at du har justert bremsene riktig.
| Vedlikeholdsintervall | Vedlikeholdsprosedyre |
|---|---|
| Hver 100. driftstime |
|
Kontroller remmenes tilstand og spenning (Figur 78) etter hver 100. driftstime.
Remmen har riktig spenning når du kan trykke den ned 10 mm midt mellom remskivene med en kraft på 45 N.
Hvis du ikke kan trykke den ned 10 mm, løsner du monteringsboltene for generatoren (Figur 78).

Øk eller reduser spenningen til generatorremmen, og stram til boltene.
Kontroller hvor langt ned du kan trykke beltet, for å kontrollere at spenningen er riktig.
Kontroller at alle hydraulikkvæskeslanger og -ledninger er i god stand, og at alle hydraulikkoblinger og -beslag er tette, før hydraulikksystemet settes under trykk.
Hold kropp og hender borte fra hull eller dyser som sprøyter ut hydraulikkvæske under høyt trykk.
Bruk kartong eller papir til å finne lekkasjer.
Før du utfører vedlikehold eller reparasjoner på hydraulikksystemet, må du forsiktig slippe ut alt trykket.
Oppsøk legehjelp øyeblikkelig hvis olje kommer i direkte kontakt med huden. Innsprøytet væske må fjernes kirurgisk innen få timer av en lege.
| Vedlikeholdsintervall | Vedlikeholdsprosedyre |
|---|---|
| Hver 800. driftstime |
|
Skift den hydrauliske oljen etter hver 800. driftstime under vanlige forhold. Hvis oljen blir forurenset, kontakter du den lokale Toro-forhandleren fordi systemet da må tømmes. Kontaminert væske får en melkeaktig eller sort farge sammenlignet med ren væske.
Parker maskinen på en jevn overflate, senk klippeenhetene, koble inn parkeringsbremsen, stopp motoren og ta ut tenningsnøkkelen.
Åpne panseret.
Koble fra returledningen til kassen på undersiden av beholderen, og la den hydrauliske oljen renne ned i et stort tappefat.
Koble til ledningen når den hydrauliske oljen slutter å renne.
Fyll beholderen med omtrent 28,4 liter hydraulikkvæske. Se Kontrollere nivået på hydraulikkvæsken.
Important: Bruk bare hydraulikkvæskene som er angitt. Andre væsker kan skade systemet.
Sett lokket på beholderen.
Start motoren, og bruk alle hydrauliske kontroller til å fordele hydraulikkvæsken i systemet.
Kontroller at det ikke finnes lekkasjer, og slå av motoren.
Kontroller væskenivået, og fyll på mer til nivået når opp til Full-merket på peilestaven.
Note: Ikke overfyll hydraulikksystemet.
| Vedlikeholdsintervall | Vedlikeholdsprosedyre |
|---|---|
| Etter de 200 første timene |
|
| Hver 800. driftstime |
|
Skift de to hydrauliske filterne etter de første 200 driftstimene. Deretter skifter du filterne etter hver 800. driftstime under vanlige forhold.
Bruk erstatningsfilter fra Toro, delenummer 94-2621 på den bakre (klippeenhet) siden av maskinen og 75-1310 på fronten (belastningen) av maskinen.
Important: Hvis du bruker et annet filter, kan dette føre til at garantien blir ugyldig for enkelte komponenter.
Parker maskinen på en jevn overflate, senk klippeenhetene, koble inn parkeringsbremsen, stopp motoren og ta ut tenningsnøkkelen.
Rengjør området rundt der filteret skal festes.
Plasser et tappefat under filteret, og ta ut filteret (Figur 79 og Figur 80).
Smør den nye filterpakningen, og fyll filteret med hydraulisk olje.


Påse at området der filteret skal festes er rent.
Skru filteret på til pakningen kommer i kontakt med monteringsplaten. Stram deretter filteret med en halv omdreining til.
Start motoren, og la den gå i omtrent to minutter for å blåse luft ut fra systemet.
Stopp motoren og kontroller om det finnes lekkasjer.
| Vedlikeholdsintervall | Vedlikeholdsprosedyre |
|---|---|
| For hver bruk eller daglig |
|
Undersøk hydrauliske ledninger og slanger daglig for å kontrollere at det ikke er lekkasjer, at det ikke er knekk på dem, at ingen monteringsstøtter er løse, at ingen beslag er løse, og at de ikke er slitt på grunn av værforhold, kjemisk forringelse eller andre årsaker. Foreta alle nødvendige reparasjoner før bruk.
Hydraulisk væske som kommer ut under trykk, kan trenge gjennom huden og forårsake personskader.
Kontroller at alle hydraulikkslanger og ledninger er i god stand, og at alle hydrauliske koblinger og beslag er tette, før det hydrauliske systemet settes under trykk.
Hold kropp og hender borte fra hull eller dyser som sprøyter ut hydraulisk olje under høyt trykk.
Bruk kartong eller papir til å finne lekkasjer.
Før du utfører vedlikehold eller reparasjoner på det hydrauliske systemet, må du forsiktig slippe ut alt trykket.
Oppsøk legehjelp øyeblikkelig hvis olje kommer i direkte kontakt med huden.
En slitt eller skadet klippeenhet kan brekke, og en del av en spole eller et motstål kan slynges ut mot deg eller andre og føre til alvorlige personskader eller en dødsulykke.
Undersøk klippeenheten regelmessig for slitasje eller skade.
Vær forsiktig når du kontrollerer klippeenhetene. Legg noe rundt knivene eller bruk hansker, og vær svært forsiktig når du håndterer spolene og motstålene. Kniver og motstål skal kun skiftes ut eller slipes. Du må aldri rette dem ut eller sveise dem.
Vær forsiktig hvis maskinen har flere knivblader, da resten av knivene kan begynne å rotere når det ene knivbladet roteres.
Kontakt med spolene eller andre bevelige deler kan føre til personskader.
Hold fingre, hender og klær borte fra spolene eller andre bevegelige deler.
Forsøk aldri å dreie spolene for hånd eller med føttene mens motoren er i gang.
Note: Alle de fremre og de bakre enhetene fungerer sammen ved sliping.
Parker maskinen på en jevn overflate, senk klippeenhetene, koble inn parkeringsbremsen, slå av motoren, og flytt kraftuttaksbryteren til AV-stillingen.
Lås opp og åpne panseret, slik at kontrollene vises.
Foreta innledende spole til motstål-justeringer som er korrekte for sliping på alle klippeenhetene som skal slipes. Se i klippeenhetens brukerhåndbok.
Velg enten fremre, bakre eller begge slipespaker for å bestemme hvilke spoler som slipes (Figur 81).
Start maskinen, og la den gå på tomgang.
Endring av motorhastigheten mens du sliper kan føre til at spolene stopper.
Endre aldri motorhastigheten mens du sliper.
Sliping skal kun utføres mens motoren går på tomgang.
Kontakt med klippeenhetene kan forårsake personskader.
Forsikre deg om at du går klar av klippeenhetene før du fortsetter.
Med klippehastighetsbegrenseren i KLIPPE-stilling, flytt kraftuttaksbryteren til På-stillingen.
Trykk på hevebryteren for å starte sliping av valgte spoler.
Bruk en børste med langt håndtak, og tilsett slipekjemikalier.
Note: Ikke bruk en børste med kort skaft.

Hvis spolene stopper eller blir uberegnelige ved sliping, øk gasshastigheten til spolen stabiliserer seg.
Justering av klippeenhetene under sliping gjøres ved å vri spolene av ved å trykke bak på hevebryteren, flytte kraftuttaksbryteren til AV-stillingen og stoppe motoren. Etter at justeringene er fullført, gjenta trinnene 5 til og med 9.
Gjenta prosedyren for alle klippeenhetene som du vil skal slipes.
Når du er ferdig, still slipespakene tilbake til KLIPPE-stillingen, senk panseret og vask av all lappingsmassen fra klippeenhetene. Juster klippeenhetens spole til motstål etter behov. Flytt hastighetskontrollene for klippeenhetens spoler til ønsket klippestilling.
Important: Hvis slipebryteren ikke stilles tilbake til AV-stillingen etter sliping, vil klippeenhetene ikke bli hevet eller fungere på korrekt måte.
Note: Ekstra instruksjoner og framgangsmåter om sliping finnes i brukerveiledningen til Toro Sharpening Reel & Rotary Mowers, skjemanr. 80-300SL.
Note: For en bedre knivegg, dra en fil over forsiden av motstålet etter sliping. Dette vil fjerne alle ru eller skarpe kanter på kniveggen.
Parker maskinen på en jevn overflate, senk klippeenhetene, koble inn parkeringsbremsen, stopp motoren og ta ut tenningsnøkkelen.
Rengjør trekkenheten, klippeenhetene og motoren grundig.
Kontroller trykket i dekkene. Se Kontrollere trykket i dekkene.
Kontroller alle festene. Stram dem til etter behov.
Smør alle smørenipler og omdreiningspunkter. Tørk opp overflødig smøremiddel.
Bruk litt sandpapir på og mal malte områder som har fått riper eller rust. Reparer alle hakk i metallet.
Overhal batteriet og kablene:
Ta batteriklemmene av batteripolene.
Rengjør batteriet, klemmene og polene med en stålbørste og en oppløsning av natron.
Smør batteripolene og kabelklemmene med Grafo 112X (Toro-delenummer 505-47) eller vaselin for å forhindre korrosjon.
Lad batteriet sakte opp i 24 timer hver 60. dag for å forhindre blysulfatering av batteriet.
Tøm motoroljen fra bunnpannen, og sett tappepluggen på plass.
Ta ut og kast oljefilteret. Sett inn et nytt oljefilter.
Fyll motoren med spesifisert motorolje.
Start motoren, og kjør den på tomgang i omtrent to minutter.
Slå av motoren.
Spyl drivstofftanken med rent, ferskt drivstoff.
Fest alle beslagene for drivstoffsystemet.
Rengjør og overhal luftrenseren grundig.
Forsegl inntaket til luftrenseren og eksosåpningen med værbestandig teip.
Kontroller frostvæsken, og fyll på halvt om halvt med vann og frostvæske med etylenglykol etter behov, avhengig av forventet minimumstemperatur der du bor.