| 整備間隔 | 整備手順 |
|---|---|
| 使用するごとまたは毎日 |
|
この機械は回転刃を使用するリール式乗用芝刈り機であり、そのような業務に従事するプロのオペレータが運転操作することを前提として製造されています。この製品は、集約的で高度な管理を受けているゴルフ場や公園、スポーツフィールド、商用目的で使用される芝生に対する刈り込み管理を行うことを主たる目的として製造されております。本機は、雑草地や道路わきの草刈り、農業用地における刈り取りなどを目的とした機械ではありません。
この説明書を読んで製品の運転方法や整備方法を十分に理解し、他人に迷惑の掛からない、適切で安全な方法でご使用ください。この製品を適切かつ安全に使用するのはお客様の責任です。
弊社のウェブサイト www.Toro.com で安全講習や運転講習の狩猟、アクセサリ情報の閲覧、代理店についての情報閲覧、お買い上げ製品の登録などを行っていただくことができます。
整備について、また純正部品についてなど、分からないことはお気軽に弊社代理店またはカスタマーサービスにおたずねください。お問い合わせの際には、必ず製品のモデル番号とシリアル番号をお知らせください。図 1 は、モデル番号とシリアル番号を刻印した銘板の取り付け位置(機械の右前フレーム部材)を示します。いまのうちに番号をメモしておきましょう。

この説明書では、危険についての注意を促すための警告記号(図 2)を使用しております。これらは死亡事故を含む重大な人身事故を防止するための注意ですから、必ずお守りください。

この他に2つの言葉で注意を促しています。重要 は製品の構造などについての注意点を、注はその他の注意点を表しています。
この製品は、関連する全ての欧州指令に適合しています。詳細については、別添えの規格適合証明書(DOC)をご覧ください。
カリフォルニア州の森林地帯・潅木地帯・草地などでこの機械を使用する場合には、エンジンに同州公共資源法第4442章に規定される正常に機能するスパークアレスタが装着されていること、エンジンに対して森林等の火災防止措置をほどこされていることが義務づけられており、これを満たさない機械は、第4442章または4443章違犯となります。
エンジンの保守整備のため、および米国環境保護局(EPA)並びにカリフォルニア州排ガス規制に関連してエンジンマニュアルを同梱しております。エンジンマニュアルはエンジンのメーカーから入手することができます。
カリフォルニア州
第65号決議による警告
カリフォルニア州では、ディーゼルエンジンの排気には発癌性や先天性異常などの原因となる物質が含まれているとされております。
米国カリフォルニア州では、この製品を使用した場合、ガンや先天性異常などを誘発する物質に触れる可能性があるとされております。
この機械は、EN ISO 5395:2013 規格およびANSI B71.4-2012 規格に適合しています(EN規格に適合するためには所定のステッカーの貼付が必要となります)。
この機械は手足を切断したり物をはね飛ばしたりする能力があります。重大な人身事故を防ぐため、すべての注意事項を厳守してください。
この機械は本来の目的から外れた使用をすると運転者本人や周囲の人間に危険な場合があります。
エンジンを始動する前に必ずこのオペレーターズマニュアルをお読みになり、内容をよく理解してください。
機械の可動部の近くには絶対に手足を近づけないでください。
ガードなどの安全保護機器が正しく取り付けられていない時は、運転しないでください。
排出口の近くに手足などを近づけないでください。周囲の人や動物を十分に遠ざけてください。
作業場所に子供を近づけないでください。子供に運転させないでください。
整備、燃料補給、詰まりの解除作業などを行う前には、必ずエンジンを停止させてください。
間違った使い方や整備不良は人身事故などの原因となります。事故を防止するため、以下に示す安全上の注意や安全注意標識のついている遵守事項は必ずお守りください 「注意」、「警告」、および「危険」 の記号は、人身の安全に関わる注意事項を示しています。これらの注意を怠ると死亡事故などの重大な人身事故が発生する恐れがあります。
このオペレーターズマニュアルの他の場所に書かれている注意事項も必ずお守りください。
この機械に搭載されているエンジンは、EU stage 3A 規制に適合しています。
![]() |
危険な部分の近くには、見やすい位置に安全ラベルや指示ラベルを貼付しています。破損したりはがれたりした場合は新しいラベルを貼付してください。 |























Note: 前後左右は運転位置からみた方向です。
この作業に必要なパーツ
| 警告表示ステッカー | 1 |
CE 基準に適合させる必要がある場合には、警告ステッカー(P/N 120-1686)を、P/N 120-1683 の上から貼り付けます。
この作業に必要なパーツ
| フードロックブラケット | 1 |
| リベット | 2 |
| ねじ(¼ x 2") | 1 |
| 平ワッシャ (¼") | 2 |
| ロックナット(¼") | 1 |
フードラッチブラケットからフードラッチを外す(図 4)。

フードラッチブラケットをフードに固定しているリベット2本を外す(図 5)。

フードからフードラッチブラケットを外す。
CEロックブラケットとフードラッチブラケットの穴を整列させてフードにセットする。
Note: ロックブラケットをフードに当てて取り付ける(図 5)。ロックブラケットアームからボルト&ナットアセンブリを外してしまわないこと。

フードの内側にある穴に、ワッシャを整列させる。
ブラケットとワッシャをフードにリベットで固定する(図 6)。
フードラッチブラケットにフックをかける(図 7)。

フードロックブラケットのもう一つのアームにボルトを差し込んでラッチをロックする(図 8)。

ボルトをしっかりと締め付けるが、ナットは締め付けない。
この作業に必要なパーツ
| 前ホースガイド(右) | 1 |
| 前ホースガイド(左) | 1 |
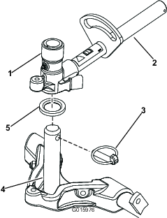
出荷用ブラケットからリールモータを取り出す。
出荷用ブラケットを外して廃棄する。
カッティングユニットをカートンから取り出す。
同梱されているカッティングユニット用オペレーターズマニュアルに従って、希望の設定に組み立て、調整を行う。
カウンタウェイト(図 9) を、決められている側に取り付ける;カッティングユニットのオペレーターズマニュアルを参照。

どのカッティングユニットも、カッティングユニットの右側にターフ補正スプリングを取り付けて出荷している。ターフ補正スプリングは、リール駆動用モータを取り付ける側に取り付ける必要がある。以下の要領で、ターフ補正スプリングの位置換えを行う:
カッティングユニットのタブにロッドブラケットを固定しているキャリッジボルト2本を外す(図 10)。

スプリングチューブのボルトをキャリアフレームのタブに固定しているフランジナット(図 10)を外す。
アセンブリを取り外す。
スプリングチューブのボルトを、反対側のキャリアフレームのタブに取り付け、フランジナットで固定する。
Note: ボルトは、図 11に示すように、頭部が外側にくるように取り付ける。

カッティングユニットのタブにロッドブラケットを取り付け、キャリッジボルト2本とナットで固定する(図 11)。ロッドブラケットの再取り付けを行うときに、カッティングユニットのタブの前に、左ホースガイドを取り付ける(図 13)。
Important: 4番(左前)カッティングユニットと、5番(右前)カッティングユニットでは、ロッドブラケット取り付けナットを使って、各ユニットのタブの前にホースガイドを取り付ける。ホースガイドは、中央カッティングユニットに向かって傾斜するのが正しい(図 12-図 14)。



Note: カッティングユニットをトラクションユニットに取り付ける時には、ロッドブラケットの隣にあるスプリングロッド穴にヘアピンコッターを、忘れずに取り付けてください。トラクションユニットを外している時は、必ずヘアピンコッターをロッドの端の穴に差し込んでおいてください。
後ろのカッティングユニット(2番と3番)のキャリアフレームから、ピボットスペーサ、六角ソケットねじ、およびフランジロックナット(各2)(図 15)を取り外すことにより、これらのカッティングユニットの首振り追従性能を向上させることができます(図 12)。

全部の昇降アームを完全に下降させる。
キャリアフレームのシャフトにきれいなグリスを塗る(図 16)。

フロントに取り付けるカッティングユニットは、昇降アームの下に入れるときにキャリアフレームのシャフトを昇降アームのピボットヨークに挿入する(図 16)。スラストワッシャがキャリアフレームのシャフトの所定位置にあることを確認すること。
クリックピンを使って、キャリアフレームシャフトを昇降アームのヨークに固定する(図 16)。
カッティングユニットが首振りしないように固定するには、スナッパピンを使ってピボットヨークをキャリアフレームに固定します(図 17)。

Note: 法面では、カッティングユニットを固定することをお奨めします。
刈高が 19 mm を超える場合、後カッティングユニットは以下の手順で調整する。
スナッパピンで、昇降アームのチェーンをチェーンブラケットに固定する (図 19)。
Note: カッティングユニットのオペレーターズマニュアルに従って、決められたリンクを使用すること。

リールモータのスプラインシャフトにきれいなグリスを塗りつける。
リールモータのOリングにオイルを塗りつけ、モータのフランジに取り付ける。
モータを手に持ち、右回りにひねってモータのフランジをボルトから逃がしながら、キャップスクリュにモータをセットする(図 20)。

モータを左回りにひねってボルトにフランジをしっかりと掛け、ボルトを締めてモータを固定する。
Important: リールモータの各ホースにねじれ、折れ、挟まれなどがないことを確認する。
ターフ補正スプリング(図 21)は、カッティングユニットの前から後ろへの「体重移動」を行う働きがあります。これにより、マーセリングやボビングと呼ばれる「波打ったような」仕上がりを防いでいます。
Important: この調整は、カッティングユニットをトラクタに取り付け、ユニットを真っ直ぐ前に向けて床に降ろした状態で行ってください。
初めて運転する前にマシン全体のグリスアップを行って ください。作業要領は潤滑ページに記載されています。この作業を怠るとマシンに急激な磨耗が発生しますから注意してください。
エンジンを初めて作動させる前に、後アクスルオイルの量を点検する;油圧オイルの量を点検する を参照。
エンジンを初めて作動させる前に、油圧オイルの量を点検する;油圧オイルの量を点検する を参照。
エンジンを初めて作動させる前に、エンジンオイルの量を点検する;エンジンオイルの量を点検する を参照。
2枚のペダル(図 25)により左右の車輪を独立で制御し、旋回性能、駐車、斜面での走行性能を高めています。
ペダルのロック用ラッチ(図 25)を使って2枚のペダルを連結して駐車ブレーキを掛けます。
駐車ブレーキ(図 25)を掛けるには、ペダルロック用ラッチで2枚のペダルを連結し、右ブレーキペダルを踏み込みながら、つま先ペダルを踏み込みます。ブレーキを解除するには、駐車ブレーキラッチが解除される左右どちらかのペダルを踏み込みます。

走行ペダル(図 25)は前進走行と後退走行を制御します。ペダル前部を踏み込むと前進、後部を踏み込むと後退です。走行速度はペダルの踏み込み具合で調整します。スロットルが 高速位置にある状態でペダルを一杯に踏み込むと最高速度となります。
ペダルの踏み込みをやめると、ペダルは中央位置に戻り、走行を停止します。
ハンドルを手前に寄せたい場合には、ペダル(図 25)を踏みこみ、ステアリングタワーを手前に引き寄せ、ちょうど良い位置になったら、ペダルから足を離します。
刈り込み速度リミッタ(図 26)を上位置にセットすると、事前にセットしてある刈り込み速度での走行になり、カッティングユニットが回転できるようになります。刈り込み速度の調整はスペーサで行い、スペーサ1枚で、走行速度が約 0.8 km/h 変化します。ボルトの上側のスペーサの数が増えるほど、走行速度が遅くなります。移動走行を行う時は、刈り込み速度リミッタを下位置に下げて解除すると全速力での走行が可能になります。
これらのねじ(図 26)を使ってペダルの前後への踏み込み深さを制限し、前進速度や後退速度を制限することができます。
Important: これらのねじは、ポンプのストロークの範囲内で調整してください。ポンプのストローク限界を超えてペダルを踏み込むと、ポンプを破損する場合があります。

リールが刈り込みモードになっているとき、この1本のレバー(図 27)で、カッティングユニットの昇降操作と回転開始・停止操作を制御します。 カッティングユニット昇降レバーが移動走行位置にセットされているときには、カッティングユニットを下降させることができません。
キースイッチ(図 27)には3つの位置があります: OFF、ON/PREHEAT、STARTです。
インフォセンターLCDディスプレイは、マシンの運転状態、故障診断など)の情報を表示します(図 27)。
PTOスイッチ(図 27)にはSTARTとSTOPの2つの位置があります。PTO ボタンを前に押し込むとカッティングユニットのブレードが回転を開始します。PTO ボタンを戻すとカッティングユニットのブレードが回転を停止します。

エンジン速度スイッチ(図 27)は、2つのエンジン速度モードを切り換えます。スイッチを軽くたたくと、エンジン速度を100 rpmずつ増加または減少させることができます。スイッチの端を長押しすると、エンジンは自動的にハイアイドルまたはローアイドルになります。
ヘッドライトスイッチ(図 27)を下げるとヘッドライトが点灯します。
電動アクセサリ用に電源ソケット(図 28)から12 Vの電源をとることができます。

バッグホルダー(図 29)は物入れにお使いください。

リールのバックラップを行うときに使用します(図 30)。

インフォセンター LCD は、マシンの運転状態、不具合診断など、マシンに関わる様々な情報を表示します(図 32)。インフォセンターには初期画面(スプラッシュ画面)とメイン画面があります。インフォセンターのどのボタンでも、押せば初期画面とメイン画面とをいつでも切り替えることができ、また、矢印ボタンで選択することによって、希望する項目の内容を確認することができます。

左ボタン, メニューアクセス/バック・ボタン:このボタンを押すと、インフォセンターのメニューが表示されます。メニュー表示中にこれを押せばメニューを終了します。
中央ボタン:メニューを下向きにスクロールするときに使います。
右ボタン:右向き矢印が表示されたとき、その先にあるメニュー項目を見るために使用します。
手動ファン逆転:左右のボタンを同時に押すとファンが逆転します。
ブザー:デッキを下降させるときや、故障発見時などに音が鳴ります。
Note: 各ボタンの機能はメニューの内容によって、変わります。各ボタンについて、その時の機能がアイコンで表示されます。
| SERVICE DUE(定期整備時期です) | 定期整備時期であることを示します |
![]() | 情報アイコン |
![]() | アワーメータ |
![]() | 高速 |
![]() | 低速 |
![]() | ファン逆転:ファンが逆転しているときに表示されます |
![]() | エアインテークヒーターが作動中 |
![]() | カッティングユニット上昇 |
![]() | カッティングユニット下降 |
![]() | オペレータが着席している必要があります |
![]() | 駐車ブレーキ作動表示:駐車ブレーキが掛かっていることを示します |
![]() | レンジが「高速」 |
![]() | ニュートラル |
![]() | レンジが「低速」 |
![]() | 冷却液温度:エンジンの冷却液の温度を表示します;表示単位は、 °C または °Fです。 |
![]() | 温度(高温) |
![]() | 禁止または不許可 |
![]() | PTOが入っています |
![]() | エンジン始動 |
![]() | 停止またはシャットダウン |
![]() | エンジン |
![]() | キースイッチ |
![]() | カッティングユニットが下降中であることを示します |
![]() | カッティングユニットが上昇中であることを示します |
![]() | PIN 暗証コード |
![]() | 油圧オイル温度:油圧オイルの温度を表示します。 |
![]() | CAN バス |
![]() | インフォセンター |
![]() | 不良または故障 |
![]() | 電球 |
![]() | TEC コントローラまたはコントロールワイヤハーネスからの出力 |
![]() | 高:許容範囲を超えています |
![]() | 高:許容範囲に達していません |
/![]() | 所定範囲外 |
![]() | スイッチ |
![]() | スイッチを解除する必要があります |
![]() | 表示されているモードに切り換えてください |
| 表示記号を組み合わせた文章が表示されます。以下に文章の例を示します. | |
![]() | マシンをニュートラルにセットしてください。 |
![]() | エンジンの始動許可がおりません。 |
![]() | エンジンをシャットダウンします |
![]() | 冷却液が過熱しています |
![]() | 油圧オイルが過熱しています |
![]() | 着席するか駐車ブレーキをかけてください |
インフォセンターのメニューにアクセスするには、メニュー画面が表示されているときにメニューアクセスボタンを押します。ボタンを押すとメインメニューが表示されます。各メニューにおいてどのような内容が表示されるかは、以下の表をご覧ください。
| メインメニュー | |
| メニュー項目 | 記述称 |
| Faults(不具合) | 不具合メニューには、最近に記録された不具合が表示されます。サービスマニュアルに Faults メニューとその内容の詳細が解説されています。または弊社ディストリビュータにお問い合わせください。 |
| Service(整備) | 整備メニューでは、使用時間積算記録などの情報を見ることができます。 |
| Diagnostics(診断機能) | 診断メニューでは、各スイッチ、センサー、制御出力の状態が表示されます。どのコントロール装置がONになっており、どれがOFFになっているかが表示されますから、故障探究を手早く行うことができます。 |
| Settings(設定) | 設定メニューではインフォセンターの表示や機械の設定を変更することができます。 |
| About(マシンについて) | このメニュー項目では、モデル番号、シリアル番号、ソフトウェアのバージョンなどを確認することができます。 |
| Service(整備) | |
| メニュー項目 | 記述称 |
| Hours(運転時間) | マシン、エンジン、リール、およびPTOが使用されていた時間およびマシンが移動走行していた時間と定期整備までの時間が記録されており、これらを確認することができます。 |
| Counts(回数) | マシンに発生した様々な事象の回数を表示します。 |
| Diagnostics(診断機能) | |
| メニュー項目 | 記述称 |
| Cutting Units(カッティングユニット) | カッティングユニットを上昇・下降させるための入力、許可、出力の状態を表示します。 |
| Hi/Low Range(速度レンジ) | 移動走行モードで運転を行うための入力、許可、出力の状態を表示します。 |
| PTO | PTO回路を作動させるための入力、許可、出力の状態を表示します。 |
| Engine Run(エンジン作動) | エンジンを始動させるための入力、許可、出力の状態を表示します。 |
| Backlap(バックラップ) | バックラップを行うための入力、許可、出力の状態を表示します。 |
| Settings(設定) | |
| メニュー項目 | 記述称 |
| Units(単位) | インフォセンターで表示される項目の単位を選択することができます。ヤードポンド系またはメートル系から選択します。 |
| Language(言語) | インフォセンターの表示に使う言語を選択することができます*。 |
| LCD Backlight(バックライト) | LCD 表示の明るさを調整します。 |
| LCD Contrast(コントラスト) | LCD 表示のコントラストを調整します。 |
| Front Backlap Reel Speed(前ユニットのバックラップ速度) | 前方ユニットのバックラップ時のリール速度を設定します。 |
| Rear Backlap Reel Speed(後ユニットのバックラップ速度) | 後方ユニットのバックラップ時のリール速度を設定します。 |
| Protected Menus(保護項目) | スーパーインテンデントや整備士のための情報で、パスワードを入力すると見ることができます。 |
| オートアイドル | マシンの運転操作をしていない状態から自動的にアイドリングに移行するまでの時間の長さを設定します。 |
| Blade Count(刃数) | リール速度を計算するために必要な刃数です |
| Mow Speed(刈込速度) | リール速度を決定するために必要な走行速度です。 |
| Height of cut (HOC:刈高) | リール速度を決定するために必要な刈高です。 |
| F Reel RPM(前リール速度) | 前リールの回転速度(計算値)を表示します。リール速度は手動で調整することもできます。 |
| R Reel RPM(後リール速度) | 後リールの回転速度(計算値)を表示します。リール速度は手動で調整することもできます。 |
* 「オペレータ向け」のメッセージのみが翻訳表示されます。故障、整備、診断の画面は「整備士向け」メッセージです。タイトルは選択された言語で表示されますが、本文は英語表示となります。
| About (マシンについて) | |
| メニュー項目 | 記述称 |
| Model(モデル) | マシンのモデル番号を表示します。 |
| SN(シリアル番号) | マシンのシリアル番号を表示します。 |
| Machine Controller Revision(コントローラ改訂番号) | マスターコントローラのソフトウェアの改訂番号を表示します。 |
| InfoCenter Revision(インフォセンターの改定番号) | インフォセンターのソフトウェアの改訂番号を表示します。 |
| CAN Bus(バス) | マシン内部の通信状態を表示します。 |
インフォセンターの「設定」メニューで変更可能な項目は5つあります:刃数、刈り込み速度、刈高、前リール速度、および後リール速度です。これらの設定は、「パスワード保護メニュー」で保護することができます。
Note: 納品時のパスワードは、代理店にて設定しています。
メインメニューから、下へスクロールしていくと設定メニュー(Settings)がありますから、ここで右ボタンを押します。
「設定メニュー」で、下へスクロールしていくと保護メニュー(Protected Menus)がありますから、ここで右ボタンを押します。
パスワードを入力するには、中央ボタンを押して最初の桁へ移動します。その後に右ボタンを押すと次の桁へ移動します。
中央ボタンを押して2番目の桁の入力を行い、その後に右ボタンを押すと次の桁へ移動します。
中央ボタンを押して3番目の桁の入力を行い、その後に右ボタンを押すと次の桁へ移動します。
中央ボタンを押して4番目の桁の入力を行い、その後に右ボタンを押します。
中央ボタンを押してコードを入力します。
コードが受け付けられて保護メニューが開くと、画面右上の部分に PIN という表示が現れます。
保護メニューの設定内容を閲覧・変更する権限を変更することができます。まず、保護(Protected)メニューにアクセスし、下へスクロールして設定を保護(Protect Settings)へ進みます。右ボタンを使って、設定を保護(Protect Settings)をOFFにすると、パスワードを入力しなくても、保護メニューの内容を閲覧・変更することができるようになります。「設定を保護」をONにすると、保護されている内容は表示されなくなり、これらを閲覧・変更するにはパスワードの入力が必要となります。パスワードを入力した場合は、キースイッチをOFF にし、もう一度キーを ON にすると、このパスワードが記憶されます。
Note: パスワードを忘れてしまった場合には、代理店にご連絡ください。
設定メニュー(Settings Menu)にて下へスクロールすると「オートアイドル(Auto Idle)」があります。
右ボタンを使って、オートアイドル時間を、OFF, 8S, 10S, 15S, 20S, および 30S から選択します。
設定メニュー(Settings Menu)下へスクロールすると「Blade Count」があります。
右側のボタンを使用して、刃数を 5、8 または 11 から選択してください。
設定メニュー(Settings Menu)下へスクロールすると「Mow Speed」があります。
右側のボタンを使用して、刈り込み速度を選択してください。
中央の右側のボタンを使って、走行ペダルの速度リミッタに、適当な刈り込み速度を設定してください。
設定が終了したら左ボタンを押すと、設定内容を保存して設定が終了します。
設定メニュー(Settings Menu)下へスクロールすると「HOC」があります。
右側のボタンを使用して、刈高を選択してください。
中央の右側のボタンを使って、適当な刈高を設定してください。
Note: ご希望の通りの刈高が表示されない場合には、表示されている数値の中から最も近いものを選んでください。
設定が終了したら左ボタンを押すと、設定内容を保存して設定が終了します。
前後のリールの速度は、刃数、刈り込み速度および刈高からインフォセンターが自動的に計算しますが、いろいろな刈り込み条件に対応するために速度設定を手動で変更することができるようになっています。
変更するには、 F Reel RPM、R Reel RPM またはその両方までスクロールしてください。
右側のボタンを使用して、リール速度を変更してください。設定の変更をしているとき、ディスプレイには、刃数、刈り込み速度および刈高に基づいて計算された以前と同じリール速度が表示されていますが、新しく入力した値も表示されます。
Note: 仕様および設計は予告なく変更される場合があります。
| 刈り込み幅(27" カッティングユニット) | 307 cm |
| 刈り込み幅(32" カッティングユニット) | 320 cm |
| 全幅(27" ユニット降下時) | 345 cm |
| 全幅(32" ユニット降下時) | 358 cm |
| 全幅(カッティングユニット上昇時) | 239 cm |
| 全長 | 370 cm |
| 高さ(ROPSを含む) | 220 cm |
| トレッド(前輪) | 229 cm |
| トレッド(後輪) | 141 cm |
| ホイールベース | 171 cm |
| 純重量(カッティングユニットと油脂類を含まない) | 1,574 kg |
トロが認定した各種のアタッチメントやアクセサリがそろっており、マシンの機能をさらに広げることができます。詳細は弊社の正規サービスディーラ、または代理店へお問い合わせください。www.Toro.comでもすべての認定アタッチメントとアクセサリをご覧になることができます。
Note: 前後左右は運転位置からみた方向です。
子供やトレーニングを受けていない大人には、絶対に運転や整備をさせないでください。地域によっては機械のオペレータに年齢制限を設けていることがありますのでご注意ください。オーナーは、オペレータ全員にトレーニングを受講させる責任があります。
安全な運転操作、各部の操作方法や安全標識などに十分慣れておきましょう。
エンジンの緊急停止方法に慣れておきましょう。
オペレータコントロールやインタロックスイッチなどの安全装置が正しく機能しているか、また安全カバーなどが外れたり壊れたりしていないか点検してください。これらが正しく機能しない時には機械を使用しないでください。
使用前に必ず、ブレード、ブレードボルト、刈り込みアセンブリの点検を行ってください。バランスを狂わせないようにするため、ブレードを交換するときにはボルトもセットで交換してください。
これから機械で作業する場所をよく確認し、機械に巻き込まれそうなものはすべて取り除きましょう。
燃料の取り扱いに際しては安全に特にご注意ください。燃料は引火性が高く、気化すると爆発する可能性があります。
燃料取り扱い前に、引火の原因になり得るタバコ、パイプなど、すべての火気を始末してください。
燃料の保管は必ず認可された容器で行ってください。
エンジン回転中などエンジンが高温の時には、絶対に燃料タンクのふたを開けたり給油したりしないでください。
締め切った場所では絶対に給油しないでください。
ガス湯沸かし器のパイロット火やストーブなど裸火や火花を発するものがある近くでは、絶対に機械や燃料容器を保管・格納しないでください。
燃料がこぼれたら、エンジンを始動せずにマシンを別の場所に動かし、気化した燃料ガスが十分に拡散するまで引火の原因となるものを近づけないでください。
安全についての章に記載されている注意事項をすべてよく読んでください。オペレータや周囲の人を事故から守る重要な情報が掲載されています。
ぬれた芝の上や急な斜面では、スリップなどによって機体を制御できなくなる危険が大きい。
車輪やローラが溝などに落ちて機体が転倒すると、最悪の場合、死亡事故などの重大な事故となる危険があります。
ROPS に関する説明や警告をよく読んで注意事項を守ること。
危険を避け、転倒事故を防止するために:
段差や溝、池や川の近くなどでは作業しない。
指定限度を超える斜面では本機を使用しない。
斜面では速度を落とし、より慎重な運転を心がける。
急旋回したり不意に速度を変えたりしない。
聴覚を保護せずにこの機械を長時間使用しつづけると聴覚障害を起こす可能性がある。
運転に際しては聴覚保護具を使用すること。

| 整備間隔 | 整備手順 |
|---|---|
| 使用するごとまたは毎日 |
|
エンジンにはオイルを入れて出荷していますが、初回運転の前後に必ずエンジンオイルの量を確認してください。
油量は約 9.5 リットル(フィルタ共)です。
以下の条件を満たす高品質なエンジンオイルを使用してください:
API規格 CH-4、CI-4 またはそれ以上のクラス
推奨オイル: SAE 15W-40(18°C 以上)
他に使用可能なオイル:SAE 10W-30 または 5W-30(全温度帯)
Note: Toro のプレミアムエンジンオイル(10W-30 または 5W-30)を代理店にてお求めいただくことができます。パーツカタログでパーツ番号をご確認ください。
Note: エンジンオイルを点検する最もよいタイミングは、その日の仕事を始める直前、エンジンがまだ冷えているうちです。既にエンジンを始動してしまった場合には、一旦エンジンを停止し、オイルが戻ってくるまで約 10 分間程度待ってください。油量がディップスティックのADDマークにある場合は、FULLマークまで補給してください。入れすぎないように注意すること。FULL 位置と ADD 位置の間であればオイルの補給は不要です。
| 整備間隔 | 整備手順 |
|---|---|
| 使用するごとまたは毎日 |
|
毎日作業前に、冷却液の量を点検してください。容量はおよそ 12.3 リットルです。
ラジエターキャップを注意深く外す。
エンジン停止直後にラジエターのキャップを開けると、高温高圧の冷却液が吹き出してやけどを負う恐れがある。
エンジン回転中はラジエターのふたを開けないこと。
キャップを開けるときはウェスなどを使い、高温の水蒸気を逃がしながらゆっくりと開けること。

ラジエター内部の液量を点検する。
Note: ラジエターは補給口の首の部分まで、補助タンクはFULLマークまであれば適正です(図 37)。
冷却液が不足している場合は、水とエチレングリコール不凍液の 50/50 混合液を補給します。
Note: 水だけの使用や、アルコール系、メタノール系の冷却液の使用は避けてください。
各タンクのキャップを閉める。
燃料タンク容量:83 リットル
ASTM D975 または EN590 規格を満たす、硫黄分の少ない(極微量:15ppm 未満)の新しい軽油またはバイオディーゼル燃料以外は使用しないでください。セタン値が 40以上のものをお使いください。燃料の劣化を避けるため、180日以内に使いきれる程度の量を購入するようにしてください。
Important: 規格を満たしていない軽油を使用すると、排気系統にトラブルが発生します。
気温が -7℃ 以上では夏用燃料(2号軽油)を使用しますが、気温が -7℃ 以下の季節には冬用燃料(1号軽油または1号と2号の混合)を使用してください。低温下で冬用ディーゼル燃料を使うと、発火点や流動点が下がってエンジンが始動しやすくなるばかりでなく、フィルタの目詰まりを防止できるなどの利点があります。
気温が -7°C 以上の季節には夏用燃料を使用する方が、燃料ポンプの寿命を延ばします。
Important: ディーゼル燃料の代わりに灯油やガソリンを使わないでください。この注意を守らないとエンジンが破損します。
この機械はバイオディーゼル燃料を混合したB20燃料(バイオディーゼル燃料が20%、通常軽油が80%)を使用することができます。ただし、混合されている軽油のイオウ含有量は低レベルまたは極低レベルである必要があります。以下の注意を守ってお使いください。
バイオディーゼル成分が ASTM D6751 または EN 14214 に適合しているものを使用してください。
混合後の成分構成が ASTM D975 または EN 590 に適合していることをご確認ください。
バイオディーゼル混合燃料は塗装部を傷める可能性がある。
寒い地方ではB5(バイオディーゼル燃料が5%)またはそれ以下の製品を使用すること。
燃料と直接接触する部材、すなわちシール、ホース、ガスケットなどの経時劣化が早まる可能性がありますから、適切に点検してください。
バイオディーゼル混合燃料に切り替えてからしばらくの間は燃料フィルタが目詰まりを起こす可能性があります。
バイオディーゼル燃料についてのより詳細な情報は代理店におたずねください。
燃料を飲み込むと非常に危険で生命に関わる。また気化した燃料に長期間ふれると身体に重篤な症状や疾病を引き起こす。
燃料蒸気を長時間吸わないようにする。
ノズルやタンク、コンディショナー注入口には顔を近づけないこと。
燃料蒸気が目や肌に触れないようにする
燃料は非常に引火・爆発しやすい物質である。発火したり爆発したりすると、やけどや火災などを引き起こす。
燃料補給は必ず屋外で、エンジンが冷えた状態で行う。こぼれた燃料はふき取る。
箱型トレーラに本機を搭載した状態では、絶対に本機への燃料補給をしてはならない。
燃料取り扱い中は禁煙を厳守し、火花や炎を絶対に近づけない。
燃料は安全で汚れのない認可された容器に入れ、子供の手の届かない場所で保管する。180 日分以上の買い置きは避ける。
運転時には必ず適切な排気システムを取り付け正常な状態で使用すること。
燃料を補給中、静電気による火花がガソリンに引火する危険がある。発火したり爆発したりすると、やけどや火災などを引き起こす。
燃料容器は車から十分に離し、地面に直接置いて給油する。
車に乗せたままの容器にガソリンを補給しない。車両のカーペットやプラスチック製の床材などが絶縁体となって静電気の逃げ場がなくなるので危険である。
可能であれば、機械を地面に降ろし、車輪を地面に接触させた状態で給油を行う。
機械を車に搭載したままで給油を行わなければいけない場合には大型タンクのノズルからでなく、小型の容器から給油する。
大型タンクのノズルから直接給油しなければならない場合には、ノズルを燃料タンクの口に常時接触させた状態で給油を行う。
平らな場所に駐車する。
燃料タンクの補給口付近をよごれのないウェスできれいにぬぐう。
燃料タンクのキャップ(図 38)を取る。

補給管の下まで燃料を入れる。
燃料補給後は、燃料タンクのキャップを取りつけて十分に締め付ける。
Note: 可能であれば、作業後に毎回燃料を補給しておくようにしてください。これにより燃料タンク内の結露を少なくすることができます。
| 整備間隔 | 整備手順 |
|---|---|
| 使用するごとまたは毎日 |
|
油圧オイルタンクに約 28.4 リットルの高品質油圧オイルを満たして出荷しています。初めての運転の前に必ず油量を確認し、その後は毎日点検してください。
交換用の推奨油圧オイルは オールシーズン用 Toro プレミアム油圧オイルです(19 リットル缶または 208 リットル缶。パーツカタログまたは代理店でパーツ番号をご確認ください。)
他に使用可能なオイル:トロのオイルが入手できない場合は、以下に挙げる特性、条件および産業規格をすべて満たす通常の石油系オイルを使用することができます。オイルの性能や規格がマシンに適合しているかどうかについては専門業者にご相談ください。
Note: 不適切なオイルの使用による損害については弊社は責任を持ちかねますので、品質の確かな製品をお使い下さる様お願いいたします。
| 高粘度インデックス/低流動点アンチウェア油圧作動液, ISO VG 46マルチグレード | |||
| 物性: | |||
| 粘度, ASTM D445 | cSt @ 40°C 44-48cSt @ 100°C 7.9-9.1 | ||
| 粘性インデックス: ASTM D2270 | 140 またはそれ以上(粘性インデックスが高いものはマルチウェイトオイルです) | ||
| 流動点 ASTM D97 | -37°C--45°C | ||
| FZG, フェールステージ | 11 以上 | ||
| 水分含有量(新しい液) | 500 ppm (最大) | ||
| 産業規格: | |||
| Vickers I-286-S, Vickers M-2950-S, Denison HF-0, Vickers 35 VQ 25 (Eaton ATS373-C) | |||
車両用に製造されている適切な油圧オイル(産業プラント用の油圧オイルではありません)。マルチウェイトタイプの ZnDTP または ZDDP アンチウェア(磨耗防止剤)入りの製品(アッシュレスではありません)を使用してください。
Important: ISO VG 46 マルチグレードオイルは、広い温度範囲で優れた性能を発揮します。通常の外気温が高い(18℃-49℃) 熱帯地方では、ISO VG 68 オイルのほうが適切と思われます。
プレミアム生分解油圧オイル — Mobil EAL EnviroSyn 46H
Important: Mobil EAL EnviroSyn 46H は、トロ社がこの製品への使用を認めた唯一の合成生分解オイルです。このオイルは、トロ社の油圧装置で使用しているエラストマーに悪影響を与えず、また広範囲な温度帯での使用が可能です。この生分解オイルは、通常の鉱物系油圧オイルと互換性がありますが、通常のオイルから切り替える際には、生分解性能を最大限に発揮させるために、油圧系統内部を洗浄することを強くお奨めします。この生分解オイルは、モービル代理店にて 19 リットル缶または208リットル缶でお求めになれます。
Important: 多くの油圧オイルはほとんど無色透明であり、そのためオイル洩れの発見が遅れがちです。油圧オイル用の着色剤(20 ml 瓶)をお使いいただくと便利です。1瓶で 15-22 リットルのオイルに使用できます。パーツ番号は P/N 44-2500。ご注文はトロ社の代理店へ。
平らな場所に駐車し、カッティングユニットを下降させ、エンジンを停止させてキーを抜き取る。
油圧オイルタンクの注油口周辺をきれいに拭き、キ ャップ(図 39)を外す。

給油口からキャップを取る。
補給口の首からディップスティックを抜き、ウ ェスできれいに拭う。
もう一度首に差し込んで引き抜き、オイルの量を点検する。
Note: 2本のマークの間にあれば適正である。
油量が少なければ上マークまで補給する。
ディップスティックとキャップを取り付ける。
| 整備間隔 | 整備手順 |
|---|---|
| 使用するごとまたは毎日 |
|
タイヤは空気圧を高く設定して出荷しています。運転前に正しいレベルに下げてください。タイヤの適正空気圧は、0.83-1.03 bar (12-15 psi)です。使用開始前に毎日点検してください。
Important: マシンの性能を適切に発揮させ、また質の高い刈り込みを実現するために、すべてのタイヤの空気圧を推奨値に維持してください。タイヤ空気圧は規定値以下に下げてはならない。
オーナーやオペレータは自分自身や他の安全に責任があり、オペレータやユーザーの注意によって物損事故や人身事故を防止することができます。
作業にふさわしい服装をする;目の保護具、すべりにくく安全な靴、聴覚保護具を着用してください。長い髪は束ねてください。装飾品は身に着けないでください。
疲れている時、病気の時、アルコールや薬物を摂取した時は運転しないでください。
絶対に人を乗せないでください。また、作業中は周囲から人やペットを十分に遠ざけてください。
運転は、穴や障害物を確認できる十分な照明のもとで行ってください。
ぬれた芝の刈り込みは避けてください。接地力が落ちてスリップする危険が高くなります。
エンジンを掛ける前に、全部の駆動装置がニュートラルであること、駐車ブレーキが掛かっていることを確認し、運転席に着席してください。
カッティングユニットに手足を近づけないでください。また排出口の近くにも絶対に人を近づけないでください。
バックするときには、足元と後方の安全に十分な注意を払ってください。
見通しの悪い曲がり角や、茂み、立ち木などの障害物の近くでは安全に十分注意してください。
段差や溝、大きく盛り上がった場所の近くなどでは作業しないでください。万一車輪が段差や溝に落ちたり、地面が崩れたりすると、機体が瞬時に転倒し、非常に危険です。
刈り込み中以外は必ずカッティングユニットを止めておいてください。
異物をはね飛ばしたときや機体に異常な振動を感じたときには運転を停止してカッティングユニットをよく点検してください。異常を発見したら、作業を再開する前にすべて修理してください。
旋回するときや道路や歩道を横切るときなどは、減速し周囲に十分な注意を払ってください。常に道を譲る心掛けを。
刈高を変更する時は、必ずカッティングユニットを停止させ、エンジンを止めてください(運転席で刈高を変更できる場合はこの限りでありません)。
排気ガスが充満するような締め切った場所では絶対にエンジンを運転しないでください。
エンジンを掛けたままで絶対に機体から離れないでください。
運転位置を離れる前に(集草バッグを空にする場合や詰まりを除去する場合も):
平らな場所に停車してください。
PTOの接続を解除し、アタッチメントを下降させる。
駐車ブレーキを掛ける。
エンジンを止め、キーを抜き取る。
すべての動作が停止するのを待つ。
落雷の危険がある時には運転しないでください。
この機械を牽引用車両として使用しないでください。
Toro® カンパニーが認めた以外のアクセサリ、アタッチメント、交換パーツを使用しないでください。
POPSは機体から外さないでください。
必ずシートベルトを着用し、緊急時にはシートベルトを迅速に外せるよう練習しておいてください。
頭上の障害物に注意し、これらに衝突しないように注意してください。
ROPS自体に損傷がないか、また、取り付け金具がゆるんでいないか、定期的に十分に点検を行い、万一の際に確実に役立つようにしておいてください。
ROPSが破損した場合は新しいものに交換してください。修理したり改造しての使用はしないでください。
ROPSは立てた状態にセットし、必ずシートベルトと共にお使いください。
ROPS(横転保護バー)はマシンと一体で使用する重要な安全装置です。運転するときには必ずROPS(横転保護バー)を運転位置に立て、シートベルトを着用してください。
どうしても必要なわずかの時間以外には ROPS を降ろさないでください。。ROPS を下げた状態で乗車する時にはシートベルトをしないでください。
ROPS を折りたたんでしまうと、転倒時に安全保護ができなくなることを十分認識してください。
作業場所を必ず事前に確認してください。法面、段差、水などがある現場では、必ず ROPS を立てて運転してください。
斜面での運転についてルールや手順を決めておきましょう。その際、各刈り込み現場の実地調査を行い、それぞれの斜面の角度が機械の乗り入れに安全な範囲にあるかどうかを調べてください。この調査においては、常識を十分に働かせてください。
斜面はスリップや転倒などを起こしやすく、これらは重大な人身事故につながります。どんな斜面であっても、通常以上に十分な注意が必要です。
斜面では、運転速度を落としてください。
斜面での作業に自信が持てない時は、作業を行わないでください。
隠れた穴、わだち、盛り上がり、石などの見えない障害に警戒を怠らないでください。不整地では機体が転倒する可能性があります。深い芝生に隠れて障害物が見えないことがあります。
斜面で停止や速度変更をしなくて済むように、十分に低速で走行してください。
タイヤが走行力を維持していても転倒する場合があります。
ぬれた芝の上での運転は避けてください。ブレーキの機能に関係なく、タイヤが走行力を失う可能性があります。
斜面での発進・停止・旋回は避けてください。
斜面では動作も運転操作もゆっくりと行うことが原則です。走行速度や走行方向を突然変えないでください。
段差、溝、盛り土、水などの近くに乗り入れないでください。万一車輪が段差や溝に落ちたり、地面が崩れたりすると、機体が瞬時に転倒し、非常に危険です。必ず安全距離(車幅の2倍)を確保してください。
Important: 以下の場合には、燃料システムのエア抜きを実施する必要があります:
燃料切れでエンジンが停止した時
燃料系統の整備作業を行った時
走行ペダルから足を外し、ペダルがニュートラル位置にあることを確認する。
Note: 駐車ブレーキが掛かっていることを確認する。
エンジン速度スイッチをローアイドル位置にセットする。
キーを RUN 位置に回す。
Note: グローランプの点灯を確認する。
グローランプが消えたら、キーをSTART位置に回す。
エンジンが始動したらすぐにキーから手を放す。キーは RUN 位置に戻る。
エンジン速度の調整を行う。
Important: スタータモータのオーバーヒートを防止するため、スタータは15秒間以上連続で回転させないでください。15秒以内にエンジンを始動できなかった場合には、キーを一度 OFF 位置に戻し、各設定および始動手順が正しいことを確認の上、15秒間の間隔をあけてもう一度始動を試みてください。
気温が -7°C 未満のときは、スタータモータを 30 秒間連続で作動させられます。その後は 60 秒間休止してください。2回まで可能です。
可動部に触れると非常に危険である。
機体の点検を行う前に、機械の可動部がすべて完全に停止していることを必ず確認すること。
Important: 高負荷で運転した後は、エンジンを停止させる前に5 分間程度のアイドリング時間をとってください。こうすることにより、エンジン停止前にターボチャージャの温度を下げることができます。これを怠るとターボチャージャにトラブルが発生する可能性があります。
Note: 駐車した時は、必ず刈り込みデッキを地表面まで降ろしてください。これにより、油圧系統の負荷がなくなり、各部やパーツの磨耗が少なくなるだけでなく、カッティングユニットが不意に落下するなどの事故を防ぐことができます。
エンジンをローアイドル速度に戻す。
PTO スイッチをOFF 位置にする。
駐車ブレーキを掛ける。
キーを OFF 位置に回す。
事故防止のため、キーは抜き取っておく。
凹凸の激しいターフで一定の刈高にカット、サッチが厚くたまっているターフで削らないように刈るなど、様々なターフ条件に合わせて、後カッティングユニットの昇降アームについているカウンタバランスを調整することができます。
各カウンタバランスを、4種類の設定のうちの1つに設定してください。位置を1つずらすごとに、カッティングユニットに掛かる圧力が 2.3kg 増加または減少します。カウンタバランスをゼロにしたい場合には、スプリングをスプリングアクチュエータの裏側(第4番目の位置)にセットしてください。
平らな場所に駐車し、カッティングユニットを下降させ、エンジンを停止させ、駐車ブレーキを掛けてキーを抜き取る。
調整作業の最中に、スプリングのテンションが掛からないようにするため、スプリングの長い方の端にパイプなどを通してスプリングの力を殺しておく(図 40)。
スプリングには強い張力がかかっており、不用意に取り扱うとけがをする。
スプリングを調整する時には十分注意すること。
スプリングのテンションをなくしたら、スプリングアクチュエータを固定しているボルトとロックナットを外す(図 40)。

スプリングアクチュエータを希望する穴に取り付け、ロックナットで固定する。
残りのスプリングにも同じ調整を行う。
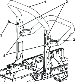
天井の低い場所を通過することができるように、ROPSは折りたたみ式になっています。
折りたたまれた状態のROPSは車両が横転した際に保護機能を果たしません。立てていないROPSはROPSではありません。
ROPS を下げて運転する時にはシートベルトをしないでください。
平らな場所に駐車し、エンジンを停止させ、駐車ブレーキを掛けてキーを抜き取る。
上部フレームを支えておいて、ピボットブラケットからスナップピンとクレビスを外す(図 42)。
ROPSを注意深く倒してストップで支える。
クレビスピンを下側の穴に差し込み、スナップピンで固定して上部フレームを倒した状態に固定する。
ROPSを立てるときは、上記の手順を逆の順に行ってください。

ROPS のリテーナボルトアセンブリがゆるんでいると、ROPS が機能を果たさない危険があり、万一そのような事態になると死亡事故を含む重大な人身事故に発展する恐れがある。
ROPSを立てた状態では、左右両方のリテーナボルトアセンブリを正しく差し込んで十分に締め付け、ROPSを確実に支えること。
ROPSの折りたたみや立ち上げ作業に当たっては、固定部と可動部との間に指などを挟まれる可能性がある。
固定部と可動部との間に指などを挟まれないよう、ROPSの折りたたみや立ち上げ作業は十分注意して行うこと。
常に機械全体の安全を心掛け、また、ボルト、ナット、ネジ類が適切に締まっているかを確認してください。
磨耗したり破損したりしている部品は安全のために交換してください。
シートベルトとその取り付け部が適切に機能していることを確認してください。
ROPSを立てて乗車している時はシートベルトを着用し、ROPSを下げて乗車している時はシートベルトをしないでください。
Important: ROPS(横転保護バー)は車両と一体で使用する安全装置です。機械を運転するときは、常に立てた位置にロックしておいてください。どうしても必要な場合以外にはROPSを降ろさないでください。
| 整備間隔 | 整備手順 |
|---|---|
| 使用するごとまたは毎日 |
|
インタロックスイッチは安全装置であり、これを取り外すと予期せぬ人身事故が起こり得る。
インタロックスイッチをいたずらしない。
作業前にインタロックスイッチの動作を点検し、不具合があれば作業前に交換修理する。
本機には、電気系統にインタロックスイッチが組み込まれています。インタロックスイッチは、オペレータが座席にいないのに走行ペダルが踏まれた場合にエンジンを停止させます。走行ペダルがニュートラル位置にある時にはオペレータが座席を離れてもエンジンは停止しません。PTOレバーと走行ペダルを解除しておけばエンジンは回転を続けますが、運転席を離れる場合にはいつでもエンジンを停止させる習慣をつけてください。
インタロックスイッチの点検手順を以下に示します:
ゆっくりとした速度で、比較的広い、障害物のない場所に移動する。
カッティングユニットを下降させ、エンジンを停止させて、駐車ブレーキを掛ける。
着席し、走行ペダルを踏み込む。
エンジンを始動させてみる。
Note: クランキングしなければ正常。ク ランキングする場合はインタロックスイッチが故障しているので、運転前に修理する。
着席し、エンジンを始動させる。
運転席から立ち上がって、PTOスイッチをONにする。
Note: PTOが回転を開始しなければ正常。回転する場合はインタロックスイッチが故障しているので、運転前に修理する。
着席し、駐車ブレーキを掛け、エンジンを始動させる。
走行ペダルをニュートラル位置から前進または後退に踏み込む。
Note: エンジンが停止すれば正常です。停止しない場合はインタロックスイッチが故障しているので、運転前に修理する。
火災防止のため、カッティングユニット、マフラー、エンジンの周囲に、草や木の葉、ホコリなどが溜まらないようご注意ください。オイルや燃料がこぼれた場合はふき取ってください。
カッティングユニットを上昇位置にして機械から離れる場合、ロック装置がある場合には、必ずユニットをロックしてください。
閉めきった場所に本機を保管する場合は、エンジンが十分冷えていることを確認してください。
格納保管中やトレーラで輸送中は、燃料バルブを閉じておいてください。
ガス湯沸かし器のパイロット火やストーブなど裸火や火花を発するものがある近くでは、絶対に機械や燃料容器を保管・格納しないでください。
各部品が良好な状態にあること、ボルトナット類、特にブレード取り付け用のボルト類に問題がないか常に点検してください。
読めなくなったステッカーは貼り替えてください。
緊急時には、可変吐出油圧ポンプについているバイパスバルブを開き、油圧ホースをつないでチェックバルブをバイパスすると、本機を牽引または押して移動することができます。
Important: トランスミッションを保護するために、牽引または押して移動する時の速度は、3-4.8 km/h 未満とし、移動距離は 400m 未満としてください。本機を押して或いは引いて移動させる場合には、必ずバイパスバルブを開く必要があります。さらに、本機を押して(引いて)移動させる場合には、必ず油圧ホースを使ってチェックバルブをバイパスする必要があります。
本機を押して(引いて)移動させる場合、前進・後進の両方向に移動させる必要が出てくる場合が多いと考えられます。押しても引いても機器に損傷を与えることのないよう、前進・後進の両方向に移動できるように準備しておくこをとお奨めします。
Important: 機械を後ろに押して移動させる場合には、最初に4輪駆動マニホルドのチェックバルブをバイパスさせる必要があります。
この作業のためには以下のパーツが必要となります:
Toro パーツ番号(59-7410);診断用フィッティング
Toro パーツ番号(354-79);診断用フィッティングキャップ
Toro パーツ番号(95-8843);油圧ホース
Toro パーツ番号(95-0985);カップラ用フィッティング(2個)
Toro パーツ番号(340-77);油圧フィッティング(2個)
後部走行マニホルドのポート M8 と P2 との間にあるマークなしのポートに故障診断用フィッティングを取り付ける(図 43)。

後部走行マニホルドに取り付けた故障診断用フィッティングと後退走行油圧テストポートとを油圧ホースでつなぐ(図 44)。
Note: 必要に応じて油圧フィッティングとカップラ用フィッティングを使用してホースを取り付けてください。

バイパスバルブを右または左に90°回転(4分の1回転) させるとバルブが開いて内部でバイパスが形成される(図 45)。
Note: オイルがバイパスされ、トランスミッションを破損することなく機械を押して移動できるようになります。バルブを開けた状態と閉じた状態を覚えておいてください。

マシンの手押し(牽引)移動が終了したら、油圧ホースを取り外す。
後退走行油圧テストポートに、元通りにキャップを取り付ける。
マニホルドに取り付けた故障診断用フィッティングにキャップを取り付ける。
エンジンを掛ける時にはバルブを元通りに90度(¼回転)閉める。
Note: バルブの締め付けトルクが 7-11 N·m(0.7-1.1 kg.m = 5-8 ft-lb)を超えないようにすること。
機械を前進方向のみに移動させる場合には、バイパスバルブを開くだけで移動できるようになります。
Important: 機械を前進・後退の両方向みに移動させる場合には、後退方向に押して(引いて)移動させるための準備を参照してください。
フードを開けて中央のシュラウドを外す。
バイパスバルブを右または左に90°回転(¼分の1回転) させるとバルブが開いて内部でバイパスが形成される(図 45)。
Note: オイルがバイパスされ、トランスミッションを破損することなく機械を前進方向に押して移動できるようになります。バルブを開けた状態と閉じた状態を覚えておいてください。
エンジンを掛ける時にはバルブを元通りに90度(¼回転)閉める。
Note: バルブの締め付けトルクが 7-11 N·m(0.7-1.1 kg.m = 5-8 ft-lb)を超えないようにすること。
機械をトレーラやトラックに積み込む際には、機体と同じ幅のある歩み板を使用してください。
車体が落下しないように確実に固定してください。
ジャッキアップ箇所は以下の通りです:
機体前部:左右の駆動輪の内側のフレーム
機体後部:アクスルの中央
ロープ掛けポイントは以下の通りです:
機体前部:左右の前ステップ
機体後部:後バンパー
このマシンは油圧トランスミッションを搭載しており、他の多くのターフ管理機器とは異なった運転特性を持っていますので、実際に使用されるまえに十分に運転の練習をしてください。運転(トラクションユニットとカッティングユニットの操作)に当たって理解しておくべきことは、トランスミッション、エンジン速度、カッティングユニットのブレードにかかる負荷、そしてブレーキの重要性です。
運転中は、エンジンが連続してほぼ一定のフル回転を維持できるように、走行ペダルの踏み込み具合を調整してください。このコツは、走行ペダルの踏み込みに注意することです。カッティングユニットへの負荷が大きくなったら走行に掛かる負荷を下げてやることが大切です。
負荷が大きくなりすぎた場合にはエンジンの回転速度が下がってきますから、これに気がついたら走行ペダルの踏み込みを少し浅くして(後退側に軽く踏み込んで)やると回転が回復してきます。これとは逆に、現場から現場へ移動するような場合(カッティングユニットを上昇させていてカッティングユニットへの負荷がまったくない場合)には、スロットルを高速にして、走行ペダルをゆっくり「いっぱいに」踏み込むことにより走行「速度」は最高となります。
もう一つのポイントはブレーキペダルの使い方です。マシンを旋回させる時にブレーキをうまく利用してください。ただし、芝生の上でのブレーキの使用には注意が必要です。ターフが柔らかいとターフが引きちぎられる恐れがあります。ブレーキは斜面での運転にも応用できます。例えば、斜面を横断中に山側の車輪がスリップして地面に走行力を伝えられなくなる場合があります。このような場合には、山側のブレーキをゆっくり、スリップが止まる所まで踏み込んでやると、谷側の走行力が増加し、安定した走行ができるようになります。
斜面の通行には最大の注意を払ってください。運転席の固定ラッチが確実に掛かっていること、ROPS が立ててロックした状態であるのを確認し、必ずシートベルトを着用してください。また、転倒事故を防止するために、速度の出しすぎや急旋回に十分注意してください。
Important: 高負荷で運転した後は、エンジンを停止させる前に5 分間程度のアイドリング時間をとってください。こうすることにより、エンジン停止前にターボチャージャの温度を下げることができます。これを怠るとターボチャージャにトラブルが発生する可能性があります。
エンジンを停止させる前にすべてのコントロールを解除し、スロットルを低速に戻してください。スロットルを低速に移動することにより、エンジンの回転速度が下がり、音も振動も静かになります。その後にキーをOFFにしてエンジンを停止させてください。
実際に芝刈りを始める前に、安全な場所で運転操作に十分慣れておいてください。エンジンの始動と停止、前進走行と後退走行、カッティングユニットの回転、停止、昇降動作などを十分に練習してください。操作に慣れてきたら、斜面の上り下りや速度を変えての運転も練習しましょう。
作業中に警告灯が点灯したら、直ちに機械を停止し原因を確認してください。異常を放置したまま作業を続けると本機に重大な損傷を招く可能性があります。
エンジンを始動し、エンジン速度スイッチを 高速 位置にセットする。刈り込み速度リミッタを刈り込み位置にセットする。PTO スイッチを ON 位置にセットし、昇降スイッチでカッティングユニットを下降させます(前方のカッティングユニットは、後方のカッティングユニットよりも早く降りてきます)。走行ペダルを前進側に踏み込めば刈り込みが始まります。
PTO スイッチを OFF にし、カッティングユニットを移動走行位置まで上昇させます。刈り込み速度リミッタを「移動走行」位置にセットします。狭い場所を通り抜ける時、カッティングユニットをぶつけて損傷しないよう十分注意してください。斜面の通行には最大の注意を払ってください。また、転倒事故を防止するために、速度の出しすぎや急旋回に十分注意してください。
Note: 前後左右は運転位置からみた方向です。
| 整備間隔 | 整備手順 |
|---|---|
| 使用開始後最初の 8 時間 |
|
| 使用開始後最初の 200 時間 |
|
| 使用するごとまたは毎日 |
|
| 50運転時間ごと |
|
| 100運転時間ごと |
|
| 200運転時間ごと |
|
| 250運転時間ごと |
|
| 400運転時間ごと |
|
| 800運転時間ごと |
|
| 長期保管前 |
|
このページをコピーして使ってください。
| 点検項目 | 第週 | ||||||
|---|---|---|---|---|---|---|---|
| 月 | 火 | 水 | 木 | 金 | 土 | 日 | |
| インタロックの動作を点検する。 | |||||||
| ブレーキの動作を確認する。 | |||||||
| エンジンオイルと燃料の量を点検する。 | |||||||
| 冷却水の量を点検する。 | |||||||
| 燃料・水セパレータの水抜きを行う。 | |||||||
| エアフィルタの整備時期表示を確認する。 | |||||||
| ラジエター、オイルクーラ、スクリーンの汚れ具合を点検する。 | |||||||
| エンジンからの異常音がないか点検する。1 | |||||||
| 運転操作時の異常音 | |||||||
| 油圧オイルの量を点検する。 | |||||||
| 油圧ホースの磨耗損傷を点検する。 | |||||||
| オイル漏れなど。 | |||||||
| タイヤ空気圧を点検する | |||||||
| 計器類の動作 | |||||||
| リールとベッドナイフの摺り合わせ | |||||||
| 刈高の調整の点検。 | |||||||
| グリスアップ。2 | |||||||
| 塗装傷のタッチアップ | |||||||
1. 始動困難、大量の煙、咳き込むような走りなどが見られる場合はグロープラグと噴射ノズルを点検する。
2. 車体を水洗いしたときは整備間隔に関係なく直ちにグリスアップする。
| 点検担当者名: | ||
| 内容 | 日付 | 記事 |
| 1 | ||
| 2 | ||
| 3 | ||
| 4 | ||
| 5 | ||
| 6 | ||
| 7 | ||
| 8 | ||
Important: エンジンの整備についての詳細はエンジンマニュアルを、カッティングユニットの整備にはカッティングユニットマニュアルを参照してください。
Note: 配線図や油圧回路図はオンラインで入手可能ですwww.Toro.com。

始動キーをつけたままにしておくと、誰でもいつでもエンジンを始動させることができ、危険である。
整備・調整作業の前には必ずエンジンを停止し、キーを抜いておくこと。
調整、清掃、修理、車両を離れる前に以下を行ってください:
平らな場所に駐車する。
スロットルスイッチを低速アイドル位置にセットする。
カッティングユニットを停止させる。
カッティングユニットを下降させる。
走行ペダルがニュートラルになっていることを確認する。
駐車ブレーキを掛ける。
エンジンを止め、キーを抜き取る。
すべての動作が停止するのを待つ。
保守作業は、各部が十分冷えてから行う。
カッティングユニットを上昇位置にして機械から離れる場合、ロック装置がある場合には、必ずユニットをロックしてください。
可能な限り、エンジンを回転させながらの整備はしないでください。可動部に近づかないでください。
必要に応じ、ジャッキスタンドなどで機体を確実に支えてください。
機器類を取り外すとき、スプリングなどの力が掛かっている場合があります。取り外しには十分注意してください。
ラッチ(図 47)を外し、フードを開ける。

後フードブラケットをフレームピンに固定しているコッターピンを抜き取り、フードを持ち上げて取り外す。
| 整備間隔 | 整備手順 |
|---|---|
| 50運転時間ごと |
|
定期的に、全部の潤滑個所にNo.2汎用リチウム系グリスを注入します。通常の使用では 50 運転時間ごとに行いますが、機体を水洗いしたあとは整備間隔に関係なく直ちにグリスアップしてください。
グリスアップ箇所は以下の通りです:
ブレーキシャフトのピボットベアリング(5ヶ所)(図 48)

後アクスルピボットのブッシュ(2ヶ所)(図 49)

ステアリングシリンダのボールジョイント (2ヶ所)(図 50)

タイロッドのボールジョイント (2ヶ所)(図 50)
キングピンのブッシュ(2ヶ所)(図 50)。但しキングピン上部は1 年に1 回のみ(ポンプ2 回押 し)のみとする。
昇降アームのブッシュ(カッティングユニット 1 台に 1 ケ所)(図 51)

昇降シリンダのブッシュ(カッティングユニット 1 台に 2 ケ所)(図 51)
昇降アームのピボットブッシュ(カッティングユニット 1 台に 1 ケ所)(図 52)
カッティングユニットのキャリアフレーム(カッティングユニット 1 台に 2 ケ所)(図 52)
昇降アームのピボット(カッティングユニット 1 台に 1 ケ所)(図 52)

エンジンオイルの点検や補充は、エンジンを止めて行ってください。
エンジンのガバナの設定を変えたり、エンジンの回転数を上げすぎたりしないでください。
| 整備間隔 | 整備手順 |
|---|---|
| 400運転時間ごと |
|
エアクリーナ本体にリーク原因となる傷がないか点検してください。破損していれば交換してください。吸気部全体について、リーク、破損、ホースのゆるみなどを点検してください。
エアクリーナのフィルタの整備は、インジケータ(図 53)が赤色になってから行ってください。早めに整備を行っても意味がありません。むしろフィルタを外したときにエンジン内部に異物を入れてしまう危険が大きくなります。

Important: 本体とカバーが正しく、しっかりと密着しているのを確認してください。
平らな場所に駐車し、カッティングユニットを降下させ、駐車ブレーキを掛け、エンジンを停止させてキーを抜き取る。
ラッチを引いて外し、カバーを左にひねってボディーからはずす(図 54)。

ボディーからカバーを外す。
フィルタを外す前に、低圧のエア(2.75 bar = 2.8 kg)、異物を含まない乾燥した空気)で、1次フィルタとボディーとの間に溜まっている大きなゴミを取り除く。高圧のエアは使用しないこと。異物がフィルタを通ってエンジン部へ吹き込まれる恐れがある。
このエア洗浄により、1次フィルタを外した時にホコリが舞い上がってエンジン部へ入り込むのを防止することができる。
1次フィルタ(図 55)を取り外して交換する。
エレメントを洗って再使用しないこと。洗浄によってフィルタの濾紙を破損させる恐れがある。新しいフィルタに傷がついていないかを点検する。特にフィルタとボディーの密着部に注意する。破損しているフィルタは使用しない。
フィルタをボディー内部にしっかり取り付ける。エレメントの外側のリムをしっかり押さえて確実にボ ディーに密着させる。フィルタの真ん中の柔らかい部分を持たないこと。

Important: 安全フィルタ(図 56)は絶対に洗わないでください。安全フィルタは、主フィルタの3回目の整備時に新しいものと交換してください。

カバーについている異物逃がしポートを清掃する。
カバーについているゴム製のアウトレットバルブを外し、内部を清掃して元通りに取り付ける。
アウトレットバルブが下向き(後ろから見たとき、時計の5時と7時の間になるように)カバーを取り付ける。
インジケータ(図 53)が赤になっている場合はリセットする。
| 整備間隔 | 整備手順 |
|---|---|
| 250運転時間ごと |
|
平らな場所に駐車し、カッティングユニットを降下させ、駐車ブレーキを掛け、エンジンを停止させてキーを抜き取る。
ドレンプラグ (図 57) を外してオイルを容器に受ける。

オイルが完全に抜けたらドレンプラグを取り付ける。
オイルフィルタ(図 58)を外す。

新しいフィルタのシールに薄くエンジンオイルを塗って取り付ける。
Note: フィルタを締めつけすぎないように注意してください。
クランクケースにオイルを入れる;エンジンオイルの量を点検するを参照。
スロットルケーブル(図 59)がコントロールアームのスロットの端部に当たるのと同じタイミングでエンジンのガバナレバーが高速固定ボルトに当たるように、スロットルケーブルを調整します。

軽油は条件次第で簡単に引火爆発する。発火したり爆発したりすると、やけどや火災などを引き起こす。
燃料補給は必ず屋外で、また、エンジンが停止して冷えた状態で行う。こぼれた燃料はふき取る。
燃料タンク一杯に入れないこと。給油は燃料タンクの首の根元から25 mm 程度下までとする。これは、温度が上昇して燃料が膨張したときにあふれないように空間を確保するためである。
燃料取り扱い中は禁煙を厳守し、火花や炎を絶対に近づけない。
安全で汚れのない認可された容器で保存し、容器には必ずキャップをはめること。
| 整備間隔 | 整備手順 |
|---|---|
| 800運転時間ごと |
|
| 長期保管前 |
|
平らな場所に駐車し、カッティングユニットを降下させ、駐車ブレーキを掛け、エンジンを停止させてキーを抜き取る。
燃料系統が汚染された時や、マシンを長期にわたって格納する場合はタンクを空にして内部を清掃してください。タンクの清掃にはきれいな燃料を使用してください。
| 整備間隔 | 整備手順 |
|---|---|
| 400運転時間ごと |
|
平らな場所に駐車し、カッティングユニットを降下させ、駐車ブレーキを掛け、エンジンを停止させてキーを抜き取る。
劣化・破損状況やゆるみが発生していないかを調べてください。
| 整備間隔 | 整備手順 |
|---|---|
| 使用するごとまたは毎日 |
|
| 400運転時間ごと |
|
平らな場所に駐車し、カッティングユニットを降下させ、駐車ブレーキを掛け、エンジンを停止させてキーを抜き取る。
燃料フィルタの下に汚れのない容器をおく。
キャニスタ下部のドレンプラグをゆるめて水や異物を流し出す。

フィルタ容器の周辺をウェスできれいにぬぐう。
フィルタ容器を外して取り付け部をきれいに拭く。
ガスケットに薄くオイルを塗る。
ガスケットが取り付け部に当るまで手でねじ込み、そこからさらに1/2回転締め付ける。
キャニスタ下部のドレンプラグを締める。
平らな場所に駐車し、カッティングユニットを降下させ、駐車ブレーキを掛け、エンジンを停止させてキーを抜き取る。
燃料タンク内部にある燃料供給チューブには、燃料系統に異物が入るのを防止するスクリーンがついています。必要に応じてこのチューブを取り外して清掃してください。
マシンの整備や修理を行う前に、バッテリーの接続を外してください。バッテリーの接続を外すときにはマイナスケーブルを先に外し、次にプラスケーブルを外してください。接続するときにはプラスを先に接続し、次にマイナスを接続してください。
バッテリーの充電は、火花や火気のない換気の良い場所で行ってください。バッテリーと充電器の接続や切り離しを行うときは、充電器をコンセントから抜いておいてください。また、安全な服装を心がけ、工具は確実に絶縁されたものを使ってください。
バッテリーの電極部や端子などの部分には鉛や鉛含有物質が含まれており、カリフォルニア州では、これらの物質が癌や先天性異常の原因となるとされている。取り扱い後は手を洗うこと。
平らな場所に駐車し、カッティングユニットを降下させ、駐車ブレーキを掛け、エンジンを停止させてキーを抜き取る。
運転席のコンソールパネルのラッチを外して持ち上げる(図 61)。

電解液には触れると火傷を起こす劇薬である硫酸が含まれている。
電解液を飲まないこと。また、電解液を皮膚や目や衣服に付けないよう十分注意すること。安全ゴーグルとゴム手袋で目と手を保護すること。
皮膚に付いた場合にすぐに洗浄できるよう、必ず十分な量の真水を用意しておくこと。
充電器に接続し、充電電流を 3-4 A にセットする。
3-4 Aで4-8時間充電する。
充電が終わったらチャージャをコンセントから抜き、バッテリー端子からはずす。
充電中は爆発性のガスが発生する。
充電中は絶対禁煙を厳守。バッテリーに火気を近づけない。
赤い(+)ケーブルをバッテリーの(+)端子に、 黒いケーブル(-)はバッテリーの(-)端子に固定する(図 62)

キャップスクリュとナットでケーブルを固定する。
プラス端子が電極に十分にはまり込んでいること、ケーブルの配線に無理がないことを確認する。ケーブルとバッテリーカバーを接触させないこと。
ショート防止のために(+)端子にゴムキャップをかぶせる。
腐食防止のために両方の端子部にワセリン(Grafo 112X: P/N 505-47)またはグリスを薄く塗る。
プラス端子にゴムカバーを取り付ける。
コンソールパネルを閉じ、ラッチを掛ける。
バッテリーの端子に金属製品や車体の金属部分が触 れるとショートを起こして火花が発生する。それによって水素ガスが爆発を起こし人身事故に至る恐れがある。
バッテリーの取り外しや取り付けを行うときには、端子と金属を接触させないように注意する。
バッテリーの端子と金属を接触させない。
バッテリーケーブルの接続手順が不適切であるとケーブルがショートを起こして火花が発生する。それによって水素ガスが爆発を起こし人身事故に至る恐れがある。
ケーブルを取り外す時は、必ずマイナス(黒)ケーブルから取り外す。
ケーブルを取り付ける時は、必ずプラス(赤)ケーブルから取り付け、それからマイナス(黒)ケーブルを取り付ける。
| 整備間隔 | 整備手順 |
|---|---|
| 50運転時間ごと |
|
Important: 電気系統を保護するため、本機に溶接作業を行う時には、バッテリーのマイナスケーブルの接続を外してください。
Note: 50 運転時間ごとまたは1週間に1度、バッテリーを点検してください。端子や周囲が汚れていると自然放電しますので、バッテリーが汚れないようにしてください。
以下の要領でバッテリーを清掃してください:
平らな場所に駐車し、カッティングユニットを降下させ、駐車ブレーキを掛け、エンジンを停止させてキーを抜き取る。
機体からバッテリーを取り外す。
重曹と水でケース全体を洗う。
真水でケースを仕上げ洗いする。
腐食防止のために両方の端子部にワセリン(Grafo 112X: P/N 505-47)を薄く塗る。
| 整備間隔 | 整備手順 |
|---|---|
| 使用開始後最初の 8 時間 |
|
| 200運転時間ごと |
|
平らな場所に駐車し、カッティングユニットを降下させ、駐車ブレーキを掛け、エンジンを停止させてキーを抜き取る。
この整備を怠ると車輪の脱落や破損から人身事故につながる恐れがある。
運転開始から1-4時間後に1回と8時間後にもう1回、前輪と後輪のホイールナットのトルク締めを行うこと; トルク値は 115-136 N·m(12-14 kg.m = 85-100 ft-lb)。その後は 200 運転時間 ごとにトルク締めを行う。
Note: 前輪のナットは 1/2-20 UNFです。後輪のナットは M12 x 1.6-6H (メートル系ナット)
| 整備間隔 | 整備手順 |
|---|---|
| 400運転時間ごと |
|
オイル量は 400 運転時間ごとに点検してください。使用するオイルは高品質の SAE 85W-140 ギアオイルです。
| 整備間隔 | 整備手順 |
|---|---|
| 使用開始後最初の 200 時間 |
|
| 800運転時間ごと |
|
200運転時間で初回交換を行います。その後は 800運転時間ごと又は 1 年に 1 回のうち早い方の時期に交換してください。交換には高品質の SAE 85W-140 ギアオイルを使用してください。
平らな場所に駐車し、カッティングユニットを降下させ、駐車ブレーキを掛け、エンジンを停止させてキーを抜き取る。
点検/ドレンプラグが一番低い位置(時計の 6 時の位置)に来るように停止させる(図 67) 。

プラネタリハブの下に容器を置き、プラグを外してオイルを抜く。
ブレーキハウジングの下に容器を置き、プラグを外してオイルを抜く(図 68)。

両方からオイルが完全に抜けたら、ブレーキハウジングにプラグを取り付ける。
まだプラグを取り付けていない方の穴が 12 時位置にくるように、車輪を回転させる。
高品質の SAE 85W-140 wt. ギア潤滑油 650ml を、穴からゆっくりと入れる。
Important: 650ml が入り終わる前に一杯になってしまった場合は、1時間ほど待つか、一度プラグをはめてマシンを 3m ほど移動させると、ブレーキシステムにオイルがまわって残り量を補給することができるようになります。そのようにして全量を入れてください。
プラグを取り付ける。
反対側のプラネタリギアアセンブリも同様に作業する。
| 整備間隔 | 整備手順 |
|---|---|
| 使用開始後最初の 200 時間 |
|
| 800運転時間ごと |
|
平らな場所に駐車し、カッティングユニットを降下させ、駐車ブレーキを掛け、エンジンを停止させてキーを抜き取る。
ドレンプラグ(図 70;左右端に1個と中央に1個、全部で3個ある)の周辺をきれいに拭く。

オイルが抜けやすいように点検用プラグを抜く。
各ドレンプラグからオイルを抜き、容器で回収する。
プラグを取り付ける。
点検用プラグを外し、そこから 85W-140 ギアオイルをおよそ 2.37 リットル入れる。穴の下側の縁までオイルが入ればよい。
点検プラグを取り付ける。
| 整備間隔 | 整備手順 |
|---|---|
| 400運転時間ごと |
|
ギアボックスには SAE 85W-140 ギアオイルを入れて出荷しています。初めて使用する前および 400 運転時間ごとにオイル量を点検してください。容量は0.5 リットルです。オイル漏れの目視点検は毎日行ってください。
平らな場所に駐車し、カッティングユニットを降下させ、駐車ブレーキを掛け、エンジンを停止させてキーを抜き取る。
ギアボックスの左側から点検・補給用プラグ(図 71)を抜き、穴の高さまで潤滑油があることを確認する。油量が足りなければ穴の下部まで補給する。

走行ペダルが踏みこまれていないときはマシンが停止していなければなりません。動きだすようでしたら調整が必要です。
平らな場所に駐車し、エンジンを停止し、速度コントロールをローレンジにセットし、カッティングユニットを床面に降下させる。
右側のブレーキペダルのみを踏み込んで駐車ブレーキを掛ける。
機体の左側前部をジャッキアップして前輪を床から浮かす。落下事故防止のために、ジャッキスタンドや支持ブロックなどを使って機体をサポートする。
エンジンを始動し、アイドル速度で回転させる。
ポンプのロッドの端部についているジャムナットを調整する;前進回転をなくすにはポンプのコントロールチューブを前へ動かし、後退回転をなくしたい場合には、後ろへ動かす(図 72)。

車輪が回転しないようになったら、ジャムナットを締めて調整を固定する。
エンジンを止め、右側のブレーキを解放する。
ジャッキスタンドをはずし、機体を床に下ろす。
試験運転で調整を確認する。
| 整備間隔 | 整備手順 |
|---|---|
| 800運転時間ごと |
|
平らな場所に駐車し、カッティングユニットを降下させ、駐車ブレーキを掛け、エンジンを停止させてキーを抜き取る。
後輪の前と後ろで、左右のタイヤの中央線間距離を測る(アクスルの高さ位置で計測)。
Note: 前での測定値が、後ろでの測定値より 3 mm 小さければ合格とする(図 73)。

調整は、両側のタイロッドのボールジョイントからコッターピンとナットを外して行う(図 74)。

アクスルケースサポートからタイロッドのボールジョイントを外す。
タイロッド両側のクランプをゆるめる(図 74)。
外したボールジョイントを内側または外側に1回転させる。
ロッドの連結されていない側のクランプを締める。
タイロッドアセンブリ全体を同じ方向(内まわりまたは外まわり)に1回転させる。
ロッドの連結されている側のクランプを締める。
アクスルケースサポートのボールジョイント を取り付け、指締めする。
トーインを測定する。
必要に応じてこの操作を繰り返す。
調整ができたらナットを締め、新しいコッターピンで固定する。
冷却液を飲み込むと中毒を起こす;冷却液は子供やペットが触れない場所に保管すること。
高温高圧の冷却液を浴びたり、高温のラジエター部分に触れたりすると大火傷をする恐れがある。
エンジン停止後、少なくとも15分間程度待って、エンジンが冷えてからキャップを開けること。
キャップを開けるときはウェスなどを使い、高温の水蒸気を逃がしながらゆっくりと開けること。
| 整備間隔 | 整備手順 |
|---|---|
| 使用するごとまたは毎日 |
|
エンジン部、オイルクーラ、ラジエターは毎日清掃してください。汚れが激しければより頻繁な清掃が必要です。
平らな場所に駐車し、カッティングユニットを降下させ、駐車ブレーキを掛け、エンジンを停止させてキーを抜き取る。
後部スクリーンのラッチを外してスクリーンを開く(図 75)。

スクリーンを丁寧に清掃する。
Note: 蝶番のピンを抜くとスクリーンを外すことができます。
オイルクーラとラジエターの両方の裏表(図 76)を圧縮空気で丁寧に清掃する。前側から清掃を始め、車体後方に向けてごみを吹き飛ばす。その後、今度は後ろ側から前側に向かって吹きつけて清掃する。この作業を数回繰り返してごみやほこりを十分に落とす。

Important: オイルクーラ/ラジエター部を水で清掃すると、さびが発生したり、各部の破損が早く進む恐れがあり、ほこりが固くこびりつくので避けてください。
後部スクリーンを閉じてラッチを掛ける。
ブレーキペダルの遊びが 13 mm以上となったり、ブレーキの効きが悪いと感じられるようになったら、調整を行ってください。遊びとは、ブレーキペダルを踏み込んでから抵抗を感じるまでのペダルの行きしろを言います。
平らな場所に駐車し、カッティングユニットを降下させ、駐車ブレーキを掛け、エンジンを停止させてキーを抜き取る。
左右のペダルが独立に動けるように、ブレーキペダルのロックピンを外す。
行きしろを小さくするにはブレーキを締める:
ブレーキケーブル(図 77)の端にある前ナッ トをゆるめる。

後ナットを締めてケーブルを後方に移動させてブレーキペダルの遊びが 0-13 mm なるようにする。
Note: ペダルを踏んでいない時にブレーキにテンションがかかっていないことを確認してください。
調整ができたら前ナットを締める。
油圧装置を作動させる前に、全部のラインコネクタが適切に接続されていること、およびラインやホースの状態が良好であることを確認すること。
油圧のピンホールリークやノズルからは作動油が高圧で噴出しているので、絶対に手などを近づけない。
リークの点検には新聞紙やボール紙を使う。
油圧関係の整備を行う時は、内部の圧力を確実に解放する。
万一、油圧オイルが体内に入ったら、直ちに専門医の治療を受けてください。万一、油圧オイルが体内に入った場合には、この種の労働災害に経験のある施設で数時間以内に外科手術を受ける必要がある。
| 整備間隔 | 整備手順 |
|---|---|
| 800運転時間ごと |
|
通常は 800 運転時間ごとにオイルを交換します。オイルが汚染されてしまった場合は油圧系統全体を洗浄する必要がありますので、Toro 代理店にご連絡ください。汚染されたオイルは乳液状になったり黒ずんだ色になったりします。
平らな場所に駐車し、カッティングユニットを降下させ、駐車ブレーキを掛け、エンジンを停止させてキーを抜き取る。
フードを上げる。
油圧オイルタンクの底部からケースリターンラインを外し、流れ出すオイルを大型の容器に受ける。
オイルが全部流れ出たらラインを元通りに接続する。
油圧オイルタンクに約 28.4 リットルの油圧オイルを入れる;油圧オイルの量を点検するを参照。
Important: 指定された銘柄のオイル以外は使用しないでください。他のオイルを使用するとシステムを損傷する可能性があります。
タンクにキャップを取り付ける。
エンジンを始動し、全部の油圧装置を操作して内部にオイルを行き渡らせる。
また、オイル漏れがないか点検して、エンジンを停止する。
油量を点検し、足りなければディップスティックの FULLマークまで補給する。
Note: タンクに入れすぎないように注意してください。
| 整備間隔 | 整備手順 |
|---|---|
| 使用開始後最初の 200 時間 |
|
| 800運転時間ごと |
|
油圧オイルのフィルタ(2個)は、最初の 200 運転時間で交換します。通常の使用条件では、その後 800 運転時間ごとにフィルタを交換します。
フィルタはToro 純正品を使用してください: カッティングユニット用(後): P/N 94-2621、チャージ用(前): P/N 75-1310)
Important: 純正品以外のフィルタを使用すると関連機器の保証が適用されなくなる場合があります。
| 整備間隔 | 整備手順 |
|---|---|
| 使用するごとまたは毎日 |
|
油圧ライン油圧ホースにオイル漏れ、ねじれ、支持部のゆるみ、磨耗、フィッティングのゆるみ、風雨や薬品による劣化などがないか毎日点検してください。異常を発見したら必ず運転を行う前に修理してください。
高圧で噴出する作動油は皮膚を貫通し、身体に重大な損傷を引き起こす。
油圧を掛ける前に、油圧ラインやホースに傷や変形がないか接続部が確実に締まっているかを確認する。
油圧のピンホールリークやノズルからは作動油が高圧で噴出しているので、絶対に手などを近づけない。
リークの点検には新聞紙やボール紙を使う。
油圧関係の整備を行う時は、内部の圧力を確実に解放する。
万一、油圧オイルが体内に入ったら、直ちに専門医の治療を受けてください。
磨耗の進んだリールや破損した下刃が、回転中にちぎれて飛び出す場合があり、これが起こるとオペレータや周囲の人間に多大の危険を及ぼし、最悪の場合には死亡事故となります。
カッティングユニットが磨耗や破損していないか定期的に点検してください。
カッティングユニットを点検する時には安全に十分注意してください。刃をウェスでくるむか、安全手袋をはめ、十分に注意して取り扱ってください。リールと下刃は研磨または交換のみ行い、たたいて修復したり溶接したりしないでください。
複数のカッティングユニットを持つ機械では、1つのリールを回転させると他も回転する場合があるので十分に注意してください。
バックラップ中にリールに触れると大けがをする。
リールその他の可動部に手指、足、衣類等を近づけないよう注意すること。
エンジンが動いている間は、止まったリールを絶対に手や足で回そうとしないこと。
Note: バックラップの時は、前3ユニット、後2ユニットがそれぞれ共に回転します。
平らな場所に駐車し、カッティングユニットを降下させ、駐車ブレーキを掛け、エンジンを停止させ、PTOスイッチを OFFにする。
ラッチを外してフードを開ける。
各カッティングユニットのリールと下刃をバックラップ用に設定する;カッティングユニットのオペレーターズマニュアルを参照。
バックラップレバーで、前のカッティングユニット又は後ろのカッティングユニット、あるいは両方を選択する(図 81)。
エンジンを始動し、アイドル回転にセットする。
バックラップ中にエンジン速度を変えるとリールが停止することがある。
バックラップ中は絶対にエンジン速度を変えないこと。
バックラップは、必ずエンジンアイドリング速度で行う。
回転中のカッティングユニットに触れると非常に危険である。
カッティングユニットから十分離れてから次の手順に進むこと。
刈り込み速度リミッタを「刈り込み」位置にセットし、PTO スイッチを ON にする。
上昇スイッチを押すと、バックラップが開始される。
長い柄のブラシを使ってラッピングコンパウンドを塗布しながらラッピングを続ける。
Note: 短い柄のブラシは使用しないこと。

リールの回転が止まってしまったり、回転が一定しない場合には、スロットル速度を少し上げて安定させる。
バックラップ中にカッティングユニットに調整を行う場合には、まず昇降スイッチの後部を押してリールの回転を止め、PTOスイッチをOFF位置にセットし、エンジンを停止させてから調整作業に取り掛かる。調整が終ったら5-9を行う。
バックラップするユニット全部に上記手順を行う。
終了したら、バックラップレバーを刈り込み位置に戻し、フードを下ろし、カッティングユニットについているラッピングコンパウンドをていねいに洗い落とす。必要に応じてリールとベッドナイフの刃合わせを行う。リール回転速度コントロールを、希望の速度位置にセットする。
Important: バックラップスイッチを OFF 位置に戻さないと、カッティングユニットの上昇などの操作をすることができません。
Note: さらに詳しい説明が、Toro リール/ロータリーモアのための研磨マニュアル(Form No. 80-300 SL)に掲載されています。
Note: バックラップが終わったら、ベッドナイフの前端に軽くヤスリ掛けを行うとさらに切れ味が向上します。これによりベッドナイフ前端に形成されたバリを取り除きます。このとき刃先を削らないように注意してください。
平らな場所に駐車し、カッティングユニットを降下させ、駐車ブレーキを掛け、エンジンを停止させてキーを抜き取る。
トラクションユニット、カッティングユニット、エンジンをていねいに洗浄する。
タイヤ空気圧を点検する;タイヤ空気圧を点検するを参照。
ボルトナット類にゆるみながいか点検し、必要な締め付けを行う。
グリス注入部やピボット部全部をグリスアップする。余分のグリスやオイルはふき取る。
塗装のはがれている部分に軽く磨きをかけ、タッチアップする。金属部の変形を修理する。
バッテリーとケーブルに以下の作業を行う:
バッテリー端子からケーブルを外す。
バッテリー本体、端子、ケーブル端部を重曹水とブラシで洗浄する。
腐食防止のために両方の端子部にワセリン(Grafo 112X: P/N 505-47)を薄く塗る。
電極板の劣化を防止するため、60日ごとに24時間かけてゆっくりと充電する。
エンジンオイルを抜き取り、ドレンプラグをはめる。
オイルフィルタを外して捨てる。新しいオイルフィルタを取り付ける。
エンジンに推奨モーターオイルを入れる。
エンジンを始動し約 2 分間回転させる。
エンジンを停止する。
新しいきれいな燃料を使って燃料タンクを洗浄する。
燃料関係のフィッティングを確実に締め付ける。
エアクリーナをきれいに清掃する。
エアクリーナの吸気口とエンジンの排気口を防水テープでふさぐ。
冷却水(エチレングリコール不凍液と水との 50/50 混合液)の量を点検し、凍結を考慮して必要に応じて補給する。