| Périodicité d'entretien | Procédure d'entretien |
|---|---|
| À chaque utilisation ou une fois par jour |
|
Cette machine est une tondeuse autoportée à cylindre prévue pour les utilisateurs professionnels employés à des applications professionnelles. Elle est principalement conçue pour tondre les pelouses régulièrement entretenues dans les parcs, les terrains de golf, les terrains de sports et les espaces verts commerciaux. Elle n'est pas conçue pour couper les broussailles et autre végétation sur le bord des routes ni pour des utilisations agricoles.
Lisez attentivement cette notice pour apprendre à utiliser et entretenir correctement votre produit, et éviter ainsi de l'endommager ou de vous blesser. Vous êtes responsable de l'utilisation sûre et correcte du produit.
Vous pouvez contacter Toro directement sur www.Toro.com pour tout document de formation à la sécurité et à l'utilisation des produits, pour tout renseignement concernant un produit ou un accessoire, pour obtenir l'adresse des concessionnaires ou pour enregistrer votre produit.
Pour obtenir des prestations de service, des pièces d'origine Toro ou des renseignements complémentaires, munissez-vous des numéros de modèle et de série du produit et contactez un concessionnaire-réparateur agréé ou le service client Toro. La Figure 1 indique l'emplacement des numéros de modèle et de série du produit sur le longeron avant droit du cadre du produit. Inscrivez les numéros dans l'espace réservé à cet effet.

Les mises en garde de ce manuel soulignent des dangers potentiels et sont signalées par le symbole de sécurité (Figure 2), qui indique un danger pouvant entraîner des blessures graves ou mortelles si les précautions recommandées ne sont pas respectées.

Ce manuel utilise deux termes pour faire passer des renseignements essentiels. Important, pour attirer l'attention sur des informations mécaniques spécifiques et Remarque, pour insister sur des informations d'ordre général méritant une attention particulière.
Ce produit est conforme à toutes les directives européennes pertinentes. Pour plus de renseignements, consultez la Déclaration de conformité spécifique du produit fournie séparément.
Vous commettez une infraction à la section 4442 ou 4443 du Code des ressources publiques de Californie si vous utilisez cette machine dans une zone boisée, broussailleuse ou recouverte d'herbe à moins d'équiper le moteur d'un pare-étincelles, tel que défini à la section 4442, maintenu en bon état de marche, ou à moins de construire, équiper et entretenir le moteur de manière à prévenir les incendies.
Le Manuel du propriétaire du moteur ci-joint est fourni à titre informatif concernant la réglementation de l'Agence américaine pour la protection de l'environnement (EPA) et la réglementation antipollution de l'état de Californie relative aux systèmes antipollution, à leur entretien et à leur garantie. Vous pouvez vous en procurer un nouvel exemplaire en vous adressant au constructeur du moteur.
CALIFORNIE
Proposition 65 - Avertissement
L'état de Californie considère les gaz d'échappement des moteurs diesel et certains de leurs composants comme susceptibles de provoquer des cancers, des malformations congénitales et autres troubles de la reproduction.
L'utilisation de ce produit peut entraîner une exposition à des substances chimiques considérées pas l'état de Californie comme capables de provoquer des cancers, des anomalies congénitales ou d'autres troubles de la reproduction.
Cette machine est conçue pour satisfaire ou dépasser les exigences de la norme EN ISO 5395:2013 (quand les autocollants appropriés sont présents) et de la norme ANSI B71.4-2012.
Ce produit peut sectionner les mains ou les pieds et projeter des objets. Respectez toujours toutes les consignes de sécurité pour éviter des blessures graves.
L'utilisation de ce produit à d'autres fins que celle prévue peut être dangereuse pour vous-même et toute personne à proximité.
Vous devez lire et comprendre le contenu de ce Manuel de l'utilisateur avant de démarrer le moteur.
N'approchez pas les mains ou les pieds des composants mobiles de la machine.
N'utilisez pas la machine s'il manque des capots ou d'autres dispositifs de protection, ou s'ils sont endommagés.
Ne vous tenez pas devant l'ouverture d'éjection. Tenez tout le monde, y compris les animaux, à une distance suffisante de la machine.
N'admettez jamais d'enfants dans le périmètre de travail. N'autorisez jamais les enfants à utiliser la machine.
Arrêtez la machine et coupez le moteur avant de faire l'entretien, de faire le plein de carburant ou de déboucher la machine.
L'usage ou l'entretien incorrect de cette machine peut occasionner des accidents. Pour réduire les risques d'accidents et de blessures, respectez les consignes de sécurité qui suivent. Tenez toujours compte des mises en garde signalées par le symbole de sécurité et la mention Prudence, Attention ou Danger. Le non respect de ces instructions peut entraîner des blessures graves ou mortelles.
Vous trouverez d'autres consignes de sécurité, le cas échéant, en vous reportant aux sections respectives dans ce Manuel de l'utilisateur.
Le moteur de cette machine est homologué UE Niveau 3A.
![]() |
Des autocollants de sécurité et des instructions bien visibles par l'opérateur sont placés près de tous les endroits potentiellement dangereux. Remplacez tout autocollant endommagé ou manquant. |























Note: Les côtés gauche et droit de la machine sont déterminés d'après la position d'utilisation normale.
Selon la largeur des unités de coupe montés sur le groupe de déplacement, réglez les rouleaux de support comme suit :
Garez la machine sur une surface plane et horizontale, serrez le frein de stationnement, coupez le moteur et enlevez la clé du commutateur d'allumage.
Pièces nécessaires pour cette opération:
| Autocollant de sécurité | 1 |
Sur les machines devant satisfaire à la norme CE, apposez l'autocollant de sécurité CE (réf. 120-1686) sur l'autocollant de sécurité standard (réf. 120-1683).
Pièces nécessaires pour cette opération:
| Support de loquet de capot | 1 |
| Rivet | 2 |
| Vis (¼" x 2") | 1 |
| Rondelle plate (¼") | 2 |
| Contre-écrou (¼") | 1 |
Décrochez le loquet de capot de son support (Figure 4).

Retirez les 2 rivets qui fixent le support du loquet au capot (Figure 5).

Enlevez le support de loquet du capot.
Alignez les trous de montage, puis positionnez le support de loquet CE et le support de loquet du capot sur le capot.
Note: Le support de loquet doit être appuyé contre le capot (Figure 5).Ne retirez pas le boulon et l'écrou du bras du support de loquet.

Placez les rondelles en face des trous à l'intérieur du capot
Rivez les supports et les rondelles sur le capot (Figure 6).
Accrochez le loquet du capot sur son support (Figure 7).

Vissez le boulon dans l'autre bras du support de loquet pour bloquer le loquet en position (Figure 8).

Serrez fermement le boulon mais pas l'écrou.
Pièces nécessaires pour cette opération:
| Guide-flexible avant (côté droit) | 1 |
| Guide-flexible avant (côté gauche) | 1 |
Déposez les moteurs de cylindre des supports de transport.
Enlevez les supports d'expédition et mettez-les au rebut.
Sortez les unités de coupe des cartons d'expédition.
Procédez à l'assemblage et au réglage comme expliqué dans le Manuel de l'utilisateur des unités de coupe.
Veillez à monter le contrepoids (Figure 9) du bon côté de l'unité de coupe, comme expliqué dans le Manuel de l'utilisateur de l'unité de coupe.

Toutes les unités de coupe sont expédiées avec le ressort de compensation monté sur le côté droit. Le ressort de compensation doit être monté sur l'unité de coupe du même côté que le moteur d'entraînement de cylindre. Repositionnez le ressort de compensation comme suit :
Retirez les 2 boulons de carrosserie et les écrous qui fixent le support de tige aux pattes de l'unité de coupe (Figure 10).

Retirez l'écrou à embase qui fixe le boulon du tube de ressort à la patte du bâti porteur (Figure 10).
Déposez le tout.
Montez le boulon du tube de ressort sur la patte opposée du bâti porteur et fixez-le en position avec l'écrou à embase.
Note: Placez la tête du boulon sur le côté extérieur de la patte, comme montré à la Figure 11.

Montez le support de tige sur les pattes de l'unité de coupe à l'aide des boulons de carrosserie et des écrous (Figure 11). Sur l'unité de coupe, montez le guide-flexible gauche devant les pattes de l'unité quand vous reposez le support de tige (Figure 13).
Important: Sur les unités de coupe nº 4 (avant gauche) et nº 5 (avant droit), utilisez les écrous de fixation du support de tige pour monter les guides de flexible devant les pattes de l'unité de coupe. Les guides de flexible doivent être inclinés vers l'unité de coupe centrale (Figure 12 à Figure 14).



Note: Lors de la mise en place ou du retrait des unités de coupe, vérifiez que la goupille fendue est insérée dans le trou de la tige de ressort situé près du support de la tige. Sinon, la goupille fendue doit être placée dans le trou au bout de la tige.
Augmentez la direction des unités de coupe arrière en retirant les 2 entretoises de pivot, les vis à tête creuse et les contre-écrous à embase (Figure 15) des bâtis porteur des unités de coupe arrière (nº 2 et nº 3) ; voir Figure 12.

Abaissez complètement tous les bras de levage.
Enduisez l'arbre du bâti porteur de graisse propre (Figure 16).

Pour les unités de coupe avant, poussez une unité de coupe sous le bras de levage tout en insérant l'arbre du bâti porteur dans la chape de pivot du bras de levage (Figure 16). Positionnez correctement la rondelle de butée sur l'arbre du bâti porteur.
Fixez l'arbre du bâti porteur à la chape du bras de levage avec la goupille Klik (Figure 16).
Pour verrouiller (fixer) la direction sur les unités de coupe, fixez la chape de pivot au bâti porteur avec la goupille à fermoir (Figure 17).

Note: Il est recommandé de verrouiller la direction pour tondre à flanc de pente.
Procédez comme suit sur les unités de coupe arrière lorsque la hauteur de coupe est supérieure à 19 mm.
Retirez la goupille à anneau et la rondelle qui fixent l'axe de pivot du bras de levage au bras de levage, et sortez l'axe de pivot du bras (Figure 18).

Insérez la chape du bras de levage sur l'arbre du bâti porteur (Figure 16).
Insérez l'axe du bras de levage dans le bras de levage et fixez-le à l'aide de la rondelle et de la goupille à anneau (Figure 18).
Fixez la chaîne du bras de levage au support de la chaîne avec la goupille à fermoir (Figure 19).
Note: Utilisez le nombre de maillons mentionné dans le Manuel de l'utilisateur de l'unité de coupe.

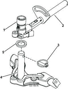
Enduisez de graisse propre l'arbre cannelé du moteur de cylindre.
Huilez le joint torique du moteur de cylindre et posez-le sur la bride du moteur.
Montez le moteur en le tournant dans le sens horaire jusqu'à ce que les brides passent les boulons (Figure 20).

Tournez le moteur dans le sens antihoraire jusqu'à ce que les brides encerclent les boulons, puis serrez les boulons.
Important: Vérifiez que les flexibles du moteur de cylindre ne sont pas vrillés ni coudés et ne risquent pas d'être coincés.
Le ressort de compensation (Figure 21) transfère le poids du rouleau avant au rouleau arrière. Cela évite la formation d'ondulations à la surface de la pelouse.
Important: Effectuez le réglage des ressorts quand l'unité de coupe est montée sur le groupe de déplacement, dirigée droit devant et abaissée au sol.
Vérifiez que la goupille fendue est insérée dans le trou de la tige de ressort (Figure 21).
Note: Lors de l'entretien de l'unité de coupe, placez la goupille fendue dans le trou de la tige de ressort, près du ressort de compensation.

Serrez les écrous hexagonaux à l'extrémité avant de la tige de ressort jusqu'à ce que la longueur du ressort comprimé soit égale à 16 cm ; voir Figure 21.
Note: Si vous travaillez sur un terrain accidenté, réduisez la longueur du ressort de 13 mm. Le suivi des contours du terrain sera légèrement diminué.
Note: Le réglage de compensation doit être réinitialisé si la hauteur de coupe ou l'agressivité de coupe est modifiée.
Pièces nécessaires pour cette opération:
| Béquille de l'unité de coupe | 1 |
Chaque fois que l'unité de coupe doit être basculée pour exposer la contre-lame et le cylindre, utilisez la béquille pour soutenir l'arrière de l'unité et empêcher ainsi les écrous situés à l'arrière des vis de réglage de la barre d'appui de reposer sur la surface de travail (Figure 22).

Fixez la béquille au support de chaîne avec la goupille à fermoir (Figure 23).

Vous devez graisser la machine avant de l'utiliser pour garantir une bonne lubrification. Voir Lubrification. Si vous ne graissez pas la machine correctement, des pannes prématurées de pièces importantes se produiront.
Contrôlez le niveau de lubrifiant dans le pont arrière avant le tout premier démarrage du moteur ; voir Contrôle du niveau d'huile du pont arrière.
Contrôlez le niveau de liquide hydraulique avant le tout premier démarrage du moteur ; voir Contrôle du niveau de liquide hydraulique.
Contrôlez le niveau d'huile moteur avant et après le tout premier démarrage du moteur ; voir Contrôle du niveau d'huile moteur.
Pièces nécessaires pour cette opération:
| Gabarit | 1 |
Utilisez le gabarit pour régler l'unité de coupe. Pour les procédures de réglage, reportez-vous au Manuel de l'utilisateur de l'unité de coupe (Figure 24).

Les 2 pédales au pied (Figure 25) commandent les freins de roues individuels pour faciliter le braquage et l'adhérence à flancs de pentes.
Le verrou de blocage (Figure 25) relie les pédales entre elles pour serrer le frein de stationnement.
Pour serrer le frein de stationnement (Figure 25), reliez les pédales ensemble à l'aide du verrou de blocage, et enfoncez la pédale de frein droite tout en engageant la pédale actionnée en bout de pied. Pour desserrer le frein de stationnement, appuyez sur une des pédales de frein jusqu'à ce que le verrou se rétracte.

La pédale de déplacement (Figure 25) commande le déplacement en marche avant et arrière. Appuyez sur le haut de la pédale pour avancer et sur le bas pour faire marche arrière. La vitesse de déplacement varie selon que la pédale est plus ou moins enfoncée. Pour vous déplacer à la vitesse maximale, appuyez à fond sur la pédale après avoir placé la commande d'accélérateur en position HAUT RéGIME.
Pour immobiliser la machine, relâchez la pédale de déplacement et laissez-la revenir à la position centrale.
Pour incliner le volant vers vous, appuyez sur la pédale (Figure 25) et tirez la colonne de direction vers vous à la position qui vous convient le mieux, puis relâchez la pédale.
Lorsque le limiteur de vitesse de tonte (Figure 26) est basculé en avant, il régule la vitesse de tonte et permet d'engager les unités de coupe. Chaque entretoise règle la vitesse de tonte de 0,8 km/h. Plus vous rajoutez d'entretoises sur le boulon, plus la vitesse de la machine diminue. Pour le transport, basculez le limiteur de vitesse en arrière pour obtenir la vitesse de transport maximale de la machine.
Réglez les vis (Figure 26) pour limiter la course de la pédale de déplacement en marche avant ou arrière et limiter ainsi la vitesse.
Important: La vis du limiteur de vitesse doit arrêter la pédale de déplacement avant que la pompe arrive en bout de course, sinon la pompe risque d'être endommagée.

Ce levier (Figure 27) lève et abaisse les unités de coupe et démarre/arrête également les cylindres lorsque ceux-ci sont activés en mode tonte. Les unités de coupe ne peuvent pas être abaissées lorsque le levier de tonte/transport est en position transport.
Le commutateur d'allumage (Figure 27) a 3 positions : ARRêT, CONTACT/PRéCHAUFFAGE et DéMARRAGE.
L'écran LCD de l'InfoCenter affiche des informations sur votre machine, comme l'état de fonctionnement, ainsi que divers diagnostics et autres renseignements concernant la machine (Figure 27).
La commande de PDF (Figure 27) a 2 positions : DéMARRAGE et ARRêT. Poussez sur l'avant du bouton de commande de PDF pour engager les lames des unités de coupe. Poussez sur l'arrière du bouton de commande de PDF pour désengager les lames des unités de coupe.

La commande de régime moteur (Figure 27) a 2 positions permettant de modifier le régime moteur. Appuyez brièvement sur la commande pour augmenter ou réduire le régime moteur de 100 tr/min à la fois. Maintenez la commande enfoncée pour sélectionner automatiquement le haut régime ou le ralenti, selon le cas.
Pivotez l'interrupteur vers le bas pour allumer les phares (Figure 27).
La prise de courant (Figure 28) sert à alimenter les accessoires électriques de 12 volts disponibles en option.

Utilisez le support de sac (Figure 29) pour le rangement.

Utilisez les leviers de rodage pour effectuer le rodage des cylindres (Figure 30).


Tirez sur le levier pour faire coulisser le siège en avant ou en arrière (Figure 31).
Tournez le bouton pour régler l'angle de l'accoudoir (Figure 31).
Déplacez le levier pour ajuster l'angle du dossier (Figure 31).
Elle indique quand le siège est réglé pour le poids de l'utilisateur (Figure 31). Le réglage en hauteur est obtenu en plaçant la suspension dans la zone verte.
Il permet de régler le siège en fonction du poids de l'utilisateur (Figure 31). Tirez sur le levier pour augmenter la pression d'air et abaissez-le pour réduire la pression d'air. Le réglage est correct lorsque la jauge de poids se trouve dans la zone verte.
L'écran LCD de l'InfoCenter affiche des renseignements relatifs à la machine, comme l'état de fonctionnement, ainsi que divers diagnostics et autres données concernant la machine (Figure 32). L'InfoCenter comporte un écran d'accueil et un écran d'information principal. Vous pouvez alterner entre l'écran de démarrage et l'écran d'information principal à tout moment en appuyant sur l'une des touches de l'InfoCenter puis en sélectionnant la flèche de direction appropriée.

Bouton gauche : bouton d'accès aux menus/de retour – appuyez sur ce bouton pour accéder aux menus de l'InfoCenter. Il permet également de revenir en arrière et de quitter le menu actuellement utilisé.
Bouton central – utilisez ce bouton pour faire défiler les menus.
Bouton droit – utilisez ce bouton pour ouvrir un menu lorsqu'une flèche à droite indique un contenu supplémentaire.
Inversion manuelle du ventilateur – activée en appuyant sur les boutons gauche et droit simultanément.
Avertisseur – activé lors de l'abaissement des unités ou en cas d'alertes et d'anomalies.
Note: Chaque bouton peut changer de fonction selon les besoins du moment. Chaque bouton est repéré par une icône illustrant sa fonction actuelle.
| SERVICE DUE | Indique quand un entretien programmé doit être effectué |
![]() | Icône d'information |
![]() | Compteur horaire |
![]() | Haut régime |
![]() | Basse vitesse |
![]() | Inversion du ventilateur – indique quand le sens de rotation du ventilateur est inversé |
![]() | Chauffage d'admission d'air actif |
![]() | Levage des unités de coupe |
![]() | Abaissement des unités de coupe |
![]() | L'utilisateur doit s'asseoir sur le siège |
![]() | Témoin de frein de stationnement – indique quand le frein de stationnement est serré |
![]() | Identifie la gamme Haute |
![]() | Point mort |
![]() | Identifie la gamme Basse |
![]() | Thermomètre de liquide de refroidissement – indique la température du liquide de refroidissement en ºC ou ºF |
![]() | Température (chaude) |
![]() | Refusé ou non autorisé |
![]() | La PDF est engagée |
![]() | Démarrage du moteur |
![]() | Arrêt ou arrêt d'urgence |
![]() | Moteur |
![]() | Commutateur d'allumage |
![]() | Indique l'abaissement des unités de coupe |
![]() | Indique le levage des unités de coupe |
![]() | Code PIN |
![]() | Température d'huile hydraulique – indique la température de l'huile hydraulique |
![]() | Bus CAN |
![]() | InfoCenter |
![]() | Mauvais fonctionnement ou défaillance |
![]() | Ampoule |
![]() | Sortie du contrôleur TEC ou câble de commande en faisceau |
![]() | Haute : supérieure à la gamme permise |
![]() | Basse : inférieure à la gamme permise |
/![]() | Hors gamme |
![]() | Interrupteur |
![]() | L'utilisateur doit relâcher l'interrupteur |
![]() | L'utilisateur doit passer à l'état indiqué |
| Plusieurs symboles sont souvent associés pour former des phrases. Quelques exemples sont donnés ci-après. | |
![]() | L'utilisateur doit mettre la machine au point mort |
![]() | Démarrage du moteur refusé |
![]() | Arrêt du moteur |
![]() | Liquide de refroidissement moteur trop chaud |
![]() | Surchauffe de l'huile hydraulique |
![]() | S'asseoir ou serrer le frein de stationnement |
Pour accéder au système de menus InfoCenter, appuyez sur le bouton d'accès au menu depuis l'écran principal. Cela vous amènera au menu principal. Reportez-vous aux tableaux ci-après pour le synopsis des options disponibles dans les différents menus :
| Menu principal | |
| Option de menu | Description |
| Anomalies | Le menu Anomalies contient la liste des anomalies récentes de la machine. Reportez-vous au Manuel d'entretien ou adressez-vous à votre distributeur Toro agréé pour plus de renseignements sur le menu Anomalies et sur les données qu'il contient. |
| Entretien | Le menu Entretien contient des renseignements sur la machine, comme le nombre d'heures de fonctionnement et d'autres renseignements de ce type. |
| Diagnostics | Le menu Diagnostics indique l'état de chaque contacteur, capteur et sortie de commande de la machine. Vous pouvez vous en servir pour détecter certains problèmes, car il vous indiquera rapidement quelles commandes de la machine sont activées ou désactivées. |
| Réglages | Le menu Réglages vous permet de personnaliser et modifier les variables de configuration sur l'écran de l'InfoCenter. |
| À propos | Le menu À propos indique le numéro de modèle, le numéro de série et la version logicielle de votre machine. |
| Entretien | |
| Option de menu | Description |
| Hours | Indique le nombre d'heures de fonctionnement de la machine, du moteur et de la PDF, ainsi que le nombre d'heures de transport et restant avant le prochain entretien. |
| Counts | Indique les différents décomptes de la machine. |
| Diagnostics | |
| Option de menu | Description |
| Cutting Units | Indique les entrées, qualificateurs et sorties pour abaisser et lever les unités de coupe. |
| Hi/Low Range | Indique les entrées, qualificateurs et sorties pour la conduite en mode transport. |
| PTO | Indique les entrées, qualificateurs et sorties pour l'activation du circuit de PDF. |
| Engine Run | Indique les entrées, qualificateurs et sorties pour le démarrage du moteur. |
| Backlap | Indique les entrées, qualificateurs et sorties pour utiliser la fonction de rodage. |
| Réglages | |
| Option de menu | Description |
| Unités | Cette option permet de choisir les unités utilisées sur l'InfoCenter. Les unités peuvent être métriques ou impériales |
| Langue | Cette option permet de choisir la langue utilisée sur l'InfoCenter*. |
| Rétroéclairage de l'écran LCD | Cette option permet de régler la luminosité de l'affichage LCD. |
| Contraste | Cette option permet de régler le contraste de l'affichage LCD. |
| Vitesse de rodage des cylindres avant | Commande la vitesse des cylindres avant en mode rodage. |
| Vitesse de rodage des cylindres arrière | Commande la vitesse des cylindres arrière en mode rodage. |
| Menus protégés | Permet au responsable/mécanicien d'accéder aux menus protégés par la saisie d'un code de passe. |
| Ralenti automatique | Commande la durée autorisée avant le retour du moteur à bas régime quand la machine est à l'arrêt. |
| Nombre de lames | Commande le nombre de lames sur le cylindre pour la vitesse du cylindre. |
| Vitesse de tonte | Commande les vitesse de déplacement de la machine pour déterminer la vitesse des cylindres. |
| Hauteur de coupe | Commande la hauteur de coupe pour déterminer la vitesse des cylindres. |
| TR/MIN cyl. AV | Indique la position de vitesse calculée des cylindres avant. Les cylindres peuvent aussi être réglés manuellement. |
| TR/MIN cyl. AR | Indique la position de vitesse calculée des cylindres arrière. Les cylindres peuvent aussi être réglés manuellement. |
* Seul le texte « relatif à l'utilisateur » est traduit. Les écrans Anomalies, Entretien et Diagnostics sont « relatifs à l'entretien ». Les titres seront dans la langue choisie, mais les options de menu sont en anglais.
| À propos | |
| Option de menu | Description |
| Modèle | Indique le numéro de modèle de la machine. |
| Nº de série | Indique le numéro de série de la machine. |
| Version du contrôleur machine | Indique la version du logiciel du contrôleur principal. |
| Version de l'InfoCenter | Indique la version du logiciel de l'InfoCenter. |
| Bus CAN | Indique l'état du bus de communication de la machine. |
Cinq réglages de configuration du fonctionnement peuvent être sélectionnés dans le menu Réglages de l'InfoCenter : nombre de lames, vitesse de tonte, hauteur de coupe, TR/MIN cyl. AV et TR/MIN cyl. AR. Ces réglages peuvent être bloqués à partir du menu protégé.
Note: À la livraison de la machine, le code d'accès initial est programmé par votre distributeur.
Depuis le Menu principal, naviguez jusqu'au menu Réglages et appuyez sur le bouton droit.
Dans le menu Réglages, naviguez jusqu'au Menu protégé et appuyez sur le bouton droit.
Pour entrer le code d'accès, utilisez le bouton central pour saisir le premier chiffre, puis appuyez sur le bouton droit pour passer au chiffre suivant.
Utilisez le bouton central pour saisir le deuxième chiffre, puis appuyez sur le bouton droit pour passer au chiffre suivant.
Utilisez le bouton central pour saisir le troisième chiffre, puis appuyez sur le bouton droit pour passer au chiffre suivant.
Utilisez le bouton central pour saisir le quatrième chiffre, puis appuyez sur le bouton droit.
Appuyez sur le bouton central pour entrer le code.
Si le code a été accepté et que le menu protégé est « déverrouillé », « PIN » apparaît dans le coin supérieur droit de l'écran.
Il est possible de modifier la capacité à visualiser et modifier les paramètres du menu protégé. Après avoir ouvert le menu protégé, naviguez jusqu'à « Protéger les param. ». À l'aide du bouton droit, vous pouvez changer l'option « Protéger les param. » à OFF (désactivée) afin de visualiser et modifier les réglages du menu protégé sans avoir à saisir le code d'accès. Si vous changez l'option « Protéger les param. » à ON (activée), les options protégées seront masquées et vous devrez saisir un code d'accès pour pouvoir modifier les réglages du menu protégé. Après avoir programmé le code d'accès, vous devez couper puis rétablir le contact pour activer et sauvegarder cette fonction.
Note: Si vous avez oublié ou égaré le code d'accès, adressez-vous à votre distributeur.
Dans le menu Réglages, naviguez jusqu'à Auto Idle (ralenti automatique).
Appuyez sur le bouton droit pour modifier le délai de ralenti automatique et le régler à OFF (désactivé), 8S, 10S, 15S, 20S ou 30S.
Dans le menu Réglages, naviguez jusqu'à l'option Nombre de lames
Appuyez sur le bouton droit pour choisir des cylindres à 5, 8 ou 11 lames.
Dans le menu Réglages, naviguez jusqu'à l'option Vitesse de tonte
Appuyez sur le bouton droit pour sélectionner la vitesse de tonte.
À l'aide du bouton central et droit, sélectionnez la vitesse de tonte appropriée définie sur le limiteur de vitesse de tonte mécanique de la pédale de déplacement.
Appuyez sur le bouton gauche pour quitter l'option de vitesse de tonte et sauvegarder le réglage.
Dans le menu Réglages, naviguez jusqu'à l'option Hauteur de coupe
Appuyez sur le bouton droit pour sélectionner la hauteur de coupe.
Utilisez les boutons central et droit pour sélectionner la hauteur de coupe voulue.
Note: Si le réglage exact de hauteur de coupe n'est pas affiché, sélectionnez la valeur la plus proche dans la liste proposée.
Appuyez sur le bouton gauche pour quitter l'option de hauteur de coupe et sauvegarder le réglage.
Bien que les vitesses des cylindres avant et arrière soient calculées en entrant le nombre de lames, la vitesse de tonte et la hauteur de coupe dans l'InfoCenter, vous pouvez modifier manuellement le réglage pour tenir compte des différentes conditions de tonte.
Naviguez jusqu'à l'option TR/MIN cyl. AV, TR/MIN cyl. AR ou les deux.
Appuyez sur le bouton droit pour modifier la vitesse des cylindres. Une fois le réglage modifié, la vitesse des cylindres (calculée d'après le nombre de lames, la vitesse de tonte et la hauteur de coupe entrées précédemment) reste affichée, mais la nouvelle valeur est également affichée.
Note: Les spécifications et la conception peuvent faire l'objet de modifications sans préavis.
| Largeur de coupe, unités de coupe de 69 cm | 307 cm |
| Largeur de coupe, unités de coupe de 81 cm | 320 cm |
| Largeur hors tout, unités de coupe de 69 cm | 345 cm |
| Largeur hors tout, unités de coupe de 81 cm | 358 cm |
| Largeur hors tout, unités de coupe levées (transport) | 239 cm |
| Longueur hors tout | 370 cm |
| Hauteur avec ROPS | 220 cm |
| Largeur de voie, avant | 229 cm |
| Largeur de voie, arrière | 141 cm |
| Empattement | 171 cm |
| Poids net (sans unités de coupe et sans pleins) | 1 574 kg |
Une sélection d'outils et d'accessoires agréés par Toro est disponible pour augmenter et améliorer les capacités de la machine. Contactez votre concessionnaire-réparateur ou distributeur agréé ou rendez-vous sur www.Toro.com pour obtenir une liste de tous les accessoires et outils agréés.
Note: Les côtés gauche et droit de la machine sont déterminés d'après la position d'utilisation normale.
Ne confiez jamais l'utilisation ou l'entretien de la machine à des enfants ou à des personnes non qualifiées. La réglementation locale peut imposer un âge minimum pour les utilisateurs. Le propriétaire de la machine doit assurer la formation de tous les utilisateurs et mécaniciens.
Familiarisez-vous avec le maniement correct du matériel, les commandes et les symboles de sécurité.
Apprenez à arrêter la machine et le moteur rapidement.
Vérifiez toujours que les commandes de présence de l'utilisateur, les contacteurs de sécurité et les capots de protection sont en place et fonctionnent correctement. N'utilisez pas la machine s'ils ne fonctionnent pas correctement.
Avant de tondre, vérifiez toujours que les lames, les boulons de lame et les ensembles de coupe sont en bon état de marche. Remplacez les boulons et les lames usés ou endommagés par paires pour ne pas modifier l'équilibre.
Inspectez la zone de travail et débarrassez-la de tout objet pouvant être projeté par la machine.
Faites preuve de la plus grande prudence quand vous manipulez du carburant, en raison de son inflammabilité et du risque d'explosion des vapeurs qu'il dégage.
Éteignez cigarettes, cigares, pipes et autres sources d'étincelles.
Utilisez exclusivement un bidon à carburant homologué.
N'enlevez jamais le bouchon du réservoir de carburant et n'ajoutez jamais de carburant quand le moteur tourne ou est encore chaud.
Ne faites jamais le plein de carburant dans un local fermé.
Ne remisez jamais la machine ni les bidons de carburant à proximité d'une flamme nue, d'une source d'étincelles ou d'une veilleuse, telle celle d'un chauffe-eau ou autre appareil.
Si vous renversez du carburant, ne mettez pas le moteur en marche. Évitez toute source possible d'inflammation jusqu'à dissipation complète des vapeurs de carburant.
Lisez attentivement toutes les consignes de sécurité et la signification des symboles au chapitre Sécurité. Tenez-en compte pour éviter de vous blesser ou de blesser des personnes à proximité.
La machine peut déraper si vous l'utilisez sur l'herbe humide ou les pentes raides, et vous risquez d'en perdre le contrôle.
Le dépassement des roues au-dessus d'une dénivellation peut entraîner le renversement de la machine et provoquer des blessures graves ou mortelles (noyade, etc.).
Lisez et respectez les instructions et les mises en garde relatives à la protection antiretournement.
Pour éviter de perdre le contrôle de la machine et de vous retourner :
N'utilisez pas la machine à proximité de dénivellations ou d'étendues d'eau.
N'utilisez pas la machine sur des pentes supérieure à celles spécifiées pour le modèle de votre machine.
Ralentissez et procédez avec la plus grande prudence sur les pentes.
Ne changez pas soudainement de direction ou de vitesse.
Cette machine produit des niveaux sonores qui peuvent entraîner des déficiences auditives en cas d'exposition prolongée.
Portez des protecteurs d'oreilles quand vous utilisez la machine.

| Périodicité d'entretien | Procédure d'entretien |
|---|---|
| À chaque utilisation ou une fois par jour |
|
Le moteur est expédié avec de l'huile dans le carter. Vérifiez toutefois le niveau d'huile avant et après le premier démarrage du moteur.
La capacité approximative du carter moteur avec filtre est de 9,5 litres.
Utilisez une huile moteur de qualité qui répond aux spécifications suivantes :
Classification API requise : CH-4, CI-4 ou mieux.
Huile préférée : SAE 15W-40 (au-dessus de -18 ºC)
Autre huile possible : SAE 10W-30 ou 5W-30 (toutes températures)
Note: L'huile moteur Toro Premium est en vente chez votre distributeur avec la viscosité 15W-40 ou 10W-30. Consultez le catalogue de pièces pour les numéros de référence.
Note: Le meilleur moment pour vérifier le niveau d'huile moteur est en début de journée, quand le moteur est froid avant sa mise en marche. Si le moteur a déjà tourné, attendez au moins 10 minutes que l'huile retourne dans le carter avant de contrôler le niveau. Si le niveau d'huile est à la même hauteur ou en dessous du repère minimum sur la jauge, faites l'appoint pour l'amener au repère maximum. Ne remplissez pas le carter moteur excessivement. Si le niveau d'huile se situe entre les repères maximum et minimum, il n'est pas nécessaire de faire l'appoint.
Garez la machine sur une surface plane et horizontale.
Déverrouillez les loquets du capot et ouvrez le capot (Figure 34).

Sortez la jauge, essuyez-la sur un chiffon propre, replacez-la dans le goulot de remplissage, puis ressortez-la.
Le niveau d'huile doit se situer dans la plage de sécurité (Figure 35).

Si le niveau d'huile ne se situe pas dans la plage de sécurité, enlevez le bouchon de remplissage (Figure 36) et faites l'appoint jusqu'à ce que le niveau correct soit atteint.
Important: Ne remplissez pas le carter moteur excessivement.

Note: Si vous utilisez une huile différente, vidangez complètement le carter moteur avant de refaire le plein.
Remettez le bouchon de remplissage et la jauge en place.
Refermez et verrouillez le capot.
| Périodicité d'entretien | Procédure d'entretien |
|---|---|
| À chaque utilisation ou une fois par jour |
|
Contrôlez le niveau de liquide de refroidissement au début de chaque journée de travail. Le circuit de refroidissement a une capacité de 12,3 litres.
Enlevez le bouchon de radiateur avec précaution.
Si le moteur vient de tourner, le liquide de refroidissement sous pression peut s'échapper et vous brûler.
N'enlevez pas le bouchon du radiateur si le moteur tourne.
Servez-vous d'un chiffon pour ouvrir le bouchon du radiateur et desserrez-le lentement pour laisser la vapeur s'échapper.

Vérifiez le niveau du liquide de refroidissement dans le radiateur.
Note: Le radiateur doit être rempli jusqu'en haut du goulot de remplissage et le vase d'expansion jusqu'au repère maximum (Figure 37).
Si le niveau du liquide de refroidissement est trop bas, ajoutez un mélange 50/50 d'eau et d'antigel à l'éthylène glycol.
Note: N'utilisez pas seulement de l'eau pure ou des liquides de refroidissement à base d'alcool ou de méthanol.
Remettez en place les bouchons du radiateur et du vase d'expansion.
Capacité du réservoir de carburant : 83 l
Utilisez uniquement du gazole propre et neuf à très faible (<15 ppm) teneur en soufre, répondant aux exigences de la norme ASTM D975 ou EN 590. L'indice minimum de cétane doit être de 40. Pour garantir la fraîcheur du carburant, n'achetez pas plus que la quantité normalement consommée en 6 mois.
Important: L'utilisation de carburant qui n'est pas à très faible teneur en soufre endommagera le système antipollution du moteur.
Utilisez du gazole de qualité été (nº 2-D) si la température ambiante est supérieure à -7 ºC et du gazole de qualité hiver (nº 1-D ou mélange nº 1-D/2-D) si la température ambiante est inférieure à -7 ºC. L'usage de carburant de qualité hiver à basses températures réduit le point d'éclair et les caractéristiques d'écoulement à froid, ce qui facilite le démarrage et réduit le colmatage du filtre à carburant.
L'usage de carburant de qualité été au-dessus de -7 ºC contribue à prolonger la vie de la pompe à carburant et augmente la puissance comparé au carburant de qualité hiver.
Important: N'utilisez pas de kérosène ou d'essence à la place du gazole, sous peine d'endommager le moteur.
Cette machine peut aussi utiliser un mélange carburant et biodiesel jusqu'à B20 (20 % biodiesel, 80 % pétrodiesel). La partie pétrodiesel doit être à faible ou très faible teneur en soufre. Prenez les précautions suivantes :
La partie biodiesel du carburant doit être conforme à la norme ASTM D6751 ou EN 14214.
Le mélange de carburant doit être conforme à la norme ASTM D975 ou EN590.
Les surfaces peintes peuvent être endommagées par les mélanges biodiesel.
Utilisez du B5 (teneur en biodiesel de 5 %) ou un mélange de plus faible teneur par temps froid.
Examinez régulièrement les joints et flexibles qui sont en contact avec le carburant, car ils peuvent se détériorer avec le temps.
Le filtre à carburant peut se colmater pendant quelque temps après l'adoption de mélanges au biodiesel.
Pour tout renseignement complémentaire sur le biodiesel, veuillez contacter votre concessionnaire.
Le carburant est toxique et même mortel en cas d'ingestion. L'exposition prolongée aux vapeurs de carburant peut causer des blessures et des maladies graves.
Évitez de respirer les vapeurs de carburant de façon prolongée.
N'approchez pas le visage du pistolet ni de l'ouverture du réservoir de carburant ou de conditionneur.
N'approchez pas le carburant des yeux et de la peau.
Dans certaines circonstances, le carburant est extrêmement inflammable et hautement explosif. Un incendie ou une explosion causé(e) par du carburant peut vous brûler, ainsi que les personnes se tenant à proximité, et causer des dommages matériels.
Faites le plein du réservoir de carburant à l'extérieur, dans un endroit bien dégagé, lorsque le moteur est froid. Essuyez tout carburant répandu.
Ne faites jamais le plein du réservoir de carburant à l'intérieur d'une remorque fermée.
Ne fumez jamais en manipulant du carburant et tenez-vous à l'écart des flammes nues ou sources d'étincelles qui pourraient enflammer les vapeurs de carburant.
Conservez le carburant dans un récipient homologué et hors de la portée des enfants. N'achetez et ne stockez jamais plus que la quantité de carburant consommée en 6 mois.
N'utilisez pas la machine si elle n'est pas équipée du système d'échappement complet et en bon état de marche.
Dans certaines circonstances, de l'électricité statique peut se former lors du remplissage, produire une étincelle et enflammer les vapeurs de carburant. Un incendie ou une explosion causé(e) par du carburant peut vous brûler, ainsi que les personnes se tenant à proximité, et causer des dommages matériels.
Posez toujours les bidons de carburant sur le sol, à l'écart du véhicule, avant de les remplir.
Ne remplissez pas de bidons de carburant à l'intérieur d'un véhicule ou sur le plateau d'une remorque, car la moquette intérieure ou le revêtement en matière plastique de la caisse risque d'isoler le bidon et de freiner l'élimination de l'électricité statique éventuellement produite.
Dans la mesure du possible, descendez la machine du véhicule ou de la remorque et posez-la à terre avant de remplir le réservoir de carburant.
Si ce n'est pas possible, laissez la machine dans le véhicule ou sur la remorque, mais remplissez le réservoir à l'aide d'un bidon, et non directement à la pompe.
En cas de remplissage à la pompe, maintenez le pistolet en contact avec le bord du réservoir ou du bidon, jusqu'à ce que le remplissage soit terminé.
Garez la machine sur une surface plane et horizontale.
Nettoyez la surface autour du bouchon du réservoir de carburant avec un chiffon propre.
Retirez le bouchon du réservoir de carburant (Figure 38).

Versez du gazole dans le réservoir jusqu'à ce que le liquide atteigne la base du goulot de remplissage.
Revissez solidement le bouchon du réservoir après avoir fait le plein.
Note: Dans la mesure du possible, faites le plein de carburant après chaque utilisation. Cela minimisera la formation éventuelle de condensation à l'intérieur du réservoir.
| Périodicité d'entretien | Procédure d'entretien |
|---|---|
| À chaque utilisation ou une fois par jour |
|
Le réservoir est rempli en usine d'environ 28 litres de liquide hydraulique de haute qualité. Contrôlez néanmoins le niveau de liquide hydraulique avant le tout premier démarrage du moteur, puis tous les jours.
Le liquide de remplacement recommandé est le liquide hydraulique Toro Premium All Season Hydraulic Fluid (disponible en bidons de 19 l ou en barils de 208 l. Voir le catalogue de pièces ou un distributeur Toro pour les numéros de référence).
Autres liquides : si vous ne disposez pas de liquide de marque Toro, vous pouvez utiliser d'autres liquides traditionnels à base de pétrole à conditions qu'ils répondent aux propriétés physiques et aux spécifications de l'industrie suivantes. Vérifiez auprès de votre fournisseur que le liquide utilisé est conforme à ces spécifications.
Note: Toro décline toute responsabilité en cas de dommage causé par l'utilisation d'huiles de remplacement inadéquates. Utilisez uniquement des produits provenant de fabricants réputés qui répondent de leur recommandation.
| Liquide hydraulique à indice de viscosité élevé/point d'écoulement bas, ISO VG 46 Multigrade | |||
| Propriétés physiques : | |||
| Viscosité, ASTM D445 | 44 à 48 cSt à 40 °C7,9 à 9,1 cSt à 100 °C | ||
| Indice de viscosité ASTM D2270 | 140 ou mieux (un indice de viscosité élevé indique un liquide de type multipoids) | ||
| Point d'écoulement, ASTM D97 | -37 ºC à 45 ºC | ||
| FZG, étape de défaillance | 11 ou mieux | ||
| Teneur en eau (liquide neuf) | 500 ppm (maximum) | ||
| Spécifications de l'industrie : | |||
| Vickers I-286-S, Vickers M-2950-S, Denison HF-0, Vickers 35 VQ 25 (Eaton ATS373-C) | |||
Les liquides hydrauliques corrects sont ceux spécifiés pour machines mobiles (par opposition à l'usage industriel), de type multi-poids, avec additif anti-usure ZnDTP ou ZDDP (pas un liquide sans cendre).
Important: L'huile multigrade ISO VG 46 offre des performances optimales dans une large gamme de températures. À des températures ambiantes toujours très élevées (18 à 49 ºC), le liquide hydraulique ISO VG 68 peut améliorer les performances.
Liquide hydraulique Premium biodégradable Mobil EAL EnviroSyn 46H
Important: Le liquide Mobil EAL EnviroSyn 46H est le seul liquide biodégradable synthétique agréé par Toro. Il est compatible avec les élastomères utilisés dans les systèmes hydrauliques Toro et convient pour de larges plages de températures. Ce liquide est compatible avec les liquides classiques ; toutefois vous devrez rincer soigneusement le système hydraulique pour le débarrasser du liquide classique afin d'optimiser sa biodégradabilité et ses performances. Ce liquide est disponible en bidons de 19 litres ou en barils de 208 litres chez votre distributeur Mobil.
Important: De nombreux liquides hydrauliques sont presque incolores, ce qui rend difficile la détection des fuites. Un additif colorant rouge pour liquide hydraulique est disponible en bouteilles de 20 ml. Une bouteille suffit pour 15 à 22 litres de liquide hydraulique. Vous pouvez commander ces bouteilles chez les distributeurs Toro agréés (réf. 44-2500).
Placez la machine sur une surface plane et horizontale, abaissez les unités de coupe, coupez le moteur et enlevez la clé de contact.
Nettoyez la surface autour du goulot et du bouchon de remplissage du réservoir hydraulique (Figure 39).

Enlevez le bouchon du goulot de remplissage
Dévissez la jauge du goulot de remplissage et essuyez-la sur un chiffon propre.
Remettez la jauge dans le goulot de remplissage, ressortez-la et contrôlez le niveau de liquide.
Note: Il doit se situer entre les 2 repères sur la jauge.
Si le niveau est trop bas, ajoutez suffisamment d'huile pour atteindre le repère supérieur.
Remettez la jauge dans le goulot et revissez le bouchon en place.
| Périodicité d'entretien | Procédure d'entretien |
|---|---|
| À chaque utilisation ou une fois par jour |
|
Les pneus sont surgonflés pour l'expédition. Il faut donc les dégonfler légèrement avant l'utilisation. Les pneus doivent être gonflés à une pression de 0,83 à 1,03 bar. Vérifiez la pression de gonflage des pneus chaque jour.
Important: Les pneus doivent être uniformément gonflés à la pression préconisée pour garantir de bons résultats et de bonnes performances. Veillez à toujours utiliser une pression de gonflage suffisante.
Le propriétaire/l'utilisateur est responsable des accidents pouvant entraîner des dommages corporels ou matériels et peut les prévenir.
Portez des vêtements appropriés, y compris une protection oculaire, des chaussures solides à semelle antidérapante et des protecteurs d'oreilles. Attachez les cheveux longs et ne portez pas de bijoux.
N'utilisez pas la machine si vous êtes fatigué, malade ou sous l'emprise de l'alcool, de drogues ou de médicaments.
Ne transportez jamais de passagers sur la machine et tenez tout le monde, y compris les animaux, à l'écart de la machine pendant le travail.
N'utilisez la machine que si la visibilité est bonne pour éviter les trous ou autres dangers cachés.
Ne tondez pas l'herbe humide. La perte de motricité peut faire déraper la machine.
Avant de mettre le moteur en marche, assurez-vous que tous les embrayages sont au point mort, que le frein de stationnement est serré et que vous êtes au poste d'utilisation.
N'approchez pas les pieds ni les mains des unités de coupe. Ne vous tenez jamais devant l'ouverture d'éjection.
Avant de faire marche arrière, vérifiez que la voie est libre juste derrière la machine et sur sa trajectoire.
Soyez prudent à l'approche de tournants sans visibilité, de buissons, d'arbres ou d'autres objets susceptibles de vous masquer la vue.
Ne tondez pas à proximité de fortes dénivellations, fossés ou berges. La machine pourrait se retourner brusquement si une roue passe par-dessus une dénivellation quelconque et se retrouve dans le vide, ou si un bord s'effondre.
Arrêtez les unités de coupe quand vous ne tondez pas.
Arrêtez la machine et vérifiez l'état des unités de coupe si vous heurtez un obstacle ou si la machine vibre de manière inhabituelle. Effectuez toutes les réparations nécessaires avant de réutiliser la machine.
Ralentissez et faites preuve de prudence quand vous changez de direction, ainsi que pour traverser des routes et des trottoirs avec la machine. Cédez toujours le passage.
Débrayez l'unité de coupe et coupez le moteur avant de régler la hauteur de coupe (à moins de pouvoir le faire depuis le poste de conduite).
Ne faites jamais tourner le moteur dans un local ne permettant pas d'évacuer les gaz d'échappement.
Ne laissez jamais la machine en marche sans surveillance.
Avant de quitter le poste d'utilisation (y compris pour vider les bacs de ramassage ou pour déboucher la goulotte), effectuez la procédure suivante :
Garez la machine sur une surface plane et horizontale.
Désengagez la prise de force et abaissez les accessoires.
Serrez le frein de stationnement.
Coupez le moteur et enlevez la clé.
Attendez l'arrêt complet de toutes les pièces mobiles.
N'utilisez pas la machine s'il y a risque d'orage.
N'utilisez pas la machine comme véhicule tracteur.
Utilisez uniquement les accessoires, équipements et pièces de rechange agréés par The Toro® Company.
Ne retirez pas le système ROPS de la machine.
Attachez bien la ceinture de sécurité et apprenez à la détacher rapidement en cas d'urgence.
Vérifiez soigneusement où se trouvent les obstacles en hauteur et ne les touchez pas.
Maintenez le système ROPS en bon état en vérifiant minutieusement et régulièrement s'il est endommagé et en maintenant toutes les fixations bien serrées.
Remplacez le système ROPS s'il est endommagé. Ne le réparez pas et ne le modifiez pas.
Attachez toujours la ceinture de sécurité quand l'arceau de sécurité est déployé.
Le système ROPS est un dispositif de sécurité intégré. Maintenez l'arceau de sécurité déployé et bloqué dans cette position, et attachez la ceinture de sécurité quand vous conduisez la machine avec l'arceau de sécurité déployé.
N'abaissez l'arceau de sécurité que momentanément et seulement en cas d'absolue nécessité. N'attachez pas la ceinture de sécurité lorsque l'arceau de sécurité est abaissé.
N'oubliez pas que la protection antiretournement est inexistante lorsque l'arceau de sécurité est abaissé.
Examinez la zone de travail à l'avance et n'abaissez jamais l'arceau de sécurité repliable lorsque vous vous trouvez sur une pente, près de fortes dénivellations ou d'étendues d'eau.
Établissez vos propres procédures et règles de travail à appliquer sur les pentes. Ces procédures doivent inclure un repérage et une étude du site pour déterminer quelles pentes permettent une utilisation sécuritaire de la machine. Faites toujours preuve de bon sens et de discernement quand vous réalisez cette étude.
Les pentes augmentent significativement les risques de perte de contrôle et de basculement de la machine pouvant entraîner des accidents graves, voire mortels. L'utilisation de la machine sur une pente, quelle qu'elle soit, demande une attention particulière.
Réduisez la vitesse de la machine quand vous la conduisez sur une pente.
Ne travaillez pas sur les pentes sur lesquelles vous ne vous sentez pas à l'aise.
Méfiez-vous des trous, ornières, bosses, rochers ou autres obstacles cachés. Les irrégularités du terrain risquent de provoquer le retournement de la machine. L'herbe haute peut masquer les accidents du terrain.
Choisissez une vitesse réduite pour ne pas avoir à vous arrêter ou changer de vitesse sur une pente.
La machine peut se retourner avant que les roues ne perdent leur motricité.
Évitez d'utiliser la machine sur herbe humide. Les roues peuvent perdre de leur motricité, même si les freins sont disponibles et opérationnels.
Évitez de démarrer, de vous arrêter ou de tourner sur une pente.
Déplacez-vous à vitesse réduite et progressivement sur les pentes. Ne changez pas brusquement de vitesse ou de direction.
N'utilisez pas la machine près de dénivellations, fossés, berges ou étendues d'eau. La machine pourrait se retourner brusquement si une roue passe par-dessus une dénivellation quelconque et se retrouve dans le vide, ou si un bord s'effondre. Établissez une zone de sécurité entre la machine et tout danger potentiel (2 largeurs de machine).
Important: Purgez le système d'alimentation dans les cas suivants :
Après un arrêt du moteur dû à une panne de carburant.
Après l'entretien des composants du circuit d'alimentation.
Enlevez le pied de la pédale de déplacement et vérifiez qu'elle revient à la position NEUTRE.
Note: Vérifiez que le frein de stationnement est serré.
Placez la commande d'accélérateur en position de RALENTI.
Tournez la clé en position CONTACT.
Note: Le témoin de préchauffage s'allume.
Quand le témoin s'éteint, tournez la clé en position DéMARRAGE.
Relâchez la clé dès que le moteur démarre et laissez-la revenir en position CONTACT.
Réglage du régime moteur
Important: Pour éviter de provoquer une défaillance prématurée du démarreur, ne l'actionnez pas plus de 15 secondes de suite. Si le moteur refuse de démarrer après 15 secondes, tournez la clé en position ARRêT, vérifiez de nouveau les commandes et les procédures, attendez encore 15 secondes et répétez la procédure de démarrage.
Si la température est inférieure à -7 ºC, vous pouvez faire 2 autres tentatives espacées de 60 secondes en actionnant le démarreur pendant 30 secondes.
Le contact avec des pièces mobiles peut entraîner des blessures.
Coupez le moteur et attendez l'arrêt de toutes les pièces mobiles avant de rechercher des fuites d'huile, des pièces desserrées ou autres anomalies.
Important: Laissez tourner le moteur au ralenti pendant 5 minutes avant de l'arrêter s'il vient de fonctionner à pleine charge. Cela permet au turbocompresseur de refroidir avant l'arrêt du moteur. Vous éviterez ainsi d'endommager le turbocompresseur.
Note: Abaissez les unités de coupe au sol chaque fois que vous garez la machine. Cela soulage le système de la charge hydraulique, prévient l'usure des pièces du système et évite l'abaissement accidentel des unités de coupe.
Rétablissez le régime de ralenti du moteur.
Placez la commande de PDF en position DéSENGAGéE.
Serrez le frein de stationnement.
Tournez la clé de contact en position ARRêT.
Enlevez la clé du commutateur pour éviter tout démarrage accidentel.
Vous pouvez régler la compensation des bras de levage des unités de coupe arrière pour tenir compte des variations de l'état de la pelouse, et pour maintenir l'uniformité de la hauteur de coupe sur les terrains irréguliers ou dans les zones où le chaume a tendance à s'accumuler.
Vous pouvez régler chaque ressort de compensation à l'une de 4 positions. Chaque position augmente ou diminue la compensation sur chaque unité de coupe de 2,3 kg. Vous pouvez placer les ressorts à l'arrière de l'actionneur de ressort pour supprimer complètement la compensation (quatrième position).
Placez la machine sur une surface plane et horizontale, abaissez les unités de coupe, arrêtez le moteur, serrez le frein de stationnement et enlevez la clé du commutateur d'allumage.
Insérez un tube ou un objet similaire sur l'extrémité longue du ressort pour détendre le ressort pendant le réglage (Figure 40).
Les ressorts sont tendus et peuvent causer des blessures.
Réglez les ressorts avec la plus grande prudence.
Tout en détendant le ressort, retirez le boulon et le contre-écrou de fixation de l'actionneur de ressort au support (Figure 40).

Placez l'actionneur de ressort dans le trou approprié et fixez-le avec le contre-écrou.
Procédez de même pour l'autre ressort.
Placez la machine sur une surface plane et horizontale, abaissez les unités de coupe, arrêtez le moteur, serrez le frein de stationnement et enlevez la clé du commutateur d'allumage.
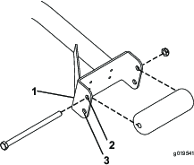
Le contacteur des bras de relevage se trouve derrière le bras de relevage avant droit (Figure 41).

Desserrez les vis de fixation du contacteur (Figure 41) et montez le contacteur pour augmenter la hauteur du changement de direction des bras de levage ou abaissez-le pour réduire la hauteur du changement de direction.
Serrez les vis de fixation.
Vous pouvez replier le cadre du ROPS pour permettre le passage de la machine dans des zones à hauteur limitée.
La machine ne bénéficie pas de la protection antiretournement lorsque l'arceau de sécurité est abaissé ; le système ROPS est alors inefficace.
N'attachez pas la ceinture de sécurité lorsque l'arceau de sécurité est abaissé.
Garez la machine sur une surface plane et horizontale, coupez le moteur, serrez le frein de stationnement et enlevez la clé de contact.
Soutenez le poids du cadre supérieur pendant que vous enlevez les goupilles de verrouillage et les axes de chape des supports de pivot (Figure 42).
Abaissez le cadre avec précaution jusqu'à ce qu'il repose sur les butées.
Insérez les axes de chape dans les trous inférieurs et fixez-les avec les goupilles de verrouillage pour soutenir le cadre supérieur en position abaissée.
Pour élever le cadre, suivez ces instructions dans l'ordre inverse.

Le système de protection antiretournement (ROPS) peut être inefficace si les boulons de fixation sont desserrés ; des blessures graves ou mortelles sont alors possible en cas de retournement de la machine.
En position relevée, les deux boulons de retenue doivent être en place et serrés à fond pour assurer une protection complète en cas de retournement.
Lorsque vous abaissez et élevez le cadre du ROPS, vous pouvez vous pincer les doigts entre la machine et le ROPS.
Abaissez et relevez le ROPS avec prudence pour éviter de vous coincer les doigts entre la partie fixe et la partie pivotante de la structure.
Maintenez tous les écrous, boulons et vis correctement serrés pour garantir l'utilisation sûre de la machine.
Remplacez les pièces usées ou endommagées pour éviter les accidents.
Vérifiez le bon état de la ceinture de sécurité et de ses fixations.
Attachez la ceinture de sécurité quand l'arceau de sécurité est relevé ; ne l'utilisez pas quand l'arceau est abaissé.
Important: L'arceau de sécurité est un dispositif de sécurité intégré. Gardez l'arceau de sécurité relevé quand vous utilisez la tondeuse. N'abaissez momentanément l'arceau de sécurité qu'en cas d'absolue nécessité.
| Périodicité d'entretien | Procédure d'entretien |
|---|---|
| À chaque utilisation ou une fois par jour |
|
Si les contacteurs de sécurité sont déconnectés ou endommagés, la machine peut se mettre en marche inopinément et causer des blessures.
Ne modifiez pas abusivement les contacteurs de sécurité.
Vérifiez chaque jour le fonctionnement des contacteurs de sécurité et remplacez ceux qui sont endommagés avant d'utiliser la machine.
Le circuit électrique de la machine comprend des contacteurs de sécurité. Le rôle des contacteurs de sécurité est d'arrêter le moteur si l'utilisateur quitte le siège alors que la pédale de déplacement est enfoncée. Il est cependant possible de quitter le siège en laissant le moteur en marche si la pédale de déplacement est à la position neutre. Bien que le moteur continue de tourner quand la prise de force est désengagée et la pédale de déplacement est relâchée, il est fortement recommandé d'arrêter le moteur avant de quitter le siège.
Pour contrôler le fonctionnement des contacteurs de sécurité, procédez comme suit :
Conduisez la machine lentement jusqu'à un endroit dégagé et suffisamment grand.
Abaissez les unités de coupe au sol, coupez le moteur et serrez le frein de stationnement.
Asseyez-vous sur le siège et enfoncez la pédale de déplacement.
Essayez de mettre le moteur en marche.
Note: Le démarreur ne doit pas fonctionner. S'il fonctionne, cela signifie que le système de sécurité est défaillant ; vous devez le réparer avant d'utiliser la machine.
Asseyez-vous sur le siège et mettez le moteur en marche.
Soulevez-vous du siège et amenez la commande PDF en position engagée.
Note: La PDF ne doit pas s'engager. Si elle s'engage, cela signifie que le système de sécurité est défaillant ; vous devez alors le réparer avant d'utiliser la machine.
Asseyez-vous sur le siège, serrez le frein de stationnement et démarrez le moteur.
Sortez la pédale de déplacement de la position NEUTRE.
Note: Le moteur devrait s'arrêter. S'il continue de tourner, cela signifie que le système de sécurité est défaillant. Il faut alors le réparer avant d'utiliser la machine.
Pour éviter les risques d'incendie, enlevez les débris d'herbe coupée et autres agglomérés sur les unités de coupe, les silencieux et le moteur. Nettoyez les coulées éventuelles d'huile ou de carburant.
Si les unités de coupe sont en position de transport, utilisez le système de blocage mécanique positif (le cas échéant) avant de laisser la machine sans surveillance.
Laissez refroidir le moteur avant de ranger la machine dans un local fermé.
Fermez le robinet d'arrivée de carburant avant de remiser ou de transporter la machine.
Ne remisez jamais la machine ni les bidons de carburant à proximité d'une flamme nue, d'une source d'étincelles ou d'une veilleuse, telle celle d'un chauffe-eau ou d'autres appareils.
Maintenez toutes les pièces de la machine en bon état de marche et toutes les fixations bien serrées, surtout celles des lames.
Remplacez tous les autocollants usés ou endommagés.
En cas d'urgence, vous pouvez pousser ou de remorquer la machine en actionnant la vanne de dérivation de la pompe hydraulique à cylindrée variable et en branchant un flexible hydraulique pour contourner le clapet de antiretour.
Important: Ne poussez pas et ne remorquez pas la machine à plus de 3 à 4,8 km/h ou sur plus de 400 m, au risque d'endommager les organes internes de la transmission. La vanne de dérivation doit être ouverte chaque fois que vous poussez ou remorquez la machine. Vous devez aussi brancher un flexible hydraulique pour contourner le clapet de antiretour chaque fois que vous poussez ou remorquez la machine.
S'il s'avère nécessaire de pousser ou de remorquer la machine, vous devrez probablement le faire en marche avant et en marche arrière. Pour ne pas endommager la transmission en poussant ou remorquant la machine, il est préférable de préparer la machine pour la poussée et le remorquage en marche avant et en marche arrière.
Important: S'il s'avère nécessaire de pousser ou de remorquer la machine en marche arrière, vous devez d'abord mettre en dérivation le clapet antiretour du collecteur de la transmission à 4 roues motrices.
Les pièces Toro suivantes sont nécessaires pour contourner le clapet de antiretour.
Raccord de diagnostics (réf. Toro 59-7410)
Chapeau de raccord de diagnostic (réf. Toro 354-79)
Flexible hydraulique (réf. Toro 95-8843)
Coupleur (ref. Toro 95-0985) (2)
Raccord hydraulique (ref. Toro 340-77) (2)
Montez un raccord de diagnostic dans l'orifice non identifié situé entre les orifices M8 et P2 sur le collecteur de déplacement arrière (Figure 43).

Branchez un flexible hydraulique entre le raccord de diagnostic monté dans le collecteur de déplacement arrière et la prise d'essai de pression de déplacement en marche arrière (Figure 44).
Note: Utilisez les raccords hydrauliques et les coupleurs nécessaires pour monter le flexible.

Tournez la vanne de dérivation à 90° (un quart de tour) dans un sens ou dans l'autre pour l'ouvrir et faire dériver le liquide à l'intérieur (Figure 45).
Note: Comme le liquide contourne la transmission, vous pouvez déplacer la machine lentement sans endommager la transmission.Notez la position de la vanne quand vous l'ouvrez et la fermez.

Lorsque vous avez fini de pousser ou remorquer la machine, débranchez le flexible hydraulique que vous avez installé.
Placez le bouchon existant sur la prise d'essai de pression de déplacement en marche arrière.
Placez le chapeau du raccord de diagnostic sur le raccord que vous avez monté sur le collecteur.
Tournez la vanne de dérivation de 90° (un quart de tour) dans l'autre sens avant de démarrer le moteur.
Note: Ne serrez pas la vanne à un couple de plus de 7 à 11 N·m pour la fermer.
S'il s'avère nécessaire de pousser ou de remorquer la machine en marche avant seulement, il vous suffit de tourner la vanne de dérivation.
Important: S'il s'avère nécessaire de pousser ou de remorquer la machine en marche arrière, voir Préparation de la machine à la poussée ou au remorquage en marche arrière.
Ouvrez le capot et déposez le carénage central.
Tournez la vanne de dérivation à 90° (un quart de tour) dans un sens ou dans l'autre pour l'ouvrir et faire dériver le liquide à l'intérieur (Figure 45).
Note: Comme le liquide contourne la transmission, vous pouvez déplacer la machine lentement en marche avant sans endommager la transmission.Notez la position de la vanne quand vous l'ouvrez et la fermez.
Tournez la vanne de dérivation de 90° (un quart de tour) dans l'autre sens avant de démarrer le moteur.
Note: Ne serrez pas la vanne à un couple de plus de 7 à 11 N·m pour la fermer.
Utilisez des rampes d'une seule pièce pour charger la machine sur une remorque ou un camion.
Arrimez solidement la machine.
Les points de levage se trouvent aux emplacements suivants :
Sur le cadre à l'intérieur de chaque roue motrice à l'avant de la machine
Au centre du pont arrière à l'arrière de la machine.
Les points d'attache se trouvent aux emplacements suivants :
De chaque côté du cadre sous les marches avant
Sur le pare-chocs arrière
Entraînez-vous à l'utilisation de la machine, car elle est équipée d'une transmission hydrostatique et possède des caractéristiques très différentes de celles de nombreuses machines d'entretien des pelouses. Lors de l'utilisation du groupe de déplacement et des unités de coupe, tenez notamment compte de la transmission, du régime moteur, de la charge sur les lames et de l'importance des freins.
Pour maintenir une puissance suffisante pour la machine pendant l'utilisation, servez-vous de la pédale de déplacement pour maintenir un régime moteur élevé et relativement constant. En règle générale, il est préconisé de réduire la vitesse de déplacement lorsque la charge augmente sur les unités de coupe et de l'augmenter lorsque la charge diminue.
À cet effet, relâchez la pédale de déplacement quand le régime moteur diminue et enfoncez lentement la pédale quand le régime moteur augmente. Par comparaison, lorsque vous vous rendez d'une zone de travail à l'autre à vide et avec l'unité de coupe levée, placez la commande d'accélérateur en position Haut régime et appuyez lentement mais à fond sur la pédale de déplacement pour vous déplacer à la vitesse maximale.
Une autre caractéristique dont vous devez tenir compte est le fonctionnement des pédales reliées aux freins. Les freins peuvent faciliter le braquage de la machine. Vous devez cependant les utiliser avec prudence, particulièrement si l'herbe est tendre ou humide, car elle risque d'être arrachée accidentellement. Un autre avantage des freins est qu'ils maintiennent la motricité. Par exemple, il peut arriver que la roue en amont patine et perde de son pouvoir de traction. Dans ce cas, appuyez progressivement et par intermittence sur la pédale de frein d'amont, jusqu'à ce que la roue correspondante arrête de patiner, ce qui a pour effet d'augmenter la traction sur la roue en aval.
Soyez particulièrement prudents lorsque vous travaillez sur des terrains en pente. Vérifiez que le siège est correctement verrouillé, que l'arceau de sécurité est levé et bloqué en position, et bouclez la ceinture de sécurité. Conduisez lentement et évitez de prendre des virages serrés sur les pentes, pour ne pas retourner la machine.
Important: Laissez le moteur tourner au ralenti pendant 5 minutes avant de l'arrêter s'il vient de fonctionner à pleine charge. Cela permet au turbocompresseur de refroidir avant l'arrêt du moteur. Vous éviterez ainsi d'endommager le turbocompresseur.
Avant de couper le moteur, débrayez toutes les commandes et placez la commande d'accélérateur en position BAS RéGIME. La sélection de la position BAS RéGIME réduit le régime moteur, le bruit et les vibrations de la machine. Tournez la clé de contact en position ARRêT pour couper le moteur.
Avant de commencer à tondre, entraînez-vous à utiliser la machine dans un endroit dégagé. Démarrez et arrêtez le moteur. Conduisez la machine en marche avant et en marche arrière. Abaissez et levez les unités de coupe, et engagez et désengagez les cylindres. Après vous être familiarisé avec la machine, entraînez-vous à travailler à différentes vitesses en montée et en descente.
Si un témoin s'allume pendant le fonctionnement, arrêtez la machine immédiatement et corrigez le problème avant de poursuivre. La machine risque d'être gravement endommagée si vous l'utilisez alors qu'elle est défectueuse.
Mettez le moteur en marche et placez la commande de régime moteur en position HAUT RéGIME. Amenez le limiteur de vitesse de tonte en position de TONTE. Amenez la commande de PDF en position ENGAGéE et utilisez la commande de levage pour commander les unités de coupe (les unités de coupe avant sont programmées pour s'abaisser avant les unités arrière). Pour tondre en marche avant, appuyez sur la pédale de déplacement en marche avant.
Placez la commande de PDF en position DéSENGAGéE et levez les unités de coupe en position de transport. Amenez le limiteur de vitesse de tonte en position de transport. Lorsque vous passez entre deux obstacles, veillez à ne pas endommager la machine ou les unités de coupe accidentellement. Soyez particulièrement prudents lorsque vous travaillez sur des terrains en pente. Conduisez lentement et évitez de prendre des virages serrés sur les pentes, pour ne pas retourner la machine.
Note: Les côtés gauche et droit de la machine sont déterminés d'après la position d'utilisation normale.
| Périodicité d'entretien | Procédure d'entretien |
|---|---|
| Après les 8 premières heures de fonctionnement |
|
| Après les 200 premières heures de fonctionnement |
|
| À chaque utilisation ou une fois par jour |
|
| Toutes les 50 heures |
|
| Toutes les 100 heures |
|
| Toutes les 200 heures |
|
| Toutes les 250 heures |
|
| Toutes les 400 heures |
|
| Toutes les 800 heures |
|
| Avant le remisage |
|
Copiez cette page pour pouvoir vous en servir régulièrement.
| Entretiens à effectuer | Pour la semaine du : | ||||||
|---|---|---|---|---|---|---|---|
| Lun. | Mar. | Mer. | Jeu. | Ven. | Sam. | Dim. | |
| Vérifiez le fonctionnement du système de sécurité. | |||||||
| Vérifiez le fonctionnement des freins. | |||||||
| Contrôlez les niveaux d'huile moteur et de carburant. | |||||||
| Contrôlez le niveau de liquide de refroidissement. | |||||||
| Vidangez le séparateur d'eau/de carburant. | |||||||
| Contrôlez l'indicateur de colmatage du filtre à air. | |||||||
| Vérifiez la propreté du radiateur, du refroidisseur d'huile et de la grille. | |||||||
| Vérifiez les bruits anormaux en provenance du moteur.1 | |||||||
| Vérifiez les bruits de fonctionnement anormaux. | |||||||
| Contrôlez le niveau de liquide hydraulique. | |||||||
| Vérifiez l'état des flexibles hydrauliques. | |||||||
| Recherchez des fuites éventuelles. | |||||||
| Contrôlez la pression des pneus. | |||||||
| Vérifiez le fonctionnement des instruments. | |||||||
| Vérifiez le réglage cylindre/contre-lame. | |||||||
| Vérifiez le réglage de la hauteur de coupe. | |||||||
| Lubrifiez tous les graisseurs.2 | |||||||
| Retouchez les peintures endommagées. | |||||||
1. Contrôlez la bougie de préchauffage et les injecteurs en cas de démarrage difficile, de fumée excessive ou de fonctionnement irrégulier du moteur.
2. Immédiatement après chaque lavage, quelle que soit la fréquence d'entretien indiquée
| Contrôle effectué par : | ||
| Point contrôlé | Date | Information |
| 1 | ||
| 2 | ||
| 3 | ||
| 4 | ||
| 5 | ||
| 6 | ||
| 7 | ||
| 8 | ||
Important: Reportez-vous au Manuel du propriétaire du moteur et au Manuel de l'utilisateur de l'unité de coupe pour tout renseignement sur les procédures d'entretien complémentaires.
Note: Pour vous procurer un schéma électrique ou hydraulique pour votre machine, consultez le site www.Toro.com.

Si vous laissez la clé dans le commutateur d'allumage, quelqu'un pourrait mettre le moteur en marche accidentellement et vous blesser gravement, ainsi que toute personne à proximité.
Avant tout entretien, retirez la clé de contact.
Avant de régler, nettoyer, réparer ou quitter la machine, effectuez la procédure suivante :
Garez la machine sur une surface plane et horizontale.
Placez la commande d'accélérateur en position de ralenti.
Débrayez les unités de coupe.
Abaissement des unités de coupe
Vérifiez que la pédale de déplacement est en position neutre.
Serrez le frein de stationnement.
Coupez le moteur et enlevez la clé.
Attendez l'arrêt complet de toutes les pièces mobiles.
Laissez refroidir les composants de la machine avant d'effectuer toute opération d'entretien.
Si les unités de coupe sont en position de transport, utilisez le système de blocage mécanique positif (le cas échéant) avant de laisser la machine sans surveillance.
Si possible, n'effectuez aucun entretien quand le moteur est en marche. Ne vous approchez pas des pièces mobiles.
Utilisez des chandelles pour soutenir la machine ou ses composants au besoin.
Libérez la pression emmagasinée dans les composants avec précaution.
Ouvrez les loquets (Figure 47) du capot et faites pivoter celui-ci pour l'ouvrir.

Retirez les goupilles fendues qui fixent les supports arrière du capot aux ergots du cadre, et soulevez le capot.
| Périodicité d'entretien | Procédure d'entretien |
|---|---|
| Toutes les 50 heures |
|
Les graisseurs de la machine doivent être lubrifiés régulièrement avec de la graisse au lithium nº 2. Si les conditions de travail sont normales, lubrifiez tous les roulements et toutes les bagues toutes les 50 heures de fonctionnement ou immédiatement après chaque lavage.
Emplacements et nombre de graisseurs :
Roulements d'axes de pivots de freins (5) (Figure 48)

Bagues de pivot de pont arrière (2) (Figure 49).

Rotules de vérin de direction (2) (Figure 50)

Rotules de biellettes (2) (Figure 50)
Bagues de pivots de fusées (2) (Figure 50). Le graisseur supérieur du pivot de fusée ne doit être lubrifié qu'une fois par an (2 injections de graisse).
Bagues de bras de levage (1 par unité de coupe) (Figure 51)

Bagues de vérin de levage (2 par unité de coupe) (Figure 51)
Bagues de pivot de bras de levage (1 par unité de coupe) (Figure 52)
Bâti porteur d'unité de coupe (2 par unité de coupe) (Figure 52)
Pivot de bras de levage d'unité de coupe (1 par unité de coupe) (Figure 52)

Coupez le moteur avant de contrôler le niveau d'huile ou d'ajouter de l'huile dans le carter.
Ne modifiez pas le réglage du régulateur et ne faites pas tourner le moteur à un régime excessif.
| Périodicité d'entretien | Procédure d'entretien |
|---|---|
| Toutes les 400 heures |
|
Vérifiez si le boîtier du filtre à air présente des dommages susceptibles d'occasionner des fuites d'air. Remplacez-le s'il est endommagé. Vérifiez que le système d'admission ne présente pas de fuites, de dommages ou de colliers de flexible desserrés.
Faites l'entretien du filtre à air uniquement quand l'indicateur de colmatage (Figure 53) indique que cela est nécessaire. Changer le filtre à air prématurément ne fait qu'accroître le risque de contamination du moteur par des impuretés quand le filtre est déposé.

Important: Le couvercle doit être parfaitement ajusté sur le boîtier du filtre à air.
Garez la machine sur une surface plane et horizontale, abaissez les unités de coupe, serrez le frein de stationnement, coupez le moteur et enlevez la clé.
Tirez le verrou vers l'extérieur et tournez le couvercle du filtre à air dans le sens antihoraire (Figure 54).

Déposez le couvercle du boîtier du filtre à air.
Avant de déposer le filtre, utilisez de l'air comprimé à basse pression (2,76 bar) propre et sec pour éliminer toute accumulation importante de débris entre l'extérieur du préfiltre et la cartouche. N'utilisez pas d'air sous haute pression car il pourrait forcer des impuretés à travers le filtre et dans le canal d'admission.
Cette procédure de nettoyage évite de déplacer des débris dans l'admission lors de la dépose du préfiltre.
Déposez et remplacez le préfiltre (Figure 55).
Il est déconseillé de nettoyer les éléments usagés car cela risque d'endommager le matériau du filtre. Vérifiez que l'élément de rechange n'a pas été endommagé pendant le transport. Vérifiez l'extrémité d'étanchéité du filtre et du boîtier. N'utilisez pas l'élément s'il est endommagé.
Insérez l'élément de rechange en appuyant sur le bord extérieur pour l'engager dans la cartouche. N'appuyez pas sur la partie centrale flexible du filtre.

Important: N'essayez jamais de nettoyer l'élément de sécurité (Figure 56). Remplacez-le une fois sur trois, quand vous effectuez l'entretien du préfiltre.

Nettoyez l'orifice d'éjection d'impuretés situé dans le couvercle amovible.
Retirez la valve de sortie en caoutchouc du couvercle, nettoyez la cavité et remettez la valve en place.
Montez le couvercle en dirigeant la valve de sortie en caoutchouc vers le bas, entre les positions 5:00 et 7:00 heures environ vu de l'extrémité.
Réarmez l'indicateur de colmatage (Figure 53) s'il est rouge.
| Périodicité d'entretien | Procédure d'entretien |
|---|---|
| Toutes les 250 heures |
|
Garez la machine sur une surface plane et horizontale, abaissez les unités de coupe, serrez le frein de stationnement, coupez le moteur et enlevez la clé.
Retirez le bouchon de vidange (Figure 57) et laissez couler l'huile dans un bac de vidange.

Remettez le bouchon de vidange en place lorsque la vidange est terminée.
Déposez le filtre à huile (Figure 58).

Appliquez une fine couche d'huile propre sur le joint du filtre de rechange avant de le mettre en place.
Note: Ne serrez pas le filtre excessivement.
Rajoutez de l'huile dans le carter moteur ; voir Contrôle du niveau d'huile moteur.
Réglez le câble d'accélérateur (Figure 59) de sorte que le levier du régulateur sur le moteur touche le boulon de réglage de haut régime en même temps que la commande d'accélérateur touche l'extrémité de la fente dans le bras de commande.

Dans certaines conditions, le gazole et les vapeurs qu'il dégage sont extrêmement inflammables et explosifs. Un incendie ou une explosion causé(e) par du carburant peut vous brûler, ainsi que d'autres personnes, et causer des dommages matériels.
Faites le plein du réservoir à l'extérieur, dans un endroit bien dégagé, moteur arrêté et froid. Essuyez tout carburant répandu.
Ne remplissez pas complètement le réservoir de carburant. Remplissez le réservoir de carburant jusqu'à 25 mm au-dessous du haut du réservoir, pas du goulot de remplissage. L'espace au-dessus doit rester vide pour permettre au carburant de se dilater.
Ne fumez jamais en manipulant du carburant et tenez-vous à l'écart des flammes nues ou sources d'étincelles qui pourraient enflammer les vapeurs de carburant.
Stockez le carburant dans un bidon de sécurité propre et homologué qui doit être maintenu bouché.
| Périodicité d'entretien | Procédure d'entretien |
|---|---|
| Toutes les 800 heures |
|
| Avant le remisage |
|
Garez la machine sur une surface plane et horizontale, abaissez les unités de coupe, serrez le frein de stationnement, coupez le moteur et enlevez la clé.
Vidangez et nettoyez le réservoir si le circuit d'alimentation est contaminé ou si vous prévoyez de remiser la machine pendant une période prolongée. Rincez le réservoir avec du carburant neuf.
| Périodicité d'entretien | Procédure d'entretien |
|---|---|
| Toutes les 400 heures |
|
Garez la machine sur une surface plane et horizontale, abaissez les unités de coupe, serrez le frein de stationnement, coupez le moteur et enlevez la clé.
Vérifiez que les conduites et les raccords ne sont pas détériorés, endommagés ou desserrés.
| Périodicité d'entretien | Procédure d'entretien |
|---|---|
| À chaque utilisation ou une fois par jour |
|
| Toutes les 400 heures |
|
Garez la machine sur une surface plane et horizontale, abaissez les unités de coupe, serrez le frein de stationnement, coupez le moteur et enlevez la clé.
Placez un bac de vidange propre sous le filtre à carburant.
Dévissez le bouchon de vidange en bas de la cartouche du filtre.

Nettoyez la surface autour des supports de la cartouche du filtre.
Déposez la cartouche et nettoyez la surface de montage.
Lubrifiez le joint de la cartouche avec de l'huile propre.
Installez la cartouche à la main jusqu'à ce que le joint rejoigne la surface de montage, puis serrez la cartouche d'un demi-tour supplémentaire.
Serrez le bouchon de vidange au bas de la cartouche du filtre.
Garez la machine sur une surface plane et horizontale, abaissez les unités de coupe, serrez le frein de stationnement, coupez le moteur et enlevez la clé.
Le tube d'admission de carburant se trouve dans le réservoir de carburant. Il est muni d'une crépine qui empêche les débris de pénétrer dans le système d'alimentation. Retirez le tube et nettoyez la crépine selon les besoins.
Débranchez la batterie avant de réparer la machine. Débranchez toujours la borne négative avant la borne positive. Rebranchez la borne positive avant la borne négative.
Chargez la batterie dans un endroit dégagé et bien aéré, à l'écart des flammes ou sources d'étincelles. Débranchez le chargeur du secteur avant de brancher ou de débrancher la batterie. Portez des vêtements de protection et utilisez des outils isolés.
Les bornes, les cosses de la batterie et les accessoires connexes contiennent du plomb et des composés de plomb. L'état de Californie considère ces substances chimiques comme étant à l'origine de cancers et de troubles de la reproduction. Lavez-vous les mains après avoir manipulé la batterie.
Garez la machine sur une surface plane et horizontale, abaissez les unités de coupe, serrez le frein de stationnement, coupez le moteur et enlevez la clé.
Déverrouillez et soulevez le panneau de la console (Figure 61).

L'électrolyte contient de l'acide sulfurique, un poison mortel qui cause de graves brûlures.
Ne buvez jamais l'électrolyte et évitez tout contact avec les yeux, la peau ou les vêtements. Portez des lunettes de protection et des gants en caoutchouc.
Faites le plein d'électrolyte à proximité d'une arrivée d'eau propre, de manière à pouvoir rincer abondamment la peau en cas d'accident.
Raccordez un chargeur de 3 à 4 ampères aux bornes de la batterie.
Chargez la batterie au régime de 3 à 4 ampères durant 4 à 8 heures.
Une fois la batterie chargée, débranchez le chargeur du secteur et des bornes de la batterie.
La batterie en charge produit des gaz qui peuvent exploser.
Ne fumez jamais à côté de la batterie et tenez-la à l'écart de toutes flammes ou sources d'étincelles.
Raccordez le câble positif (rouge) de la batterie à la borne positive (+) et le câble négatif (noir) à la borne négative (-) (Figure 62).

Fixez les câbles aux bornes au moyen des vis et des écrous.
Assurez-vous que le collier du câble positif (+) est bien engagé sur la borne de la batterie et que le câble est placé tout près de la batterie. Le câble ne doit pas toucher le couvercle de la batterie.
Placez le capuchon en caoutchouc sur la borne positive pour éviter les courts-circuits.
Pour prévenir la corrosion, enduisez les bornes de la batterie de graisse Grafo 112X (Skin-Over) (réf. Toro 505-47), de vaseline ou de graisse légère.
Placez ensuite le capuchon de caoutchouc sur la borne positive.
Fermez et verrouillez le panneau de la console.
Les bornes de la batterie ou les outils en métal peuvent causer des courts-circuits au contact des pièces métalliques et produire des étincelles. Les étincelles peuvent provoquer l'explosion des gaz de la batterie et vous blesser.
Lors du retrait ou de la mise en place de la batterie, les bornes ne doivent toucher aucune partie métallique de la machine.
Évitez de créer des courts-circuits entre les bornes de la batterie et les parties métalliques de la machine avec des outils en métal.
S'ils sont mal acheminés, les câbles de la batterie peuvent subir des dommages ou endommager la machine et produire des étincelles. Les étincelles peuvent provoquer l'explosion des gaz de la batterie et vous blesser.
Débranchez toujours le câble négatif (noir) de la batterie avant le câble positif (rouge).
Branchez toujours le câble positif (rouge) de la batterie avant le câble négatif (noir).
| Périodicité d'entretien | Procédure d'entretien |
|---|---|
| Toutes les 50 heures |
|
Important: Avant d'effectuer des soudures sur la machine, débranchez le câble négatif de la batterie pour éviter d'endommager le système électrique.
Note: Vérifiez l'état de la batterie une fois par semaine ou toutes les 50 heures de fonctionnement. Les bornes et le bac doivent être propres, car une batterie encrassée se décharge lentement.
Nettoyez la batterie comme suit :
Garez la machine sur une surface plane et horizontale, abaissez les unités de coupe, serrez le frein de stationnement, coupez le moteur et enlevez la clé.
Retirez la batterie de la machine.
Lavez le bac complet avec un mélange d'eau et de bicarbonate de soude.
Rincez le bac à l'eau propre.
Pour prévenir la corrosion, enduisez les bornes de la batterie et les connecteurs des câbles de graisse Grafo 112X (Skin-Over) (réf. Toro 505-47) ou de vaseline.
Les fusibles sont situés sous le panneau de commande.

Garez la machine sur une surface plane et horizontale, abaissez les unités de coupe, serrez le frein de stationnement, coupez le moteur et enlevez la clé.
Déverrouillez et soulevez le panneau de la console (Figure 64) pour exposer les fusibles (Figure 65).


| Périodicité d'entretien | Procédure d'entretien |
|---|---|
| Après les 8 premières heures de fonctionnement |
|
| Toutes les 200 heures |
|
Garez la machine sur une surface plane et horizontale, abaissez les unités de coupe, serrez le frein de stationnement, coupez le moteur et enlevez la clé.
Un mauvais couple de serrage des écrous de roues peut entraîner une défaillance de la machine ou la perte d'une roue, et causer des blessures graves.
Serrez les écrous des roues avant et arrière à un couple de 115 à 136 N·m après 1 à 4 heures de fonctionnement, puis de nouveau après 8 heures de fonctionnement. Resserrez-les toutes les 200 heures par la suite.
Note: Les écrous des roues avant sont du type 1/2–20 UNF. Les écrous des roues arrière sont du type M12 x 1,6-6H (métrique).
| Périodicité d'entretien | Procédure d'entretien |
|---|---|
| Toutes les 400 heures |
|
Contrôlez le niveau d'huile toutes les 400 heures de fonctionnement. Utilisez une huile pour engrenages de haute qualité SAE 85W-140.
Garez la machine sur une surface plane et horizontale, abaissez les plateaux de coupe, serrez le frein de stationnement, coupez le moteur et enlevez la clé de contact.
Tournez la roue de sorte qu'un bouchon de contrôle (Figure 66) soit à la position 12 heures et l'autre à la position 3 heures.

Retirez le bouchon qui est à la position 3 heures (Figure 66).
Note: Le niveau d'huile doit atteindre le bas de l'orifice.
Si le niveau d'huile est trop bas, retirez le bouchon situé à la position 12 heures et faites l'appoint d'huile jusqu'à ce qu'elle s'écoule par l'orifice à la position 3 heures.
Remettez les deux bouchons en place.
Répétez les opérations 2 à 5 pour le train planétaire opposé.
| Périodicité d'entretien | Procédure d'entretien |
|---|---|
| Après les 200 premières heures de fonctionnement |
|
| Toutes les 800 heures |
|
Vidangez l'huile après les 200 premières heures de fonctionnement. Par la suite, changez l'huile toutes les 800 heures ou une fois par an, la première échéance prévalant. Utilisez une huile pour engrenages de haute qualité SAE 85W-140.
Garez la machine sur une surface plane et horizontale, abaissez les plateaux de coupe, serrez le frein de stationnement, coupez le moteur et enlevez la clé de contact.
Tournez une roue de sorte que l'un des bouchons de contrôle se trouve à la position la plus basse (6 heures) (Figure 67).

Placez un bac de vidange sous le moyeu du train planétaire et enlevez le bouchon pour permettre à l'huile de s'écouler.
Placez un bac de vidange sous le carter de frein et enlevez le bouchon pour permettre à l'huile de s'écouler (Figure 68).

Lorsque toute l'huile s'est écoulée par les deux orifices, remettez le bouchon en place sur le carter de frein.
Tournez la roue jusqu'à ce que l'orifice débouché du train planétaire soit à la position 12 heures.
Versez lentement dans l'orifice ouvert du train planétaire 0,65 l d'huile pour engrenages de haute qualité SAE 85W-140.
Important: Si le train planétaire est rempli avant que 0,65 litre d'huile soit ajouté, patientez une heure ou remettez le bouchon en place, et déplacez la machine d'environ 3 mètres pour bien répartir l'huile dans le système de freinage. Retirez ensuite le bouchon et ajoutez le restant d'huile.
Mettez le bouchon en place.
Répétez ces opérations pour l'ensemble train planétaire/frein opposé.
| Périodicité d'entretien | Procédure d'entretien |
|---|---|
| Toutes les 400 heures |
|
Le pont arrière est rempli de lubrifiant pour engrenages SAE 85W-140 en usine. Vérifiez le niveau d'huile avant de mettre le moteur en marche pour la première fois, puis toutes les 400 heures. La capacité est de 2,4 litres. Recherchez les fuites éventuelles chaque jour.
Garez la machine sur une surface plane et horizontale, abaissez les unités de coupe, serrez le frein de stationnement, coupez le moteur et enlevez la clé de contact.
Enlevez un bouchon de contrôle à une extrémité du pont arrière (Figure 69) et vérifiez que l'huile atteint la base de l'orifice. Si le niveau est trop bas, enlevez le bouchon de remplissage (Figure 69) et ajoutez la quantité d'huile qui convient pour amener le niveau au bas des orifices des bouchons de contrôle.

| Périodicité d'entretien | Procédure d'entretien |
|---|---|
| Après les 200 premières heures de fonctionnement |
|
| Toutes les 800 heures |
|
Garez la machine sur une surface plane et horizontale, abaissez les unités de coupe, serrez le frein de stationnement, coupez le moteur et enlevez la clé.
Nettoyez la surface autour des 3 bouchons de vidange, 1 à chaque extrémité et 1 au centre (Figure 70).

Enlevez les bouchons de contrôle du niveau d'huile et le bouchon d'aération du pont principal pour faciliter la vidange de l'huile.
Retirez les bouchons de vidange pour permettre à l'huile de s'écouler dans les bacs de vidange.
Remettez les bouchons en place.
Enlevez un bouchon de contrôle et versez dans le pont environ 2,4 litres d'huile pour engrenages 85W-140 ou la quantité d'huile qui convient pour atteindre la base de l'orifice de remplissage.
Remettez le bouchon de contrôle en place.
| Périodicité d'entretien | Procédure d'entretien |
|---|---|
| Toutes les 400 heures |
|
Le boîtier d'engrenages est rempli d'huile pour engrenages SAE 85W-140. Vérifiez le niveau d'huile avant de mettre le moteur en marche pour la première fois, puis toutes les 400 heures. La capacité est de 0,5 litre. Recherchez les fuites éventuelles chaque jour.
Garez la machine sur une surface plane et horizontale, abaissez les unités de coupe, serrez le frein de stationnement, coupez le moteur et enlevez la clé de contact.
Enlevez le bouchon de contrôle/remplissage du côté gauche du boîtier d'engrenages (Figure 71) et vérifiez que le lubrifiant atteint la base de l'orifice. Si le niveau est bas, ajoutez suffisamment de lubrifiant pour rectifier le niveau.

La machine ne doit pas bouger quand vous relâchez la pédale de déplacement. Si elle se déplace, un réglage s'impose.
Garez la machine sur une surface plane et horizontale, coupez le moteur, amenez la commande de vitesse en position gamme basse et abaissez les unités de coupe.
Enfoncez seulement la pédale de frein droite et serrez le frein de stationnement.
Levez le côté gauche de la machine au cric pour décoller la roue avant gauche du sol. Placez des chandelles sous la machine pour l'empêcher de retomber accidentellement.
Mettez le moteur en marche et laissez-le tourner au ralenti.
Ajustez les écrous de blocage à l'extrémité de la tige de la pompe pour avancer le tube de commande et éliminer le déplacement en marche avant, ou pour reculer le tube et éliminer le déplacement en marche arrière (Figure 72).

Lorsque les roues cessent de tourner, serrez les écrous pour bloquer le réglage.
Coupez le moteur et desserrez le frein de stationnement.
Retirez les chandelles et abaissez la machine au sol.
Faites un essai de conduite pour vérifier que la machine ne se déplace plus.
| Périodicité d'entretien | Procédure d'entretien |
|---|---|
| Toutes les 800 heures |
|
Garez la machine sur une surface plane et horizontale, abaissez les unités de coupe, serrez le frein de stationnement, coupez le moteur et enlevez la clé.
Mesurez l'entraxe (à hauteur d'essieu) à l'avant et à l'arrière des roues directrices.
Note: Le pincement à l'avant doit être inférieur de 3 mm au pincement à l'arrière (Figure 73).

Pour le régler le pincement, retirez la goupille fendue et l'écrou de l'une des rotules de biellette (Figure 74).

Déposez la rotule de biellette du support du carter de pont.
Desserrez les fixations aux deux extrémités des biellettes (Figure 74).
Pivotez la rotule déposée d'un tour complet vers l'intérieur ou l'extérieur.
Serrez la fixation à l'extrémité libre de la biellette.
Pivotez l'ensemble biellette dans le même sens d'un tour complet (vers l'intérieur ou l'extérieur).
Serrez la fixation à l'extrémité connectée de la biellette.
Posez la rotule dans le support du corps de pont et serrez l'écrou à la main.
Mesurez le pincement des roues.
Répétez la procédure au besoin.
Resserrez l'écrou et mettez une goupille fendue neuve quand le réglage correct est obtenu.
L'ingestion de liquide de refroidissement peut être toxique ; rangez-le hors de la portée des enfants et des animaux domestiques.
Les projections de liquide de refroidissement brûlant sous pression ou le contact avec le radiateur brûlant et les pièces qui l'entourent peuvent causer des brûlures graves.
Laissez toujours refroidir le moteur pendant au moins 15 minutes avant d'enlever le bouchon du radiateur.
Servez-vous d'un chiffon pour ouvrir le bouchon du radiateur et desserrez-le lentement pour laisser la vapeur s'échapper.
| Périodicité d'entretien | Procédure d'entretien |
|---|---|
| À chaque utilisation ou une fois par jour |
|
Enlevez chaque jour les débris qui se trouvent sur le moteur, le refroidisseur d'huile et le radiateur. Nettoyez-les plus fréquemment s'il y a beaucoup de saleté.
Garez la machine sur une surface plane et horizontale, abaissez les unités de coupe, serrez le frein de stationnement, coupez le moteur et enlevez la clé.
Déverrouillez et ouvrez la grille arrière (Figure 75).

Nettoyez soigneusement la surface de la grille.
Note: Pour déposer la grille, dégagez-la des axes d'articulation.
Nettoyez soigneusement les deux côtés du radiateur/refroidisseur d'huile (Figure 76) à l'air comprimé. Commencez par l'avant et soufflez les débris vers l'arrière. Nettoyez ensuite en soufflant de l'arrière vers l'avant. Répétez la procédure plusieurs fois jusqu'à ce qu'il ne reste plus aucun débris

Important: Ne nettoyez pas le radiateur/refroidisseur d'huile avec de l'eau, car cela risque d'encourager la corrosion et la détérioration des composants.
Refermez et verrouillez la grille arrière.
Réglez les freins de service si la garde aux pédales de frein est supérieure à 13 mm ou si les freins ne fonctionnent pas bien. La garde est la distance parcourue par la pédale de frein avant que le freinage soit ressenti.
Garez la machine sur une surface plane et horizontale, abaissez les unités de coupe, serrez le frein de stationnement, coupez le moteur et enlevez la clé.
Débloquez le verrou des pédales de frein pour les rendre indépendantes l'une de l'autre.
Pour réduire la garde aux pédales de frein, serrez les freins comme suit :
Desserrez l'écrou avant sur l'extrémité filetée du câble de frein (Figure 77).

Serrez l'écrou arrière pour déplacer le câble en arrière jusqu'à obtention d'une garde de 0 à 13 mm.
Note: Assurez-vous que le frein n'est pas trop tendu lorsque la pédale est relâchée.
Resserrez les écrous avant une fois que les freins sont réglés correctement.
| Périodicité d'entretien | Procédure d'entretien |
|---|---|
| Toutes les 100 heures |
|
Vérifiez l'état et la tension des courroies (Figure 78) toutes les 100 heures de fonctionnement.
Lorsque la tension est correcte, la courroie présente une flèche de 10 mm quand une force de 4,5 kg (45 N) est exercée à mi-chemin entre les poulies.
Si vous n'obtenez pas une flèche de 10 mm, desserrez les boulons de fixation de l'alternateur (Figure 78).

Augmentez ou diminuez la tension de la courroie d'alternateur et resserrer les boulons.
Contrôlez de nouveau la flèche de la courroie pour vérifier si la tension est correcte.
Vérifiez l'état de tous les flexibles et conduits hydrauliques, ainsi que le serrage de tous les raccords et branchements avant de mettre le système hydraulique sous pression.
N'approchez pas les mains ni aucune autre partie du corps des fuites en trou d'épingle ou des gicleurs d'où sort du liquide hydraulique sous haute pression.
Utilisez un morceau de papier ou de carton pour détecter les fuites.
Évacuez avec précaution toute la pression du système hydraulique avant toute intervention sur le système.
Consultez immédiatement un médecin en cas d'injection de liquide sous la peau. Toute injection de liquide hydraulique sous la peau doit être éliminée dans les quelques heures qui suivent par une intervention chirurgicale réalisée par un médecin.
| Périodicité d'entretien | Procédure d'entretien |
|---|---|
| Toutes les 800 heures |
|
Vidangez le liquide hydraulique toutes les 800 heures de fonctionnement dans des conditions normales d'utilisation. Si l'huile est contaminée, demandez à votre concessionnaire Toro de rincer le système. Le liquide contaminé a un aspect laiteux ou noir comparé à de l'huile propre.
Garez la machine sur une surface plane et horizontale, abaissez les unités de coupe, serrez le frein de stationnement, coupez le moteur et enlevez la clé.
Ouvrez le capot.
Débranchez le conduit de retour au fond du réservoir hydraulique pour permettre à l'huile de s'écouler dans un grand bac de vidange.
Rebranchez le conduit quand tout le liquide s'est écoulé.
Versez environ 28,4 litres de liquide hydraulique dans le réservoir ; voir Contrôle du niveau de liquide hydraulique.
Important: Utilisez uniquement les liquides hydrauliques spécifiés. Tout autre liquide est susceptible d'endommager le système.
Remettez le bouchon du réservoir.
Démarrez le moteur et actionnez toutes les commandes hydrauliques pour faire circuler l'huile dans tout le système.
Recherchez des fuites éventuelles, puis coupez le moteur.
Vérifiez le niveau d'huile et faites l'appoint pour amener le niveau jusqu'au repère maximum sur la jauge.
Note: Ne remplissez pas excessivement le système hydraulique.
| Périodicité d'entretien | Procédure d'entretien |
|---|---|
| Après les 200 premières heures de fonctionnement |
|
| Toutes les 800 heures |
|
Remplacez les 2 filtres hydrauliques après les 200 premières heures de fonctionnement, puis toutes les 800 heures dans des conditions normales d'utilisation.
Utilisez des filtres de rechange Toro (Réf. 94-2621 pour l'arrière (unité de coupe) et 75-1310 pour l'avant (charge) de la machine).
Important: L'utilisation de tout autre filtre peut annuler la garantie de certaines pièces.
Garez la machine sur une surface plane et horizontale, abaissez les unités de coupe, serrez le frein de stationnement, coupez le moteur et enlevez la clé de contact.
Nettoyez la zone autour de la surface de montage du filtre.
Placez un bac de vidange sous le filtre et déposez le filtre (Figure 79 & Figure 80).
Lubrifiez le joint du filtre de rechange et remplissez le filtre d'huile hydraulique.


Vérifiez la propreté de la surface de montage du filtre.
Vissez le filtre jusqu'à ce que le joint touche la plaque de montage, puis serrez le filtre d'un demi-tour supplémentaire.
Mettez le moteur en marche et laissez-le tourner environ 2 minutes pour purger l'air du circuit.
Coupez le moteur et recherchez des fuites éventuelles.
| Périodicité d'entretien | Procédure d'entretien |
|---|---|
| À chaque utilisation ou une fois par jour |
|
Vérifiez chaque jour que les conduites et flexibles hydrauliques ne présentent pas de fuites, ne sont pas pliés, usés, détériorés par les conditions atmosphériques ou les produits chimiques, et que les supports de montage et les raccords ne sont pas desserrés. Effectuez les réparations nécessaires avant d'utiliser la machine.
Les fuites de liquide hydraulique sous pression peuvent transpercer la peau et causer des blessures graves.
Vérifiez l'état des flexibles et conduites hydrauliques, ainsi que le serrage de tous les raccords et branchements avant de mettre le système hydraulique sous pression.
N'approchez pas les mains ni aucune autre partie du corps des fuites en trou d'épingle ou des gicleurs d'où sort du liquide hydraulique sous haute pression.
Utilisez un morceau de papier ou de carton pour détecter les fuites.
Évacuez avec précaution toute la pression du système hydraulique avant toute intervention sur le système.
Consultez immédiatement un médecin en cas d'injection de liquide sous la peau.
Une unité de coupe usée ou endommagée peut se briser et projeter un morceau de cylindre ou de contre-lame dans votre direction ou celle d'autres personnes, et infliger des blessures graves ou mortelles.
Contrôlez régulièrement l'état et l'usure des unités de coupe.
Examinez toujours les unités de coupe avec précaution. Manipulez les cylindres et les contre-lames avec des gants ou en les enveloppant dans un chiffon, et toujours avec prudence. Limitez-vous à remplacer ou aiguiser les cylindres et les contre-lames ; n'essayez jamais de les redresser ou de les souder.
Attention, sur les machines à plusieurs lames, la rotation d'un cylindre peut entraîner la rotation des autres lames.
Les cylindres et autres pièces mobiles peuvent causer des blessures.
N'approchez pas les mains, les doigts et les vêtements des cylindres et autres pièces mobiles.
N'essayez jamais de faire tourner les cylindres avec la main ou le pied quand le moteur est en marche.
Note: Lors du rodage, les unités de coupe avant fonctionnent ensemble et les unités arrière également.
Garez la machine sur une surface plane et horizontale, abaissez les unités de coupe, serrez le frein de stationnement, coupez le moteur et placez la commande de PDF en position DéSENGAGéE.
Déverrouillez le capot et soulevez-le pour exposer les commandes.
Effectuez les premiers réglages cylindre/contre-lame nécessaires pour le rodage de toutes les unités de coupe qui en ont besoin ; voir le Manuel de l'utilisateur des unités de coupe.
Sélectionnez les leviers de rodage avant, arrière ou les deux pour déterminer les unités qui doivent être rodées (Figure 81).
Mettez le moteur en marche et laissez-le tourner au ralenti.
Si vous modifiez le régime moteur pendant le rodage, les cylindres risquent de caler.
Ne variez jamais le régime moteur pendant le rodage.
Le rodage ne doit s'effectuer qu'au ralenti.
Un contact avec les unités de coupe en mouvement peut entraîner des blessures.
Restez à bonne distance des unités de coupe pour effectuer les procédures.
Placez le limiteur de vitesse de tonte en position de TONTE, puis amenez la commande de PDF en position ENGAGéE.
Appuyez sur la commande de levage pour commencer le rodage des cylindres désignés.
Appliquez le produit de rodage avec un pinceau à long manche.
Note: N'utilisez pas de pinceau à manche court.

Si les cylindres calent ou se mettent à tourner irrégulièrement pendant le rodage, augmentez le régime moteur jusqu'à ce que les cylindres se stabilisent.
Pour régler les unités de coupe pendant le rodage, arrêtez les cylindres en appuyant sur l'arrière de la commande de levage ; amenez la commande de PDF en position DéSENGAGéE et coupez le moteur. Lorsque le réglage est terminé, répétez les opérations 5 à 9.
Répétez la procédure pour tous les unités de coupe qui ont besoin d'être rodées.
Lorsque vous avez terminé, ramenez les leviers de rodage en position de TONTE, abaissez le capot et lavez les unités de coupe pour éliminer le produit de rodage. Réglez le contact cylindre/contre-lame selon les besoins. Placez les commandes de vitesse des cylindres à la position de tonte voulue.
Important: Si vous ne ramenez pas le levier de rodage à la position ARRêT après le rodage, les unités de coupe ne s'élèveront pas ou ne fonctionneront pas correctement.
Note: Vous trouverez des instructions et des procédures de rodage complémentaires dans le Manuel d'affûtage des tondeuses à cylindres et rotatives Toro (Form nº 80-300SL).
Note: Pour améliorer encore la qualité du tranchant, passez une lime sur la face avant de la contre-lame après le rodage. Cela permet d'éliminer les bavures ou les aspérités qui ont pu se former le long du tranchant.
Garez la machine sur une surface plane et horizontale, abaissez les unités de coupe, serrez le frein de stationnement, coupez le moteur et enlevez la clé.
Nettoyez soigneusement le groupe de déplacement, les unités de coupe et le moteur.
Contrôlez la pression des pneus ; voir Contrôle de la pression des pneus.
Vérifiez le serrage de toutes les fixations et resserrez-les au besoin.
Lubrifiez tous les graisseurs et points de pivot. Essuyez tout excès de lubrifiant.
Poncez légèrement et retouchez la peinture rayée, écaillée ou rouillée. Réparez les déformations de la carrosserie.
Procédez à l'entretien de la batterie et des câbles, comme suit :
Débranchez les câbles des bornes de la batterie.
Nettoyez la batterie, les cosses des câbles et les bornes de la batterie avec une brosse métallique et un mélange de bicarbonate de soude.
Pour prévenir la corrosion, enduisez les bornes de la batterie et les cosses des câbles de graisse Grafo 112X (Skin-Over) (réf. Toro 505-47) ou de vaseline.
Rechargez lentement la batterie tous les deux mois pendant 24 heures pour prévenir la sulfatation.
Vidangez le carter moteur et remettez le bouchon de vidange.
Déposez le filtre à huile et mettez-le au rebut. Posez un filtre neuf.
Remplissez le moteur d'huile moteur recommandée.
Démarrez le moteur et faites-le tourner au ralenti pendant environ 2 minutes.
Coupez le moteur.
Rincez le réservoir avec du carburant frais et propre.
Rebranchez tous les raccords du circuit d'alimentation.
Effectuez un nettoyage et un entretien minutieux du filtre à air.
Bouchez l'entrée et l'orifice de sortie du filtre à air avec du ruban imperméable.
Vérifiez la protection antigel et ajoutez un mélange 50/50 d'eau et d'antigel à l'éthylène glycol en fonction de la température minimale anticipée dans votre région.