| Intervalo de mantenimiento y servicio | Procedimiento de mantenimiento |
|---|---|
| Cada vez que se utilice o diariamente |
|
Esta máquina es un cortacésped de asiento equipado con cuchillas de molinete, diseñado para ser usado por operadores profesionales contratados en aplicaciones comerciales. Está diseñada principalmente para cortar césped bien mantenido en campos de golf, parques, campos deportivos y zonas verdes comerciales. No está diseñada para cortar maleza, segar cunetas o medianas de carreteras o utilizarla en aplicaciones agrícolas.
Lea este manual detenidamente para aprender a utilizar y mantener correctamente su producto, y para evitar lesiones y daños al producto. Usted es responsable de utilizar el producto de forma correcta y segura.
Puede ponerse en contacto con Toro directamente en www.Toro.com si desea materiales de formación y seguridad o información sobre accesorios, para localizar un distribuidor o para registrar su producto.
Cuando necesite asistencia técnica, piezas genuinas Toro o información adicional, póngase en contacto con un Servicio Técnico Autorizado o con Asistencia al Cliente de Toro, y tenga a mano los números de modelo y serie de su producto. Figura 1 identifica la ubicación de los números de modelo y serie en el bastidor derecho delantero del producto. Escriba los números en el espacio provisto.

Este manual identifica peligros potenciales y contiene mensajes de seguridad identificados por el símbolo de alerta de seguridad (Figura 2), que señala un peligro que puede causar lesiones graves o la muerte si usted no sigue las precauciones recomendadas.

Este manual utiliza 2 palabras más para resaltar información. Importante llama la atención sobre información mecánica especial, y Nota resalta información general que merece una atención especial.
Este producto cumple todas las directivas europeas aplicables. Para obtener más detalles, consulte la Declaración de conformidad (DOC) de cada producto.
El uso o la operación del motor en cualquier terreno forestal, de monte o cubierto de hierba a menos que el motor esté equipado con parachispas (conforme a la definición de la sección 4442) mantenido en buenas condiciones de funcionamiento, o que el motor haya sido fabricado, equipado y mantenido para la prevención de incendios, constituye una infracción de la legislación de California (Sección 4442 o 4443 del California Public Resource Code).
El manual del propietario del motor adjunto ofrece información sobre las normas de la U.S. Environmental Protection Agency (EPA) y de la California Emission Control Regulation sobre sistemas de emisiones, mantenimiento y garantía. Puede solicitarse un manual nuevo al fabricante del motor.
CALIFORNIA
Advertencia de la Propuesta 65
Es sabido por el Estado de California que los gases de escape de los motores diesel y algunos de sus componentes causan cáncer, defectos congénitos y otros peligros para la reproducción.
El uso de este producto puede provocar la exposición a sustancias químicas que el Estado de California considera causantes de cáncer, defectos congénitos u otros trastornos del sistema reproductor.
Esta máquina ha sido diseñada para cumplir o superar lo estipulado en las normas EN ISO 5395:2013 (con las pegatinas adecuadas colocadas) y ANSI B71.4-2012.
Este producto es capaz de amputar manos y pies y de lanzar objetos al aire. Siga siempre todas las instrucciones de seguridad con el fin de evitar lesiones personales graves.
El uso de este producto para otros propósitos que los previstos podría ser peligroso para usted y para otras personas.
Lea y comprenda el contenido de este Manual del operador antes de arrancar el motor.
No coloque las manos o los pies cerca de componentes en movimiento de la máquina.
No utilice la máquina a menos que tenga instalados y estén en funcionamiento todos los protectores y otros dispositivos de seguridad.
Manténgase alejado de cualquier apertura de descarga. Mantenga a otras personas y a los animales a una distancia prudencial de la máquina.
Mantenga alejados a los niños de la zona de trabajo. Nunca permita a los niños utilizar la máquina.
Detenga la máquina y apague el motor antes de realizar tareas de mantenimiento, repostar o desatascar la máquina.
El uso o mantenimiento incorrecto de esta máquina puede causar lesiones. Para reducir el peligro de lesiones, cumpla estas instrucciones de seguridad y preste atención siempre al símbolo de alerta de seguridad, que significa Cuidado, Advertencia o Peligro – instrucción relativa a la seguridad personal. El incumplimiento de estas instrucciones puede dar lugar a lesiones personales o la muerte.
Puede encontrar información adicional sobre seguridad a lo largo de este Manual del operador.
El motor de esta máquina cumple la norma UE Nivel 3A.
![]() |
Las calcomanías e instrucciones de seguridad están a la vista del operador y están ubicadas cerca de cualquier zona de peligro potencial. Sustituya cualquier calcomanía que esté dañada o que falte. |























Note: Los lados derecho e izquierdo de la máquina se determinan desde la posición normal del operador.
Dependiendo de la anchura de las unidades de corte que se vayan a instalar en la unidad de tracción, ajuste los rodillos de apoyo como se indica a continuación:
Aparque la máquina en una superficie nivelada, ponga el freno de estacionamiento, apague el motor y retire la llave.
Piezas necesarias en este paso:
| Pegatina de advertencia | 1 |
En máquinas que requieren Cumplimiento CE, coloque la pegatina de advertencia CE (Pieza N° 120-1686) sobre la pegatina de advertencia estándar (Pieza N° 120-1683).
Piezas necesarias en este paso:
| Cierre de seguridad del capó | 1 |
| Remache | 2 |
| Tornillo (¼" x 2") | 1 |
| Arandela plana (¼") | 2 |
| Contratuerca (¼") | 1 |
Desenganche el cierre del capó del cerradero del capó (Figura 4).

Retire los 2 remaches que sujetan el cerradero del capó al capó (Figura 5).

Retire el cerradero del capó.
Alinee los taladros de montaje y posicione el cierre de seguridad para CE y el enganche del cierre sobre el capó.
Note: El cierre de seguridad debe estar en contacto directo con el capó (Figura 5).No retire el conjunto de perno y tuerca del brazo del cierre de seguridad.

Alinee las arandelas con los taladros en el interior del capó.
Remache el seguro de cierre, el cerradero y las arandelas al capó (Figura 6).
Enganche el cierre en el cerradero del capó (Figura 7).

Enrosque el perno en el otro brazo del cierre de seguridad del capó para bloquear la posición del cierre (Figura 8).

Apriete el perno firmemente, pero no apriete la tuerca.
Piezas necesarias en este paso:
| Guía de mangueras delantera (derecha) | 1 |
| Guía de mangueras delantera (izquierda) | 1 |
Retire los motores de los molinetes de los soportes de transporte.
Retire y deseche los soportes de transporte.
Retire las unidades de corte de sus embalajes.
Móntelas y ajústelas según las instrucciones del Manual del operador de la unidad de corte.
Asegúrese de que el contrapeso (Figura 9) está instalado en el extremo correcto de la unidad de corte, según lo indicado en el Manual del operador de la unidad de corte.

Todas las unidades de corte se suministran con el muelle de compensación del césped montado en el lado derecho de la unidad de corte. El muelle de compensación del césped debe montarse en el mismo extremo de la unidad de corte que el motor de tracción del molinete. Monte el muelle de compensación de la manera siguiente:
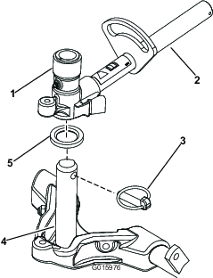
Retire los 2 pernos de cuello cuadrado y las tuercas que sujetan el soporte de la varilla a las pestañas de la unidad de corte (Figura 10).

Retire la tuerca con arandela prensada que fija el perno del tubo del muelle a la pestaña del bastidor de tiro (Figura 10)
Retire el conjunto.
Monte el perno del tubo del muelle a la otra pestaña del bastidor de tiro y fíjelo con la tuerca con arandela prensada.
Note: Coloque la cabeza del perno en el exterior de la pestaña, según se muestra en Figura 11.

Monte el soporte de la varilla en las pestañas de la unidad de corte con los pernos de cuello cuadrado y las tuercas (Figura 11). En la unidad de corte, monte la guía de las mangueras de la izquierda en la parte delantera de las pestañas de la unidad de corte al reinstalar el soporte de la varilla (Figura 13).
Important: En la Unidad de corte 4 (delantera izquierda) y la Unidad de corte de 5 (delantera derecha), utilice las tuercas de montaje del soporte de la varilla para instalar las guías de las mangueras a la parte delantera de las pestañas de las unidades de corte. Las guías de manguera deben estar inclinadas hacia la unidad de corte central (Figura 12 a Figura 14).



Note: Al instalar o retirar las unidades de corte, asegúrese de que el pasador de horquilla está instalado en el taladro de la varilla, junto al soporte de la varilla. Si no, el pasador de horquilla debe instalarse en el taladro del extremo de la varilla.
Aumente el alcance de la dirección de las unidades de corte traseras retirando los 2 espaciadores de pivote, tornillos allen y contratuercas con arandela prensada (Figura 15) de los bastidores de tiro de las unidades de corte traseras (Unidades de corte 2 y 3); consulte Figura 12.

Baje completamente todos los brazos de elevación.
Unte el eje del bastidor de tiro con grasa limpia (Figura 16)

En el caso de las unidades de corte delanteras, deslice una unidad de corte debajo del brazo de elevación mientras coloca el eje del bastidor de tiro en la horquilla de pivote del brazo de elevación (Figura 16). Asegúrese de que la arandela de empuje está correctamente posicionada en el eje del bastidor de tiro.
Sujete el eje del bastidor de tiro a la horquilla del brazo de elevación con el pasador Klik (Figura 16).
Para bloquear (inmovilizar) la dirección de las unidades de corte, sujete la horquilla de pivote al bastidor de tiro con el pasador de seguridad (Figura 17).

Note: Se recomienda usar la dirección fija al segar en pendientes laterales.
Utilice el procedimiento siguiente en las unidades de corte traseras si la altura de corte es de más de 19 mm.
Retire el pasador de seguridad y la arandela que fijan el eje pivotante del brazo de elevación al brazo de elevación, y deslice el eje pivotante fuera del brazo de elevación (Figura 18).

Introduzca la horquilla del brazo de elevación en el eje del bastidor de tiro (Figura 16).
Introduzca el eje del brazo de elevación en el brazo de elevación y fíjelo con la arandela y el pasador de seguridad (Figura 18).
Sujete la cadena del brazo de elevación al soporte de la cadena con el pasador de seguridad (Figura 19).
Note: Utilice el número de eslabones indicado en el Manual del operador de la unidad de corte.

Cubra el eje acanalado del motor del molinete con grasa limpia.
Aplique aceite a la junta tórica del motor del molinete y colóquela sobre la brida del motor.
Instale el motor girándolo en el sentido de las agujas del reloj de modo que las bridas del motor no choquen con los pernos (Figura 20).

Gire el motor en sentido antihorario hasta que las bridas rodeen los pernos, luego apriete los pernos.
Important: Asegúrese de que las mangueras del motor del molinete no están torcidas o dobladas, y que no hay riesgo de que queden atrapadas.
El muelle de compensación del césped (Figura 21) transfiere el peso del rodillo delantero al trasero. Esto ayuda a reducir el patrón de ondulación en el césped.
Important: Haga los ajustes al muelle con la unidad de corte montada en la unidad de tracción, bajada al suelo del taller y orientada hacia delante.
Asegúrese de que el pasador de horquilla está instalado en el taladro del extremo de la varilla del muelle (Figura 21).
Note: Durante cualquier tarea de mantenimiento de la unidad de corte, mueva la chaveta al taladro de la varilla, junto al muelle de compensación del césped.

Apriete las tuercas hexagonales del extremo delantero de la varilla del muelle hasta que la longitud comprimida del muelle sea de 15,9 cm; consulte Figura 21.
Note: Cuando trabaje en terrenos irregulares, reduzca la longitud del muelle en 13 mm. El seguimiento del terreno se verá ligeramente afectado.
Note: Será necesario volver a ajustar la compensación del césped si se modifica la altura de corte o la la agresividad de corte.
Piezas necesarias en este paso:
| Soporte de la unidad de corte | 1 |
Cuando sea necesario inclinar la unidad de corte para tener acceso a la contracuchilla/el molinete, apoye en el soporte la parte trasera de la unidad de corte para asegurarse de que las tuercas de los tornillos de ajuste de la barra de asiento no estén apoyadas en la superficie de trabajo (Figura 22).

Sujete el soporte al soporte de la cadena con el pasador de seguridad (Figura 23).

Antes de utilizar la máquina, ésta debe ser engrasada para asegurar una lubricación correcta. Consulte Lubricación. Si la máquina no es engrasada correctamente habrá fallos prematuros de piezas críticas.
Compruebe el nivel de lubricante del eje trasero antes de arrancar el motor por primera vez; consulte Comprobación del nivel de aceite del eje trasero.
Compruebe el nivel del fluido hidráulico antes de arrancar el motor por primera vez; consulte Comprobación del nivel de fluido hidráulico.
Compruebe el nivel de aceite del motor antes y después de arrancar el motor por primera vez; consulte Comprobación del nivel de aceite del motor.
Piezas necesarias en este paso:
| Barra de ajuste | 1 |
Utilice la barra de ajuste para ajustar la unidad de corte. Consulte los procedimientos de ajuste en el Manual del operador de la unidad de corte (Figura 24).

Los 2 pedales de freno (Figura 25) accionan frenos de rueda individuales para ayudar en los giros y para mejorar la tracción en pendientes de través.
El enganche de bloqueo de los pedales (Figura 25) conecta los dos pedales para poner el freno de estacionamiento.
Para poner el freno de estacionamiento (Figura 25), conecte los pedales con el enganche de bloqueo, y presione el pedal derecho mientras presiona el pedal supletorio. Para quitar el freno de estacionamiento, pise uno de los pedales de freno hasta que el enganche del freno de estacionamiento se desconecte.

El pedal de tracción (Figura 25) controla la operación hacia delante y hacia atrás. Pise la parte superior del pedal para desplazarse hacia delante y la parte inferior para desplazarse hacia atrás. La velocidad de avance se determina por la distancia que se presiona el pedal. Para obtener la velocidad máxima de avance, pise a fondo el pedal con el acelerador en la posición de RáPIDO.
Para detener la máquina, reduzca la presión sobre el pedal de tracción y deje que vuelva a su posición central.
Para inclinar el volante hacia usted, pise el pedal (Figura 25) y tire de la columna de dirección hacia usted a la posición más cómoda; luego suelte el pedal.
Cuando el limitador de velocidad de siega (Figura 26) se mueve hacia arriba, controla la velocidad de siega y permite que se engranen las unidades de corte. Cada espaciador ajusta la velocidad de siega en 0,8 km/h. Cuantos más espaciadores estén colocados sobre el perno, menor será la velocidad de la máquina. Para el transporte, baje el limitador de velocidad de siega para obtener la máxima velocidad de transporte.
Ajuste el/los tornillo(s) (Figura 26) para limitar el recorrido del pedal de tracción en dirección hacia delante o hacia atrás, con objeto de limitar la velocidad.
Important: El tornillo limitador de velocidad debe detener el pedal de tracción antes de que la bomba complete su recorrido completo; si no, la bomba puede resultar dañada.

Esta palanca (Figura 27) eleva y baja las unidades de corte y también pone en marcha y detiene los molinetes cuando estos están habilitados en el modo de siega. Las unidades de corte no pueden ser bajadas cuando la palanca de siega/transporte está en la posición de transporte.
El interruptor de encendido (Figura 27) tiene tres posiciones: DESCONECTADO, CONECTADO/PRECALENTAMIENTO y ARRANQUE.
La pantalla LCD del InfoCenter muestra información sobre la máquina, como por ejemplo el estado operativo, diferentes diagnósticos y otra información sobre la máquina (Figura 27).
El mando de la TDF (Figura 27) tiene 2 posiciones: ARRANQUE y PARADA. Mueva el mando de la TDF hacia adelante para engranar las cuchillas de las unidades de corte. Mueva el mando hacia atrás para desengranar las cuchillas de las unidades de corte.

El interruptor de velocidad del motor (Figura 27) permite cambiar la velocidad del motor de 2 maneras. Mediante golpecitos rápidos en el interruptor, la velocidad del motor puede ser aumentada o reducida en incrementos de 100 rpm. Si se mantiene presionado el interruptor, el motor pasa automáticamente a ralentí alto o bajo, dependiendo del extremo del interruptor que se presione.
Baje el interruptor para encender los faros (Figura 27).
El enchufe eléctrico (Figura 28) se utiliza para alimentar accesorios eléctricos opcionales de 12 V.

El portabolsas (Figura 29) se utiliza para guardar objetos.

Las palancas de autoafilado se utilizan para autoafilar los molinetes (Figura 30).


Tire de la palanca hacia fuera para ajustar el asiento hacia adelante o hacia atrás (Figura 31).
Gire el pomo para ajustar el ángulo del reposabrazos (Figura 31).
Mueva la palanca para ajustar el ángulo del respaldo (Figura 31).
Indica si el asiento está ajustado para el peso del operador (Figura 31). La altura se ajusta posicionando la suspensión en la zona verde.
Ajuste según la estatura del operador (Figura 31). Tire de la palanca hacia arriba para aumentar la presión del aire, o empújela hacia abajo para reducir la presión del aire. EL ajuste correcto se obtiene estando el indicador de peso en la zona verde.
La pantalla LCD del InfoCenter muestra información sobre la máquina, como por ejemplo el estado operativo, diferentes diagnósticos y otra información sobre la máquina (Figura 32). El InfoCenter tiene una pantalla de inicio y la pantalla informativa principal. Puede cambiar entre la pantalla de inicio y la pantalla principal de información en cualquier momento pulsando cualquiera de los botones del InfoCenter y luego seleccionando la tecla de flecha correspondiente.

Botón izquierdo: Acceso a Menú/Botón Atrás – pulse este botón para acceder a los menús del InfoCenter. Puede usarlo para salir de cualquier menú que esté utilizando.
Botón central – utilice este botón para desplazarse hacia abajo en los menús.
Botón derecho – utilice este botón para abrir un menú si aparece la flecha a la derecha que indica la existencia de contenido adicional.
Inversión del ventilador de la máquina – se activa pulsando al mismo tiempo los botones izquierdo y derecho.
Pitido – se activa al bajar las carcasas y para indicar advertencias o fallos.
Note: El propósito de cada botón puede variar dependiendo de lo que se necesite en cada momento. El icono de cada botón indicará su función en cada momento.
| SERVICE DUE | Indica que es necesario realizar el mantenimiento programado |
![]() | Icono de información |
![]() | Contador de horas |
![]() | Rápido |
![]() | Lento |
![]() | Inversión del ventilador – indica que el ventilador funciona en sentido invertido |
![]() | El calentador del aire de entrada está activado |
![]() | Elevar las unidades de corte |
![]() | Bajar las unidades de corte |
![]() | El operador debe sentarse en el asiento |
![]() | Indicador del freno de estacionamiento – indica que el freno de estacionamiento está puesto. |
![]() | Intervalo alto |
![]() | Punto muerto |
![]() | Intervalo bajo |
![]() | Temperatura del refrigerante – indica la temperatura del refrigerante del motor en °C o °F |
![]() | Temperatura (caliente) |
![]() | Prohibido o No permitido |
![]() | La TDF está engranada |
![]() | Arranque del motor |
![]() | Parada o Apagado |
![]() | Motor |
![]() | Interruptor de encendido |
![]() | Indica que las unidades de corte se están bajando |
![]() | Indica que las unidades de corte se están elevando |
![]() | Contraseña PIN |
![]() | Temperatura del aceite hidráulico – indica la temperatura del aceite hidráulico |
![]() | Bus CAN |
![]() | InfoCenter |
![]() | Defectuoso o no superado |
![]() | Lámpara |
![]() | Salida del controlador TEC o del cable de control del arnés |
![]() | Alto: superior al rango permitido |
![]() | Bajo: Inferior al rango permitido |
/![]() | Fuera de rango |
![]() | Interruptor |
![]() | El operador debe soltar el interruptor |
![]() | El operador debe cambiar al estado indicado |
| Los símbolos a menudo se combinan para formar “oraciones”. A continuación se muestran algunos ejemplos. | |
![]() | El operador debe poner la máquina en punto muerto |
![]() | Arranque del motor denegado |
![]() | Parada del motor |
![]() | El refrigerante del motor está demasiado caliente |
![]() | El aceite hidráulico está demasiado caliente |
![]() | Siéntese o ponga el freno de estacionamiento |
Para entrar en el sistema de menús del InfoCenter, pulse el botón de acceso a los menús en la pantalla principal. Aparecerá el menú principal. Las tablas siguientes contienen un resumen de las opciones disponibles en cada menú.
| Menú principal | |
| Elemento del menú | Descripción |
| Faults | El menú Faults (Fallos) contiene una lista de los fallos recientes de la máquina. Consulte el Manual de mantenimiento o a su Distribuidor Autorizado Toro si desea más información sobre el menú Fallos y la información que contiene. |
| Mantenimiento | El menú Mantenimiento contiene información sobre la máquina, como por ejemplo horímetros de uso y otros datos similares. |
| Diagnósticos | El menú Diagnósticos muestra el estado del sensor de cada interruptor de la máquina y de la salida de cada control. Puede utilizar esta información para identificar y resolver algunos problemas, puesto que indica rápidamente qué controles de la máquina están activados/encendidos, y cuáles están desactivados/apagados. |
| Settings | El menú Settings (Ajustes) le permite personalizar y modificar las variables de configuración de la pantalla del InfoCenter. |
| About | El menú About (Acerca de) muestra el número de modelo, el número de serie y la versión del software de su máquina. |
| Mantenimiento | |
| Elemento del menú | Descripción |
| Hours | Muestra el número total de horas de operación de la máquina, el motor y la TDF, así como el número de horas de transporte y el mantenimiento previsto. |
| Counts | Muestra los diferentes contadores de la máquina. |
| Diagnósticos | |
| Elemento del menú | Descripción |
| Cutting Units | Muestra las entradas, condiciones y salidas relacionadas con la elevación y bajada de las unidades de corte. |
| Hi/Low Range | Muestra las entradas, condiciones y salidas relacionadas con la conducción en el modo de transporte. |
| PTO | Muestra las entradas, condiciones y salidas relacionadas con la activación del circuito de la TDF. |
| Engine Run | Muestra las entradas, condiciones y salidas relacionadas con el arranque del motor. |
| Backlap | Muestra las entradas, condiciones y salidas relacionadas con la función de autoafilado. |
| Configuración | |
| Elemento del menú | Descripción |
| Units | Controla las unidades utilizadas en el InfoCenter. Las opciones de menú son English (Inglés) o Metric (Métrico) |
| Language | Controla el idioma utilizado en el InfoCenter*. |
| LCD Backlight | Controla el brillo de la pantalla LCD. |
| LCD Contrast | Controla el contraste de la pantalla LCD. |
| Front Backlap Reel Speed | Controla la velocidad de los molinetes delanteros en el modo de autoafilado. |
| Rear Backlap Reel Speed | Controla la velocidad de los molinetes traseros en el modo de autoafilado. |
| Protected Menus | Permite al superintendente o al mecánico introducir una contraseña para acceder a los menús protegidos. |
| Ralentí automático | Controla la cantidad de tiempo transcurrido antes de poner el motor en ralentí bajo cuando la máquina está estacionaria. |
| Número de cuchillas | Controla el número de cuchillas del molinete para determinar la velocidad de los molinetes. |
| Mow Speed | Controla la velocidad de avance para determinar la velocidad de los molinetes. |
| Height of cut (HOC) | Controla la altura de corte (ADC) para determinar la velocidad de los molinetes. |
| F Reel RPM | Muestra la velocidad calculada de los molinetes delanteros. Los molinetes también pueden ajustarse manualmente. |
| R Reel RPM | Muestra la velocidad calculada de los molinetes traseros. Los molinetes también pueden ajustarse manualmente. |
* Sólo está traducido el texto destinado al operador. Las pantallas de Fallos, Mantenimiento y Diagnósticos están destinados al técnico. Los títulos se verán en el idioma seleccionado, pero los elementos de menú aparecerán en inglés.
| Acerca de | |
| Elemento del menú | Descripción |
| Model | Muestra el número de modelo de la máquina. |
| SN | Muestra el número de serie de la máquina. |
| Machine Controller Revision | Indica la versión de software del controlador maestro. |
| InfoCenter Revision | Indica la versión de software del InfoCenter. |
| CAN Bus | Indica el estado del bus de comunicaciones de la máquina. |
El menú Ajustes del InfoCenter contiene 5 opciones de configuración operativa que pueden modificarse: Número de cuchillas, Velocidad de siega, Ajuste de altura de corte (ADC), rpm Molinete delantero y rpm Molinete trasero. Estos ajustes puede bloquearse mediante el uso del Menú protegido.
Note: Su distribuidor programa la contraseña inicial en el momento de la entrega de la máquina.
En el Menú principal, vaya al menú Ajustes y pulse el botón derecho.
En el menú Ajustes, navegue hacia abajo al Menú protegido y pulse el botón derecho.
Para introducir la contraseña, utilice el botón central para ajustar el primer dígito, luego pulse el botón derecho para desplazarse al dígito siguiente.
Utilice el botón central para ajustar el segundo dígito, luego pulse el botón derecho para desplazarse al dígito siguiente.
Utilice el botón central para ajustar el tercer dígito, luego pulse el botón derecho para desplazarse al dígito siguiente.
Utilice el botón central para ajustar el cuarto dígito, luego pulse el botón derecho.
Pulse el botón central para introducir el código.
Si el código ha sido aceptado y el menú protegido ha sido "Desbloqueado", se muestra "PIN" en la esquina superior derecha de la pantalla.
La capacidad de ver y modificar los valores del menú Protegido puede modificarse. Una vez que haya acceder al menú Protegido, vaya a Proteger configuración. Usando el botón derecho, cambie Proteger configuración a Off (desactivado) para poder ver y modificar los ajustes del Menú protegido sin introducir la contraseña. Cambie Proteger configuración a On (activado) para ocultar las opciones protegidas y exigir la introducción de una contraseña para modificar el ajuste en el menú Protegido. Después de introducir la contraseña, es necesario girar el interruptor de encendido a Desconectado y de nuevo a Conectado para activar y guardar este ajuste.
Note: Si se olvida de o no encuentra la contraseña, póngase en contacto con su distribuidor.
En el menú Settings (Configuración), vaya a Auto Idle (Ralentí automático).
Pulse el botón derecho para elegir el tiempo de ralentí automático, entre Desactivado, 8s, 10s, 15s, 20s y 30s.
En el menú Ajustes, vaya a Número de cuchillas.
Pulse el botón derecho para cambiar el número de cuchillas a 5, 8 u 11 cuchillas.
En el menú Ajustes, vaya a Velocidad de siega.
Pulse el botón derecho para seleccionar la velocidad de siega.
Utilice los botones central y derecho para seleccionar la velocidad de siega que corresponde al ajuste del limitador mecánico de la velocidad de siega del pedal de tracción.
Pulse el botón izquierdo para salir y guardar el ajuste de la velocidad de siega.
En el menú Ajustes, vaya a ADC.
Pulse el botón derecho para seleccionar ADC.
Utilice los botones central y derecho para seleccionar el ajuste de ADC apropiado.
Note: Si no muestra el ajuste exacto, seleccione el ajuste de ADC más próximo de la lista.
Pulse el botón izquierdo para salir y guardar el ajuste de la altura de corte.
Aunque la velocidad de los molinetes delanteros y traseros se calcula a partir del número de cuchillas, la velocidad de siega y la ADC introducidos en el InfoCenter, estos valores pueden modificarse manualmente para adaptarse a diferentes condiciones de siega.
Desplácese hacia abajo a rpm molinete delantero, rpm molinete trasero, o ambos.
Pulse el botón derecho para cambiar la velocidad de los molinetes. Al modificarse el ajuste de la velocidad, la pantalla mostrará la velocidad calculada de los molinetes basada en el número de cuchillas, la velocidad de siega y la ADC introducidos anteriormente, pero también se mostrará el valor nuevo.
Note: Las especificaciones y diseños están sujetos a modificación sin previo aviso.
| Anchura de corte, unidades de corte de 69 cm | 307 cm |
| Anchura de corte, unidades de corte de 81 cm | 320 cm |
| Anchura total, unidades de corte de 69 cm bajadas | 345 cm |
| Anchura total, unidades de corte de 81 cm bajadas | 358 cm |
| Anchura total, unidades de corte elevadas (transporte) | 239 cm |
| Longitud total | 370 cm |
| Altura con ROPS | 220 cm |
| Distancia entre ruedas, delante | 229 cm |
| Distancia entre ruedas, detrás | 141 cm |
| Distancia entre ejes | 171 cm |
| Peso neto (sin unidades de corte, sin fluidos) | 1.574 kg |
Está disponible una selección de aperos y accesorios homologados por Toro que se pueden utilizar con la máquina a fin de potenciar y aumentar sus prestaciones. Póngase en contacto con su Servicio Técnico Autorizado o visite www.Toro.com para obtener una lista de todos los accesorios y aperos homologados.
Note: Los lados derecho e izquierdo de la máquina se determinan desde la posición normal del operador.
No deje nunca que la máquina sea utilizada o mantenida por niños o por personas que no hayan recibido la formación adecuada al respecto. La normativa local puede imponer límites sobre la edad del operador. El propietario es responsable de proporcionar formación a todos los operadores y mecánicos.
Familiarícese con la operación segura del equipo, los controles del operador y las señales de seguridad.
Sepa cómo parar rápidamente la máquina y el motor.
Compruebe que los controles de presencia del operador, los interruptores de seguridad y los protectores están instalados y que funcionan correctamente. No utilice la máquina si no funcionan correctamente.
Antes de segar, inspeccione siempre la máquina para asegurarse de que las cuchillas, los pernos de las cuchillas y los conjuntos de corte están en buenas condiciones de funcionamiento. Sustituya las cuchillas o los pernos gastados o dañados en conjuntos completos para no desequilibrar la máquina.
Inspeccione la zona en la que va a utilizar la máquina y retire cualquier objeto que pudiera ser arrojado por la máquina.
Extreme las precauciones al manejar el combustible. Es inflamable y sus vapores son explosivos.
Apague cualquier cigarrillo, cigarro, pipa u otra fuente de ignición.
Utilice solamente un recipiente de combustible homologado.
No retire nunca el tapón de combustible ni rellene de combustible el depósito mientras el motor está en marcha o está caliente.
No reposte nunca la máquina en un espacio cerrado.
No guarde nunca la máquina o un recipiente de combustible cerca de una llama desnuda, chispa o llama piloto, por ejemplo en un calentador de agua u otro electrodoméstico.
Si se derrama combustible, no intente arrancar el motor; evite crear fuentes de ignición hasta que los vapores del combustible se hayan disipado.
Le rogamos lea todas las instrucciones y símbolos relativos a la seguridad en la sección de seguridad. El conocer esta información puede ayudar a evitarle lesiones a usted o a otras personas.
La operación sobre hierba mojada o en pendientes escarpadas puede hacer que la máquina patine y que usted pierda el control.
Si una rueda pasa por el borde de un terraplén o una zanja, puede causar un vuelco, que puede dar lugar a lesiones graves o la muerte.
Lea y observe las instrucciones y advertencias sobre protección contra vuelcos.
Para evitar la pérdida de control y la posibilidad de un vuelco:
No opere cerca de terraplenes o agua.
No opere en pendientes o cuestas mayores de las indicadas para el modelo de su máquina.
Reduzca la velocidad y extreme las precauciones en cuestas o pendientes.
Evite cambios bruscos de velocidad o de dirección.
Esta máquina produce niveles sonoros que pueden causar pérdidas auditivas con periodos extendidos de exposición.
Lleve protección auditiva mientras opera esta máquina.

| Intervalo de mantenimiento y servicio | Procedimiento de mantenimiento |
|---|---|
| Cada vez que se utilice o diariamente |
|
El motor se suministra con aceite en el cárter; no obstante, debe comprobarse el nivel de aceite antes y después de arrancar el motor por primera vez.
La capacidad del cárter es de aproximadamente 9,5 litros con filtro.
Utilice aceite para motores de alta calidad que cumpla las siguientes especificaciones:
Nivel de clasificación API: CH-4, CI-4 o superior.
Aceite preferido: SAE 15W-40 (más de 18 °C)
Aceite alternativo: SAE 10W-30 o 5W-30 (todas las temperaturas)
Note: Su distribuidor dispone de aceite para motores Toro Premium, de viscosidad 15W-40 o 10W-30. Consulte los números de pieza en el catálogo de piezas.
Note: El mejor momento para comprobar el aceite del motor es cuando el motor está frío, antes de arrancarlo al principio de la jornada. Si ya se ha arrancado, deje que el aceite se drene al cárter durante al menos 10 minutos antes de comprobar el nivel. Si el nivel del aceite está en o por debajo de la marca "añadir" de la varilla, añada aceite hasta que el nivel llegue a la marca "lleno". No llene el motor demasiado. Si el nivel está entre las marcas 'Lleno' y 'Añadir', no es necesario añadir aceite.
Aparque la máquina en una superficie nivelada.
Desbloquee los cierres del capó y abra el capó (Figura 34).

Retire la varilla, límpiela, vuelva a colocarla en el tubo y retírela de nuevo.
El nivel de aceite debe estar en el intervalo seguro (Figura 35).

Si el nivel de aceite está por debajo del intervalo seguro, retire el tapón de llenado (Figura 36) y añada aceite hasta que el nivel llegue a la marca Full (lleno).
Important: No llene el motor demasiado.

Note: Cuando cambie a un aceite diferente, drene todo el aceite antiguo del cárter antes de añadir aceite nuevo.
Coloque el tapón de llenado y la varilla.
Cierre el capó y sujételo con los cierres.
| Intervalo de mantenimiento y servicio | Procedimiento de mantenimiento |
|---|---|
| Cada vez que se utilice o diariamente |
|
Compruebe el nivel de refrigerante al principio de cada jornada de trabajo. La capacidad del sistema es de 12,3 litros.
Retire con cuidado el tapón del radiador.
Si el motor ha estado en marcha, puede haber fugas de refrigerante caliente y bajo presión, que puede causar quemaduras.
No retire el tapón del radiador cuando el motor está en marcha.
Utilice un trapo al abrir el tapón del radiador, y ábralo lentamente para permitir la salida del vapor.

Compruebe el nivel de refrigerante del radiador.
Note: El radiador debe llenarse hasta la parte superior del cuello de llenado, y el depósito de expansión debe llenarse hasta la marca Lleno (Figura 37).
Si el nivel de refrigerante es bajo, añada una solución al 50% de agua y anticongelante de etilenglicol.
Note: No use agua sola o refrigerantes a base de alcohol/metanol.
Instale el tapón del radiador y el tapón del depósito de expansión.
Capacidad del depósito de combustible: 83 litros
Utilice solamente combustible diésel fresco y limpio muy bajo en azufre (<15 ppm) que cumpla las especificaciones ASTM D975 o EN590. El número mínimo de cetanos debe ser de 40. Compre el combustible en cantidades que puedan ser consumidas en 180 días para asegurarse de que el combustible es nuevo.
Important: El uso de combustibles que no sean muy bajos en azufre causará daños en el sistema de emisiones del motor.
Utilice combustible diésel tipo verano (Nº 2-D) a temperaturas superiores a -7 °C y combustible tipo invierno (Nº 1-D o mezcla de Nº 1-D/2-D) a temperaturas inferiores a -7 °C. El uso de combustible tipo invierno a bajas temperaturas proporciona un punto de inflamación menor y características de flujo en frío que facilitarán el arranque y reducirán la obturación del filtro del combustible.
El uso de combustible tipo verano con temperaturas por encima de los -7 °C contribuirá a que la vida útil de la bomba para el combustible sea mayor y a incrementar la potencia en comparación con el combustible tipo invierno.
Important: No utilice queroseno o gasolina en lugar de combustible diésel. El incumplimiento de esta precaución dañará el motor.
Esta máquina también puede utilizar una mezcla de combustible biodiésel de hasta B20 (20% biodiésel, 80% petrodiésel). La porción de petrodiésel debe ser bajo o ultrabajo en azufre. Observe las siguientes precauciones:
La parte de biodiésel del combustible deberá cumplir con la especificación ASTM D6751 o EN 14214.
La composición del combustible mezclado deberá cumplir la norma ASTM D975 o EN 590.
Las superficies pintadas podrían sufrir daños por las mezclas de biodiésel.
Utilice B5 (contenido de biodiésel del 5 %) o mezclas menores cuando hace frío.
Vigile los retenes, las mangueras y las juntas que estén en contacto con el combustible, ya que pueden degradarse con el paso del tiempo.
Es normal que se obstruya el filtro del combustible durante cierto tiempo tras pasarse a las mezclas de biodiésel.
Póngase en contacto con su distribuidor si desea más información sobre el biodiésel.
El combustible es dañino o mortal si es ingerido. La exposición a largo plazo a los vapores puede causar lesiones y enfermedades graves.
Evite la respiración prolongada de los vapores.
Mantenga la cara alejada de la boquilla y de la abertura del depósito de combustible o de acondicionador.
Mantenga alejada la gasolina de los ojos y la piel.
En ciertas condiciones, el combustible es extremadamente inflamable y altamente explosivo. Un incendio o una explosión provocados por el combustible puede causarle quemaduras a usted y a otras personas así como daños materiales.
Llene el depósito de combustible en el exterior, en una zona abierta y con el motor frío. Limpie cualquier combustible derramado.
No llene nunca el depósito de combustible dentro de un remolque cerrado.
No fume nunca mientras maneja el combustible, y aléjese de llamas desnudas o lugares donde los vapores del combustible pueden incendiarse con una chispa.
Almacene el combustible en un recipiente homologado y manténgalo fuera del alcance de los niños. No compre nunca carburante para más de 180 días de consumo normal.
No utilice la máquina a menos que esté instalado un sistema completo de escape en buenas condiciones de funcionamiento.
En determinadas condiciones durante el repostaje, puede liberarse electricidad estática, produciendo una chispa que puede prender los vapores del combustible. Un incendio o una explosión provocados por el combustible puede causarle quemaduras a usted y a otras personas así como daños materiales.
Coloque siempre los recipientes de combustible en el suelo, lejos del vehículo, antes de repostar.
No llene los recipientes de combustible dentro de un vehículo, camión o remolque ya que las alfombras o los revestimientos de plástico del interior de los remolques podrían aislar el recipiente y retrasar la pérdida de la carga estática.
Cuando sea posible, retire el equipo del camión o remolque y añada combustible al equipo con las ruedas sobre el suelo.
Si esto no es posible, reposte el equipo sobre el camión o remolque desde un recipiente portátil, en vez de usar un surtidor de combustible.
Si es imprescindible el uso de un surtidor, mantenga la boquilla en contacto con el borde del depósito de combustible o la abertura del recipiente en todo momento hasta que termine de repostar.
Aparque la máquina en una superficie nivelada.
Limpie la zona alrededor del tapón del depósito de combustible con un trapo limpio.
Retire el tapón del depósito de combustible (Figura 38).

Llene el depósito hasta que el combustible llegue al extremo inferior del cuello de llenado.
Instale firmemente el tapón del depósito de combustible después de llenar el depósito.
Note: Si es posible, llene el depósito de combustible después de cada uso. Esto minimizará la acumulación de condensación dentro del depósito.
| Intervalo de mantenimiento y servicio | Procedimiento de mantenimiento |
|---|---|
| Cada vez que se utilice o diariamente |
|
El depósito se llena en fábrica con aproximadamente 28,4 litri de fluido hidráulico de alta calidad. Verifique el nivel del fluido hidráulico antes de arrancar el motor por primera vez y luego a diario.
El fluido de recambio recomendado es Fluido hidráulico Toro Premium All Season (disponible en recipientes de 19 litros o en bidones de 208 litros. Consulte los números de pieza a su Distribuidor Toro o en el catálogo de piezas).
Fluidos alternativos: Si no está disponible el fluido Toro, pueden utilizarse otros fluidos convencionales a base de petróleo, siempre que cumplan las siguientes propiedades de materiales y especificaciones industriales. Consulte a su proveedor para determinar si el fluido cumple estas especificaciones.
Note: Toro no asume responsabilidad alguna por daños causados por sustitutos no adecuados, así que usted debe utilizar solamente productos de fabricantes responsables que respalden sus recomendaciones.
| Fluido hidráulico antidesgaste de alto índice de viscosidad/bajo punto de descongelación, ISO VG 46 multigrado | |||
| Propiedades de materiales: | |||
| Viscosidad, ASTM D445 | cSt a 40 °C 44 a 48cSt a 100 °C 7,9 a 9,1 | ||
| Índice de viscosidad ASTM D2270 | 140 o más (un índice de viscosidad alto indica un fluido multigrado) | ||
| Punto de descongelación, ASTM D97 | -37 °C a -45 °C | ||
| Etapa de fallo FZG | 11 o mejor | ||
| Contenido de agua (fluido nuevo) | 500 ppm (máximo) | ||
| Especificaciones industriales: | |||
| Vickers I-286-S, Vickers M-2950-S, Denison HF-0, Vickers 35 VQ 25 (Eaton ATS373-C) | |||
Es necesario proporcionar la especificación correcta de los fluidos hidráulicos en el caso de equipos móviles (a diferencia del uso en plantas industriales); deben ser de tipo multigrado con aditivo antidesgaste ZnDTP o ZDDP (no fluidos sin cenizas).
Important: Se ha demostrado que el fluido multigrado ISO VG 46 ofrece un rendimiento óptimo en un amplio intervalo de temperaturas. Para temperaturas ambiente habitualmente altas, de 18 °C a 49 °C, el fluido hidráulico ISO VG 68 puede ofrecer un rendimiento mejor.
Fluido hidráulico premium biodegradable – Mobil EAL EnviroSyn 46H
Important: Mobil EAL EnviroSyn 46H es el único fluido sintético biodegradable homologado por Toro. Este fluido es compatible con los elastómeros usados en los sistemas hidráulicos Toro, y es apropiado para un amplio intervalo de temperaturas. Este fluido es compatible con fluidos convencionales, pero para obtener la máxima biodegradabilidad y rendimiento es necesario purgar el sistema hidráulico completamente de fluido convencional. Su distribuidor Mobil dispone de este fluido en recipientes de 19 litros o en bidones de 208 litros.
Important: La mayoría de los fluidos hidráulicos son casi incoloros, por lo que es difícil detectar fugas. Está disponible un aditivo de tinte rojo para el fluido hidráulico, en botellas de 20 ml. Una botella es suficiente para 15 a 22 litros de fluido hidráulico. Solicite la pieza 44-2500 a su Distribuidor Autorizado Toro.
Coloque la máquina en una superficie nivelada, baje las unidades de corte, apague el motor y retire la llave.
Limpie la zona alrededor del cuello de llenado y el tapón del depósito hidráulico (Figura 39).

Retire el tapón del cuello de llenado.
Retire la varilla del cuello de llenado y límpiela con un paño limpio.
Inserte la varilla en el cuello de llenado; luego retírela y compruebe el nivel del fluido.
Note: El nivel de fluido debe estar entre las 2 marcas de la varilla.
Si el nivel es bajo, añada fluido adecuado hasta que el nivel llegue a la marca superior.
Coloque la varilla y el tapón en el cuello de llenado.
| Intervalo de mantenimiento y servicio | Procedimiento de mantenimiento |
|---|---|
| Cada vez que se utilice o diariamente |
|
Los neumáticos se sobreinflan para el transporte. Por lo tanto, debe soltar parte del aire para reducir la presión. La presión correcta de los neumáticos es de 0,83 a 1,03 bar. Compruebe la presión de los neumáticos a diario.
Important: Mantenga la presión recomendada de todos los neumáticos para asegurar una buena calidad de corte y un rendimiento correcto de la máquina. No use los neumáticos con presiones menores que las recomendadas.
El propietario/operador puede prevenir y es responsable de cualquier accidente que pudiera provocar lesiones personales o daños materiales.
Lleve ropa adecuada, incluyendo protección ocular, protección para los pies resistente y antideslizante, y protección auditiva. Si tiene el pelo largo, recójaselo, y no lleve prendas o joyas sueltas.
No utilice la máquina si está enfermo, cansado o bajo la influencia de alcohol o drogas.
No lleve nunca pasajeros en la máquina, y mantenga a otras personas y animales alejados de la máquina durante el uso.
Utilice la máquina únicamente con buena visibilidad para evitar agujeros y peligros ocultos.
Evite segar la hierba mojada. La reducción de la tracción podría hacer que la máquina se resbalara.
Antes de arrancar el motor, asegúrese de que todas las transmisiones están en punto muerto, de que el freno estacionamiento está accionado y de que usted se encuentra en la posición del operador.
Mantenga las manos y los pies alejados de las unidades de corte. Manténgase alejado del conducto de descarga en todo momento.
Mire hacia atrás y hacia abajo antes de poner marcha atrás para asegurarse de que el camino está despejado.
Tenga cuidado al acercarse a esquinas ciegas, arbustos, árboles u otros objetos que puedan dificultar la visión.
No siegue cerca de terraplenes, fosas o taludes. La máquina podría volcar repentinamente si una rueda pasa por el borde de un terraplén o fosa, o si se socava un talud.
Pare las unidades de corte si no está segando.
Pare la máquina e inspeccione las unidades de corte después de golpear un objeto, o si se produce una vibración anormal en la máquina. Realice todas las reparaciones necesarias antes de volver a utilizar la máquina.
Vaya más despacio y tenga cuidado al girar y al cruzar calles y aceras con la máquina. Ceda el paso siempre.
Desengrane la transmisión de la unidad de corte y apague el motor antes de ajustar la altura de corte (a menos que pueda ajustarse desde la posición del operador).
No haga funcionar nunca un motor en un lugar cerrado donde no puedan liberarse los gases de escape.
No deje nunca desatendida la máquina si está funcionando.
Antes de abandonar el puesto del operador (incluso para vaciar los recogedores o desatascar el conducto), haga lo siguiente:
Aparque la máquina en una superficie nivelada.
Desengrane la toma de fuerza y baje los accesorios.
Accione el freno de estacionamiento.
Apague el motor y retire la llave.
Espere a que se detengan todas las piezas en movimiento.
No utilice la máquina cuando exista riesgo de caída de rayos.
No utilice la máquina como un vehículo de remolcado.
Utilice solamente los accesorios, aperos y las piezas de repuesto aprobados por The Toro® Company.
No retire el ROPS de la máquina.
Asegúrese de abrocharse el cinturón de seguridad y de que puede desabrocharlo rápidamente en caso de emergencia.
Compruebe detenidamente si hay obstrucciones sobre la máquina y no entre en contacto con ellas.
Mantenga el ROPS en condiciones seguras de funcionamiento, inspeccionándolo periódicamente en busca de daños y manteniendo bien apretados todas las fijaciones de montaje.
Si el ROPS está dañado, cámbielo. No la repare ni la modifique.
Utilice siempre el cinturón de seguridad cuando la barra antivuelco está en la posición elevada.
El ROPS es un dispositivo de seguridad integrado. Si la barra antivuelco es plegable, manténgala en la posición elevada y bloqueada, y lleve puesto el cinturón de seguridad mientras utilice la máquina con la barra antivuelco elevada.
Una barra antivuelco plegable puede bajarse temporalmente, pero sólo cuando sea necesario. No lleve el cinturón de seguridad cuando la barra antivuelco está bajada.
Sepa que no hay protección contra vuelcos cuando la barra antivuelco está plegada.
Inspeccione la zona de siega, y no baje nunca una barra antivuelco plegable en zonas donde existan pendientes, taludes o agua.
Establezca sus propios procedimientos y normas para trabajar en pendientes. Estos procedimientos deben incluir la valoración del lugar, con el fin de determinar qué pendientes son seguras para conducir la máquina. Aplique siempre el sentido común y un buen criterio a la hora de realizar esta valoración.
Las pendientes son una de las principales causas de accidentes por pérdida de control y vuelcos que pueden causar lesiones graves o la muerte. La conducción de la máquina en pendientes requiere extremar la precaución.
Conduzca la máquina a una velocidad inferior si se encuentra en una pendiente.
Si no se siente con confianza en una pendiente, no conduzca por ella.
Esté alerta a agujeros, surcos, montículos, rocas u otros objetos ocultos. Un terreno irregular podría hacer volcar la máquina. La hierba alta puede ocultar obstáculos.
Seleccione una velocidad baja sobre el terreno para que no tenga que parar o cambiar de marcha mientras se encuentre en una pendiente.
Se puede producir un vuelco antes de que los neumáticos pierdan tracción.
Evite conducir la máquina sobre hierba mojada. Los neumáticos pueden perder tracción, independientemente de que los frenos estén funcionando y en buen estado.
Evite arrancar, parar o girar la máquina en una pendiente.
Haga todos los movimientos en cuestas y pendientes de forma lenta y gradual. No cambie repentinamente la velocidad o la dirección de la máquina.
No utilice la máquina cerca de terraplenes, fosas, taludes o láminas de agua. La máquina podría volcar repentinamente si una rueda pasa por el borde de un terraplén o fosa, o si se socava un talud. Establezca un área de seguridad entre la máquina y cualquier peligro (equivalente al doble del ancho de la máquina).
Important: Purgue el sistema de combustible si se ha producido alguna de las situaciones siguientes:
El motor se ha parado debido a falta de combustible.
Después de que se haya realizado cualquier operación de mantenimiento en los componentes del sistema de combustible.
Retire el pie del pedal de tracción y asegúrese de que el pedal está en posición de PUNTO MUERTO.
Note: Asegúrese de que el freno de estacionamiento está accionado.
Mueva el interruptor de velocidad del motor a la posición de RALENTí BAJO.
Gire la llave de contacto a MARCHA.
Note: Se encenderá el indicador de la bujía.
Cuando se atenúe el indicador de la bujía, gire la llave a ARRANQUE.
Suelte la llave inmediatamente cuando el motor arranque y deje que vuelva a MARCHA.
Ajuste la velocidad del motor.
Important: No haga funcionar el motor de arranque durante más de 15 segundos cada vez, o puede producirse un fallo prematuro en el motor de arranque. Si el motor no arranca en 15 segundos, gire la llave a la posición de DESCONECTADO, vuelva a comprobar los controles y los procedimientos, espere 15 segundos más y repita el procedimiento de arranque.
Cuando la temperatura está por debajo de los -7 °C, el motor de arranque puede utilizarse un máximo de dos veces durante 30 segundos, con 60 segundos de espera entre intentos.
El contacto con piezas en movimiento podría causar lesiones.
Apague el motor y espere a que se detengan todas las piezas en movimiento antes de buscar fugas de aceite, piezas sueltas u otros desperfectos.
Important: Deje que el motor funcione en ralentí durante 5 minutos antes de pararlo después de funcionar a carga máxima. Esto permite que se enfríe el turbo antes de que se apague el motor. El no hacer esto puede causar problemas con el turbo.
Note: Baje el carcasas de corte al suelo cada vez que aparque la máquina. Esto alivia la carga hidráulica del sistema, evita desgastar las piezas del sistema y también impide que se bajen accidentalmente las unidades de corte.
Vuelva a poner el motor en velocidad de ralentí bajo.
Mueva el interruptor de la toma de fuerza a la posición de DESENGRANADO.
Accione el freno de estacionamiento.
Gire la llave de contacto a DESCONECTADO.
Retire la llave de contacto para evitar un arranque accidental.
Usted puede ajustar el contrapeso de los brazos de elevación de la unidad de corte trasera para compensar diferentes condiciones del césped y para mantener una altura de corte uniforme en condiciones difíciles o en zonas con una gran acumulación de colchón.
Hay cuatro ajustes posibles para cada muelle de contrapeso. Cada incremento aumenta o reduce el contrapeso sobre la unidad de corte en 2,3 kg. Los muelles pueden colocarse en el lado trasero del actuador del muelle para eliminar el contrapeso (cuarta posición).
Coloque la máquina en una superficie nivelada, baje las unidades de corte, pare el motor, ponga los frenos de estacionamiento y retire la llave de contacto.
Coloque un tubo u otro objeto similar sobre el extremo largo del muelle para aliviar la tensión durante el ajuste (Figura 40).
Los muelles están tensados, y pueden provocar lesiones personales.
Tenga precaución al ajustar los muelles.
Para aliviar la tensión del muelle, retire el perno y la contratuerca que sujetan el actuador del muelle al soporte (Figura 40).

Mueva el actuador del muelle al taladro deseado y sujételo con la contratuerca.
Repita el procedimiento en el otro muelle.
Coloque la máquina en una superficie nivelada, baje las unidades de corte, pare el motor, ponga los frenos de estacionamiento y retire la llave de contacto.
El interruptor del brazo de elevación está situado detrás del brazo de elevación delantero derecho (Figura 41).

Afloje los tornillos de montaje del interruptor (Figura 41) y mueva el interruptor hacia arriba para aumentar la altura de giro del brazo de elevación, o hacia abajo para reducir la altura de giro del brazo de elevación.
Apriete los tornillos de montaje.
El bastidor del ROPS puede plegarse y bajarse para facilitar el acceso a zonas de altura limitada.
La máquina no tiene un sistema de protección antivuelco (ROPS) cuando la barra antivuelco está plegada, y no debe considerarse como un ROPS.
No lleve puesto el cinturón de seguridad cuando la barra antivuelco está bajada.
Aparque la máquina en una superficie nivelada, pare el motor, ponga el freno de estacionamiento y retire la llave del interruptor de encendido.
Apoye el peso de la estructura superior mientras retira los pasadores de seguridad y los pasadores de los soportes de giro (Figura 42).
Baje el bastidor cuidadosamente hasta que descanse sobre los topes.
Introduzca los pasadores en los taladros inferiores, y sujételos con los pasadores de seguridad para sujetar el bastidor superior en la posición bajada.
Para elevar el bastidor, siga estas instrucciones en orden inverso.

El sistema de protección ROPS puede no ser eficaz si los conjuntos de pernos de retención del ROPS no están apretados, y esto puede causar lesiones graves o incluso la muerte en caso de un vuelco.
Cuando está en la posición elevada, ambos conjuntos de pernos de retención deben estar instalados y correctamente apretados para asegurar la máxima protección antivuelco.
Al bajar y elevar el bastidor del ROPS, los dedos pueden quedar atrapados entre la máquina y el ROPS.
Tenga cuidado al bajar y elevar el ROPS para evitar que los dedos queden atrapados entre las piezas fijas y móviles de la estructura.
Mantenga correctamente apretados todos los tornillos, pernos y tuercas para asegurar que la máquina esté en perfectas condiciones de funcionamiento.
Sustituya las piezas desgastadas o dañadas para mayor seguridad.
Asegúrese de que el cinturón de seguridad y sus anclajes están en buen estado.
Lleve el cinturón de seguridad si la barra anti-vuelco está elevada, y no lleve el cinturón de seguridad si la barra anti-vuelco está bajada.
Important: La barra antivuelco es un dispositivo de seguridad integrado. Mantenga la barra anti-vuelco en la posición elevada mientras utiliza el cortacésped. Baje la barra anti-vuelco temporalmente, sólo cuando sea absolutamente imprescindible.
| Intervalo de mantenimiento y servicio | Procedimiento de mantenimiento |
|---|---|
| Cada vez que se utilice o diariamente |
|
Si los interruptores de seguridad son desconectados o están dañados, la máquina podría ponerse en marcha inesperadamente, causando lesiones personales.
No manipule los interruptores de seguridad.
Compruebe la operación de los interruptores de seguridad cada día, y sustituya cualquier interruptor dañado antes de operar la máquina.
La máquina tiene interruptores de seguridad en el sistema eléctrico. Estos interruptores están diseñados para apagar el motor si el operador se levanta del asiento con el pedal de tracción pisado. No obstante, el operador puede abandonar el asiento con el motor en marcha y el pedal de tracción en punto muerto. Aunque el motor seguirá funcionando con el interruptor de la toma de fuerza desengranado y el pedal de tracción liberado, se recomienda encarecidamente parar el motor antes de abandonar el asiento.
Para comprobar la operación de los interruptores de seguridad, realice el procedimiento siguiente:
Conduzca la máquina lentamente a una zona amplia, relativamente despejada.
Baje las unidades de corte, apague el motor y ponga el freno de estacionamiento.
Siéntese en el asiento y pise el pedal de tracción.
Intente arrancar el motor.
Note: El motor no debe girar. Si el motor gira, hay un problema con los interruptores de seguridad que debe ser corregido antes de empezar la operación.
Siéntese en el asiento y arranque el motor.
Levántese del asiento y ponga el mando de la TDF en Engranado.
Note: La toma de fuerza no debe engranarse. Si la toma de fuerza se engrana, hay un problema con los interruptores de seguridad que debe ser corregido antes de empezar la operación.
Siéntese en el asiento, ponga el freno de estacionamiento y arranque el motor.
Mueva el pedal de tracción a una posición que no sea PUNTO MUERTO.
Note: El motor debe apagarse. Si el motor no se apaga, hay un problema con los interruptores de seguridad que debe ser corregido antes de empezar la operación.
Limpie la hierba y los residuos de las unidades de corte, las transmisiones, los silenciadores y el compartimento del motor para prevenir incendios. Limpie cualquier aceite o combustible derramado.
Si las unidades de corte están en la posición de transporte, utilice el bloqueo mecánico positivo (si está disponible) antes de dejar la máquina desatendida.
Espere a que se enfríe el motor antes de guardar la máquina en un recinto cerrado.
Cierre el combustible antes de almacenar o transportar la máquina.
No guarde nunca la máquina o un recipiente de combustible cerca de una llama desnuda, chispa o llama piloto, por ejemplo en un calentador de agua u otro electrodoméstico.
Mantenga todas las piezas en buen estado de funcionamiento y todos los herrajes bien apretados, sobre todo los accesorios de las cuchillas.
Sustituya cualquier pegatina desgastada o deteriorada.
En caso de emergencia, la máquina puede desplazarse accionando la válvula de desvío de la bomba hidráulica de desplazamiento variable e instalando una manguera hidráulica para anular la válvula de retención, antes de empujar o remolcar la máquina.
Important: No empuje ni remolque la máquina a más de 3–4,8 km/h, o durante más de 0,4 km, porque pueden producirse daños internos en la transmisión. La válvula de desvío debe estar abierta antes de empujar o remolcar la máquina. Asimismo, es necesario instalar una manguera hidráulica para desactivar la válvula de retención antes de empujar o remolcar la máquina en marcha atrás.
Si es necesario empujar o remolcar la máquina, probablemente será necesario desplazarla hacia adelante y hacia atrás. Para asegurarse de no dañar la transmisión al empujarla o remolcarla, conviene preparar la máquina para que pueda ser empujada o remolcada tanto hacia delante como hacia atrás.
Important: Si es necesario empujar o remolcar la máquina en marcha atrás, es necesario desactivar primero la válvula de retención del colector de transmisión a cuatro ruedas.
Se necesitan las piezas Toro siguientes para desactivar la válvula de retención:
Pieza Toro N.º 59-7410, acoplamiento diagnóstico
Pieza Toro N.º 354-79, tapón del acoplamiento diagnóstico
Pieza Toro N.º 95-8843, manguera hidráulica
Pieza Toro N.º 95-0985, empalme (2)
Pieza Toro N.º 340-77, acoplamiento hidráulico (2)
Instale un acoplamiento diagnóstico en el orificio sin marcar que está situado entre los orificios M8 y P2 del colector de tracción trasera (Figura 43).

Conecte una manguera hidráulica entre el acoplamiento diagnóstico del colector de tracción trasera, y el punto de prueba de presión de tracción en marcha atrás (Figura 44).
Note: Utilice los acoplamientos hidráulicos y los empalmes que sean necesarios para instalar la manguera.

Gire la válvula de desvío 90° (¼ de vuelta) en cualquier sentido para abrirla y dejar pasar el fluido internamente (Figura 45).
Note: Puesto que el fluido se desvía alrededor de la transmisión, usted puede mover la máquina lentamente sin dañar la transmisión.Observe la posición de la válvula al abrirla o cerrarla.

Cuando haya terminado de empujar o remolcar la máquina, retire la manguera hidráulica que instaló.
Instale el tapón existente en el punto de prueba de presión de tracción en marcha atrás.
Instale el tapón del conector diagnóstico en el acoplamiento que instaló en el colector.
Gire la válvula de desvío 90° (¼ de vuelta) hacia atrás antes de arrancar el motor.
Note: No utilice una fuerza de más de 7–11 N·m para cerrar la válvula.
Si es necesario empujar o remolcar la máquina hacia adelante solamente, puede simplemente girar la válvula de desvío.
Important: Si necesita empujar o remolcar la máquina hacia atrás; consulte Preparación para empujar o remolcar la máquina hacia atrás.
Abra el capó y retire la cubierta central.
Gire la válvula de desvío 90° (¼ de vuelta) en cualquier sentido para abrirla y dejar pasar el fluido internamente (Figura 45).
Note: Puesto que el fluido se desvía alrededor de la transmisión, usted puede desplazar la máquina lentamente hacia adelante sin dañar la transmisión.Observe la posición de la válvula al abrirla o cerrarla.
Gire la válvula de desvío 90° (¼ de vuelta) hacia atrás antes de arrancar el motor.
Note: No utilice una fuerza de más de 7–11 N·m para cerrar la válvula.
Utilice rampas de ancho completo para cargar la máquina en un remolque o un camión.
Amarre la máquina firmemente.
Los puntos de apoyo del gato se encuentran en los lugares siguientes:
En la parte delantera de la máquina, en el bastidor, en el interior de cada rueda motriz
En la parte trasera de la máquina, en el centro del eje
Los puntos de amarre se encuentran en los lugares siguientes:
En cada lado del bastidor, debajo de los peldaños delanteros
En el guardabarros trasero
Practique la conducción de la máquina, porque tiene una transmisión hidrostática y sus características son diferentes de los mecanismos de muchas máquinas de mantenimiento de césped. Algunos puntos a tener en cuenta durante la operación de la unidad de tracción y la unidad de corte son la transmisión, la velocidad del motor, la carga sobre las cuchillas y la importancia de los frenos.
Para mantener suficiente potencia para la máquina durante la operación, regule el pedal de tracción para mantener las revoluciones del motor altas y bastante constantes. Una buena regla a seguir es reducir la velocidad de avance a medida que aumenta la carga sobre las unidades de corte, y aumentar la velocidad de avance a medida que la carga disminuye.
Por lo tanto, deje que se mueva el pedal de tracción hacia atrás a medida que disminuye la velocidad del motor, y pise el pedal lentamente a medida que aumenta la velocidad. Por el contrario, cuando conduce de una zona de trabajo a otra sin carga y con la unidad de corte elevada, ponga el acelerador en posición de Rápido y pise lentamente pero a fondo el pedal de tracción para obtener la máxima velocidad de avance.
Otra característica a tener en cuenta es la operación de los pedales conectados a los frenos. Puede utilizar los frenos para ayudar a girar la máquina. No obstante, utilícelos con cuidado, sobre todo en hierba blanda o húmeda, porque se puede desgarrar el césped accidentalmente. Otra ventaja de los frenos es la de mantener la tracción. Por ejemplo, en ciertas condiciones de pendiente, la rueda que está 'cuesta arriba' resbala y pierde la tracción. Si esto ocurre, pise el pedal correspondiente a esa rueda de forma gradual e intermitente hasta que la rueda que está ‘cuesta arriba’ deje de resbalar, aumentando así la tracción en la otra rueda.
Tenga un cuidado especial al utilizar la máquina en pendientes. Asegúrese de que el enganche del asiento está correctamente cerrado, la barra antivuelco está elevada y bloqueada, y el cinturón de seguridad está abrochado. Conduzca lentamente y evite giros cerrados en pendientes para evitar vuelcos.
Important: Deje que el motor funcione en ralentí durante 5 minutos antes de pararlo después de funcionar a carga máxima. Esto permite que se enfríe el turbo antes de que se apague el motor. El no hacer esto puede causar problemas con el turbo.
Antes de apagar el motor, desengrane todos los controles y ponga el acelerador en LENTO. Al mover el acelerador a LENTO se reducen la velocidad del motor, el ruido y las vibraciones. Gire la llave a la posición DESCONECTADO para apagar el motor.
Antes de segar, practique la operación de la máquina en una zona abierta. Arranque y pare el motor. Haga funcionar la máquina hacia delante y hacia atrás. Baje y eleve las unidades de corte y engrane y desengrane los molinetes. Cuando se haya familiarizado con la máquina, practique el subir y bajar pendientes a diferentes velocidades.
Si se enciende un indicador de advertencia durante la operación, pare la máquina inmediatamente y corrija el problema antes de seguir con la operación. Se podrían producir graves daños si la máquina se utiliza con una avería.
Arranque el motor y mueva el interruptor de velocidad del motor a la posición de RáPIDO. Mueva el limitador de la velocidad de siega a la posición de SIEGA. Mueva el mando de la TDF a la posición de ENGRANADO y utilice el Interruptor de elevación para controlar las unidades de corte (las unidades de corte delanteras están sincronizadas para bajarse antes de las unidades de corte traseras). Para conducir hacia adelante y cortar la hierba, pise el pedal de tracción hacia adelante.
Mueva el mando de la TDF a la posición de DESENGRANADO y eleve las unidades de corte a la posición de transporte. Mueva el limitador de la velocidad de siega a la posición de transporte. Tenga cuidado al conducir entre objetos para no dañar accidentalmente la máquina ni las unidades de corte. Tenga un cuidado especial al utilizar la máquina en pendientes. Conduzca lentamente y evite giros cerrados en pendientes para evitar vuelcos.
Note: Los lados derecho e izquierdo de la máquina se determinan desde la posición normal del operador.
| Intervalo de mantenimiento y servicio | Procedimiento de mantenimiento |
|---|---|
| Después de las primeras 8 horas |
|
| Después de las primeras 200 horas |
|
| Cada vez que se utilice o diariamente |
|
| Cada 50 horas |
|
| Cada 100 horas |
|
| Cada 200 horas |
|
| Cada 250 horas |
|
| Cada 400 horas |
|
| Cada 800 horas |
|
| Antes del almacenamiento |
|
Duplique esta página para su uso rutinario.
| Elemento a comprobar | Para la semana de: | ||||||
|---|---|---|---|---|---|---|---|
| Lun. | Mar. | Miér. | Jue. | Vie. | Sáb. | Dom. | |
| Compruebe el funcionamiento de los interruptores de seguridad. | |||||||
| Compruebe el funcionamiento de los frenos. | |||||||
| Compruebe el nivel de aceite del motor y del combustible. | |||||||
| Compruebe el nivel del fluido del sistema de refrigeración. | |||||||
| Drene el separador de agua/combustible. | |||||||
| Compruebe el indicador de mantenimiento del filtro de aire. | |||||||
| Compruebe que el radiador , el enfriador de aceite y la rejilla están libres de residuos. | |||||||
| Compruebe que no haya ruidos extraños en el motor.1 | |||||||
| Compruebe que no haya ruidos extraños durante el funcionamiento. | |||||||
| Compruebe el nivel del fluido del sistema hidráulico. | |||||||
| Compruebe que las mangueras hidráulicas no están dañadas. | |||||||
| Compruebe que no haya fugas de fluidos. | |||||||
| Compruebe la presión de los neumáticos. | |||||||
| Compruebe la operación de los instrumentos. | |||||||
| Compruebe el ajuste molinete-contracuchilla. | |||||||
| Compruebe el ajuste de altura de corte. | |||||||
| Lubrique todos los engrasadores.2 | |||||||
| Retoque cualquier pintura dañada. | |||||||
1. Compruebe la bujía y las boquillas de los inyectores en caso de dificultad para arrancar, exceso de humo o funcionamiento irregular.
2. Inmediatamente después de cada lavado, aunque no corresponda a uno de los intervalos citados
| Inspección realizada por: | ||
| Elemento | Fecha | Información |
| 1 | ||
| 2 | ||
| 3 | ||
| 4 | ||
| 5 | ||
| 6 | ||
| 7 | ||
| 8 | ||
Important: Consulte en el Manual del operador del motor y en el Manual del operador de la unidad de corte los procedimientos adicionales de mantenimiento.
Note: Para obtener un esquema eléctrico o un esquema hidráulico para su máquina, visite www.toro.com.

Si deja la llave en el interruptor de encendido, alguien podría arrancar el motor accidentalmente y causar lesiones graves a usted o a otras personas.
Retire la llave de contacto antes de realizar cualquier operación de mantenimiento.
Antes de ajustar, limpiar, reparar o dejar la máquina, siga estos pasos:
Aparque la máquina en una superficie nivelada.
Ponga el mando del acelerador en la posición de ralentí bajo.
Desengrane las unidades de corte.
Baje las unidades de corte.
Asegúrese de que la tracción está en punto muerto.
Accione el freno de estacionamiento.
Apague el motor y retire la llave.
Espere a que se detengan todas las piezas en movimiento.
Deje que los componentes de la máquina se enfríen antes de realizar el mantenimiento.
Si las unidades de corte están en la posición de transporte, utilice el bloqueo mecánico positivo (si está disponible) antes de dejar la máquina desatendida.
Si es posible, no realice tareas de mantenimiento con el motor en marcha. Manténgase alejado de las piezas en movimiento.
Utilice soportes fijos para apoyar la máquina o los componentes cuando sea necesario.
Alivie con cuidado la tensión de aquellos componentes que tengan energía almacenada.
Desenganche los cierres del capó (Figura 47) y abra el capó.

Retire los pasadores de seguridad que sujetan los soportes traseros del capó a las clavijas del bastidor, y retire el capó.
| Intervalo de mantenimiento y servicio | Procedimiento de mantenimiento |
|---|---|
| Cada 50 horas |
|
La máquina tiene engrasadores que deben ser lubricados regularmente con grasa de litio Nº 2. Si la máquina se utiliza en condiciones normales, lubrique todos los cojinetes y casquillos después de cada 50 horas de operación o inmediatamente después de cada lavado.
La ubicación de los engrasadores y las cantidades requeridas son:
Cojinetes del pivote del eje de freno (5) (Figura 48)

Casquillos del pivote del eje trasero (2) (Figura 49)

Articulaciones esféricas del cilindro de dirección (2) (Figura 50)

Articulaciones esféricas de las bielas (2) (Figura 50)
Casquillos del pivote de dirección (2) (Figura 50). El punto de engrase superior del pivote de dirección debe lubricarse solamente cada año (2 aplicaciones).
Casquillos de los brazos de elevación (1 por unidad de corte) (Figura 51)

Casquillos de los cilindros de elevación (2 por unidad de corte) (Figura 51)
Casquillos de pivote de los brazos de elevación (1 por unidad de corte) (Figura 52)
Bastidor de tiro de la unidad de corte (2 por unidad de corte) (Figura 52)
Pivotes de los brazos de elevación de las unidades de corte (1 por unidad de corte) (Figura 52).

Apague el motor antes de comprobar el aceite o añadir aceite al cárter.
No cambie la velocidad del regulador ni haga funcionar el motor a una velocidad excesiva.
| Intervalo de mantenimiento y servicio | Procedimiento de mantenimiento |
|---|---|
| Cada 400 horas |
|
Inspeccione la carcasa del limpiador de aire en busca de daños que pudieran causar una fuga de aire. Cámbielo si está dañado. Compruebe todo el sistema de admisión en busca de fugas, daños o abrazaderas sueltas.
Revise el filtro del limpiador de aire únicamente cuando el indicador de mantenimiento (Figura 53) lo requiera. El cambiar el filtro antes de que sea necesario sólo aumenta la posibilidad de que entre suciedad en el motor al retirar el filtro.

Important: Asegúrese de que la tapa está bien asentada y que hace un buen sello con la carcasa del limpiador de aire.
Aparque la máquina en una superficie nivelada, baje las unidades de corte, ponga el freno de estacionamiento, apague el motor y retire la llave.
Tire hacia fuera del enganche y gire la tapa del limpiador de aire en sentido antihorario (Figura 54).

Retire la tapa de la carcasa del limpiador de aire.
Antes de retirar el filtro, utilice aire a baja presión (2,76 bar, limpio y seco) para ayudar a retirar cualquier acumulación importante de residuos aprisionada entre el exterior del filtro primario y el cartucho. Evite utilizar aire a alta presión, porque podría obligar a la suciedad a penetrar a través del filtro a la entrada.
Este proceso de limpieza evita que los residuos migren a la entrada de aire al retirar el filtro primario.
Retire y cambie el filtro primario (Figura 55).
No se recomienda limpiar el elemento usado debido a la posibilidad de causar daños al medio filtrante. Asegúrese de que el filtro nuevo no ha sido dañado durante el transporte, comprobando el extremo sellante del filtro y la carcasa. No utilice el elemento si está dañado.
Introduzca el filtro nuevo presionando el borde exterior del elemento para asentarlo en el cartucho. No aplique presión al centro flexible del filtro.

Important: No intente nunca limpiar el filtro de seguridad (Figura 56). Sustituya el filtro de seguridad por uno nuevo después de cada tres revisiones del filtro primario.

Limpie el orificio de expulsión de suciedad situado en la tapa extraíble.
Retire la válvula de salida de goma de la cubierta, limpie el hueco e instale la válvula de salida.
Instale la tapa orientando la válvula de salida de goma hacia abajo – aproximadamente entre las 5 y las 7, visto desde el extremo.
Reinicie el indicador (Figura 53) si se ve rojo.
| Intervalo de mantenimiento y servicio | Procedimiento de mantenimiento |
|---|---|
| Cada 250 horas |
|
Aparque la máquina en una superficie nivelada, baje las unidades de corte, ponga el freno de estacionamiento, apague el motor y retire la llave.
Retire el tapón de vaciado (Figura 57) y deje fluir el aceite a un recipiente apropiado.

Cuando el aceite deje de fluir, coloque el tapón de vaciado.
Retire el filtro de aceite (Figura 58).

Aplique una capa ligera de aceite limpio a la junta del filtro nuevo antes de instalarlo.
Note: No apriete el filtro demasiado.
Añada aceite al cárter; consulte Comprobación del nivel de aceite del motor.
Ajuste el cable del acelerador (Figura 59) de modo que la palanca del regulador, situada en el motor, entre en contacto con el perno de ajuste de velocidad alta al mismo tiempo en que el cable del acelerador entra en contacto con el extremo de la ranura del brazo de control.

Bajo ciertas condiciones el combustible diésel y los vapores del combustible son extremadamente inflamables y explosivos. Un incendio o explosión de combustible puede quemarle a usted y a otras personas y causar daños materiales.
Llene el depósito de combustible en el exterior, en una zona abierta y con el motor apagado y frío. Limpie cualquier combustible derramado.
No llene completamente el depósito de combustible. Añada combustible al depósito de combustible hasta que el nivel esté a 25 mm por debajo de la parte superior del depósito, no del cuello de llenado. Este espacio vacío en el depósito permite la dilatación del combustible.
No fume nunca mientras maneja el combustible, y aléjese de llamas desnudas o lugares donde los vapores del combustible pueden incendiarse con una chispa.
Almacene el combustible en un recipiente limpio homologado y mantenga el tapón colocado.
| Intervalo de mantenimiento y servicio | Procedimiento de mantenimiento |
|---|---|
| Cada 800 horas |
|
| Antes del almacenamiento |
|
Aparque la máquina en una superficie nivelada, baje las unidades de corte, ponga el freno de estacionamiento, apague el motor y retire la llave.
Vacíe y limpie el depósito si se contamina el sistema de combustible o si la máquina ha de almacenarse durante un periodo de tiempo extendido. Utilice combustible limpio para enjuagar el depósito.
| Intervalo de mantenimiento y servicio | Procedimiento de mantenimiento |
|---|---|
| Cada 400 horas |
|
Aparque la máquina en una superficie nivelada, baje las unidades de corte, ponga el freno de estacionamiento, apague el motor y retire la llave.
Compruebe que los tubos de combustible no están deteriorados o dañados, y que las conexiones no están sueltas.
| Intervalo de mantenimiento y servicio | Procedimiento de mantenimiento |
|---|---|
| Cada vez que se utilice o diariamente |
|
| Cada 400 horas |
|
Aparque la máquina en una superficie nivelada, baje las unidades de corte, ponga el freno de estacionamiento, apague el motor y retire la llave.
Coloque un recipiente limpio debajo del filtro de combustible.
Afloje el tapón de vaciado en la parte inferior del cartucho del filtro.

Limpie la zona de montaje del cartucho del filtro.
Retire el cartucho del filtro y limpie la superficie de montaje.
Lubrique la junta del cartucho del filtro con aceite limpio.
Instale el cartucho del filtro a mano hasta que la junta entre en contacto con la superficie de montaje, luego gírelo media vuelta más.
Apriete el tapón de vaciado en la parte inferior del cartucho del filtro.
Aparque la máquina en una superficie nivelada, baje las unidades de corte, ponga el freno de estacionamiento, apague el motor y retire la llave.
El tubo de entrada de combustible, situado dentro del depósito de combustible, lleva un filtro para evitar que entren residuos en el sistema de combustible. Retire el tubo de la entrada de combustible y limpie el filtro según sea necesario.
Desconecte la batería antes de reparar la máquina. Desconecte primero el terminal negativo y luego el positivo. Conecte primero el terminal positivo y luego el negativo.
Cargue la batería en una zona abierta y bien ventilada, lejos de chispas y llamas. Desenchufe el cargador antes de conectar o desconectar la batería. Lleve ropa protectora y utilice herramientas aisladas.
Los bornes, terminales y otros accesorios de la batería contienen plomo y compuestos de plomo, productos químicos reconocidos por el Estado de California como causantes de cáncer y daños reproductivos. Lávese las manos después de manejar el material.
Aparque la máquina en una superficie nivelada, baje las unidades de corte, ponga el freno de estacionamiento, apague el motor y retire la llave.
Desenganche y levante el panel de la consola del operador (Figura 61).

El electrolito de la batería contiene ácido sulfúrico, que es un veneno mortal y causa quemaduras graves.
No beba electrolito y evite el contacto con la piel, los ojos y la ropa. Lleve gafas de seguridad para proteger sus ojos, y guantes de goma para proteger sus manos.
Llene la batería en un lugar que tenga disponible agua limpia para enjuagar la piel.
Conecte un cargador de batería de 3 a 4 amperios a los bornes de la batería.
Cargue la batería a un ritmo de 3 a 4 amperios durante 4 a 8 horas.
Cuando la batería esté cargada, desconecte el cargador de la toma de electricidad, luego de los bornes de la batería.
El proceso de carga de la batería produce gases que pueden explotar.
No fume nunca cerca de la batería, y mantenga alejados de la batería chispas y llamas.
Conecte el cable positivo (rojo) al borne positivo (+) y el cable negativo (negro) al borne negativo (-) de la batería (Figura 62).

Sujete los cables a los bornes con tornillos y tuercas.
Asegúrese de que el terminal positivo (+) está colocado a tope en el borne, y que el cable está colocado junto a la batería. El cable no debe entrar en contacto con la tapa de la batería.
Deslice la cubierta de goma sobre el terminal positivo para evitar posibles cortocircuitos eléctricos.
Aplique una capa de grasa Grafo 112X (Nº de Pieza Toro 505-47), de vaselina o de grasa ligera a ambas conexiones de la batería para evitar la corrosión.
Deslice la cubierta de goma sobre el borne positivo.
Cierre el panel de la consola y sujete el cierre.
Los bornes de la batería o una herramienta metálica podrían hacer cortocircuito si entran en contacto con los componentes metálicos, causando chispas. Las chispas podrían hacer explotar los gases de la batería, causando lesiones personales.
Al retirar o colocar la batería, no deje que los bornes toquen ninguna parte metálica de la máquina.
No deje que las herramientas metálicas hagan cortocircuito entre los bornes de la batería y las partes metálicas de la máquina.
Un enrutado incorrecto de los cables de la batería podría dañar la máquina y los cables, causando chispas. Las chispas podrían hacer explotar los gases de la batería, causando lesiones personales.
Desconecte siempre el cable negativo (negro) de la batería antes de desconectar el cable positivo (rojo).
Conecte siempre el cable positivo (rojo) de la batería antes de conectar el cable negativo (negro).
| Intervalo de mantenimiento y servicio | Procedimiento de mantenimiento |
|---|---|
| Cada 50 horas |
|
Important: Antes de efectuar soldaduras en la máquina, desconecte el cable negativo de la batería para evitar daños al sistema eléctrico.
Note: Compruebe la condición de la batería cada semana o cada 50 horas de operación. Mantenga limpios los bornes y toda la carcasa de la batería, porque una batería sucia se descargará lentamente.
Limpie la batería como se indica a continuación:
Aparque la máquina en una superficie nivelada, baje las unidades de corte, ponga el freno de estacionamiento, apague el motor y retire la llave.
Retire la batería de la máquina.
Lave toda la caja con una solución de bicarbonato y agua.
Enjuague la caja con agua limpia.
Aplique una capa de grasa Grafo 112X (Nº de Pieza Toro 505-47) o de vaselina a los conectores de los cables y a los bornes de la batería para evitar la corrosión.
Los fusibles se encuentran debajo del panel de control del operador.

Aparque la máquina en una superficie nivelada, baje las unidades de corte, ponga el freno de estacionamiento, apague el motor y retire la llave.
Desenganche y levante el panel de la consola del operador (Figura 64) para tener acceso a los fusibles (Figura 65).


| Intervalo de mantenimiento y servicio | Procedimiento de mantenimiento |
|---|---|
| Después de las primeras 8 horas |
|
| Cada 200 horas |
|
Aparque la máquina en una superficie nivelada, baje las unidades de corte, ponga el freno de estacionamiento, apague el motor y retire la llave.
Si no se mantiene el par de apriete correcto de las tuercas de las ruedas, podría producirse un fallo o la pérdida de una rueda, lo que podría provocar lesiones personales.
Apriete las tuercas de las ruedas delanteras y traseras a 115–136 N·m después de 1–4 horas de operación, y otra vez después de 8 horas de operación. A partir de entonces, apriete las tuercas de las ruedas cada 200 horas.
Note: Las tuercas de las ruedas delanteras son ½-20 UNF. Las tuercas de las ruedas traseras son M12 x 1.6–6H (métrico).
| Intervalo de mantenimiento y servicio | Procedimiento de mantenimiento |
|---|---|
| Cada 400 horas |
|
Compruebe el nivel de aceite cada 400 horas de operación. Utilice lubricante para engranajes SAE 85W-140 de alta calidad.
Aparque la máquina en una superficie nivelada, baje las unidades de corte, ponga el freno de estacionamiento, apague el motor y retire la llave.
Coloque la rueda con un tapón de verificación (Figura 66) en la posición de las 12 y el otro en la posición de las 3.

Retire el tapón de la posición de las 3 (Figura 66).
Note: El aceite debe llegar a la parte inferior del orificio.
Si el nivel de aceite es bajo, retire el tapón de la posición de las 12 y añada aceite hasta que empiece a salir del orificio en la posición de las 3.
Coloque ambos tapones.
Repita los pasos 2 a 5 en el otro conjunto de engranajes planetarios.
| Intervalo de mantenimiento y servicio | Procedimiento de mantenimiento |
|---|---|
| Después de las primeras 200 horas |
|
| Cada 800 horas |
|
Cambie el aceite inicialmente después de las primeras 200 horas de operación. Luego, cambie el aceite cada 800 horas o cada año, lo que ocurra primero. Utilice lubricante para engranajes SAE 85W-140 de alta calidad.
Aparque la máquina en una superficie nivelada, baje las unidades de corte, ponga el freno de estacionamiento, apague el motor y retire la llave.
Coloque una rueda de manera que uno de los tapones de verificación esté en la posición más baja (posición de las 6) (Figura 67).

Coloque un recipiente debajo del cubo planetario, retire el tapón y deje que se drene el aceite.
Coloque un recipiente debajo del alojamiento del freno, retire el tapón y deje que se drene el aceite (Figura 68).

Cuando el aceite se haya drenado completamente de ambos lugares, instale el tapón en el alojamiento del freno.
Gire la rueda hasta que el orificio abierto del planetario esté en la posición de las doce.
Por el orificio abierto, llene lentamente la transmisión planetaria con 0,65 litros de lubricante para engranajes SAE 85W-140 de alta calidad.
Important: Si se llena la transmisión planetaria antes de haber agregado 0,65 litros de aceite, espere una hora o instale el tapón y desplace la máquina unos 3 metros para distribuir el aceite por el sistema de frenado. Luego, retire el tapón y añada el aceite restante.
Vuelva a colocar el tapón.
Repita este procedimiento en el otro conjunto de engranaje planetario/freno.
| Intervalo de mantenimiento y servicio | Procedimiento de mantenimiento |
|---|---|
| Cada 400 horas |
|
El eje trasero se llena en fábrica con lubricante para engranajes SAE 85W-140. Compruebe el nivel de aceite antes de arrancar el motor por primera vez y luego cada 400 horas. La capacidad es de 2,4 litros. Compruebe diariamente que no existen fugas.
Aparque la máquina en una superficie nivelada, baje las unidades de corte, ponga el freno de estacionamiento, apague el motor y retire la llave.
Retire un tapón de verificación de un extremo del eje (Figura 69) y asegúrese de que el aceite llega al borde inferior del orificio. Si el nivel es bajo, retire el tapón de llenado (Figura 69) y añada suficiente aceite para que el nivel llegue al borde inferior de los orificios de los tapones de verificación.

| Intervalo de mantenimiento y servicio | Procedimiento de mantenimiento |
|---|---|
| Después de las primeras 200 horas |
|
| Cada 800 horas |
|
Aparque la máquina en una superficie nivelada, baje las unidades de corte, ponga el freno de estacionamiento, apague el motor y retire la llave.
Limpie la zona alrededor de los tres tapones de vaciado, uno en cada extremo y uno en el centro (Figura 70).

Retire los tres tapones de verificación del nivel de aceite y el tapón de ventilación del eje principal para facilitar el vaciado del aceite.
Retire el tapón de vaciado y deje fluir el aceite a los recipientes.
Coloque los tapones.
Retire un tapón de verificación y llene el eje con aproximadamente 2,37 litros de lubricante para engranajes 85W-140, o hasta que el lubricante llegue al borde inferior del orificio.
Instale el tapón de verificación.
| Intervalo de mantenimiento y servicio | Procedimiento de mantenimiento |
|---|---|
| Cada 400 horas |
|
La caja de engranajes está llena de lubricante para engranajes SAE 85W-140. Compruebe el nivel de aceite antes de arrancar el motor por primera vez y luego cada 400 horas. La capacidad es de 0,5 litros. Compruebe diariamente que no existen fugas.
Aparque la máquina en una superficie nivelada, baje las unidades de corte, ponga el freno de estacionamiento, apague el motor y retire la llave.
Retire el tapón de verificación/llenado del lado izquierdo de la caja de engranajes (Figura 71) y asegúrese de que el lubricante llega al borde inferior del orificio. Si el nivel es bajo, añada suficiente lubricante para que el nivel llegue al borde inferior del orificio.

La máquina no debe moverse cuando se suelta el pedal de tracción. Si se mueve, es necesario realizar un ajuste.
Aparque la máquina en una superficie nivelada, apague el motor, ponga el control de velocidad en el intervalo bajo, y baje las unidades de corte.
Pise solamente el pedal de freno derecho y ponga el freno de estacionamiento.
Eleve con un gato la parte izquierda de la máquina hasta que la rueda delantera izquierda no toque el suelo. Coloque soportes fijos debajo de la máquina para evitar que se caiga accidentalmente.
Arranque el motor y déjelo funcionar a ralentí bajo.
Ajuste las contratuercas del extremo de la varilla de la bomba para desplazar el tubo de control de la bomba hacia adelante, para eliminar el movimiento de la máquina hacia adelante, o hacia atrás, para eliminar el movimiento hacia atrás (Figura 72).

Cuando las ruedas dejen de girar, apriete las contratuercas para afianzar el ajuste.
Pare el motor y quite el freno derecho.
Retire los soportes y baje la máquina al suelo.
Haga una prueba de conducción de la máquina para asegurarse de que no se desplaza indebidamente.
| Intervalo de mantenimiento y servicio | Procedimiento de mantenimiento |
|---|---|
| Cada 800 horas |
|
Aparque la máquina en una superficie nivelada, baje las unidades de corte, ponga el freno de estacionamiento, apague el motor y retire la llave.
Mida la distancia entre centros (a la altura del eje) en la parte delantera y trasera de los neumáticos de dirección.
Note: La distancia delantera debe ser de 3 mm menos que la trasera (Figura 73).

Para ajustar la convergencia, retire la chaveta y la tuerca de cualquiera de las rótulas de la biela (Figura 74).

Retire la rótula de la biela del soporte de la caja del eje.
Afloje las abrazaderas en ambos extremos de las bielas (Figura 74).
Gire la rótula retirada una (1) vuelta completa hacia dentro o hacia fuera.
Apriete la abrazadera en el extremo suelto de la biela.
Gire el conjunto completo de la biela una vuelta completa en el mismo sentido (hacia dentro o hacia fuera).
Apriete la abrazadera en el extremo conectado de la biela.
Instale la articulación esférica en el soporte del eje y apriete la tuerca con la presión de los dedos simplemente.
Mida la convergencia.
Repita el procedimiento si es necesario.
Apriete la tuerca e instale una chaveta nueva cuando el ajuste sea correcto.
La ingestión del refrigerante del motor puede causar envenenamiento; manténgalo fuera del alcance de niños y animales domésticos.
Una descarga de refrigerante caliente bajo presión, o cualquier contacto con el radiador caliente y los componentes que lo rodean, puede causar quemaduras graves.
Siempre deje que el motor se enfríe durante al menos 15 minutos antes de retirar el tapón del radiador.
Utilice un trapo al abrir la tapa del radiador, y ábralo lentamente para permitir la salida del vapor.
| Intervalo de mantenimiento y servicio | Procedimiento de mantenimiento |
|---|---|
| Cada vez que se utilice o diariamente |
|
Limpie cualquier suciedad de la zona del motor, del radiador y del enfriador de aceite cada día. Limpie con más frecuencia en condiciones de mucho polvo o suciedad.
Aparque la máquina en una superficie nivelada, baje las unidades de corte, ponga el freno de estacionamiento, apague el motor y retire la llave.
Desenganche y abra la rejilla trasera (Figura 75).

Limpie a fondo cualquier residuo de la rejilla.
Note: Para retirar la rejilla, levántela de los goznes.
Limpie a fondo ambos lados de la zona del enfriador de aceite/radiador (Figura 76) con aire comprimido. Empezando en la parte delantera, sople los residuos hacia la parte trasera. Luego, limpie desde atrás, soplando los residuos hacia adelante. Repita el procedimiento varias veces hasta eliminar todos los residuos.

Important: Si se limpia el enfriador de aceite o el radiador con agua, pueden producirse daños prematuros en los componentes por corrosión y compactación de los residuos.
Cierre la rejilla trasera y sujétela con el enganche.
Ajuste los frenos de servicio si el pedal de freno tiene más de 13 mm de holgura, o si los frenos no funcionan eficazmente. La holgura es la distancia que recorre el pedal de freno antes de notarse una resistencia de frenado.
Aparque la máquina en una superficie nivelada, baje las unidades de corte, ponga el freno de estacionamiento, apague el motor y retire la llave.
Desengrane el enganche de bloqueo de los pedales de freno para que ambos pedales funcionen de forma independiente.
Para reducir la holgura de los pedales de freno, apriete los frenos como se indica a continuación:
Afloje la tuerca delantera del extremo roscado del cable de freno (Figura 77).

Apriete la tuerca trasera para mover el cable hacia atrás hasta que los pedales de freno tengan una holgura de 0–13 mm.
Note: Asegúrese de que no hay tensión de frenado con el pedal suelto.
Apriete las tuercas delanteras una vez que los frenos estén ajustados correctamente.
| Intervalo de mantenimiento y servicio | Procedimiento de mantenimiento |
|---|---|
| Cada 100 horas |
|
Compruebe la condición y la tensión de las correas (Figura 78) cada 100 horas de operación.
Una tensión correcta permitirá una desviación de 10 mm al aplicar una fuerza de 45 N a la correa, en el punto intermedio entre las poleas.
Si la desviación no es de 10 mm, afloje los pernos de montaje del alternador (Figura 78).

Aumente o reduzca la tensión de la correa del alternador y apriete los pernos.
Verifique de nuevo la desviación de la correa para asegurarse de que la tensión es la correcta.
Asegúrese de que todas las mangueras y líneas de fluido hidráulicos están en buenas condiciones de uso, y que todos los acoplamientos y conexiones hidráulicos están apretados, antes de aplicar presión al sistema hidráulico.
Mantenga el cuerpo y las manos alejados de fugas pequeñas o boquillas que liberan fluido hidráulico a alta presión.
Utilice un cartón o un papel para buscar fugas hidráulicas.
Alivie de manera segura toda presión en el sistema hidráulico antes de realizar trabajo alguno en el sistema hidráulico.
Busque atención médica inmediatamente si el fluido penetra en la piel. Un médico deberá eliminar quirúrgicamente el fluido inyectado en pocas horas.
| Intervalo de mantenimiento y servicio | Procedimiento de mantenimiento |
|---|---|
| Cada 800 horas |
|
Cambie el fluido hidráulico cada 800 horas de operación, en condiciones normales. Si el fluido se contamina, póngase en contacto con su distribuidor autorizado Toro, porque el sistema debe ser purgado. El fluido contaminado tiene un aspecto lechoso o negro en comparación con el fluido limpio.
Aparque la máquina en una superficie nivelada, baje las unidades de corte, ponga el freno de estacionamiento, apague el motor y retire la llave.
Levante el capó.
Desconecte la manguera de retorno de la parte inferior del depósito y deje fluir el fluido hidráulico a un recipiente grande.
Conecte la manguera cuando el fluido hidráulico se haya drenado.
Llene el depósito con aproximadamente 28,4 litros de fluido hidráulico; consulte Comprobación del nivel de fluido hidráulico.
Important: Utilice solamente los fluidos hidráulicos especificados. Otros fluidos podrían causar daños en el sistema.
Coloque el tapón del depósito.
Arranque el motor y utilice todos los controles hidráulicos para distribuir el fluido hidráulico por todo el sistema.
Compruebe que no hay fugas y apague el motor.
Verifique el nivel de fluido y añada suficiente para que el nivel llegue a la marca de Lleno de la varilla.
Note: No llene demasiado el sistema hidráulico.
| Intervalo de mantenimiento y servicio | Procedimiento de mantenimiento |
|---|---|
| Después de las primeras 200 horas |
|
| Cada 800 horas |
|
Cambie los 2 filtros de aceite hidráulico inicialmente después de las primeras 200 horas de operación. Luego, cambie los filtros después de cada 800 horas de operación, en condiciones normales.
Utilice filtros de recambio Toro Pieza Nº 94-2621 para la parte trasera (unidad de corte) de la máquina y 75-1310 para la parte delantera (carga) de la máquina.
Important: El uso de cualquier otro filtro puede anular la garantía de algunos componentes.
Aparque la máquina en una superficie nivelada, baje las unidades de corte, ponga el freno de estacionamiento, apague el motor y retire la llave.
Limpie la zona de montaje del filtro.
Coloque un recipiente debajo del filtro y retire el filtro (Figura 79 y Figura 80).
Lubrique la junta del filtro nuevo y llene el filtro de fluido hidráulico.


Asegúrese de que la zona de montaje del filtro está limpia.
Enrosque el filtro nuevo hasta que la junta toque la placa de montaje, luego apriete el filtro ½ vuelta más.
Arranque el motor y déjelo funcionar durante unos 2 minutos para purgar el aire del sistema.
Apague el motor y compruebe que no hay fugas.
| Intervalo de mantenimiento y servicio | Procedimiento de mantenimiento |
|---|---|
| Cada vez que se utilice o diariamente |
|
Inspeccione a diario los tubos y las mangueras hidráulicos para comprobar que no tienen fugas, que no están doblados, que los soportes no están sueltos, y que no hay desgaste, elementos sueltos, o deterioro causado por agentes ambientales o químicos. Haga todas las reparaciones necesarias antes de operar la máquina.
Las fugas de fluido hidráulico bajo presión pueden penetrar en la piel y causar lesiones.
Asegúrese de que todas las mangueras y líneas de fluido hidráulico están en buenas condiciones de uso, y que todos los acoplamientos y conexiones hidráulicos están apretados, antes de aplicar presión al sistema hidráulico.
Mantenga el cuerpo y las manos alejados de fugas pequeñas o boquillas que liberan fluido hidráulico a alta presión.
Utilice un cartón o un papel para buscar fugas hidráulicas.
Alivie de manera segura toda presión en el sistema hidráulico antes de realizar trabajo alguno en el sistema hidráulico.
Busque atención médica inmediatamente si el fluido penetra en la piel.
Una unidad de corte desgastada o dañada puede romperse, y un trozo de un molinete o de una contracuchilla podría ser arrojado hacia usted u otra persona, provocando lesiones personales graves o la muerte.
Inspeccione las unidades de corte periódicamente en busca de desgaste o daños.
Tenga cuidado al revisar las unidades de corte. Envuelva las cuchillas o lleve guantes, y extreme las precauciones al manejar los molinetes y las contracuchillas. Las cuchillas y las contracuchillas solo se pueden cambiar o afilar; no las enderece ni las suelde nunca.
En máquinas con múltiples cuchillas, tenga cuidado puesto que girar un molinete puede hacer que giren otras cuchillas.
El contacto con los molinetes u otras piezas en movimiento puede causar lesiones personales.
Mantenga las manos, los pies y la ropa alejados de los molinetes u otras piezas en movimiento.
No intente nunca girar los molinetes con la mano o con el pie con el motor en marcha.
Note: Durante el autoafilado, las unidades delanteras funcionan todas juntas, y las unidades traseras funcionan juntas.
Aparque la máquina en una superficie nivelada, baje las unidades de corte, ponga el freno de estacionamiento, apague el motor y ponga el interruptor de la TDF en la posición de DESENGRANADO.
Desbloquee y levante el capó para poder acceder a los controles.
Realice los ajustes iniciales de molinete a contracuchilla apropiados para el autoafilado en todas las unidades de corte que se vayan a autoafilar; consulte el Manual del operador de la unidad de corte.
Seleccione la palanca de autoafilado correspondiente a los molinetes que desea autoafilar: delanteros, traseros o ambos (Figura 81).
Arranque el motor y déjelo funcionar a velocidad de ralentí bajo.
Si se cambia la velocidad del motor durante el autoafilado, los molinetes pueden atascarse.
No cambie nunca la velocidad del motor durante el autoafilado.
Realice el autoafilado únicamente a velocidad de ralentí bajo.
El contacto con las unidades de corte puede causar lesiones personales.
Asegúrese de apartarse de las unidades de corte antes de continuar.
Con el limitador de la velocidad de siega en la posición de SIEGA, mueva el mando de la TDF a la posición de ENGRANADO.
Pulse el interruptor de elevación para iniciar la operación de autoafilado en los molinetes seleccionados.
Aplique pasta de autoafilado con una brocha de mango largo.
Note: No utilice una brocha de mango corto.

Si los molinetes se atascan o si la velocidad no es estable durante el autoafilado, aumente la velocidad hasta que los molinetes se estabilicen.
Para realizar ajustes a las unidades de corte durante el autoafilado, pare los molinetes presionando la parte trasera del interruptor de elevación; mueva el mando de la TDF a la posición de DESENGRANADO, y apague el motor. Una vez completados los ajustes, repita los pasos 5 a 9.
Repita el procedimiento para todas las unidades de corte que desea autoafilar.
Cuando termine, ponga las palancas de autoafilado en la posición de SIEGA, baje el capó y lave toda la pasta de autoafilado de las unidades de corte. Ajuste el molinete de la unidad de corte a la contracuchilla según sea necesario. Mueva los controles de velocidad de los molinetes de la unidad de corte a la posición de siega deseada.
Important: Si el interruptor de autoafilado no se pone en la posición de DESCONECTADO después del autoafilado, las unidades de corte no se elevarán ni funcionarán correctamente.
Note: El Manual de Afilado de Cortacéspedes de Molinete y Giratorios de Toro, Impreso Nº 80-300SL, contiene instrucciones y procedimientos adicionales relacionados con el autoafilado.
Note: Para obtener un filo de corte mejor, pase una lima por la cara delantera de la contracuchilla después de afilar. Esto eliminará cualquier rebaba o aspereza que pueda haber aparecido en el filo de corte.
Aparque la máquina en una superficie nivelada, baje las unidades de corte, ponga el freno de estacionamiento, apague el motor y retire la llave.
Limpie a fondo la unidad de tracción, las unidades de corte y el motor.
Compruebe la presión de los neumáticos; consulte Comprobación de la presión de los neumáticos.
Compruebe que todas las fijaciones están bien apretadas; apriételas si es necesario.
Aplique grasa o aceite a todos los engrasadores y puntos de giro. Limpie cualquier exceso de lubricante.
Lije suavemente y aplique pintura de retoque a cualquier zona pintada que esté rayada, desconchada u oxidada. Repare cualquier desperfecto de la carrocería.
Preparación de la batería y los cables:
Retire los terminales de los bornes de la batería.
Limpie la batería, los terminales y los bornes con un cepillo de alambre y una solución de bicarbonato.
Aplique una capa de grasa Grafo 112X (No. de Pieza Toro 505-47) o de vaselina a los terminales de los cables y a los bornes de la batería para evitar la corrosión.
Cargue la batería lentamente durante 24 horas cada 60 días para evitar el sulfatado de plomo de la batería.
Vacíe el aceite de motor del cárter y coloque el tapón de vaciado.
Retire y deseche el filtro de aceite. Instale un filtro de aceite nuevo.
Llene el motor con aceite de motor del tipo especificado.
Arranque el motor y déjelo funcionar a velocidad de ralentí durante aproximadamente 2 minutos.
Pare el motor.
Enjuague el depósito de combustible con combustible limpio y nuevo.
Apriete todos los elementos del sistema de combustible.
Realice una limpieza y un mantenimiento completos del conjunto del limpiador de aire.
Selle la entrada del limpiador de aire y la salida del tubo de escape con cinta impermeabilizante.
Compruebe el anticongelante y añada una solución al 50 % de agua y anticongelante de etilenglicol según sea necesario dependiendo de la temperatura mínima prevista para su zona.