| Cadenza di manutenzione | Procedura di manutenzione |
|---|---|
| Prima di ogni utilizzo o quotidianamente |
|
Questo è un tosaerba dotato di postazione per l'operatore e cilindri di taglio, pensato per essere utilizzato da professionisti e operatori del verde in applicazioni commerciali. Il suo scopo è quello di tagliare l'erba di campi da golf, parchi, campi sportivi e aree verdi commerciali ben tenuti. Non è stato progettato per tagliare aree cespugliose, erba e altre piante ai bordi delle strade, né per impieghi in agricoltura.
Leggete attentamente il presente manuale per utilizzare ed eseguire correttamente la manutenzione del prodotto, e per evitare lesioni personali e danni al prodotto. Siete responsabili dell'utilizzo del prodotto in maniera corretta e sicura.
Important: Per massimizzare la sicurezza, le prestazioni e garantire il funzionamento adeguato della macchina dovete leggere e comprendere appieno il contenuto del presente Manuale dell'operatore. Il mancato rispetto delle istruzioni operative qui riportate o una formazione non adeguata possono essere causa di lesioni. Per ulteriori informazioni sulle pratiche operative sicure, inclusi i suggerimenti relativi alla sicurezza e il materiale per la formazione, visitate il sito web www.Toro.com.
Per ricevere materiale di addestramento sulla sicurezza e il funzionamento dei prodotti, informazioni sugli accessori, ottenere assistenza nella ricerca di un rivenditore o registrare il vostro prodotto potete contattare direttamente Toro all'indirizzo www.Toro.com.
Per assistenza, ricambi originali Toro o ulteriori informazioni, rivolgetevi a un Distributore Toro autorizzato o ad un Centro Assistenza Toro ed abbiate sempre a portata di mano il numero del modello ed il numero di serie del prodotto. Figura 1 indica la posizione del numero del modello e del numero di serie sul longherone destro del telaio anteriore del prodotto. Scrivete i numeri negli spazi previsti.
Important: Con il vostro dispositivo mobile, potete scansionare il codice QR sulla targhetta del numero di serie (se in dotazione) per accedere a informazioni su garanzia, ricambi e altre informazioni sui prodotti.

Questo manuale identifica pericoli potenziali e riporta messaggi di sicurezza evidenziati dal simbolo di avviso di sicurezza (Figura 2) che segnala un pericolo che può causare lesioni personali gravi o fatali se non osserverete le precauzioni consigliate.

Per evidenziare le informazioni vengono utilizzate due parole. Importante: indica informazioni meccaniche di particolare importanza; Nota evidenzia informazioni generali di particolare rilevanza.
Questo prodotto è conforme a tutte le direttive europee pertinenti. Vedere i dettagli nella Dichiarazione di Conformità (DICO) specifica del prodotto, fornita a parte.
Costituisce una trasgressione al Codice delle Risorse Pubbliche della California, Sezione 4442 o 4443, utilizzare o azionare questo motore su terreno forestale, sottobosco o prateria senza un parascintille montato sul motore, come riportato alla Sezione 4442, in stato di marcia effettivo, o se il motore non è costruito, attrezzato e sottoposto a manutenzione per la prevenzione di incendi.
Il manuale d'uso del motore allegato fornisce informazioni sull'Environment Protection Agency (EPA) degli Stati Uniti e sul regolamento del Controllo delle Emissioni dello stato della California riguardo a sistemi di emissione, manutenzione e garanzia. I pezzi di ricambio possono essere ordinati tramite il produttore del motore.
CALIFORNIA
Avvertenza norma "Proposition 65"
I gas di scarico dei motori Diesel e alcuni dei loro elementi costitutivi sono noti allo Stato della California come cancerogeni e responsabili di difetti congeniti ed altri problemi riproduttivi.
I poli delle batterie, i morsetti e gli accessori attinenti contengono piombo e relativi composti, sostanze chimiche che nello Stato della California sono considerate cancerogene e causa di anomalie della riproduzione. Lavate le mani dopo aver maneggiato la batteria.
L'utilizzo del presente prodotto potrebbe esporre a sostanze chimiche che nello Stato della California sono considerate cancerogene e causa di anomalie congenite o di altre problematiche della riproduzione.
Questa macchina è stata progettata per soddisfare o superare gli standard EN ISO 5395:2013 (quando sono applicati gli adesivi opportuni e installate le parti richieste) e ANSI B71.4-2017.
Questo prodotto è in grado di amputare mani e piedi, e di scagliare oggetti. Rispettate sempre tutte le norme di sicurezza per evitare gravi lesioni personali.
L'utilizzo di questo prodotto per scopi non conformi alle funzioni per cui è stato concepito può essere pericoloso per voi e gli astanti.
Leggete attentamente il contenuto di questo Manuale dell'operatore prima di avviare il motore.
Prestate la massima attenzione mentre utilizzate la macchina. Non svolgete nessuna attività che vi possa distrarre; in caso contrario potrebbero verificarsi infortuni o danni.
Non infilate le mani o i piedi accanto alle parti in movimento della macchina.
Non utilizzate la macchina se non sono montate e funzionanti tutte le protezioni e gli altri dispositivi di sicurezza sulla macchina.
Restate lontani dalle aperture di scarico. Tenete gli astanti e gli animali domestici a distanza di sicurezza dalla macchina.
Tenete i bambini lontano dall’area di lavoro. Non permettete mai che bambini e ragazzi utilizzino la macchina.
Arrestate la macchina e spegnete il motore prima di effettuare operazioni di assistenza, rifornimento o disintasamento della macchina.
L'errato utilizzo o l'errata manutenzione di questa macchina può causare infortuni. Per ridurre il rischio di incidenti, rispettate le seguenti norme di sicurezza e fate sempre attenzione al simbolo di allarme che indica Attenzione, Avvertenza o Pericolo – Norme di sicurezza personali. Il mancato rispetto di queste istruzioni può provocare infortuni o la morte.
Potete trovare informazioni di sicurezza aggiuntive se necessarie in questo Manuale dell'operatore.
Il motore di questa macchina è conforme a EU Stadio 3A.
![]() |
Gli adesivi di sicurezza e quelli con le istruzioni sono chiaramente visibili e sono affissi accanto a zone particolarmente pericolose. Sostituite eventuali adesivi danneggiati o mancanti. |























Note: Stabilite i lati sinistro e destro della macchina dalla normale posizione di guida.
A seconda della lunghezza su cui gli apparati di taglio devono essere installati sul trattorino, regolate i rulli di supporto nel modo seguente:
Parcheggiate la macchina su terreno pianeggiante, inserite il freno di stazionamento, spegnete il motore e togliete la chiave.
Parti necessarie per questa operazione:
| Adesivo di avvertenza | 1 |
Per le macchine che richiedono la conformità alle norme CE, sostituite l’adesivo di avvertenza CE (n. cat. 138-1186) con l’adesivo di avvertenza standard (n. cat. 120–1683).
Parti necessarie per questa operazione:
| Staffa di chiusura del cofano | 1 |
| Rivetto | 2 |
| Vite (¼" x 2") | 1 |
| Rondella piana (¼") | 2 |
| Dado di bloccaggio (¼") | 1 |
Sganciate il fermo del cofano dalla staffa (Figura 4).

Rimuovete i 2 rivetti che fissano la staffa del fermo del cofano al cofano (Figura 5).

Rimuovete la staffa del fermo del cofano dal cofano.
Mentre allineate i fori di montaggio, posizionate la staffa di bloccaggio CE e la staffa del fermo del cofano sul cofano.
Note: La staffa di bloccaggio deve essere contro il cofano (Figura 5).Non togliete il gruppo bullone e dado dal braccio della staffa di bloccaggio.

Allineare le rondelle con i fori all'interno del cofano.
Rivettate le staffe e le rondelle al cofano (Figura 6).
Agganciate il fermo sulla relativa staffa (Figura 7).

Avvitate il bullone nell'altro braccio della staffa di chiusura del cofano per fissare il fermo in posizione (Figura 8).

Serrate accuratamente il bullone ma non serrate il dado.
Parti necessarie per questa operazione:
| Guida del flessibile anteriore (destra) | 1 |
| Guida del flessibile anteriore (sinistra) | 1 |
Togliete i motori del cilindro dalle staffe di ancoraggio per la spedizione.
Togliete le staffe di spedizione e scartatele.
Togliete gli elementi di taglio dai cartoni.
Eseguite il montaggio e la messa a punto come descritto nel Manuale dell'operatore degli elementi di taglio.
Il contrappeso (Figura 9) deve essere montato dal lato giusto dell'elemento di taglio, come descritto nel Manuale dell'operatore degli elementi di taglio.

Assicuratevi che la molla di compensazione per il manto erboso sia montata sullo stesso lato del motore della trasmissione del cilindro su tutti gli apparati di taglio. Eseguite i seguenti passaggi per modificare la posizione della molla.
Togliete i due bulloni a testa tonda e i dadi che fissano la staffa dell'asta alle alette degli elementi di taglio (Figura 10).

Rimuovete il dado flangiato che fissa il bullone del tubo della molla all'aletta del telaio portante (Figura 10)
Rimuovete il gruppo
Montate il bullone del tubo della molla sull'aletta opposta, sul telaio portante, e fissatelo con il dado flangiato.
Note: Posizionate la testa del bullone sul lato esterno dell'aletta, come illustrato nella Figura 11.

Montate la staffa dell'asta sulle alette degli elementi di taglio usando i bulloni a testa tonda e i dadi (Figura 11). Sull’apparato di taglio, quando montate la staffa dell'asta montate la guida del flessibile di sinistra sulla parte anteriore delle alette dell’apparato di taglio (Figura 13).
Important: Sull'elemento di taglio n. 4 (anteriore sinistro) e n. 5 (anteriore destro), utilizzate i dadi di fissaggio della staffa dell'asta per montare le guide del flessibile sulla parte anteriore delle alette dell'elemento di taglio. Le guide del flessibile devono essere inclinate verso l'elemento di taglio (da Figura 12 a Figura 14)



Note: In sede di montaggio o rimozione degli elementi di taglio verificate che la coppiglia sia montata nel foro dell'asta della molla, accanto alla staffa della molla. Diversamente, dovrete inserite la coppiglia nel foro all'estremità dell'asta.
Aumentate lo sterzo degli apparati di taglio posteriori rimuovendo i 2 distanziali del perno, le viti a esagono incassato e i dadi di bloccaggio flangiati (Figura 15) dai telai portanti degli apparati di taglio (apparati di taglio 2 e 3) posteriori; fate riferimento a Figura 12.

Abbassate completamente tutti i bracci di sollevamento.
Rivestite l'albero del telaio portante di grasso pulito (Figura 16).

Per gli elementi di taglio anteriori, infilate un elemento di taglio sotto il braccio di sollevamento mentre inserite l'albero del telaio portante nella forcella di articolazione del braccio di sollevamento (Figura 16).
Assicuratevi che la rondella di spinta sia in posizione corretta sull'albero del telaio portante.
Fissate l'albero del telaio portante alla forcella del braccio di sollevamento con il perno di ritenuta (Figura 16).
Per bloccare (fissare) lo sterzo sugli apparati di taglio, fissate la forcella al telaio portante con il perno di ritenuta (Figura 17).

Note: Utilizzate la sterzata fissa per il taglio su pendii.
Eseguite la seguente operazione sugli elementi di taglio posteriori quando l'altezza di taglio è superiore a 19 mm.
Togliete la coppiglia ad anello e la rondella che fissano l'albero di articolazione al braccio di sollevamento ed estraete l'albero dal braccio di sollevamento (Figura 18).

Inserite la forcella del braccio di sollevamento nell'albero del telaio portante (Figura 16).
Inserite l'albero del braccio di sollevamento nel braccio di sollevamento e fissatelo con la rondella e la coppiglia ad anello (Figura 18).
Fissate la catena del braccio di sollevamento alla staffa della catena, usando il perno di ritenuta (Figura 19).
Note: Utilizzate il numero di maglie della catena riportato nel Manuale dell'operatore degli elementi di taglio.

Spalmate del grasso pulito sull'albero scanalato del motore del cilindro.
Lubrificate con olio l'o-ring del motore del cilindro e montatelo sulla flangia del motore.
Montate il motore ruotato in senso orario in modo che le flange del motore non tocchino i bulloni (Figura 20).

Ruotate il motore in senso antiorario fin quando le flange non agganciano i bulloni, quindi serrate i bulloni.
Important: Verificate che i flessibili del motore del cilindro non siano attorcigliati, piegati o rischino di venire compressi.
La molla di compensazione per il manto erboso (Figura 21) trasferisce inoltre il peso dal rullo anteriore a quello posteriore. per contribuire a ridurre l'ondulazione del manto erboso, detta anche fluttuazione o bobbing.
Important: Per eseguire la messa a punto delle molle, lasciate l'apparato di taglio montato sul trattorino, posizionato dritto e abbassato sul pavimento dell’officina.
Verificate che la coppiglia sia montata nel foro posteriore dell'asta della molla (Figura 21).
Note: Nell'effettuare la manutenzione dell'apparato di taglio, spostate la coppiglia verso il foro dell'asta della molla, accanto alla molla di compensazione per il manto erboso.

Serrate i dadi esagonali sul lato anteriore dell'asta della molla, finché la lunghezza compressa della molla non è di 15,9 cm; fate riferimento a Figura 21.
Note: Per lavorare su terreno accidentato riducete la lunghezza della molla di 13 mm. Le ondulazioni del terreno saranno seguite leggermente meno fedelmente.
Note: Se modificherete l'impostazione dell'altezza di taglio o dell'aggressività del taglio dovrete riconfigurare l'impostazione della compensazione per il manto erboso.
Parti necessarie per questa operazione:
| Cavalletto dell'apparato di taglio | 1 |
Ogni volta che inclinate l’apparato di taglio per esporre la controlama o il cilindro, supportate la parte posteriore dell'apparato di taglio con il cavalletto per garantire che i dadi sull'estremità posteriore delle viti di regolazione della barra di appoggio non poggino sulla superficie di lavoro (Figura 22).

Fissate il cavalletto alla staffa della catena, usando il perno di ritenuta (Figura 23).

Prima di utilizzare la macchina, ingrassatela perché sia adeguatamente lubrificata. Vedere Lubrificazione. In caso di mancato corretto ingrassaggio della macchina, si verificherà l'avaria prematura di componenti importanti.
Controllate il livello del lubrificante nell'assale posteriore prima di avviare il motore per la prima volta; fate riferimento Controllo del livello dell'olio dell'assale posteriore.
Controllate il livello del fluido idraulico prima del primo avvio del motore; fate riferimento a Verifica dell'impianto idraulico.
Controllate il livello dell'olio motore prima e dopo aver avviato il motore per la prima volta; fate riferimento a Controllo del livello dell'olio motore.
Parti necessarie per questa operazione:
| Barra di riferimento | 1 |
Usate la barra di riferimento per mettere a punto l'apparato di taglio. Le operazioni di messa a punto sono riportate nel Manuale dell’operatore degli elementi di taglio (Figura 24).

I 2 pedali dei freni (Figura 25) azionano i singoli freni delle ruote per agevolare la guida in curva e contribuire al miglioramento della trazione su pendii.
Il perno di bloccaggio dei pedali (Figura 25) collega i pedali per l'inserimento del freno di stazionamento.
Per innestare il freno di stazionamento (Figura 25) connettete insieme i pedali tramite il fermo di bloccaggio pedali, premete a fondo il pedale del freno di destra mentre innestate la punta del pedale. Per rilasciare il freno di stazionamento, premete uno dei pedali del freno finché il fermo non si ritira.

Il pedale di comando della trazione (Figura 25) controlla il funzionamento in marcia avanti e retromarcia. Premete la parte superiore del pedale per fare marcia avanti, e la parte inferiore per la retromarcia. La velocità di trasferimento è determinata dal grado di pressione sul pedale. La velocità di trasferimento massima si ottiene premendo a fondo il pedale con l'acceleratore in posizione FAST.
Per fermare la macchina, riducete la pressione sul pedale della trazione e lasciate che ritorni al centro.
Per inclinare il volante verso di voi premete il pedale (Figura 25) e tirate il volante verso di voi, nella posizione più comoda, poi rilasciate il pedale.
Quando è alzato, il limitatore della velocità di tosatura (Figura 26) controlla la velocità di tosatura e consente l'innesto degli elementi di taglio. Ciascun distanziale regola la velocità di tosatura di 0,8 km/ora. Quanti più distanziali si trovano sopra il bullone, tanto più lenta è la macchina. Quando trasferite la macchina, spostate indietro il limitatore della velocità di tosatura per disporre della massima velocità di trasferimento.
Regolate la/le vite/i (Figura 26) per ridurre la possibilità di premere il pedale della trazione avanti o indietro e limitare la velocità.
Important: La vite di limitazione della velocità deve arrestare il pedale della trazione prima che la pompa raggiunga la corsa massima; in caso contrario la pompa può danneggiarsi.

Questa leva (Figura 27) alza e abbassa gli apparati di taglio e avvia e arresta i cilindri quando ne avete attivato la modalità di tosatura. Non è possibile abbassare gli apparati di taglio quando la leva di tosatura/trasferimento è in posizione trasferimento.
L'interruttore di accensione (Figura 27) ha 3 posizioni: SPEGNIMENTO, ACCENSIONE/PRERISCALDAMENTO e AVVIAMENTO.
Sul display LCD InfoCenter sono visualizzati dati relativi alla macchina, come lo stato di funzionamento, varie informazioni diagnostiche e di altro tipo (Figura 27).
L'interruttore PDF (Figura 27) ha 2 posizioni: START e STOP. Spingete in avanti il pulsante PDF per innestare le lame dell'apparato di taglio. Spingete indietro il pulsante per disinnestare le lame dell'apparato di taglio.

Spostate l’interruttore di regime del motore (Figura 27) in avanti per aumentare la velocità del motore, indietro per ridurla.
Girate l'interruttore in basso per accendere i fari (Figura 27).
Utilizzate la presa elettrica (Figura 28) per alimentare accessori elettrici optional a 12 V.

Usate il supporto cesto (Figura 29) come portaoggetti.

Utilizzate le apposite leve per la lappatura dei cilindri (Figura 30).

Spostate il sedile avanti o indietro tirando la leva (Figura 31).
Ruotate la manopola per regolare l'inclinazione del bracciolo del sedile (Figura 31).
Spostate la leva per regolare l'inclinazione dello schienale (Figura 31).
L’indicatore del peso indica quando il sedile è regolato secondo il vostro peso (Figura 31). Potete regolare l'altezza posizionando la sospensione all'interno dei parametri della zona verde.

Regolate il sedile in base al vostro peso (Figura 31). Alzate la leva per aumentare la pressione dell'aria e abbassatela per diminuirla. Potete ottenere la regolazione corretta quando l'indicatore del peso è nella zona verde.
Sul display LCD InfoCenter sono visualizzati dati relativi alla macchina, quali lo stato di funzionamento, informazioni diagnostiche e di altro tipo (Figura 32). Sono presenti una schermata di caricamento e una schermata principale dell'InfoCenter. In qualsiasi momento potete passare dalla schermata di caricamento alla schermata principale e viceversa premendo uno dei pulsanti dell’InfoCenter e selezionando la freccia di direzione appropriata.

Pulsante sinistro, pulsante indietro/accesso menu – premete il pulsante per accedere ai menu InfoCenter e per tornare indietro da qualsiasi menu in uso al momento.
Pulsante centrale – utilizzate il pulsante per scorrere i menu.
Pulsante destro – Utilizzate il pulsante per aprire un menu in cui una freccia a destra indica un contenuto supplementare.
Inversione manuale della ventola – Premere contemporaneamente il pulsante destro e sinistro per attivare questa funzionalità.
Segnale acustico – Si attiva quando vengono abbassati i piatti di taglio o in caso di segnalazioni o guasti
Note: Lo scopo di ogni pulsante può variare a seconda della necessità del momento. Ogni pulsante è contrassegnato con un'icona che ne visualizza la funzione corrente.
| SERVICE DUE | Indica quando occorre effettuare la manutenzione programmata |
![]() | Ore rimanenti prima della manutenzione |
![]() | Resettare le ore prima della manutenzione ![]() |
![]() | Icona informazioni |
![]() | Contaore |
![]() | Massima |
![]() | Minima |
![]() | Inversione della ventola – Indica quando la ventola è invertita |
![]() | Il riscaldatore della presa d'aria è attivo |
![]() | Alzare gli apparati di taglio |
![]() | Abbassare gli apparati di taglio |
![]() | L'operatore deve essere seduto alla guida |
![]() | Indicatore del freno di stazionamento – indica quando il freno di stazionamento è inserito |
![]() | Identifica la velocità come alta |
![]() | Folle |
![]() | Identifica la velocità come bassa |
![]() | Temperatura del refrigerante – Indica la temperatura del refrigerante del motore in °C o °F |
![]() | Temperatura (calda) |
![]() | Rifiutato o non permesso |
![]() | La PDF è innestata |
![]() | Avviamento del motore |
![]() | Arresto o spegnimento |
![]() | Motore |
![]() | Interruttore a chiave |
![]() | Indica quando gli apparati di taglio si stanno abbassando |
![]() | Indica quando gli apparati di taglio si stanno sollevando |
![]() | Codice di accesso PIN |
![]() | Temperatura del fluido idraulico – indica la temperatura del fluido idraulico |
![]() | Bus CAN |
![]() | InfoCenter |
![]() | Cattivo stato o non funzionante |
![]() | Lampada |
![]() | Uscita del controller TEC o cavo di controllo preassemblato |
![]() | Alta: oltre la velocità consentita |
![]() | Bassa: al di sotto della velocità consentita |
/![]() | Fuori velocità |
![]() | Interruttore |
![]() | L'operatore deve rilasciare l'interruttore |
![]() | L'operatore deve passare allo stato indicato |
| Spesso i simboli sono combinati per formare frasi. Alcuni esempi sono mostrati sotto. | |
![]() | L'operatore dovrebbe portare la macchina in folle |
![]() | Avviamento del motore negato |
![]() | Spegnimento del motore |
![]() | Refrigerante del motore troppo caldo |
![]() | Olio idraulico troppo caldo |
![]() | Sedersi o azionare il freno di stazionamento |
Accessibile
solo inserendo il PIN
Per accedere al sistema di menu InfoCenter, premete il pulsante di accesso ai menu dalla schermata principale. Si passerà così al menu principale. Consultate le tabelle seguenti per un riepilogo delle opzioni disponibili nei menu:
| Menu principale | |
| Voce menu | Descrizione |
| Faults | Il menu Faults (Guasti) contiene un elenco dei guasti recenti della macchina. Consultate il Manuale di manutenzione o il distributore Toro autorizzato per maggiori informazioni sul menu Guasti e sulle informazioni in esso contenute. |
| Service (Manutenzione) | Il menu Servizio contiene dati sulla macchina, come il contatore delle ore di utilizzo e altri valori analoghi. |
| Diagnostics | Il menu Diagnostics (Diagnostica) mostra lo stato di ogni interruttore della macchina, del sensore e dell'uscita di controllo. Può essere utilizzato per risolvere determinate problematiche in quanto indica quali comandi della macchina sono attivi e quali inattivi. |
| Settings | Il menu Settings (Impostazioni) consente di personalizzare e modificare le opzioni di configurazione sul display InfoCenter. |
| About | Il menu About (Informazioni) elenca il numero del modello, il numero di serie e la versione software della macchina. |
| Manutenzione | |
| Voce menu | Descrizione |
| Ore | Il menu delle ore riporta il numero totale di ore di funzionamento di macchina, motore e PDF, nonché il numero di ore in cui la macchina è stata trasportata e la data di manutenzione prevista. |
| Counts | Il menu dei conteggi riporta i vari conteggi che sono stati eseguiti sui parametri della macchina. |
| Diagnostica | |
| Voce menu | Descrizione |
| Apparati di taglio | Indica entrate, qualificatori e uscite per sollevare e abbassare gli apparati di taglio |
| Hi/Low Range | Indica entrate, qualificatori e uscite per guidare in modalità di trasporto |
| Indica entrate, qualificatori e uscite per abilitare il circuito PDF | |
| Engine Run | Indica entrate, qualificatori e uscite per avviare il motore |
| Backlap | Indica entrate, qualificatori e uscite per azionare la funzione di lappatura |
| Impostazioni | |
| Voce menu | Descrizione |
| Units | Imposta le unità di misura usate nell'InfoCenter. Le opzioni del menu sono Inglese o Metrico |
| Lingua | Imposta la lingua usata nell’InfoCenter* |
| Retroilluminazione LCD | Imposta la luminosità del display LCD |
| Contrasto LCD | Imposta il contrasto del display LCD |
| Velocità cilindri lappatura anteriori | Controlla la velocità dei cilindri anteriori in modalità lappatura |
| Velocità cilindri lappatura posteriori | Controlla la velocità dei cilindri posteriori in modalità lappatura |
| Menu protetti | Consente al supervisore/meccanico di accedere ai menu protetti inserendo un codice di accesso |
Minimo automatico ![]() | Controlla la durata consentita prima di riportare il motore al minimo quando la macchina è ferma |
N. lame ![]() | Controlla il numero di lame sul cilindro per la velocità dei cilindri |
Velocità di tosatura ![]() | Controlla la velocità di trasferimento per determinare la velocità dei cilindri |
Altezza di taglio ![]() | Controlla l'altezza di taglio (HOC) per determinare la velocità dei cilindri |
Regime cilindro ant. ![]() | Visualizza la posizione della velocità dei cilindri calcolata per i cilindri anteriori. I cilindri possono essere anche regolati manualmente |
Regime cilindro post. ![]() | Visualizza la posizione della velocità dei cilindri calcolata per i cilindri posteriori. I cilindri possono essere anche regolati manualmente |
* Solo il testo rivolto all'operatore è tradotto. Le schermate Guasti, Servizio e Diagnostica sono rivolte alla manutenzione. I titoli saranno visualizzati nella lingua selezionata mentre le voci di menu in inglese.
Impostazioni
protette nei menu Protected – Accessibili solo inserendo il
PIN
| Informazioni | |
| Voce menu | Descrizione |
| Modello | Riporta il numero di modello della macchina |
| SN | Riporta il numero di serie della macchina |
| Revisione del controller della macchina | Riporta la versione software del controller master |
| InfoCenter Revision | Riporta la versione software dell'InfoCenter |
| CAN Bus | Elenca lo stato del bus di comunicazione della macchina |
Il menu Impostazioni di InfoCenter prevede 5 impostazioni di configurazione operativa regolabili: Numero di lame, Velocità di tosatura, Altezza di taglio, Regime cilindro ant. e Regime cilindro post. Potete bloccare queste impostazioni utilizzando il menu Protected (menu protetto).
Note: Al momento della consegna, la password iniziale è programmata dal distributore.
Dal Menu principale scorrete fino al menu Impostazioni e premete il pulsante destro.
Dal menu Impostazioni scorrete fino al Menu protetto e premete il pulsante destro.
Per inserire il codice di accesso, utilizzate il pulsante centrale per impostare la prima cifra poi premete il pulsante destro per passare alla cifra successiva.
Utilizzate il pulsante centrale per impostare la seconda cifra poi premente il pulsante destro per passare alla cifra successiva.
Utilizzate il pulsante centrale per impostare la terza cifra poi premente il pulsante destro per passare alla cifra successiva.
Utilizzate il pulsante centrale per impostare la quarta cifra poi premete il pulsante destro.
Premete il pulsante centrale per inserire il codice.
Se il codice è stato accettato e il menu protetto è stato sbloccato, viene visualizzato “PIN” nell'angolo in alto a destra della schermata del display.
La possibilità di visualizzare e modificare le impostazioni nel menu Protected può essere modificata. Dopo l'accesso al menu Protected scorrete fino a Protezione impostazioni. Con il pulsante destro il passaggio della voce Protezione impostazioni su Spegnimento permetterà di visualizzare e modificare le impostazioni del menu Protected senza inserire il codice di accesso. Il passaggio della voce Protezione impostazioni su Accensione nasconderà le opzioni protette richiedendo perciò l'inserimento del codice di accesso per modificare le impostazioni nel menu Protected. Dopo avere impostato il codice di accesso, spegnete e riaccendete l'interruttore a chiave per abilitare e salvare la funzionalità.
Note: Se dimenticate il codice di accesso o lo inserite erroneamente, contattate il distributore a scopo di assistenza.
Nel menu Settings (Impostazioni) scorrete fino a Auto Idle (Minimo automatico).
Premete il tasto destro per modificare la durata del minimo automatico tra spegnimento, 8S, 10S, 15S, 20S e 30S.
Nel menu Impostazioni, scorrete fino a N. lame
Premete il tasto destro per modificare il numero di lame tra 5, 8 o 11 lame.
Nel menu Impostazioni, scorrete fino a Velocità di tosatura.
Premete il pulsante destro per selezionare la velocità di tosatura.
Utilizzate il pulsante centrale destro per selezionare la velocità di tosatura adeguata da impostare sul limitatore della velocità di tosatura meccanico sul pedale di trazione.
Premete il pulsante sinistro per uscire dalla velocità di tosatura e salvare l'impostazione.
Nel menu Impostazioni, scorrete fino a HOC.
Premete il pulsante destro per selezionare l'altezza di taglio.
Utilizzate il pulsante centrale destro per selezionare la corretta impostazione dell'altezza di taglio.
Note: Se non viene visualizzata l'impostazione esatta, selezionate l'impostazione dell'altezza di taglio più prossima nell'elenco visualizzato.
Premete il pulsante sinistro per uscire dall'altezza di taglio e salvare l'impostazione.
Sebbene le velocità dei cilindri anteriore e posteriore si calcolino inserendo il numero di lame, la velocità di tosatura e l'altezza di taglio nell'InfoCenter, l'impostazione è modificabile manualmente per adattarsi alle diverse condizioni di tosatura.
Scorrete fino a Regime cilindro ant., Regime cilindro post., o entrambe.
Premete il pulsante destro per modificare il valore della velocità di tosatura. Quando l'impostazione della velocità è stata cambiata, il display continua a visualizzare la velocità dei cilindri calcolata in base al conteggio delle lame, alla velocità di tosatura e all’altezza di taglio inserite in precedenza, visualizzando anche il nuovo valore.
Note: Specifiche e disegno sono soggetti a variazione senza preavviso.
| Larghezza di taglio, apparati di taglio da 69 cm | 307 cm |
| Larghezza di taglio, apparati di taglio da 81 cm | 320 cm |
| Larghezza totale, apparati di taglio abbassati da 69 cm | 345 cm |
| Larghezza totale, apparati di taglio abbassati da 81 cm | 358 cm |
| Larghezza totale con gli apparati di taglio sollevati (trasferimento) | 239 cm |
| Lunghezza totale | 370 cm |
| Altezza con rollbar di protezione | 220 cm |
| Carreggiata anteriore | 229 cm |
| Carreggiata posteriore | 141 cm |
| Interasse | 171 cm |
| Peso netto (senza apparati di taglio, né fluidi) | 1574 kg |
Per ottimizzare e ampliare le applicazioni della macchina, è disponibile una gamma di attrezzi e accessori approvati da Toro per l'uso con la macchina. Richiedete la lista degli attrezzi ed accessori approvati ad un Centro Assistenza Toro o ad un Distributore autorizzati, oppure visitate www.Toro.com
Per garantire prestazioni ottimali e mantenere sempre la macchina in conformità alle norme di sicurezza, utilizzate esclusivamente ricambi e accessori originali Toro. Ricambi e accessori di altri produttori potrebbero risultare pericolosi e il loro impiego potrebbe far decadere la garanzia del prodotto.
Note: Stabilite i lati sinistro e destro della macchina rispetto alla normale posizione di guida.
Non consentite l'uso e la manutenzione della macchina a ragazzi, bambini o adulti non addestrati. Le normative locali possono imporre limiti all'età dell'operatore. Il proprietario è responsabile dell'addestramento di tutti gli operatori e i meccanici.
Familiarizzate con il sicuro funzionamento dell'apparecchiatura, dei comandi dell'operatore e degli adesivi di sicurezza.
Imparate come arrestare la macchina e spegnere rapidamente il motore.
Verificate che comandi di presenza dell'operatore, interruttori di sicurezza e schermi siano fissati e correttamente funzionanti. Se non funzionano correttamente, non azionate la macchina.
Prima della tosatura, ispezionate sempre la macchina per garantire che i gruppi di taglio siano in buone condizioni di funzionamento.
Ispezionate l'area dove utilizzerete la macchina e rimuovete tutti gli oggetti che la macchina potrebbe eventualmente scagliare.
Prestate estrema cautela quando maneggiate il carburante. È infiammabile e produce vapori esplosivi.
Spegnete sigarette, sigari, pipe e altre fonti di accensione.
Utilizzate soltanto taniche per carburanti approvate.
Non rimuovete il tappo del carburante e non rabboccate il serbatoio del carburante mentre il motore è in funzione o è caldo.
Non rabboccate e non spurgate il carburante in uno spazio chiuso.
Non rimessate la macchina o la tanica del carburante in luoghi con presenza di fiamme libere, scintille o spie, ad es. scaldabagni o altri apparecchi.
I casi di fuoriuscite di carburante, non tentate di avviare il motore ed evitate di creare fonti di ignizione fino a quando i vapori di carburante non siano evaporati.
83 litri
La mancata osservanza delle seguenti precauzioni può danneggiare il motore.
Non utilizzate mai cherosene o benzina al posto di carburante diesel.
Non miscelate mai cherosene o olio motore già usato con il gasolio.
Non conservate mail il carburante in contenitori con rivestimento interno in zinco.
Non utilizzate additivi per il carburante.
Utilizzate solo gasolio pulito fresco o biodiesel con contenuto di zolfo basso (<500 ppm) o molto basso (<15 ppm). La taratura minima del cetano deve essere 40. Acquistate il carburante in quantità tali che ne consentano il consumo entro 180 giorni, in modo da garantirne la freschezza.
Utilizzate gasolio per uso estivo (numero 2-D) a temperature superiori a -7 °C, e gasolio per uso invernale (numero 1-D o miscela numero 1-D/2-D) a temperature inferiori). L'uso di carburante per uso invernale a basse temperature assicura un punto di infiammabilità inferiore e caratteristiche di flusso a freddo che agevolano l'avvio e riducono la chiusura del filtro del carburante.
L'uso del carburante per uso estivo a temperature superiori a -7 °C contribuisce a una più lunga durata della pompa del carburante e a una maggiore potenza rispetto al carburante per uso invernale.
Questa macchina può anche funzionare con una miscela di biodiesel fino a B20 (20% biodiesel, 80% gasolio). La parte di gasolio deve avere un contenuto di zolfo basso o molto basso. Prendete le seguenti precauzioni:
Specifiche del carburante biodiesel: ASTM D6751 o EN 14214
Specifiche della miscela di carburante: ASTM D975 o EN590
Prendete le seguenti precauzioni:
Le miscele di biodiesel possono danneggiare le superfici verniciate.
In caso di condizioni atmosferiche fredde utilizzate miscele B5 (contenuto di biodiesel pari al 5%) o inferiori.
Monitorate tenute, flessibili e guarnizioni a contatto con il carburante, dal momento che potrebbero degradarsi con il tempo.
Il filtro del carburante della vostra macchina potrebbe otturarsi per un certo periodo dopo la conversione alle miscele biodiesel.
Contattate il vostro distributore Toro autorizzato per ulteriori informazioni sul biodiesel.
Parcheggiate la macchina su una superficie pianeggiante, abbassate gli apparati di taglio, spegnete il motore e togliete la chiave.
Utilizzando un panno pulito, pulite attorno al tappo del serbatoio del carburante.
Togliete il tappo dal serbatoio carburante (Figura 33).

Riempite di carburante il serbatoio finché il livello non raggiunge la base del collo del bocchettone.
Dopo aver riempito il serbatoio, serrate a fondo il tappo.
Note: Se possibile, riempite il serbatoio del carburante ogni volta che utilizzate la macchina. In tal modo ridurrete al minimo l'accumulo di condensa all'interno del serbatoio.
Prima di avviare il motore e di utilizzare la macchina, controllate l'impianto idraulico; vedere Controllo del livello del fluido idraulico.
| Cadenza di manutenzione | Procedura di manutenzione |
|---|---|
| Prima di ogni utilizzo o quotidianamente |
|
Al momento della fornitura la coppa del motore contiene dell'olio, il cui livello deve tuttavia essere controllato prima e dopo il primo avvio del motore.
La coppa ha una capacità di circa 9,5 litri con il filtro.
Usate un olio motore di alta qualità rispondente alla seguente specifica:
grado di classifica API: CH-4, CI-4, o superiore.
Olio preferito: SAE 15W-40, sopra -18 °C
Olio alternativo: SAE 10W-30 o 5W-30 (tutte le temperature)
Note: L'olio motore Toro Premium è reperibile dal vostro distributore con viscosità 15W-40 o 10W-30. Vedere i numeri delle parti nel catalogo ricambi.
Note: Il momento migliore per controllare l'olio del motore è a motore freddo prima che venga avviato per la giornata. Se è già stato avviato, lasciate che l'olio ritorni nel pozzetto per almeno 10 minuti prima di controllarlo. Se il livello dell'olio corrisponde o è inferiore al segno di aggiunta (add) sull'asta, rabboccate l'olio per portarne il livello al segno di pieno. Non riempite troppo il motore. Se il livello dell'olio è tra le tacche di pieno e aggiunta, non è necessario rabboccare l'olio.
Parcheggiate la macchina su terreno pianeggiante.
Sbloccate i fermi e aprite il cofano del motore (Figura 34).

Togliete l'asta di livello, pulitela strofinandola, rimettetela nel tubo ed estraetela di nuovo.
Il livello dell'olio deve trovarsi tra i parametri di sicurezza (Figura 35).

Se l'olio non raggiunge i parametri di sicurezza, togliete il tappo di riempimento (Figura 36) e aggiungete olio finché il livello non raggiunge la tacca Pieno.
Important: Non riempite troppo il motore.

Note: Quando utilizzate un olio differente dal precedente, drenate completamente l'olio usato dalla coppa prima di aggiungere quello nuovo.
Montate il tappo dell'olio e l'asta di livello.
Chiudete il coperchio del motore e fissatelo con i fermi.
| Cadenza di manutenzione | Procedura di manutenzione |
|---|---|
| Prima di ogni utilizzo o quotidianamente |
|
Controllate il livello del refrigerante all'inizio di ogni giornata di lavoro. L'impianto ha una capacità di 12,3 litri.
Togliete il tappo del radiatore con cautela.
Se il motore è rimasto in funzione, il refrigerante nel radiatore sarà caldo e sotto pressione e può fuoriuscire provocando ustioni.
Non aprite il tappo del radiatore quando il motore gira.
Aprite il tappo del radiatore con un cencio, agendo lentamente per lasciare fuoriuscire il vapore.

Controllate il livello del refrigerante nel radiatore.
Note: Il radiatore deve essere riempito fino alla parte superiore del collo del bocchettone ed il serbatoio di espansione fino al segno di pieno (Figura 37).
Se il livello del refrigerante è basso, aggiungete una miscela 50/50 di acqua e anticongelante glicol etilico.
Note: Non usate solo acqua o refrigeranti a base di alcol o metanolo.
Montate il tappo del radiatore e quello del serbatoio di espansione.
| Cadenza di manutenzione | Procedura di manutenzione |
|---|---|
| Prima di ogni utilizzo o quotidianamente |
|
Gli pneumatici vengono sovragonfiati per la spedizione. quindi occorre eliminare dell’aria per ridurre la pressione. La pressione giusta dell'aria negli pneumatici è di 0,83–1,03 bar. Controllate la pressione degli pneumatici ogni giorno.
Important: Per garantire un'ottima qualità di taglio e le prestazioni previste per questa macchina, mantenete la pressione raccomandata in tutti gli pneumatici. Non usate una insufficiente pressione di gonfiaggio degli pneumatici.
Il proprietario/operatore è tenuto a evitare incidenti che possano causare lesioni personali o danni materiali.
Indossate un abbigliamento idoneo, comprendente occhiali di protezione, scarpe robuste e antiscivolo, pantaloni lunghi e protezioni per le orecchie. Legate i capelli lunghi e non indossate gioielli pendenti.
Non utilizzate la macchina se siete malati, stanchi o se siete sotto l'effetto di alcol o droga.
Non trasportate mai passeggeri sulla macchina e tenete astanti e animali domestici a distanza dalla macchina durante l'utilizzo.
Utilizzate la macchina solo in buone condizioni di visibilità per evitare buche o pericoli nascosti.
Evitate la tosatura sull'erba bagnata. Una trazione ridotta può causare lo slittamento della macchina.
Prima di avviare il motore, assicuratevi che tutte le trasmissioni siano in posizione di folle, che il freno di stazionamento sia inserito e che vi troviate nella posizione operativa.
Tenete mani e piedi a distanza dagli apparati di taglio. Restate sempre lontani dall'apertura di scarico.
Prima di fare marcia indietro, guardate indietro e in basso, assicurandovi che il percorso sia libero.
Prestate attenzione quando vi avvicinate ad angoli ciechi, cespugli, alberi o altri oggetti che possano ostacolare la vostra visuale.
Non tosate nelle adiacenze di scarpate, fossati o terrapieni. La macchina potrebbe ribaltarsi improvvisamente nel caso in cui una ruota ne superi il bordo o se il bordo dovesse cedere.
Fermate gli apparati di taglio ogni volta che non state effettuando la tosatura.
Spegnete la macchina e il motore, togliete la chiave e ispezionate gli apparati di taglio dopo avere urtato un oggetto o in caso di vibrazioni anomale della macchina. Effettuate tutte le riparazioni necessarie prima di riprendere le operazioni.
Rallentate e fate attenzione quando eseguite curve o attraversate strade e marciapiedi con la macchina. Date sempre la precedenza.
Disinnestate la trasmissione all'apparato di taglio e spegnete il motore prima di regolare l'altezza di taglio (a meno che non possiate regolarla dalla posizione operativa).
Non azionate il motore in una zona in cui i gas di scarico rimangano racchiusi.
Non lasciate incustodita la macchina in funzione.
Prima di abbandonare la posizione operativa (incluso per svuotare i dispositivi di raccolta o per disintasare la guida di scarico), effettuate le seguenti operazioni:
Parcheggiate la macchina su terreno pianeggiante.
Disinnestate la presa di forza e abbassate al suolo l'attrezzatura.
Inserite il freno di stazionamento.
Spegnete il motore e togliete la chiave.
Attendete finché tutte le parti mobili si siano fermate.
Non utilizzate la macchina se c'è rischio di fulmini.
Non usate la macchina come veicolo di traino.
Utilizzate solo accessori, attrezzi e ricambi approvati da The Toro® Company.
Non rimuovete il ROPS dalla macchina.
Verificate che la cintura di sicurezza sia allacciata e che possa essere slacciata rapidamente in caso di emergenza.
Verificate con cura l’eventuale presenza di ostacoli al di sopra della macchina e non entrate in contatto coi medesimi.
Conservate il ROPS in condizioni operative di sicurezza eseguendo periodicamente ispezioni accurate e mantenendo serrati i fermi di montaggio.
Sostituite il ROPS danneggiato. Non effettuate riparazioni o modifiche.
Allacciate sempre la cintura di sicurezza quando il roll bar è alzato.
Il ROPS è un dispositivo di sicurezza fondamentale. Mantenete un roll bar pieghevole in posizione sollevata e bloccata e utilizzate la cintura di sicurezza quando utilizzate la macchina con il roll bar in posizione sollevata.
Abbassate un roll bar pieghevole temporaneamente solo quando necessario. Non indossate la cintura di sicurezza quando il roll bar ripiegato.
Siate consapevoli che quando il roll bar ripiegato è in posizione abbassata, non siete protetti dal ribaltamento.
Controllate l'area di tosatura e non ripiegate mai un roll bar pieghevole in aree in cui siano presenti discese, scarpate o corsi d'acqua.
Le pendenze sono un importante fattore che influisce sugli incidenti causati da perdita di controllo e ribaltamento, che possono comportare gravi infortuni o la morte. L'operatore è responsabile del funzionamento sicuro in pendenza. L'utilizzo della macchina in pendenza richiede un livello di attenzione superiore.
Valutate le condizioni del sito per determinare se la pendenza è sicura per l'utilizzo della macchina, effettuando anche un sopralluogo del sito. Basatevi sempre su buon senso e giudizio quando effettuate questa ricognizione.
Consultate le istruzioni elencate di seguito per l'utilizzo della macchina in pendenza e verificate le condizioni in cui utilizzerete la macchina al fine di stabilire se è possibile utilizzarla quel particolare giorno e in quel particolare sito. I cambiamenti del terreno possono determinare un cambiamento del funzionamento in pendenza della macchina.
Evitate di avviare, arrestare o sterzare quando la macchina procede in pendenza. Evitate repentini cambiamenti di velocità o direzione. Svoltate lentamente e in maniera graduale.
Non azionate la macchina in condizioni in cui la trazione, la sterzata o la stabilità possono essere compromessi.
Rimuovete o segnalate le ostruzioni, come fossati, buche, solchi, dossi, rocce o altri pericoli nascosti. L'erba alta può nascondere ostacoli. Su terreni accidentati la macchina potrebbe ribaltarsi.
Siate consapevoli che l'utilizzo della macchina su erba bagnata, trasversalmente su pendenze o in discesa può causare una perdita di trazione della macchina. La perdita di trazione delle ruote motrici può comportare uno slittamento e una perdita di capacità frenante e sterzante.
Prestate la massima attenzione quando utilizzate la macchina vicino a scarpate, fossi, terrapieni, zone con presenza di acqua o altri pericoli. La macchina potrebbe ribaltarsi improvvisamente nel caso in cui una ruota ne superi il bordo o se il bordo dovesse cedere. Individuate un margine di sicurezza tra la macchina ed eventuali pericoli.
Individuate i pericoli alla base della pendenza. In presenza di pericoli, tosate il terreno in pendenza con una macchina a spinta.
Se possibile, tenete abbassati gli apparati di taglio a terra durante l'uso della macchina in pendenza. Il sollevamento del o degli apparati di taglio durante l'utilizzo in pendenza può causare l'instabilità della macchina.
Prestate la massima attenzione quando usate cesti di raccolta o altri accessori. Tali attrezzi possono influire sulla stabilità della macchina e farvi perdere il controllo.
Important: L'impianto di alimentazione deve essere spurgato nei seguenti casi:
quando il motore ha cessato di funzionare a causa di mancanza di carburante;
quando è stato eseguito un intervento di manutenzione sui componenti dell'impianto di alimentazione.
Togliete il piede dal pedale di comando della trazione e assicuratevi che sia in FOLLE.
Note: Verificate che il freno di stazionamento sia inserito.
Spostate l’interruttore di velocità del motore in posizione di MINIMA INFERIORE.
Girate la chiave di accensione in posizione di FUNZIONAMENTO.
Note: Si accende la spia della candela a incandescenza.
Quando l'intensità della spia della candela a incandescenza si affievolisce, girate la chiave di accensione in posizione di AVVIAMENTO.
Rilasciate immediatamente la chiave quando il motore si avvia e lasciate che torni in posizione di FUNZIONAMENTO.
Regolate il regime del motore.
Important: Non fate girare il motorino di avviamento per più di 15 secondi per volta perché può danneggiarsi. Se il motore non si avvia dopo 15 secondi, girate la chiave in posizione di SPEGNIMENTO, ricontrollate la posizione dei comandi e le procedure, attendete altri 15 secondi e ripetete la procedura di avviamento.
Se la temperatura è inferiore a -7 °C, è possibile azionare il motorino d'avviamento per 30 secondi seguiti da 60 secondi in posizione di spegnimento per due tentativi.
Il contatto con componenti in movimento può causare infortuni.
Spegnete il motore e attendete che si fermino tutte le parti in movimento prima di controllare le perdite d'olio, le parti allentate e altri malfunzionamenti.
Important: Al termine di un'operazione a pieno carico, lasciate girare il motore al minimo per cinque minuti prima di spegnerlo. Ciò consente al turbocompressore di raffreddarsi prima di spegnere il motore. La mancata osservanza di questa istruzione può causare l'avaria del turbocompressore.
Note: Abbassate gli apparati di taglio a terra ogni volta che parcheggiate la macchina, per scaricare il carico idraulico dal sistema, impedendo l'usura delle parti del sistema e l'abbassamento accidentale degli apparati stessi.
Riportate la velocità del motore alla minima inferiore.
Spostate l’interruttore PDF in posizione di SPEGNIMENTO.
Inserite il freno di stazionamento.
Girate la chiave di accensione in posizione di SPEGNIMENTO.
Togliete la chiave dall'interruttore per evitare l'avviamento accidentale del motore.
Il contrappeso dei bracci di sollevamento degli elementi di taglio posteriori può essere regolato per compensare le varie condizioni del manto erboso e mantenere un'altezza di taglio uniforme in condizioni accidentate o in zone infeltrite.
Le molle di contrappeso sono regolabili in 4 posizioni. Ogni incremento aumenta o riduce il contrappeso dell’elemento di taglio di 2,3 kg. Per rimuovere completamente il contrappeso (quarta posizione) si possono spostare le molle sul retro del primo attuatore pertinente.
Parcheggiate la macchina su una superficie pianeggiante, abbassate gli apparati di taglio, inserite il freno di stazionamento, spegnete il motore e togliete la chiave.
Infilate un tubo o un oggetto similare sull'estremità della molla lunga al fine di allentare la tensione della molla durante la messa a punto (Figura 38).
Le molle sono sotto tensione e possono causare gravi ferite.
Regolate le molle con la massima cautela.
Mentre allentate la tensione della molla, togliete il bullone e il dado di bloccaggio che fissano l'attuatore della molla alla staffa (Figura 38).

Spostate l'attuatore della molla nel foro adatto e fissatelo con un dado di bloccaggio.
Ripetete l'operazione sulle altre molle.
Parcheggiate la macchina su una superficie pianeggiante, abbassate gli apparati di taglio, inserite il freno di stazionamento, spegnete il motore e togliete la chiave.
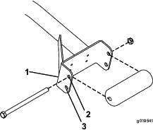
L'interruttore del braccio di sollevamento è situato dietro il braccio di sollevamento anteriore destro (Figura 39).

Allentate le viti di attacco dell'interruttore (Figura 39) e alzate l'interruttore per aumentare l'altezza d'inversione del braccio di sollevamento o abbassate l'interruttore per ridurla.
Serrate le viti di fissaggio.
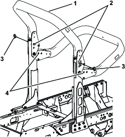
È possibile ripiegare il roll bar per riuscire ad accedere ad aree di altezza ridotta.
La macchina non è dotata di sistema di protezione antiribaltamento (ROPS) quando il roll bar è ripiegato e non deve essere considerato come un ROPS.
Non indossate la cintura di sicurezza quando il roll bar è abbassato.
Parcheggiate la macchina su una superficie pianeggiante, spegnete il motore, inserite il freno di stazionamento ed estraete la chiave.
Sostenete il peso del telaio superiore del roll bar mentre rimuovete i perni a scatto e i perni con testa dalle staffe orientabili (Figura 40).

Abbassate con cautela il telaio fino a quando non poggia sui fermi.
Inserite i perni con testa nei fori inferiore e fissateli con i perni a scatto per sostenere il telaio superiore nella posizione abbassata.
Per sollevare il telaio seguite le suddette istruzioni in ordine inverso.
Il sistema di protezione ROPS potrebbe non essere efficace se i gruppi dei bulloni di fissaggio del ROPS sono lenti, il che può comportare gravi lesioni o persino la morte in caso di ribaltamento.
Quando il telaio è in posizione sollevata entrambi i gruppi bullone di fissaggio devono essere montati e completamente serrati per garantire la totale protezione da parte del sistema ROPS.
Durante l'abbassamento e il sollevamento del roll bar, le dita potrebbero rimanere schiacciate tra la macchina e il roll bar.
Prestate attenzione durante l'abbassamento e il sollevamento del roll bar per evitare che le dita rimangano intrappolate tra la parte fissa e la parte mobile della struttura.
Mantenete adeguatamente serrati tutti i dadi, i bulloni e le viti, per assicurarvi che le apparecchiature funzionino nelle migliori condizioni di sicurezza.
Sostituite le parti usurate o danneggiate, per motivi di sicurezza.
Accertatevi che la cintura di sicurezza e i supporti funzionino nelle migliori condizioni di sicurezza.
Allacciate la cintura di sicurezza con il roll bar alzato e non allacciatela con il roll bar abbassato.
Important: Il roll bar è un dispositivo di sicurezza fondamentale. Quando utilizzate il tosaerba tenete il roll bar in posizione sollevata. Abbassate temporaneamente il roll bar solo se assolutamente necessario.
| Cadenza di manutenzione | Procedura di manutenzione |
|---|---|
| Prima di ogni utilizzo o quotidianamente |
|
Se i microinterruttori di sicurezza sono scollegati o guasti, la macchina può muoversi improvvisamente e causare incidenti.
Non manomettete i microinterruttori di sicurezza.
Ogni giorno, controllate il funzionamento dei microinterruttori e prima di azionare la macchina sostituite gli interruttori guasti.
L'impianto elettrico della macchina è dotato di microinterruttori di sicurezza. Questi interruttori hanno il compito di spegnere il motore quando l'operatore si alza dal sedile premendo il pedale della trazione. Tuttavia, potete alzarvi dal sedile mentre il motore è in funzione e il pedale della trazione è in folle. Benché il motore continui a funzionare se disinnestate l'interruttore della PDF e rilasciate il pedale della trazione, spegnete il motore prima di alzarvi dal sedile.
Per controllare il funzionamento dei microinterruttori di sicurezza eseguite le seguenti operazioni.
Guidate lentamente la macchina in una zona ampia e abbastanza aperta.
Abbassate gli apparati di taglio, spegnete il motore e inserite il freno di stazionamento.
Sedetevi sul sedile e premete il pedale di comando della trazione.
Cercate di avviare il motore,
Note: che non deve girare. Se il motore si avvia, il sistema degli interruttori di sicurezza a interblocchi non funziona correttamente; riparatelo prima di mettere in funzione la macchina.
Sedetevi sul sedile ed avviate il motore.
Alzatevi dal sedile e spostate l'interruttore PDF in posizione di accensione.
Note: La PDF non deve innestarsi. Se la PDF si avvia, il sistema degli interruttori di sicurezza a interblocchi non funziona correttamente; riparatelo prima di mettere in funzione la macchina.
Sedetevi sul sedile, inserite il freno di stazionamento e avviate il motore.
Togliete il pedale della trazione dalla posizione di FOLLE.
Note: Il motore dovrebbe spegnersi. Se il motore non si spegne, il sistema degli interruttori di sicurezza a interblocchi non funziona correttamente; riparatelo prima di mettere in funzione la macchina.
Spegnete il motore ed estraete la chiave. Attendete che tutte le parti in movimento si arrestino e lasciate che la macchina si raffreddi prima di effettuare interventi di regolazione, pulizia, rimessaggio o riparazione.
Pulite erba e detriti dagli apparati di taglio, marmitte e vano motore, per aiutare a evitare incendi. Pulite eventuali fuoriuscite di olio o carburante.
Se gli apparati di taglio sono in posizione di trasferimento, utilizzate il blocco meccanico positivo (se disponibile) prima di lasciare la macchina incustodita.
Lasciate raffreddare il motore prima di riporre la macchina in un ambiente chiuso.
Chiudete il carburante prima di effettuare il rifornimento o il trasporto della macchina.
Non depositate mai la macchina o la tanica del carburante in presenza di fiamme libere, scintille o spie, come vicino a uno scaldabagno o altre apparecchiature.
Mantenete tutte le parti della macchina in buone condizioni operative e tutti i componenti ben serrati, soprattutto la bulloneria degli accessori delle lame.
Sostituite tutti gli adesivi consumati o danneggiati.
In caso di emergenza, potete spostare la macchina azionando la valvola di bypass situata nella pompa idraulica e montando un flessibile idraulico per effettuare il bypass della valvola di non ritorno, poi spingendo o trainando la macchina.
Important: Non spingete né trainate la macchina a velocità superiori a 3–4,8 km/h o per oltre 0,4 km, poiché la trasmissione interna può danneggiarsi. La valvola di bypass deve essere aperta ogni volta che spingete o trainate la macchina. Inoltre, dovete montare un flessibile idraulico per effettuare il bypass della valvola di non ritorno ogni volta che spingete o trainate la macchina in retromarcia.
Se è necessario spingere o trainare la vostra macchina, probabilmente dovrete muoverla sia in marcia avanti che in retromarcia. Per garantire che l'impianto della trazione non subisca danni durante la spinta o il traino, è meglio preparare la macchina per la spinta o il traino sia in marcia avanti che in retromarcia.
Important: Se dovete spingere o trainare la macchina in retromarcia, dovete prima effettuare il bypass della valvola di non ritorno, nel collettore della trazione integrale.
Per effettuare il bypass della valvola di non ritorno sono necessari i seguenti componenti Toro:
N. cat. Toro 59-7410, raccordo diagnostico
N. cat. Toro 354-79, tappo del raccordo diagnostico
N. cat. Toro 95-8843, flessibile idraulico
N. cat. Toro 95-0985, raccordo di accoppiamento (2)
N. cat. Toro 340-77, raccordo idraulico (2)
Montate un raccordo diagnostico nel foro non marcato situato tra i fori M8 e P2 sul collettore della trazione posteriore (Figura 41).

Collegate un flessibile idraulico tra il raccordo diagnostico montato sul collettore della trazione posteriore e il foro diagnostico della pressione della trazione in retromarcia (Figura 42).
Note: Utilizzate i raccordi idraulici e i raccordi dell'accoppiatore in base alle esigenze per montare il flessibile.

Girate la valvola di 90° (1/4 di giro) in qualsiasi direzione per aprirla e consentire al fluido di effettuare il bypass internamente (Figura 43).
Note: Dal momento che il fluido effettua il bypass della trasmissione, potete spostare lentamente la macchina senza danneggiare la trasmissione.Notate la posizione della valvola durante l'apertura e la chiusura.

Una volta terminato di spingere o trainare la macchina, rimuovete il flessibile idraulico che avete montato.
Montate il tappo esistente sul foro diagnostico della pressione della trazione in retromarcia.
Montate il tappo del raccordo diagnostico sul raccordo che avete montato sul collettore.
Girate indietro la valvola di bypass di 90° (1/4 di giro) prima di avviare il motore.
Note: Non superate una coppia di 7–11 N∙m per chiudere la valvola.
Se dovete spingere o trainare la macchina solo in marcia avanti, potete girare solo la valvola di bypass.
Important: Se dovete spingere o trainare la macchina in retromarcia, fate riferimento a Preparazione della macchina per la spinta o il traino in retromarcia.
Aprite il cofano e togliete il pannello di protezione centrale.
Girate la valvola di 90° (1/4 di giro) in qualsiasi direzione per aprirla e consentire al fluido di effettuare il bypass internamente (Figura 43).
Note: Dal momento che il fluido effettua il bypass della trasmissione, potete spostare lentamente la macchina in avanti senza danneggiare la trasmissione.Notate la posizione della valvola durante l'apertura e la chiusura.
Girate indietro la valvola di bypass di 90° (1/4 di giro) prima di avviare il motore.
Note: Non superate una coppia di 7–11 N∙m per chiudere la valvola.
Utilizzate rampe di larghezza massima per caricare la macchina su un rimorchio o un autocarro.
Fissate la macchina in sicurezza.
I punti di ancoraggio sono situati nelle seguenti posizioni:
Da ciascun lato del telaio, sotto i gradini anteriori
Paraurti posteriore

I punti di sollevamento sono situati nelle seguenti posizioni:
Sulla parte anteriore della macchina, sul telaio all'interno di ogni ruota motrice
Sul retro della macchina, al centro dell'assale
Esercitatevi a guidare la macchina poiché è dotata di trasmissione idrostatica con caratteristiche che differiscono da quelle di molte macchine per la manutenzione dei tappeti erbosi.
Per mantenere una potenza sufficiente durante il funzionamento della macchina, regolate il pedale di comando della trazione in modo da tenere alto e costante il regime del motore. Diminuite la velocità di trasferimento quando aumenta il carico sugli apparati di taglio e aumentatela quando il carico diminuisce.
Lasciate quindi che il pedale di comando della trazione si sposti all’indietro quando diminuisce la velocità del motore e premetelo lentamente quando la velocità aumenta. Al confronto, quando vi spostate da un'area di lavoro ad un'altra senza carico e con gli apparati di taglio sollevati, portate l'acceleratore in posizione di MASSIMA e abbassate il pedale della trazione lentamente ma a fondo per disporre della massima velocità di trasferimento.
Potete utilizzare i freni per assistervi durante le manovre di sterzo della macchina, ma utilizzateli con attenzione, soprattutto su erba morbida o bagnata, perché potrebbero danneggiare il tappeto erboso. I freni possono anche servire per mantenere la trazione. Ad esempio, in alcune condizioni di pendenza, la ruota a monte slitta e perde di trazione. In questo caso, abbassate lentamente e a intermittenza il pedale della curva a monte, finché la ruota a monte non smette di slittare, aumentando così la trazione sulla ruota a valle.
Prestate la massima attenzione quando utilizzate la macchina su pendii. Assicuratevi che il fermo del sedile sia correttamente fissato, che il roll bar sia in posizione sollevata e che la cintura di sicurezza sia allacciata. Guidate lentamente ed evitate curve brusche su pendii, per non ribaltare la macchina.
Important: Al termine di un’operazione a pieno carico, lasciate girare il motore alla minima per cinque minuti prima di spegnerlo. Ciò consente al turbocompressore di raffreddarsi prima di spegnere il motore. La mancata osservanza di questa istruzione può causare l'avaria del turbocompressore.
Prima di spegnere il motore, disinnestate tutti i comandi e spostate l'acceleratore in posizione di MINIMA. Spostando l'acceleratore in posizione di MINIMA ridurrete il regime elevato del motore, il rumore e la vibrazione. Girate la chiave in posizione di SPEGNIMENTO per spegnere il motore.
Prima di tosare esercitatevi con la macchina in uno spazio aperto. Avviate e spegnete il motore. Guidate la macchina in marcia avanti e retromarcia. Abbassate e alzate gli apparati di taglio e innestate e disinnestate i cilindri. Quando vi sarete familiarizzati con la macchina, esercitatevi a lavorare in salita e discesa a velocità diverse.
Se durante il servizio si dovesse accendere una spia di allarme, fermate immediatamente la macchina e riattate prima di proseguire. L'utilizzo della macchina in presenza di un guasto può causare gravi danni.
Avviate il motore e spostate l'interruttore del regime del motore in posizione di MASSIMA. Spostate il limitatore della velocità di tosatura in posizione di TOSATURA. Spostate l'interruttore della PDF in posizione di ACCENSIONE e utilizzate l'interruttore di sollevamento per controllare gli apparati di taglio (gli apparati di taglio anteriori sono impostati per abbassarsi automaticamente prima degli apparati di taglio posteriori). Premete in avanti il pedale della trazione per spostarvi in avanti e falciare l’erba.
Spostate l'interruttore della PDF in posizione di SPEGNIMENTO e sollevate gli apparati di taglio in posizione di trasferimento. Spostate il limitatore della velocità di tosatura in posizione di trasferimento. Prestate la massima attenzione quando guidate fra corpi estranei, al fine di non danneggiare accidentalmente la macchina o gli elementi di taglio. Prestate la massima attenzione quando utilizzate la macchina su pendii. Guidate lentamente ed evitate curve brusche su pendii, per non ribaltare la macchina.
Note: Stabilite i lati sinistro e destro della macchina rispetto alla normale posizione di guida.
| Cadenza di manutenzione | Procedura di manutenzione |
|---|---|
| Dopo le prime 8 ore |
|
| Dopo le prime 200 ore |
|
| Prima di ogni utilizzo o quotidianamente |
|
| Ogni 50 ore |
|
| Ogni 100 ore |
|
| Ogni 200 ore |
|
| Ogni 250 ore |
|
| Ogni 400 ore |
|
| Ogni 800 ore |
|
| Prima del rimessaggio |
|
Fotocopiate questa pagina e utilizzatela quando opportuno.
| Punto di verifica per la manutenzione | Per la settimana di: | ||||||
|---|---|---|---|---|---|---|---|
| Lun | Mar | Mer | Gio | Ven | Sab | Dom | |
| Verificate il funzionamento del sistema di sicurezza a interblocchi. | |||||||
| Verificate il funzionamento dei freni. | |||||||
| Controllate i livelli dell'olio motore e del carburante. | |||||||
| Controllate il livello del fluido dell'impianto di raffreddamento. | |||||||
| Spurgate il separatore di condensa/carburante. | |||||||
| Controllate la spia di manutenzione del filtro dell'aria. | |||||||
| Verificate che non vi siano detriti nel radiatore, nel radiatore dell’olio o nella griglia. | |||||||
| Controllate i rumori insoliti del motore.1 | |||||||
| Controllate eventuali rumori insoliti di funzionamento. | |||||||
| Controllate il livello del fluido nell'impianto idraulico. | |||||||
| Accertatevi che i tubi idraulici non siano danneggiati. | |||||||
| Accertatevi dell'assenza di perdite di liquido. | |||||||
| Controllate la pressione degli pneumatici. | |||||||
| Verificate il funzionamento degli strumenti. | |||||||
| Verificate la regolazione tra cilindro e controlama. | |||||||
| Controllate la regolazione dell'altezza di taglio. | |||||||
| Lubrificate tutti i raccordi d'ingrassaggio.2 | |||||||
| Ritoccate la vernice danneggiata. | |||||||
|
1. Controllate la candela a incandescenza e gli ugelli dell’iniettore in caso di avviamento difficile, fumo eccessivo o funzionamento non fluido del motore. |
|||||||
|
2. Immediatamente dopo ogni lavaggio, a prescindere dalla cadenza indicata |
|||||||
| Ispezione eseguita da: | ||
| Art. | Data | Informazioni |
| 1 | ||
| 2 | ||
| 3 | ||
| 4 | ||
| 5 | ||
| 6 | ||
| 7 | ||
| 8 | ||
Important: Per ulteriori procedure di manutenzione, consultate il Manuale del motore ed il Manuale dell’operatore dell'apparato di taglio.
Note: Per ottenere uno schema elettrico o uno schema idraulico per la vostra macchina, visitate il sito www.Toro.com.
Se lasciate la chiave nell'interruttore di accensione, qualcuno potrebbe accidentalmente avviare il motore e ferire gravemente voi od altre persone.
Togliete la chiave di accensione prima di ogni intervento di manutenzione.
Prima di effettuare interventi di regolazione, pulizia, riparazione o prima di abbandonare la macchina, effettuate quanto segue:
Parcheggiate la macchina su terreno pianeggiante.
Portate l'interruttore dell'acceleratore in posizione di minimo basso.
Disinnestate gli apparati di taglio.
Abbassate gli apparati di taglio.
Assicuratevi che la trazione sia in folle.
Inserite il freno di stazionamento.
Spegnete il motore e togliete la chiave.
Attendete finché tutte le parti mobili si siano fermate.
Lasciate che i componenti della macchina si raffreddino prima di effettuare la manutenzione.
Se possibile, non effettuate la manutenzione mentre il motore è in funzione. Tenetevi a distanza dalle parti in movimento.
Utilizzate cavalletti metallici per sostenere la macchina o i componenti quando necessario.
Scaricate con cautela la pressione dai componenti che hanno accumulato energia.
Rilasciate i fermi (Figura 45) e il perno del cofano e apritelo.

Rimuovete le coppiglie che fissano le staffe posteriori del cofano ai perni del telaio e sollevate il cofano.
| Cadenza di manutenzione | Procedura di manutenzione |
|---|---|
| Ogni 50 ore |
|
La macchina è dotata di raccordi per ingrassaggio che devono essere lubrificati ad intervalli regolari con grasso n. 2 a base di litio. Se utilizzate la macchina in condizioni normali, lubrificate tutti i cuscinetti e le boccole ogni 50 ore di servizio o immediatamente dopo ogni lavaggio.
Posizione e numero di raccordi per ingrassaggio:
Cuscinetti orientabili (5) dell'albero del freno (Figura 46)

Boccole orientabili (2) dell'assale posteriore (Figura 47)

Giunti sferici (2) del cilindro di sterzo (Figura 48)

Giunti sferici (2) del tirante (Figura 48)
Boccole (2) del perno del fuso a snodo (Figura 48). Il raccordo superiore sul perno del fuso a snodo richiede soltanto una lubrificazione annuale (2 pompate).
Boccole (1 per piatto di taglio) del braccio di sollevamento (Figura 49).

Boccole (2 per piatto di taglio) del braccio di sollevamento (Figura 49).
Boccole girevoli (1 per piatto di taglio) del braccio di sollevamento (Figura 50).
Telaio portante dell'apparato di taglio (2 per apparato) (Figura 50)
Perno del braccio dell'apparato di taglio (1 per apparato) (Figura 50)

Prima di controllare l'olio o di rabboccare la coppa, spegnete il motore.
Non cambiate la velocità del regolatore o utilizzate una velocità eccessiva del motore.
| Cadenza di manutenzione | Procedura di manutenzione |
|---|---|
| Ogni 400 ore |
|
Verificate che il corpo del filtro dell'aria sia privo di danni che possano causare una fuoriuscita d'aria. Sostituitelo se è danneggiato. Verificate che l'intero sistema di presa d'aria non sia danneggiato, non accusi perdite e che le fascette stringitubo non siano allentate.
Effettuate la manutenzione del filtro dell'aria quando l'indicatore (Figura 51) lo richiede. Sostituendo il filtro dell'aria prima del necessario si aumenta il rischio che la morchia penetri nel motore quando si toglie il filtro.

Important: Verificate che il coperchio si chiuda ermeticamente intorno al corpo del filtro.
Parcheggiate la macchina su una superficie pianeggiante, abbassate gli apparati di taglio, inserite il freno di stazionamento, spegnete il motore e togliete la chiave.
Tirate il fermo verso l'esterno e ruotate il coperchio del filtro in senso antiorario (Figura 52).

Togliete il coperchio dal corpo del filtro dell'aria.
Prima di rimuovere il filtro, utilizzate aria compressa a bassa pressione (2,76 bar) pulita e asciutta per agevolare la rimozione di grossi detriti depositati tra il filtro primario esterno e la scatola. Evitate di usare aria ad alta pressione, che potrebbe spingere la morchia attraverso il filtro e nella zona di aspirazione.
Questa operazione di pulizia impedisce che la rimozione del filtro primario causi lo spostamento dei detriti nella zona di aspirazione.
Togliete il filtro primario e sostituitelo (Figura 53).
Si sconsiglia la pulizia dell'elemento usato, per evitare il rischio di danneggiare l'elemento filtrante. Controllate il filtro nuovo e accertatevi che non sia stato danneggiato durante la spedizione, in particolare l'estremità di tenuta del filtro ed il corpo. Non usate l'elemento se è avariato.
Montate il filtro nuovo premendo sul bordo esterno dell'elemento per inserirlo nella scatola. Non premete sulla parte centrale flessibile del filtro.

Important: Non cercate mai di pulire il filtro di sicurezza (Figura 54). Sostituitelo con uno nuovo ogni 3 interventi di manutenzione sul filtro primario.

Pulite il foro di espulsione della morchia, previsto nel coperchio rimovibile.
Togliete la valvola di uscita in gomma dal coperchio, pulite la cavità e installate la valvola di uscita.
Montate il coperchio con la valvola di uscita in gomma disposta in giù, in una posizione tra le ore 5 e le ore 7 vista dall'estremità.
Se la spia (Figura 51) è rossa, resettatela.
| Cadenza di manutenzione | Procedura di manutenzione |
|---|---|
| Ogni 250 ore |
|
Parcheggiate la macchina su una superficie pianeggiante, abbassate gli apparati di taglio, inserite il freno di stazionamento, spegnete il motore e togliete la chiave.
Togliete il tappo di spurgo (Figura 55) e lasciate defluire l'olio in una bacinella.

Montate il tappo di spurgo quando l'olio si ferma.
Togliete il filtro dell'olio (Figura 56).

Applicate un velo di olio pulito sulla tenuta del nuovo filtro prima di montarla.
Note: Non serrate eccessivamente il filtro.
Rabboccate la coppa con olio adatto; vedere Controllo del livello dell'olio motore.
Regolate il cavo dell'acceleratore (Figura 57) in modo che la leva di regolazione sul motore entri in contatto con i perni di registrazione della velocità alta nello stesso momento in cui il cavo dell'acceleratore entra in contatto con l'estremità della scanalatura del braccio di comando.

In determinate condizioni, la benzina e i relativi vapori sono estremamente infiammabili ed esplosivi. Un incendio o un'esplosione causati dal carburante possono ustionare voi o altre persone e causare danni.
Fate il pieno di carburante all'aria aperta, a motore spento e freddo e tergete il carburante versato.
Non riempite completamente il serbatoio. Rabboccate il serbatoio del carburante fino a portare il livello del carburante a 25 mm dall’estremità superiore del serbatoio, non dalla base del collo del bocchettone. Questo spazio consentirà l'espansione del carburante.
Non fumate mai quando maneggiate il carburante, e state lontani da fiamme libere o dove i fumi di carburante possano essere accesi da una scintilla.
Conservate il carburante in una tanica pulita ed omologata ai fini di sicurezza, con il tappo chiuso.
| Cadenza di manutenzione | Procedura di manutenzione |
|---|---|
| Ogni 800 ore |
|
| Prima del rimessaggio |
|
Parcheggiate la macchina su una superficie pianeggiante, abbassate gli apparati di taglio, inserite il freno di stazionamento, spegnete il motore e togliete la chiave.
Se l'impianto di alimentazione è contaminato, e prima del rimessaggio per lunghi periodi, spurgate il serbatoio carburante e pulitelo. Utilizzate del carburante pulito per lavare il serbatoio.
| Cadenza di manutenzione | Procedura di manutenzione |
|---|---|
| Ogni 400 ore |
|
Parcheggiate la macchina su una superficie pianeggiante, abbassate gli apparati di taglio, inserite il freno di stazionamento, spegnete il motore e togliete la chiave.
Controllate i tubi di alimentazione per verificare l’assenza di deterioramenti, danni o allentamento dei raccordi.
| Cadenza di manutenzione | Procedura di manutenzione |
|---|---|
| Prima di ogni utilizzo o quotidianamente |
|
| Ogni 400 ore |
|
Parcheggiate la macchina su una superficie pianeggiante, abbassate gli apparati di taglio, inserite il freno di stazionamento, spegnete il motore e togliete la chiave.
Mettete un contenitore pulito sotto il filtro del carburante.
Allentate il tappo di spurgo situato nella parte inferiore della scatola del filtro.

Pulite la superficie circostante la scatola del filtro.
Togliete la scatola del filtro e pulite la superficie di appoggio.
Lubrificate la guarnizione della scatola del filtro con olio pulito.
Montate a mano la scatola del filtro finché la guarnizione non tocca la superficie di appoggio, quindi ruotatela per un altro mezzo giro.
Allentate il tappo di spurgo situato in fondo alla scatola del filtro.
Parcheggiate la macchina su una superficie pianeggiante, abbassate gli apparati di taglio, inserite il freno di stazionamento, spegnete il motore e togliete la chiave.
Il tubo di aspirazione del carburante, situato all'interno del serbatoio carburante, è provvisto di una griglia che contribuisce ad impedire a corpi estranei di entrare nell'impianto di alimentazione. Togliete il tubo di aspirazione del carburante e pulite la griglia come opportuno.
Scollegate la batteria prima di riparare la macchina. Scollegate prima il morsetto negativo, poi quello positivo. Collegate prima il morsetto positivo, poi quello negativo.
Caricate la batteria in un'area aperta e ben ventilata, lontano da fiamme e scintille. Togliete la spina del caricabatterie prima di collegare o scollegare la batteria. Indossate indumenti di protezione e adoperare utensili isolati.
Parcheggiate la macchina su una superficie pianeggiante, abbassate gli apparati di taglio, inserite il freno di stazionamento, spegnete il motore e togliete la chiave.
Sbloccate e sollevate il pannello comandi dell'operatore (Figura 59).

L'elettrolito della batteria contiene acido solforico, che è fatale se consumato e causa gravi ustioni.
Non bevete l’elettrolito, e non lasciate che venga a contatto con la pelle, gli occhi o gli indumenti. Indossate occhiali di protezione per proteggere gli occhi, e guanti di gomma per proteggere le mani.
Riempite la batteria nelle vicinanze di acqua pulita, per lavare la pelle.
Collegate un caricabatterie da 3-4 A ai poli della batteria.
Caricate la batteria a 3-4 A per 4-8 ore.
Quando la batteria è carica, staccate il caricabatterie dalla presa elettrica e dai poli della batteria.
Durante la ricarica della batteria si sviluppano gas esplosivi.
Non fumate mai nelle adiacenze della batteria e tenetela lontano da scintille e fiamme.
Collegate il cavo positivo (rosso) al terminale positivo (+) e il cavo negativo (nero) al terminale negativo (-) della batteria (Figura 60).

Fissate i cavi ai poli con dadi e viti a testa cilindrica.
Verificate che il morsetto positivo (+) sia completamente sul polo, e che il cavo sia posizionato in modo aderente alla batteria. Il cavo non deve toccare il coperchio della batteria.
Fate scorrere la guaina di gomma sul morsetto positivo per evitare un cortocircuito.
Per impedire la corrosione, spalmate i due collegamenti della batteria con grasso Grafo 112X (rivestimento), n. cat. Toro 505-47, vaselina o grasso leggero e
Infilate il cappuccio in gomma sul morsetto positivo.
Chiudete il pannello comandi e fissate con il fermo.
I morsetti della batteria e gli attrezzi metallici possono creare cortocircuiti contro i componenti metallici e provocare scintille. Queste possono fare esplodere i gas delle batterie e provocare infortuni.
Quando la batteria viene smontata o montata, evitate che i morsetti entrino a contatto con le parti metalliche della macchina.
Evitate cortocircuiti fra i morsetti della batteria e le parti metalliche della macchina causati da utensili metallici.
Se il percorso dei cavi della batteria non è corretto, la macchina e i cavi potrebbero danneggiarsi e produrre scintille. Eventuali scintille possono fare esplodere i gas delle batterie e provocare lesioni personali.
Scollegate sempre il cavo negativo (nero) della batteria prima di quello positivo (rosso).
Collegate sempre il cavo positivo (rosso) della batteria prima di quello negativo (nero).
| Cadenza di manutenzione | Procedura di manutenzione |
|---|---|
| Ogni 50 ore |
|
Important: Prima di effettuare interventi di saldatura sulla macchina, scollegate il cavo negativo dalla batteria per evitare di danneggiare l’impianto elettrico.
Note: Controllate lo stato della batteria ogni settimana, oppure ogni 50 ore di servizio. Mantenete puliti i morsetti e la scatola della batteria, poiché le batterie sporche si scaricano lentamente.
Pulite la batteria come segue.
Parcheggiate la macchina su una superficie pianeggiante, abbassate gli apparati di taglio, inserite il freno di stazionamento, spegnete il motore e togliete la chiave.
Togliete la batteria dalla macchina.
Lavate la scatola completa con una soluzione di bicarbonato di sodio e acqua.
Lavate la scatola con acqua pulita.
Per impedire la corrosione, ricoprite i morsetti della batteria e i connettori dei cavi con grasso Grafo 112X (rivestimento) (n. di parte Toro 505-47) o vaselina.
I fusibili si trovano sotto il quadro di comando dell'operatore.

Parcheggiate la macchina su una superficie pianeggiante, abbassate gli apparati di taglio, inserite il freno di stazionamento, spegnete il motore e togliete la chiave.
Sbloccate e sollevate il pannello comandi dell'operatore (Figura 62) per esporre i fusibili (Figura 63).



| Cadenza di manutenzione | Procedura di manutenzione |
|---|---|
| Dopo le prime 8 ore |
|
| Ogni 200 ore |
|
Parcheggiate la macchina su una superficie pianeggiante, abbassate gli apparati di taglio, inserite il freno di stazionamento, spegnete il motore e togliete la chiave.
Il mancato serraggio dei dadi delle ruote alla coppia prevista può causare guasti o la perdita di una ruota, pregiudicando l'integrità fisica delle persone.
Serrate i dadi delle ruote anteriori e posteriori a 115–136 N∙m dopo 1–4 ore di servizio e di nuovo dopo 8 ore di servizio. In seguito serrate ogni 200 ore.
Note: I dadi delle ruote anteriori sono 1/2-20 UNF. I dadi delle ruote posteriori sono M12 x 1,6-6H (metrici).
| Cadenza di manutenzione | Procedura di manutenzione |
|---|---|
| Ogni 400 ore |
|
Non deve esserci gioco nelle trasmissioni/ruote motrici a ruotismo planetario (cioè le ruote non devono muoversi se tirate o spinte in una direzione parallela all'assale).
Parcheggiate la macchina su terreno pianeggiante, inserite il freno di stazionamento, abbassate gli elementi di taglio, spegnete il motore e togliete la chiave.
Immobilizzate le ruote posteriori con zeppe e sollevate la parte anteriore della macchina, sostenendo l'assale/il telaio anteriore su cavalletti metallici.
Una macchina su un cavalletto può essere instabile e scivolare dal cavalletto stesso, causando lesioni a chiunque si trovi al di sotto.
Non avviate il motore quando la macchina si trova su un cavalletto.
Togliete sempre la chiave dall'interruttore prima di abbandonare la macchina.
Bloccate gli pneumatici quando sollevate la macchina su un cavalletto.
Supportate la macchina con i cavalletti.
Afferrate una delle ruote motrici anteriori e spingete/tirate verso e via dalla macchina, prendendo nota di qualsiasi movimento.

Ripetete il passaggio 3 per l'altra ruota motrice.
Se una delle ruote si muove, rivolgetevi al vostro distributore Toro autorizzato, che provvederà alla ricostruzione della trasmissione a ruotismo planetario.
| Cadenza di manutenzione | Procedura di manutenzione |
|---|---|
| Ogni 400 ore |
|
Specifiche del lubrificante: lubrificante per ingranaggi SAE 85W-140 di alta qualità
Parcheggiate la macchina su una superficie pianeggiante, posizionate la ruota in modo che il tappo di riempimento si trovi nella posizione a ore 12, il tappo di controllo nella posizione a ore 3 e il tappo di spurgo nella posizione a ore 6 (Figura 66).

Rimuovete il tappo di controllo nella posizione a ore 3 (Figura 66).
L'olio deve essere in fondo al foro del tappo di controllo.

Se il livello dell'olio è basso, rimuovete il tappo di riempimento a ore 12 e aggiungete olio finché non inizia a fuoriuscire dal foro a ore 3.
Verificate l’eventuale presenza di tracce di usura o danni sugli anelli toroidali del tappo o dei tappi.
Note: Sostituite gli anelli toroidali al bisogno.
Montate il o i tappi.
Ripetete i passaggi da 1 a 5 sul gruppo degli ingranaggi a ruotismo planetario sull’altro lato della macchina.
| Cadenza di manutenzione | Procedura di manutenzione |
|---|---|
| Dopo le prime 200 ore |
|
| Ogni 800 ore |
|
Specifiche del lubrificante: lubrificante per ingranaggi SAE 85W-140 di alta qualità
Capacità di lubrificazione dell’alloggiamento degli ingranaggi planetari e della scatola del freno: 0,65 litri
Parcheggiate la macchina su una superficie pianeggiante, posizionate la ruota in modo che il tappo di riempimento si trovi nella posizione a ore 12, il tappo di controllo nella posizione a ore 3 e il tappo di spurgo nella posizione a ore 6; fate riferimento alla Figura 66 in Controllo del lubrificante della trasmissione degli ingranaggi a ruotismo planetario.
Rimuovete il tappo di riempimento nella posizione a ore 12 e il tappo di controllo nella posizione a ore 3 (Figura 68).

Mettete una bacinella sotto il mozzo del planetario, togliete il tappo di spurgo nella posizione a ore 6 e lasciate defluire l'olio (Figura 68).
Verificate l’eventuale presenza di tracce di usura o danni sugli anelli toroidali dei tappi di riempimento, controllo e spurgo.
Note: Sostituite gli anelli toroidali al bisogno.
Inserite il tappo di spurgo nel foro di spurgo dell’alloggiamento degli ingranaggi planetari (Figura 68).
Mettete una bacinella sotto la scatola del freno, togliete il tappo di spurgo e lasciate defluire completamente l'olio (Figura 69).

Verificate l’eventuale presenza di tracce di usura o danni sull’anello toroidale del tappo e inserite il tappo di spurgo nella scatola del freno.
Note: Sostituite l’anello toroidale, se necessario.
Attraverso il foro del tappo di riempimento riempite lentamente il planetario con 0,65 litri di lubrificante per ingranaggi di alta qualità SAE 85W-140.
Important: Se il planetario si riempie prima dell'aggiunta di 0,65 litri di olio, aspettate un'ora o inserite il tappo e muovete la macchina di circa 3 metri per distribuire l'olio all'interno dell'impianto frenante. In seguito rimuovete il tappo e aggiungete l'olio rimanente.

Montate il tappo di riempimento e il tappo di controllo.
Pulite l’alloggiamento degli ingranaggi planetari e la scatola del freno (Figura 71).

Ripetete i passaggi da 1 a 7 in Spurgo della trasmissione degli ingranaggi a ruotismo planetario e i passaggi da 1 a 3 di questa procedura per il gruppo ingranaggi planetari/freno sull’altro lato della macchina.
| Cadenza di manutenzione | Procedura di manutenzione |
|---|---|
| Ogni 400 ore |
|
Il ponte posteriore viene riempito in fabbrica con lubrificante per ingranaggi SAE 85W-140. La capienza è di 2,4 litri. Ogni giorno, controllate a vista che non vi siano perdite.
Parcheggiate la macchina su una superficie pianeggiante, abbassate gli apparati di taglio, inserite il freno di stazionamento, spegnete il motore e togliete la chiave.
Togliete il tappo di controllo da un'estremità dell'assale (Figura 72) e verificate che l'olio raggiunga la base del foro. Se il livello è basso, togliete il tappo di riempimento (Figura 72) e rabboccate con olio finché non raggiunge la base del foro del tappo di controllo.

| Cadenza di manutenzione | Procedura di manutenzione |
|---|---|
| Dopo le prime 200 ore |
|
| Ogni 800 ore |
|
Parcheggiate la macchina su una superficie pianeggiante, abbassate gli apparati di taglio, inserite il freno di stazionamento, spegnete il motore e togliete la chiave.
Pulite attorno ai tre tappi di spurgo, uno per lato ed uno in centro (Figura 73).

Togliete i tappi di controllo del livello dell'olio e il tappo di sfiato dell'assale principale, per agevolare la fuoriuscita dell'olio.
Togliete i tappi di spurgo e lasciate defluire l'olio nelle bacinelle.
Montate i tappi.
Togliete un tappo di spurgo e riempite l'assale con 2,37 litri circa di lubrificante per ingranaggi 85W-140, o fin quando l'olio non raggiunge la base del foro.
Montate il tappo di controllo.
| Cadenza di manutenzione | Procedura di manutenzione |
|---|---|
| Ogni 400 ore |
|
La scatola ingranaggi è riempita di lubrificante per ingranaggi SAE 85W-140. Si consiglia tuttavia di controllare il livello dell'olio prima di avviare il motore per la prima volta, ed in seguito ogni 400 ore. La capienza è di 0,5 litri. Ogni giorno, controllate a vista che non vi siano perdite.
Parcheggiate la macchina su una superficie pianeggiante, abbassate gli apparati di taglio, inserite il freno di stazionamento, spegnete il motore e togliete la chiave.
Togliete il tappo di controllo/riempimento dal lato sinistro del riduttore (Figura 74) e verificate che il lubrificante raggiunga la base del foro. Se il livello è basso, rabboccate con lubrificante fino a portarlo alla base del foro.

La macchina non deve spostarsi quando rilasciate il pedale di comando della trazione. In caso contrario, occorre effettuare una regolazione.
Parcheggiate la macchina su una superficie pianeggiante, spegnete il motore, posizionate il comando della velocità sul range inferiore e abbassate gli apparati di taglio.
Premete solo il pedale destro del freno e inserite il freno di stazionamento.
Sollevate con un martinetto la parte sinistra della macchina fino a quando lo pneumatico anteriore sinistro non si solleva da terra. Sostenete la macchina con dei cavalletti metallici per impedirne la caduta accidentale.
Avviate il motore e lasciatelo funzionare al minimo inferiore.
Regolate i controdadi dal lato asta della pompa per muovere in avanti il tubo di controllo della pompa ed eliminare lo spostamento in avanti, o per muoverlo indietro ed eliminare lo spostamento indietro (Figura 75).

Quando la ruota avrà smesso di girare, serrate i controdadi per mantenere la messa a punto.
Spegnete il motore e rilasciate il freno di destra.
Rimuovete i cavalletti metallici e abbassate la macchina a terra.
Collaudate la macchina e verificate che non si sposti affatto.
| Cadenza di manutenzione | Procedura di manutenzione |
|---|---|
| Ogni 800 ore |
|
Parcheggiate la macchina su una superficie pianeggiante, abbassate gli apparati di taglio, inserite il freno di stazionamento, spegnete il motore e togliete la chiave.
Misurate l’interasse (all’altezza dell’assale) sulla parte anteriore e posteriore degli pneumatici di sterzo.
Note: La misurazione anteriore deve risultare di 3 mm inferiore a quella posteriore (Figura 76).

Per regolare la convergenza, togliete la coppiglia e il dado da uno dei giunti a sfera del tirante (Figura 77).

Togliete il giunto a sfera del tirante dal supporto della scatola dell'assale.
Allentate i fermi su entrambe le estremità dei tiranti (Figura 77).
Girate di un 1 giro completo, verso l’interno o l’esterno, il giunto a sfera rimosso.
Serrate la ghiera dal lato allentato del tirante.
Girate l'intero gruppo del tirante nello stesso verso (interno o esterno), di un 1 giro completo.
Serrate la ghiera dal lato collegato del tirante.
Montate il giunto a sfera nella scatola dell’assale e serrate a mano il dado.
Misurate la convergenza.
All’occorrenza ripetete questa procedura.
Quando la regolazione è esatta, serrate il dado e montate una nuova coppiglia.
L'ingestione di refrigerante del motore può causare lesioni o morte: tenetelo fuori dalla portata di bambini e animali domestici.
Se viene scaricato refrigerante caldo sotto pressione o si tocca il radiatore o le parti adiacenti calde, possono verificarsi gravi ustioni.
Lasciate sempre raffreddare il motore per almeno 15 minuti prima di rimuovere il tappo del radiatore.
Aprite il tappo del radiatore con uno straccio, agendo lentamente per lasciare fuoriuscire il vapore.
| Cadenza di manutenzione | Procedura di manutenzione |
|---|---|
| Prima di ogni utilizzo o quotidianamente |
|
Ogni giorno togliete i detriti dalla zona motore, dal radiatore dell'olio e dal radiatore. Eliminateli più spesso in ambienti sporchi.
Parcheggiate la macchina su una superficie pianeggiante, abbassate gli apparati di taglio, inserite il freno di stazionamento, spegnete il motore e togliete la chiave.
Sbloccate la griglia posteriore ed apritela (Figura 78).

Ripulite accuratamente la griglia da tutti i detriti.
Note: Per togliere la griglia sollevate i perni d'incernieramento.
Pulite accuratamente entrambi i lati dell’area del radiatore/refrigeratore dell’olio (Figura 79) utilizzando aria compressa. Iniziate dal lato anteriore ed eliminate i detriti spingendoli verso la parte posteriore. Successivamente eseguite la pulizia partendo dalla parte posteriore e soffiando l'aria verso la parte anteriore. Ripetete la procedura più volte fino a rimuovere completamente sporcizia e detriti.

Important: L'uso di acqua per la pulizia del refrigeratore o del radiatore dell'olio favorisce la precoce corrosione e danni ai componenti, e la compattazione di detriti.
Chiudete la griglia posteriore e fissatela con il fermo.
Regolate questi freni se il pedale ha un gioco superiore a 13 mm, o quando i freni non funzionano in modo efficace. Per gioco s'intende la distanza che il pedale percorre prima che si avverta la resistenza della frenata.
Parcheggiate la macchina su una superficie pianeggiante, abbassate gli apparati di taglio, inserite il freno di stazionamento, spegnete il motore e togliete la chiave.
Disinserite il perno di bloccaggio dai pedali del freno, in modo che i due pedali operino indipendentemente l’uno dall’altro.
Per ridurre il gioco dei pedali del freno serrate i freni come segue:
Allentate il dado anteriore sull'estremità filettata del cavo del freno (Figura 80).

Serrate il dado posteriore per spostare indietro il cavo, finché i pedali del freno non hanno un gioco di 0–13 mm.
Note: Assicuratevi che non vi sia tensione nel freno quando rilasciate il pedale.
Serrate i dadi anteriori dopo avere regolato correttamente i freni.
| Cadenza di manutenzione | Procedura di manutenzione |
|---|---|
| Ogni 100 ore |
|
La tensione è corretta quando applicando una forza di 45 N sulla cinghia, al centro tra le pulegge, si ha una flessione di 10 mm.
Se l'inflessione non è di 10 mm, allentate i bulloni di fissaggio dell'alternatore (Figura 81).

Aumentate o riducete la tensione della cinghia dell'alternatore e serrate i bulloni.
Controllate di nuovo l’inflessione della cinghia per accertare che sia esatta.
Se il fluido penetra nella pelle, rivolgetevi immediatamente a un medico. Il fluido idraulico penetrato sotto la pelle deve essere asportato da un medico entro poche ore.
Prima di mettere l'impianto sotto pressione, accertatevi che tutti i circuiti e i tubi dell'olio idraulico siano in buone condizioni e che tutte le connessioni e i raccordi idraulici siano serrati saldamente.
Tenete corpo e mani lontano da perdite filiformi o da ugelli che emettono fluido idraulico pressurizzato.
Usate carta o cartone per individuare eventuali perdite di fluido idraulico.
Rilasciate in maniera sicura la pressione dall'impianto idraulico prima di eseguire qualunque intervento sull'impianto.
| Cadenza di manutenzione | Procedura di manutenzione |
|---|---|
| Prima di ogni utilizzo o quotidianamente |
|
Il serbatoio viene riempito in fabbrica con circa 28,4 litri di fluido idraulico di prima qualità. Controllate il livello del fluido idraulico prima di avviare il motore per la prima volta e in seguito ogni giorno.
Il fluido di ricambio consigliato è Toro Premium All Season Hydraulic Fluid (fluido idraulico per tutte le stagioni), reperibile in fustini da 19 litri o in barili da 208 litri. Consultate il Catalogo ricambi o rivolgetevi al vostro distributore Toro autorizzato per i relativi numeri).
Fluidi alternativi: qualora il fluido Toro non sia disponibile, si potranno utilizzare altri fluidi convenzionali a base di petrolio purché abbiano tutte le proprietà materiali e caratteristiche industriali indicate a seguire. Controllate con il vostro fornitore di fluido idraulico per verificare se il fluido soddisfa tali specifiche.
Note: Toro declina ogni responsabilità per danni causati dall'inadeguata sostituzione, pertanto si raccomanda l'uso di prodotti di marche aventi una buona reputazione, che rispondano delle proprie raccomandazioni.
| Fluido idraulico antiusura, alto indice di viscosità e basso punto di scorrimento, ISO VG 46 Multigrade | |||
| Proprietà materiali: | |||
| Viscosità, ASTM D445 | cSt a 40 °C da 44 a 50cSt a 100 °C da 7,9 a 9,1 | ||
| Indice di viscosità, ASTM D2270 | 140 o superiore (l'alto indice di viscosità indica un fluido a peso multiplo) | ||
| Punto di scorrimento, ASTM D97 | da -37 °C a -45 °C | ||
| FZG, stadio di fallimento | 11 o migliore | ||
| Contenuto d'acqua (nuovo fluido) | 500 ppm (max) | ||
| Caratteristiche industriali: | |||
| Vickers I-286-S, Vickers M-2950-S, Denison HF-0, Vickers 35 VQ 25 (Eaton ATS373-C) | |||
I fluidi idraulici idonei devono essere specificati per macchinario mobile (in contrasto con l'utilizzo di impianto industriale), tipo peso multiplo, con pacchetto additivo antiusura ZnDTP o ZDDP (fluido non di tipo senza cenere).
Important: Il fluido multigrado ISO VG 46 ha dimostrato ottime prestazioni a temperature ambientali estremamente diverse. Il fluido idraulico ISO VG 68 può offrire prestazioni migliori per lavori svolti a temperature ambiente decisamente elevate (dai 18 °C ai 49 °C).
Fluido idraulico biodegradabile di qualità premium Mobil EAL EnviroSyn 46H
Important: Mobil EAL EnviroSyn 46H è l'unico fluido biodegradabile sintetico approvato da Toro. Questo fluido è compatibile con gli elastomeri utilizzati negli impianti idraulici Toro ed è adatto ad una vasta gamma di temperature. Questo fluido è compatibile con i fluidi tradizionali; tuttavia, per ottenere la massima biodegradabilità e le prestazioni migliori, l'impianto idraulico deve essere lavato accuratamente per eliminare il fluido tradizionale. Il fluido è disponibile in fustini da 19 litri o in barili da 208 litri dal distributore Mobil di zona.
Important: Molti fluidi idraulici sono praticamente incolori, e rendono difficile il rilevamento di fuoriuscite. Per il fluido idraulico è disponibile un additivo con colorante rosso in confezioni da 20 ml. Una confezione è sufficiente per 15–22 litri di fluido idraulico. Per ottenerlo, ordinate il n. cat. 44-2500 presso il Distributore Toro autorizzato di zona.
Parcheggiate la macchina su un terreno pianeggiante, abbassate gli apparati di taglio, inserite il freno di stazionamento, spegnete il motore e togliete la chiave.
Pulite attorno al collo del bocchettone e del tappo del serbatoio idraulico (Figura 82).

Togliete il tappo dal collo del bocchettone.
Togliete l'asta di livello dal collo del bocchettone e pulitela strofinandola con un cencio pulito.
Inserite l'asta di livello nel collo del bocchettone, quindi estraetela e controllate il livello del fluido.
Il livello del fluido deve essere compreso tra le 2 tacche sull'asta di livello.
Se il livello è basso, rabboccate con olio adatto fino a portarlo alla tacca superiore.
Montate l'asta di livello e il tappo sul collo del bocchettone.
| Cadenza di manutenzione | Procedura di manutenzione |
|---|---|
| Ogni 800 ore |
|
Nel caso in cui il fluido si contamini, rivolgetevi al distributore Toro di zona autorizzato, che provvederà al lavaggio dell'impianto. Il fluido contaminato ha un aspetto lattiginoso o nero rispetto al fluido pulito.
Parcheggiate la macchina su una superficie pianeggiante, abbassate gli apparati di taglio, inserite il freno di stazionamento, spegnete il motore e togliete la chiave.
Alzate il cofano.
Scollegate il tubo di ritorno della cassa dal fondo del serbatoio e lasciate defluire il fluido idraulico in una bacinella grande.
Collegate il tubo quando il fluido idraulico cessa di defluire.
Riempite il serbatoio idraulico con circa 28,4 litri di fluido idraulico; vedere Controllo del livello del fluido idraulico.
Important: Usate soltanto i fluidi idraulici specificati. Altri fluidi possono danneggiare l'impianto.
Montate il tappo sul serbatoio.
Avviate il motore ed attivate tutti i comandi idraulici per distribuire il fluido attraverso l’impianto.
Verificate l'assenza di perdite e spegnete il motore.
Controllate il livello del fluido e rabboccate fino a raggiungere la tacca Pieno sull’asta di livello.
Note: Non riempite troppo l'impianto idraulico.
| Cadenza di manutenzione | Procedura di manutenzione |
|---|---|
| Dopo le prime 200 ore |
|
| Ogni 800 ore |
|
Utilizzate filtri di ricambio Toro, n. cat. 94-2621 per il retro (apparato di taglio) della macchina, e n. cat. 75-1310 per la parte anteriore (carica) della macchina.
Important: L'uso di filtri di tipo diverso può invalidare la garanzia di alcuni componenti.
Parcheggiate la macchina su una superficie pianeggiante, abbassate gli apparati di taglio, inserite il freno di stazionamento, spegnete il motore e togliete la chiave.
Pulite la superficie circostante il filtro.
Collocate una bacinella di spurgo sotto il filtro (Figura 83 e Figura 84).
Lubrificate la guarnizione del nuovo filtro e riempite il filtro con fluido idraulico.


Verificate che l'area circostante il filtro sia pulita.
Avvitate il filtro fin quando la guarnizione viene a contatto con la piastra di appoggio, quindi serrate il filtro di mezzo giro.
Avviate il motore e lasciatelo funzionare per 2 minuti circa, per spurgare l’aria dall’impianto.
Spegnete il motore e verificate che non ci siano fuoriuscite.
| Cadenza di manutenzione | Procedura di manutenzione |
|---|---|
| Prima di ogni utilizzo o quotidianamente |
|
Parcheggiate la macchina su una superficie pianeggiante, abbassate gli apparati di taglio, inserite il freno di stazionamento, spegnete il motore e togliete la chiave.
Controllate i tubi idraulici e i flessibili ogni giorno per rilevare fuoriuscite, tubi attorcigliati, attacchi allentati, usura, raccordi allentati e deterioramento causato dalle condizioni atmosferiche e da agenti chimici. Eseguite tutte le riparazioni necessarie prima di usare la macchina.
Un apparato di taglio usurato o danneggiato può rompersi e un pezzo del cilindro o della controlama può essere scagliato verso di voi o gli astanti, causando gravi lesioni personali o la morte.
Ispezionate periodicamente gli apparati di taglio per escludere usura o danni.
Prestate la massima attenzione quando controllate gli apparati di taglio. Avvolgete le lame o indossate guanti e prestate attenzione durante la manutenzione di cilindri e controlame. Effettuate solo operazioni di sostituzione o affilatura di cilindri e controlame; non raddrizzateli né saldateli.
Su macchine con più lame, prestate attenzione dal momento che la rotazione di 1 cilindro può causare la rotazione di altre lame.
Il contatto con i cilindri o con altre parti in movimento può causare infortuni.
Non avvicinate dita, mani o abiti ai cilindri o ad altre parti in movimento.
Non cercate mai di girare i cilindri con la mano o col piede se il motore è acceso.
Note: Durante la lappatura, gli elementi di taglio anteriori funzionano insieme e gli elementi posteriori funzionano insieme.
Parcheggiate la macchina su una superficie pianeggiante, abbassate gli apparati di taglio, inserite il freno di stazionamento, spegnete il motore e spostate l'interruttore della PDF in posizione di SPEGNIMENTO.
Sbloccate e sollevate il cofano per accedere ai comandi.
Effettuate, su tutti gli elementi di taglio, la regolazione iniziale fra cilindro e controlama, ai fini della lappatura; vedere il Manuale dell'operatore degli elementi di taglio.
Selezionate le leve di lappatura anteriore, posteriore o entrambe per stabilire gli elementi da lappare (Figura 85).
Avviate il motore e lasciatelo funzionare al minimo inferiore.
Cambiando il regime del motore durante la lappatura potreste fare fermare i cilindri.
Non cambiate mai il regime del motore durante la lappatura.
Effettuate la lappatura solo alla velocità minima inferiore del motore.
Il contatto con apparati di taglio può causare infortuni.
Prima di procedere accertatevi di essere a una distanza di sicurezza dagli elementi di taglio.
Con il limitatore della velocità di tosatura in posizione di TOSATURA, spostate l'interruttore della PDF in posizione di ACCENSIONE.
Premete l'interruttore di sollevamento per avviare le operazioni di lappatura sui cilindri designati.
Applicate il preparato per lappatura con un pennello dal manico lungo.
Note: Non usate una spazzola a manico corto.

Se i cilindri si arrestano o funzionano in modo irregolare durante la lappatura, aumentate la velocità con l'acceleratore agendo fino a stabilizzarli.
Per effettuare una regolazione degli apparati di taglio durante la lappatura, spegnete i cilindri premendo la parte posteriore dell'interruttore di sollevamento; spostate l'interruttore della PDF in posizione di SPEGNIMENTO e spegnete il motore. Una volta terminate eventuali regolazioni, ripetete da 5 a 9.
Ripetete l'operazione per tutti gli elementi di taglio da sottoporre a lappatura.
Al termine, riportate le leve di lappatura in posizione di TOSATURA, abbassate il cofano e lavate il preparato per lappatura dagli apparati di taglio. Eseguite la regolazione tra cilindro dell’apparato di taglio e controlama come opportuno. Portate i comandi della velocità del cilindro degli elementi di taglio nella posizione opportuna per la tosatura.
Important: Se non riportate l'interruttore di lappatura in posizione di SPEGNIMENTO al termine della lappatura, gli apparati di taglio non si solleveranno o non funzioneranno correttamente.
Note: Ulteriori istruzioni e procedure di lappatura sono disponibili nel manuale Toro relativo ad affilatura cilindri e tosaerba rotativi, Modulo n. 80-300SL.
Note: Per ottimizzare il bordo di taglio, inserite una lima nel lato anteriore della controlama, al termine dell'operazione di lappatura. Essa consentirà di rimuovere difetti o margini irregolari eventualmente presenti sul bordo di taglio.
Parcheggiate la macchina su una superficie pianeggiante, abbassate gli apparati di taglio, inserite il freno di stazionamento, spegnete il motore e togliete la chiave.
Pulite accuratamente il trattore, gli apparati di taglio e il motore.
Controllate la pressione degli pneumatici; vedere Controllo della pressione degli pneumatici.
Controllate tutti gli elementi di fissaggio per verificare che non siano allentati; all'occorrenza serrateli.
Lubrificate con grasso od olio tutti i raccordi di ingrassaggio e i punti di articolazione. Tergete il lubrificante superfluo.
Carteggiate leggermente e ritoccate le aree verniciate graffiate, scheggiate o arrugginite. Riparate ogni intaccatura nel metallo.
Revisionate la batteria e i cavi come segue; fate riferimento a Sicurezza dell'impianto elettrico:
Togliete i morsetti della batteria dai poli.
Pulite la batteria, i morsetti e i poli con una spazzola metallica e una soluzione di bicarbonato di sodio.
Per evitare la corrosione, ricoprite i morsetti e i poli della batteria con grasso di rivestimento Grafo 112X (codice prodotto Toro 505-47) o vaselina.
Per impedire la solfatazione di piombo della batteria, caricatela lentamente ogni 60 giorni per 24 ore.
Spurgate l’olio del motore dalla coppa e montate il tappo di spurgo.
Togliete il filtro dell'olio e scartatelo. Montate un nuovo filtro dell'olio.
Riempite il motore con l'olio indicato.
Avviate il motore e lasciatelo funzionare alla velocità minima per circa 2 minuti.
Spegnete il motore e togliete la chiave.
Lavate il serbatoio con carburante nuovo e pulito.
Fissate tutti i raccordi dell'impianto.
Pulite accuratamente il gruppo filtro dell'aria e revisionatelo.
Sigillate l'entrata del filtro dell'aria e l'uscita di scarico con un nastro resistente agli agenti atmosferici.
Controllate la protezione antigelo ed aggiungete una soluzione di 50% anticongelante glicol etilico e 50% acqua, come opportuno, in base alle temperature minime previste nella vostra zona.