| Huoltoväli | Huoltotoimenpide |
|---|---|
| Aina ennen käyttöä tai päivittäin |
|
Tämä kone on ajettava kelateräruohonleikkuri, joka on tarkoitettu ammattimaiseen kaupalliseen käyttöön. Se on tarkoitettu pääasiassa golfkenttien, puistojen, urheilukenttien ja kaupallisten kiinteistöjen viheralueiden ruohonleikkuuseen. Sitä ei ole tarkoitettu pensaiden leikkuuseen tai ruohon tai muun kasvuston leikkuuseen teiden varsilla eikä maatalouskäyttöön.
Lue nämä tiedot huolellisesti, jotta oppisit käyttämään ja huoltamaan laitetta asianmukaisesti sekä välttämään tapaturmia ja tuotevaurioita. Olet itse vastuussa tuotteen asianmukaisesta ja turvallisesta käytöstä.
Important: Tämän käyttöoppaan sisältö on luettava huolellisesti ja ymmärrettävä täysin, jotta koneen paras mahdollinen turvallisuus, suorituskyky ja toiminta voidaan varmistaa. Näiden käyttöohjeiden tai asianmukaisen koulutuksen laiminlyönti saattaa aiheuttaa onnettomuuden. Lisätietoja turvallisista käyttötavoista, mukaan lukien turvallisuusvihjeitä ja koulutusmateriaaleja, on osoitteessa www.Toro.com.
Voit ottaa suoraan yhteyden Toroon osoitteessa www.Toro.com, jos tarvitset tuoteturvallisuuteen ja käyttökoulutukseen liittyvää materiaalia, tietoja lisävarusteista tai lähimmästä jälleenmyyjästä tai haluat rekisteröidä tuotteesi.
Aina kun tarvitset huoltoa, alkuperäisiä Toro-varaosia tai lisätietoja, ota yhteys valtuutettuun huoltoliikkeeseen tai Toron asiakaspalveluun. Ota tällöin tuotteen malli- ja sarjanumerot valmiiksi esiin. Kuva 1 näyttää malli- ja sarjanumeron sijainnin ajoyksikön rungon oikeanpuoleisessa etupalkissa. Kirjoita numerot annettuun tilaan.
Important: Skannaamalla sarjanumerokilvessä (jos varusteena) olevan QR-koodin mobiililaitteella saat tuotetietoja sekä takuu- ja varaosatietoja.

Tässä käyttöoppaassa esiintyvä varoitusmerkintä (Kuva 2) ilmaisee vaaratilannetta, josta saattaa olla seurauksena vakava tapaturma tai jopa kuolema, jos suositellut varotoimenpiteet laiminlyödään.

Tässä käyttöoppaassa käytetään kahta termiä tietojen korostamiseksi. Tärkeää kiinnittää huomiota mekaanisiin erikoistietoihin ja Huomautus korostaa erityishuomion ansaitsevia yleistietoja.
Tämä tuote on asiaankuuluvien eurooppalaisten direktiivien mukainen. Lisätietoja on erillisessä tuotekohtaisessa vaatimustenmukaisuusvakuutuksessa.
Kalifornian lain (California Public Resource Code) pykälät 4442 ja 4443 kieltävät tämän moottorin käytön metsä-, pensaikko- tai ruohopeitteisillä mailla, jos moottoria ei ole varustettu pykälässä 4442 mainitulla hyvässä käyttökunnossa pidetyllä kipinänsammuttimella tai jos moottoria ei ole suojattu, varustettu ja huollettu palovaaran ehkäisemiseksi.
Mukana toimitettavassa moottorin käyttöoppaassa on USA:n ympäristönsuojeluelimen EPA:n (Environmental Protection Agency) ja Kalifornian päästöjen hallintaa koskevien määräysten päästöjärjestelmiä, kunnossapitoa ja takuuta koskevia tietoja. Käyttöoppaita voi tilata moottorin valmistajalta.
KALIFORNIA
Lakiesityksen 65 mukainen varoitus
Dieselmoottorin tuottamat pakokaasut ja jotkin niiden aineosat sisältävät kemikaaleja, jotka Kalifornian osavaltion tietojen mukaan aiheuttavat syöpää, synnynnäisiä epämuodostumia tai muuta lisääntymiseen liittyvää haittaa.
Akun liitännät, navat ja niihin liittyvät lisävarusteet sisältävät lyijyä ja lyijy-yhdisteitä, joiden tiedetään aiheuttavan syöpää ja haittaavan lisääntymistä. Pese kädet, kun olet käsitellyt näitä osia.
Tämän tuotteen käyttäminen voi altistaa kemikaaleille, jotka Kalifornian osavaltion tietojen mukaan aiheuttavat syöpää, synnynnäisiä epämuodostumia tai muuta lisääntymiseen liittyvää haittaa.
Tämä kone on suunniteltu täyttämään tai ylittämään EN ISO 5395:2013 -standardin vaatimukset (kun koneessa on asianmukaiset ohjetarrat ja osat asennettuina) ja ANSI B71.4-2017 -standardin vaatimukset.
Tämä tuote voi katkaista jalan tai käden sekä singota esineitä. Noudata aina kaikkia turvallisuusohjeita, jotta vakavilta loukkaantumisilta vältytään.
Tuotteen käyttäminen muuhun kuin sen aiottuun käyttötarkoitukseen voi olla vaarallista käyttäjälle ja sivullisille.
Lue ja sisäistä tämän käyttöoppaan sisältö ennen moottorin käynnistämistä.
Koneen käyttö vaatii käyttäjän täyden huomion. Jos käyttäjän huomio keskittyy muualle, saattaa seurata henkilö- tai omaisuusvahinko.
Älä laita käsiä tai jalkoja koneen liikkuvien osien lähelle.
Älä käytä konetta ilman paikallaan olevia ja toimivia suojuksia ja muita suojalaitteita.
Älä mene heittoaukkojen eteen. Pidä sivulliset ja lemmikit turvallisen matkan päässä koneesta.
Älä päästä lapsia käyttöalueelle. Älä anna lasten käyttää konetta.
Pysäytä kone ja sammuta moottori ennen huoltoa, polttoainesäiliön täyttämistä ja tukoksen poistamista koneesta.
Laitteen asiaton käyttö tai huolto voi aiheuttaa tapaturman. Vähennä loukkaantumisriskiä noudattamalla näitä turvallisuusohjeita ja kiinnittämällä aina huomiota varoitusmerkkiin, joka tarkoittaa varoitusta, vaaraa tai hengenvaaraa – henkilöturvallisuusohjeet. Ohjeiden noudattamatta jättäminen saattaa johtaa henkilövahinkoon tai kuolemaan.
Lisää turvallisuusohjeita on tämän käyttöoppaan eri kohdissa.
Koneen moottori täyttää EU:n Stage 3A -vaatimukset.
![]() |
Turva- ja ohjetarrat on sijoitettu hyvin näkyville paikoille mahdollisten vaara-alueiden lähettyville. Korvaa vioittuneet tai kadonneet tarrat uusilla. |























Note: Koneen vasen ja oikea puoli määritellään normaalista käyttöasennosta käsin.
Säädä tukirullia seuraavasti ajoyksikköön asennettavien leikkuuyksikköjen leveyden mukaan:
Pysäköi kone tasaiselle alustalle, kytke seisontajarru, sammuta moottori ja irrota virta-avain.
Vaiheeseen tarvittavat osat:
| Varoitustarra | 1 |
Koneissa, joiden on täytettävä CE-vaatimukset, CE-varoitustarra (osanro 138-1186) on kiinnitettävä vakiovaroitustarran (osanro 120-1683) päälle.
Vaiheeseen tarvittavat osat:
| Konepellin lukitustuki | 1 |
| Niitti | 2 |
| Ruuvi (¼ × 2 tuumaa) | 1 |
| Litteä aluslaatta (¼ tuumaa) | 2 |
| Lukkomutteri (¼ tuumaa) | 1 |
Irrota konepellin salpa sen tuesta (Kuva 4).

Irrota kaksi niittiä, jotka kiinnittävät konepellin salvan tuen konepeltiin (Kuva 5).

Irrota konepellin salvan tuki konepellistä.
Kohdista kiinnitysreiät ja asenna CE-vaatimusten mukainen lukitustuki ja konepellin salvan tuki konepeltiin.
Note: Lukitustuen on oltava konepeltiä vasten (Kuva 5).Älä irrota pultti- ja mutterikokoonpanoa lukitustuen varresta.

Kohdista aluslaatat konepellin sisäpuolella oleviin reikiin.
Niittaa tuet ja aluslaatat konepeltiin (Kuva 6).
Kiinnitä salpa sen tukeen (Kuva 7).

Lukitse salpa paikalleen ruuvaamalla pultti konepellin lukitustuen toiseen varteen (Kuva 8).

Kiristä pultti huolellisesti, mutta älä kiristä mutteria.
Vaiheeseen tarvittavat osat:
| Etuletkunohjain (oikea) | 1 |
| Etuletkunohjain (vasen) | 1 |
Irrota kelamoottorit kuljetustuista.
Irrota kuljetustuet ja hävitä ne.
Ota leikkuuyksiköt pois pahvilaatikoista.
Kokoa ja säädä leikkuuyksikön käyttöoppaan ohjeiden mukaan.
Varmista, että vastapaino (Kuva 9) asennetaan leikkuuyksikön oikeaan päähän leikkuuyksikön käyttöoppaan ohjeiden mukaan.

Varmista, että nurmentasausjousi asennetaan samalle puolelle kuin kelamoottori jokaisessa leikkuuyksikössä. Vaihda jousen sijaintia seuraavasti:
Irrota kaksi lukkopulttia ja mutteria, joilla tangon kiinnike on kiinni leikkuuyksikön kielekkeissä (Kuva 10).

Irrota laippamutteri, jolla jousiputken pultti on kiinni kannattimen kielekkeessä (Kuva 10).
Irrota kokoonpano.
Asenna jousiputken pultti kannattimen vastakkaiseen kielekkeeseen ja kiinnitä laippamutterilla.
Note: Aseta pultin pää kielekkeen ulkoreunalle (Kuva 11).

Asenna tangon kiinnike leikkuuyksikön kielekkeisiin lukkopulteilla ja muttereilla (Kuva 11). Leikkuuyksikön kohdalla vasemmanpuoleinen letkunohjain on kiinnitettävä leikkuuyksikön kielekkeiden eteen tangon kiinnikkeen asennuksen yhteydessä (Kuva 13).
Important: Leikkuuyksiköissä 4 (edessä vasemmalla) ja 5 (edessä oikealla) letkunohjaimet on kiinnitettävä leikkuuyksikön kielekkeiden eteen tangon kiinnikkeen kiinnitysmuttereilla. Letkunohjainten on kallistuttava keskimmäistä leikkuuyksikköä kohti (Kuva 12 – Kuva 14).



Note: Leikkuuyksiköiden asennuksen ja irrotuksen yhteydessä on varmistettava, että sokka asennetaan jousitangon aukkoon, joka on tangon kiinnikkeen vieressä. Muussa tapauksessa sokka on asennettava tangon päässä olevaan aukkoon.
Lisää takaleikkuuyksiköiden ohjautuvuutta irrottamalla kaksi nivelen välikappaletta, kuusiokoloruuvia ja laippalukkomutteria (Kuva 15) takaleikkuuyksiköiden kannattimista (leikkuuyksiköt 2 ja 3). Katso kohta Kuva 12.

Laske kaikki nostovarret kokonaan.
Voitele kannattimen akseli puhtaalla rasvalla (Kuva 16).

Liu’uta etuleikkuuyksiköissä leikkuuyksikkö nostovarren alle ja työnnä samalla kannattimen akseli nostovarren tapin haarukkapäähän (Kuva 16).
Varmista, että painealuslaatta on paikallaan kannattimen akselissa.
Kiinnitä kannattimen akseli nostovarren haarukkapäähän rengassokalla (Kuva 16).
Lukitse (kiinnitä) leikkuuyksiköiden ohjaus kiinnittämällä tapin haarukkapää kannattimeen lukkotapilla (Kuva 17).

Note: Käytä kiinteää ohjausta rinteissä leikattaessa.
Toimi seuraavasti takaleikkuuyksiköissä, kun leikkuukorkeus on yli 1,9 cm.
Irrota lukitussokka ja aluslaatta, joilla nostovarren tappi on kiinni nostovarressa ja liu’uta nostovarren tappi irti nostovarresta (Kuva 18).

Työnnä nostovarren haarukkapää kannattimen akseliin (Kuva 16).
Työnnä nostovarren akseli nostovarteen ja kiinnitä se aluslaatalla ja lukitussokalla (Kuva 18).
Kiinnitä nostovarren ketju ketjukiinnikkeeseen lukkotapilla (Kuva 19).
Note: Käytä leikkuuyksikön käyttöoppaassa määritettyä määrää rengaslinkkejä.

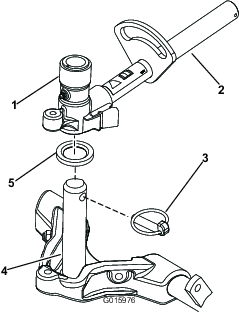
Päällystä kelamoottorin ura-akseli puhtaalla rasvalla.
Voitele kelamoottorin O-rengas ja asenna se moottorin laippaan.
Asenna moottori kiertämällä sitä myötäpäivään niin, että moottorin laipat eivät koske pultteihin (Kuva 20).

Kierrä moottoria vastapäivään, kunnes laipat ympäröivät pultit. Kiristä sitten pultit.
Important: Varmista, että kelamoottorin letkut eivät ole vääntyneet, mutkalla tai vaarassa joutua puristuksiin.
Nurmentasausjousi (Kuva 21) siirtää painoa eturullalta takarullalle. Näin voidaan vähentää aaltokuvioita nurmessa.
Important: Tee jousen säädöt leikkuuyksikön ollessa asennettuna ajoyksikköön ja laskettuna työpajan lattialle sekä sijoitettuna suoraan eteenpäin.
Varmista, että sokka on asennettuna tangon taimmaiseen aukkoon (Kuva 21).
Note: Siirrä sokka nurmentasausjousen vieressä olevaan tangon aukkoon leikkuuyksikköä huollettaessa.

Kiristä tangon etupään kuusiomuttereita, kunnes jousen pituus puristettuna on 15,9 cm. Katso Kuva 21.
Note: Vähennä jousen pituudesta 13 mm, jos konetta käytetään epätasaisessa maastossa. Maapinnan myötäily vähenee hieman.
Note: Nurmentasausasetus on määritettävä uudelleen, jos leikkuukorkeus- tai aggressiivisuusasetusta muutetaan.
Vaiheeseen tarvittavat osat:
| Leikkuuyksikön tukiteline | 1 |
Jos leikkuuyksikköä kallistetaan kiinteän terän tai kelan esiin saamiseksi, nosta leikkuuyksikön takaosa tukitelineen varaan siten, että runkopalkin säätöruuvien takaosan mutterit eivät nojaa työpintaan (Kuva 22).

Kiinnitä tukiteline ketjukiinnikkeeseen lukkotapilla (Kuva 23).

Kone on rasvattava ennen käyttöä oikeiden voiteluominaisuuksien varmistamiseksi. Katso kohta Voitelu. Koneen rasvauksen laiminlyönti saattaa vioittaa tärkeitä osia ennenaikaisesti.
Tarkista taka-akselin voiteluaineen määrä ennen moottorin ensimmäistä käynnistystä. Katso kohta Taka-akselin öljymäärän tarkistus.
Tarkista hydraulinesteen määrä ennen moottorin ensimmäistä käynnistystä. Katso kohta Hydraulijärjestelmän tarkastus.
Tarkista moottorin öljymäärä ennen moottorin ensimmäistä käynnistystä ja sen jälkeen. Katso kohta Moottoriöljyn määrän tarkistus.
Vaiheeseen tarvittavat osat:
| Mittapalkki | 1 |
Säädä leikkuuyksikköä käyttämällä mittapalkkia. Säätöohjeet ovat leikkuuyksikön käyttöoppaassa (Kuva 24).

Kahdella polkimella (Kuva 25) käytetään erillisiä pyöräjarruja. Niiden avulla voidaan helpottaa kääntymistä ja parantaa rinteensuuntaista pitoa.
Polkimen lukitussalpa (Kuva 25) yhdistää polkimet seisontajarrun kytkemistä varten.
Kun haluat kytkeä seisontajarrun (Kuva 25), yhdistä polkimet toisiinsa polkimen lukitussalvalla, kytke varvaspoljin ja paina oikea jarrupoljin alas. Kun haluat vapauttaa seisontajarrun, paina yhtä jarrupoljinta, kunnes seisontajarrun salpa palautuu.

Ajopoljin (Kuva 25) ohjaa käyttöä eteen- ja taaksepäin. Polkimen yläosaa painamalla kone liikkuu eteenpäin ja polkimen alaosaa painamalla taaksepäin. Ajonopeus määräytyy sen mukaan, kuinka pitkälle poljinta painetaan. Jos haluat maksiminopeuden, säädä kaasu NOPEA-asentoon ja paina poljin pohjaan.
Kun haluat pysäyttää koneen, nosta jalkaa ajopolkimelta ja anna polkimen palautua keskiasentoon.
Kun haluat kallistaa ohjauspyörää itseesi päin, paina poljinta (Kuva 25) alas ja vedä ohjauspyörää itseäsi kohti miellyttävimpään asentoon. Vapauta sitten poljin.
Kun leikkuunopeuden rajoitin (Kuva 26) on nostettuna ylös, se rajoittaa leikkuunopeutta ja mahdollistaa leikkuuyksiköiden kytkemisen. Jokainen välikappale säätää leikkuunopeutta 0,8 km/h. Mitä enemmän välikappaleita pultin päällä on, sitä hitaammin kone liikkuu. Vedä leikkuunopeuden rajoitin takaisin alas kuljetusta varten, niin kuljetusnopeus on suurin mahdollinen.
Ruuveja säätämällä (Kuva 26) rajoitetaan sitä, kuinka syvälle ajopoljinta voidaan painaa eteenpäin tai taaksepäin.
Important: Nopeudenrajoitusruuvin on pysäytettävä ajopoljin ennen kuin pumppu saavuttaa täyden iskun pituuden. Muutoin pumppu voi vaurioitua.

Tällä vivulla (Kuva 27) nostetaan ja lasketaan leikkuuyksikköjä. Sillä myös käynnistetään ja pysäytetään kelat, kun kelat ovat käytössä ja leikkuutilassa. Leikkuuyksiköitä ei voida laskea, kun leikkuunohjaus-/kuljetusvipu on kuljetusasennossa.
Avainkytkimessä (Kuva 27) on kolme asentoa: PYSäYTYS, KäYNNISSä/ESILäMMITYS ja KäYNNISTYS.
Tietokeskuksen LCD-näytössä on muun muassa tietoja koneen käyttötilasta, vianmääritystietoja ja muita tietoja (Kuva 27).
Voimanulosoton kytkimellä (Kuva 27) on kaksi asentoa: KäYNNISTYS ja PYSäYTYS. Kytke leikkuuyksikön terät painamalla voimanulosoton painiketta eteenpäin. Vapauta leikkuuyksikön terät painamalla painiketta taaksepäin.

Työnnä moottorin nopeuskytkintä (Kuva 27) eteenpäin, kun haluat lisätä nopeutta, ja vähennä nopeutta vetämällä kytkintä taaksepäin.
Sytytä ajovalot kääntämällä kytkintä alaspäin (Kuva 27).
12 voltin jännitteellä toimivat sähkökäyttöiset lisävarusteet saavat virtaa pistorasiasta (Kuva 28).

Käytä pussin pidikettä säilytykseen (Kuva 29).

Läpätä kelat läppäysvivuilla (Kuva 30).

Siirrä istuinta pitkittäissuunnassa vetämällä vivusta (Kuva 31).
Säädä istuimen käsinojan kulmaa kiertämällä nuppia (Kuva 31).
Säädä istuimen selkänojan kulmaa siirtämällä vipua (Kuva 31).
Painomittari näyttää, kun istuin on säädetty käyttäjän painon mukaan (Kuva 31). Korkeutta voi säätää sijoittamalla jousituksen vihreällä merkitylle alueelle.

Säädä istuin käyttäjän painon mukaan (Kuva 31). Voit nostaa ilmanpainetta vetämällä vipua ylös ja laskea painetta painamalla vipua alas. Säätö on oikea, kun painomittari on vihreällä alueella.
Tietokeskuksen LCD-näytössä on muun muassa tietoja koneen käyttötilasta, vianmääritystietoja ja muita tietoja (Kuva 32). Tietokeskuksessa on odotusnäyttö ja päätietonäyttö. Odotusnäytön ja päätietonäytön välillä voidaan siirtyä milloin tahansa painamalla jotakin tietokeskuksen painiketta ja valitsemalla sitten sopiva nuolen suunta.

Vasenta painiketta, valikon käyttöpainiketta / takaisin-painiketta painamalla voi käyttää tietokeskuksen valikoita. Sen avulla voidaan myös siirtyä taaksepäin valikoissa.
Keskimmäisellä painikkeella voi selata valikoita alaspäin.
Oikealla painikkeella voi avata lisätietoja sisältävän valikon, jos oikealle osoittava nuoli on näkyvissä.
Manuaalinen taaksepäinpuhallus aktivoidaan painamalla vasenta ja oikeaa painiketta samanaikaisesti.
Äänimerkki kuuluu, kun leikkuupöytiä lasketaan, näytössä on ilmoituksia tai koneessa on vika.
Note: Kunkin painikkeen käynnistämä toiminto vaihtelee tilanteen mukaan. Jokaisessa painikkeessa näkyy kuvake, joka ilmaisee painikkeen sillä hetkellä käytössä olevan toiminnon.
| SERVICE DUE | Ilmoittaa, milloin on tehtävä määräaikaishuolto. |
![]() | Jäljellä oleva aika ennen huoltoa |
![]() | Nollaa huoltoaika ![]() |
![]() | Tietokuvake |
![]() | Tuntilaskuri |
![]() | Nopea |
![]() | Hidas |
![]() | Taaksepäinpuhallus ilmaisee, milloin puhallin puhaltaa taaksepäin. |
![]() | Ilmanoton lämmitin käytössä |
![]() | Nosta leikkuuyksiköt |
![]() | Laske leikkuuyksiköt |
![]() | Kuljettajan on oltava istuimella. |
![]() | Seisontajarrun ilmaisin kertoo, onko seisontajarru käytössä. |
![]() | Käytössä ylempi nopeusalue |
![]() | Vapaa |
![]() | Käytössä alempi nopeusalue |
![]() | Jäähdytysnesteen lämpötila osoittaa moottorin jäähdytysnesteen lämpötilan joko celsius- tai fahrenheitasteina. |
![]() | Lämpötila (kuuma) |
![]() | Estetty tai kielletty |
![]() | Voimanulosotto on kytkettynä |
![]() | Moottorin käynnistys |
![]() | Pysäytys tai sammutus |
![]() | Moottori |
![]() | Avainkytkin |
![]() | Leikkuuyksiköitä lasketaan |
![]() | Leikkuuyksiköitä nostetaan |
![]() | PIN-käyttökoodi |
![]() | Hydraulinesteen lämpötilan ilmaisin |
![]() | CAN-väylä |
![]() | Tietokeskus |
![]() | Viallinen tai epäonnistunut |
![]() | Polttimo |
![]() | TEC-ohjaimen tai johdinsarjan ohjaimen lähtöliitäntä |
![]() | Korkea: yli sallitun alueen |
![]() | Matala: alle sallitun alueen |
/![]() | Alueen ulkopuolella |
![]() | Kytkin |
![]() | Kuljettajan on vapautettava kytkin. |
![]() | Kuljettajan on vaihdettava ilmoitettuun tilaan. |
| Symboleja käytetään usein yhdistelminä, jolloin ne muodostavat lauseita. Alla on joitakin esimerkkejä. | |
![]() | Vaihda kone vapaalle. |
![]() | Moottoria ei voida käynnistää. |
![]() | Moottori sammutetaan. |
![]() | Moottorin jäähdytysneste on liian kuumaa. |
![]() | Hydrauliöljy on liian kuumaa. |
![]() | Istuudu istuimelle tai kytke seisontajarru. |
Pääsy
vain PIN-koodilla
Avaa tietokeskuksen valikko painamalla päänäytössä valikkopainiketta. Esiin tulee päävalikko. Valikkojen toiminnot on merkitty lyhyesti seuraaviin taulukoihin:
| Päävalikko | |
| Valikon kohta | Kuvaus |
| Viat | Viat-valikossa on lueteltu koneen viimeaikaiset viat. Lisätietoja Viat-valikosta ja sen sisältämistä tiedoista saa huolto-oppaasta tai valtuutetulta Toro-jälleenmyyjältä. |
| Huolto | Huolto-valikossa on koneeseen liittyviä tietoja, kuten käyttötunnit ja muita vastaavia lukuja. |
| Diagnostiikka | Diagnostiikka-valikossa näkyy koneen kaikkien kytkinten, antureiden ja ohjainten ulostulojen tila. Sitä voi käyttää joidenkin ongelmien vianmääritykseen, koska siitä näkee, mitkä koneen ohjaimet ovat käytössä tai pois käytöstä. |
| Asetukset | Asetukset-valikossa voi muokata tietokeskuksen näyttöasetusten muuttujia. |
| Tietoja | Tietoja-valikossa on mainittu koneen mallinumero, sarjanumero ja ohjelmiston versio. |
| Huolto | |
| Valikon kohta | Kuvaus |
| Hours (tunnit) | Tuntivalikko näyttää kokonaisajan, jonka kone, moottori ja voimanulosotto ovat olleet käytössä, sekä ajan, jonka verran konetta on kuljetettu ja milloin se on huollettava. |
| Counts (Lukemat) | Lukemavalikko näyttää koneen laskennat. |
| Vianmääritys | |
| Valikon kohta | Kuvaus |
| Cutting Units | Osoittaa leikkuuyksiköiden nostamisessa ja laskemisessa käytetyt tulot ja lähdöt sekä määritykset |
| Hi/Low Range | Osoittaa kuljetustilan aikana ajettaessa käytössä olevat tulot ja lähdöt sekä määritykset |
| Voimanulosotto (PTO) | Osoittaa voimanulosoton käytön mahdollistavat tulot ja lähdöt sekä määritykset |
| Engine Run (moottorin käynti) | Osoittaa moottorin käynnistyksen aikana käytössä olevat tulot ja lähdöt sekä määritykset |
| Backlap (Läppäys) | Osoittaa läppäyksen käyttöön liittyvät tulot, määritykset ja lähdöt |
| Asetukset | |
| Valikon kohta | Kuvaus |
| Yksiköt | Kontrolloi tietokeskuksen yksiköitä. Valikon vaihtoehdot ovat Englantilainen (brittiläiset mitat) tai Metrinen (metrijärjestelmä). |
| Kieli | Tietokeskuksessa käyttävien kielten hallinta* |
| Taustavalo | LCD-näytön kirkkauden säätö |
| Kontrasti | LCD-näytön kontrastin säätö |
| Etuläppäyksen kelanopeus | Säätää etukelojen nopeutta läppäystilassa |
| Takaläppäyksen kelanopeus | Säätää takakelojen nopeutta läppäystilassa |
| Suojatut valikot | Jälleenmyyjä/mekaanikko pääsee suojattuihin valikkoihin syöttämällä käyttökoodin |
Automaattinen joutokäynti ![]() | Säätelee aikaa, jonka jälkeen liikkumaton kone siirtyy joutokäyntitilaan |
Terien määrä ![]() | Säätää kelanopeuteen vaikuttavaa kelaterien määrää |
Leikkuunopeus ![]() | Säätää kelanopeuden määrittämisessä käytettävää ajonopeutta |
Leikkuukorkeus ![]() | Valvoo leikkuukorkeutta kelanopeuden määrittämiseksi |
E kelan Å ![]() | Näyttää etukelojen lasketun nopeusasennon. Keloja voidaan säätää myös manuaalisesti |
T kelan Å ![]() | Näyttää takakelojen lasketun nopeusasennon. Keloja voidaan säätää myös manuaalisesti |
* Vain kuljettajalle tarkoitetut tekstit on käännetty. Viat-, Huolto- ja Diagnostiikka-näytöt on tarkoitettu huoltohenkilöstölle. Otsikot on käännetty valitulle kielelle, mutta valikkovaihtoehdot ovat englanniksi.
Suojatussa
valikossa – pääsy vain PIN-koodilla
| Tietoja | |
| Valikon kohta | Kuvaus |
| Malli | Näyttää koneen mallinumeron |
| SN | Näyttää koneen sarjanumeron |
| Koneen ohjainversio | Näyttää pääohjaimen ohjelmiston version |
| Tietokeskuksen versio | Näyttää tietokeskuksen ohjelmiston version |
| CAN-väylä | Näyttää koneen tietoliikenneväylän tilan |
Tietokeskuksen asetusvalikossa on viisi käyttökokoonpanoasetusta, joita voidaan säätää. Näitä ovat terien määrä, leikkuunopeus, leikkuukorkeus, E kelan kierr. ja T kelan kierr. Nämä asetukset voidaan lukita suojatussa valikossa.
Note: Jälleenmyyjä ohjelmoi alkuperäisen käyttökoodin toimitushetkellä.
päävalikosta etsimällä Asetukset-valikon ja painamalla oikeaa painiketta.
Asetukset-valikosta etsimällä suojatun valikon ja painamalla oikeaa painiketta.
Käyttökoodi annetaan painamalla keskimmäistä painiketta, antamalla ensimmäinen numero ja painamalla sitten oikeaa painiketta toiseen numeroon siirtymiseksi.
Anna toinen numero keskimmäistä painiketta painamalla ja siirry sitten seuraavaan numeroon painamalla oikeaa painiketta.
Anna kolmas numero keskimmäistä painiketta painamalla ja siirry sitten seuraavaan numeroon painamalla oikeaa painiketta.
Anna neljäs numero keskimmäistä painiketta painamalla ja paina sitten oikeaa painiketta.
Vahvista koodi painamalla keskimmäistä painiketta.
Jos koodi on hyväksytty ja suojattu valikko on ”Unlocked” (lukitsematon), näytön oikeassa yläkulmassa näkyy sana ”PIN”.
Suojatun valikon asetusten tarkastelu- ja muutosmahdollisuuksia voi muuttaa. Kun olet siirtynyt suojattuun valikkoon, etsi kohta Suojaa asetukset. Asetusten suojaus voidaan poistaa oikealla painikkeella. Tällöin asetuksia voidaan tarkastella ja muuttaa suojatussa valikossa ilman käyttökoodia. Jos asetusten suojaus on käytössä, suojatut vaihtoehdot eivät ole näkyvissä ja niiden vaihto suojatussa valikossa edellyttää käyttökoodia. Kun käyttökoodi on asetettu, toiminto otetaan käyttöön ja tallennetaan kytkemällä virtalukko pois päältä ja takaisin päälle.
Note: Jos käyttökoodi on unohtunut tai hukkunut, pyydä apua jälleenmyyjältä.
Siirry Asetukset-valikon kohtaan Automaattinen joutokäynti.
Vaihda oikeaa painiketta painamalla automaattisen joutokäynnin asetukseksi Pois, 8S, 10S, 15S, 20S tai 30S.
Siirry Asetukset-valikon kohtaan Terien määrä.
Vaihda koneeseen 5-, 8- tai 11-lehtinen kela painamalla oikeaa painiketta.
Siirry Asetukset-valikon kohtaan Leikkuunopeus.
Valitse leikkuunopeus painamalla oikeaa painiketta.
Valitse ajopolkimen mekaaniseen leikkuukorkeuden rajoittimeen asetettava leikkuunopeus keskimmäisellä ja oikealla painikkeella.
Poistu leikkuunopeuden asetuksesta ja tallenna se painamalla vasenta painiketta.
Siirry Asetukset-valikon kohtaan Leikkuukorkeus (HOC).
Valitse leikkuukorkeus painamalla oikeaa painiketta.
Valitse sopiva leikkuukorkeusasetus keskimmäisellä ja oikeanpuoleisella painikkeella.
Note: Jos näytössä ei ole täsmälleen sopivaa asetusta, valitse näytössä olevasta luettelosta lähin sopiva leikkuukorkeusasetus.
Poistu asetuksesta ja tallenna se painamalla vasenta painiketta.
Vaikka tietokeskus laskee etu- ja takakelojen nopeudet automaattisesti terien määrän, leikkuunopeuden ja leikkuukorkeuden avulla, asetusta voidaan muuttaa käsin erilaisiin leikkuuolosuhteisiin sopivaksi.
Siirry valikon kohtaan E kelan kierr., T kelan kierr. tai molempiin.
Muuta kelanopeutta painamalla oikeaa painiketta. Kun nopeusasetus muuttuu, näytössä näkyy edelleen aiemmin annettuihin terien määrään, leikkuunopeuteen ja leikkuukorkeuteen perustuva kelanopeus, mutta siinä näkyy myös uusi nopeus.
Note: Ominaisuuksia ja rakennetta voidaan muuttaa ilmoittamatta.
| Leikkuuleveys, 69 cm:n leikkuuyksiköt | 307 cm |
| Leikkuuleveys, 81 cm:n leikkuuyksiköt | 320 cm |
| Kokonaisleveys, 69 cm:n leikkuuyksiköt alhaalla | 345 cm |
| Kokonaisleveys, 81 cm:n leikkuuyksiköt alhaalla | 358 cm |
| Kokonaisleveys, leikkuuyksiköt ylhäällä (kuljetus) | 239 cm |
| Kokonaispituus | 370 cm |
| Korkeus kaatumissuojausjärjestelmä mukaan luettuna | 220 cm |
| Pyöräväli edessä | 229 cm |
| Pyöräväli, takana | 141 cm |
| Akseliväli | 171 cm |
| Nettopaino (ilman leikkuuyksiköitä tai nesteitä) | 1 574 kg |
Koneeseen on saatavana valikoima Toron hyväksymiä lisälaitteita ja -varusteita, joiden avulla voidaan parantaa ja laajentaa sen ominaisuuksia. Ota yhteys valtuutettuun huoltoliikkeeseen tai valtuutettuun Toro-jälleenmyyjään tai siirry osoitteeseen www.Toro.com, jossa on luettelo hyväksytyistä lisälaitteista ja -varusteista.
Käytä vain aitoja Toro-varaosia ja -lisävarusteita, jotta kone toimisi parhaalla mahdollisella tavalla ja sen turvasertifiointi pysyisi voimassa. Muiden valmistajien varaosat ja lisävarusteet voivat osoittautua vaarallisiksi, ja niiden käyttö voi johtaa tuotteen takuun raukeamiseen.
Note: Koneen vasen ja oikea puoli määritellään normaalista käyttöasennosta käsin.
Älä anna lasten tai kouluttamattomien henkilöiden käyttää tai huoltaa laitetta. Paikalliset säännökset saattavat asettaa rajoituksia käyttäjän iälle. Omistaja vastaa käyttäjien ja mekaanikkojen koulutuksesta.
Tutustu laitteen turvallisen käytön ohjeisiin, ohjauslaitteisiin ja turvamerkintöihin.
Selvitä, kuinka koneen saa pysäytettyä ja moottorin sammutettua nopeasti.
Tarkista, että käyttäjän pitokytkimet, turvakytkimet ja suojalevyt ovat paikoillaan ja toimivat oikein. Älä käytä konetta, mikäli ne eivät toimi kunnolla.
Tarkasta aina ennen leikkaamista, että leikkuukokoonpanot ovat hyvässä käyttökunnossa.
Tarkasta koneen käyttöalue ja poista siltä kaikki esineet, joita kone voi singota.
Käsittele polttoainetta erittäin varovasti. Se on tulenarkaa, ja höyryt räjähtävät herkästi.
Sammuta savukkeet, sikarit, piiput ja muut sytytyslähteet.
Käytä vain hyväksyttyä polttoaineastiaa.
Älä irrota polttoainesäiliön korkkia tai täytä polttoainesäiliötä moottorin ollessa käynnissä tai kuuma.
Älä lisää tai tyhjennä polttoainetta suljetussa tilassa.
Älä säilytä konetta tai polttoainesäiliötä tilassa, jossa on avotuli, kipinöitä tai varmistusliekki (esimerkiksi vedenlämmitin tai muu vastaava laite).
Jos polttoainetta roiskuu, älä yritä käynnistää moottoria. Vältä luomasta minkäänlaisia kipinälähteitä, ennen kuin polttoainehöyryt ovat hälvenneet.
83 litraa
Seuraavien varoitusten laiminlyönti saattaa vaurioittaa moottoria.
Dieselpolttoaineen sijasta ei saa käyttää paloöljyä tai bensiiniä.
Dieselpolttoaineeseen ei saa sekoittaa paloöljyä tai käytettyä moottoriöljyä.
Polttoainetta ei sää säilyttää säiliöissä, joiden sisäpinta on sinkitty.
Polttoaineen lisäaineita ei saa käyttää.
Käytä vain puhdasta, tuoretta dieselpolttoainetta tai biodieseliä, jonka rikkipitoisuus on alhainen (<500 ppm) tai erittäin alhainen (<15 ppm). Setaaniluvun on oltava vähintään 40. Jotta polttoaine olisi tuoretta, osta sitä vain 180 päivän tarpeeseen.
Käytä kesälaatuista dieselpolttoainetta (nro 2-D) yli –7 °C:n lämpötiloissa ja talvilaatuista dieselpolttoainetta (nro 1-D tai nro 1-D/2-D-seosta) alle –7 °C:n lämpötiloissa. Talvilaatuisen polttoaineen leimahduspiste on alhaisempi, ja sen kylmävirtausominaisuudet helpottavat käynnistystä ja vähentävät polttoainesuodattimen tukkeutumista.
Kesälaatuisen polttoaineen käyttö lämpötilan ollessa yli –7 °C pidentää polttoainepumpun käyttöikää ja antaa talvilaatuista polttoainetta enemmän tehoa.
Tässä laitteessa voidaan käyttää myös polttoaineseosta, jossa on enintään 20 % biodieseliä (B20). Seoksen petrodieselosuuden rikkipitoisuuden on oltava alhainen tai erittäin alhainen. Noudata seuraavia varo-ohjeita:
Biodieselpolttoaineen tiedot: ASTM D6751 tai EN 14214
Polttoaineseoksen tiedot: ASTM D975 tai EN 590
Noudata seuraavia varo-ohjeita:
Biodieselseokset voivat vahingoittaa maalattuja pintoja.
Käytä kylmällä säällä korkeintaan B5-seosta (biodieselpitoisuus 5 %).
Tarkkaile polttoaineen kanssa kosketuksiin joutuvia tiivisteitä ja letkuja, sillä ne voivat haurastua ajan mittaan.
Koneen polttoainesuodattimeen voi muodostua tukoksia jonkin aikaa biodieselseosten käytön aloittamisen jälkeen.
Lisätietoja biodieselistä saa valtuutetulta Toro-jälleenmyyjältä.
Pysäköi kone tasaiselle alustalle, laske leikkuuyksiköt, sammuta moottori ja irrota virta-avain.
Puhdista polttoainesäiliön korkin ympäristö puhtaalla liinalla.
Irrota polttoainesäiliön korkki (Kuva 33).

Lisää polttoainetta polttoainesäiliöön, kunnes pinta on täyttökaulan alareunan tasalla.
Aseta polttoainesäiliön korkki tiukasti paikalleen, kun olet täyttänyt säiliön.
Note: Täytä polttoainesäiliö aina käytön jälkeen, jos mahdollista. Tämä estää kosteutta tiivistymästä polttoainesäiliön sisälle.
Ennen kuin käynnistät moottorin ja käytät konetta, tarkasta hydraulijärjestelmä. Katso kohta Hydraulinesteen määrän tarkistus.
| Huoltoväli | Huoltotoimenpide |
|---|---|
| Aina ennen käyttöä tai päivittäin |
|
Moottori toimitetaan kampikammio öljyllä täytettynä, mutta öljymäärä on kuitenkin tarkistettava ennen moottorin ensimmäistä käynnistystä ja sen jälkeen.
Kampikammion ja suodattimen yhteistilavuus on noin 9,5 litraa.
Käytä seuraavien määritysten mukaista korkealaatuista moottoriöljyä:
Vaadittu API-luokitus: CH-4, CI-4 tai korkeampi
Suositus: SAE 15W-40: yli –18 °C
Vaihtoehto: SAE 10W-30 tai 5W-30 (kaikki lämpötilat)
Note: Toro Premium -moottoriöljyä on saatavana jälleenmyyjältä (viskositeetti 15W-40 tai 10W-30). Katso näiden osien osanumerot osaluettelosta.
Note: Paras aika tarkistaa moottoriöljy on moottorin ollessa viileä ennen päivän ensimmäistä käynnistystä. Jos moottori on ollut käynnissä, anna öljyn valua takaisin öljypohjaan ainakin 10 minuutin ajan ennen tarkistusta. Jos öljyn taso on mittatikun Add-merkinnän kohdalla tai sen alapuolella, lisää öljyä mittatikun Full-merkintään saakka. Älä täytä moottoria liian täyteen. Jos öljyn pinta on mittatikun Full- ja Add-merkintöjen välissä, öljyä ei tarvitse lisätä.
Pysäköi kone tasaiselle alustalle.
Vapauta konepellin salvat ja avaa konepelti (Kuva 34).

Poista mittatikku, pyyhi puhtaaksi, työnnä takaisin ja vedä uudestaan ulos.
Öljyn pinnan on oltava oikealla alueella (Kuva 35).

Jos öljyn pinta jää oikean alueen alle, irrota täyttöaukon korkki (Kuva 36) ja lisää öljyä, kunnes pinta yltää Full-merkkiin saakka.
Important: Älä täytä moottoria liian täyteen.

Note: Kun käytät eri öljyä, tyhjennä kaikki vanha öljy kampikammiosta ennen uuden öljyn lisäämistä.
Asenna öljyntäyttökorkki ja työnnä mittatikku paikoilleen.
Sulje konepelti ja salpaa se kiinni.
| Huoltoväli | Huoltotoimenpide |
|---|---|
| Aina ennen käyttöä tai päivittäin |
|
Tarkista jäähdytysnesteen määrä jokaisen työpäivän alussa. Järjestelmän tilavuus on 12,3 litraa.
Irrota jäähdyttimen korkki varovasti.
Jos moottori on juuri sammutettu, kuuma, paineenalainen jäähdytysneste saattaa roiskua ja aiheuttaa palovammoja.
Älä aukaise jäähdyttimen korkkia moottorin käydessä.
Käytä korkkia käsitellessäsi liinaa ja aukaise korkki hitaasti, jotta paine pääsee pois.

Tarkista jäähdyttimen jäähdytysnesteen määrä.
Note: Jäähdytysnestettä on oltava täyttökaulan yläreunaan saakka ja paisuntasäiliön Full-merkkiin saakka (Kuva 37).
Jos jäähdytysnestettä on liian vähän, lisää veden ja etyleeniglykolipakkasnesteen seosta (seossuhde 50/50).
Note: Älä käytä pelkkää vettä tai alkoholi-/metanolipohjaista jäähdytysnestettä.
Asenna jäähdyttimen korkki ja paisuntasäiliön korkki.
| Huoltoväli | Huoltotoimenpide |
|---|---|
| Aina ennen käyttöä tai päivittäin |
|
Renkaat on ylitäytetty kuljetusta varten. Vapauta siksi renkaista hieman ilmaa, jotta paine laskee. Renkaiden oikea ilmanpaine on 0,83–1,03 bar. Tarkista rengaspaine päivittäin.
Important: Pidä rengaspaineet suositelluissa rajoissa, jotta leikkuujäljen laatu pysyy hyvänä ja kone toimii oikein. Älä käytä liian alhaisia rengaspaineita.
Omistaja ja käyttäjä voivat estää loukkaantumisia tai omaisuusvahinkoja aiheuttavat tapaturmat ja ovat siksi vastuussa niistä.
Pukeudu asianmukaisesti. Käytä silmäsuojaimia, tukevia liukastumisen estäviä kenkiä, pitkiä housuja ja kuulosuojaimia. Pitkät hiukset eivät saa roikkua vapaina. Älä käytä riippuvia koruja.
Älä käytä konetta sairaana, väsyneenä tai alkoholin tai huumaavien aineiden vaikutuksen alaisena.
Älä kuljeta matkustajia koneessa ja pidä sivulliset ja lemmikit poissa koneen luota käytön aikana.
Käytä konetta vain, kun näkyvyys on hyvä, jotta vältät kuopat ja piilevät vaarat.
Vältä märän ruohon leikkuuta. Heikentynyt pito voi aiheuttaa koneen luisumisen.
Varmista ennen moottorin käynnistämistä, että kaikki käytöt ovat vapaalla ja että seisontajarru on kytketty. Käynnistä moottori ollessasi käyttäjän paikalla.
Pidä kädet ja jalat etäällä leikkuuyksiköistä. Pysy aina etäällä heittoaukosta.
Varmista ennen peruuttamista, että reitti on vapaa, katsomalla taakse ja alas.
Ole varovainen lähestyessäsi kulmia, joissa on huono näkyvyys, pensaita, puita tai muita näköesteitä.
Älä leikkaa ruohoa pudotusten, ojien tai vallien lähettyvillä. Kone voi kaatua yllättäen, jos pyörä menee reunan yli tai jos reuna sortuu.
Pysäytä leikkuuyksiköt aina, kun et leikkaa ruohoa.
Pysäytä kone, sammuta moottori, irrota virta-avain ja tarkasta leikkuuyksiköt, jos kone osuu esteeseen tai tärisee epätavallisesti. Suorita tarvittavat korjaukset ennen koneen käytön jatkamista.
Hidasta ja ole varovainen kääntyessäsi koneella ja ylittäessäsi teitä ja jalkakäytäviä. Anna muille aina etuajo-oikeus.
Kytke leikkuuyksikön käyttö pois ja sammuta moottori ennen leikkuukorkeuden säätämistä (ellei sitä voi säätää käyttäjän paikalta).
Älä koskaan käytä moottoria tilassa, johon voi kertyä pakokaasuja.
Älä jätä käynnissä olevaa konetta ilman valvontaa.
Ennen käyttäjän paikalta poistumista (mukaan lukien ruohonkeräimien puhdistus tai suppilon tukoksen poistaminen):
Pysäköi kone tasaiselle maalle.
Vapauta voimanulosotto ja laske lisälaitteet alas.
Kytke seisontajarru.
Sammuta moottori ja irrota virta-avain.
Odota, kunnes kaikki liikkuvat osat ovat pysähtyneet.
Älä käytä konetta ukonilman aikana.
Älä käytä konetta hinaukseen.
Käytä vain Toro® Companyn hyväksymiä lisälaitteita, varusteita ja varaosia.
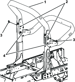
Älä irrota kaatumissuojausjärjestelmää koneesta.
Varmista, että turvavyö on kiinnitetty ja nopeasti avattavissa hätätilanteessa.
Tarkista vapaa alikulkukorkeus ja varo osumasta esteisiin.
Pidä kaatumissuojausjärjestelmä turvallisessa käyttökunnossa tarkistamalla se vaurioiden varalta säännöllisesti ja pitämällä kaikki kiinnittimet tiukalla.
Vaihda vaurioitunut kaatumissuojausjärjestelmä. Älä korjaa tai muuta sitä.
Käytä aina turvavyötä, kun turvakaari on nostettuna.
Kaatumissuojausjärjestelmä on keskeinen turvalaite. Taittuva turvakaari on pidettävä nostettuna ja lukitussa asennossa ja turvavyötä on käytettävä koneen käytön aikana, kun turvakaari on yläasennossa.
Laske taittuva turvakaari väliaikaisesti vain silloin, kun se on välttämätöntä. Älä käytä turvavyötä, kun turvakaari on alhaalla.
Huomaa, että kaatumissuojausta ei ole, kun taittuva turvakaari on alhaalla.
Tutki leikattava alue, äläkä koskaan taita taittuvaa turvakaarta alas alueilla, joilla on rinteitä, pudotuksia tai vettä.
Rinteissä on huomattava koneen hallinnan menettämisen ja kaatumisen vaara. Tällaiset onnettomuudet voivat aiheuttaa vakavan tapaturman tai kuoleman. Käyttäjä on vastuussa turvallisesta käytöstä rinteissä. Koneen käyttö rinteissä edellyttää erityistä huolellisuutta.
Käyttäjän on arvioitava leikkuupaikan olosuhteet ja tarkastettava käyttöpaikka ja määritettävä niiden perusteella, onko rinne turvallinen koneen käyttöön. Tämä tarkastus on tehtävä huolellisesti ja harkiten.
Tutustu seuraaviin ohjeisiin koneen käytöstä rinteissä, tarkasta koneen käyttöolosuhteet ja määritä niiden perusteella, voidaanko konetta käyttää kyseisellä paikalla ja vallitsevissa olosuhteissa. Maaston muutokset voivat vaikuttaa koneen käyttöön rinteissä.
Vältä koneen käynnistämistä, pysäyttämistä tai kääntämistä rinteissä. Vältä nopeuden tai suunnan äkillistä muuttamista. Käänny hitaasti ja vähän kerrallaan.
Älä käytä konetta olosuhteissa, joissa pito, ohjaus tai vakaus ovat kyseenalaisia.
Poista tai merkitse esteet, kuten ojat, kuopat, urat, töyssyt, kivet tai muut piilevät vaarat. Korkea ruoho voi peittää esteet. Maaston epätasaisuudet voivat kaataa koneen.
Huomaa, että koneen käyttö märässä ruohossa, poikittain rinteissä tai alamäessä saattaa johtaa koneen pidon menettämiseen. Pidon menetys vetopyörissä saattaa aiheuttaa luisumisen ja jarrujen ja ohjauksen hallinnan menetyksen.
Käytä konetta erityisen varovasti pudotusten, ojien, vallien, vesiesteiden tai muiden vaarojen lähellä. Kone voi kaatua yllättäen, jos pyörä menee reunan yli tai jos reuna sortuu. Määritä suoja-alue koneen ja mahdollisen vaaran välille.
Tunnista vaarat rinteen juurella. Jos vaaroja on, leikkaa rinne kävellen ohjattavalla ruohonleikkurilla.
Jos mahdollista, pidä leikkuuyksiköt laskettuina alas rinteissä käytön aikana. Leikkuuyksiköiden nostaminen rinteissä käytön aikana voi heikentää koneen vakautta.
Ole erittäin varovainen käyttäessäsi ruohonkeräysjärjestelmiä tai muita lisälaitteita. Ne voivat vaikuttaa koneen vakauteen ja aiheuttaa hallinnan menetyksen.
Important: Polttoainejärjestelmä voi olla tarpeen ilmata seuraavien tilanteiden yhteydessä:
Moottori on pysähtynyt polttoaineen loppumisen vuoksi.
Polttoainejärjestelmää on huollettu.
Nosta jalka ajopolkimelta ja varmista, että poljin on VAPAA-asennossa.
Note: Tarkista, että seisontajarru on kytkettynä.
Siirrä moottorin nopeuskytkin ALHAISEN JOUTOKäYNNIN asentoon.
Käännä virta-avain KäYNNISSä-asentoon.
Note: Hehkutulppien merkkivalo syttyy.
Kun hehkutulppien merkkivalo sammuu, käännä virta-avain KäYNNISTYS-asentoon.
Vapauta virta-avain heti moottorin käynnistyttyä ja anna sen palata KäYNNISSä-asentoon.
Säädä moottorin käyntinopeutta.
Important: Älä käytä käynnistysmoottoria yli 15 sekuntia yhdellä kertaa, koska se voi vaurioitua. Jos moottori ei käynnisty 15 sekunnin kuluessa, käännä virta-avain PYSäYTYS-asentoon, tarkista ohjauslaitteet ja toimenpiteet, odota 15 sekuntia ja yritä käynnistää uudelleen.
Kun lämpötila on alle –7 °C, käynnistysmoottoria voidaan käyttää 30 sekuntia, mutta sen jälkeen on pidettävä 60 sekunnin tauko. Käynnistystä voidaan yrittää kaksi kertaa.
Kosketus liikkuviin osiin voi aiheuttaa loukkaantumisen.
Sammuta moottori ja odota, että kaikki liikkuvat osat ovat pysähtyneet, ennen kuin tarkastat koneen öljyvuotojen, irtonaisten osien tai muiden vikojen varalta.
Important: Kun konetta on käytetty täydellä kuormalla, anna moottorin käydä joutokäynnillä viisi minuuttia, ennen kuin sammutat sen. Näin turboahdin ehtii jäähtyä ennen moottorin sammuttamista. Muutoin turboahtimeen voi tulla vikoja.
Note: Laske leikkuuyksiköt maahan, kun pysäköit koneen. Tämä vähentää hydraulijärjestelmän kuormitusta, ehkäisee järjestelmän osien kulumista ja estää myös leikkuuyksiköiden laskemisen vahingossa.
Palauta moottori alhaiselle joutokäyntinopeudelle.
Siirrä voimanulosoton kytkin POIS-asentoon.
Kytke seisontajarru.
Käännä virta-avain PYSäYTYS-asentoon.
Irrota avain virtalukosta, jotta moottori ei käynnisty vahingossa.
Takaleikkuuyksikön nostovarsien vastapainoa voidaan säätää erilaisia nurmiolosuhteita varten ja yhtenäisen leikkuukorkeuden saavuttamiseksi epätasaisissa olosuhteissa tai alueilla, joille on kertynyt olkia.
Kukin vastapainon jousi voidaan säätää johonkin neljästä asennosta. Kukin asento lisää tai vähentää leikkuuyksikköön kohdistuvaa vastapainoa 2,3 kg. Jouset voidaan asettaa ensimmäisen jousiohjaimen takaosaan kaiken vastapainon poistamiseksi (neljäs asento).
Pysäköi kone tasaiselle alustalle, laske leikkuuyksiköt alas, kytke seisontajarru, sammuta moottori ja irrota virta-avain.
Työnnä putki tai vastaava esine jousen pitkään päähän jousikuormituksen vapauttamiseksi säädön aikana (Kuva 38).
Jouset ovat kireällä ja saattavat aiheuttaa henkilövahingon.
Säädä jousia varovaisesti.
Kun vapautat jousikuormitusta, irrota pultti ja lukkomutteri, joilla jousiohjain on kiinni kannattimessa (Kuva 38).

Siirrä jousiohjain haluttuun aukkoon ja kiinnitä se lukkomutterilla.
Toista edellä mainitut toimenpiteet jäljellä olevalle jouselle.
Pysäköi kone tasaiselle alustalle, laske leikkuuyksiköt alas, kytke seisontajarru, sammuta moottori ja irrota virta-avain.
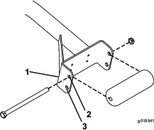
Nostovarren kytkin sijaitsee oikeanpuoleisen etunostovarren takana (Kuva 39).

Löysää kytkimen asennusruuvit (Kuva 39) ja siirrä kytkintä ylöspäin, jos haluat lisätä nostovarren kääntökorkeutta, tai siirrä kytkintä alaspäin, jos haluat laskea nostovarren kääntökorkeutta.
Kiristä asennusruuvit.
Turvakaari voidaan taittaa alas, jotta leikkurilla voidaan ajaa matalille alueille.
Kun turvakaari on taitettuna alas, koneessa ei ole kaatumissuojausjärjestelmää (ROPS).
Älä käytä turvavyötä, kun turvakaari on ala-asennossa.
Pysäköi kone tasaiselle alustalle, sammuta moottori, kytke seisontajarru ja irrota virta-avain.
Tue turvakaaren yläosaa, kun poistat lukkosokat ja liitintapit kääntökannattimista (Kuva 40).

Laske runkoa varovasti alaspäin, kunnes se on pysäyttimien varassa.
Varmista rungon yläosan tuki sen ala-asennossa asettamalla liitintapit alempiin aukkoihin ja kiinnittämällä ne lukkosokilla.
Nosta runko seuraamalla näitä ohjeita vastakkaisessa järjestyksessä.
Kaatumissuojausjärjestelmä ei välttämättä toimi, jos sen kiinnityspulttikokoonpanot ovat löysällä. Tämä voi johtaa vakavaan loukkaantumiseen tai jopa kuolemaan, jos kone kaatuu.
Kun kaatumissuojausjärjestelmä on pystyasennossa, molemmat kiinnityspulttikokoonpanot on asennettava ja kiristettävä täysin, jotta suojaus toimii.
Kun turvakaarta nostetaan ja lasketaan, sormet voivat jäädä puristuksiin koneen ja turvakaaren väliin.
Varo turvakaarta nostaessasi ja laskiessasi, etteivät sormet jää rakenteen kiinteän osan ja nivelosan väliin.
Huolehdi, että kaikki mutterit, pultit ja ruuvit on kiristetty asianmukaisesti, jotta laitetta on turvallista käyttää.
Vaihda kuluneet tai vaurioituneet osat turvallisuuden varmistamiseksi.
Varmista, että turvavyö ja kiinnikkeet ovat turvallisessa toimintakunnossa.
Käytä turvavyötä, kun turvakaari on ylhäällä. Älä käytä turvavyötä, kun turvakaari on alhaalla.
Important: Turvakaari on keskeinen turvalaite. Pidä turvakaari nostettuna koneen käytön aikana. Laske turvakaari väliaikaisesti vain silloin, kun se on aivan välttämätöntä.
| Huoltoväli | Huoltotoimenpide |
|---|---|
| Aina ennen käyttöä tai päivittäin |
|
Jos turvakytkimet ovat irronneet tai vaurioituneet, kone saattaa toimia odottamattomalla tavalla ja aiheuttaa henkilövahinkoja.
Älä kajoa turvakytkimiin.
Tarkista turvakytkimien toimivuus päivittäin ja vaihda mahdolliset vaurioituneet kytkimet ennen koneen käyttämistä.
Koneen sähköjärjestelmässä on turvakytkimet. Näiden kytkimien tarkoituksena on pysäyttää moottori kuljettajan noustessa istuimelta ajopolkimen ollessa painettuna alas. Kuljettaja voi kuitenkin nousta istuimelta, kun moottori on käynnissä ja ajopoljin on vapaalla. Vaikka moottori pysyy käynnissä, kun voimanulosotto ja ajopoljin vapautetaan, sammuta moottori ennen istuimelta nousemista.
Tarkista turvakytkimien toiminta seuraavasti:
Aja kone hitaasti laajalle ja pääosin avoimelle alueelle.
Laske leikkuuyksiköt, sammuta moottori ja kytke seisontajarru.
Istuudu istuimelle ja paina ajopoljinta.
Yritä käynnistää moottori.
Note: Moottori ei saa käynnistyä. Jos moottori käynnistyy, turvajärjestelmässä on vika. Korjaa se ennen koneen käyttöä.
Istuudu istuimelle ja käynnistä moottori.
Nouse istuimelta ja siirrä voimanulosoton kytkin Päällä-asentoon.
Note: Voimanulosoton vipu ei saa kytkeytyä päälle. Jos voimanulosotto kytkeytyy päälle, turvajärjestelmässä on vika. Korjaa se ennen koneen käyttöä.
Istuudu istuimelle, kytke seisontajarru ja käynnistä moottori.
Siirrä ajopoljin pois VAPAA-asennosta.
Note: Moottorin pitäisi sammua. Jos moottori ei sammu, turvajärjestelmässä on vika. Korjaa se ennen koneen käyttöä.
Sammuta moottori ja irrota virta-avain. Odota, että kaikki liikkuvat osat pysähtyvät, ja anna koneen jäähtyä ennen sen säätämistä, puhdistamista, varastoimista tai korjaamista.
Vähennä tulipalon vaaraa poistamalla ruoho ja leikkuujäte leikkuuyksiköistä, äänenvaimentimista ja moottoritilasta. Puhdista öljy- ja polttoaineroiskeet.
Jos leikkuuyksiköt ovat kuljetusasennossa, käytä mekaanista varmistuslukkoa (jos saatavilla), ennen kuin jätät koneen ilman valvontaa.
Anna moottorin jäähtyä, ennen kuin varastoit laitteen suljettuun tilaan.
Sulje polttoaineen sulkuventtiili ennen koneen varastointia tai kuljetusta.
Älä säilytä konetta tai polttoainesäiliötä tilassa, jossa on avotuli, kipinöitä tai varmistusliekki (esimerkiksi vedenlämmitin tai muu vastaava laite).
Pidä kaikki koneen osat hyvässä kunnossa ja kaikkien laitteiden kiinnitykset ja erityisesti terien kiinnikkeet tiukalla.
Vaihda kaikki kuluneet tai vaurioituneet tarrat.
Hätätilanteessa konetta voidaan liikuttaa avaamalla hydraulisessa säätötilavuuspumpussa oleva ohitusventtiili ja asentamalla hydrauliletku ohittamaan sulkuventtiili. Tämän jälkeen konetta voidaan työntää tai hinata.
Important: Konetta ei saa työntää tai hinata nopeammin kuin 3–4,8 km/h tai pidempää matkaa kuin 0,4 km, jotta vaihteisto ei vaurioidu. Ohitusventtiilin on oltava auki aina, kun konetta työnnetään tai hinataan. Lisäksi on asennettava hydrauliletku ohittamaan sulkuventtiili, jos konetta työnnetään tai hinataan taaksepäin.
Jos konetta on työnnettävä tai hinattava, sitä on todennäköisesti liikutettava niin eteen- kuin taaksepäin. Siksi on järkevää valmistella kone sekä eteen- että taaksepäin työntämistä tai hinaamista varten, jotta vetojärjestelmä ei vaurioidu.
Important: Jos konetta on työnnettävä tai hinattava taaksepäin, nelivetojärjestelmän sulkuventtiili on ensin ohitettava.
Sulkuventtiilin ohittamiseen tarvitaan seuraavat Toro-osat:
Toro-osanro 59-7410, vianmääritysliitin
Toro-osanro 354-79, vianmääritysliittimen suojus
Toro-osanro 95-8843, hydrauliletku
Toro-osanro 95-0985, letkuliitin (2)
Toro-osanro 340-77, hydrauliliitin (2)
Asenna vianmääritysliitin ajon takajakelulohkon porttien M8 ja P2 välissä olevaan merkitsemättömään porttiin (Kuva 41).

Liitä hydrauliletku ajon takajakelulohkoon asennetun vianmääritysliittimen ja peruutusajon paineentestausportin väliin (Kuva 42).
Note: Asenna letku tarvittavien hydrauli- ja letkuliittimien avulla.

Käännä ohitusventtiiliä 90° (1/4-kierros) kumpaan suuntaan tahansa, jolloin venttiili avautuu ja nesteen ohivirtaus alkaa (Kuva 43).
Note: Koska neste ohittaa vaihteiston, konetta voidaan liikuttaa hitaasti vaurioittamatta vaihteistoa.Huomaa venttiilin asento avattaessa ja suljettaessa.

Kun koneen työntäminen tai hinaaminen ei enää ole tarpeen, asennettu hydrauliletku on poistettava.
Asenna suojus peruutusajon paineentestausporttiin.
Asenna vianmääritysliittimen suojus jakelulohkoon asentamaasi liittimeen.
Käännä ohitusventtiiliä 90° (1/4-kierros) takaisin ennen moottorin käynnistämistä.
Note: Käytä venttiilin sulkemiseen voimaa korkeintaan 7–11 N·m.
Jos konetta on työnnettävä tai hinattava vain eteenpäin, sulkuventtiilin kääntäminen riittää.
Important: Jos konetta on työnnettävä tai hinattava taaksepäin, katso kohta Koneen valmistelu taaksepäin työntämistä tai hinaamista varten.
Avaa konepelti ja irrota keskimmäinen suojapeite.
Käännä ohitusventtiiliä 90° (1/4-kierros) kumpaan suuntaan tahansa, jolloin venttiili avautuu ja nesteen ohivirtaus alkaa (Kuva 43).
Note: Koska neste ohittaa vaihteiston, konetta voidaan liikuttaa hitaasti eteenpäin vaurioittamatta vaihteistoa.Huomaa venttiilin asento avattaessa ja suljettaessa.
Käännä ohitusventtiiliä 90° (1/4-kierros) takaisin ennen moottorin käynnistämistä.
Note: Käytä venttiilin sulkemiseen voimaa korkeintaan 7–11 N·m.
Käytä täysleveää ramppia lastatessasi konetta perävaunuun tai lavalle.
Kiinnitä kone tiukasti.
Kiinnityspisteet ovat seuraavissa paikoissa:
Rungon molemmilla sivuilla etuaskelmien alla.
Takapuskurissa.

Nostokohdat ovat seuraavissa paikoissa:
Koneen etuosassa rungossa vetävien pyörien sisäpuolella.
Koneen takaosassa akselin keskellä.
Harjoittele koneella ajamista, koska siinä on hydrostaattinen vaihteisto, joka on ominaisuuksiltaan erilainen kuin monet nurmikonhoitokoneet.
Jotta koneen käytettävissä on tarpeeksi tehoa käytön aikana, pidä moottorin nopeus korkeana ja tasaisena ajopolkimen avulla. Vähennä ajonopeutta, kun leikkuuyksiköiden kuormitus kasvaa, ja lisää ajonopeutta, kun kuormitus pienenee.
Anna siis ajopolkimen liikkua taaksepäin moottorin nopeuden vähentyessä ja paina poljinta hitaasti nopeuden kasvaessa. Kun ajat työalueelta toiselle ilman kuormitusta ja leikkuuyksiköt ylhäällä, pidä kaasuvipu NOPEA-asennossa ja paina ajopoljin hitaasti pohjaan saakka, jotta kone liikkuu suurimmalla ajonopeudella.
Jarruja voi käyttää apuna konetta käännettäessä. Jarruja on käytettävä kuitenkin harkiten varsinkin pehmeässä tai kosteassa ruohikossa, koska muuten nurmi voi vahingoittua. Jarruilla voi myös tehostaa pitoa. Esimerkiksi joissakin rinneolosuhteissa ylämäen pyörä voi luistaa ja menettää pidon. Paina tällaisessa tilanteessa ylämäen kääntöpoljinta vähitellen ja katkonaisesti, kunnes ylämäen puoleinen pyörä lakkaa luistamasta. Näin alamäen puoleisen pyörän pito paranee.
Käytä konetta rinteissä erityisen varovasti. Tarkista, että istuimen salpa on kunnolla lukittuna, turvakaari on nostettu ja kiinnitetty ja että turvavyö on kiinni. Aja hitaasti ja vältä jyrkkiä käännöksiä rinteissä, jotta kone ei kaadu.
Important: Kun konetta on käytetty täydellä kuormalla, anna moottorin käydä joutokäynnillä viisi minuuttia, ennen kuin sammutat sen. Näin turboahdin ehtii jäähtyä ennen moottorin sammuttamista. Muutoin turboahtimeen voi tulla vikoja.
Ennen kuin sammutat moottorin, kytke kaikki ohjauslaitteet pois päältä ja siirrä kaasu HIDAS-asentoon. Kun kaasu siirretään HIDAS-asentoon, moottorin käyntinopeus pienenee ja melu ja tärinä vähenevät. Sammuta moottori kääntämällä virta-avain PYSäYTYS-asentoon.
Ennen kuin alat leikata ruohoa, harjoittele koneen käyttöä avoimessa tilassa. Käynnistä ja sammuta moottori. Aja eteenpäin ja taaksepäin. Nosta ja laske leikkuuyksiköt ja kytke ja vapauta kelat. Kun tunnet olevasi riittävän perehtynyt koneeseen, harjoittele ajamista ylös ja alas rinteissä eri nopeuksilla.
Jos varoitusvalo syttyy käytön aikana, pysäytä kone välittömästi ja korjaa ongelma ennen käytön jatkamista. Jos konetta käytetään viallisena, seurauksena saattaa olla vakavia vaurioita.
Käynnistä moottori ja siirrä moottorin nopeuskytkin NOPEA-asentoon. Siirrä leikkuunopeuden rajoitin LEIKKUU-asentoon. Siirrä voimanulosoton kytkin PääLLä-asentoon ja ohjaa leikkuuyksikköjä nostokytkimellä (etuleikkuuyksiköt on ajastettu laskeutumaan ennen takaleikkuuyksikköjä). Kun haluat liikkua eteenpäin ja leikata nurmea, paina ajopoljinta eteenpäin.
Siirrä voimanulosoton kytkin POIS-asentoon ja nosta leikkuuyksiköt kuljetusasentoon. Siirrä leikkuunopeuden rajoitin kuljetusasentoon. Ole varovainen, ettet vahingoita konetta tai leikkuuyksiköitä ajaessasi kapeista väleistä. Käytä konetta rinteissä erityisen varovasti. Aja hitaasti ja vältä jyrkkiä käännöksiä rinteissä, jotta kone ei kaadu.
Note: Koneen vasen ja oikea puoli määritellään normaalista käyttöasennosta käsin.
| Huoltoväli | Huoltotoimenpide |
|---|---|
| 8 ensimmäisen käyttötunnin jälkeen |
|
| 200 ensimmäisen käyttötunnin jälkeen |
|
| Aina ennen käyttöä tai päivittäin |
|
| 50 käyttötunnin välein |
|
| 100 käyttötunnin välein |
|
| 200 käyttötunnin välein |
|
| 250 käyttötunnin välein |
|
| 400 käyttötunnin välein |
|
| 800 käyttötunnin välein |
|
| Ennen varastointia |
|
Ota tästä sivusta kopioita.
| Tarkistettavat kohdat | Viikolle: | ||||||
|---|---|---|---|---|---|---|---|
| Ma | Ti | Ke | To | Pe | La | Su | |
| Tarkista turvajärjestelmän toiminta. | |||||||
| Tarkista jarrujen toiminta. | |||||||
| Tarkista moottoriöljyn ja polttoaineen määrä. | |||||||
| Tarkista jäähdytysnesteen määrä. | |||||||
| Tyhjennä veden/polttoaineen erotin. | |||||||
| Tarkista ilmansuodattimen huoltoilmaisin. | |||||||
| Tarkista, että jäähdyttimessä, öljynjäähdyttimessä ja säleikössä ei ole leikkuujätettä. | |||||||
| Kuuntele, kuuluuko moottorista epätavallisia ääniä.1 | |||||||
| Kuuntele, kuuluuko käytettäessä epätavallisia ääniä. | |||||||
| Tarkista hydraulijärjestelmän nestemäärä. | |||||||
| Tarkista, ettei hydrauliletkuissa ole vaurioita. | |||||||
| Tarkista nestevuodot. | |||||||
| Tarkista rengaspaine. | |||||||
| Tarkista mittareiden toiminta. | |||||||
| Tarkista kelan ja kiinteän terän kohdistus. | |||||||
| Tarkista leikkuukorkeussäätö. | |||||||
| Voitele kaikki rasvanipat.2 | |||||||
| Korjaa maalipinnan vauriot. | |||||||
|
1. Tarkasta hehkutulppa ja ruiskutussuuttimet, jos käynnistys on hidas, jos moottori savuttaa liikaa tai jos moottori käy karkeasti. |
|||||||
|
2. Välittömästi jokaisen pesun jälkeen, luettelon mukaisesta huoltovälistä riippumatta |
|||||||
| Tarkastuksen suoritti: | ||
| Vika | Päivämäärä | Huomio |
| 1 | ||
| 2 | ||
| 3 | ||
| 4 | ||
| 5 | ||
| 6 | ||
| 7 | ||
| 8 | ||
Important: Katso moottorin käyttöoppaasta ja leikkuuyksikön käyttöoppaasta tietoja muista huoltotoimenpiteistä.
Note: Koneen kytkentäkaavio ja hydraulikaavio ovat saatavissa osoitteesta www.Toro.com.
Jos jätät avaimen virtalukkoon, joku voi vahingossa käynnistää moottorin ja vahingoittaa vakavasti lähellä olijoita.
Irrota avain virtalukosta ennen huollon aloitusta.
Tee ennen koneen säätämistä, puhdistamista tai korjaamista ja ennen koneelta poistumista seuraavat toimenpiteet:
Pysäköi kone tasaiselle alustalle.
Siirrä kaasun säätökytkin Alhainen joutokäyntinopeus -asentoon.
Vapauta leikkuuyksiköt.
Laske leikkuuyksiköt.
Varmista, että veto on vapaalla.
Kytke seisontajarru.
Sammuta moottori ja irrota virta-avain.
Odota, kunnes kaikki liikkuvat osat ovat pysähtyneet.
Anna koneen osien jäähtyä ennen huollon suorittamista.
Jos mahdollista, älä huolla konetta moottorin ollessa käynnissä. Pysy etäällä liikkuvista osista.
Tue kone tai sen osat tarvittaessa pukkien avulla.
Vapauta paine huolellisesti osista, joihin on varastoitunut energiaa.
Avaa konepellin salvat (Kuva 45) ja nosta konepelti.

Irrota sokat, jotka kiinnittävät konepellin takakannattimet rungon tappeihin ja nosta konepelti irti.
| Huoltoväli | Huoltotoimenpide |
|---|---|
| 50 käyttötunnin välein |
|
Koneessa on rasvanippoja, jotka on voideltava säännöllisesti litiumrasvalla nro 2. Jos konetta käytetään normaaleissa olosuhteissa, voitele kaikki laakerit ja holkit 50 käyttötunnin välein tai heti pesun jälkeen.
Rasvanippojen sijainnit ja määrät ovat seuraavat:
Jarruakselin tappilaakerit (5) (Kuva 46)

Taka-akselin tappiholkit (2) (Kuva 47)

Ohjaussylinterin pallonivelet (2) (Kuva 48)

Raidetangon pallonivelet (2) (kuvaKuva 48)
Olkatapin holkit (2) (Kuva 48). Olkatapin yläliitos voidellaan vain kerran vuodessa (2 pumppausta).
Nostovarren holkit (1/leikkuuyksikkö) (Kuva 49)

Nostosylinterin holkit (2/leikkuuyksikkö) (Kuva 49)
Nostovarren tappiholkit (1/leikkuuyksikkö) (Kuva 50)
Leikkuuyksikön kannatin (2/leikkuuyksikkö) (Kuva 50)
Leikkuuyksikön nostovarren tappi (1/leikkuuyksikkö) (Kuva 50)

Moottori on sammutettava ennen öljyn tarkistusta tai lisäystä kampikammioon.
Älä muuta kierrosnopeussäätimen nopeutta tai käytä moottoria ylikierroksilla.
| Huoltoväli | Huoltotoimenpide |
|---|---|
| 400 käyttötunnin välein |
|
Tarkista, ettei ilmanpuhdistimen rungossa ole vaurioita, jotka voivat aiheuttaa ilmavuodon. Vaihda se, jos se on vaurioitunut. Tarkista, että ilmanottojärjestelmässä ei ole vuotoja, vaurioita tai löysiä letkunkiristimiä.
Huolla ilmanpuhdistimen suodatin vain silloin, kun huoltoilmaisin (Kuva 51) edellyttää sitä. Ilmansuodattimen tarpeeton vaihtaminen vain kasvattaa mahdollisuutta, että moottoriin pääsee likaa suodattimen irrotuksen yhteydessä.

Important: Tarkista, että suojus on asetettu oikein ja että se on tiiviisti ilmanpuhdistimen rungon ympärillä.
Pysäköi kone tasaiselle alustalle, laske leikkuuyksiköt, kytke seisontajarru, sammuta moottori ja irrota virta-avain.
Vedä salpaa ulospäin ja kierrä ilmanpuhdistimen suojusta vastapäivään (Kuva 52).

Irrota ilmanpuhdistimen rungon suojus.
Ennen kuin irrotat suodattimen, poista pääsuodattimen ja kotelon väliin kertynyt lika matalapaineisella (2,76 bar, puhdas ja kuiva) ilmalla. Älä käytä korkeapaineista ilmaa, sillä se voi työntää lian suodattimen läpi ilmanottokanavaan.
Puhdistaminen estää lian joutumisen ilmanottoon pääsuodattimen irrottamisen yhteydessä.
Irrota ja vaihda pääsuodatin (Kuva 53).
Älä puhdista käytettyä elementtiä, sillä elementin materiaali saattaa vaurioitua. Tarkasta, että uudessa suodattimessa ei ole kuljetusvaurioita tarkastamalla suodattimen tiivistetty pää ja runko. Älä käytä viallista elementtiä.
Työnnä uusi suodatin paikoilleen puristamalla samalla elementin ulkokehää, jotta se asettuu koteloon. Älä paina suodattimen joustavaa keskikohtaa.

Important: Älä koskaan yritä puhdistaa varosuodatinta (Kuva 54). Vaihda varosuodatin uuteen joka kolmannella pääsuodattimen huoltokerralla.

Puhdista irrotettavassa suojuksessa oleva lianpoistoaukko.
Irrota kuminen poistoventtiili suojuksesta, puhdista ontelo ja asenna poistoventtiili.
Asenna suojus siten, että kuminen poistoventtiili osoittaa alaspäin, eli noin kello viiden ja kello seitsemän välille päästä katsottuna.
Palauta ilmaisin (Kuva 51), jos se näyttää punaista.
| Huoltoväli | Huoltotoimenpide |
|---|---|
| 250 käyttötunnin välein |
|
Pysäköi kone tasaiselle alustalle, laske leikkuuyksiköt alas, kytke seisontajarru, sammuta moottori ja irrota virta-avain.
Irrota tyhjennystulppa (Kuva 55) ja anna öljyn valua tyhjennysastiaan.

Asenna tyhjennystulppa takaisin, kun öljyä ei enää valu.
Irrota öljynsuodatin (Kuva 56).

Levitä ohut kerros puhdasta öljyä uuden suodattimen tiivisteeseen ennen sen asentamista.
Note: Älä kiristä suodatinta liikaa.
Lisää öljyä kampikammioon. Katso Moottoriöljyn määrän tarkistus.
Säädä kaasuvaijeria (Kuva 57) siten, että moottorissa oleva säätövipu koskettaa nopean pyörintänopeuden asetuspulttia samassa kohdassa kuin kaasuvaijeri koskettaa tukivarren uran päätä.

Tietyissä olosuhteissa polttoaine ja polttoainehöyryt ovat erittäin tulenarkoja ja räjähdysherkkiä. Polttoaineen aiheuttamasta tulipalosta tai räjähdyksestä voi olla seurauksena palovammoja ja omaisuusvahinkoja.
Täytä polttoainesäiliö ulkona avoimessa tilassa moottorin ollessa sammutettu ja jäähtynyt. Pyyhi läikkynyt polttoaine pois.
Polttoainesäiliötä ei saa täyttää aivan täyteen. Lisää polttoainetta polttoainesäiliöön, kunnes pinta on 25 mm säiliön (ei täyttökaulan) yläreunan alapuolella. Säiliöön jäävä tyhjä tila antaa polttoaineen laajentua.
Älä tupakoi polttoainetta käsitellessäsi ja pysy kaukana avotulesta tai paikoista, joissa kipinä voi sytyttää polttoainehöyryt.
Säilytä polttoaine puhtaassa, turvallisuushyväksytyssä säiliössä. Pidä korkki suljettuna.
| Huoltoväli | Huoltotoimenpide |
|---|---|
| 800 käyttötunnin välein |
|
| Ennen varastointia |
|
Pysäköi kone tasaiselle alustalle, laske leikkuuyksiköt alas, kytke seisontajarru, sammuta moottori ja irrota avain.
Tyhjennä ja puhdista säiliö, jos polttoainejärjestelmä likaantuu tai jos kone on tarkoitus varastoida pitkäksi aikaa. Huuhtele säiliö puhtaalla polttoaineella.
| Huoltoväli | Huoltotoimenpide |
|---|---|
| 400 käyttötunnin välein |
|
Pysäköi kone tasaiselle alustalle, laske leikkuuyksiköt alas, kytke seisontajarru, sammuta moottori ja irrota virta-avain.
Tarkasta, että polttoaineputkissa ei ole haurastumia, vaurioita tai löysiä liitäntöjä.
| Huoltoväli | Huoltotoimenpide |
|---|---|
| Aina ennen käyttöä tai päivittäin |
|
| 400 käyttötunnin välein |
|
Pysäköi kone tasaiselle alustalle, laske leikkuuyksiköt alas, kytke seisontajarru, sammuta moottori ja irrota virta-avain.
Aseta puhdas astia polttoainesuodattimen alle.
Löysää suodatinkotelon pohjassa olevaa tyhjennystulppaa.

Puhdista suodatinkotelon kiinnityskohdan ympäristö.
Irrota suodatinkotelo ja puhdista asennuspinta.
Voitele suodatinkotelon tiiviste puhtaalla öljyllä.
Asenna suodatinkotelo käsin, kunnes tiiviste koskettaa asennuspintaa. Kierrä sitten vielä puoli kierrosta.
Kiristä suodatinkotelon pohjassa oleva tyhjennystulppa.
Pysäköi kone tasaiselle alustalle, laske leikkuuyksiköt alas, kytke seisontajarru, sammuta moottori ja irrota virta-avain.
Polttoainesäiliössä oleva polttoaineputki on varustettu sihdillä, joka estää roskien pääsyn polttoainejärjestelmään. Irrota polttoaineputki ja puhdista sihti tarvittaessa.
Irrota akun kytkennät ennen kuin korjaat konetta. Irrota ensin miinusnavan akkukenkä ja vasta sitten plusnavan akkukenkä. Kytke ensin plusnavan akkukenkä ja vasta sitten miinusnavan akkukenkä.
Lataa akku avoimessa tilassa, jossa on hyvä ilmanvaihto, kaukana kipinöistä ja avotulesta. Irrota laturin virtajohto ennen kuin kytket laturin akkuun tai irrotat sen akusta. Käytä suojavaatetusta ja eristettyjä työkaluja.
Pysäköi kone tasaiselle alustalle, laske leikkuuyksiköt alas, kytke seisontajarru, sammuta moottori ja irrota virta-avain.
Avaa käyttäjän konsolipaneelin salpa ja nosta paneeli (Kuva 59).

Akkuneste sisältää rikkihappoa, jonka nieleminen on hengenvaarallista ja joka aiheuttaa vakavia kemiallisia palovammoja.
Akkunestettä ei saa juoda eikä päästää kosketuksiin ihon, silmien tai vaatteiden kanssa. Käytä suojalaseja ja kumikäsineitä.
Akku on täytettävä paikassa, jossa on aina saatavilla puhdasta vettä ihon huuhtelua varten.
Kytke 3–4 A:n akkulaturi akun napoihin.
Lataa akkua 3–4 A:n virralla 4–8 tunnin ajan.
Kun akku on latautunut, irrota laturi virtalähteestä ja akun navoista.
Akun latauksen yhteydessä syntyy räjähdysherkkiä kaasuja.
Älä tupakoi akun lähettyvillä. Älä päästä kipinöitä tai liekkejä kosketuksiin akun kanssa.
Kiinnitä pluskaapeli (punainen) akun plusnapaan (+) ja miinuskaapeli (musta) akun miinusnapaan (–) (Kuva 60).

Kiinnitä kaapelit napoihin kantaruuveilla ja muttereilla.
Varmista, että plusliitin (+) on kunnolla kiinni akun navassa ja että kaapeli on tiiviisti akkua vasten. Kaapeli ei saa koskettaa akun kantta.
Työnnä kumisuojus plusnavan päälle mahdollisen oikosulun ehkäisemiseksi.
Voitele molemmat akkuliitännät Grafo 112X -suojarasvalla, Toron osanro 505-47, vaseliinilla tai kevyellä rasvalla ruostumisen ehkäisemiseksi.
Vedä kumisuojus akun plusnavan päälle.
Sulje konsolipaneeli ja kiinnitä salpa.
Akun navat tai metallityökalut voivat aiheuttaa oikosulun koskettaessaan metalliosia, mistä voi seurata kipinöitä. Kipinät voivat saada akun kaasut räjähtämään ja aiheuttaa siten henkilövahingon.
Kun irrotat tai asennat akun, älä anna akun napojen koskettaa koneen metalliosia.
Älä anna metallityökalujen aiheuttaa oikosulkua akun napojen ja koneen metalliosien välille.
Akun kaapeleiden virheellinen asennus voi vahingoittaa konetta ja kaapeleita aiheuttaen kipinöitä. Kipinät voivat saada akun kaasut räjähtämään ja aiheuttaa siten henkilövahingon.
Irrota aina akun miinuskaapeli (musta) ennen pluskaapelin (punainen) irrottamista.
Kytke aina akun pluskaapeli (punainen) ennen miinuskaapelia (musta).
| Huoltoväli | Huoltotoimenpide |
|---|---|
| 50 käyttötunnin välein |
|
Important: Ennen kuin hitsaat konetta, irrota miinuskaapeli akusta, jotta sähköjärjestelmä ei vaurioidu.
Note: Tarkista akun kunto viikoittain tai 50 käyttötunnin välein. Pidä akkukengät ja koko akkukotelo puhtaana, koska likainen akku purkautuu vähitellen.
Puhdista akku seuraavalla tavalla:
Pysäköi kone tasaiselle alustalle, laske leikkuuyksiköt alas, kytke seisontajarru, sammuta moottori ja irrota virta-avain.
Irrota akku koneesta.
Pese koko kotelo liuoksella, jossa on ruokasoodaa ja vettä.
Huuhtele kotelo puhtaalla vedellä.
Päällystä akkunavat ja kaapeliliittimet Grafo 112X -suojarasvalla (Toron osanro 505-47) tai vaseliinilla estämään ruostumista.

| Huoltoväli | Huoltotoimenpide |
|---|---|
| 8 ensimmäisen käyttötunnin jälkeen |
|
| 200 käyttötunnin välein |
|
Pysäköi kone tasaiselle alustalle, laske leikkuuyksiköt alas, kytke seisontajarru, sammuta moottori ja irrota virta-avain.
Mikäli pyöränmuttereiden kireyttä ei pidetä oikeana, pyörään voi tulla vika tai se voi irrota, mikä voi aiheuttaa tapaturman.
Kiristä etu- ja takapyörien mutterit momenttiin 115–136 N·m 1–4 käyttötunnin jälkeen ja uudelleen kahdeksan käyttötunnin jälkeen. Kiristä pyöränmutterit tämän jälkeen 200 tunnin välein.
Note: Etupyörän muttereiden kierre on 1/2–20 UNF. Takapyörän mutterit ovat M12 × 1,6-6H (metrijärjestelmän mukaan).
| Huoltoväli | Huoltotoimenpide |
|---|---|
| 400 käyttötunnin välein |
|
Planeettapyörästössä/vetopyörissä ei saa olla aksiaalista välystä (pyörät eivät saa liikkua, kun niitä vedetään tai työnnetään akselin suuntaisesti).
Pysäköi kone tasaiselle alustalle, kytke seisontajarru, laske leikkuuyksiköt, sammuta moottori ja irrota virta-avain.
Kiilaa takarenkaat, nosta koneen etuosa ja tue etuakseli/-runko pukeilla.
Tunkilla tuettu kone voi olla epävakaa ja luiskahtaa ja vahingoittaa siten koneen alla olevaa henkilöä.
Älä käynnistä moottoria, kun laite on nostettu tunkilla.
Poista aina avain avainkytkimestä, ennen kuin nouset pois koneesta.
Aseta pyöriin vierimisen estävät kiilat, kun nostat konetta tunkilla.
Tue kone pukkien avulla.
Tartu toiseen etupyörään, työnnä/vedä sitä koneeseen päin ja poispäin ja tarkkaile mahdollista liikettä.

Toista vaihe 3 toisella vetopyörällä.
Jos jompikumpi pyörä liikkuu, ota yhteys valtuutettuun Toro-jälleenmyyjään, jotta planeettapyörästö voidaan uusia.
| Huoltoväli | Huoltotoimenpide |
|---|---|
| 400 käyttötunnin välein |
|
Voiteluaineen tiedot: korkealaatuinen SAE 85W-140 -vaihteistovoiteluaine
Pysäköi kone tasaiselle alustalle. Aseta pyörä siten, että täyttötulppa on kello 12:n asennossa, tarkistustulppa kello kolmen asennossa ja tyhjennystulppa kello kuuden asennossa (Kuva 66).

Irrota kello kolmen asennossa oleva tarkistustulppa (Kuva 66).
Öljyn pinnan tulee ulottua tarkistustulpan aukon alareunaan saakka.

Jos öljyn pinta on matalalla, irrota kello 12:n asennossa oleva täyttötulppa ja lisää öljyä, kunnes sitä alkaa virrata ulos kello kolmen asennossa olevasta aukosta.
Tarkista, että tulppien O-renkaat eivät ole kuluneet tai vaurioituneet.
Note: Vaihda O-renkaat tarvittaessa.
Asenna tulpat.
Toista vaiheet 1–5 koneen toisella puolella olevan planeettapyörästön kohdalla.
| Huoltoväli | Huoltotoimenpide |
|---|---|
| 200 ensimmäisen käyttötunnin jälkeen |
|
| 800 käyttötunnin välein |
|
Voiteluaineen tiedot: korkealaatuinen SAE 85W-140 -vaihteistovoiteluaine
Planeettapyörästön kotelon ja jarrurummun voiteluainetilavuus: 0,65 l
Pysäköi kone tasaiselle alustalle. Aseta pyörä siten, että täyttötulppa on kello 12:n asennossa, tarkistustulppa kello kolmen asennossa ja tyhjennystulppa kello kuuden asennossa. Katso Kuva 66 kohdassa Planeettapyörästön voiteluaineen tarkistus.
Irrota kello 12:n asennossa oleva täyttötulppa ja kello kolmen asennossa oleva tarkistustulppa (Kuva 68).

Aseta tyhjennysastia planeettapyörästön navan alle, irrota kello kuuden asennossa oleva tyhjennystulppa ja valuta öljy kokonaan pois (Kuva 68).
Tarkista, että täyttö-, tarkistus- ja tyhjennystulppien O-renkaat eivät ole kuluneet tai vaurioituneet.
Note: Vaihda O-renkaat tarvittaessa.
Asenna tyhjennystulppa planeettapyörästön kotelon tyhjennysaukkoon (Kuva 68).
Aseta tyhjennysastia jarrurummun alle, irrota tyhjennystulppa ja valuta öljy kokonaan pois (Kuva 69).

Tarkista, että tulpan O-rengas ei ole kulunut tai vaurioitunut, ja asenna tyhjennystulppa jarrurumpuun.
Note: Vaihda O-rengas tarvittaessa.
Lisää täyttötulpan aukon kautta planeettapyörästöön hitaasti 0,65 litraa korkealaatuista SAE 85W-140 -vaihteistoöljyä.
Important: Jos planeettapyörästö on täynnä, ennen kuin lisäät öljyä 0,65 litraa, odota yksi tunti tai asenna tulppa ja liikuta konetta noin kolme metriä, jotta öljy leviää jarrujärjestelmään. Irrota sitten tulppa ja lisää jäljellä oleva öljy.

Asenna täyttötulppa ja tarkistustulppa.
Pyyhi planeettapyörästön kotelo ja jarrurumpu puhtaaksi (Kuva 71).

Toista vaiheet 1–7 kohdassa Planeettapyörästön tyhjennys sekä vaiheet 1–3 tässä toimenpiteessä koneen toisen puolen planeettapyörästön ja jarrukokoonpanon kohdalla.
| Huoltoväli | Huoltotoimenpide |
|---|---|
| 400 käyttötunnin välein |
|
Taka-akseli toimitetaan tehtaalta SAE 85W-140 -vaihteistoöljyllä täytettynä. Järjestelmän tilavuus on 2,4 litraa. Tarkista järjestelmä silmämääräisesti vuotojen varalta päivittäin.
Pysäköi kone tasaiselle alustalle, laske leikkuuyksiköt alas, kytke seisontajarru, sammuta moottori ja irrota virta-avain.
Irrota tarkistustulppa akselin toisesta päästä (Kuva 72) ja varmista, että öljyn pinta on aukon alareunan tasolla. Jos öljyä on liian vähän, irrota täyttötulppa (Kuva 72) ja lisää riittävästi öljyä, jotta öljyn pinta nousee tarkistustulppien aukkojen alareunan tasolle.

| Huoltoväli | Huoltotoimenpide |
|---|---|
| 200 ensimmäisen käyttötunnin jälkeen |
|
| 800 käyttötunnin välein |
|
Pysäköi kone tasaiselle alustalle, laske leikkuuyksiköt alas, kytke seisontajarru, sammuta moottori ja irrota virta-avain.
Puhdista alue kolmen tyhjennystulpan ympäriltä, yksi kummassakin päässä ja yksi keskellä (Kuva 73).

Irrota öljyntarkistustulpat ja pääakselin ilmareiän suojus, jotta öljy valuu paremmin.
Irrota tyhjennystulpat, jotta öljy pääsee virtaamaan astioihin.
Asenna tulpat.
Irrota tarkistustulppa ja lisää akseliin noin 2,37 litraa 85W-140-vaihteistoöljyä siten, että öljyn pinta ulottuu aukon alareunaan saakka.
Asenna tarkistustulppa paikalleen.
| Huoltoväli | Huoltotoimenpide |
|---|---|
| 400 käyttötunnin välein |
|
Käyttöpyörästön kotelo on täytetty SAE 85W-140 -vaihteistoöljyllä. Tarkista öljyn määrä ennen moottorin ensimmäistä käynnistystä ja sen jälkeen 400 käyttötunnin välein. Järjestelmän tilavuus on 0,5 litraa. Tarkista järjestelmä silmämääräisesti vuotojen varalta päivittäin.
Pysäköi kone tasaiselle alustalle, laske leikkuuyksiköt alas, kytke seisontajarru, sammuta moottori ja irrota virta-avain.
Irrota tarkistus-/täyttötulppa käyttöpyörästön kotelon vasemmalta puolelta (Kuva 74) ja varmista, että voiteluaineen pinta on aukon alareunan tasolla. Jos voiteluainetta on vähän, lisää sitä, kunnes sen pinta on aukon alareunan tasolla.

Kone ei saa liikkua eteenpäin, kun ajopoljin on vapautettu. Jos kone liikkuu eteenpäin, vaihteistoa on säädettävä.
Pysäköi kone tasaiselle alustalle, sammuta moottori, aseta nopeussäätö alhaiselle alueelle ja laske leikkuuyksiköt.
Paina vain oikeanpuoleista jarrupoljinta ja kytke seisontajarru.
Nosta koneen vasen puoli ylös siten, että vasen eturengas nousee ylös maasta. Tue kone pukeilla, jotta se ei pääse kaatumaan.
Käynnistä moottori ja anna sen käydä alhaisella joutokäynnillä.
Säädä pumpputangon päässä olevia vastamuttereita ja siirrä pumpun ohjausputkea eteenpäin, kun haluat poistaa turhan liikkeen eteenpäin, tai taaksepäin, jos haluat poistaa turhan liikkeen taaksepäin (Kuva 75).

Kun pyörän pyörintä lakkaa, varmista säätö kiristämällä vastamutterit.
Pysäytä moottori ja vapauta oikeanpuoleinen jarru.
Poista tunkit ja laske kone maahan.
Varmista koeajon avulla, että kone ei enää ryömi eteenpäin pysähdyttäessä.
| Huoltoväli | Huoltotoimenpide |
|---|---|
| 800 käyttötunnin välein |
|
Pysäköi kone tasaiselle alustalle, laske leikkuuyksiköt alas, kytke seisontajarru, sammuta moottori ja irrota virta-avain.
Mittaa keskeltä keskelle -etäisyys (akselikorkeudella) ohjaavien pyörien etu- ja takapuolella.
Note: Etuosan mitan on oltava 3 mm pienempi kuin takaosan mitan (Kuva 76).

Jos aurauskulmaa on säädettävä, irrota sokka ja mutteri raidetangon jommastakummasta pallonivelestä (Kuva 77).

Irrota raidetangon pallonivel akselikotelon tuesta.
Löysää raidetankojen molemmissa päissä olevat kiristimet (Kuva 77).
Käännä irrotettua palloniveltä sisään- tai ulospäin yhden kokonaisen kierroksen verran.
Kiristä raidetangon irrotetun pään kiristin.
Käännä koko raidetankokokoonpanoa samaan suuntaan (sisään- tai ulospäin) yhden kokonaisen kierroksen verran.
Kiristä raidetangon kiinnitetyn pään kiristin.
Asenna pallonivel akselikotelon tukeen ja kiristä mutteri sormitiukkuuteen.
Mittaa aurauskulma.
Toista toimenpiteet tarvittaessa.
Kiristä mutteri ja asenna uusi sokka, kun säätö on oikea.
Jäähdytysnesteen nieleminen voi aiheuttaa loukkaantumisen tai kuoleman. Pidä poissa lasten ja lemmikkieläinten ulottuvilta.
Paineella suihkuava kuuma jäähdytysneste, kuuma jäähdytin ja sitä ympäröivät osat voivat aiheuttaa vakavia palovammoja.
Anna moottorin jäähtyä ainakin 15 minuuttia ennen jäähdyttimen korkin irrottamista.
Käytä korkkia käsitellessäsi liinaa ja aukaise korkki hitaasti, jotta paine pääsee pois.
| Huoltoväli | Huoltotoimenpide |
|---|---|
| Aina ennen käyttöä tai päivittäin |
|
Poista lika moottorin alueelta, jäähdyttimestä ja öljynjäähdyttimestä päivittäin. Puhdista ne useammin likaisissa olosuhteissa.
Pysäköi kone tasaiselle alustalle, laske leikkuuyksiköt alas, kytke seisontajarru, sammuta moottori ja irrota virta-avain.
Vapauta ja avaa takasäleikkö (Kuva 78).

Puhdista säleikkö huolellisesti.
Note: Jos haluat irrottaa säleikön, nosta saranan tapit ylös.
Puhdista jäähdyttimen/öljynjäähdyttimen molemmat sivut (Kuva 79) perusteellisesti paineilmalla. Aloita edestä ja puhalla roskat pois taaksepäin. Puhdista sitten takaa alkaen ja puhalla eteenpäin. Toista useita kertoja, kunnes roskia ei enää ole.

Important: Jäähdyttimen/öljynjäähdyttimen puhdistaminen vedellä voi edistää ruostumista ja osien vaurioitumista sekä pakata roskia järjestelmään.
Sulje takasäleikkö ja kiinnitä se salvalla.
Säädä käyttöjarruja, jos jarrupolkimissa on vapaaliikettä yli 13 mm tai kun jarrut eivät toimi tehokkaasti. Vapaaliike on etäisyys, jonka jarrupoljin liikkuu, ennen kuin tunnet jarruvastuksen.
Pysäköi kone tasaiselle alustalle, laske leikkuuyksiköt alas, kytke seisontajarru, sammuta moottori ja irrota virta-avain.
Vapauta lukitussalpa jarrupolkimista, jotta molemmat polkimet toimivat itsenäisesti toisiinsa nähden.
Pienennä jarrupolkimien vapaaliikettä kiristämällä jarruja seuraavasti:
Löysää jarrukaapelin kierteisessä päässä olevaa etummaista mutteria (Kuva 80).

Siirrä vaijeria taaksepäin kiristämällä takimmaista mutteria, kunnes jarrupolkimissa on 0–13 mm vapaaliikettä.
Note: Varmista, että jarruissa ei ole kireyttä, kun poljin vapautetaan.
Kiristä etummaiset mutterit, kun jarrut on säädetty oikein.
| Huoltoväli | Huoltotoimenpide |
|---|---|
| 100 käyttötunnin välein |
|
Kireys on oikea, kun hihna painuu 10 mm hihnapyörien puolivälistä, kun sitä painetaan 45 N:n voimalla.
Jos painuma ei ole 10 mm, löysää laturin kiinnityspultteja (Kuva 81).

Löysää tai kiristä laturin hihnaa ja kiristä pultit.
Varmista oikea kireys tarkistamalla hihnan painuma uudelleen.
Jos nestettä pääsee ihon alle, hakeudu välittömästi lääkäriin. Lääkärin on poistettava neste kirurgisesti muutaman tunnin sisällä.
Varmista, että kaikki hydrauliletkut ja -putket ovat hyvässä kunnossa ja että kaikki hydrauliputkien liitokset ja kiinnitykset ovat tiukalla, ennen kuin lisäät hydraulijärjestelmän painetta.
Pidä keho ja kädet kaukana vuotavista rei’istä ja suuttimista, joista suihkuaa korkeapaineista hydraulinestettä.
Etsi hydraulinestevuotoja pahvin tai paperin avulla.
Poista paine varovasti hydraulijärjestelmästä, ennen kuin huollat järjestelmää.
| Huoltoväli | Huoltotoimenpide |
|---|---|
| Aina ennen käyttöä tai päivittäin |
|
Säiliöön on lisätty tehtaalla noin 28,4 litraa korkealaatuista hydraulinestettä. Tarkista hydraulinesteen taso ennen moottorin ensimmäistä käynnistystä ja sen jälkeen päivittäin.
Suositettu neste: Toro Premium All Season Hydraulic Fluid (Saatavana 19 litran astioissa tai 208 litran tynnyreissä. Katso osanumerot osaluettelosta tai pyydä ne valtuutetulta Toro-jälleenmyyjältä).
Vaihtoehtoiset nesteet: Jos Toro-nesteitä ei ole saatavana, voidaan käyttää muita tavallisia, öljypohjaisia nesteitä, jotka täyttävät kaikki jäljempänä luetellut vaatimukset (ominaisuudet ja standardit). Tarkista hydraulinesteen toimittajalta, täyttääkö neste nämä määritykset.
Note: Toro ei vastaa vääränlaisten nesteiden käytöstä aiheutuneista vaurioista, joten on käytettävä vain sellaisten tunnettujen valmistajien tuotteita, joiden luokituksiin voi luottaa.
| Kulumista estävä hydraulineste, jolla on korkea viskositeetti-indeksi / alhainen jähmepiste, ISO VG 46 Multigrade | |||
| Ominaisuudet: | |||
| Viskositeetti, ASTM D445 | cSt / 40 °C 44–50cSt / 100 °C 7,9–9,1 | ||
| Viskositeetti-indeksi, ASTM D2270 | 140 tai korkeampi (korkea viskositeetti-indeksi merkitsee moniasteista nestettä) | ||
| Jähmepiste, ASTM D97 | -37 °C...-45 °C | ||
| FZG, Fail Stage | 11 tai parempi | ||
| Vesipitoisuus (uusi neste) | 500 ppm (enintään) | ||
| Standardit: | |||
| Vickers I-286-S, Vickers M-2950-S, Denison HF-0, Vickers 35 VQ 25 (Eaton ATS373-C) | |||
Asianmukaisten hydraulinesteiden määritysten on vastattava liikkuvia koneita (teollisuuslaitoskäytön sijaan), niiden on oltava monipainotyyppisiä sekä niissä on oltava kulumista estävä lisäainepaketti ZnDTP tai ZDDP (ei tuhkattoman tyyppistä nestettä).
Important: ISO VG 46 -moniastenesteen on todettu tarjoavan optimaaliset käyttöominaisuudet useissa lämpötiloissa. Jatkuvasti korkeissa lämpötiloissa (18 °C...49 °C) työskenneltäessä ISO VG 68 -hydraulineste saattaa olla parempi vaihtoehto.
Luonnossa hajoava hydraulineste – Mobil EAL EnviroSyn 46H
Important: Mobil EAL EnviroSyn 46H on ainoa Toron testaama ja hyväksymä luonnossa hajoava synteettinen neste. Neste on yhteensopiva Toro-hydraulijärjestelmissä käytettyjen elastomeerien kanssa, ja sitä voidaan käyttää useissa lämpötiloissa. Neste on yhteensopiva perinteisten nesteiden kanssa, mutta paras mahdollinen luonnossa hajoavuus ja suorituskyky saavutetaan huuhtelemalla perinteinen neste perusteellisesti pois hydraulijärjestelmästä. Nestettä on saatavana 19 litran säiliöissä tai 208 litran tynnyreissä Mobil-jälleenmyyjiltä.
Important: Monet hydraulinesteet ovat lähes värittömiä, mikä vaikeuttaa vuotojen toteamista. Hydraulinesteelle tarkoitettua punaista värilisäainetta on saatavana 20 ml:n pulloissa. Yksi pullo riittää 15–22 litralle hydraulinestettä. Tilaa valtuutetulta Toro-jälleenmyyjältäsi, osanro 44-2500.
Pysäköi kone tasaiselle alustalle, laske leikkuuyksiköt, kytke seisontajarru, sammuta moottori ja irrota virta-avain.
Puhdista hydraulinestesäiliön täyttökaulaa ja korkkia ympäröivä alue (Kuva 82).

Irrota korkki täyttökaulasta.
Vedä mittatikku ulos täyttökaulasta ja pyyhi tikku puhtaalla liinalla.
Työnnä mittatikku täyttökaulaan, vedä se taas ulos ja tarkista nesteen pinta.
Nesteen pinnan täytyy ulottua mittatikun kahden merkinnän välille.
Jos nestettä on liian vähän, lisää nestettä riittävästi, jotta pinta nousee ylempään merkkiin saakka.
Työnnä mittatikku takaisin paikoilleen ja sulje täyttökaulan korkki.
| Huoltoväli | Huoltotoimenpide |
|---|---|
| 800 käyttötunnin välein |
|
Jos neste saastuu, ota yhteys paikalliseen valtuutettuun Toro-jälleenmyyjääsi, sillä koko järjestelmä on huuhdeltava. Saastunut neste näyttää maitomaiselta tai mustalta puhtaaseen nesteeseen verrattuna.
Pysäköi kone tasaiselle alustalle, laske leikkuuyksiköt alas, kytke seisontajarru, sammuta moottori ja irrota virta-avain.
Nosta konepelti.
Irrota paluuputki säiliön pohjasta ja anna hydraulinesteen valua suureen tyhjennysastiaan.
Liitä putki, kun hydraulinestettä ei enää valu.
Lisää säiliöön noin 28,4 litraa hydraulinestettä. Katso kohta Hydraulinesteen määrän tarkistus.
Important: Käytä vain ohjeissa mainittuja hydraulinesteitä. Muut nesteet saattavat vahingoittaa järjestelmää.
Laita säiliön korkki paikalleen.
Käynnistä moottori ja käytä kaikkia hydraulisia laitteita, jotta hydraulineste leviää koko järjestelmään.
Varmista, että vuotoja ei ole. Sammuta sitten moottori.
Tarkista nestemäärä ja lisää nestettä mittatikun Full-merkintään saakka.
Note: Älä täytä hydraulijärjestelmää liian täyteen.
| Huoltoväli | Huoltotoimenpide |
|---|---|
| 200 ensimmäisen käyttötunnin jälkeen |
|
| 800 käyttötunnin välein |
|
Käytä Toron vaihtosuodatinta osanro 94-2621 koneen takaosassa (leikkuuyksikkö) ja suodatinta osanro 75-1310 koneen etuosassa.
Important: Muun tyyppisen suodattimen käyttö saattaa mitätöidä joidenkin osien takuun.
Pysäköi kone tasaiselle alustalle, laske leikkuuyksiköt alas, kytke seisontajarru, sammuta moottori ja irrota virta-avain.
Puhdista suodattimen kiinnitysalueen ympäristö.
Aseta tyhjennysastia suodattimen alle ja irrota suodatin (Kuva 83 ja Kuva 84).
Voitele uuden suodattimen tiiviste ja täytä suodatin hydraulinesteellä.


Tarkista, että suodattimen asennuskohta on puhdas.
Kierrä suodatinta, kunnes kumitiiviste koskettaa asennuslevyä. Kiristä sitten vielä puoli kierrosta.
Käynnistä moottori ja anna sen käydä kaksi minuuttia, jotta kaikki ilma purkautuu järjestelmästä.
Sammuta moottori ja tarkista, että järjestelmässä ei ole vuotoja.
| Huoltoväli | Huoltotoimenpide |
|---|---|
| Aina ennen käyttöä tai päivittäin |
|
Pysäköi kone tasaiselle alustalle, laske leikkuuyksiköt alas, kytke seisontajarru, sammuta moottori ja irrota virta-avain.
Tarkista päivittäin, ettei hydrauliletkuissa ja -putkissa ole vuotoja, kulumia, säävahinkoja tai kemiallisia vaurioita ja etteivät letkut ole kiertyneet eivätkä kiinnitykset tai liitännät löystyneet. Suorita kaikki tarvittavat korjaukset ennen koneen käyttöä.
Kulunut tai vaurioitunut leikkuuyksikkö voi rikkoutua ja kelan tai kiinteän terän pala voi sinkoutua kohti käyttäjää tai ohikulkijaa, mikä voi aiheuttaa vakavan henkilövahingon tai kuoleman.
Leikkuuyksiköt on tarkistettava säännöllisesti kulumisen ja vaurioiden varalta.
Ole varovainen, kun tarkastat leikkuuyksiköitä. Kiedo terien ympärille esimerkiksi kangas tai käytä käsineitä ja noudata varovaisuutta keloja ja kiinteitä teriä huoltaessasi. Kelat ja kiinteät terät saa ainoastaan vaihtaa tai teroittaa. Niitä ei saa suoristaa eikä hitsata.
Ole varovainen käsitellessäsi moniteräisiä koneita, sillä yhden kelan kääntäminen saattaa kääntää myös muita teriä.
Kelojen tai muiden liikkuvien osien koskettaminen saattaa johtaa loukkaantumiseen.
Pidä sormet, kädet ja vaatteet etäällä keloista ja muista liikkuvista osista.
Älä yritä kääntää keloja kädellä tai jalalla moottorin käydessä.
Note: Läppäyksen aikana etuyksiköt toimivat yhdessä ja takayksiköt toimivat yhdessä.
Pysäköi kone tasaiselle alustalle, laske leikkuuyksiköt, kytke seisontajarru, sammuta moottori ja siirrä voimanulosoton kytkin POIS-asentoon.
Irrota salpa ja nosta konepelti, jotta pääset käsiksi ohjaimiin.
Tee kaikille läpättäville leikkuuyksiköille asianmukaiset kelan ja kiinteän terän kohdistukset läppäystä varten. Katso leikkuuyksikön käyttöopas.
Määritä läpättävät kelat valitsemalla joko etu- tai takaläppäysvipu tai molemmat (Kuva 85).
Käynnistä moottori ja anna sen käydä alhaisella joutokäynnillä.
Moottorin nopeuden muuttaminen läppäyksen aikana saattaa aiheuttaa kelojen pysähtymisen.
Älä muuta moottorin nopeutta läppäyksen aikana.
Läppää ainoastaan moottorin alhaisen joutokäynnin aikana.
Kosketus leikkuuyksiköihin saattaa aiheuttaa henkilövahingon.
Pysy etäällä leikkuuyksiköistä, kun siirryt seuraavaan toimenpiteeseen.
Kun leikkuunopeuden rajoitin on LEIKKUU-asennossa, siirrä voimanulosoton kytkin PääLLä-asentoon.
Aloita määritettyjen kelojen läppäys painamalla nostokytkintä.
Lisää läppäysainetta pitkävartisella harjalla.
Note: Älä käytä lyhytvartista harjaa.

Jos kelat pysähtyvät tai toimivat epäsäännöllisesti läppäyksen aikana, nosta tehoa, kunnes kela vakaantuu.
Jos haluat säätää leikkuuyksikköjä läppäyksen aikana, pysäytä kelat painamalla nostokytkimen takaosaa, siirrä voimanulosoton kytkin POIS-asentoon ja sammuta moottori. Toista vaiheet 5–9 säädön jälkeen.
Toista toimenpiteet kaikille läpättäville leikkuuyksiköille.
Kun läppäys on tehty, palauta läppäysvivut LEIKKUU-asentoon, laske konepelti ja pese leikkuuyksiköistä läppäysaine pois. Kohdista leikkuuyksikön kela ja kiinteä terä tarvittaessa. Siirrä leikkuuyksikön kelan nopeuden säätimet haluttuun leikkuuasentoon.
Important: Jos läppäyskytkintä ei palauteta POIS-asentoon läppäyksen jälkeen, leikkuuyksiköt eivät nouse eivätkä toimi oikein.
Note: Lisäohjeita läppäyksestä ja siihen liittyvistä menettelyistä löytyy Toro Sharpening Reel & Rotary Mowers -oppaasta, lomakenro 80-300SL.
Note: Saat paremman leikkuusärmän, jos pyyhkäiset kiinteän terän etusivua viilalla läppäyksen jälkeen. Tämä poistaa mahdolliset jäysteet ja epätasaisuudet, joita on saattanut muodostua leikkuusärmään.
Pysäköi kone tasaiselle alustalle, laske leikkuuyksiköt alas, kytke seisontajarru, sammuta moottori ja irrota virta-avain.
Puhdista ajoyksikkö, leikkuuyksiköt ja moottori huolellisesti.
Tarkista rengaspaineet. Katso Rengaspaineen tarkistus.
Tarkista, että kiinnikkeet eivät ole löysällä, ja kiristä ne tarvittaessa.
Rasvaa tai öljyä kaikki rasvanipat ja nivelet. Pyyhi pois ylimääräinen voiteluaine.
Hio varovasti ja maalaa korjausmaalilla maalipinnat, jotka ovat naarmuuntuneet, lohkeilleet tai ruostuneet. Korjaa kaikki metallirungossa olevat kolhut.
Huolla akku ja kaapelit seuraavasti. Katso kohta Sähköjärjestelmän turvallinen käyttö.
Irrota akkuliittimet akun navoista.
Puhdista akku, liittimet ja navat teräsharjalla ja ruokasoodaliuoksella.
Voitele kaapeliliittimet ja akun navat Grafo 112X -suojarasvalla (Toron osanro 505-47) tai vaseliinilla ruostumisen ehkäisemiseksi.
Lataa akkua hitaasti 60 päivän välein 24 tunnin ajan, jotta akkuun ei muodostu lyijysulfaattia.
Tyhjennä moottoriöljy öljypohjasta ja aseta tyhjennystulppa paikalleen.
Irrota ja hävitä öljynsuodatin. Asenna uusi öljynsuodatin.
Lisää moottoriin määrityksen mukaista moottoriöljyä.
Käynnistä moottori ja käytä sitä joutokäynnillä parin minuutin ajan.
Sammuta moottori ja irrota virta-avain.
Huuhtele polttoainesäiliö tuoreella ja puhtaalla polttoaineella.
Varmista kaikki polttoainejärjestelmän liitännät.
Puhdista ja huolla ilmanpuhdistinjärjestelmä perusteellisesti.
Tiivistä ilmanpuhdistimen imuaukko sekä pakoaukko säänkestävällä teipillä.
Tarkista pakkassuojaus ja lisää veden ja etyleeniglykolin seosta (50/50) alueella odotettavissa olevan alimman lämpötilan mukaan.