| Maintenance Service Interval | Maintenance Procedure |
|---|---|
| Before each use or daily |
|
This machine is a ride-on, reel-blade lawn mower intended to be used by professional, hired operators in commercial applications. It is primarily designed for cutting grass on well-maintained lawns in golf courses, parks, sports fields, and on commercial grounds. It is not designed for cutting brush, mowing grass and other growth alongside highways, or for agricultural uses.
Read this information carefully to learn how to operate and maintain your product properly and to avoid injury and product damage. You are responsible for operating the product properly and safely.
You may contact Toro directly at www.Toro.com for product safety and operation training materials, accessory information, help finding a dealer, or to register your product.
Whenever you need service, genuine Toro parts, or additional information, contact an Authorized Service Dealer or Toro Customer Service and have the model and serial numbers of your product ready. Figure 1 identifies the location of the model and serial numbers on the right front frame member of the product. Write the numbers in the space provided.

This manual identifies potential hazards and has safety messages identified by the safety-alert symbol (Figure 2), which signals a hazard that may cause serious injury or death if you do not follow the recommended precautions.

This manual uses 2 words to highlight information. Important calls attention to special mechanical information and Note emphasizes general information worthy of special attention.
This product complies with all relevant European directives. For details, please see the separate product specific Declaration of Conformity (DOC) sheet.
It is a violation of California Public Resource Code Section 4442 or 4443 to use or operate the engine on any forest-covered, brush-covered, or grass-covered land unless the engine is equipped with a spark arrester, as defined in Section 4442, maintained in effective working order or the engine is constructed, equipped, and maintained for the prevention of fire.
The enclosed engine owner’s manual is supplied for information regarding the US Environmental Protection Agency (EPA) and the California Emission Control Regulation of emission systems, maintenance, and warranty. Replacements may be ordered through the engine manufacturer.
CALIFORNIA
Proposition 65 Warning
Diesel engine exhaust and some of its constituents are known to the State of California to cause cancer, birth defects, and other reproductive harm.
Use of this product may cause exposure to chemicals known to the State of California to cause cancer, birth defects, or other reproductive harm.
This machine has been designed to meet or exceed EN ISO 5395:2013 (when appropriate decals are applied), and ANSI B71.4-2012.
This product is capable of amputating hands and feet and of throwing objects. Always follow all safety instructions to avoid serious personal injury.
Using this product for purposes other than its intended use could prove dangerous to you and bystanders.
Read and understand the contents of this Operator’s Manual before starting the engine.
Do not put your hands or feet near moving components of the machine.
Do not operate the machine without all guards and other safety protective devices in place and working on the machine.
Keep clear of any discharge opening. Keep bystanders and pets a safe distance away from the machine.
Keep children out of the operating area. Never allow children to operate the machine.
Stop the machine and shut off the engine before servicing, fueling, or unclogging the machine.
Improperly using or maintaining this machine can result in injury. To reduce the potential for injury, comply with these safety instructions and always pay attention to the safety-alert symbol, which means Caution, Warning, or Danger—personal safety instruction. Failure to comply with these instructions may result in personal injury or death.
You can find additional safety information where needed throughout this Operator’s Manual.
The engine in this machine is EU Stage 3A compliant.
![]() |
Safety decals and instructions are easily visible to the operator and are located near any area of potential danger. Replace any decal that is damaged or lost. |























Note: Determine the left and right sides of the machine from the normal operating position.
Depending on what width cutting units are to be installed on the traction unit, adjust the support rollers as follows:
Park the machine on a level surface, engage the parking brake, shut off the engine, and remove the key.
Parts needed for this procedure:
| Warning decal | 1 |
On machines requiring CE Compliance, affix the CE warning decal (Part No. 120-1686) over the standard warning decal (Part No. 120-1683).
Parts needed for this procedure:
| Hood-lock bracket | 1 |
| Rivet | 2 |
| Screw (1/4 x 2 inch) | 1 |
| Flat washer (1/4 inch) | 2 |
| Locknut (1/4 inch) | 1 |
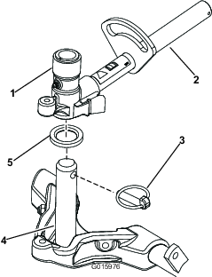
Unhook the hood latch from the hood-latch bracket (Figure 4).

Remove the 2 rivets securing the hood-latch bracket to the hood (Figure 5).

Remove the hood-latch bracket from the hood.
While aligning the mounting holes, position the CE lock bracket and the hood-latch bracket onto the hood.
Note: The lock bracket must be against the hood (Figure 5).Do not remove bolt and nut assembly from the lock-bracket arm.

Align the washers with the holes on the inside of the hood.
Rivet the brackets and the washers to the hood (Figure 6).
Hook the latch onto the hood-latch bracket (Figure 7).

Screw the bolt into the other arm of hood-lock bracket to lock the latch in position (Figure 8).

Tighten the bolt securely but do not tighten the nut.
Parts needed for this procedure:
| Front hose guide (right) | 1 |
| Front hose guide (left) | 1 |
Remove the reel motors from the shipping brackets.
Remove and discard the shipping brackets.
Remove the cutting units from the cartons.
Assemble and adjust as described in the cutting unit Operator's Manual.
Make sure that the counter weight (Figure 9) is installed to the proper end of the cutting unit as described in the cutting unit Operator's Manual.

All of the cutting units are shipped with the turf compensation spring mounted to the right side of the cutting unit. The turf compensation spring must be mounted to the same side of the cutting unit as the reel drive motor. Reposition the turf compensation as follows:
Remove the 2 carriage bolts and nuts securing the rod bracket to the cutting-unit tabs (Figure 10).

Remove the flange nut securing the spring-tube bolt to the carrier-frame tab (Figure 10)
Remove the assembly.
Mount the spring-tube bolt to the opposite tab on the carrier frame and secure with the flange nut.
Note: Position the bolt head to the outer side of the tab as shown in Figure 11.

Mount the rod bracket to the cutting unit tabs with the carriage bolts and nuts (Figure 11). On the cutting unit, mount the left hose guide to the front of the cutting unit tabs when reinstalling the rod bracket (Figure 13).
Important: On Cutting Unit 4 (left front) and Cutting Unit 5 (right front), use the rod-bracket mounting nuts to install the hose guides to the front of the cutting-unit tabs. The hose guides should lean toward the center cutting unit (Figure 12 through Figure 14).



Note: When installing or removing the cutting units, make sure that the hairpin cotter is installed in the spring-rod hole next to the rod bracket. Otherwise, the hairpin cotter must be installed in the hole in the end of the rod.
Increase the steering on the rear cutting units by removing the 2 pivot spacers, hex-socket screws, and flange locknuts (Figure 15) from the carrier frames of the rear cutting units (Cutting Units 2 and 3); refer to Figure 12.

Lower all of the lift arms completely.
Coat the carrier-frame shaft with clean grease (Figure 16).

For the front cutting units, slide a cutting unit under the lift arm while inserting the shaft of the carrier frame up into the lift-arm pivot yoke (Figure 16). Make sure that the thrust washer is in position on the carrier frame shaft.
Secure the carrier-frame shaft to the lift-arm yoke with the klik pin (Figure 16).
To lock (fix) the steering on the cutting units, secure the pivot yoke to the carrier frame with the snapper pin (Figure 17).

Note: Fixed steering is recommended when cutting on side hills.
Use the following procedure on the rear cutting units when the height of cut is above 19 mm (3/4 inch).
Remove the lynch pin and washer securing the lift-arm pivot shaft to the lift arm and slide the lift-arm pivot shaft out of the lift arm (Figure 18).

Insert the lift-arm yoke onto the carrier frame shaft (Figure 16).
Insert the lift-arm shaft into the lift arm and secure it with the washer and the lynch pin (Figure 18).
Secure the lift-arm chain to the chain bracket with the snapper pin (Figure 19).
Note: Use the number of chain links described in the cutting unit Operator's Manual.

Coat the spline shaft of the reel motor with clean grease.
Oil the reel motor O-ring and install it onto the motor flange.
Install the motor by rotating it clockwise so that the motor flanges clear the bolts (Figure 20).

Rotate the motor counterclockwise until the flanges encircle the bolts, and then tighten the bolts.
Important: Make sure that the reel motor hoses are not twisted, kinked, or at risk of being pinched.
The turf-compensation spring (Figure 21) transfers the weight from the front to the rear roller. This helps to reduce a wave pattern in the turf, also known as marcelling or bobbing.
Important: Make spring adjustments with the cutting unit mounted to the traction unit, pointing straight ahead and lowered to the shop floor.
Make sure that the hairpin cotter is installed in the rear hole in the spring rod (Figure 21).
Note: When servicing the cutting unit, move the hairpin cotter to the spring-rod hole next to the turf-compensation spring.

Tighten the hex nuts on the front end of the spring rod until the compressed length of the spring is 15.9 cm (6.25 inches); refer to Figure 21.
Note: When operating on rough terrain decrease the spring length by 13 mm (1/2 inch). Ground following will be slightly decreased.
Note: The turf compensation setting will need to be reset if the HOC setting or the Aggressiveness of Cut setting is changed.
Parts needed for this procedure:
| Cutting-unit kickstand | 1 |
Whenever the cutting unit has to be tipped to expose the bedknife/reel, prop up the rear of the cutting unit with the kickstand to make sure that the nuts on the back end of the bedbar adjusting screws are not resting on the work surface (Figure 22).

Secure the kickstand to the chain bracket with the snapper pin (Figure 23).

Before the machine is operated, it must be greased to ensure proper lubrication. Refer to Lubrication. Failure to properly grease the machine will result in premature failure of critical parts.
Check the level of the rear axle lubricant before the engine is first started, refer to Checking the Oil Level of the Rear Axle.
Check the level of the hydraulic fluid before the engine is first started, refer to Checking the Level of the Hydraulic Fluid.
Check the level of the engine oil before and after the engine is first started, refer to Checking the Level of the Engine Oil.
Parts needed for this procedure:
| Gauge bar | 1 |
Use the gauge bar to adjust the cutting unit. Refer to the cutting unit Operator's Manual for the adjustment procedures (Figure 24).

The 2 foot pedals (Figure 25) operate individual wheel brakes for turning assistance and to aid in obtaining better side hill traction.
The pedal-locking latch (Figure 25) connects the pedals together to engage the parking brake.
To engage the parking brake, (Figure 25) connect the pedals together with the pedal-locking latch, push down on the right brake pedal while engaging the toe pedal. To release the parking brake, press 1 of the brake pedals until the parking-brake latch retracts.

The traction pedal (Figure 25) controls forward and reverse operation. Press the top of the pedal to move forward and the bottom to move backward. Ground speed is determined by how far you press the pedal. For maximum ground speed, fully press the pedal while the throttle is in the FAST position.
To stop the machine, reduce your foot pressure on the traction pedal and allow it to return to the center position.
To tilt the steering wheel towards you, press the foot pedal (Figure 25) down, and pull the steering tower toward you to the most comfortable position and then release the pedal.
When the mow-speed limiter (Figure 26) is flipped up it will control the mow speed and allow the cutting units to be engaged. Each spacer adjusts the mowing speed by 0.8 km/h (½ mile per hour). The more spacers that there are on the top of the bolt, the slower the machine goes. For transport, flip back the mow-speed limiter and the machine will have maximum transport speed.
Adjust the screw(s) (Figure 26) to limit the amount the traction pedal can be pressed in the forward or reverse direction to limit speed.
Important: The speed-limiter screw must stop the traction pedal before the pump reaches full stroke or damage to the pump may occur.

This lever (Figure 27) raises and lowers the cutting units and also starts and stops the reels when the reels are enabled in the mow mode. The cutting units cannot be lowered when the mow/transport lever is in the transport position.
The key switch (Figure 27) has 3 positions: OFF, ON/PREHEAT, and START.
The InfoCenter LCD display shows information about your machine such as the operating status, various diagnostics and other information about the machine (Figure 27).
The PTO switch (Figure 27) has 2 positions: START and STOP. Push the PTO button forward to engage the cutting-unit blades. Push the button back to disengage the cutting-unit blades.

The engine-speed switch (Figure 27) has 2 modes to change the engine speed. By momentarily tapping the switch, the engine speed can be increased or decreased in 100 rpm increments. By holding the switch down the engine will automatically move to High or Low idle, depending on which end of the switch is pressed.
Pivot the switch downward to turn on the headlights (Figure 27).
Use the power point (Figure 28) to power optional 12V electrical accessories.

Use the bag holder (Figure 29) for storage.

Use the backlap levers for backlapping the reels (Figure 30).


Pull out on the lever to slide the seat fore or aft (Figure 31).
Rotate the knob to adjust the seat armrest angle (Figure 31).
Move the lever to adjust the seat back angle (Figure 31).
Indicates when the seat is adjusted to the weight of the operator (Figure 31). Height adjustment is made by positioning the suspension within the range of the green region.
Adjust for operator weight (Figure 31). Pull up on the lever to increase the air pressure and push down to decrease the air pressure. The proper adjustment is attained when the weight gauge is in the green region.
The InfoCenter LCD display shows information about your machine such as the operating status, various diagnostics, and other information about the machine (Figure 32) There is a splash screen and main information screen of the InfoCenter. You can switch between the splash screen and main information screen at any time by pressing any of the InfoCenter buttons and then selecting the appropriate directional arrow.

Left Button, Menu Access/Back Button—press this button to access the InfoCenter menus. You can use it to back out of any menu you are currently using.
Middle Button—use this button to scroll down menus.
Right Button—use this button to open a menu where a right arrow indicates additional content.
Manual Fan Reversal—activated by pressing the left and right buttons simultaneously.
Beeper—activated when lowering the decks or for advisories and faults.
Note: The purpose of each button may change depending on what is required at the time. Each button will be labeled with an icon displaying its current function.
| SERVICE DUE | Indicates when scheduled service should be performed |
![]() | Info icon |
![]() | Hour Meter |
![]() | Fast |
![]() | Slow |
![]() | Fan reversal—indicates when the fan is reversed |
![]() | Air intake heater is active |
![]() | Raise cutting units |
![]() | Lower cutting units |
![]() | Operator must sit in seat |
![]() | Parking Brake Indicator—indicates when the parking brake is On |
![]() | Identifies the range as High |
![]() | Neutral |
![]() | Identifies the range as Low |
![]() | Coolant Temperature-indicates the engine coolant temperature in either °C or °F |
![]() | Temperature (hot) |
![]() | Denied or not allowed |
![]() | PTO is engaged |
![]() | Engine Start |
![]() | Stop or shutdown |
![]() | Engine |
![]() | Key switch |
![]() | Indicates when the cutting units are being lowered |
![]() | Indicates when the cutting units are being raised |
![]() | PIN passcode |
![]() | Hydraulic Oil Temperature-indicates the hydraulic oil temperature |
![]() | CAN bus |
![]() | InfoCenter |
![]() | Bad or failed |
![]() | Bulb |
![]() | Output of TEC controller or control wire in harness |
![]() | High: over allowed range |
![]() | Low: under allowed range |
/![]() | Out of range |
![]() | Switch |
![]() | Operator must release switch |
![]() | Operator should change to indicated state |
| Symbols are often combined to form sentences. Some examples are shown below. | |
![]() | Operator should put machine in neutral |
![]() | Engine start denied |
![]() | Engine shutdown |
![]() | Engine coolant too hot |
![]() | Hydraulic oil too hot |
![]() | Sit down or set parking brake |
To access the InfoCenter menu system, press the menu access button while at the main screen. This will bring you to the main menu. Refer to the following tables for a synopsis of the options available from the menus:
| Main Menu | |
| Menu Item | Description |
| Faults | The Faults menu contains a list of the recent machine faults. Refer to the Service Manual or your Authorized Toro Distributor for more information on the Faults menu and the information contained there. |
| Service | The Service menu contains information on the machine such as hours of use counters and other similar numbers. |
| Diagnostics | The Diagnostics menu displays the state of each machine switch, sensor and control output. You can use this to troubleshoot certain issues as it will quickly tell you which machine controls are on and which are off. |
| Settings | The Settings menu allows you to customize and modify configuration variables on the InfoCenter display. |
| About | The About menu lists the model number, serial number, and software version of your machine. |
| Service | |
| Menu Item | Description |
| Hours | Lists the total number of hours that the machine, engine and PTO have been on, as well as the number of hours the machine has been transported and service due. |
| Counts | Lists numerous counts the machine has experienced. |
| Diagnostics | |
| Menu Item | Description |
| Cutting Units | Indicates the inputs, qualifiers, and outputs for raising and lowering the cutting units. |
| Hi/Low Range | Indicates the inputs, qualifiers, and outputs for driving in transport mode. |
| PTO | Indicates the inputs, qualifiers, and outputs for enabling the PTO circuit. |
| Engine Run | Indicates the inputs, qualifiers, and outputs for starting the engine. |
| Backlap | Indicates the inputs, qualifiers, and outputs for operating the backlap function. |
| Settings | |
| Menu Item | Description |
| Units | Controls the units used on the InfoCenter. The menu choices are English or Metric |
| Language | Controls the language used on the InfoCenter*. |
| LCD Backlight | Controls the brightness of the LCD display. |
| LCD Contrast | Controls the contrast of the LCD display. |
| Front Backlap Reel Speed | Controls the speed of the front reels in backlap mode. |
| Rear Backlap Reel Speed | Controls the speed of the rear reels in backlap mode. |
| Protected Menus | Allows the superintendant/mechanic to access protected menus by inputting a passcode. |
| Auto Idle | Controls the amount of time allowed before returning the engine to low idle when the machine is stationary. |
| Blade Count | Controls the number of blades on the reel for reel speed. |
| Mow Speed | Controls the ground speed for determining the reel speed. |
| Height of cut (HOC) | Controls the height of cut (HOC) for determining the reel speed. |
| F Reel RPM | Displays the calculated reel speed position for the front reels. The reels can also be manually adjusted. |
| R Reel RPM | Displays the calculated reel speed position for the rear reels. The reels can also be manually adjusted. |
* Only "operator-faced" text is translated. Faults, Service, and Diagnostics screens are "service-faced". Titles will be in the selected language, but menu items are in English.
| About | |
| Menu Item | Description |
| Model | Lists the model number of the machine. |
| SN | Lists the serial number of the machine. |
| Machine Controller Revision | Lists the software revision of the master controller. |
| InfoCenter Revision | Lists the software revision of the InfoCenter. |
| CAN Bus | Lists the machine communication bus status. |
There are 5 operating configuration settings that are adjustable within the Settings Menu of the InfoCenter: Blade Count, Mow Speed, Height of Cut (HOC), F Reel RPM, and R Reel RPM. These settings can be locked by using the Protected Menu.
Note: At the time of delivery, the initial password code is programmed by your distributor.
From the Main Menu, scroll down to the Settings Menu and press the right button.
In the Settings Menu, scroll down to the Protected Menu and press the right button.
To enter the passcode, use the center button to set the first digit then press the right button to move on to the next digit.
Use the center button to set the second digit then press the right button to move on to the next digit.
Use the center button to set the third digit then press the right button to move on to the next digit.
Use the center button to set the fourth digit then press the right button.
Press the middle button to enter the code.
If the code has been accepted and the protected menu has been “Unlocked”, “PIN” will be displayed in the upper right corner of the display screen.
The ability to view and change the settings in the Protected Menu can be changed. Once the Protected Menu has been accessed, scroll down to Protect Settings. Using the right button, changing Protect Settings to Off will allow the ability to view and change the settings in the Protected Menu without entering the passcode. Changing Protect Settings to On will hide the protected options and will require entering a passcode to change the setting in the Protected Menu. After the pass code has been set, the key switch must be turned off and back on to enable and save this feature.
Note: If the passcode has been forgotten or misplaced, please contact your distributor for assistance.
In the Settings Menu, scroll down to Auto Idle.
Press the right button to change the auto idle time between Off, 8S, 10S, 15S, 20S, and 30S.
In the Settings Menu, scroll down to Blade Count
Press the right button to change the Blade Count between 5, 8, or 11 blades.
In the Settings Menu, scroll down to Mow Speed.
Press the right button to select mow speed.
Use the center and right button to select the appropriate mow speed set on the mechanical mow-speed limiter on the traction pedal.
Press the left button to exit mow speed and save the setting.
In the Settings Menu, scroll down to HOC.
Press the right button to select HOC.
Use the center and right button to select the appropriate HOC setting.
Note: If the exact setting is not displayed, select the nearest HOC setting from the list displayed.
Press the left button to exit HOC and save the setting.
Although the front and rear reel speeds are calculated by inputting the number of blades, mow speed and HOC into the InfoCenter, you can manually change the setting to accommodate different mowing conditions.
Scroll down to the F Reel RPM, R Reel RPM, or both.
Press the right button to change the reel speed value. As the speed setting is changed, the display will continue to show the calculated reel speed based on blade count, mow speed, and HOC which was previously entered, but the new value will also be displayed.
Note: Specifications and design are subject to change without notice.
| Width of cut, 27-inch cutting units | 307 cm (121 inches) |
| Width of cut, 32-inch cutting units | 320 cm (126 inches) |
| Overall width, 27-inch cutting units down | 345 cm (136 inches) |
| Overall width, 32-inch cutting units down | 358 cm (141 inches) |
| Overall width, cutting units up (transport) | 239 cm (94 inches) |
| Overall length | 370 cm (146 inches) |
| Height with ROPS | 220 cm (87 inches) |
| Track width, front | 229 cm (90 inches) |
| Track width, rear | 141 cm (55.5 inches) |
| Wheelbase | 171 cm (67.5 inches) |
| Net weight (with no cutting units and no fluids) | 1,574 kg (3,470 lb) |
A selection of Toro approved attachments and accessories is available for use with the machine to enhance and expand its capabilities. Contact your Authorized Service Dealer or Distributor or go to www.Toro.com for a list of all approved attachments and accessories.
Note: Determine the left and right sides of the machine from the normal operating position.
Never allow children or untrained people to operate or service the machine. Local regulations may restrict the age of the operator. The owner is responsible for training all operators and mechanics.
Become familiar with the safe operation of the equipment, operator controls, and safety signs.
Know how to stop the machine and engine quickly.
Check that operator-presence controls, safety switches, and shields are attached and functioning properly. Do not operate the machine unless they are functioning properly.
Before mowing, always inspect the machine to ensure that the blades, blade bolts, and cutting assemblies are in good working condition. Replace worn or damaged blades and bolts in sets to preserve balance.
Inspect the area where you will use the machine and remove all objects that the machine could throw.
Use extreme care in handling fuel. It is flammable and its vapors are explosive.
Extinguish all cigarettes, cigars, pipes, and other sources of ignition.
Use only an approved fuel container.
Never remove the fuel cap or fill the fuel tank while the engine is running or hot.
Never refuel the machine in an enclosed space.
Never store the machine or fuel container where there is an open flame, spark, or pilot light, such as on a water heater or other appliance.
If you spill fuel, do not attempt to start the engine; avoid creating any source of ignition until the fuel vapors have dissipated.
Carefully read all safety instructions and symbols in the safety section. Knowing this information could help you or bystanders avoid injury.
Operating on wet grass or steep slopes can cause sliding and loss of control.
Wheels dropping over edges can cause rollovers, which may result in serious injury, death, or drowning.
Read and follow the rollover protection instructions and warnings.
To avoid loss of control and possibility of rollover:
Do not operate near drop-offs or near water.
Do not operate on slopes greater than specified for your machine model.
Reduce speed and use extreme caution on slopes.
Avoid sudden turns or rapid speed changes.
This machine produces sound levels that can cause hearing loss through extended periods of exposure.
Wear hearing protection when operating this machine.

| Maintenance Service Interval | Maintenance Procedure |
|---|---|
| Before each use or daily |
|
The engine is shipped with oil in the crankcase; however, the oil level must be checked before and after the engine is first started.
The crankcase capacity is approximately 9.5 L (10 US qt) with the filter.
Use high-quality engine oil that meets the following specifications:
API Classification Level Required: CH-4, CI-4, or higher.
Preferred oil: SAE 15W-40: above 18°C (0°F)
Alternate oil: SAE 10W-30 or 5W-30 (all temperatures)
Note: Toro Premium Engine oil is available from your distributor in either 15W-40 or 10W-30 viscosity. See the parts catalog for part numbers.
Note: The best time to check the engine oil is when the engine is cool before it has been started for the day. If it has already been run, allow the oil to drain back down to the sump for at least 10 minutes before checking. If the oil level is at or below the Add mark on the dipstick, add oil to bring the oil level to the Full mark. Do not overfill the engine. If the oil level is between the Full and Add marks, no oil addition is required.
Park the machine on a level surface.
Unlock the hood latches and open the hood (Figure 34).

Remove the dipstick, wipe it clean, install the dipstick into the tube, and pull it out again.
The oil level should be in the safe range (Figure 35).

If the oil is below the safe range, remove the fill cap (Figure 36) and add oil until the level reaches the Full mark.
Important: Do not overfill the engine.

Note: When using different oil, drain all old oil from the crankcase before adding new oil.
Install the oil fill cap and dipstick.
Close the hood and secure it with the latches.
| Maintenance Service Interval | Maintenance Procedure |
|---|---|
| Before each use or daily |
|
Check the level of the coolant at the beginning of each day. The capacity of the system is 12.3 L (13 US qt).
Carefully remove the radiator cap.
If the engine has been running, the pressurized, hot coolant can escape and cause burns.
Do not open the radiator cap when the engine is running.
Use a rag when opening the radiator cap, and open the cap slowly to allow steam to escape.

Check the coolant level in the radiator.
Note: The radiator should be filled to the top of the filler neck and the expansion tank filled to the Full mark (Figure 37).
If the coolant is low, add a 50/50 mixture of water and ethylene glycol antifreeze.
Note: Do not use water only or alcohol/methanol-based coolants.
Install the radiator cap and the expansion-tank cap.
Fuel-tank capacity: 83 L (22 US gallons).
Use only clean, fresh diesel fuel with ultra-low (<15 ppm) sulfur content meeting ASTM D 975 or EN 590 specifications. The minimum cetane rating should be 40. Purchase fuel in quantities that can be used within 180 days to ensure fuel freshness.
Important: Use of non-ultra-low sulfur fuel will cause damage to the engine emission system.
Use summer-grade diesel fuel (No. 2-D) at temperatures above -7° C (20° F) and winter-grade (No. 1-D or No. 1-D/2-D blend) below that temperature. Use of winter-grade fuel at lower temperatures provides lower flash point and cold flow characteristics which will ease starting and reduce plugging of the fuel filter.
Use of summer-grade fuel above -7° C (20° F) will contribute toward longer fuel-pump life and increased power compared to winter-grade fuel.
Important: Do not use kerosene or gasoline instead of diesel fuel. Failure to observe this caution will damage the engine.
This machine can also use a biodiesel-blended fuel of up to B20 (20% biodiesel, 80% petrodiesel). The petrodiesel portion should be low or ultra-low sulfur. Observe the following precautions:
The biodiesel portion of the fuel must meet specification ASTM D6751 or EN14214.
The blended-fuel composition should meet ASTM D975 or EN590.
Painted surfaces may be damaged by biodiesel blends.
Use B5 (biodiesel content of 5%) or lesser blends in cold weather.
Monitor seals, hoses, and gaskets in contact with fuel as they may be degraded over time.
Plugging of the fuel filter may be expected for a time after converting to biodiesel blends.
Contact your distributor if you wish for more information on biodiesel.
Fuel is harmful or fatal if swallowed. Long-term exposure to vapors can cause serious injury and illness.
Avoid prolonged breathing of vapors.
Keep face away from nozzle and fuel tank or conditioner opening.
Keep fuel away from eyes and skin.
In certain conditions, fuel is extremely flammable and highly explosive. A fire or explosion from fuel can burn you and others and can damage property.
Fill the fuel tank outdoors, in an open area, when the engine is cold. Wipe up any fuel that spills.
Never fill the fuel tank inside an enclosed trailer.
Never smoke when handling fuel, and stay away from an open flame or where fuel fumes may be ignited by a spark.
Store fuel in an approved container and keep it out of the reach of children. Never buy more than a 180-day supply of fuel.
Do not operate machine without entire exhaust system in place and in proper working condition.
In certain conditions during fueling, static electricity can be released causing a spark which can ignite the fuel vapors. A fire or explosion from fuel can burn you and others and can damage property.
Always place fuel containers on the ground away from your vehicle before filling.
Do not fill fuel containers inside a vehicle or on a truck or trailer bed because interior carpets or plastic truck bed liners may insulate the container and slow the loss of any static charge.
When practical, remove equipment from the truck or trailer and refuel the equipment with its wheels on the ground.
If this is not possible, then refuel such equipment on a truck or trailer from a portable container, rather than from a fuel dispenser nozzle.
If a fuel dispenser nozzle must be used, keep the nozzle in contact with the rim of the fuel tank or container opening at all times until fueling is complete.
Park the machine on a level surface.
Using a clean rag, clean the area around the fuel-tank cap.
Remove the cap from the fuel tank (Figure 38).

Fill the tank until the level is to the bottom of the filler neck with fuel.
Install the fuel-tank cap tightly after filling the tank.
Note: If possible, fill the fuel tank after each use. This will minimize possible buildup of condensation inside the fuel tank.
| Maintenance Service Interval | Maintenance Procedure |
|---|---|
| Before each use or daily |
|
The reservoir is filled at the factory with approximately 28.4 L (7.5 US gallons) of high-quality hydraulic fluid. Check the level of the hydraulic fluid before the engine is first started and daily thereafter.
The recommended replacement fluid is Toro Premium All Season Hydraulic Fluid (available in 5-gallon pails or 55-gallon drums. See parts catalog or Toro distributor for part numbers).
Alternative fluids: If the Toro fluid is not available, other conventional, petroleum-based fluids may be used, provided that they meet all of the following material properties and industry specifications. Check with your oil supplier to see whether the fluid meets these specifications.
Note: Toro will not assume responsibility for damage caused by improper substitutions, so use only products from reputable manufacturers who will stand behind their recommendation.
| High Viscosity Index/Low Pour Point Antiwear Hydraulic Fluid, ISO VG 46 Multigrade | |||
| Material Properties: | |||
| Viscosity, ASTM D445 | cSt @ 40°C (104°F) 44 to 48cSt @ 100°C (212°F) 7.9 to 9.1 | ||
| Viscosity index, ASTM D2270 | 140 or higher (high viscosity index indicates a multiweight fluid) | ||
| Pour point, ASTM D97 | -37°C to -45°C (-34°F to -49°F) | ||
| FZG, fail stage | 11 or better | ||
| Water content (new fluid) | 500 ppm (maximum) | ||
| Industry Specifications: | |||
| Vickers I-286-S, Vickers M-2950-S, Denison HF-0, Vickers 35 VQ 25 (Eaton ATS373-C) | |||
The proper hydraulic fluids must be specified for mobile machinery (as opposed to industrial plant usage), multiweight-type, with ZnDTP or ZDDP anti-wear additive package (not an ashless-type fluid).
Important: The ISO VG 46 Multigrade fluid has been found to offer optimal performance in a wide range of temperature conditions. For operation in consistently high ambient temperatures, 18° C (65° F) to 49° C (120° F), ISO VG 68 hydraulic fluid may offer improved performance.
Premium Biodegradable Hydraulic Fluid-Mobil EAL EnviroSyn 46H
Important: Mobil EAL EnviroSyn 46H is the only synthetic biodegradable fluid approved by Toro. This fluid is compatible with the elastomers used in Toro hydraulic systems and is suitable for a wide range of temperature conditions. This fluid is compatible with conventional fluids, but for maximum biodegradability and performance the hydraulic system should be thoroughly flushed of conventional fluid. The fluid is available in 19 L (5 US gallon) containers or 208 L (55 US gallon) drums from your Mobil Distributor.
Important: Many hydraulic fluids are almost colorless, making it difficult to spot leaks. A red dye additive for the hydraulic fluid is available in 20 ml (2/3 fl oz) bottles. A bottle is sufficient for 15 to 22 L (4 to 6 US gallons) of hydraulic fluid. Order part 44-2500 from your Authorized Toro Distributor.
Position the machine on a level surface, lower the cutting units, stop the engine, and remove the key.
Clean the area around the filler neck and cap of the hydraulic tank (Figure 39).

Remove the cap from the filler neck.
Remove the dipstick from the filler neck and wipe it with a clean rag.
Insert the dipstick into the filler neck; then remove it and check the fluid level.
Note: The fluid level should be between the 2 marks on the dipstick.
If the level is low, add the appropriate fluid to raise the level to the upper mark.
Install the dipstick and cap onto the filler neck.
| Maintenance Service Interval | Maintenance Procedure |
|---|---|
| Before each use or daily |
|
The tires are overinflated for shipping. Therefore, release some of the air to reduce the pressure. The correct air pressure in the tires is 83 to 103 kPa (12 to 15 psi). Check the tire pressure daily.
Important: Maintain the recommended pressure in all tires to ensure a good quality of cut and proper machine performance. Do not underinflate the tires.
The owner/operator can prevent and is responsible for accidents that may cause personal injury or property damage.
Wear appropriate clothing, including eye protection; slip-resistant, substantial foot protection; and hearing protection. Tie back long hair and do not wear jewelry.
Do not operate the machine while ill, tired, or under the influence of alcohol or drugs.
Never carry passengers on the machine and keep bystanders and pets away from the machine during operation.
Operate the machine only in good visibility to avoid holes or hidden hazards.
Avoid mowing on wet grass. Reduced traction could cause the machine to slide.
Before you start the engine, ensure that all drives are in neutral, the parking brake is engaged, and you are in the operating position.
Keep your hands and feet away from the cutting units. Keep clear of the discharge opening at all times.
Look behind and down before backing up to be sure of a clear path.
Use care when approaching blind corners, shrubs, trees, or other objects that may obscure your vision.
Do not mow near drop-offs, ditches, or embankments. The machine could suddenly roll over if a wheel goes over the edge or if the edge gives way.
Stop the cutting units whenever you are not mowing.
Stop the machine and inspect the cutting units after striking an object or if there is an abnormal vibration in the machine. Make all necessary repairs before resuming operation.
Slow down and use caution when making turns and crossing roads and sidewalks with the machine. Always yield the right-of-way.
Disengage the drive to the cutting unit and shut off the engine before adjusting the height of cut (unless you can adjust it from the operating position).
Never run an engine in an area where exhaust gasses are enclosed.
Never leave a running machine unattended.
Before leaving the operating position (including to empty the catchers or to unclog the chute), do the following:
Park the machine on level ground.
Disengage the power take-off and lower the attachments.
Engage the parking brake.
Shut off the engine and remove the key.
Wait for all moving parts to stop.
Do not operate the machine when there is the risk of lightning.
Do not use the machine as a towing vehicle.
Use accessories, attachments, and replacement parts approved by The Toro® Company only.
Do not remove the ROPS from the machine.
Ensure that the seat belt is attached and that you can release it quickly in an emergency.
Check carefully for overhead obstructions and do not contact them.
Keep the ROPS in safe operating condition by thoroughly inspecting it periodically for damage and keeping all the mounting fasteners tight.
Replace a damaged ROPS. Do not repair or alter it.
Always use the seat belt with the roll bar in the raised position.
The ROPS is an integral safety device. Keep a folding roll bar in the raised and locked position, and use the seat belt when operating the machine with the roll bar in the raised position.
Lower a folding roll bar temporarily only when necessary. Do not wear the seat belt when the roll bar is folded down.
Be aware that there is no rollover protection when a folded roll bar is in the down position.
Check the area that you will be mowing and never fold down a folding roll bar in areas where there are slopes, drop-offs, or water.
Establish your own procedures and rules for operating on slopes. These procedures must include surveying the site to determine which slopes are safe for machine operation. Always use common sense and good judgment when performing this survey.
Slopes are a major factor related to loss-of-control and tip-over accidents, which can result in severe injury or death. Operating the machine on any slope requires extra caution.
Operate the machine at a lower speed when you are on a slope.
If you feel uneasy operating the machine on a slope, do not do it.
Watch for holes, ruts, bumps, rocks, or other hidden objects. Uneven terrain could overturn the machine. Tall grass can hide obstacles.
Choose a low ground speed so you will not have to stop or shift while on a slope.
A rollover can occur before the tires lose traction.
Avoid operating the machine on wet grass. Tires may lose traction; regardless if the brakes are available and functioning.
Avoid starting, stopping, or turning the machine on a slope.
Keep all movement on slopes slow and gradual. Do not suddenly change the speed or direction of the machine.
Do not operate the machine near drop-offs, ditches, embankments, or bodies of water. The machine could suddenly roll over if a wheel goes over the edge or the edge caves in. Establish a safety area between the machine and any hazard (2 machine widths).
Important: Bleed the fuel system if any of the following situations have occurred:
The engine has ceased running due to lack of fuel.
Maintenance has been performed upon the fuel system components.
Remove your foot from the traction pedal and ensure that the pedal is in the NEUTRAL position.
Note: Ensure that the parking brake is engaged.
Move the engine-speed switch to the LOW IDLE position.
Turn the ignition key to the RUN position.
Note: The glow indicator will light.
When the glow indicator dims, turn the ignition key to the START position.
Release the key immediately when the engine starts and allow it to return to the RUN position.
Adjust the engine speed.
Important: Do not run the starter motor more than 15 seconds at a time or premature starter failure may result. If the engine fails to start after 15 seconds, turn the key to the OFF position, recheck the controls and procedures, wait 15 additional seconds, and repeat the starting procedure.
When the temperature is less than -7°C (20°F), the starter motor can be run for 30 seconds on then 60 seconds off for 2 attempts.
Contact with moving parts could result in injury.
Shut off the engine and wait for all moving parts to stop before checking for oil leaks, loose parts, and other malfunctions.
Important: Allow the engine to idle for 5 minutes before shutting it off after a full-load operation. This allows the turbocharger to cool down before shutting off the engine. Failure to do so may lead to turbocharger trouble.
Note: Lower the cutting units to the ground whenever you park the machine. This relieves the hydraulic load from the system, prevents wear on system parts, and also prevents accidental lowering of the cutting units.
Return the engine speed to low idle.
Move the PTO switch to the OFF position.
Engage the parking brake.
Rotate the ignition key to OFF.
Remove the key from the switch to prevent accidental starting.
You can adjust the counterbalance on the rear cutting-unit lift arms to compensate for different turf conditions and to maintain a uniform height of cut in rough conditions or in areas of thatch buildup.
You can adjust each counterbalance spring to 1 of 4 settings. Each increment increases or decreases the counterbalance on the cutting unit by 2.3 kg (5 lb). The springs can be positioned on the back side of the spring actuator to remove all counterbalance (fourth position).
Position the machine on a level surface, lower the cutting units, stop the engine, engage the parking brakes, and remove the key from the ignition switch.
Insert a tube or similar object onto the long spring end to relieve the spring tension during the adjustment (Figure 40).
The springs are under tension and could cause personal injury.
Use caution when adjusting the springs.
While relieving the spring tension, remove the bolt and locknut securing the spring actuator to the bracket (Figure 40).

Move the spring actuator to the desired hole location and secure it with the locknut.
Repeat the procedure on the remaining spring.
Position the machine on a level surface, lower the cutting units, stop the engine, engage the parking brakes, and remove the key from the ignition switch.
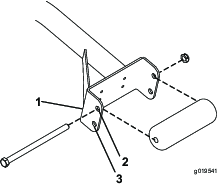
The lift-arm switch is located behind the front right lift arm (Figure 41).

Loosen the switch mounting screws (Figure 41) and move the switch up to increase the lift-arm turnaround height or move the switch down to decrease the lift-arm turnaround height.
Tighten the mounting screws.
You can fold the ROPS frame down to allow access into areas of restricted height.
The machine does not have a rollover protection system (ROPS) when the roll bar is folded down and should not be considered a ROPS.
Do not wear a seatbelt when the roll bar is lowered.
Park the machine on a level surface, shut off the engine, engage the parking brake, and remove the key from the ignition switch.
Support the weight of the upper frame while removing the snap pins and clevis pins from the pivot brackets (Figure 42).
Carefully lower the frame downwards until it rests on the stops.
Insert the clevis pins in the lower holes and secure them with the snap pins to support the upper frame in its lowered position.
To raise the frame, follow these instructions in reverse order.

The ROPS protection system may not be effective if the ROPS retaining bolt assemblies are loose, which may cause serious injury or even death in the event of a rollover.
When in the raised position, both retaining bolt assemblies must be installed and fully tightened to ensure full ROPS protection.
When lowering and raising the ROPS frame, fingers may get pinched between the machine and the ROPS.
Use caution when lowering and raising the ROPS to prevent entrapment of fingers between fixed part and pivot part of the structure.
Keep all nuts, bolts, and screws correctly torqued ensure that the equipment is in safe working condition.
Replace worn or damaged parts for safety.
Ensure that the seat belt and mountings are in safe working order.
Wear the seat belt when the roll bar is raised and no seat belt when the roll bar is lowered.
Important: The roll bar is an integral safety device. Keep the roll bar in the raised position when operating the mower. Lower the roll bar temporarily only when absolutely necessary.
| Maintenance Service Interval | Maintenance Procedure |
|---|---|
| Before each use or daily |
|
If safety interlock switches are disconnected or damaged the machine could operate unexpectedly causing personal injury.
Do not tamper with the interlock switches.
Check the operation of the interlock switches daily and replace any damaged switches before operating the machine.
The machine has interlock switches in the electrical system. These switches are designed to shut off the engine when operator gets off of the seat when the traction pedal is pressed. However, the operator may get off of the seat while the engine is running and the traction pedal is in neutral. Although the engine will continue to run if the PTO switch is disengaged and the traction pedal is released, it is strongly recommended that the engine be stopped before rising from the seat.
To check the operation of the interlock switches, perform the following procedure:
Drive the machine slowly to a large, relatively open area.
Lower the cutting units, shut off the engine, and engage the parking brake.
Sit on the seat and press the traction pedal.
Try to start the engine.
Note: The engine should not crank. If the engine cranks, there is a malfunction in the interlock system that should be corrected before beginning operation.
Sit on the seat and start the engine.
Rise from the seat and move the PTO switch to the On position.
Note: The PTO should not engage. If the PTO engages, there is a malfunction in the interlock system that should be corrected before beginning operation.
Sit on the seat, engage the parking brake, and start the engine.
Move the traction pedal out of the NEUTRAL position.
Note: The engine should shut off. If the engine does not shut off, there is a malfunction in the interlock system that should be corrected before beginning operation.
Clean grass and debris from the cutting units, mufflers, and engine compartment to help prevent fires. Clean up oil or fuel spills.
If the cutting units are in the transport position, use the positive mechanical lock (if available) before you leave the machine unattended.
Allow the engine to cool before storing the machine in any enclosure.
Shut off the fuel before storing or transporting the machine.
Never store the machine or fuel container where there is an open flame, spark, or pilot light, such as on a water heater or on other appliances.
Keep all parts of the machine in good working condition and all hardware tightened, especially blade-attachment hardware.
Replace all worn or damaged decals.
In an emergency, you can move the machine by actuating the bypass valve in the variable displacement hydraulic pump and installing a hydraulic hose to bypass the check valve, and then pushing or towing the machine.
Important: Do not push or tow the machine faster than 3 to 4.8 km/h (2 to 3 mph) or for more than 0.4 km (1/4 mile), because internal transmission damage may occur. The bypass valve must be open whenever you push or tow the machine. Additionally, you need to install a hydraulic hose to bypass the check valve whenever you push or tow the machine in reverse.
If you need to push or tow your machine, you will likely need to move it both forward and in reverse. To ensure that the drive system does not become damaged from pushing or towing, it is best to prepare the machine for both forward and reverse pushing or towing.
Important: If you need to push or tow the machine in reverse, you must first bypass the check valve in the 4-wheel-drive manifold.
The following Toro parts are needed to bypass the check valve:
Toro Part No. 59-7410, diagnostic fitting
Toro Part No. 354-79, diagnostic-fitting cap
Toro Part No. 95-8843, hydraulic hose
Toro Part No. 95-0985, coupler fitting (2)
Toro Part No. 340-77, hydraulic fitting (2)
Install a diagnostic fitting in the unmarked port located between ports M8 and P2 on the rear traction manifold (Figure 43).

Connect a hydraulic hose between the diagnostic fitting installed in the rear traction manifold and the reverse traction pressure test port (Figure 44).
Note: Use the hydraulic fittings and coupler fittings as needed to install the hose.

Rotate the bypass valve 90° (1/4 turn) in either direction to open it and allow fluid to bypass internally (Figure 45).
Note: Because the fluid bypasses the transmission, you can move the machine slowly without damaging the transmission.Note the position of the valve when opening and closing it.

When you are finished pushing or towing the machine, remove the hydraulic hose that you installed.
Install the existing cap onto the reverse traction pressure test port.
Install the diagnostic-fitting cap onto the fitting that you installed on the manifold.
Rotate the bypass valve 90° (1/4 turn) back before starting the engine.
Note: Do not exceed 7 to 11 N∙m (5 to 8 ft-lb) torque to close the valve.
If you need to push or tow the machine forward only, you can just rotate the bypass valve.
Important: If you need to push or tow the machine in reverse, refer to Preparing the Machine for Pushing or Towing in Reverse.
Open the hood and remove the center shroud.
Rotate the bypass valve 90° (1/4 turn) in either direction to open it and allow fluid to bypass internally (Figure 45).
Note: Because the fluid bypasses the transmission, you can move the machine forward slowly without damaging the transmission.Note the position of the valve when opening and closing it.
Rotate the bypass valve 90° (1/4 turn) back before starting the engine.
Note: Do not exceed 7 to 11 N∙m (5 to 8 ft-lb) torque to close the valve.
Use full-width ramps for loading the machine onto a trailer or truck.
Tie the machine down securely.
The jacking points are in the following locations:
On the front of the machine on the frame on the inside of each drive tire
On the rear of the machine at the center of the axle
The tie-down points are in the following locations:
On each side of the frame under the front steps
The rear bumper
Practice driving the machine because it has a hydrostatic transmission and its characteristics are different than many turf-maintenance machines. Some points to consider when operating the traction unit and cutting units are the transmission, engine speed, load on the cutting blades, and the importance of the brakes.
To maintain enough power for the machine while operating, regulate the traction pedal to keep the engine speed high and somewhat constant. A good rule to follow is to decrease the ground speed as the load on the cutting units increases, and increase the ground speed as the load decreases.
Therefore, allow the traction pedal to move backward as the engine speed decreases, and press the pedal slowly as the speed increases. By comparison, when driving from one work area to another, with no load and the cutting unit raised, have the throttle in the Fast position and press the traction pedal slowly but fully to attain maximum ground speed.
Another characteristic to consider is the operation of the pedals that are connected to the brakes. You can use the brakes to assist in turning the machine. However, use them carefully, especially on soft or wet grass, because the turf may be torn accidentally. Another benefit of the brakes is to maintain traction. For example, in some slope conditions, the uphill wheel slips and loses traction. If this situation occurs, press the uphill turn pedal gradually and intermittently until the uphill wheel stops slipping, thus increasing traction on the downhill wheel.
Use extra care when operating the machine on slopes. Make sure that the seat latch is properly secured, the roll bar is raised and secured, and the seat belt is buckled. Drive slowly and avoid sharp turns on slopes to prevent rollovers.
Important: Allow engine to idle for 5 minutes before shutting it off after a full load operation. This allows the turbocharger to cool down before shutting off the engine. Failure to do so may lead to turbocharger trouble.
Before shutting off the engine, disengage all controls and move the throttle to SLOW. Moving the throttle to SLOW reduces high engine speed, noise, and vibration. Turn the key to OFF to shut off the engine.
Before mowing grass, practice operating the machine in an open area. Start and shut off the engine. Operate in forward and reverse. Lower and raise the cutting units and engage and disengage the reels. When you feel familiar with the machine, practice operating up and down slopes at different speeds.
If a warning light comes on during operation, stop the machine immediately and correct the problem before continuing operation. Serious damage could occur if you operate the machine with a malfunction.
Start the engine and move the engine speed switch to the FAST position. Move the mow speed limiter to the MOW position. Move the PTO switch to the ON position and use the lift switch to control the cutting units (the front cutting units are timed to lower before the rear cutting units). To move forward and cut grass, press the traction pedal forward.
Move the PTO switch to the OFF position and raise the cutting units to the transport position. Move the mow speed limiter to the transport position. Be careful when driving between objects so that you do not accidentally damage the machine or cutting units. Use extra care when operating the machine on slopes. Drive slowly and avoid sharp turns on slopes to prevent rollovers.
Note: Determine the left and right sides of the machine from the normal operating position.
| Maintenance Service Interval | Maintenance Procedure |
|---|---|
| After the first 8 hours |
|
| After the first 200 hours |
|
| Before each use or daily |
|
| Every 50 hours |
|
| Every 100 hours |
|
| Every 200 hours |
|
| Every 250 hours |
|
| Every 400 hours |
|
| Every 800 hours |
|
| Before storage |
|

If you leave the key in the ignition switch, someone could accidently start the engine and seriously injure you or other bystanders.
Remove the key from the ignition before you do any maintenance.
Before adjusting, cleaning, repairing, or leaving the machine, do the following:
Park the machine on a level surface.
Move the throttle switch to the low-idle position.
Disengage the cutting units.
Lower the cutting units.
Ensure that the traction is in neutral.
Engage the parking brake.
Shut off the engine and remove the key.
Wait for all moving parts to stop.
Allow machine components to cool before performing maintenance.
If the cutting units are in the transport position, use the positive mechanical lock (if available) before you leave the machine unattended.
If possible, do not perform maintenance while the engine is running. Keep away from moving parts.
Use jack stands to support the machine or components when required.
Carefully release pressure from components with stored energy.
Release the hood latches (Figure 47) and pivot open the hood.

Remove the cotter pins securing the rear hood brackets to the frame pins and lift off the hood.
| Maintenance Service Interval | Maintenance Procedure |
|---|---|
| Every 50 hours |
|
The machine has grease fittings that must be lubricated regularly with No. 2 lithium grease. If the machine is operated under normal conditions, lubricate all bearings and bushings after every 50 hours of operation or immediately after every washing.
The grease fitting locations and quantities are as follows:
Brake shaft pivot bearings (5) (Figure 48)

Rear axle pivot bushings (2) (Figure 49)

Steering cylinder ball joints (2) (Figure 50)

Tie rod ball joints (2) (Figure 50)
King pin bushings (2) (Figure 50). The top fitting on the king pin should only be lubricated annually (2 pumps).
Lift arm bushings (1 per cutting unit) (Figure 51)

Lift cylinder bushings (2 per cutting unit) (Figure 51)
Lift arm pivot bushings (1 per cutting unit) (Figure 52)
Cutting unit carrier frame (2 per cutting unit) (Figure 52)
Cutting unit lift arm pivot (1 per cutting unit) (Figure 52)

Shut off the engine before checking the oil or adding oil to the crankcase.
Do not change the governor speed or overspeed the engine.
| Maintenance Service Interval | Maintenance Procedure |
|---|---|
| Every 400 hours |
|
Check the air-cleaner body for damage which could cause an air leak. Replace it if it is damaged. Check the whole intake system for leaks, damage, or loose hose clamps.
Service the air-cleaner filter only when the service indicator (Figure 53) requires it. Changing the air filter before it is necessary only increases the chance of dirt entering the engine when the filter is removed.

Important: Be sure that the cover is seated correctly and seals with the air-cleaner body.
Park the machine on a level surface, lower the cutting units, engage the parking brake, shut off the engine, and remove the key.
Pull the latch outward and rotate the air-cleaner cover counterclockwise (Figure 54).

Remove the cover from the air-cleaner body.
Before removing the filter, use low-pressure air—275 kPa (40 psi), clean and dry—to help remove large accumulations of debris packed between outside of primary filter and the canister. Avoid using high-pressure air, which could force dirt through the filter into the intake tract.
This cleaning process prevents debris from migrating into the intake when the primary filter is removed.
Remove and replace the primary filter (Figure 55).
Cleaning of the used element is not recommended due to the possibility of damage to the filter media. Inspect the new filter for shipping damage, checking the sealing end of the filter and the body. Do not use a damaged element.
Insert the new filter by applying pressure to the outer rim of the element to seat it in the canister. Do not apply pressure to the flexible center of the filter.

Important: Never attempt to clean the safety filter (Figure 56). Replace the safety filter with a new one after every 3 primary filter services.

Clean the dirt-ejection port located in the removable cover.
Remove the rubber outlet valve from the cover, clean the cavity, and install the outlet valve.
Install the cover, orienting the rubber outlet valve in a downward position—between approximately 5 o’clock to 7 o’clock when viewed from the end.
Reset the indicator (Figure 53) if it shows red.
| Maintenance Service Interval | Maintenance Procedure |
|---|---|
| Every 250 hours |
|
Park the machine on a level surface, lower the cutting units, engage the parking brake, shut off the engine, and remove the key.
Remove the drain plug (Figure 57) and let the oil flow into a drain pan.

Install the drain plug when the oil stops.
Remove the oil filter (Figure 58).

Apply a light coat of clean oil to the new filter seal before installing it.
Note: Do not overtighten the filter.
Add oil to the crankcase; refer to Checking the Level of the Engine Oil.
Adjust the throttle cable (Figure 59) so that the governor lever on the engine contacts the high speed set bolt at the same point that the throttle cable contacts the end of the slot in the control arm.

Under certain conditions, diesel fuel and fuel vapors are highly flammable and explosive. A fire or explosion from fuel can burn you and others and can cause property damage.
Fill the fuel tank outdoors, in an open area, when the engine is off and is cold. Wipe up any fuel that spills.
Do not fill the fuel tank completely full. Add fuel to the fuel tank until the level is 25 mm (1 inch) below the top of the tank, not the filler neck. This empty space in the tank allows the fuel to expand.
Never smoke when handling fuel, and stay away from an open flame or where fuel fumes may be ignited by a spark.
Store fuel in a clean, safety-approved container and keep the cap in place.
| Maintenance Service Interval | Maintenance Procedure |
|---|---|
| Every 800 hours |
|
| Before storage |
|
Park the machine on a level surface, lower the cutting units, engage the parking brake, shut off the engine, and remove the key.
Drain and clean the fuel tank if the fuel system becomes contaminated or if the machine is to be stored for an extended period. Use clean fuel to flush out the tank.
| Maintenance Service Interval | Maintenance Procedure |
|---|---|
| Every 400 hours |
|
Park the machine on a level surface, lower the cutting units, engage the parking brake, shut off the engine, and remove the key.
Inspect the fuel lines for deterioration, damage, or loose connections.
| Maintenance Service Interval | Maintenance Procedure |
|---|---|
| Before each use or daily |
|
| Every 400 hours |
|
Park the machine on a level surface, lower the cutting units, engage the parking brake, shut off the engine, and remove the key.
Place a clean container under the fuel filter.
Loosen the drain plug on the bottom of the filter canister.

Clean the area where the filter canister mounts.
Remove the filter canister and clean the mounting surface.
Lubricate the gasket on the filter canister with clean oil.
Install the filter canister by hand until the gasket contacts mounting surface, then rotate it an additional 1/2 turn.
Tighten the drain plug on the bottom of the filter canister.
Park the machine on a level surface, lower the cutting units, engage the parking brake, shut off the engine, and remove the key.
The fuel-intake tube, located inside the fuel tank, is equipped with a screen to help prevent debris from entering the fuel system. Remove the fuel-intake tube and clean the screen as required.
Disconnect the battery before repairing the machine. Disconnect the negative terminal first and the positive last. Connect the positive terminal first and the negative last.
Charge the battery in an open, well-ventilated area, away from sparks and flames. Unplug the charger before connecting or disconnecting the battery. Wear protective clothing and use insulated tools.
Battery posts, terminals, and related accessories contain lead and lead compounds, chemicals known to the State of California to cause cancer and reproductive harm. Wash hands after handling.
Park the machine on a level surface, lower the cutting units, engage the parking brake, shut off the engine, and remove the key.
Unlatch and raise the operator's console panel (Figure 61).

Battery electrolyte contains sulfuric acid which is a deadly poison and causes severe burns.
Do not drink electrolyte and avoid contact with skin, eyes or clothing. Wear safety glasses to shield your eyes and rubber gloves to protect your hands.
Fill the battery where clean water is always available for flushing the skin.
Connect a 3 to 4 A battery charger to the battery posts.
Charge the battery at a rate of 3 to 4 A for 4 to 8 hours.
When the battery is charged, disconnect the charger from the electrical outlet and battery posts.
Charging the battery produces gasses that can explode.
Never smoke near the battery and keep sparks and flames away from battery.
Install the positive cable (red) to the positive (+) terminal and the negative cable (black) to the negative (-) terminal of the battery (Figure 62).

Secure the cables to the posts with cap screws and nuts.
Make sure that the positive (+) terminal is all of the way onto the post and the cable is positioned snug to the battery. The cable must not contact the battery cover.
Slide the rubber boot over the positive terminal to prevent a possible short from occurring.
Coat both battery connections with Grafo 112X (skin-over) grease, Toro Part No. 505-47, petroleum jelly, or light grease to prevent corrosion.
Slide the rubber boot over the positive terminal.
Close the console panel and secure the latch.
Battery terminals or metal tools could short against metal components causing sparks. Sparks can cause the battery gasses to explode, resulting in personal injury.
When removing or installing the battery, do not allow the battery terminals to touch any metal parts of the machine.
Do not allow metal tools to short between the battery terminals and metal parts of the machine.
Incorrect battery cable routing could damage the machine and cables causing sparks. Sparks can cause the battery gasses to explode, resulting in personal injury.
Always disconnect the negative (black) battery cable before disconnecting the positive (red) cable.
Always connect the positive (red) battery cable before connecting the negative (black) cable.
| Maintenance Service Interval | Maintenance Procedure |
|---|---|
| Every 50 hours |
|
Important: Before welding on the machine, disconnect the negative cable from the battery to prevent damage to the electrical system.
Note: Check the battery condition weekly or after every 50 hours of operation. Keep the terminals and the entire battery case clean because a dirty battery will discharge slowly.
Clean the battery as follows:
Park the machine on a level surface, lower the cutting units, engage the parking brake, shut off the engine, and remove the key.
Remove the battery from the machine.
Wash the entire case with a solution of baking soda and water.
Rinse the case with clean water.
Coat the battery posts and cable connectors with Grafo 112X (skin-over) grease (Toro Part No. 505-47) or petroleum jelly to prevent corrosion.
| Maintenance Service Interval | Maintenance Procedure |
|---|---|
| After the first 8 hours |
|
| Every 200 hours |
|
Park the machine on a level surface, lower the cutting units, engage the parking brake, shut off the engine, and remove the key.
Failure to maintain proper torque of the wheel nuts could result in failure or loss of a wheel and may result in personal injury.
Torque the front and rear wheel nuts to 115 to 136 N∙m (85 to 100 ft-lb) after 1 to 4 hours of operation and again after 8 hours of operation. Torque the wheel nuts every 200 hours thereafter.
Note: The front wheel nuts are 1/2–20 UNF. The rear wheel nuts are M12 x 1.6-6H (metric).
| Maintenance Service Interval | Maintenance Procedure |
|---|---|
| Every 400 hours |
|
Check the oil level after every 400 hours of operation. Use high-quality SAE 85W-140 gear lube as a replacement.
Park the machine on a level surface, lower the cutting units, engage the parking brake, shut off the engine, and remove the key.
Position the wheel so that 1 check plug (Figure 66) is at the 12 o'clock position and the other is at the 3 o'clock position.

Remove the plug at the 3 o’clock position (Figure 66).
Note: The oil level should be at the bottom of the hole.
If the oil level is low, remove the plug at the 12 o’clock position and add oil until it begins to flow out of the hole at the 3 o’clock position.
Install both plugs.
Repeat steps 2 through 5 on the opposite planetary gear assembly.
| Maintenance Service Interval | Maintenance Procedure |
|---|---|
| After the first 200 hours |
|
| Every 800 hours |
|
Change the oil initially after first 200 hours of operation. Thereafter, change the oil every 800 hours, or yearly, whichever occurs first. Use a high-quality SAE 85W-140 gear lube as a replacement.
Park the machine on a level surface, lower the cutting units, engage the parking brake, shut off the engine, and remove the key.
Position a wheel so that 1 of the check plugs is at the lowest (6 o'clock) position (Figure 67).

Place a drain pan under the planetary hub, remove the plug, and allow the oil to drain.
Place a drain pan under the brake housing, remove the drain plug, and allow the oil to drain (Figure 68).

When all of the oil has drained from both locations, install the plug in the brake housing.
Rotate the wheel until the open plug hole in the planetary is at the 12 o'clock position.
Through the open hole, slowly fill the planetary with 0.65 L (22 fl oz) of high quality SAE 85W-140 wt. gear lube.
Important: If the planetary fills before the 0.65 L (22 fl oz) of oil is added, wait 1 hour or install the plug and move the machine approximately 10 feet to distribute the oil through the brake system. Then, remove the plug and add the remaining oil.
Install the plug.
Repeat the procedure on the opposite planetary/brake assembly.
| Maintenance Service Interval | Maintenance Procedure |
|---|---|
| Every 400 hours |
|
The rear axle is shipped from the factory filled with SAE 85W-140 gear lube. Check the oil level before the engine is first started and every 400 hours thereafter. The capacity is 2.4 L (80 fl oz). Visually inspect for leaks daily.
Park the machine on a level surface, lower the cutting units, engage the parking brake, shut off the engine, and remove the key.
Remove a check plug from 1 end of the axle (Figure 69) and make sure that the oil is up to the bottom of the hole. If the level is low, remove the fill plug (Figure 69) and add enough oil to bring the level up to the bottom of the check-plug holes.

| Maintenance Service Interval | Maintenance Procedure |
|---|---|
| After the first 200 hours |
|
| Every 800 hours |
|
Park the machine on a level surface, lower the cutting units, engage the parking brake, shut off the engine, and remove the key.
Clean the area around the 3 drain plugs, 1 on each end and 1 in the center (Figure 70).

Remove the oil-level-check plugs and the main axle vent cap to ease in draining of the oil.
Remove the drain plugs and allow the oil to drain into the pans.
Install the plugs.
Remove a check plug and fill the axle with approximately 2.37 L (80 fl oz) of 85W-140 gear lube or until the oil is up to the bottom of the hole.
Install the check plug.
| Maintenance Service Interval | Maintenance Procedure |
|---|---|
| Every 400 hours |
|
The gear box is filled with SAE 85W-140 gear lube. Check the oil level before the engine is first started and every 400 hours thereafter. The capacity is 0.5 L (16 fl oz). Visually inspect for leaks daily.
Park the machine on a level surface, lower the cutting units, engage the parking brake, shut off the engine, and remove the key.
Remove the check/fill plug from the left side of the gear box (Figure 71) and make sure that lubricant is up to the bottom of the hole. If the level is low, add enough lubricant to bring the level up to the bottom of the hole.

The machine must not creep when the traction pedal is released. If it does creep, an adjustment is required.
Park the machine on a level surface, shut off the engine, position the speed control into the low range, and lower the cutting units.
Press only the right brake pedal and engage the parking brake.
Jack up the left side of the machine until the left front tire is off the shop floor. Support the machine with jack stands to prevent it from falling accidentally.
Start the engine and allow it run at low idle.
Adjust the jam nuts on the pump rod end to move the pump control tube forward to eliminate forward creep or rearward to eliminate rearward creep (Figure 72).

After the wheel rotation ceases, tighten the jam nuts to secure the adjustment.
Shut off the engine and release the right brake.
Remove the jack stands and lower the machine to the shop floor.
Test drive the machine to ensure that it does not creep.
| Maintenance Service Interval | Maintenance Procedure |
|---|---|
| Every 800 hours |
|
Park the machine on a level surface, lower the cutting units, engage the parking brake, shut off the engine, and remove the key.
Measure the center-to-center distance (at axle height) at the front and rear of the steering tires.
Note: The front measurement must be 3 mm (1/8 inch) less than the rear measurement (Figure 73).

To adjust the toe-in, remove the cotter pin and the nut from either tie-rod ball joint (Figure 74).

Remove the tie-rod ball joint from the axle case support.
Loosen the clamps at both ends of the tie rods (Figure 74).
Rotate the detached ball joint inward or outward 1 complete revolution.
Tighten the clamp at the loose end of the tie rod.
Rotate the entire tie-rod assembly the same direction (inward or outward) 1 complete revolution.
Tighten the clamp at the connected end of the tie rod.
Install the ball joint in the axle case support and tighten the nut finger tight.
Measure the toe-in.
Repeat the procedure if necessary.
Tighten the nut and install a new cotter pin when the adjustment is correct.
Swallowing engine coolant can cause poisoning; keep out of reach from children and pets.
Discharge of hot, pressurized coolant or touching a hot radiator and surrounding parts can cause severe burns.
Always allow the engine to cool at least 15 minutes before removing the radiator cap.
Use a rag when opening the radiator cap, and open the cap slowly to allow steam to escape.
| Maintenance Service Interval | Maintenance Procedure |
|---|---|
| Before each use or daily |
|
Remove debris from the engine area, oil cooler, and radiator daily. Clean them more frequently in dirty conditions.
Park the machine on a level surface, lower the cutting units, engage the parking brake, shut off the engine, and remove the key.
Unlatch and swing open the rear screen (Figure 75).

Clean the screen thoroughly of all debris.
Note: To remove the screen, lift off the hinge pins.
Clean both sides of the oil cooler/radiator area (Figure 76) thoroughly with compressed air. Start from the front and blow the debris out toward the back. Then clean from the back side and blow toward the front. Repeat the procedure several times until all chaff and debris is removed.

Important: Cleaning the oil cooler/radiator with water will promote premature corrosion damage to components and compact debris.
Close the rear screen and secure it with the latch.
Adjust the service brakes when there is more than 13 mm (1/2 inch) of free travel of the brake pedal, or when the brakes do not work effectively. Free travel is the distance the brake pedal moves before braking resistance is felt.
Park the machine on a level surface, lower the cutting units, engage the parking brake, shut off the engine, and remove the key.
Disengage the locking latch from the brake pedals so that both pedals work independently of each other.
To reduce free travel of the brake pedals, tighten the brakes as follows:
Loosen the front nut on the threaded end of the brake cable (Figure 77).

Tighten the rear nut to move the cable backward until the brake pedals have 0 to 13 mm (0 to 1/2 inch) of free travel.
Note: Make sure that there is no brake tension when the pedal is released.
Tighten the front nuts after the brakes are adjusted correctly.
| Maintenance Service Interval | Maintenance Procedure |
|---|---|
| Every 100 hours |
|
Check the condition and tension of the belts (Figure 78) after every 100 operating hours.
Proper tension will allow 10 mm (3/8 inch) deflection when a force of 45 N (10 lb) is applied on the belt midway between the pulleys.
If the deflection is not 10 mm (3/8 inch), loosen the alternator mounting bolts (Figure 78).

Increase or decrease the tension of the alternator belt and tighten the bolts.
Check the deflection of the belt again to ensure that the tension is correct.
Ensure that all hydraulic-fluid hoses and lines are in good condition and all hydraulic connections and fittings are tight before applying pressure to the hydraulic system.
Keep your body and hands away from pinhole leaks or nozzles that eject high-pressure hydraulic fluid.
Use cardboard or paper to find hydraulic leaks.
Safely relieve all pressure in the hydraulic system before performing any work on the hydraulic system.
Seek immediate medical attention if fluid is injected into skin. Injected fluid must be surgically removed within a few hours by a doctor.
| Maintenance Service Interval | Maintenance Procedure |
|---|---|
| Every 800 hours |
|
Change the hydraulic fluid after every 800 operating hours, in normal conditions. If the fluid becomes contaminated, contact your local Toro distributor because the system must be flushed. Contaminated fluid looks milky or black when compared to clean fluid.
Park the machine on a level surface, lower the cutting units, engage the parking brake, shut off the engine, and remove the key.
Raise the hood.
Disconnect the case return line from the bottom of the reservoir and let the hydraulic fluid flow into a large drain pan.
Connect the line when the hydraulic fluid stops draining.
Fill the reservoir with approximately 28.4 L (7.5 US gallons) of hydraulic fluid; refer to Checking the Level of the Hydraulic Fluid.
Important: Use only the hydraulic fluids specified. Other fluids could cause system damage.
Install the reservoir cap.
Start the engine and use all of the hydraulic controls to distribute hydraulic fluid throughout the system.
Check for leaks and shut off the engine.
Check the fluid level and add enough to raise the level to the Full mark on the dipstick.
Note: Do not overfill the hydraulic system.
| Maintenance Service Interval | Maintenance Procedure |
|---|---|
| After the first 200 hours |
|
| Every 800 hours |
|
Change the 2 hydraulic filters initially after the first 200 operating hours. Thereafter, change the filters after every 800 operating hours, in normal conditions.
Use Toro replacement filters Part No. 94-2621 for the rear (cutting unit) of the machine and 75-1310 for the front (charge) of the machine.
Important: Use of any other filter may void the warranty on some components.
Park the machine on a level surface, lower the cutting units, engage the parking brake, shut off the engine, and remove the key.
Clean the area around the filter mounting area.
Place a drain pan under the filter and remove the filter (Figure 79 and Figure 80).
Lubricate the new filter gasket and fill the filter with hydraulic fluid.


Ensure that the filter mounting area is clean.
Screw the filter on until the gasket contacts the mounting plate; then tighten the filter an additional 1/2 turn.
Start the engine and let it run for about 2 minutes to purge air from the system.
Shut off the engine and check for leaks.
| Maintenance Service Interval | Maintenance Procedure |
|---|---|
| Before each use or daily |
|
Inspect the hydraulic lines and hoses daily for leaks, kinked lines, loose mounting supports, wear, loose fittings, weather deterioration, and chemical deterioration. Make all necessary repairs before operating.
Hydraulic fluid escaping under pressure can penetrate skin and cause injury.
Make sure that all hydraulic fluid hoses and lines are in good condition and all hydraulic connections and fittings are tight before applying pressure to the hydraulic system.
Keep your body and hands away from pinhole leaks or nozzles that eject high-pressure hydraulic fluid.
Use cardboard or paper to find hydraulic leaks.
Safely relieve all pressure in the hydraulic system before performing any work on the hydraulic system.
Seek immediate medical attention if fluid is injected into skin.
A worn or damaged cutting unit can break, and a piece of a reel or bedknife could be thrown at you or bystanders, resulting in serious personal injury or death.
Inspect the cutting units periodically for wear or damage.
Use care when checking the cutting units. Wrap the blades or wear gloves, and use caution when servicing the reels and bedknives. Only replace or sharpen the reels and bedknives; never straighten or weld them.
On multi-bladed machines, take care as rotating 1 reel can cause other blades to rotate.
Contact with the reels or other moving parts can result in personal injury.
Keep fingers, hands, and clothing away from the reels or other moving parts.
Never attempt to turn the reels by hand or foot while the engine is running.
Note: When backlapping, the front units all operate together, and the rear units operate together.
Park the machine on a level surface, lower the cutting units, engage the parking brake, shut off the engine, and move the PTO switch to the OFF position.
Unlock and raise the hood to expose the controls.
Make initial reel-to-bedknife adjustments appropriate for backlapping on all cutting units which are to be backlapped; refer to the cutting unit Operator's Manual.
Select either front, rear, or both backlap levers to determine which units to backlap (Figure 81).
Start the engine and run at low idle speed.
Changing the engine speed while backlapping may cause the reels to stall.
Never change the engine speed while backlapping.
Only backlap at low idle engine speed.
Contact with the cutting units could cause personal injury.
Be certain that you are clear of the cutting units before proceeding.
With the mow-speed limiter in the MOW position, move the PTO switch to the ON position.
Press the lift switch to start the backlapping operation on the designated reels.
Apply lapping compound with a long-handled brush.
Note: Do not use a short-handled brush.

If the reels stall or become erratic while backlapping, increase the throttle speed until the reel stabilizes.
To make an adjustment to the cutting units while backlapping, turn the reels off by pressing the rear of the lift switch; move the PTO switch to the OFF position and shut off the engine. After completing any adjustments, repeat steps 5 through 9.
Repeat the procedure for all cutting units that you want to backlap.
When finished, return the backlap levers to the MOW position, lower the hood, and wash all lapping compound off the cutting units. Adjust the cutting unit reel-to-bedknife as needed. Move the cutting unit reel-speed controls to the desired mowing position.
Important: If you do not return the backlap switch to the OFF position after backlapping, the cutting units will not raise or function properly.
Note: Additional instructions and procedures on backlapping are available in the Toro Sharpening Reel and Rotary Mowers Manual, Form No. 80-300SL.
Note: For a better cutting edge, run a file across the front face of the bedknife after lapping. This will remove any burrs or rough edges that may have built up on the cutting edge.
Park the machine on a level surface, lower the cutting units, engage the parking brake, shut off the engine, and remove the key.
Thoroughly clean the traction unit, cutting units, and the engine.
Check the tire pressure; refer to Checking the Tire Pressure.
Check all fasteners for looseness; tighten them as necessary.
Grease or oil all grease fittings and pivot points. Wipe up any excess lubricant.
Lightly sand and use touch-up paint on painted areas that are scratched, chipped, or rusted. Repair any dents in the metal body.
Service the battery and cables as follows:
Remove the battery terminals from the battery posts.
Clean the battery, terminals, and posts with a wire brush and baking-soda solution.
Coat the cable terminals and battery posts with Grafo 112X skin-over grease (Toro Part No. 505-47) or petroleum jelly to prevent corrosion.
Slowly charge the battery every 60 days for 24 hours to prevent lead sulfation of the battery.
Drain the engine oil from the oil pan and install the drain plug.
Remove and discard the oil filter. Install a new oil filter.
Fill the engine with specified motor oil.
Start the engine and run it at idle speed for approximately 2 minutes.
Shut off the engine.
Flush the fuel tank with fresh, clean fuel.
Secure all of the fuel-system fittings.
Thoroughly clean and service the air-cleaner assembly.
Seal the air-cleaner inlet and the exhaust outlet with weatherproof tape.
Check the antifreeze protection and add a 50/50 solution of water and ethylene glycol antifreeze as needed for the expected minimum temperature in your area.