| Maintenance Service Interval | Maintenance Procedure |
|---|---|
| Before each use or daily |
|
This machine is a ride-on, reel-blade lawn mower intended to be used by professional, hired operators in commercial applications. It is primarily designed for cutting grass on well-maintained lawns in golf courses, parks, sports fields, and on commercial grounds. It is not designed for cutting brush, mowing grass and other growth alongside highways, or for agricultural uses.
Read this information carefully to learn how to operate and maintain your product properly and to avoid injury and product damage. You are responsible for operating the product properly and safely.
You may contact Toro directly at www.Toro.com for product and accessory information, help finding a dealer, or to register your product.
Whenever you need service, genuine Toro parts, or additional information, contact an Authorized Service Dealer or Toro Customer Service and have the model and serial numbers of your product ready. Figure 1 identifies the location of the model and serial numbers on the right front frame member of the product. Write the numbers in the space provided.

This manual identifies potential hazards and has safety messages identified by the safety alert symbol (Figure 2), which signals a hazard that may cause serious injury or death if you do not follow the recommended precautions.

This manual uses two other words to highlight information. Important calls attention to special mechanical information and Note emphasizes general information worthy of special attention.
This product complies with all relevant European directives, for details please see the separate product specific Declaration of Conformity (DOC) sheet.
Because in some areas there are local, state, or federal regulations requiring that a spark arrester be used on the engine of this machine, a spark arrester is incorporated with the muffler assembly.
Genuine Toro spark arresters are approved by the USDA Forestry Service.
Important: This engine is equipped with a spark arrester muffler. It is a violation of California Public Resource Code Section 4442 to use or operate the engine on any forest-covered, brush-covered, or grass-covered land without a spark arrester muffler maintained in working order, or the engine constricted, equipped, and maintained for the prevention of fire. Other states or federal areas may have similar laws.
The enclosed Engine Owner's Manual is supplied for information regarding the US Environmental Protection Agency (EPA) and the California Emission Control Regulation of emission systems, maintenance, and warranty. Replacements may be ordered through the engine manufacturer.
CALIFORNIA
Proposition 65 Warning
Diesel engine exhaust and some of its constituents are known to the State of California to cause cancer, birth defects, and other reproductive harm.
Use of this product may cause exposure to chemicals known to the State of California to cause cancer, birth defects, or other reproductive harm.
This machine meets or exceeds EN ISO 5395:2013 (when appropriate decals applied), and ANSI B71.4-2012 specifications in effect at the time of production.
Improper use or maintenance by the operator or owner can result in injury. To reduce the potential for injury, comply with these safety instructions and always pay attention to the safety alert symbol, which means CAUTION, WARNING, or DANGER- "personal safety instruction." Failure to comply with the instruction may result in personal injury or death.
The following instructions are from the EN ISO 5395:2013 and ANSI B71.4-2012.
Read the operator's manual and other training material carefully. Be familiar with the controls, safety signs, and the proper use of the equipment.
Never allow children or people unfamiliar with these instructions to use or service the mower. Local regulations may restrict the age of the operator.
Never mow while people, especially children, or pets are nearby.
Keep in mind that the operator or user is responsible for accidents or hazards occurring to other people or their property.
Do not carry passengers.
All drivers and mechanics should seek and obtain professional and practical instruction. The owner is responsible for training the users. Such instruction should emphasize:
the need for care and concentration when working with ride-on machines;
control of a ride-on machine sliding on a slope will not be regained by the application of the brake. The main reasons for loss of control are:
insufficient wheel grip;
being driven too fast;
inadequate braking;
the type of machine is unsuitable for its task;
lack of awareness of the effect of ground conditions, especially slopes;
incorrect hitching and load distribution.
The owner/user can prevent and is responsible for accidents or injuries occurring to himself or herself, other people, or property.
While mowing, always wear substantial, slip-resistant footwear, long trousers, hard hat, safety glasses, and ear protection. Long hair, loose clothing, or jewelry may get tangled in moving parts. Do not operate the equipment when barefoot or wearing open sandals.
Thoroughly inspect the area where the equipment is to be used and remove all objects which may be thrown by the machine.
Replace faulty silencers/mufflers.
Evaluate the terrain to determine what accessories and attachments are needed to properly and safely perform the job. Only use accessories and attachments approved by the manufacturer.
Check that the operator's presence controls, safety switches and shields are attached and functioning properly. Do not operate unless they are functioning properly.
To avoid personal injury or property damage, use extreme care in handling gasoline. Gasoline is extremely flammable and the vapors are explosive.
Extinguish all cigarettes, cigars, pipes, and other sources of ignition.
Use only an approved fuel container.
Never remove fuel cap or add fuel with the engine running.
Allow engine to cool before refueling.
Never refuel the machine indoors.
Never store the machine or fuel container where there is an open flame, spark, or pilot light such as on a water heater or on other appliances.
Never fill containers inside a vehicle or on a truck or trailer bed with a plastic liner. Always place containers on the ground away from your vehicle before filling.
Remove equipment from the truck or trailer and refuel it on the ground. If this is not possible, then refuel such equipment with a portable container, rather than from a fuel dispenser nozzle.
Keep the nozzle in contact with the rim of the fuel tank or container opening at all times until fueling is complete. Do not use a nozzle lock open device.
If fuel is spilled on clothing, change clothing immediately.
Never overfill fuel tank. Replace fuel cap and tighten securely.
Do not operate the engine in a confined space where dangerous carbon monoxide and other exhaust gasses can collect.
Mow only in daylight or in good artificial light.
Before attempting to start the engine, disengage all blade attachment clutches, shift into neutral, and engage the parking brake.
Remember there is no such thing as a safe slope. Travel on grass slopes requires particular care. To guard against overturning:
do not stop or start suddenly when going up or downhill;
machine speeds should be kept low on slopes and during tight turns;
stay alert for humps and hollows and other hidden hazards;
Do not turn sharply. Use care when reversing.
Use counterweight(s) or wheel weights when suggested in the operator's manual.
Stay alert for holes in the terrain and other hidden hazards.
Watch out for traffic when crossing or near roadways.
Stop the blades rotating before crossing surfaces other than grass.
When using any attachments, never direct discharge of material toward bystanders nor allow anyone near the machine while in operation.
Never operate the machine with damaged guards, shields, or without safety protective devices in place. Be sure all interlocks are attached, adjusted properly, and functioning properly.
Do not change the engine governor settings or over-speed the engine. Operating the engine at excessive speed may increase the hazard of personal injury.
Before leaving the operator's position:
stop on level ground;
disengage the power take-off and lower the attachments;
change into neutral and set the parking brake;
stop the engine and remove the key.
Disengage drive to attachments when transporting or not in use.
Stop the engine and disengage drive to attachment:
before refuelling;
before making height adjustment unless adjustment can be made from the operator's position.
before clearing blockages;
before checking, cleaning or working on the mower;
after striking a foreign object or if an abnormal vibration occurs. Inspect the mower for damage and make repairs before restarting and operating the equipment.
Reduce the throttle setting during engine run-out and, if the engine is provided with a shut-off valve, turn the fuel off at the conclusion of mowing.
Keep hands and feet away from the cutting units.
Look behind and down before backing up to be sure of a clear path.
Slow down and use caution when making turns and crossing roads and sidewalks. Stop cylinders/reels if not mowing.
Do not operate the mower under the influence of alcohol or drugs.
Lightning can cause severe injury or death. If lightning is seen or thunder is heard in the area, do not operate the machine; seek shelter.
Use care when loading or unloading the machine into a trailer or truck.
Use care when approaching blind corners, shrubs, trees, or other objects that may obscure vision.
Keep all nuts, bolts and screws tight to be sure the equipment is in safe working condition.
Never store the equipment with fuel in the tank inside a building where fumes may reach an open flame or spark.
Allow the engine to cool before storing in any enclosure.
To reduce the fire hazard, keep the engine, silencer/muffler, battery compartment and fuel storage area free of grass, leaves, or excessive grease.
Keep all parts in good working condition and all hardware and hydraulic fittings tightened. Replace all worn or damaged parts and decals.
If the fuel tank has to be drained, do this outdoors.
Be careful during adjustment of the machine to prevent entrapment of the fingers between moving blades and fixed parts of the machine.
On multi-cylinder/multi-reel machines, take care as rotating one cylinder/reel can cause other cylinders/reels to rotate.
Disengage drives, lower the cutting units, set parking brake, stop engine and remove key from ignition. Wait for all movement to stop before adjusting, cleaning or repairing.
Clean grass and debris from cutting units, drives, silencers/mufflers, and engine to help prevent fires. Clean up oil or fuel spillage.
Use jack stands to support components when required.
Carefully release pressure from components with stored energy.
Disconnect battery before making any repairs. Disconnect the negative terminal first and the positive last. Reconnect positive first and negative last.
Use care when checking the cylinders/reels. Wear gloves and use caution when servicing them.
Keep hands and feet away from moving parts. If possible, do not make adjustments with the engine running.
Charge batteries in an open well ventilated area, away from spark and flames. Unplug charger before connecting or disconnecting from battery. Wear protective clothing and use insulated tools.
Use care when loading or unloading the machine into a trailer or truck.
Use full width ramps for loading machine into trailer or truck.
Tie the machine down securely using straps, chains, cable, or ropes. Both front and rear straps should be directed down and outward from the machine
The following list contains safety information specific to Toro products or other safety information that you must know that is not included in the CEN, ISO, or ANSI standard.
This product is capable of amputating hands and feet and throwing objects. Always follow all safety instructions to avoid serious injury or death.
Use of this product for purposes other than its intended use could prove dangerous to user and bystanders.
Engine exhaust contains carbon monoxide, which is an odorless, deadly poison that can kill you.
Do not run engine indoors or in an enclosed area.
Know how to stop the engine quickly.
Do not operate the machine while wearing tennis shoes or sneakers.
Wearing safety shoes and long pants is advisable and required by some local ordinances and insurance regulations.
Handle fuel carefully. Wipe up any spills.
Check the safety interlock switches daily for proper operation. If a switch should fail, replace the switch before operating the machine.
Before starting the engine, sit on the seat.
Using the machine demands attention. To prevent loss of control:
Do not drive close to sand traps, ditches, creeks, embankments, or other hazards.
Reduce speed when making sharp turns. Avoid sudden stops and starts.
When near or crossing roads, always yield the right-of-way.
Apply the service brakes when going downhill to keep forward speed slow and to maintain control of the machine.
When operating a machine with ROPS (roll-over protection system) never remove the ROPS and always use the seat belt.
Raise the cutting units when driving from one work area to another.
Do not touch the engine, silencer/muffler, or exhaust pipe while the engine is running or soon after it has stopped because these areas could be hot enough to cause burns.
On any hill, there is the possibility of tipping or rolling over, but the risk increases as the slope angle increases. Steep hills should be avoided.
Cutting units must be lowered when going down slopes to maintain steering control
Engage traction drive slowly, always keep foot on traction pedal, especially when traveling downhill.
Use reverse on traction pedal for braking.
If the machine stalls when climbing a slope, do not turn the machine around. Always back slowly, straight down the slope.
When a person or pet appears unexpectedly in or near the mowing area, stop mowing. Careless operation, combined with terrain angles, ricochets, or improperly positioned guards can lead to thrown object injuries. Do not resume mowing until the area is cleared.
Make sure all hydraulic line connectors are tight and all hydraulic hoses and lines are in good condition before applying pressure to the system.
Keep your body and hands away from pin hole leaks or nozzles that eject hydraulic fluid under high pressure. Use paper or cardboard, not your hands, to search for leaks. Hydraulic fluid escaping under pressure can have sufficient force to penetrate the skin and cause serious injury. Seek immediate medical attention if fluid is injected into skin.
Before disconnecting or performing any work on the hydraulic system, all pressure in the system must be relieved by stopping the engine and lowering the cutting units and attachments to the ground.
Check all fuel lines for tightness and wear on a regular basis. Tighten or repair them as needed.
If the engine must be running to perform a maintenance adjustment, keep hands, feet, clothing, and any parts of the body away from the cutting units, attachments, and any moving parts.
To ensure safety and accuracy, have an Authorized Toro Distributor check the maximum engine speed with a tachometer.
If major repairs are ever needed or if assistance is desired, contact an Authorized Toro Distributor.
Use only Toro-approved attachments and replacement parts. The warranty may be voided if used with unapproved attachments.
This unit has a guaranteed sound power level of 101 dBA, which includes an Uncertainty Value (K) of 1 dBA.
Sound power level was determined according to the procedures outlined in ISO 11094.
This unit has a sound pressure level at the operator’s ear of 83 dBA, which includes an Uncertainty Value (K) of 1 dBA.
Sound pressure level was determined according to the procedures outlined in EN ISO 5395:2013.
Hand-Arm
Measured vibration level for right hand =0.3 m/s2
Measured vibration level for left hand =0.3 m/s2
Uncertainty Value (K) = 0.16 m/s2
Measured values were determined according to the procedures outlined in EN ISO 5395:2013.
Whole Body
Measured vibration level = 0.2 m/s2
Uncertainty Value (K) = 0.1 m/s2
Measured values were determined according to the procedures outlined in EN ISO 5395:2013.
![]() |
Safety decals and instructions are easily visible to the operator and are located near any area of potential danger. Replace any decal that is damaged or lost. |























Note: Determine the left and right sides of the machine from the normal operating position.
Depending on what width cutting units are to be installed on the traction, adjust the support rollers as follows:
Parts needed for this procedure:
| Warning decal | 1 |
On machines requiring CE Compliance, affix the warning decal, part no. 120–1683 over the warning decal part no. 120–1686.
Parts needed for this procedure:
| Hood lock bracket | 1 |
| Rivet | 2 |
| Screw, 1/4 x 2 inch | 1 |
| Flat washer, 1/4 inch | 2 |
| Locknut, 1/4 inch | 1 |
Unhook the hood latch from the hood latch bracket (Figure 4).

Remove the (2) rivets securing the hood latch bracket to the hood (Figure 5). Remove the hood latch bracket from the hood.

While aligning the mounting holes, position the CE lock bracket and the hood latch bracket onto the hood. The lock bracket must be against the hood (Figure 5). Do not remove bolt and nut assembly from the lock bracket arm.

Align the washers with the holes on the inside of the hood.
Rivet the brackets and the washers to the hood (Figure 6).
Hook the latch onto the hood latch bracket (Figure 7).

Screw the bolt into the other arm of hood lock bracket to lock the latch in position (Figure 8). Tighten bolt securely but do not tighten nut.

Parts needed for this procedure:
| Front hose guide-R.H. | 1 |
| Front hose guide-L.H. | 1 |
Remove the reel motors from the shipping brackets.
Remove the shipping brackets and discard.
Remove the cutting units from the cartons. Assemble and adjust as described in the cutting unit Operator's Manual.
Make sure the counter weight (Figure 9) is installed to the proper end of the cutting unit as described in the cutting unit Operator's Manual.

All the cutting units are shipped with the turf compensation spring mounted to the right side of the cutting unit. The turf compensation spring must be mounted to the same side of the cutting unit as the reel drive motor. Reposition the turf compensation as follows:
Remove the 2 carriage bolts and nuts securing the rod bracket to the cutting unit tabs (Figure 10).

Remove the flange nut securing the spring tube bolt to the carrier frame tab (Figure 10) Remove the assembly.
Mount the spring tube bolt to the opposite tab on the carrier frame and secure with the flange nut. The bolt head is to be positioned to the outer side of the tab as shown in Figure 11.

Mount the rod bracket to the cutting unit tabs with the carriage bolts and nuts (Figure 11). Also, on the cutting unit, mount the left hand hose guide to the front of the cutting unit tabs when reinstalling the rod bracket (Figure 13).
Important: On the #4 (left front) and #5 (right front) cutting units, use the rod bracket mounting nuts to install the hose guides to the front of the cutting unit tabs. The hose guides should lean toward the center cutting unit (Figure 12 through Figure 14).



Note: When installing or removing the cutting units, make sure the hairpin cotter is installed in the spring rod hole next to the rod bracket. Otherwise, the hairpin cotter must be installed in the hole in the end of the rod.
Increase the steering on the rear cutting units by removing the (2) pivot spacers, hex socket screws and flange lock nuts (Figure 15) from the rear (#2 and #3) cutting unit carrier frames (Figure 12).

Lower all the lift arms completely.
Coat the carrier frame shaft with clean grease (Figure 16).

For the front cutting units, slide a cutting unit under the lift arm while inserting the carrier frame shaft up into the lift arm pivot yoke (Figure 16). Make sure the thrust washer is in position on the carrier frame shaft.
Secure the carrier frame shaft to the lift arm yoke with the Klik pin (Figure 16).
To lock (fix) the steering on the cutting units, secure the pivot yoke to the carrier frame with the snapper pin (Figure 17).

Note: Fixed steering is recommended when cutting side hills.
Use the following procedure on the rear cutting units when the height of cut is above 3/4 inch.
Remove the lynch pin and washer securing the lift arm pivot shaft to the lift arm and slide the lift arm pivot shaft out of the lift arm (Figure 18).

Insert the lift arm yoke onto the carrier frame shaft (Figure 16).
Insert the lift arm shaft into the lift arm and secure it with the washer and lynch pin (Figure 18).
Secure the lift arm chain to the chain bracket with the snapper pin (Figure 19). Use the number of chain links described in the cutting unit Operator's Manual.

Coat the spline shaft of the reel motor with clean grease.
Oil the reel motor O-ring and install it onto the motor flange.
Install the motor by rotating it clockwise so that the motor flanges clear the bolts (Figure 20). Rotate the motor counterclockwise until the flanges encircle the bolts then tighten the bolts.
Important: Make sure the reel motor hoses are not twisted, kinked or in the risk of being pinched.

The turf compensation spring (Figure 21) transfers weight from the front to the rear roller. (This helps to reduce a wave pattern in the turf, also known as marcelling or bobbing.)
Important: Make spring adjustments with the cutting unit mounted to the traction unit, pointing straight ahead and lowered to the shop floor.
Make sure the hairpin cotter is installed in the rear hole in the spring rod (Figure 21).
Note: When servicing the cutting unit, move the hairpin cotter to the spring rod hole next to the turf compensation spring.

Tighten the hex nuts on the front end of the spring rod until the compressed length of the spring is 6.25 inches (15.9 cm) (Figure 21).
Note: When operating on rough terrain decrease the spring length by 1/2 inch. Ground following will be slightly decreased.
Note: The turf compensation setting will need to be reset if the HOC setting or the Aggressiveness of Cut setting is changed.
Parts needed for this procedure:
| Cutting unit kickstand | 1 |
Whenever the cutting unit has to be tipped to expose the bedknife/reel, prop up the rear of the cutting unit with the kickstand to make sure the nuts on the back end of the bedbar adjusting screws are not resting on the work surface (Figure 22).

Secure the kickstand to the chain bracket with the snapper pin (Figure 23).

Before the machine is operated, it must be greased to ensure proper lubrication. Refer to Lubrication section. Failure to properly grease the machine will result in premature failure of critical parts.
Check the rear axle lubricant level before the engine is first started, refer to Checking the Rear Axle Lubricant in Drive System Maintenance.
Check the hydraulic fluid level before the engine is first started, refer to Checking the Hydraulic Fluid Level in Operation.
Check the engine oil level before and after the engine is first started, refer to Checking the Engine Oil Level in Operation.
Parts needed for this procedure:
| Gauge bar | 1 |
Use the gauge bar to adjust the cutting unit. Refer to the Cutting Unit Operator's Manual for the adjustment procedures (Figure 24).

Two foot pedals (Figure 25) operate individual wheel brakes for turning assistance and to aid in obtaining better side hill traction.
The pedal locking latch (Figure 25) connects the pedals together to engage the parking brake.
To engage the parking brake, (Figure 25) connect the pedals together with the pedal locking latch, push down on the right brake pedal while engaging the toe pedal. To release the parking brake, press one of the brake pedals until the parking brake latch retracts.

The traction pedal (Figure 25) controls forward and reverse operation. Depress the top of the pedal to move forward and the bottom to move backward. Ground speed depends on how far the pedal is depressed. For no load, maximum ground speed, fully depress the pedal while the throttle is in Fast.
To stop, reduce your foot pressure on the traction pedal and allow it to return to the center position.
To tilt the steering wheel towards you, press the foot pedal (Figure 25) down, and pull the steering tower toward you to the most comfortable position and then release the pedal.
When the mow speed limiter (Figure 26) is flipped up it will control the mow speed and allow the cutting units to be engaged. Each spacer adjusts the mowing speed by ½ mile per hour. The more spacers you have, on the top of the bolt the slower you will go. For transport, flip back the mow speed limiter and you will have maximum transport speed.
Adjust the screw(s) (Figure 26) to limit the amount the traction pedal can be depressed in the forward or reverse direction to limit speed.
Important: The speed limiter screw must stop the traction pedal before the pump reaches full stroke or damage to the pump may occur.

This lever (Figure 27) raises and lowers the cutting units and also starts and stops the cutterheads when the cutterheads are enabled in the mow mode. The cutter heads cannot be lowered when the mow/transport lever is in the transport position.
The key switch (Figure 27) has three positions: Off, On/Preheat, and Start.
The InfoCenter LCD display shows information about your machine such as the operating status, various diagnostics and other information about the machine (Figure 27).
The PTO switch (Figure 27) has two positions: Out (start) and In (stop). Pull the PTO button out to engage the cutting unit blades. Push in the button to disengage the cutting unit blades.

Move the throttle control (Figure 27) forward to increase the engine speed and rearward to decrease speed.
Pivot the switch downward to turn on the headlights (Figure 27).
The power point (Figure 28) is used to power optional 12 volt electrical accessories.

Use the bag holder (Figure 28) for storage.
Use the backlap levers for backlapping the reels (Figure 29).

Pull out on the lever to slide the seat fore or aft (Figure 30).
Rotate the knob to adjust the seat arm rest angle (Figure 30).
Move the lever to adjust the seat back angle (Figure 30).
Indicates when the seat is adjusted to the weight of the operator (Figure 30). Height adjustment is made by positioning the suspension within the range of the green region.

Adjust for operator weight (Figure 30). Pull up on the lever to increase the air pressure and push down to decrease the air pressure. The proper adjustment is attained when the weight gauge is in the green region.
The InfoCenter LCD display shows information about your machine such as the operating status, various diagnostics and other information about the machine (Figure 31) There is a splash screen and main information screen of the InfoCenter. You can switch between the splash screen and main information screen, at any time, by pressing any of the InfoCenter buttons and then selecting the appropriate directional arrow.

Left Button, Menu Access/Back Button—press this button to access the InfoCenter menus. You can use it to back out of any menu you are currently using.
Middle Button—use this button to scroll down menus.
Right Button—use this button to open a menu where a right arrow indicates additional content.
Manual Fan Reversal—activated by pressing the left and right buttons simultaneously.
Beeper—activated when lowering the decks or for advisories and faults.
Note: The purpose of each button may change depending on what is required at the time. Each button will be labeled with an icon displaying its current function.
| SERVICE DUE | Indicates when scheduled service should be performed |
![]() | Info icon |
![]() | Hour Meter |
![]() | Fast |
![]() | Slow |
![]() | Fan Reversal—indicates when the fan is reversed |
![]() | Air intake heater is active |
![]() | Raise cutting units |
![]() | Lower cutting units |
![]() | Operator must sit in seat |
![]() | Parking Brake Indicator—indicates when the parking brake is On |
![]() | Identifies the range as High |
![]() | Neutral |
![]() | Identifies the range as Low |
![]() | Coolant Temperature-indicates the engine coolant temperature in either °C or °F |
![]() | Temperature (hot) |
![]() | Denied or not allowed |
![]() | PTO is engaged |
![]() | Engine Start |
![]() | Stop or shutdown |
![]() | Engine |
![]() | Key switch |
![]() | Indicates when the cutting units are being lowered |
![]() | Indicates when the cutting units are being raised |
![]() | PIN passcode |
![]() | Hydraulic Oil Temperature-indicates the hydraulic oil temperature |
![]() | CAN bus |
![]() | InfoCenter |
![]() | Bad or failed |
![]() | Bulb |
![]() | Output of TEC controller or control wire in harness |
![]() | High: over allowed range |
![]() | Low: under allowed range |
/![]() | Out of range |
![]() | Switch |
![]() | Operator must release switch |
![]() | Operator should change to indicated state |
| Symbols are often combined to form sentences. Some examples are shown below | |
![]() | Operator should put machine in neutral |
![]() | Engine start denied |
![]() | Engine shutdown |
![]() | Engine coolant too hot |
![]() | Hydraulic oil too hot |
![]() | Sit down or set parking brake |
To access the InfoCenter menu system, press the menu access button while at the main screen. This will bring you to the main menu. Refer to the following tables for a synopsis of the options available from the menus:
| Main Menu | |
| Menu Item | Description |
| Faults | The Faults menu contains a list of the recent machine faults. Refer to the Service Manual or your Authorized Toro Distributor for more information on the Faults menu and the information contained there. |
| Service | The Service menu contains information on the machine such as hours of use counters and other similar numbers. |
| Diagnostics | The Diagnostics menu displays the state of each machine switch, sensor and control output. You can use this to troubleshoot certain issues as it will quickly tell you which machine controls are on and which are off. |
| Settings | The Settings menu allows you to customize and modify configuration variables on the InfoCenter display. |
| About | The About menu lists the model number, serial number, and software version of your machine. |
| Service | |
| Menu Item | Description |
| Hours | Lists the total number of hours that the machine, engine and PTO have been on, as well as the number of hours the machine has been transported and service due. |
| Counts | Lists numerous counts the machine has experienced. |
| Diagnostics | |
| Menu Item | Description |
| Cutting Units | Indicates the inputs, qualifiers and outputs for raising and lowering the cutting units. |
| Hi/Low Range | Indicates the inputs, qualifiers and outputs for driving in transport mode. |
| PTO | Indicates the inputs, qualifiers and outputs for enabling the PTO circuit. |
| Engine Run | Indicates the inputs, qualifiers and outputs for starting the engine. |
| Backlap | Indicates the inputs, qualifiers and outputs for operating the backlap function. |
| Settings | |
| Menu Item | Description |
| Units | Controls the units used on the InfoCenter. The menu choices are English or Metric |
| Language | Controls the language used on the InfoCenter*. |
| LCD Backlight | Controls the brightness of the LCD display. |
| LCD Contrast | Controls the contrast of the LCD display. |
| Front Backlap Reel Speed | Controls the speed of the front reels in backlap mode. |
| Rear Backlap Reel Speed | Controls the speed of the rear reels in backlap mode. |
| Protected Menus | Allows the superintendant/mechanic to access protected menus by inputting a passcode. |
| Auto Idle | Controls the amount of time allowed before returning the engine to low idle when the machine is stationary. |
| Blade Count | Controls the number of blades on the reel for reel speed. |
| Mow Speed | Controls the ground speed for determining the reel speed. |
| Height of cut (HOC) | Controls the height of cut (HOC) for determining the reel speed. |
| F Reel RPM | Displays the calculated reel speed position for the front reels. The reels can also be manually adjusted. |
| R Reel RPM | Displays the calculated reel speed position for the rear reels. The reels can also be manually adjusted. |
* Only "operator-faced" text is translated. Faults, Service, and Diagnostics screens are "service-faced". Titles will be in the selected language, but menu items are in English.
| About | |
| Menu Item | Description |
| Model | Lists the model number of the machine. |
| SN | Lists the serial number of the machine. |
| Machine Controller Revision | Lists the software revision of the master controller. |
| InfoCenter Revision | Lists the software revision of the InfoCenter. |
| CAN Bus | Lists the machine communication bus status. |
There are 7 operating configuration settings that are adjustable within the Settings Menu of the InfoCenter: Blade Count, Mow Speed, Height of Cut (HOC), F Reel RPM and R Reel RPM. These settings can be locked by using the Protected Menu.
Note: At the time of delivery, the initial password code is programmed by your distributor.
To access the Protected Menu Settings
From the Main Menu, scroll down to the Settings Menu and press the right button.
In the Settings Menu, scroll down to the Protected Menu and press the right button.
To enter the passcode, use the center button to set the first digit then press the right button to move on to the next digit.
Use the center button to set the second digit then press the right button to move on to the next digit.
Use the center button to set the third digit then press the right button to move on to the next digit.
Use the center button to set the fourth digit then press the right button.
Press the middle button to enter the code.
If the code has been accepted and the protected menu has been “Unlocked”, “PIN” will be displayed in the upper right corner of the display screen.
The ability to view and change the settings in the Protected Menu can be changed. Once the Protected Menu has been accessed, scroll down to Protect Settings. Using the right button, changing Protect Settings to OFF will allow the ability to view and change the settings in the Protected Menu without entering the passcode. Changing Protect Settings to ON will hide the protected options and will require entering a passcode to change the setting in the Protected Menu. After the pass code has been set, the key switch must be turned off and back on to enable and save this feature.
Note: If the passcode has been forgotten or misplaced, please contact your distributor for assistance.
In the Settings Menu, scroll down to Blade Count
Press the right button to change the blade count between 5, 8 or 11 blade reels.
In the Settings Menu, scroll down to Mow Speed.
Press the right button to select mow speed.
Use the center and right button to select the appropriate mow speed set on the mechanical mow speed limiter on the traction pedal.
Press the left button to exit mow speed and save the setting.
In the Settings Menu, scroll down to HOC.
Press the right button to select HOC.
Use the center and right button to select the appropriate HOC setting. (If the exact setting is not displayed, select the nearest HOC setting from the list displayed).
Press the left button to exit HOC and save the setting.
Although the front and rear reel speeds are calculated by inputting the number of blades, mow speed and HOC into the InfoCenter, the setting can be manually changed to accommodate for different mowing conditions.
To change the Reel Speed Settings, scroll down to the F Reel RPM, R Reel RPM or both.
Press the right button to change the reel speed value. As the speed setting is changed, the display will continue to show the calculated reel speed based on blade count, mow speed and HOC which was previously entered, but the new value will also be displayed.
Note: Specifications and design are subject to change without notice.
| Width of cut, 27 inch cutting units | 307 cm (121 inches) |
| Width of cut, 32 inch cutting units | 320 cm (126 inches) |
| Overall width, 27 inch cutting units down | 345 cm (136 inches) |
| Overall width, 32 inch cutting units down | 358 cm (141 inches) |
| Overall width, cutting units up (transport) | 239 cm (94 inches) |
| Overall length | 370 cm (145.8 inches) |
| Height with ROPS | 220 cm (87 inches) |
| Track Width, front | 229 cm (90 inches) |
| Track Width, rear | 141 cm (55.5 inches) |
| Wheel base | 171 cm (67-1/2 inches) |
| Net Weight (with no cutting units and no fluids) | 1574 kg (3470 lb) |
A selection of Toro approved attachments and accessories is available for use with the machine to enhance and expand its capabilities. Contact your Authorized Service Dealer or Distributor or go to www.Toro.com for a list of all approved attachments and accessories.
Note: Determine the left and right sides of the machine from the normal operating position.
This machine produces sound levels in excess of 85 dBA at the operator's ear and can cause hearing loss through extended periods of exposure.
Wear hearing protection when operating this machine.
If you leave the key in the ignition switch, someone could accidently start the engine and seriously injure you or other bystanders.
Remove the key from the ignition before you do any maintenance.
| Maintenance Service Interval | Maintenance Procedure |
|---|---|
| Before each use or daily |
|
The engine is shipped with oil in the crankcase; however, the oil level must be checked before and after the engine is first started.
The crankcase capacity is approximately 9.5 L (10 US qt) with the filter.
Use high-quality engine oil that meets the following specifications:
API Classification Level Required: CH-4, CI-4, or higher.
Preferred oil: SAE 15W-40 (above -18°C [0°F])
Alternate oil: SAE 10W-30 or 5W-30 (all temperatures)
Note: Toro Premium Engine oil is available from your distributor in either 15W-40 or 10W-30 viscosity. See the parts catalog for part numbers.
Note: The best time to check the engine oil is when the engine is cool before it has been started for the day. If it has already been run, allow the oil to drain back down to the sump for at least 10 minutes before checking. If the oil level is at or below the Add mark on the dipstick, add oil to bring the oil level to the Full mark. Do not overfill. If the oil level is between the Full and Add marks, no oil addition is required.
Park the machine on a level surface.
Unlock the hood latches and open the hood (Figure 32).

Remove the dipstick, wipe it clean, install the dipstick into the tube, and pull it out again.
The oil level should be in the safe range (Figure 33).

If the oil is below the safe range, remove the fill cap (Figure 34) and add oil until the level reaches the Full mark. Do not overfill.

Note: When using different oil, drain all old oil from the crankcase before adding new oil.
Install the oil fill cap and dipstick.
Close the hood and secure it with the latches.
| Maintenance Service Interval | Maintenance Procedure |
|---|---|
| Before each use or daily |
|
Check level of coolant at the beginning of each day. Capacity of system is 12.3liters (13 quarts).
Carefully remove the radiator cap.
If the engine has been running, the pressurized, hot coolant can escape and cause burns.
Do not open the radiator cap when the engine is running.
Use a rag when opening the radiator cap, and open the cap slowly to allow steam to escape.

Check the coolant level in the radiator. The radiator should be filled to the top of the filler neck and the expansion tank filled to the FULL mark (Figure 35).
If the coolant is low, add a 50/50 mixture of water and ethylene glycol anti freeze. Do not use water only or alcohol/methanol base coolants.
Install the radiator cap and expansion tank cap.
Fuel tank capacity: 83 liters (22 gallons).
Use only clean, fresh diesel fuel with ultra low (<15 ppm) sulfur content meeting ASTM D 975 or EN 590 specifications. The minimum cetane rating should be 40. Purchase fuel in quantities that can be used within 180 days to ensure fuel freshness.
Important: Use of non-ultra low sulfur fuel will cause damage to the engine emission system.
Use summer grade diesel fuel (No. 2-D) at temperatures above -7° C (20° F) and winter grade (No. 1-D or No. 1-D/2-D blend) below that temperature. Use of winter grade fuel at lower temperatures provides lower flash point and cold flow characteristics which will ease starting and reduce fuel filter plugging.
Use of summer grade fuel above -7° C (20° F) will contribute toward longer fuel pump life and increased power compared to winter grade fuel.
Important: Do not use kerosene or gasoline instead of diesel fuel. Failure to observe this caution will damage the engine.
Fuel is harmful or fatal if swallowed. Long-term exposure to vapors can cause serious injury and illness.
Avoid prolonged breathing of vapors.
Keep face away from nozzle and fuel tank or conditioner opening.
Keep fuel away from eyes and skin.
Biodiesel Ready
This machine can also use a biodiesel blended fuel of up to B7 (7% biodiesel, 93% petrodiesel). The petrodiesel portion must be ultra low sulfur. Observe the following precautions:
The biodiesel portion of the fuel must meet specification ASTM D6751 or EN14214.
The blended fuel composition should meet ASTM D975 or EN590.
Painted surfaces may be damaged by biodiesel blends.
Monitor seals, hoses, gaskets in contact with fuel as they may be degraded over time.
Fuel filter plugging may be expected for a time after converting to biodiesel blends.
Contact your distributor if you wish more information on biodiesel.
In certain conditions, fuel is extremely flammable and highly explosive. A fire or explosion from fuel can burn you and others and can damage property.
Fill the fuel tank outdoors, in an open area, when the engine is cold. Wipe up any fuel that spills.
Never fill the fuel tank inside an enclosed trailer.
Never smoke when handling fuel, and stay away from an open flame or where fuel fumes may be ignited by a spark.
Store fuel in an approved container and keep it out of the reach of children. Never buy more than a 180-day supply of fuel.
Do not operate machine without entire exhaust system in place and in proper working condition.
In certain conditions during fueling, static electricity can be released causing a spark which can ignite the fuel vapors. A fire or explosion from fuel can burn you and others and can damage property.
Always place fuel containers on the ground away from your vehicle before filling.
Do not fill fuel containers inside a vehicle or on a truck or trailer bed because interior carpets or plastic truck bed liners may insulate the container and slow the loss of any static charge.
When practical, remove equipment from the truck or trailer and refuel the equipment with its wheels on the ground.
If this is not possible, then refuel such equipment on a truck or trailer from a portable container, rather than from a fuel dispenser nozzle.
If a fuel dispenser nozzle must be used, keep the nozzle in contact with the rim of the fuel tank or container opening at all times until fueling is complete.
Park the machine on a level surface.
Using a clean rag, clean area around fuel tank cap.
Remove cap from the fuel tank (Figure 36).

Fill the tank until the level is to the bottom of the filler neck with diesel fuel.
Install fuel tank cap tightly after filling tank.
Note: If possible, fill the fuel tank after each use. This will minimize possible buildup of condensation inside the fuel tank.
| Maintenance Service Interval | Maintenance Procedure |
|---|---|
| Before each use or daily |
|
The machines reservoir is filled at the factory with approximately 28.4 liters (7.5 U.S. gallons) of high quality hydraulic fluid. Check the level of the hydraulic fluid before the engine is first started and daily thereafter. The recommended replacement fluid is as follows:
Toro Premium All Season Hydraulic Fluid (Available in 5 gallon pails or 55 gallon drums. See parts catalog or Toro distributor for part numbers.)
Alternate fluids: If the Toro fluid is not available, other fluids may be used provided they meet all the following material properties and industry specifications. We do not recommend the use of synthetic fluid. Consult with your lubricant distributor to identify a satisfactory product Note: Toro will not assume responsibility for damage caused by improper substitutions, so use only products from reputable manufacturers who will stand behind their recommendation.
High Viscosity Index/Low Pour Point Anti-wear Hydraulic Fluid, ISO VG 46
| Material Properties: | |||
| Viscosity, ASTM D445 | cSt @ 40°C 44 to 48cSt @ 100°C 7.9 to 8.5 | ||
| Viscosity Index ASTM D2270 | 140 to 160 | ||
| Pour Point, ASTM D97 | -34°F to -49°F | ||
| Industry Specifications: | |||
| Vickers I-286-S (Quality Level), Vickers M-2950-S (Quality Level), Denison HF-0 | |||
Premium Biodegradable Hydraulic Fluid-Mobil EAL EnviroSyn 46H
Important: Mobil EAL EnviroSyn 46H is the only synthetic biodegradable fluid approved by Toro. This fluid is compatible with the elastomers used in Toro hydraulic systems and is suitable for a wide-range of temperature conditions. This fluid is compatible with conventional mineral oils, but for maximum biodegradability and performance the hydraulic system should be thoroughly flushed of conventional fluid. The oil is available in 19 liter (5 gallon) containers or 55 gallon drums from your Mobil Distributor.
Note: Many hydraulic fluids are almost colorless, making it difficult to spot leaks. A red dye additive for the hydraulic system oil is available in 20 mlm (2/3 ounce) bottles. One bottle is sufficient for 15-221iters (4-6 gallons) of hydraulic oil. Order part no. 44-2500 from your authorized Toro distributor.
Position the machine on a level surface, lower the cutting units, stop the engine, and remove the key.
Clean the area around the filler neck and cap of the hydraulic tank (Figure 37). Remove the cap from the filler neck.

Remove the dipstick from the filler neck and wipe it with a clean rag. Insert the dipstick into the filler neck; then remove it and check the fluid level. The fluid level should be between the two marks on the dipstick.
If the level is low, add the appropriate fluid to raise the level to the upper mark.
Install the dipstick and cap onto the filler neck.
| Maintenance Service Interval | Maintenance Procedure |
|---|---|
| Before each use or daily |
|
The tires are over-inflated for shipping. Therefore, release some of the air to reduce the pressure. The correct air pressure in the tires is 83-103 kPa (12–15 psi). Check the tire pressure daily.
Important: Maintain the recommended pressure in all tires to ensure a good quality-of-cut and proper machine performance. Do not under-inflate.
Important: The fuel system must be bled if any of the following situations have occurred:
The engine has ceased running due to lack of fuel.
Maintenance has been performed upon the fuel system components.
Remove your foot from the traction pedal and ensure that it is in neutral. Ensure that the parking brake is set.
Move the throttle control to the low idle position.
Turn the ignition key to the Run position. The glow indicator will light.
When the glow indicator dims, turn the ignition key to the Start position. Release the key immediately when the engine starts and allow it to return to the Run position. Adjust the engine speed.
Important: Do not run the starter motor more than 15 seconds at a time or premature starter failure may result. If the engine fails to start after 15 seconds, turn the key to the Off position, recheck the controls and procedures, wait 15 additional seconds, and repeat the starting procedure.
When the temperature is less than -7°C (20°F), the starter motor can be run for 30 seconds on then 60 seconds off for 2 attempts.
Shut the engine off and wait for all moving parts to stop before checking for oil leaks, loose parts, and other malfunctions.
Important: Allow engine to idle for 5 minutes before shutting it off after a full load operation. This allows the turbo charger to cool down before shutting the engine off. Failure to do so may lead to turbo-charger trouble.
Note: Lower cutting units to the ground whenever machine is parked. This relieves the hydraulic load from the system, prevents wear on system parts and also prevents accidental lowering of the cutting units.
Return the engine speed to low idle.
Move the PTO switch to the Off position.
Set the parking brake.
Rotate the ignition key to Off.
Remove the key from the switch to prevent accidental starting.
| Maintenance Service Interval | Maintenance Procedure |
|---|---|
| Before each use or daily |
|
If safety interlock switches are disconnected or damaged the machine could operate unexpectedly causing personal injury.
Do not tamper with the interlock switches.
Check the operation of the interlock switches daily and replace any damaged switches before operating the machine.
The machine has interlock switches in the electrical system. These switches are designed to stop the engine when operator gets off of the seat when the traction pedal is depressed. However, the operator may get off of the seat while the engine is running and the traction pedal is in neutral. Although the engine will continue to run if the PTO switch is disengaged and the traction pedal is released, it is strongly recommended that the engine be stopped before rising from the seat.
To check the operation of the interlock switches, perform the following procedure:
Drive the machine slowly to a large, relatively open area. Lower the cutting unit, stop the engine, and apply the parking brake.
Sit on the seat and depress the traction pedal. Try to start the engine. The engine should not crank. If the engine cranks, there is a malfunction in the interlock system that should be corrected before beginning operation.
Sit on the seat and start the engine. Rise from the seat and move the PTO switch to On. The PTO should not engage. If the PTO engages, there is a malfunction in the interlock system that should be corrected before beginning operation.
Sit on the seat, engage the parking brake and start the engine. Move the traction pedal out of the neutral position. The engine should kill. If the engine does not kill, there is a malfunction in the interlock system that should be corrected before beginning operation.
You can adjust the counterbalance on the rear cutting unit lift arms to compensate for different turf conditions and to maintain a uniform height-of-cut in the rough conditions or in areas of thatch build up.
You can adjust each counterbalance spring to one of four settings. Each increment increases or decreases counterbalance on the cutting unit by 2.3 kg (5 lb). The springs can be positioned on the back side of the spring actuator to remove all counter balance (forth position).
Position the machine on a level surface, lower the cutting units, stop the engine, engage the parking brakes, and remove the key from ignition switch.
Insert a tube or similar object onto the long spring end to relieve the spring tension during the adjustment (Figure 38).
The springs are under tension.
Use caution when adjusting them.
While relieving the spring tension, remove the bolt and locknut securing the spring actuator to the bracket (Figure 38).

Move the spring actuator to the desired hole location and secure with locknut.
Repeat the procedure on the remaining spring.
Position the machine on a level surface, lower the cutting units, stop the engine, engage the parking brakes, and remove the key from ignition switch.
The lift arm switch is located behind the front right lift arm (Figure 39).

Loosen the switch mounting screws (Figure 39) and move the switch up to increase the lift arm turn around height or move the switch down to decrease the lift arm turn around height. Tighten the mounting screws.
In an emergency, the machine can be moved forward by actuating the bypass valve in the variable displacement hydraulic pump and pushing or towing the machine. Do not push or tow the machine for more than 1/4 mile (0.4 km).
Important: Do not push or tow the machine faster than 3-4.8 km/h (2-3 MPH) because internal transmission damage may occur. The bypass valve must be open whenever the machine is pushed or towed.
Important: If the machine must to be pushed or towed in reverse, the check valve in the four-wheel drive manifold must also be bypassed. To bypass the check valve, connect a hose assembly (Hose Part No. 95-8843, Coupler Fitting No. 95-0985 [Qty. 2], and Hydraulic Fitting No. 340-77 [Qty. 2]) to the reverse traction pressure test port and the reverse four-wheel drive pressure port.
Open hood and remove the center shroud
Rotate the bypass valve 90° (1/4 turn) in either direction to open and allow oil to bypass internally (Figure 40). Because fluid is bypassed, the machine can be slowly moved without damaging the transmission. Note the position of the valve when opening or closing.

Rotate the bypass valve 90° (1/4 turn) back before starting the engine. Do not exceed 7-11 N·m (5-8 ft.-lb.) torque to close the valve.
On the front of the machine on the frame on the inside of each drive tire
On the rear of the machine at the center of the axle
On each side of the frame under the front steps
The rear bumper
Practice driving the machine because it has a hydrostatic transmission and its characteristics are different than many turf maintenance machines. Some points to consider when operating the traction unit and cutting units are the transmission, engine speed, load on the cutting blades and the importance of the brakes.
To maintain enough power for the traction unit while operating, regulate the traction pedal to keep the engine RPM high and somewhat constant. A good rule to follow is to decrease the ground speed as the load on the cutting units increases, and increase the ground speed as the load decreases.
Therefore, allow the traction pedal to move backward as the engine RPM decreases, and depress the pedal slowly as the RPM increases. By comparison, when driving from one work area to another, with no load and cutting unit raised, have the throttle in the Fast position and depress the traction pedal slowly but fully to attain maximum ground speed.
Another characteristic to consider is the operation of the pedals that are connected to the brakes. The brakes can be used to assist in turning the machine. However, use them carefully, especially on soft or wet grass because the turf may be torn accidentally. Another benefit of the brakes is to maintain traction. For example, in some slope conditions, the uphill wheel slips and loses traction. If this situation occurs, depress the uphill turn pedal gradually and intermittently until the uphill wheel stops slipping, thus, increasing traction on the downhill wheel.
Use extra care when operating the machine on slopes. Make sure that the seat latch is properly secured and the seat belt is buckled. Drive slowly and avoid sharp turns on slopes to prevent roll overs. For steering control, the cutting unit must be lowered when going downhill.
Important: Allow engine to idle for 5 minutes before shutting it off after a full load operation. This allows the turbo charger to cool down before shutting the engine off. Failure to do so may lead to turbo-charger trouble.
Before stopping the engine, disengage all controls and move the throttle to Slow. Moving the throttle to Slow reduces high engine RPM, noise, and vibration. Turn the key to Off to stop the engine.
Before mowing grass, practice operating the machine in an open area. Start and stop the engine. Operate in forward and reverse. Lower and raise the cutting units and engage and disengage the reels. When you feel familiar with the machine, practice operating up and down slopes at different speeds.
If a warning light comes on during operation, stop the machine immediately and correct the problem before continuing operation. Serious damage could occur if you operate the machine with a malfunction.
Start the engine and move the engine speed switch to the Fast position. Move the Mow Speed Limiter to the mow position. Move the PTO switch to the ON position and use the Lift Switch to control the cutting units (the front cutting units are timed to lower before the rear cutting units). To move forward and cut grass, press the traction pedal forward.
Move the PTO switch to the OFF position and raise the cutting units to the transport position. Move the Mow Speed Limiter to the transport position. Be careful when driving between objects so you do not accidentally damage the machine or cutting units. Use extra care when operating the machine on slopes. Drive slowly and avoid sharp turns on slopes to prevent roll overs. Lower the cutting units when going downhill for steering control.
Note: Determine the left and right sides of the machine from the normal operating position.
| Maintenance Service Interval | Maintenance Procedure |
|---|---|
| After the first 8 hours |
|
| After the first 50 hours |
|
| After the first 200 hours |
|
| After the first 250 hours |
|
| Before each use or daily |
|
| Every 50 hours |
|
| Every 100 hours |
|
| Every 150 hours |
|
| Every 200 hours |
|
| Every 400 hours |
|
| Every 800 hours |
|
| Before storage |
|
| Yearly |
|
Important: Refer to your engine Operator's Manual and cutting unit Operator's Manual for additional maintenance procedures.

If you leave the key in the ignition switch, someone could accidently start the engine and seriously injure you or other bystanders.
Remove the key from the ignition before you do any maintenance.
Release hood latches (Figure 42) and pivot open the hood.

Remove the cotter pins securing the rear hood brackets to the frame pins and lift off the hood.
| Maintenance Service Interval | Maintenance Procedure |
|---|---|
| Every 50 hours |
|
The machine has grease fittings that must be lubricated regularly with No. 2 General Purpose Lithium Base Grease. If the machine is operated under normal conditions, lubricate all bearings and bushings after every 50 hours of operation or immediately after every washing.
The grease fitting locations and quantities are as follows:
Brake shaft pivot bearings (5) (Figure 43)

Rear axle pivot bushings (2) (Figure 44)

Steering cylinder ball joints (2) (Figure 45)

Tie rod ball joints (2) (Figure 45)
King pin bushings (2) (Figure 45). The top fitting on the king pin should only be lubricated annually (2 pumps).
Lift arm bushings (1 per cutting unit) (Figure 46)

Lift cylinder bushings (2 per cutting unit) (Figure 46)
Lift arm pivot bushings (1 per cutting unit) (Figure 47)
Cutting unit carrier frame (2 per cutting unit) (Figure 47)
Cutting unit lift arm pivot (1 per cutting unit) (Figure 47)

| Maintenance Service Interval | Maintenance Procedure |
|---|---|
| Every 400 hours |
|
Check the air cleaner body for damage which could cause an air leak. Replace if damaged. Check the whole intake system for leaks, damage or loose hose clamps.
Service the air cleaner filter only when the service indicator (Figure 48) requires it. Changing the air filter before it is necessary only increases the chance of dirt entering the engine when the filter is removed.

Important: Be sure the cover is seated correctly and seals with the air cleaner body.
Pull the latch outward and rotate the air cleaner cover counterclockwise (Figure 49).

Remove the cover from the air cleaner body. Before removing the filter, use low pressure air (40 psi, clean and dry) to help remove large accumulations of debris packed between outside of primary filter and the canister. Avoid using high pressure air which could force dirt through the filter into the intake tract.
This cleaning process prevents debris from migrating into the intake when the primary filter is removed.
Remove and replace the primary filter (Figure 50).
Cleaning of the used element is not recommended due to the possibility of damage to the filter media. Inspect the new filter for shipping damage, checking the sealing end of the filter and the body. Do not use a damaged element. Insert the new filter by applying pressure to the outer rim of the element to seat it in the canister. Do not apply pressure to the flexible center of the filter.

Important: Never attempt to clean the safety filter (Figure 51). Replace the safety filter with a new one after every three primary filter services.

Clean the dirt ejection port located in the removable cover. Remove the rubber outlet valve from the cover, clean the cavity and replace the outlet valve.
Install the cover orienting the rubber outlet valve in a downward position—between approximately 5:00 to 7:00 when viewed from the end.
Reset the indicator (Figure 48) if it shows red.
| Maintenance Service Interval | Maintenance Procedure |
|---|---|
| After the first 50 hours |
|
| Every 150 hours |
|
Remove the drain plug (Figure 52) and let the oil flow into a drain pan. When the oil stops, install the drain plug.

Remove the oil filter (Figure 53). Apply a light coat of clean oil to the new filter seal before screwing it on. Do not overtighten.

Add oil to the crankcase; refer to Checking the Engine Oil in Operation.
Adjust the throttle cable (Figure 54) so that the governor lever on the engine contacts the high speed set bolt at the same point that the throttle cable contacts the end of the slot in the control arm.

Under certain conditions, diesel fuel and fuel vapors are highly flammable and explosive. A fire or explosion from fuel can burn you and others and can cause property damage.
Fill the fuel tank outdoors, in an open area, when the engine is off and is cold. Wipe up any fuel that spills.
Do not fill the fuel tank completely full. Add fuel to the fuel tank until the level is 25 mm (1 inch) below the top of the tank, not the filler neck. This empty space in the tank allows the fuel to expand.
Never smoke when handling fuel, and stay away from an open flame or where fuel fumes may be ignited by a spark.
Store fuel in a clean, safety-approved container and keep the cap in place.
| Maintenance Service Interval | Maintenance Procedure |
|---|---|
| Before each use or daily |
|
| Every 800 hours |
|
| Before storage |
|
Drain and clean the fuel tank every 800 hours. Also, drain and clean the tank if fuel system becomes contaminated or if the machine will be stored for an extended period of time. Use clean fuel to flush out the tank.
| Maintenance Service Interval | Maintenance Procedure |
|---|---|
| Every 400 hours |
|
| Yearly |
|
Check the fuel lines and connections every 400 hours or yearly, whichever comes first. Inspect them for deterioration, damage, or loose connections.
| Maintenance Service Interval | Maintenance Procedure |
|---|---|
| Before each use or daily |
|
| Every 400 hours |
|
Drain water or other contaminants from water separator daily. Replace filter canister after every 400 hours of operation.
Place a clean container under the fuel filter(Figure 55).
Loosen the drain plug on the bottom of the filter canister.

Clean the area where the filter canister mounts.
Remove the filter canister and clean the mounting surface.
Lubricate the gasket on the filter canister with clean oil.
Install the filter canister by hand until the gasket contacts mounting surface, then rotate it an additional 1/2 turn.
Tighten the drain plug on the bottom of the filter canister.
The fuel pick up tube, located inside the fuel tank, is equipped with a screen to help prevent debris from entering the fuel system. Remove fuel pick up tube and clean screen as required.
Battery posts, terminals, and related accessories contain lead and lead compounds, chemicals known to the State of California to cause cancer and reproductive harm. Wash hands after handling.
Unlatch and raise the operator's console panel (Figure 56).

Battery electrolyte contains sulfuric acid which is a deadly poison and causes severe burns.
Do not drink electrolyte and avoid contact with skin, eyes or clothing. Wear safety glasses to shield your eyes and rubber gloves to protect your hands.
Fill the battery where clean water is always available for flushing the skin.
Connect a 3 to 4 amp. battery charger to the battery posts. Charge the battery at a rate of 3 to 4 amperes for 4 to 8 hours.
When the battery is charged, disconnect the charger from the electrical outlet and battery posts.
Charging the battery produces gasses that can explode.
Never smoke near the battery and keep sparks and flames away from battery.
Install the positive cable (red) to the positive (+) terminal and the negative cable (black) to the negative (-) terminal of the battery (Figure 57). Secure cables to posts with capscrews and nuts. Make sure that the positive (+) terminal is all of the way onto the post and the cable is positioned snug to the battery. The cable must not contact the battery cover. Slide the rubber boot over the positive terminal to prevent a possible short from occurring.

Battery posts, terminals, and related accessories contain lead and lead compounds, chemicals known to the State of California to cause cancer and reproductive harm. Wash hands after handling.
Coat both battery connections with Grafo 112X (skin-over) grease, Toro Part No. 505-47, petroleum jelly, or light grease to prevent corrosion. Slide the rubber boot over the positive terminal.
Close the console panel and secure the latch.
Battery terminals or metal tools could short against metal components causing sparks. Sparks can cause the battery gasses to explode, resulting in personal injury.
When removing or installing the battery, do not allow the battery terminals to touch any metal parts of the machine.
Do not allow metal tools to short between the battery terminals and metal parts of the machine.
Incorrect battery cable routing could damage the machine and cables causing sparks. Sparks can cause the battery gasses to explode, resulting in personal injury.
Always disconnect the negative (black) battery cable before disconnecting the positive (red) cable.
Always connect the positive (red) battery cable before connecting the negative (black) cable.
| Maintenance Service Interval | Maintenance Procedure |
|---|---|
| Every 50 hours |
|
Important: Before welding on the machine, disconnect the negative cable from the battery to prevent damage to the electrical system.
Note: Check the battery condition weekly or after every 50 hours of operation. Keep the terminals and the entire battery case clean because a dirty battery will discharge slowly. To clean the battery, remove it from the machine, wash the entire case with a solution of baking soda and water. Rinse with clear water. Coat the battery posts and cable connectors with Grafo 112X (skin-over) grease (Toro Part No. 505-47) or petroleum jelly to prevent corrosion.
| Maintenance Service Interval | Maintenance Procedure |
|---|---|
| After the first 8 hours |
|
| Every 200 hours |
|
Failure to maintain proper torque of the wheel nuts could result in failure or loss of wheel and may result in personal injury.
Torque the front and rear wheel nuts to 85-100 ft.-lb. (115-136 N·m) after 1-4 hours of operation and again after 8 hours of operation. Torque every 200 hours thereafter.
Note: Front wheel nuts are 1/2-20 UNF. Rear wheel nuts are M12 x 1.6-6H (Metric).
| Maintenance Service Interval | Maintenance Procedure |
|---|---|
| Every 400 hours |
|
Check the oil level after every 400 hours of operation. Use high quality SAE 85W-140 wt. gear lube as a replacement.
With machine on level surface, position the wheel so one check plug (Figure 61) is at the 12 o'clock position and the other is at 3 o'clock position.

Remove the plug at the 3 o’clock position (Figure 61). Oil level should be within 6 mm (1/4 inch) of the check plug hole.
If the oil level is low, remove the plug at the 12 o’clock position and add oil until it begins to flow out of the hole at the 3 o’clock position.
Re-install both plugs.
Repeat steps 1–3 on the opposite planetary gear assembly.
| Maintenance Service Interval | Maintenance Procedure |
|---|---|
| After the first 250 hours |
|
| Every 800 hours |
|
Change the oil initially after first 250 hours of operation. Thereafter, change the oil every 800 hours, or yearly, whichever occurs first. Use a high quality SAE 85W-140 wt. gear lube as replacement.
With the machine on a level surface, position a wheel so that one of the check plugs is at the lowest (6 o'clock) position (Figure 62).

Place a drain pan under the planetary hub, remove both plugs and allow oil to drain.
Place a drain pan under the brake housing, remove the drain plug and allow the oil to drain (Figure 63).

When all of the oil has drained from both locations, re-install the plug in the brake housing.
Rotate the wheel until the open holes in the planetary are at the 11 and 1 o'clock position (Figure 64).

Through either open hole, slowly fill the planetary with .53-.59 liter (18–20 ounces) of high quality SAE 85W-140 wt. gear lube.
Re-install the plugs.
Repeat the procedure on the opposite planetary/brake assembly.
| Maintenance Service Interval | Maintenance Procedure |
|---|---|
| Every 400 hours |
|
The rear axle is shipped from the factory filled with SAE 85W-140 wt. gear lube. Check the oil level before the engine is first started and every 400 hours thereafter. The capacity is 80 oz. (2.4l). Visually inspect for leaks daily.
Position the machine on a level surface.
Remove a check plug from one end of the axle (Figure 65) and make sure that the lubricant is up to the bottom of the hole. If the level is low, remove the fill plug (Figure 65) and add enough lubricant to bring the level up to the bottom of the check plug holes.

| Maintenance Service Interval | Maintenance Procedure |
|---|---|
| After the first 200 hours |
|
| Every 800 hours |
|
Position the machine on a level surface.
Clean the area around the 3 drain plugs, 1 on each end and 1 in the center (Figure 66).

Remove the (3) oil level check plugs and main axle vent cap to ease in draining of the oil.
Remove the drain plugs and allow the oil to drain into the pans.
Install the plugs.
Remove a check plug and fill axle with approximately 80 oz. of 85W-140 gear lube or until lubricant is up to bottom of hole.
Install check plug.
The machine must not creep when traction pedal is released. If it does creep, an adjustment is required.
Park machine on a level surface, shut engine off, position speed control into LOW range and lower cutting units to the floor. Depress only the right brake pedal and engage the parking brake.
Jack up left side of machine until left front tire is off the shop floor. Support machine with jack stands to prevent it from falling accidentally.
Start engine and allow run at low idle.
Adjust jam nuts on pump rod end to move pump control tube forward to eliminate forward creep or rearward to eliminate rearward creep (Figure 67).

After wheel rotation ceases, tighten jam nuts to secure adjustment.
Stop the engine and release the right brake. Remove jack stands and lower the machine to the shop floor. Test drive the machine to make sure it does not creep.
| Maintenance Service Interval | Maintenance Procedure |
|---|---|
| Every 800 hours |
|
Measure the center-to-center distance (at axle height) at the front and rear of the steering tires. The front measurement must be 3 mm (1/8 inch) less than the rear measurement (Figure 68).

To adjust, remove the cotter pin and nut from either tie rod ball joint (Figure 69). Remove tie rod ball joint from axle case support.

Loosen the clamps at both ends of the tie rods (Figure 69).
Rotate the detached ball joint inward or outward one (1) complete revolution. Tighten clamp at loose end of tie rod.
Rotate the entire tie rod assembly the same direction (inward or outward) one (1) complete revolution. Tighten clamp at connected end of tie rod.
Install the ball joint in the axle case support and tighten the nut finger tight. Measure toe-in.
Repeat procedure if necessary.
Tighten the nut and install a new cotter pin when the adjustment is correct.
| Maintenance Service Interval | Maintenance Procedure |
|---|---|
| Before each use or daily |
|
Remove debris from the engine area, oil cooler and radiator daily. Clean them more frequently in dirty conditions.
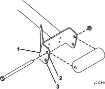
Unlatch and swing open rear screen (Figure 70). Clean the screen thoroughly of all debris.
Note: To remove the screen, lift off the hinge pins.

Clean both sides of the oil cooler/radiator area (Figure 71) thoroughly with compressed air. Start from the front and blow the debris out towards the back. Then clean from the back side and blow towards the front. Repeat procedure several times until all chaff and debris is removed.

Important: Cleaning the oil cooler/radiator with water will promote premature corrosion damage to components and compact debris.
Close the rear screen and secure it with the latch.
Adjust the service brakes when there is more than 13 mm (1/2 inch) of “free travel" of the brake pedal, or when the brakes do not work effectively. Free travel is the distance the brake pedal moves before braking resistance is felt.
Disengage the locking latch from the brake pedals so that both pedals work independently of each other.
To reduce free travel of the brake pedals, tighten the brakes:
Loosen the front nut on the threaded end of the brake cable (Figure 72).

Tighten the rear nut to move the cable backward until the brake pedals have 0 to 13 mm (0 to 1/2 inch) of free travel.
Note: Make sure there is no brake tension when the pedal is released.
Tighten the front nuts after the brakes are adjusted correctly.
| Maintenance Service Interval | Maintenance Procedure |
|---|---|
| Every 100 hours |
|
Check the condition and tension of the belts (Figure 73) after every 100 operating hours.
Proper tension will allow 10 mm (3/8 inch) deflection when a force of 10 lb. is applied on the belt midway between the pulleys.
If the deflection is not 10 mm (3/8 inch), loosen the alternator mounting bolts (Figure 73). Increase or decrease the alternator belt tension and tighten the bolts. Check the deflection of the belt again to ensure that the tension is correct.

| Maintenance Service Interval | Maintenance Procedure |
|---|---|
| Every 800 hours |
|
Change the hydraulic fluid after every 800 operating hours, in normal conditions. If the fluid becomes contaminated, contact your local Toro distributor because the system must be flushed. Contaminated fluid looks milky or black when compared to clean oil.
Turn the engine off and raise the hood.
Disconnect the case return line from the bottom of the reservoir and let the hydraulic fluid flow into a large drain pan. Connect the line when the hydraulic fluid stops draining.
Fill the reservoir with approximately 28.4liters (7.5 gallons) of hydraulic fluid; refer to Checking the Hydraulic Fluid.
Important: Use only the hydraulic fluids specified. Other fluids could cause system damage.
Install the reservoir cap. Start the engine and use all of the hydraulic controls to distribute hydraulic fluid throughout the system. Also check for leaks; then stop the engine.
Check the fluid level and add enough to raise the level to the FULL mark on the dipstick. Do not overfill.
| Maintenance Service Interval | Maintenance Procedure |
|---|---|
| After the first 200 hours |
|
| Every 800 hours |
|
Change the 2 hydraulic filters initially after the first 200 operating hours. Thereafter, change the filters after every 800 operating hours, in normal conditions.
Use Toro replacement filters Part No. 94-2621 for the rear (cutting unit) of the machine and 75-1310 for the front (charge) of the machine.
Important: Use of any other filter may void the warranty on some components.
Position the machine on a level surface, lower the cutting units, stop the engine, engage the parking brakes, and remove the ignition key.
Clean the area around the filter mounting area. Place a drain pan under the filter and remove the filter (Figure 74 and Figure 75).
Lubricate the new filter gasket and fill the filter with hydraulic fluid.


Ensure that the filter mounting area is clean. Screw the filter on until the gasket contacts the mounting plate; then tighten the filter an additional 1/2 turn.
Start the engine and let it run for about two minutes to purge air from the system. Stop the engine and check for leaks.
| Maintenance Service Interval | Maintenance Procedure |
|---|---|
| Before each use or daily |
|
Inspect the hydraulic lines and hoses daily for leaks, kinked lines, loose mounting supports, wear, loose fittings, weather deterioration, and chemical deterioration. Make all necessary repairs before operating.
Hydraulic fluid escaping under pressure can penetrate skin and cause injury.
Make sure all hydraulic fluid hoses and lines are in good condition and all hydraulic connections and fittings are tight before applying pressure to the hydraulic system.
Keep your body and hands away from pin hole leaks or nozzles that eject high pressure hydraulic fluid.
Use cardboard or paper to find hydraulic leaks.
Safely relieve all pressure in the hydraulic system before performing any work on the hydraulic system.
Seek immediate medical attention if fluid is injected into skin.
Contact with the reels or other moving parts can result in personal injury.
Keep fingers, hands, and clothing away from the reels or other moving parts.
Never attempt to turn the reels by hand or foot while the engine is running.
Note: When backlapping, the front units all operate together, and the rear units operate together.
Position the machine on a level surface, lower the cutting units, stop the engine, engage the parking brake, and move the PTO switch to OFF position.
Unlock and raise the hood to expose the controls.
Make initial reel to bedknife adjustments appropriate for backlapping on all cutting units which are to be backlapped; refer to the cutting unit Operator's Manual.
Select either front, rear or both backlap levers to determine which units to backlap (Figure 76).
Start the engine and run at low idle speed.
Changing the engine speed while backlapping may cause the reels to stall.
Never change the engine speed while backlapping.
Only backlap at low idle engine speed.
To avoid personal injury, be certain that you are clear of the cutting units before proceeding.
With the Mow Speed Limiter in the mow position, move the PTO switch to the ON position. Press the Lift Switch to start the backlapping operation on the designated reels.
Apply lapping compound with a long handle brush. Never use a short handled brush.

If the reels stall or become erratic while backlapping, increase the throttle speed until the reel stabilizes.
To make an adjustment to the cutting units while backlapping, turn the reels off by pressing the rear of the lift switch; move the PTO switch to the OFF position, and stop the engine. After completing adjustments, repeat steps through 8.
Repeat the procedure for all cutting units you want to backlap.
When finished, return the backlap levers to the Mow position, lower the hood, and wash all lapping compound off of the cutting units. Adjust cutting unit reel to bedknife as needed. Move the cutting unit reel speed controls to the desired mowing position.
Important: If the backlap switch is not returned to the Off position after backlapping, the cutting units will not raise or function properly.
Note: Additional instructions and procedures on backlapping are available in the TORO Sharpening Reel & Rotary Mowers Manual Form No. 80–300SL.
Note: For a better cutting edge, run a file across the front face of the bedknife after lapping. This will remove any burrs or rough edges that may have built up on the cutting edge.
Drain the engine oil from the oil pan and install the drain plug.
Remove and discard the oil filter. Install a new oil filter.
Refill the oil pan with specified motor oil.
Start the engine and run it at idle speed for approximately two minutes.
Stop the engine.
Flush the fuel tank with fresh, clean diesel fuel.
Secure all of the fuel system fittings.
Thoroughly clean and service the air cleaner assembly.
Seal the air cleaner inlet and the exhaust outlet with weatherproof tape.
Check the anti freeze protection and add a 50/50 solution of water and ethylene glycol anti-freeze as needed for the expected minimum temperature in your area.
Thoroughly clean the traction unit, cutting units, and the engine.
Check the tire pressure; refer to Checking the Tire Pressure.
Check all fasteners for looseness; tighten as necessary.
Grease or oil all grease fittings and pivot points. Wipe up any excess lubricant.
Lightly sand and use touch-up paint on painted areas that are scratched, chipped, or rusted. Repair any dents in the metal body.
Service the battery and cables as follows:
Remove the battery terminals from the battery posts.
Clean the battery, terminals, and posts with a wire brush and baking soda solution.
Coat the cable terminals and battery posts with Grafo 112X skin-over grease (Toro Part No. 505-47) or petroleum jelly to prevent corrosion.
Slowly recharge the battery every 60 days for 24 hours to prevent lead sulfation of the battery.