| Onderhoudsinterval | Onderhoudsprocedure |
|---|---|
| Bij elk gebruik of dagelijks |
|
Deze machine is een zitmaaier met messenkooi bedoeld voor gebruik door professionele bestuurders in commerciële toepassingen. De machine is voornamelijk ontworpen voor het maaien van gras van goed onderhouden gazons in parken, golfbanen en sportvelden. De machine is niet ontworpen voor het maaien van lage struiken, het maaien van gras en andere begroeiing langs de snelweg, of voor gebruik in de landbouw.
Lees deze informatie zorgvuldig door, zodat u weet hoe u de machine op de juiste wijze moet gebruiken en onderhouden en om schade aan de machine en letsel te voorkomen. U bent verantwoordelijk voor het juiste en veilige gebruik van de machine.
Neem rechtstreeks contact op met Toro via www.toro.com voor trainingsmaterialen over productveiligheid en -bediening, informatie over accessoires, om een verdeler te zoeken of om uw product rechtstreeks te registreren.
Als u service, originele Toro-onderdelen of aanvullende informatie nodig hebt, kunt u contact opnemen met een erkende servicedealer of met de klantenservice van Toro. U dient hierbij altijd het modelnummer en het serienummer van het product te vermelden. Het plaatje met het modelnummer en het serienummer van het product bevindt zich rechtsvoor op het frame. De locatie van het plaatje is aangegeven op Figuur 1. U kunt de nummers noteren in de ruimte hieronder.

Deze handleiding wijst u op mogelijke gevaren en bevat veiligheidswaarschuwingen die u kunt herkennen aan het waarschuwingspictogram (Figuur 2), dat wijst op een gevaar dat ernstig letsel of de dood kan veroorzaken indien u nalaat de voorgeschreven maatregelen te treffen.

Er worden in deze handleiding twee woorden gebruikt om uw aandacht op bijzondere informatie te vestigen. Belangrijk attendeert u op bijzondere technische informatie en Opmerking duidt algemene informatie aan die bijzondere aandacht verdient.
Dit product voldoet aan alle relevante Europese richtlijnen. Zie voor details de aparte productspecifieke conformiteitsverklaring.
Als de machine zonder goed werkende vonkenvanger of goed onderhouden brandveilige motor wordt gebruikt in een bosgebied of op een met dicht struikgewas of gras begroeid terrein, handelt de bestuurder in strijd met de bepalingen van sectie 4442 of 4443 van de Wet op de Openbare Hulpbronnen (Public Resources Code) van de Staat Californië.
De bijgevoegde Gebruikershandleiding van de motor biedt informatie over het Amerikaanse Environmental Protection Agency (EPA) en het Californische controlesysteem voor emissies, onderhoud en garantie. U kunt vervangingsonderdelen bestellen via de fabrikant van de motor.
CALIFORNIË
Proposition 65 Waarschuwing
De uitlaatgassen van de dieselmotor van dit product bevatten bestanddelen waarvan bekend is dat ze kanker, geboorteafwijkingen of andere schade aan de voortplantingsorganen kunnen veroorzaken.
Gebruik van dit product kan leiden tot blootstelling aan chemische stoffen waarvan de Staat Californië weet dat ze kanker, geboorteafwijkingen en andere schade aan het voortplantingssysteem veroorzaken.
Deze machine voldoet aan EN ISO 5395:2013 (indien de betreffende stickers zijn aangebracht) en ANSI B71.4-2012.
Onjuist gebruik of onderhoud van de machine kan letsel tot gevolg hebben. Om het risico op letsel te vermijden, dient u zich aan de volgende veiligheidsinstructies te houden en altijd op het veiligheidssymbool te letten, dat betekent Voorzichtig, Waarschuwing of Gevaar – instructie voor persoonlijke veiligheid. Niet-naleving van de instructie kan leiden tot lichamelijk of dodelijk letsel.
De volgende instructies zijn ontleend aan de EN ISO-norm 5395:2013 en de ANSI-norm B71.4-2012.
Lees of raadpleeg de gebruikershandleiding en ander instructiemateriaal zorgvuldig. Zorg ervoor dat u vertrouwd raakt met de bedieningsorganen en de veiligheidssymbolen en weet hoe u de machine moet gebruiken.
Laat kinderen of personen die de instructies niet kennen, nooit de maaimachine gebruiken of onderhoudswerkzaamheden daaraan verrichten. Voor de bestuurder kan een wettelijke minimumleeftijd gelden.
Houd iedereen weg uit het gebied waarin u de machine gebruikt, met name kinderen en huisdieren.
Onthoud dat de bestuurder verantwoordelijk is voor ongevallen of schade aan andere personen of hun eigendommen.
Het is niet toegestaan passagiers te vervoeren.
Elke bestuurder en monteur moet ervoor zorgen dat hij of zij professionele en praktische instructie krijgt. De eigenaar is verantwoordelijk voor de instructie van de gebruikers. Bij een dergelijke instructie moet de nadruk liggen op:
zorgvuldigheid en concentratie bij het werken met zitmaaiers;
als de machine op een helling begint te glijden, kan dat niet met de rem worden gecorrigeerd. De belangrijkste oorzaken voor het verliezen van de controle zijn:
onvoldoende grip van de wielen,
te snel rijden,
onjuist gebruik van de rem,
het type machine is niet geschikt voor het specifieke werk,
zich onvoldoende bewust zijn van de specifieke omstandigheden van het terrein, met name op hellingen,
onjuiste bevestiging en verdeling van lasten.
De eigenaar/gebruiker kan ongelukken en letsel aan personen en schade aan zaken voorkomen, en is verantwoordelijk mochten deze zich voordoen.
Draag bij het maaien altijd geschikte uitrusting zoals oogbescherming, stevige schoenen met een gripvaste zool, een lange broek en gehoorbescherming.
Draag lang haar niet los. Draag geen juwelen.
Inspecteer het terrein waarop u de maaimachine gaat gebruiken grondig en verwijder eventuele voorwerpen die door de machine kunnen worden uitgeworpen.
Vervang defecte geluiddempers/knalpotten.
Inspecteer het terrein om vast te stellen welke accessoires en werktuigen nodig zijn om goed en veilig te werken. Gebruik alleen door de fabrikant goedgekeurde accessoires en werktuigen.
Controleer of de dodemansknop, de veiligheidsschakelaars en de veiligheidsschermen zijn bevestigd en naar behoren werken. Gebruik de machine uitsluitend als deze naar behoren werkt.
Wees uiterst voorzichtig bij het omgaan met benzine om persoonlijk letsel en materiële schade te voorkomen. Brandstof is uiterst brandbaar en de dampen zijn explosief.
Doof alle sigaretten, sigaren, pijpen en andere ontstekingsbronnen.
Gebruik uitsluitend een goedgekeurd vat of blik voor de brandstof.
Verwijder nooit de dop van de brandstoftank en vul nooit brandstof bij terwijl de motor loopt.
Laat de motor afkoelen voordat u brandstof bijvult.
U mag de brandstoftank nooit binnenshuis bijvullen.
Bewaar de machine of brandstofhouder nooit bij een open vlam, vonk of waakvlam bij bijv. een geiser of andere apparaten.
Vul vaten nooit in een voertuig of vrachtwagen of op een oplegger met plastic afdekking. Zet brandstofvaten altijd op de grond en uit de buurt van het voertuig voordat u de tank bijvult.
Laad de machine uit de vrachtwagen of van de aanhanger en vul de tank pas als de machine op de grond staat. Als dit niet mogelijk is, is het beter dergelijke machines bij te vullen uit een draagbaar vat dan met behulp van een brandstofpistool.
Houd de vulpijp voortdurend in contact met de rand van de brandstoftank of de opening van de brandstofhouder totdat het bijvullen voltooid is. Gebruik geen hulpmiddelen die de vulpijp in de geopende stand vergrendelen.
Kleed u onmiddellijk om als er brandstof wordt gemorst op uw kleding.
Doe de brandstoftank nooit te vol. Plaats de brandstoftankdop en draai deze goed aan.
Laat de motor nooit in een afgesloten ruimte lopen, omdat zich daar giftige koolmonoxidedampen kunnen verzamelen.
Maai uitsluitend bij daglicht of goed kunstlicht.
Alle werktuigkoppelingen uitschakelen, versnelling in de neutraalstand zetten en de parkeerrem in werking stellen voordat u de motor start.
Denk eraan dat elke helling gevaarlijk is. Het rijden op met gras begroeide hellingen vereist bijzondere zorgvuldigheid. Om te voorkomen dat de machine kantelt:
niet plotseling stoppen of gaan rijden bij het op- en afrijden van hellingen.
houd de snelheid laag bij het rijden op hellingen en in scherpe bochten;
let op bulten en kuilen en andere verborgen gevaren;
Maak geen scherpe bochten. Ga zorgvuldig te werk als u achteruitrijdt.
Gebruik contragewicht(en) of wielgewichten, als dit in de gebruikershandleiding wordt geadviseerd.
Let op kuilen in het terrein en andere verborgen gevaren.
Let op het verkeer als u in de buurt van een weg werkt of deze oversteekt.
Zet de maaimessen stil voordat u andere oppervlakken dan grasvelden oversteekt.
Bij gebruik van werktuigen nooit de afvoeropening naar omstanders toe richten of personen in de buurt van de werkende machine laten komen.
Gebruik de machine nooit als schermen, afdekplaten of andere beveiligingsmiddelen zijn beschadigd of ontbreken. Zorg ervoor dat alle interlockschakelaars zijn aangebracht, correct zijn afgesteld en naar behoren werken.
Verander de instellingen van de motor niet en laat de motor niet lopen met een te hoog toerental. De motor met te hoog toerental laten draaien kan de kans op lichamelijk letsel vergroten.
Voordat u de bestuurdersplaats verlaat:
machine laten stoppen op een horizontaal oppervlak;
aftakas uitschakelen en werktuigen laten zakken;
versnelling in neutraalstand zetten en parkeerrem in werking stellen;
de motor afzetten en het sleuteltje uit het contact nemen.
Schakel de aandrijving naar de werktuigen uit als u de machine transporteert of niet gebruikt.
Motor afzetten en aandrijving naar werktuigen uitschakelen:
vóór het bijvullen van brandstof;
voordat u de maaihoogte instelt, tenzij die vanaf de bestuurderspositie kan worden ingesteld.
voordat u verstoppingen verwijdert;
voordat u de maaimachine gaat controleren, schoonmaken of werkzaamheden daaraan gaat verrichten;
als u een vreemd voorwerp heeft geraakt of de machine abnormaal begint te trillen. Controleer de maaimachine op beschadigingen en voer alle benodigde reparaties uit voordat u de machine weer gebruikt.
Zet de gashendel terug terwijl de motor uitloopt. Als de machine met een brandstofafsluitklep is uitgerust, draai deze dan dicht als het maaiwerk voltooid is.
Houd uw handen en voeten uit de buurt van de maaidekken.
Kijk achterom en omlaag voordat u achteruitrijdt om er zeker van te zijn dat de weg vrij is.
Verminder uw snelheid en wees voorzichtig als u een bocht maakt of wegen en voetpaden oversteekt. Zet de cilinders/messenkooien stil als u niet maait.
Gebruik de machine niet als u ziek, moe of onder de invloed van alcohol of drugs bent.
Bliksem kan ernstig of dodelijk letsel veroorzaken. Als u bliksem ziet of donder hoort in het gebied, gebruik de machine dan niet; ga schuilen.
Wees voorzichtig als u de machine inlaadt op een aanhanger of een vrachtwagen of uitlaadt.
Wees voorzichtig bij het naderen van blinde hoeken, struiken, bomen, en andere objecten die het zicht kunnen belemmeren.
Zorg dat alle bevestigingsmiddelen goed vastzitten om de veiligheid van de apparatuur te verzekeren.
Als er zich brandstof in de tank bevindt, mag u de machine niet opslaan in een afgesloten ruimte waar brandstofdampen in contact met open vuur of vonken kunnen komen.
Laat de motor afkoelen voordat u de machine in een afgesloten ruimte stalt.
Houd de motor, geluiddemper/knalpot, accubehuizing en de brandstofopslagplaats vrij van overtollig vet, gras en bladeren om het risico op brand te verminderen. Neem gemorste olie of brandstof meteen op.
Zorg ervoor dat alle onderdelen in goede staat verkeren en alle bevestigingselementen en hydraulische aansluitingen stevig vastzitten. Vervang versleten of beschadigde onderdelen en stickers.
Als het nodig is de brandstoftank af te tappen, doe dit dan buiten.
Wees voorzichtig als u de machine afstelt, teneinde te voorkomen dat uw vingers bekneld raken tussen de draaiende messen en de vaste onderdelen van de machine.
Let op dat bij machines met meerdere cilinders/messenkooien, andere cilinders/messenkooien kunnen gaan draaien doordat u een cilinder/messenkooi draait.
Schakel de aandrijvingen uit, breng de maaidekken omlaag, stel de parkeerrem in werking, zet de motor af en verwijder het contactsleuteltje. Wacht totdat alle bewegende delen tot stilstand zijn gekomen voordat u de machine afstelt, reinigt of repareert.
Plaats onderdelen op assteunen indien dit nodig is.
Haal voorzichtig de druk van onderdelen met opgeslagen energie.
Maak de accukabels los voordat u reparatiewerkzaamheden gaat verrichten. Maak eerst de minpool van de accu los en daarna de pluspool. Sluit eerst de pluspool van de accu aan en daarna de minpool.
Wees voorzichtig als u de cilinders/messenkooien controleert. Draag handschoenen en wees voorzichtig als u onderhoudswerkzaamheden uitvoert aan de messenkooien.
Houd uw handen en voeten uit de buurt van bewegende onderdelen. Stel indien mogelijk de machine niet af terwijl de motor loopt.
Laad de accu op in een open, goed geventileerde ruimte; doe dit niet in de buurt van vonken en open vuur. Haal de oplader uit het stopcontact voordat u deze aansluit op of losmaakt van de accu. Draag beschermende kleding en gebruik geïsoleerd gereedschap.
Wees voorzichtig als u de machine inlaadt op een aanhanger of een vrachtwagen of uitlaadt.
Gebruik oprijplaten over de volledige breedte om de machine op een aanhangwagen of in een vrachtwagen te laden.
Zet de machine goed vast met spanbanden, kettingen, kabels of touwen. Zowel de voorste als de achterste spanband moet naar beneden en naar de buitenkant van de machine lopen
De volgende lijst bevat veiligheidsinstructies die specifiek zijn toegesneden op Toro-producten, of andere veiligheidsinstructies die niet zijn opgenomen in de CEN-, ISO- of ANSI-normen.
Dit product kan handen of voeten afsnijden en voorwerpen uitwerpen. Volg altijd alle veiligheidsinstructies op om ernstig of mogelijk dodelijk letsel te voorkomen.
Gebruik van dit product voor andere doeleinden dan het bedoelde gebruik kan gevaarlijk zijn voor de bestuurder of omstanders.
De uitlaatgassen van de motor bevatten koolmonoxide, een reukloos, dodelijk gif.
Laat de motor niet binnenshuis of in een afgesloten ruimte lopen.
Zorg ervoor dat u weet hoe u de motor snel kunt afzetten.
Het verdient aanbeveling veiligheidsschoenen en een lange broek te dragen. Dit is verplicht op grond van diverse plaatselijke veiligheidsvoorschriften en verzekeringsbepalingen.
Wees voorzichtig als u omgaat met brandstof. Neem gemorste brandstof op.
Controleer elke dag of de interlockschakelaars goed functioneren. Als een schakelaar defect is, moet u deze vervangen voordat u de machine gebruikt.
Neem plaats op de bestuurdersstoel voordat u de motor start.
Let goed op als u de machine gebruikt. Om te voorkomen dat u de controle over de machine verliest, moet u de volgende instructies naleven:
Rij niet te dicht langs bunkers, greppels, sloten, dijken of andere gevaarlijke punten.
Verminder de snelheid als u een scherpe bocht maakt. Vermijd plotseling stoppen en starten.
Als u in de buurt van een weg werkt of deze oversteekt, moet u altijd voorrang verlenen.
Gebruik de bedrijfsremmen als u een helling afdaalt, om de snelheid laag te houden en de machine onder controle te houden.
Als u de machine gebruikt met de rolbeugel (omkantelbeveiliging), mag u deze nooit verwijderen en u moet altijd de veiligheidsgordel omdoen.
De maai-eenheden moeten omhoog worden gebracht als u van het ene werkgebied naar het andere rijdt.
Raak de motor, de geluiddemper of de uitlaatpijp niet aan als de motor loopt of direct nadat u deze heeft afgezet. Deze kunnen heet zijn en brandwonden veroorzaken.
De machine kan op elke helling omslaan of kantelen, maar dit risico neemt toe bij een grotere hellinghoek. Vermijd steile hellingen.
Om de macht over het stuur te behouden, moet u de maai-eenheden neerlaten als u hellingafwaarts rijdt.
Schakel de tractieaandrijving langzaam in en houd altijd uw voet op het tractiepedaal, vooral wanneer u een helling afrijdt.
Gebruik de achteruit op het tractiepedaal om te remmen.
Als de motor afslaat wanneer u een helling oprijdt, mag u de machine nooit keren. U moet dan altijd langzaam in een rechte lijn achterwaarts de helling af rijden.
Als er onverwachts een persoon of huisdier in of in de buurt van het maaigebied verschijnt, moet u stoppen met maaien. Onvoorzichtig gebruik in combinatie met de hoeken van het terrein, afkaatsingen en verkeerd geplaatste schermen kunnen leiden tot letsel als gevolg van uitgeworpen voorwerpen. Ga pas verder met maaien als er niets of niemand meer in het maaigebied is.
Zorg ervoor dat alle aansluitstukken van de hydraulische leidingen vastzitten en alle hydraulische slangen en leidingen in goede staat verkeren voordat u druk zet op het hydraulische systeem.
Houd lichaam en handen uit de buurt van kleine lekgaten of spuitmonden waaruit onder hoge druk hydraulische vloeistof ontsnapt. U kunt lekken in het hydraulische systeem opsporen met behulp van karton of papier. Doe dit niet met uw handen. Hydraulische vloeistof die onder druk ontsnapt, kan voldoende kracht hebben om door de huid heen te dringen, en letsel veroorzaken. Waarschuw onmiddellijk een arts als er hydraulische vloeistof is geïnjecteerd in de huid.
Voordat u het hydraulische systeem loskoppelt of werkzaamheden daaraan verricht, moet u alle druk in het systeem opheffen. Dit doet u door de motor af te zetten en de maai-eenheden en werktuigen neer te laten op de grond.
Controleer regelmatig of de brandstofleidingen goed vastzitten en slijtage vertonen. Indien nodig moet u ze vastzetten of repareren.
Als de motor moet lopen om onderhouds- of afstelwerkzaamheden uit te voeren, moet u uw kleding, handen, voeten en andere lichaamsdelen uit de buurt van de maai-eenheden, werktuigen en bewegende delen houden.
Ten behoeve van de veiligheid en een nauwkeurige afstelling moet u het maximale motortoerental door een erkende Toro-dealer laten controleren met een toerenteller.
Indien belangrijke reparaties nodig zijn of hulp is vereist, moet u contact opnemen met een erkende Toro-dealer.
Gebruik uitsluitend door Toro goedgekeurde werktuigen en onderdelen. De garantie kan komen te vervallen als werktuigen worden gebruikt die niet zijn goedgekeurd.
Deze machine heeft een geluidsniveau van 101 dBA met een onzekerheidswaarde (K) van 1 dBA.
Het geluidsniveau werd bepaald volgens de procedures in ISO 11094.
Deze machine oefent een geluidsdruk van 83 dBA uit op het gehoor van de bestuurder (met een onzekerheidswaarde (K) van 1 dBA).
De geluidsdruk is vastgesteld volgens de procedures in EN ISO 5395:2013.
Hand-arm
Gemeten trillingsniveau voor de rechterhand = 0,3 m/s2
Gemeten trillingsniveau voor de linkerhand = 0,3 m/s2
Onzekerheidswaarde (K) = 0,16 m/s2
De gemeten waarden zijn bepaald volgens de procedures in EN ISO 5395:2013.
Gehele lichaam
Gemeten trillingsniveau = 0,2 m/s2
Onzekerheidswaarde (K) = 0,1 m/s2
De gemeten waarden zijn bepaald volgens de procedures in EN ISO 5395:2013.
De motor van deze machine voldoet aan de EU-normen van Stage 3A.
![]() |
Veiligheidsstickers en veiligheidsinstructies zijn gemakkelijk zichtbaar voor de bestuurder en bevinden zich bij plaatsen waar gevaar kan ontstaan. Vervang alle beschadigde of verdwenen stickers. |























Note: Bepaal vanuit de normale bedieningspositie de linker- en rechterzijde van de machine.
Afhankelijk van de breedte van de maaidekken die op de tractie-eenheid gemonteerd worden stelt u de steunrollen als volgt in:
Benodigde onderdelen voor deze stap:
| Waarschuwingssticker | 1 |
Op machines die aan CE moeten voldoen: breng de waarschuwingssticker (onderdeelnummer 120-1683) aan over de standaard waarschuwingssticker (onderdeelnummer 120-1686).
Benodigde onderdelen voor deze stap:
| Vergrendelbeugel van de motorkap | 1 |
| Popnagel | 2 |
| Schroef (¼" x 2") | 1 |
| Platte ring (¼") | 2 |
| Borgmoer (¼") | 1 |
Haak de motorkapvergrendeling los van de beugel van de motorkapvergrendeling (Figuur 4).

Verwijder de 2 popnagels waarmee de motorkapvergrendeling aan de motorkap is bevestigd (Figuur 5).

Verwijder de beugel van de motorkapvergrendeling van de motorkap.
Plaats de beugel van de CE-vergrendeling en de beugel van de motorkapvergrendeling op de motorkap en lijn de montageopeningen uit.
Note: De beugel van de vergrendeling moet zich tegen de motorkap aan bevinden (Figuur 5).Verwijder de bout en moer niet van de arm van de vergrendelbeugel.

Lijn de ringen uit met de openingen aan de binnenzijde van de motorkap.
Bevestig de beugels en de ringen met de popnagels aan de motorkap (Figuur 6).
Haak de sluiting op de vergrendelbeugel van de motorkap (Figuur 7).

Schroef de bout in de andere arm van de vergrendelbeugel om de sluiting te vergrendelen (Figuur 8).

De bout stevig aandraaien, maar de moer niet.
Benodigde onderdelen voor deze stap:
| Slanggeleider voorzijde, rechts | 1 |
| Slanggeleider voorzijde, links | 1 |
Haal de motoren van de messenkooien uit de transportbeugels.
Verwijder de transportbeugels en gooi deze weg.
Haal de maaidekken uit de dozen.
U moet de maaidekken monteren en afstellen volgens de instructies in de Gebruikershandleiding.
Zorg ervoor dat het contragewicht (Figuur 9) wordt gemonteerd aan het juiste uiteinde van het maaidek volgens de instructies in de Gebruikershandleiding van het maaidek.

Alle maaidekken worden geleverd met een grascompensatieveer gemonteerd aan de rechterkant van het maaidek. De grascompensatieveer moet aan dezelfde kant van het maaidek gemonteerd zijn als de aandrijfmotor van de messenkooi. Montage van de grascompensatieveer:
Verwijder de 2 slotbouten en moeren waarmee de stangbeugel aan de lipjes van het maaidek is bevestigd (Figuur 10).

Verwijder de flensmoer waarmee de bout van de veerbuis bevestigd is aan het lipje van het draagframe (Figuur 10).
Verwijder het geheel.
Monteer de bout van de veerbuis op het tegenoverliggende lipje van het draagframe, en bevestig de bout met de flensmoer.
Note: De kop van de bout moet zich bevinden aan de buitenkant van de lip zoals wordt getoond in Figuur 11.

Monteer de stangbeugel op de lipjes van het maaidek; gebruik hierbij de slotbouten en moeren (Figuur 11). Op het maaidek moet u de linkerslanggeleider aan de voorzijde van de lippen op het maaidek bevestigen bij het terugplaatsen van de stangbeugel (Figuur 13).
Important: Op maaidek 4 (links voor) en maaidek 5 (rechts voor), gebruikt u de moeren van de stang-beugel om de slanggeleiders aan de voorkant van de lipjes van het maaidek te monteren. De slanggeleiders moeten naar het middelste maaidek zijn gericht (Figuur 12 tot Figuur 14).



Note: Als u de maaidekken monteert of verwijdert, dient u ervoor te zorgen dat de R-pen is gemonteerd in het gat van de veerstang, naast de stangbeugel. Anders moet de R-pen worden geplaatst in de opening in het uiteinde van de stang.
Vergroot de stuuruitslag van de achterste maaidekken door de 2 afstandsstukken, inbusbouten, en flensborgmoeren (Figuur 15) te verwijderen van de draagframes van de achterste maaidekken (maaidekken 2 en 3); zie Figuur 12.

Laat alle hefarmen helemaal neer.
Breng een laag schoon smeermiddel aan op de as van het draagframe (Figuur 16).

Als u een voormaaidek monteert, moet u het maaidek onder de hefarm schuiven, terwijl u de as van het draagframe in het juk van het draaipunt van de hefarm steekt (Figuur 16). Zorg ervoor dat de drukring zich op zijn plaats op de as van het draagframe bevindt.
Monteer de as van het draagframe op het juk van de hefarm met de lynchpen (Figuur 16).
Om de besturing van de maaidekken vast te zetten bevestigt u het juk op het draagframe met de speciale borgpen (Figuur 17).

Note: Het vastzetten van de besturing is raadzaam bij het maaien op de zijkant van heuvels.
Ga als volgt te werk bij de montage van de achtermaaidekken als de maaihoogte hoger dan 19 mm is.
Verwijder de lynchpen en de ring waarmee de as van het draaipunt van de hefarm is bevestigd aan de hefarm, en schuif de as uit de hefarm (Figuur 18).

Plaats het juk van de hefarm op de as van het draagframe (Figuur 16).
Steek de as van de hefarm in de hefarm en zet deze vast met de ring en de lynchpen (Figuur 18).
Bevestig de ketting van de hefarm aan de kettingbeugel met de borgpen (Figuur 19).
Note: Gebruik het aantal kettingschakels volgens de instructies in de Gebruikershandleiding van het maaidek.

Smeer schoon vet op de sleufas van de motor van de messenkooi.
Smeer olie op de O-ring van de motor van de messenkooi en plaats deze op de flens van de motor.
Plaats de motor door deze rechtsom te draaien zodat de flenzen van motor loskomen van de bouten (Figuur 20).

Draai de motor linksom tot de flenzen de bouten omsluiten en draai dan de bouten vast.
Important: Controleer of de slangen van de motor van de messenkooi niet zijn verdraaid, geknikt of het risico lopen te worden afgekneld.
De gazoncompensatieveer (Figuur 21) zorgt ervoor dat het gewicht van de voorste naar de achterste rol wordt verplaatst. Dit voorkomt dat er een golfpatroon in de grasmat ontstaat, ook wel bekend als 'bobbing'.
Important: Stel de veer af als de maai-eenheid is gemonteerd aan de tractie-eenheid, recht naar voren wijst en is neergelaten op de vloer van de werkplaats.
Monteer de borgpen in de achterste opening in de veerstang (Figuur 21).
Note: Bij onderhoud van het maaidek beweegt u de borgpen naar de opening van de veerstang naast de gazoncompensatieveer.

Draai de zeskantige moeren op het voorste uiteinde van de veerstang vast totdat de lengte van de samengedrukte veer 15,9 cm bedraagt; zie (Figuur 21).
Note: Als u werkt op oneffen terrein, moet de veer 13 mm korter zijn. De machine zal het grondoppervlak iets minder goed volgen.
Note: De compensatie-instelling moet bijgesteld worden als de instelling van de maaihoogte of de aggressiviteit van het maaien worden veranderd.
Benodigde onderdelen voor deze stap:
| Kickstandaard van maaidek | 1 |
Als de maai-eenheid moet worden gekanteld om bij het ondermes/messenkooi te kunnen komen, moet u de achterkant van de maai-eenheid ondersteunen met de kick-standaard zodat de moeren op het achtereind van de stelschroeven van de snijbalk niet op het werkvlak rusten (Figuur 22).

Bevestig de kick-standaard aan de kettingbeugel met de borgpen (Figuur 23).

Voordat de machine wordt gebruikt, moet deze worden gesmeerd, zodat een goede smering is gewaarborgd. Zie Smering. Als de machine niet goed is gesmeerd, kunnen belangrijke onderdelen hierdoor voortijdig slijten of defect raken.
Controleer het peil van het smeermiddel van de achteras voordat de motor voor het eerst wordt gestart, zie Het oliepeil van de achteras controleren.
Controleer het peil van de hydraulische vloeistof voordat de motor voor het eerst wordt gestart, zie Controleer het peil van de hydraulische vloeistof.
Controleer het motoroliepeil voor- en nadat de motor voor de eerste keer wordt gestart, zie Het motoroliepeil controleren.
Benodigde onderdelen voor deze stap:
| Meetstaaf | 1 |
Gebruik de meetstaaf om het maaidek af te stellen. Raadpleeg de Gebruikershandleiding van het maaidek voor de afstelprocedures (Figuur 24).

De 2 pedalen (Figuur 25) bedienen de afzonderlijke remmen op de wielen ter ondersteuning van het draaien en ten behoeve van een betere tractie bij het rijden op hellingen.
Om de pedaalvergrendeling in werking te stellen (Figuur 25), koppelt u de pedalen met de borgpen.
Om de parkeerrem in te schakelen, (Figuur 25) sluit u de pedalen op elkaar aan met de borgpen en drukt u het rechter rempedaal in terwijl u het andere pedaal inschakelt. Om de parkeerrem uit te schakelen, trapt u 1 van de rempedalen in totdat de vergrendeling van de parkeerrem wordt ingetrokken.

Het tractiepedaal (Figuur 25) regelt de beweging vooruit en achteruit. Om vooruit te rijden, moet u de bovenkant van het pedaal intrappen en om achteruit te rijden de onderkant van het pedaal. De rijsnelheid wordt bepaald door de mate waarin u het pedaal intrapt. Voor de maximale rijsnelheid trapt u het pedaal volledig in terwijl de gashendel op SNEL staat.
Om de machine te stoppen, laat u het tractiepedaal opkomen en weer terugkeren in de middelste stand.
Om het stuur in uw richting te kantelen, moet u het pedaal (Figuur 25) intrappen, de stuurkolom naar u toe trekken in een stand die voor u het meest comfortabel is en daarna uw voet van het pedaal halen.
Als de begrenzer voor de maaisnelheid (Figuur 26) is omhooggeklapt, kunt u de maaisnelheid regelen en de maaidekken inschakelen. Elk afstandsstuk verandert de maaisnelheid met 0,8 km/h. Hoe meer afstandsstukken u bovenop de bout plaatst, des te trager zal de machine gaan. Voor transport kunt u de begrenzer wegklappen zodat u met de maximale snelheid kunt rijden.
Stel de schroef/schroeven (Figuur 26) in om de maximale indrukking van het tractiepedaal te beperken en zo de snelheid vooruit/achteruit te begrenzen.
Important: De schroef van de snelheidsbegrenzer moet het tractiepedaal tegenhouden voordat de pomp een volledige slag aflegt, omdat anders de pomp schade kan oplopen.

Met deze hendel (Figuur 27) kunt u de maaidekken opheffen en neerlaten om te maaien en de messenkooien starten en tot stilstand brengen als de messenkooien in de maaistand zijn gezet. De maaidekken kunnen niet worden neergelaten als de maai-/hefhendel in de transportstand staat.
De contactschakelaar (Figuur 27) heeft 3 standen: UIT, AAN/VOORGLOEIEN en START.
Het InfoCenter lcd-scherm toont informatie zoals de bedrijfsmodus en diverse diagnostieken en andere informatie over de machine (Figuur 27).
De aftakasschakelaar (Figuur 27) heeft 2 standen: START en STOP. Duw de aftakasschakelaar naar voren om de maaimessen van het maaidek in te schakelen. Duw de schakelaar naar achteren om de maaimessen van het maaidek uit te schakelen.

Met de toerentalschakelaar (Figuur 27) kunt u het toerental op 2 manieren veranderen. Door op de schakelaar te tikken kan het toerental in stappen van 100 tpm worden verhoogd of verlaagd. Houd een zijde van de schakelaar ingedrukt om de motor automatisch in hoog of laag stationair te schakelen.
Zet de schakelaar omlaag om de koplampen te ontsteken (Figuur 27).
U kunt het aansluitput (Figuur 28) gebruiken voor de stroomvoorziening van optionele elektrische accessoires van 12 V.

Gebruik de zakhouder (Figuur 29) voor opslagdoeleinden.

Gebruik de wethendels om de messenkooien te wetten (Figuur 30).


Gebruik de hendel om de stoel naar voren en naar achteren te verschuiven (Figuur 31).
Draai aan de knop om de hoek van de armsteun van de stoel te verstellen (Figuur 31).
Verplaats de hendel om de hoek van de stoel naar achteren in te stellen (Figuur 31).
De meter voor de instelling van het gewicht geeft aan wanneer de stoel is ingesteld naar het gewicht van de bestuurder (Figuur 31). De hoogte wordt ingesteld door de ophanging binnen het groene gebied in te stellen.
Instelling voor het gewicht van de bestuurder (Figuur 31). Trek de hendel omhoog om de luchtdruk te verhogen en druk de hendel omlaag om de luchtdruk te verlagen. De juiste instelling wordt bereikt als de gewichtsmeter in het groene gedeelte staat.
Het InfoCenter lcd-scherm toont informatie over uw machine, onder meer de bedrijfsstatus en allerlei diagnostische informatie (Figuur 32). Het InfoCenter beschikt over een welkomstscherm en hoofdscherm. U kunt te allen tijde heen en weer gaan tussen de welkompagina en het hoofdscherm door om het even welke knop in het InfoCenter te bedienen en dan op de overeenkomstige pijl te drukken.

Linkerknop, knop toegang tot menu/terug – druk op deze knop om naar de menu's van het InfoCenter te gaan. De knop dient om het huidige menu te verlaten.
Middelste knop – gebruik deze knop om naar beneden door menu's te bewegen.
Rechterknop – Gebruik deze knop als een pijl naar rechts aangeeft dat er nog andere opties in het menu zijn.
Manuele omkeerfunctie voor de ventilator – wordt geactiveerd door de linker- en rechterknop tegelijk in te drukken.
Pieper – klinkt als u de maaidekken omlaag brengt of als er berichten of storingen zijn.
Note: De knoppen kunnen verschillende functies vervullen afhankelijk van wat op dat moment nodig is. Voor elke knop is er een icoon dat de huidige functie weergeeft.
| SERVICE DUE | Geeft aan wanneer gepland onderhoud moet worden uitgevoerd |
![]() | Informatiepictogram |
![]() | Urenteller |
![]() | Snel |
![]() | Langzaam |
![]() | Ventilator omkering – geeft aan of de ventilator omgekeerd draait |
![]() | Luchtinlaatverwarming actief |
![]() | Maai-eenheden omhoog brengen |
![]() | Maai-eenheden omlaag brengen |
![]() | De bestuurder moet op de stoel zitten |
![]() | Indicator parkeerrem – geeft aan of de parkeerrem is ingeschakeld |
![]() | Geeft het hoge bereik aan |
![]() | Vrijstand |
![]() | Geeft het lage bereik aan |
![]() | Koelvloeistoftemperatuur – de temperatuur van de motorkoelvloeistof in °C of °F |
![]() | Temperatuur (heet) |
![]() | Geweigerd of niet toegestaan |
![]() | Aftakas is ingeschakeld |
![]() | Motor starten |
![]() | Gestopt of uitgeschakeld |
![]() | Motor |
![]() | Contactschakelaar |
![]() | De maai-eenheden worden omlaag gebracht |
![]() | De maai-eenheden worden omhooggebracht |
![]() | Pincode |
![]() | Olietemperatuur – geeft de temperatuur van de hydraulische olie aan |
![]() | CAN Bus |
![]() | InfoCenter |
![]() | Slecht of mislukt |
![]() | Gloeilamp |
![]() | Uitvoer van TEC-controller of bedieningskabel in kabelboom |
![]() | Hoog: boven toegestaan bereik |
![]() | Laag: onder toegestaan bereik |
/![]() | Buiten bereik |
![]() | Schakelaar |
![]() | De bestuurder moet de schakelaar vrijgeven |
![]() | De bestuurder moet de status wijzigen in wat aangegeven wordt |
| Symbolen worden vaak gecombineerd in zinnen. Hier volgen enkele voorbeelden. | |
![]() | De bestuurder moet de machine in neutraal zetten |
![]() | Motor weigert te starten |
![]() | Motor uitgeschakeld |
![]() | Motorkoelvloeistof te heet |
![]() | De hydraulische vloeistof is te heet |
![]() | Ga zitten of schakel de parkeerrem in werking |
Druk in het hoofdscherm op de menuknop om naar het InfoCenter menusysteem te gaan. U gaat naar het hoofdmenu. Raadpleeg de volgende tabellen voor een overzicht van de opties die u hebt in de menu's:
| Hoofdmenu | |
| Menu-optie | Beschrijving |
| Storingen | Het menu Storingen bevat een lijst met de recente machinestoringen. Raadpleeg de Gebruikershandleiding of een erkende Toro-distributeur voor meer informatie over het menu Storingen en de informatie die het bevat. |
| Onderhoud | Het menu Onderhoud bevat informatie over de machine, zoals bedrijfsurentellers en andere cijfergegevens van die aard. |
| Diagnostiek | Het menu Diagnostiek geeft de status van elke machineschakelaar, sensor en bedieningsoutput aan. U kunt dit menu gebruiken om sommige problemen op te lossen. In het menu ziet u namelijk welke onderdelen in- en uitgeschakeld zijn. |
| Instellingen | In het menu Instellingen kunt u het InfoCenter-scherm configureren en aan uw voorkeuren aanpassen. |
| Machine | In het menu Machine ziet u het modelnummer, het serienummer en de versie van de software op uw machine. |
| Onderhoud | |
| Menu-optie | Beschrijving |
| Hours | Het totale aantal bedrijfsuren van de machine, motor en aftakas, alsook het aantal uren dat de machine getransporteerd is geweest en de tijd tot het volgende onderhoudsinterval. |
| Counts | Een overzicht van talrijke tellingen die de machine heeft uitgevoerd. |
| Diagnostiek | |
| Menu-optie | Beschrijving |
| Cutting Units | Geeft de invoer, bepalende factoren en uitvoer voor het optillen en neerlaten van de maaidekken aan. |
| Hi/Low Range | Geeft de invoer, bepalende factoren en uitvoer voor het rijden in de transportmodus aan. |
| PTO | Geeft de invoer, bepalende factoren en uitvoer voor het inschakelen van het aftakascircuit aan. |
| Engine Run | Geeft de invoer, bepalende factoren en uitvoer voor het inschakelen van de motor aan. |
| Backlap | Geeft de invoer, bepalende factoren en uitvoer voor het inschakelen van de wetfunctie aan. |
| Instellingen | |
| Menu-optie | Beschrijving |
| Eenheden | Bepaalt de eenheden die gebruikt worden in het InfoCenter. De opties zijn Engels of metrisch |
| Taal | Bepaalt de taal die gebruikt wordt in het InfoCenter*. |
| Schermverlichting lcd | De helderheid van het lcd-scherm. |
| Contrast lcd | Het contrast van het lcd-scherm. |
| Voorste messenkooisnelheid (wetmodus) | Bepaalt de snelheid van de voorste messen in wetmodus. |
| Achterste messenkooisnelheid (wetmodus) | Bepaalt de snelheid van de achterste messen in wetmodus. |
| Beveiligde menu's | Geeft de supervisor/monteur via een code toegang tot beveiligde menu's. |
| Auto stationair | Bepaalt hoeveel tijd er verstrijkt voordat de machine bij stationair draaien naar laag stationair schakelt. |
| Aantal messen | Bepaalt het aantal messen van de messenkooi voor het messenkooitoerental. |
| Maaisnelheid | Regelt de rijsnelheid om het messenkooitoerental te bepalen. |
| Maaihoogte | Regelt de maaihoogte om het messenkooitoerental te bepalen. |
| V messenkooi tpm | De berekende toerentalstand van de voorste messenkooien. De messenkooien kunnen ook handmatig worden ingesteld. |
| A messenkooi tpm | De berekende toerentalstand van de achterste messenkooien. De messenkooien kunnen ook handmatig worden ingesteld. |
* Alleen gebruikerstekst wordt vertaald. De schermen fouten, onderhoud en diagnostiek hebben betrekking op onderhoud. De titels worden weergegeven in de ingestelde taal, maar de menu-items zijn in het Engels.
| Betreffende | |
| Menu-optie | Beschrijving |
| Model | Het modelnummer van de machine. |
| Serienummer | Het serienummer van de machine. |
| Versie machine-bedieningseenheid | De softwareversie van de hoofdbedieningseenheid. |
| InfoCenter softwareversie | De softwareversie van het InfoCenter. |
| CAN-bus | De status van de communicatiebus van de machine. |
In het instellingenmenu van het InfoCenter kunt u 5 configuratie-instellingen voor de bediening veranderen: aantal messen, maaisnelheid, maaihoogte, V messenkooi tpm en A messenkooi tpm. U kunt deze instellingen vergrendelen door middel van de Beveiligde menu's.
Note: Bij levering van de machine is de oorspronkelijke code geprogrammeerd door uw distributeur.
Scroll in het hoofdmenu naar beneden tot het instellingenmenu en druk op de rechterknop.
Scroll in het instellingenmenu naar beneden tot het beveiligde menu en druk op de rechterknop.
Om de code in te voeren drukt u op de middelste knop om het eerste cijfer in te stellen en drukt u vervolgens op de rechterknop om naar het volgende cijfer te gaan.
Gebruik de middelste knop om het tweede cijfer in te stellen en druk dan op de rechterknop om naar het volgende cijfer te gaan.
Gebruik de middelste knop om het derde cijfer in te stellen en druk dan op de rechterknop om naar het volgende cijfer te gaan.
Druk de middelste knop in om het vierde cijfer in te stellen en druk vervolgens op de rechterknop.
Druk op de middelste knop om de code in te voeren.
Als de code aanvaard wordt en het beveiligde menu 'ontgrendeld' is, zult u in de rechterbovenhoek van het display 'PIN' zien.
U kunt kiezen of de instellingen in het beveiligde menu worden weergegeven en kunnen worden gewijzigd. Scroll in het beveiligde menu naar omlaag tot de optie Beveiligde Instellingen. Druk op de rechterknop om de optie Beveiligde instellingen uit te schakelen. U kunt de instellingen in het beveiligde menu nu bekijken en wijzigen zonder de code in te voeren. Zet de optie Beveiligde Instellingen aan om de beveiligde opties te verbergen; u hebt nu een code nodig om de instelling in het beveiligde menu te wijzigen. Als de code ingesteld is, moet u het sleutelcontact uit- en aanzetten om de instelling toe te passen en te bewaren.
Note: Als u de code bent vergeten of als u deze niet meer vindt, moet u uw distributeur vragen om hulp.
Scroll in het instellingenmenu naar beneden tot u de functie Auto Stationair ziet.
Druk op de rechterknop om de instelling voor automatisch stationair draaien te wijzigen; de mogelijke opties zijn 8, 10, 15, 20, 30 seconden of UIT.
Scroll in het instellingenmenu naar beneden tot u de functie Aantal messen ziet
Druk op de rechterknop om het aantal messen in te stellen op 5, 8 of 11.
Scroll in het instellingenmenu naar beneden tot u de functie Maaisnelheid ziet.
Druk op de rechterknop om de maaisnelheid in te stellen.
Gebruik de middelste en de rechterknop om de gepaste maaisnelheidinstelling te selecteren op de mechanische maaisnelheidbegrenzer van het tractiepedaal.
Druk op de linkerknop om het maaisnelheidmenu te verlaten en de instelling te bewaren.
Scroll in het instellingenmenu naar beneden tot u de functie HOC ziet
Druk op de rechterknop om HOC te selecteren.
Gebruik de middelste en de rechterknop om de gewenste maaihoogte-instelling te kiezen.
Note: Als de gewenste instelling niet wordt weergegeven, kies dan de HOC-instelling uit de lijst die deze het dichtst benadert.
Druk op de linkerknop om het menu HOC te verlaten en de instelling te bewaren.
De toerentallen van de voorste en achterste messenkooien worden berekend aan de hand van het aantal messen, de maaisnelheid en de maaihoogte-instelling in het InfoCenter. U kunt de instelling echter handmatig aanpassen aan verschillende maaiomstandigheden.
Scroll beneden naar de snelheid van de voorste messenkooi, de achterste, of beide.
Druk op de rechterknop om het toerental te veranderen. Als de toerentalinstelling wordt gewijzigd, zal het display het toerental berekend op basis van de vorige instellingen van het aantal messen, de maaisnelheid en de maaihoogte blijven weergeven; u zult echter ook de nieuwe waarde zien.
Note: Specificaties en ontwerp kunnen zonder voorafgaande kennisgeving worden gewijzigd.
| Maaibreedte, 69 cm maaidekken | 307 cm |
| Maaibreedte, 81 cm maaidekken | 320 cm |
| Totale breedte, 69 cm maaidekken neergelaten | 345 cm |
| Totale breedte, 81 cm maaidekken neergelaten | 358 cm |
| Totale breedte, maaidekken opgeheven (transport) | 239 cm |
| Totale lengte | 370 cm |
| Hoogte met rolbeugel | 220 cm |
| Spoorbreedte, vóór | 229 cm |
| Spoorbreedte, achter | 141 cm |
| Wielbasis | 171 cm |
| Nettogewicht (zonder maaidekken en vloeistoffen) | 1.574 kg |
Een selectie van door Toro goedgekeurde werktuigen en accessoires is verkrijgbaar voor gebruik met de machine om de mogelijkheden daarvan te verbeteren en uit te breiden. Neem contact op met een erkende servicedealer of verdeler.
Originele onderdelen van Toro zijn de beste waarborg van uw investering en het optimale prestatievermogen van uw Toro maaimachine. Om de betrouwbaarheid te verzekeren levert Toro reserveonderdelen die volledig voldoen aan de technische specificaties van onze machines. Kies voor zekerheid originele Toro-onderdelen.
Note: Bepaal vanuit de normale bedieningspositie de linker- en rechterzijde van de machine.
Als u het sleuteltje in het contact laat, bestaat de kans dat iemand de motor per ongeluk start waardoor u of andere omstanders ernstig letsel kunnen oplopen.
Verwijder het sleuteltje uit het contact voordat u onderhoudswerkzaamheden uitvoert aan de machine.
Neem zorgvuldig alle veiligheidsinstructies en symbolen door in het hoofdstuk Veilige bediening. Met behulp van deze informatie kunt u voorkomen dat omstanders of uzelf letsel oplopen.
Bij maaien op nat gras of een steile helling bestaat de kans dat de wielen slippen en u de macht over de machine verliest.
Wielen die over randen heen komen, kunnen tot gevolg hebben dat de machine omkantelt, hetgeen ernstig of dodelijk letsel dan wel verdrinking kan veroorzaken.
Lees de instructies voor de omkantelbeveiliging en de waarschuwingen door en neem deze in acht.
Om te voorkómen dat u de controle over de machine verliest en deze omslaat, moet u de volgende richtlijnen in acht nemen:
Maai niet in de buurt van steile hellingen of water.
Gebruik de maaimachine niet op hellingen die steiler zijn dan de maximale aanbevolen hellingshoek voor uw model.
Verminder uw snelheid en wees uiterst voorzichtig op hellingen.
Verander niet plotseling de rijrichting of de snelheid van de machine.
Deze machine produceert geluidsniveaus die gehoorverlies kunnen veroorzaken door lange periodes van blootstelling.
Draag gehoorbescherming als u deze machine gebruikt.

| Onderhoudsinterval | Onderhoudsprocedure |
|---|---|
| Bij elk gebruik of dagelijks |
|
Het carter van de motor is in de fabriek gevuld met olie; het oliepeil moet echter worden gecontroleerd voor- en nadat de motor voor de eerste keer wordt gestart.
De carterinhoud is ongeveer 9,5 liter met filter.
Gebruik hoogwaardige motorolie die moet voldoen aan de volgende specificaties:
Vereiste onderhoudsclassificatie van API: CH-4, CI-4 of hoger.
Aanbevolen olie: SAE 15W-40: boven 18 °C
Alternatieve olie: SAE 10W-30 of 5W-30 (voor alle temperaturen)
Note: Toro Premium motorolie is verkrijgbaar bij uw dealer met een viscositeit van 15W-40 of 10W-30. Zie de onderdelencatalogus voor de onderdeelnummers.
Note: De beste tijd om de motorolie te controleren is wanneer de motor koud is voordat deze is gestart voor de dag. Als hij al heeft gedraaid, moet u de olie eerst terug laten lopen gedurende tenminste 10 minuten voordat u controleert. Als het olieniveau op of onder de bijvul-markering (Add) op de peilstok staat, vul dan olie bij om het olieniveau bij de vol-markering (Full) te brengen. Giet de motor niet te vol. Als het olieniveau zich tussen de twee markeringen bevindt, hoeft er geen olie te worden bijgevuld.
Parkeer de machine op een horizontaal oppervlak.
Maak de sluitingen van de motorkap los en open de kap (Figuur 34).

Verwijder de peilstok uit de buis, veeg deze schoon en plaats de peilstok weer in de buis. Haal de peilstok er weer uit.
Het oliepeil moet zich in de veilige zone bevinden (Figuur 35).

Als het oliepeil zich onder de veilige zone bevindt, verwijdert u de vuldop (Figuur 36) en vult u bij met olie totdat het oliepeil de vol-markering bereikt.
Important: Giet de motor niet te vol.

Note: Als u andere olie gaat gebruiken, moet u eerst alle oude olie aftappen uit het carter voordat u dit vult met nieuwe olie.
Plaats de vuldop en de peilstok terug.
Sluit de motorkap en zet deze vast met de vergrendelingen.
| Onderhoudsinterval | Onderhoudsprocedure |
|---|---|
| Bij elk gebruik of dagelijks |
|
Controleer het koelvloeistofpeil bij het begin van elke dag. De inhoud van het systeem is 12,3 liter.
Verwijder voorzichtig de radiateurdop.
Als de motor heeft gelopen, kan de hete koelvloeistof, die onder druk staat, ontsnappen indien de radiateurdop wordt verwijderd. Dit kan brandwonden veroorzaken.
Verwijder de radiateurdop nooit als de motor loopt.
Gebruik een doek als u de radiateurdop verwijdert en draai de dop langzaam open om de stoom te laten ontsnappen.

Controleer het koelvloeistofpeil in de radiateur.
Note: De radiateur moet worden gevuld tot de bovenkant van de vulbuis, en de expansietank tot de vol-markering (Figuur 37).
Als het koelvloeistofpeil te laag is, moet u bijvullen met een oplossing die half uit water, half uit ethyleenglycol-antivries bestaat.
Note: Gebruik geen koelvloeistoffen op basis van alcohol/methanol of alleen water.
Plaats de doppen van de radiateur en de expansietank terug.
Inhoud brandstoftank: 83 liter
Gebruik uitsluitend schone, verse dieselbrandstof met een ultralaag (<15 ppm) zwavelgehalte die voldoet aan de standaarden van ASTM D975 of EN 590. Het cetaangetal moet minimaal 40 zijn. Koop brandstof in hoeveelheden die binnen 180 dagen kunnen worden gebruikt zodat u altijd verse brandstof heeft.
Important: Gebruik van brandstof die geen ultralaag zwavelgehalte heeft, zal het emissiesysteem van de motor beschadigen.
Gebruik zomerdieselbrandstof (nr. 2-D) bij temperaturen boven -7 °C en winterdieselbrandstof (nr. 1-D of nr. 1-D/2-D-mengsel) bij temperaturen beneden -7 °C. Gebruik van winterdieselbrandstof bij lage temperaturen biedt een lager vlampunt en een lager stolpunt. Dit vergemakkelijkt het starten en vermindert de kans dat de filters verstopt raken.
Als u bij temperaturen boven -7 °C zomerbrandstof gebruikt, zal de pomp langer meegaan en meer vermogen leveren dan bij gebruik van winterbrandstof.
Important: Gebruik geen kerosine of benzine in plaats van dieselbrandstof. Als u deze waarschuwing niet in acht neemt, kan dit leiden tot beschadiging van de motor.
Deze machine kan ook gebruikmaken van een dieselmengsel tot maximaal B20 (20% biodiesel, 80% petrodiesel). Het deel petrodiesel moet een laag of ultralaag zwavelgehalte hebben. Neem de volgende voorzorgsmaatregelen in acht:
Her deel biodiesel van de brandstof moet voldoen aan de specificatie ASTM D6751 of EN 14214.
Het dieselmengsel moet beantwoorden aan ASTM D975 of EN 590.
Gelakte oppervlakken kunnen worden beschadigd door biodiesel.
Gebruik B5 (biodieselinhoud 5%) of mengsels met een lager percentage in koud weer.
Controleer afdichtingen, slangen en pakkingen die in contact met brandstof komen, omdat zij in de loop der tijd hierdoor kunnen worden aangetast.
Gedurende enige tijd na de overstap op biodieselmengsels kan het brandstoffilter verstoppen.
Neem contact op met uw leverancier als u informatie over biodiesel wenst.
Brandstof is schadelijk of dodelijk bij inname. Langdurige blootstelling aan dampen kan leiden tot ernstig letsel en ziekte.
Voorkom dat u dampen lange tijd inademt.
Houd uw gezicht uit de buurt van een vulpijp en de brandstoftank of een blik met conditioner.
Houd brandstof uit de buurt van ogen en huid.
In bepaalde omstandigheden is brandstof uiterst ontvlambaar en zeer explosief. Brand of explosie van brandstof kan brandwonden bij u of anderen en materiële schade veroorzaken.
Vul de brandstoftank in de open lucht wanneer de motor koud is. Eventueel gemorste brandstof opnemen.
Vul de brandstoftank nooit als de machine in een gesloten aanhanger staat.
Rook nooit wanneer u met brandstof bezig bent en houd de brandstof weg van open vlammen of vonken.
Brandstof in een goedgekeurd vat of blik en buiten bereik van kinderen bewaren. Koop nooit meer benzine dan u in 180 dagen kunt opmaken.
Gebruik de machine uitsluitend als het complete uitlaatsysteem is gemonteerd en naar behoren werkt.
In bepaalde omstandigheden kan tijdens het tanken statische elektriciteit worden ontladen waardoor vonken ontstaan die brandstofdampen tot ontbranding kunnen brengen. Brand of explosie van brandstof kan brandwonden bij u of anderen en materiële schade veroorzaken.
Zet brandstofvaten altijd op de grond en uit de buurt van de machine voordat u de tank bijvult.
Brandstofvaten niet in een voertuig of vrachtwagen of op aanhanger vullen, omdat bekleding of kunststof beplating het vat kunnen isoleren en de afvoer van statische lading kunnen bemoeilijken.
Als het praktisch mogelijk is, kunt u het best een machine eerst van de vrachtwagen of aanhanger halen en bijtanken als de machine met de wielen op de grond staat.
Als dit niet mogelijk is, verdient het de voorkeur dergelijke machines op een truck of aanhanger bij te vullen uit een draagbaar vat, niet met behulp van een vulpistool van een pomp.
Als u een vulpistool moet gebruiken, dient u de vulpijp voortdurend in contact met de rand van de brandstoftank of de opening van het vat te houden, totdat u klaar bent met bijvullen.
Parkeer de machine op een horizontaal oppervlak.
Maak de omgeving van de dop van de brandstoftank schoon. Gebruik hiervoor een schone doek.
Verwijder de dop van de brandstoftank (Figuur 38).

Vul de tank tot de brandstof de onderkant van de vulnek bereikt.
Draai de tankdop na het vullen stevig vast.
Note: Vul de brandstoftank na elk gebruik indien dit mogelijk is. Dit beperkt mogelijke condensvorming in de brandstoftank tot een minimum.
| Onderhoudsinterval | Onderhoudsprocedure |
|---|---|
| Bij elk gebruik of dagelijks |
|
Het reservoir is in de fabriek gevuld met ongeveer 28,4 liter hoogwaardige hydraulische vloeistof. Controleer het peil van de hydraulische vloeistof voordat de motor voor het eerst wordt gestart, en vervolgens dagelijks.
Aanbevolen wordt het reservoir bij te vullen met de volgende hydraulische vloeistof: Toro Premium All Season hydraulische vloeistof (verkrijgbaar in emmers van 19 liter of vaten van 208 liter. Zie de onderdelencatalogus van de Toro-dealer voor de onderdeelnummers.
Alternatieve vloeistoffen: Als de aanbevolen vloeistof van Toro niet beschikbaar is, kunt u andere gewone, op petroleum gebaseerde vloeistoffen gebruiken als deze voldoen aan alle onderstaande materiaaleigenschappen en industriespecificaties. Vraag uw olieleverancier of de vloeistof voldoet aan deze specificaties.
Note: Toro aanvaardt geen enkele aansprakelijkheid voor schade die wordt veroorzaakt door gebruik van verkeerde vervangende vloeistoffen. Gebruik daarom uitsluitend producten van gerenommeerde fabrikanten die garant staan voor de door hen aanbevolen vloeistoffen.
| ISO VG 46 multigrade slijtagewerende hydraulische vloeistof met hoge viscositeitsindex/laag stolpunt | |||
| Materiaaleigenschappen: | |||
| Viscositeit, ASTM D445 | cSt bij 40 °C 44 tot 48cSt bij 100 °C 7,9 tot 9,1 | ||
| Viscositeitsindex ASTM D2270 | 140 of hoger (een hoge viscositeitsindex wijst op een type olie met viscositeitsmodifier) | ||
| Stolpunt, ASTM D97 | -37 °C tot -45 °C | ||
| FZG, Fail stage | 11 of beter | ||
| Watergehalte (nieuwe vloeistof) | 500 ppm (maximum) | ||
| Industriespecificaties: | |||
| Vickers I-286-S, Vickers M-2950-S, Denison HF-0, Vickers 35 VQ 25 (Eaton ATS373-C) | |||
De juiste hydraulische vloeistoffen moeten geschikt zijn voor mobiele machines (in tegenstelling tot gebruik in een fabriek), een type olie met een viscositeitmodifier, met ZnDTP of ZDDP slijtagewerend additievenpakket (geen asloze vloeistof).
Important: De ISO VG 46 multigrade vloeistof blijkt optimaal te presteren in een brede reeks van temperatuuromstandigheden. Voor gebruik bij constant hoge omgevingstemperaturen van 18 °C tot 49 °C, kan ISO VG 68 hydraulische vloeistof zorgen voor betere prestaties.
Hoogwaardige biologisch afbreekbare hydraulische vloeistof-Mobil EAL EnviroSyn 46H
Important: Mobil EAL EnviroSyn 46H is de enige synthetische biologisch afbreekbare vloeistof die Toro heeft goedgekeurd. Deze vloeistof is compatibel met de elastomeren die worden gebruikt in hydraulische systemen van Toro, en is geschikt voor een groot aantal temperatuursomstandigheden. Deze vloeistof is compatibel met gangbare vloeistoffen, maar met het oog op maximale biologische afbreekbaarheid en goede prestaties moet gewone vloeistof grondig uit het hydraulische systeem worden gespoeld. De vloeistof is verkrijgbaar in emmers van 19 liter of vaten van 208 liter bij een Mobil-verdeler.
Important: Veel hydraulische vloeistoffen zijn bijna kleurloos, zodat het moeilijk is lekkages op te sporen. Er is een rode kleurstof voor de hydraulische vloeistof verkrijgbaar in flesjes van 20 ml. Een flesje is voldoende voor 15 tot 22 liter hydraulische vloeistof. U kunt deze kleurstof (onderdeelnr. 44-2500) bestellen bij een erkende Toro-dealer.
Plaats de machine op een horizontaal vlak, laat de maaidekken neer, zet de motor af en verwijder het sleuteltje.
Reinig de omgeving van de vulbuis en de dop van de hydraulische tank (Figuur 39).

Verwijder de dop van de vulbuis.
Verwijder de peilstok uit de vulbuis en veeg deze af met een schone doek.
Steek de peilstok in de vulbuis, haal hem er vervolgens weer uit en controleer het vloeistofpeil.
Note: Het vloeistofpeil moet tussen de 2 markeringen op de peilstok staan.
Als het peil te laag is, vult u genoeg vloeistof bij totdat het peil de bovenste markering bereikt.
Plaats de peilstok en de dop op de vulbuis.
| Onderhoudsinterval | Onderhoudsprocedure |
|---|---|
| Bij elk gebruik of dagelijks |
|
De banden worden in de fabriek opzettelijk te hard opgepompt. U moet daarom voor gebruik wat lucht laten ontsnappen om de luchtdruk te verminderen. De luchtdruk in de banden moet tussen 0,83 en 1,03 bar zijn. Controleer de bandenspanning elke dag.
Important: Zorg ervoor dat alle banden steeds de aanbevolen bandenspanning hebben, hierdoor kan de machine optimale maaiprestaties leveren en goed functioneren. Pomp de banden niet te zacht op.
Important: Ontlucht het brandstofsysteem in de volgende gevallen:
De motor is gestopt omdat de brandstof op was.
Er is onderhoud uitgevoerd aan componenten van het brandstofsysteem.
Haal uw voet van het tractiepedaal en controleer of het pedaal in de NEUTRAALSTAND staat.
Note: Stel de parkeerrem in werking.
Zet de gashendel op laag stationair.
Draai het contactsleuteltje naar de stand LOPEN.
Note: Het indicatielampje van de gloeibougie gaat branden.
Als het indicatielampje van de gloeibougie dooft, draait u het contactsleuteltje op Start.
Laat het sleuteltje direct los als de motor start en laat dit weer terugkeren naar Lopen.
Stel het toerental af.
Important: Laat de startmotor niet langer dan 15 seconden achter elkaar draaien omdat de startmotor hierdoor vroegtijdig defect kan raken. Als de motor na 15 seconden niet wil starten, moet u het sleuteltje op UIT draaien, de bedieningsorganen opnieuw controleren, nog eens 15 seconden wachten en de startprocedure herhalen.
Als de temperatuur beneden -7 °C is, kunt u de startmotor 30 seconden laten draaien. Daarna moet u de startmotor 60 seconden afzetten voordat u een tweede startpoging onderneemt.
Aanraking van bewegende delen kan leiden tot letsel.
Zet de motor af en wacht totdat alle bewegende delen tot stilstand gekomen zijn voordat u controleert op olielekken, losse onderdelen en andere waarneembare defecten.
Important: Laat de motor 5 minuten stationair lopen voordat u deze afzet of nadat de machine volledig belast is gebruikt. Hierdoor kan de turbocompressor afkoelen voordat u de motor afzet. Indien u dit nalaat, kunnen er problemen met de turbocompressor ontstaan.
Note: Laat de maaidekken op de grond neer als u de machine parkeert. Dit vermindert de hydraulische belasting van het systeem, beperkt slijtage van onderdelen van het systeem en voorkomt dat de maaidekken per ongeluk worden neergelaten.
Laat de motor opnieuw op een laag stationair toerental lopen.
Zet de aftakasschakelaar in de stand UIT.
Stel de parkeerrem in werking.
Draai het contactsleuteltje op UIT.
Verwijder het sleuteltje uit het contact om te voorkomen dat de motor per ongeluk start.
| Onderhoudsinterval | Onderhoudsprocedure |
|---|---|
| Bij elk gebruik of dagelijks |
|
Niet-aangesloten of beschadigde interlockschakelaars kunnen onverwachte gevolgen hebben op de werking van de machine. Dit kan lichamelijk letsel veroorzaken.
Laat de interlockschakelaars ongemoeid.
Controleer elke dag de werking van de interlockschakelaars en vervang beschadigde schakelaars voordat u de machine weer in gebruik neemt.
De machine heeft interlockschakelaars in het elektrische systeem. De interlockschakelaars zijn bedoeld om de motor af te zetten als de bestuurder de stoel verlaat terwijl het tractiepedaal is ingetrapt. De bestuurder kan echter de stoel verlaten terwijl de motor loopt en het tractiepedaal in de neutraalstand staat. Hoewel de motor blijft lopen als de aftakas is uitgeschakeld en het tractiepedaal niet is ingetrapt, raden wij u met klem aan de motor af te zetten voordat u de bestuurdersstoel verlaat.
Om de controleren of de interlockschakelaars functioneren, moet u de volgende procedure uitvoeren:
Rij de machine langzaam naar een ruim, tamelijk open terrein.
Laat het maaidekken neer, zet de motor af en stel de parkeerrem in werking.
Neem plaats op de bestuurdersstoel en trap het tractiepedaal in.
Probeer de motor te starten.
Note: De motor mag niet starten. Als de motor gaat draaien, is er een defect in het interlocksysteem dat moet worden verholpen voordat u de machine gaat gebruiken.
Neem plaats op de bestuurdersstoel en start de motor.
Kom overeind uit de bestuurdersstoel en schakel de aftakasschakelaar op AAN.
Note: De aftakas mag niet in werking komen. Als dit wel gebeurt, is er een defect in het interlocksysteem dat moet worden verholpen voordat u de machine gaat gebruiken.
Neem plaats op de bestuurdersstoel, stel de parkeerrem in werking en start de motor.
Zet het tractiepedaal uit de NEUTRAALSTAND.
Note: De motor moet afslaan. Als de motor niet afslaat, is er een defect in het interlocksysteem dat moet worden verholpen voordat u de machine gaat gebruiken.
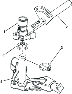
U kunt de tegendruk op de hefarmen van het achtermaaidek afstellen om de machine aan te passen voor verschillende gazonomstandigheden en ervoor te zorgen dat de maaihoogte constant blijft in zware omstandigheden of op terrein waar een viltlaag is ontstaan.
U kunt elke tegendrukveer instellen op 4 verschillende standen. Elke stand verhoogt of verlaagt de tegendruk op het maaidek met 2,3 kg ten opzichte van de vorige stand. De veren kunnen worden geplaatst op de achterkant van de actuator van de veer om alle tegendruk op te heffen (vierde stand).
Plaats de machine op een horizontaal oppervlak, laat de maaidekken neer, zet de motor af, stel de parkeerremmen in werking en verwijder het sleuteltje uit het contact
Steek een buis of gelijksoortig voorwerp op het uiteinde van de lange veer om de spanning op de veer tijdens de afstelling weg te nemen (Figuur 40).
De veren staan onder spanning en kunnen persoonlijk letsel veroorzaken.
Wees voorzichtig bij het instellen van de veren.
Als de veer is ontspannen, verwijdert u de bout en de borgmoer waarmee de actuator van de veer is bevestigd aan de beugel (Figuur 40).

Plaats de actuator van de veer in het gewenste gat en zet deze vast met de borgmoer.
Herhaal deze procedure bij de andere veer.
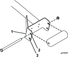
Plaats de machine op een horizontaal oppervlak, laat de maaidekken neer, zet de motor af, stel de parkeerremmen in werking en verwijder het sleuteltje uit het contact
De schakelaar van de hefarm bevindt zich achter de hefarm rechts voor (Figuur 41).

Maak de schroeven van de schakelaar (Figuur 41) los en beweeg de schakelaar naar boven om de draaistand van de hefarm te vergroten, of naar beneden om de draaistand van de hefarm te verkleinen.
Draai de bevestigingsschroeven vast.
In een noodgeval kunt u de machine verplaatsen door de omloopklep van de hydraulische pomp in werking te stellen, en dan een hydraulische slang te monteren als omloop rond de terugslagklep, en de machine dan te duwen of slepen.
Important: Duw of sleep de machine niet sneller dan 3 tot 4,8 km/h of over een afstand groter dan 0,4 km – dat zou kunnen leiden tot beschadiging van de interne transmissie. De omloopklep moet open zijn als u de machine duwt of sleept. Bovendien moet u een hydraulische omloopslang monteren over de terugslagklep indien u de machine achteruit duwt of sleept.
Als u de machine moet duwen of slepen zal dit vaak zowel vooruit als achteruit gedaan moeten worden. Om schade aan de aandrijving door duwen of slepen te voorkomen is het aan te raden de machine voor te bereiden op duwen of slepen vooruit én achteruit.
Important: Als u de machine achteruit moet duwen of slepen dan moet u eerst een omloop aanbrengen rond de terugslagklep op het verdeelstuk voor vierwielaandrijving.
Voor het omlopen van de terugslagklep heeft u de volgende Toro onderdelen nodig:
59-7410, diagnosefitting
354-79, kap voor de diagnose-fitting
95-8843, hydraulische slang
95-0985, koppelfitting (2)
340-77, hydraulische fitting (2)
Monteer een diagnosefitting op de ongemerkte poort tussen poorten M8 en P2 op het achterste tractieverdeelstuk (Figuur 42).

Sluit een hydraulische slang aan tussen de diagnosefitting in het achterste tractieverdeelstuk en de druktestpoort voor tractie-achteruit (Figuur 43).
Note: Gebruik de geschikte hydraulische fittingen en koppelingen om de slang aan te sluiten.

Draai de omloopklep 90° (een kwartslag), naar links of naar rechts, om deze te openen en de vloeistof intern te laten stromen (Figuur 44).
Note: Omdat de vloeistof nu om de transmissie heen loopt, kunt u de machine langzaam verplaatsen zonder schade aan de transmissie.Let op de stand van de klep als u deze opent en sluit.

Na het duwen of slepen van de machine verwijdert u de hydraulische slang die u heeft aangebracht.
Plaats de bestaande eindkap op de druktestpoort voor tractie-achteruit.
Plaats de kap voor de diagnose-fitting op de fitting die u heeft geplaatst in het verdeelstuk.
Draai de omloopklep 90° (1/4 slag) terug voordat u de motor te start.
Note: Sluit de klep met een torsie van maximaal 7 tot 11 N·m.
Als u de machine uitsluitend vooruit wilt duwen of slepen kunt u gewoon de omloopklep omzetten.
Important: Als u de machine achteruit moet duwen of slepen, zie dan De machine voorbereiden op duwen of slepen achteruit.
Open de motorkap en verwijder het middelste scherm.
Draai de omloopklep 90° (een kwartslag), naar links of naar rechts, om deze te openen en de vloeistof intern te laten stromen (Figuur 44).
Note: Omdat de vloeistof nu om de transmissie heen loopt, kunt u de machine langzaam verplaatsen zonder schade aan de transmissie.Let op de stand van de klep als u deze opent en sluit.
Draai de omloopklep 90° (1/4 slag) terug voordat u de motor te start.
Note: Sluit de klep met een torsie van maximaal 7 tot 11 N·m.
Wees voorzichtig als u de machine inlaadt op een aanhanger of een vrachtwagen of uitlaadt.
Gebruik een oprijplaat van volledige breedte bij het laden en lossen van de machine op een aanhanger of vrachtwagen.
Zet de machine goed vast met spanbanden, kettingen, kabels of touwen. Zowel de voorste als de achterste spanband moet naar beneden en naar de buitenkant van de machine lopen.
De krikpunten bevinden zich op de volgende plaatsen:
Op de voorkant van het frame van de machine aan de binnenzijde van elk wiel
Op de achterkant van het frame op het midden van as
De bevestigingspunten bevinden zich op de volgende plaatsen:
Aan beide kanten van het frame onder de voorste opstap.
De achterbumper
Oefen u in het rijden met de machine, omdat deze machine een hydrostatische transmissie heeft en de eigenschappen ervan anders zijn dan die van veel gazonmachines. Een aantal punten waarop u moet letten bij het gebruik van de tractie-eenheid en de maaidekken, zijn de transmissie, het motortoerental, de belasting van de maaimessen en het belang van de remmen.
Om voldoende vermogen te hebben tijdens het gebruik moet u het tractiepedaal gebruiken om de motorsnelheid hoog en vrij constant te houden. Een uitstekende regel daarvoor is de rijsnelheid verminderen als de maaimessen zwaarder worden belast, en verhogen als de maaimessen minder worden belast.
Laat het tractiepedaal dan ook terugkomen als de motorsnelheid afneemt, en druk het pedaal langzaam als de snelheid toeneemt. Maar bij het rijden tussen werkplekken, onbelast en met geheven maaidek, zet u de gashendel op SNEL en drukt u het tractiepedaal langzaam volledig in om de hoogste rijsnelheid te verkrijgen.
Een andere eigenschap waarop u moet letten, is het gebruik van de pedalen die zijn verbonden met de remmen. U kunt de remmen gebruiken ter ondersteuning bij het draaien van de machine. Ga echter voorzichtig te werk indien u ze gebruikt, in het bijzonder op zacht of nat gras, omdat het gazon per ongeluk kan scheuren. De remmen kunnen ook worden gebruikt om de machine grip te laten houden. In sommige heuvelachtige omstandigheden kan het hoogste wiel slippen en grip verliezen. Als deze situatie zich voordoet, trapt u het stuurpedaal voor het hoogste wiel geleidelijk en met tussenpozen in totdat dit wiel niet meer slipt, waarmee de tractie op het laagste wiel wordt vergroot.
Wees extra voorzichtig wanneer u de machine op hellingen gebruikt. Zorg ervoor dat de stoelvergrendeling goed vastzit en u de veiligheidsgordel hebt omgedaan. Rij langzaam en maak geen scherpe bochten om omkantelen te voorkomen. Om beter in balans te kunnen blijven tijdens het sturen, moet het maaidek zijn neergelaten tijdens het afdalen.
Important: Laat de motor 5 minuten stationair lopen voordat u deze afzet of nadat de machine volledig belast is gebruikt. Hierdoor kan de turbocompressor afkoelen voordat u de motor afzet. Indien u dit nalaat, kunnen er problemen met de turbocompressor ontstaan.
Voordat u de motor afzet, moet u alle bedieningsorganen uitschakelen en de gashendel op LANGZAAM zetten. De gashendel op LANGZAAM zetten leidt tot een lager toerental en minder lawaai en trillingen. Draai het contactsleuteltje op UIT om de motor af te zetten.
Voordat u gaat maaien, moet u zich op een open terrein oefenen in het gebruik van de machine. Start en stop de motor. Rij de machine vooruit en achteruit. Laat de maai-eenheden neer en hef ze op en schakel de messenkooien in en uit. Als u zich vertrouwd voelt met de machine, moet u zich oefenen in het helling opwaarts en afwaarts rijden bij verschillende snelheden.
Als een waarschuwingslampje tijdens het gebruik gaat branden, moet u de machine onmiddellijk stoppen en het probleem verhelpen voordat u verder gaat met maaien. Een machine met een defect kan ernstige schade oplopen als deze wordt gebruikt.
Start de motor en zet de motorsnelheidsschakelaar op SNEL. Zet de maaisnelheidbegrenzer op MAAIEN. Zet de aftakasschakelaar op AAN en gebruik de hefschakelaar voor het bedienen van de maaidekken (de maaidekken voor gaan eerst naar beneden, en dan de maaidekken achter). Om vooruit te rijden en het gras te maaien, moet u de tractiepedaal naar voren intrappen.
Zet de schakelaar van de vermogenaftakas op UIT en breng de maaidekken omhoog in de transportstand. Beweeg de maaisnelheidbegrenzer naar de transportstand. Wees voorzichtig als u tussen objecten rijdt zodat u de machine of de maaidekken niet per ongeluk beschadigt. Wees extra voorzichtig wanneer u de machine op hellingen gebruikt. Rij langzaam en maak geen scherpe bochten om omkantelen te voorkomen. Om beter in balans te kunnen blijven tijdens het sturen, moeten de maai-eenheden zijn neergelaten tijdens het afdalen.
Note: Bepaal vanuit de normale bedieningspositie de linker- en rechterzijde van de machine.
| Onderhoudsinterval | Onderhoudsprocedure |
|---|---|
| Na de eerste 8 bedrijfsuren |
|
| Na de eerste 50 bedrijfsuren |
|
| Na de eerste 200 bedrijfsuren |
|
| Bij elk gebruik of dagelijks |
|
| Om de 50 bedrijfsuren |
|
| Om de 100 bedrijfsuren |
|
| Om de 200 bedrijfsuren |
|
| Om de 250 bedrijfsuren |
|
| Om de 400 bedrijfsuren |
|
| Om de 800 bedrijfsuren |
|
| Vóór de stalling |
|
Gelieve deze pagina te kopiëren ten behoeve van gebruik bij routinecontroles.
| Gecontroleerd item | Voor week van: | ||||||
|---|---|---|---|---|---|---|---|
| Ma. | Di. | Wo. | Do. | Vr. | Za. | Zo. | |
| Werking van veiligheidssysteem controleren. | |||||||
| Werking van de remmen controleren. | |||||||
| Peil van de motorolie en brandstof controleren. | |||||||
| Peil van de koelvloeistof controleren. | |||||||
| Brandstoffilter/waterafscheider aftappen. | |||||||
| Onderhoudsindicator van het luchtfilter controleren. | |||||||
| Radiateur, oliekoeler en scherm controleren op vuil. | |||||||
| Controleren of motor ongewone geluiden maakt.1 | |||||||
| Controleren op ongewone geluiden tijdens het gebruik. | |||||||
| Peil van het hydraulische systeem controleren. | |||||||
| Hydraulische slangen en leidingen op schade controleren. | |||||||
| Controleren op lekkages. | |||||||
| Controleer de bandenspanning. | |||||||
| Werking van instrumenten controleren. | |||||||
| Afstelling van contact tussen ondermes en messenkooi controleren. | |||||||
| Maaihoogte-instelling controleren. | |||||||
| Vet in alle smeernippels spuiten.2 | |||||||
| Beschadigde lak bijwerken. | |||||||
1. Controleer de gloeibougie en de spuitstukken van de injector, als de motor moeilijk start, buitensporig veel rook afgeeft of ongelijkmatig loopt.
2. Onmiddellijk na elke wasbeurt, ongeacht de voorgeschreven interval
| Controle uitgevoerd door: | ||
| Item | Datum | Informatie |
| 1 | ||
| 2 | ||
| 3 | ||
| 4 | ||
| 5 | ||
| 6 | ||
| 7 | ||
| 8 | ||
Important: Raadpleeg de Gebruikershandleiding van de motor en de Gebruikershandleiding van het maaidek voor verdere onderhoudsprocedures.
Note: Om een elektrisch of hydraulisch schema van uw machine te verkrijgen, kunt u terecht op www.Toro.com.

Als u het sleuteltje in het contact laat, bestaat de kans dat iemand de motor per ongeluk start waardoor u en andere omstanders ernstig letsel kunnen oplopen.
Verwijder het sleuteltje uit het contact voordat u onderhoudswerkzaamheden uitvoert aan de machine.
Maak de motorkapvergrendelingen (Figuur 46) los en open de motorkap.

Verwijder de borgpennen waarmee de achterste beugels van de motorkapvergrendeling aan de pennen van het frame zijn bevestigd en verwijder de motorkap.
| Onderhoudsinterval | Onderhoudsprocedure |
|---|---|
| Om de 50 bedrijfsuren |
|
De machine is voorzien van smeerpunten die regelmatig moeten worden gesmeerd met nr. 2 smeervet op lithiumbasis. Als de machine in normale omstandigheden wordt gebruikt, moet u alle lagers en lagerbussen om de 50 bedrijfsuren of direct na een wasbeurt smeren.
De smeerpunten en de hoeveelheden zijn:
Lagers van draaipunt van remas (5) (Figuur 47)

Lagerbussen van draaipunt van achteras (2) (Figuur 48)

Kogelverbindingen van stuurcilinder (2) (Figuur 49)

Kogelverbindingen van spoorstang (2) (Figuur 49)
Lagerbussen van koppelpen (2) (Figuur 49). De bovenste nippel op de koppelpen hoeft slechts één keer per jaar te worden gesmeerd (twee keer pompen).
Lagerbussen van hefarm (1 per maaidek) (Figuur 50)

Lagerbussen van hefcilinder (2 per maaidek) (Figuur 50)
Draaikogellagers van hefarm (1 per maaidek) (Figuur 51)
Draagframe van maaidek (2 per maaidek) (Figuur 51)
As van hefarm van maaidek (1 per maaidek) (Figuur 51)

| Onderhoudsinterval | Onderhoudsprocedure |
|---|---|
| Om de 400 bedrijfsuren |
|
Controleer de luchtfilterbehuizing op schade die een luchtlek kan veroorzaken. Vervang deze in geval van beschadiging. Controleer het gehele luchtinlaatsysteem op lekken, beschadiging of losse slangklemmen.
Geef het luchtfilter uitsluitend een onderhoudsbeurt als de onderhoudsindicator (Figuur 52) dit aangeeft. Als u het luchtfilter vervangt voordat dit nodig is, wordt alleen maar de kans vergroot dat er vuil in de motor komt als het filter wordt verwijderd.

Important: Zorg ervoor dat het deksel goed vastzit en de luchtfilterbehuizing helemaal afsluit.
Trek de vergrendeling naar buiten en draai het luchtfilterdeksel linksom (Figuur 53).

Verwijder het deksel van de luchtfilterbehuizing.
Voordat u het filter weghaalt, moet u met schone en droge perslucht onder lage druk (2,76 bar) grote hoeveelheden aangekoekt vuil verwijderen dat tussen de buitenkant van het voorfilter en de filterbus zit. Gebruik geen perslucht onder hoge druk, omdat hierdoor vuil via the filter in het inlaatkanaal kan worden geblazen.
Deze reiniging voorkomt dat er rommel in de inlaat terechtkomt als het voorfilter wordt verwijderd.
Verwijder en vervang het voorfilter (Figuur 54).
Het wordt afgeraden het gebruikte element te reinigen omdat dit kan leiden tot beschadiging van de filtermedia. Inspecteer het nieuwe filter op transportschade en controleer het uiteinde van het filter, dat goed moet aansluiten, en de filterbehuizing. Een beschadigd element mag niet worden gebruikt.
Plaats het nieuwe filter door de buitenring van het element aan te drukken om dit vast te zetten in de filterbus. Druk niet op het flexibele midden van het filter.

Important: Probeer nooit een veiligheidsfilter te reinigen (Figuur 55). Plaats steeds een nieuw veiligheidsfilter als het voorfilter 3 onderhoudsbeurten heeft gehad.

Reinig de opening van de vuiluitlaat in het afneembare deksel.
Verwijder de rubberen uitlaatklep van het deksel, maak de holte schoon en plaats de uitlaatklep.
Monteer het deksel met de rubberen uitlaatklep naar beneden gericht, in een stand tussen ongeveer 5 tot 7 uur gezien vanaf het uiteinde.
Stel de indicator (Figuur 52) opnieuw in als deze rood is.
| Onderhoudsinterval | Onderhoudsprocedure |
|---|---|
| Na de eerste 50 bedrijfsuren |
|
| Om de 250 bedrijfsuren |
|
Verwijder de aftapplug (Figuur 56) en laat de olie in een opvangbak lopen. Als er geen olie meer naar buiten stroomt, plaatst u de aftapplug terug.

Verwijder het oliefilter (Figuur 57). Smeer een dun laagje schone olie op de nieuwe filterpakking voordat u deze vastschroeft. Niet te vast draaien.

Vul het carter met olie; zie Het motoroliepeil controleren.
Stel de kabel van de gashendel (Figuur 58) zo af, dat de regelhendel op de motor contact maakt met de stelbout voor hoog toerental op hetzelfde punt waar de kabel van de gashendel contact maakt met het uiteinde van de sleuf in de bedieningsarm.

In bepaalde omstandigheden zijn dieselbrandstof en brandstofdampen uiterst ontvlambaar en explosief. Brand of explosie van brandstof kan brandwonden of materiële schade veroorzaken.
Vul de brandstoftank in de open lucht wanneer de motor koud is en uit staat. Eventueel gemorste brandstof opnemen.
Vul de brandstoftank niet helemaal vol. Vul de brandstoftank tot 25 mm vanaf de bovenkant van de tank, niet de vulbuis. Dit geeft de brandstof in de tank ruimte om uit te zetten.
Rook nooit wanneer u met brandstof bezig bent en houd de brandstof weg van open vlammen of vonken.
Bewaar de brandstof in schone, veilige en goedgekeurde containers en zorg dat de dop op zijn plaats blijft.
| Onderhoudsinterval | Onderhoudsprocedure |
|---|---|
| Om de 800 bedrijfsuren |
|
| Vóór de stalling |
|
De tank moet worden afgetapt en gereinigd als het brandstofsysteem vervuild raakt of wanneer de machine voor langere tijd wordt gestald. Gebruik schone brandstof om de tank uit te spoelen.
| Onderhoudsinterval | Onderhoudsprocedure |
|---|---|
| Om de 400 bedrijfsuren |
|
Inspecteer de brandstofleidingen op slijtage, beschadigingen of loszittende verbindingen.
| Onderhoudsinterval | Onderhoudsprocedure |
|---|---|
| Bij elk gebruik of dagelijks |
|
| Om de 400 bedrijfsuren |
|
Plaats een schone opvangbak onder het brandstoffilter.
Draai de aftapplug onder de filterbus los.

Reinig de omgeving van de plaats waar de filterbus wordt gemonteerd.
Verwijder de filterbus en reinig de plaats waar deze wordt gemonteerd.
Smeer schone olie op de pakking van de filterbus.
Monteer de filterbus met de hand totdat de pakking contact maakt en draai deze vervolgens nog een halve slag verder.
Draai de aftapplug onder de filterbus vast.
De brandstofinlaatbuis bevindt zich in de brandstoftank en is voorzien van een rooster dat voorkomt dat er vuil in het brandstofsysteem komt. Verwijder de brandstofinlaatbuis en reinig het rooster als dit nodig is.
Accuklemmen, accupolen en dergelijke onderdelen bevatten lood en loodverbindingen. Van deze stoffen is bekend dat ze kanker en schade aan de voortplantingsorganen veroorzaken. Was altijd uw handen nadat u met deze onderdelen in aanraking bent geweest.
Ontgrendel het bedieningspaneel en breng dit omhoog (Figuur 60).

Accuzuur bevat zwavelzuur; dit is een dodelijk gif dat ernstige brandwonden veroorzaakt.
U mag accuzuur nooit inslikken en moet elk contact met huid, ogen of kleding vermijden. Draag een veiligheidsbril en rubberhandschoenen om uw ogen en handen te beschermen.
Vul de accu alleen bij op plaatsen waar schoon water aanwezig is om indien nodig uw huid af te spoelen.
Sluit een acculader van 3 tot 4 A aan op de accupolen.
Laad de accu op gedurende 4 tot 8 uur bij 3-4 A.
Als de accu is opgeladen, haalt u de acculader uit het stopcontact en maakt u deze los van de accupolen.
Bij het opladen produceert de accu gassen die tot ontploffing kunnen komen.
Rook nooit in de buurt van de accu en zorg ervoor dat er geen vonken of vlammen vlakbij de accu komen.
Bevestig de pluskabel (rood) aan de klem van pluspool (+) van de accu en de minkabel (zwart) aan de klem van minpool (-) van de accu (Figuur 61).

Bevestig de kabels met inbusbouten en moeren aan de accupolen.
Zorg ervoor dat de accuklem helemaal op de pluspool zit en de kabel goed op de accu is geplaatst. De kabel mag geen contact maken met het accudeksel.
Schuif het rubberen stofkapje over de pluspool om eventuele kortsluiting te voorkomen.
Accuklemmen, accupolen en dergelijke onderdelen bevatten lood en loodverbindingen. Van deze stoffen is bekend dat ze kanker en schade aan de voortplantingsorganen veroorzaken. Was altijd uw handen nadat u met deze onderdelen in aanraking bent geweest.
Om corrosie van de accuklemmen te voorkomen, moet hierop u een dun laagje Grafo 112X-vet (Toro onderdeelnr. 505-47), vaseline of dunvloeibare smeerolie aanbrengen.
Schuif het rubberen kapje over de pluspool van de accu heen.
Sluit het bedieningspaneel en sluit de vergrendeling.
Accupolen of metalen gereedschappen kunnen kortsluiting maken met metalen onderdelen, waardoor vonken kunnen ontstaan. Hierdoor kunnen accugassen tot ontploffing komen en lichamelijk letsel veroorzaken.
Zorg ervoor dat bij het verwijderen of installeren van de accu de accupolen niet in aanraking komen met metalen onderdelen van de machine.
Voorkom dat metalen gereedschappen kortsluiting veroorzaken tussen de accupolen en metalen onderdelen van de machine.
Als de accukabels verkeerd worden verbonden, kan dit schade aan de machine en de kabels tot gevolg hebben en vonken veroorzaken. Hierdoor kunnen accugassen tot ontploffing komen en lichamelijk letsel veroorzaken.
Maak altijd de minkabel (zwart) van de accu los voordat u de pluskabel (rood) losmaakt.
Sluit altijd de pluskabel (rood) van de accu aan voordat u de minkabel (zwart) aansluit.
| Onderhoudsinterval | Onderhoudsprocedure |
|---|---|
| Om de 50 bedrijfsuren |
|
Important: Voordat u laswerkzaamheden aan de machine verricht, moet u de minkabel loskoppelen van de accu om beschadiging van het elektrische systeem te voorkomen.
Note: Controleer de conditie van de accu elke week of om de 50 bedrijfsuren. Zorg ervoor dat de accuklemmen en de gehele accubehuizing schoon zijn omdat een vuile accu langzaam stroom afgeeft.
Verwijder de accu uit de machine.
Maak de gehele accubehuizing schoon met een oplossing van natriumbicarbonaat en water.
Spoel de accubehuizing met schoon water.
Smeer een dun laagje Grafo 112X-vet (Toro-onderdeelnr. 505-47) of vaseline op de accupolen en de kabelklemmen om corrosie te voorkomen.
| Onderhoudsinterval | Onderhoudsprocedure |
|---|---|
| Na de eerste 8 bedrijfsuren |
|
| Om de 200 bedrijfsuren |
|
Indien de wielmoeren niet steeds zijn aangedraaid met de correcte torsie, kan dit leiden tot defecten of verlies van een wiel, waardoor lichamelijk letsel kan worden veroorzaakt.
De torsie van de moeren van de voorwielen en achterwielen moet 115 tot 136 N·m bedragen. Haal de moeren aan na 1 tot 4 bedrijfsuren en nog eens na 8 bedrijfsuren. Draai de wielmoeren vervolgens om de 200 uur aan.
Note: De moeren van de voorwielen zijn 1/2-20 UNF. De moeren van de achterwielen zijn M12 x 1,6-6H (metrisch).
| Onderhoudsinterval | Onderhoudsprocedure |
|---|---|
| Om de 400 bedrijfsuren |
|
Controleer het oliepeil om de 400 bedrijfsuren. Gebruik hoogwaardige SAE 85W-140 tandwielolie om de olie te verversen.
Plaats de machine op een egale ondergrond en zet het wiel zodanig dat 1 controleplug (Figuur 65) zich bovenaan bevindt, en de andere rechts.

Verwijder de rechtse controleplug (Figuur 65).
Note: Het oliepeil moet tot aan de onderzijde van de opening staan.
Als het peil te laag is, verwijder dan de bovenste plug en voeg olie toe tot deze uit de opening aan de rechterkant begint te vloeien.
Monteer de beide pluggen.
Herhaal stap 1 tot 4 voor de planetaire aandrijving aan de andere kant.
| Onderhoudsinterval | Onderhoudsprocedure |
|---|---|
| Na de eerste 200 bedrijfsuren |
|
| Om de 800 bedrijfsuren |
|
De olie van de planeetwielaandrijving moet na de eerste 200 bedrijfsuren worden ververst. Daarna dient dit om de 800 bedrijfsuren of jaarlijks te gebeuren, waarbij de kortste periode moet worden aangehouden. Gebruik hoogwaardige SAE 85W-140 tandwielolie om de olie te verversen.
Zet de machine op een egale ondergrond en draai een wiel zo dat 1 van de controlepluggen helemaal onderaan staat (Figuur 66).

Plaats een opvangbak onder de naaf van het planeetwiel, verwijder de plug en laat de olie in de bak lopen.
Plaats een opvangbak onder de remkast, verwijder de aftapplug en laat de olie in de bak lopen (Figuur 67).

Als alle olie op de beide plaatsen is afgetapt, plaatst u de plug weer in de remkast.
Draai het wiel tot de open plugopening in het planeetwiel zich helemaal bovenaan bevindt.
Giet langzaam 0,65 liter hoogwaardige SAE 85W-140 wt. tandwielolie door de opening in het planeetwiel.
Important: Als het planeetwiel vol is voordat u 0,65 liter olie hebt toegevoegd, moet u een uur wachten of de plug monteren en de machine ongeveer drie meter verplaatsen om de olie over het remsysteem te verdelen. Verwijder daarna de plug en voeg de resterende olie toe.
Plaats de plug.
Herhaal dit bij de planeetwielaandrijving/remsysteem aan de andere kant.
| Onderhoudsinterval | Onderhoudsprocedure |
|---|---|
| Om de 400 bedrijfsuren |
|
De achteras is in de fabriek gevuld met SAE 85-140 tandwielolie. U moet echter het oliepeil controleren voordat u de machine voor de eerste keer in gebruik neemt, en daarna om de 400 bedrijfsuren. De capaciteit bedraagt 2,4 liter. Controleer elke dag op lekkage.
Plaats de machine op een horizontaal oppervlak.
Verwijder de controleplug van één uiteinde van de as (Figuur 68) en controleer of de olie tot aan de onderkant van de opening komt. Indien het peil te laag staat, verwijdert u de vulplug (Figuur 68) en vult u voldoende olie bij totdat het peil de onderkant van de openingen van de controleplug bereikt.

| Onderhoudsinterval | Onderhoudsprocedure |
|---|---|
| Na de eerste 200 bedrijfsuren |
|
| Om de 800 bedrijfsuren |
|
Plaats de machine op een horizontaal oppervlak.
Reinig de omgeving van de drie aftappluggen, 1 aan elke kant en 1 in het midden (Figuur 69).

Verwijder de controlepluggen voor het oliepeil en de ontluchtingsdop op de hoofdas zodat de olie gemakkelijk kan weglopen.
Verwijder de aftappluggen zodat de olie in de opvangbakken kan lopen.
Plaats de pluggen.
Verwijder en controleplug en vuil de as met ongeveer 2,37 liter 85W-140 tandwielkastolie, of totdat de olie de onderkant van het gat bereikt.
Plaats de controleplug terug.
| Onderhoudsinterval | Onderhoudsprocedure |
|---|---|
| Om de 400 bedrijfsuren |
|
De tandwielkast is gevuld met SAE 85W-140 smeerolie. U moet echter het oliepeil controleren voordat u de machine voor de eerste keer in gebruik neemt, en daarna om de 400 bedrijfsuren. De capaciteit bedraagt 0,5 liter. Controleer elke dag op lekkage.
Plaats de machine op een horizontaal oppervlak.
Verwijder de controle/vulplug aan de linkerzijde van de tandwielkast (Figuur 70) en controleer of de tandwielolie tot aan de onderkant van de opening komt. Als het peil te laag is, vult u voldoende transmissieolie bij totdat het peil de onderkant van de opening bereikt.

De machine mag niet kruipen als het tractiepedaal niet is ingetrapt. Als de machine kruipt, is afstelling vereist
Parkeer de machine op een horizontaal oppervlak, schakel de motor uit, zet de snelheidsregeling op Laag, en laat de maaidekken neer op de grond.
Trap alleen het rechterrempedaal en stel de parkeerrem in werking.
Krik de linkerkant van de machine omhoog totdat het linkervoorwiel vrij komt van de vloer van de werkplaats. Zorg ervoor dat de machine steunt op de rustpunten van de krik om te voorkomen dat de machine per ongeluk valt.
Start de motor en laat deze laagstationair lopen.
Draai aan de contramoeren op het uiteinde van de pompstang en beweeg de bedieningshendel van de pomp naar voren als de machine voorwaarts kruipt, of naar achteren als de machine achterwaarts kruipt, totdat de machine niet meer kruipt (Figuur 71).

Als de wielen niet meer draaien, draait u de contramoeren vast om de afstelling te borgen.
Zet de motor af en zet de rechterrem vrij.
Haal de assteunen weg en laat de machine neer op de grond.
Maak een proefrit met de machine om er zeker van te zijn dat deze niet kruipt.
| Onderhoudsinterval | Onderhoudsprocedure |
|---|---|
| Om de 800 bedrijfsuren |
|
Meet de afstand hart-op-hart van het toespoor (ter hoogte van de assen) aan de voorzijde en de achterzijde van de stuurwielen.
Note: De afstand aan de voorzijde moet 3 mm korter zijn dan de gemeten afstand aan de achterzijde (Figuur 72).

Om het toespoor bij te stellen verwijdert u de borgpen en de moer van één van de kogelverbindingen van de trekstang (Figuur 73).

Verwijder de kogelverbinding van de trekstang uit de steun van het differentieelhuis.
Draai de klemmen aan beide uiteinden van de spoorstangen los (Figuur 73).
Draai de losgezette kogelverbinding 1 hele slag naar binnen of naar buiten.
Zet de klem vast op het losse uiteinde van de trekstang.
Draai de complete trekstang 1 hele slag in dezelfde richting (naar binnen of naar buiten).
Zet de klem vast op het aangesloten uiteinde van de trekstang.
Plaats de kogelverbinding in de steun van het differentieelhuis en draai de moer met de hand vast.
Meet het toespoor.
Herhaal deze procedure indien nodig.
Draai de moer vast en monteer een nieuwe pen als de afstelling correct is.
| Onderhoudsinterval | Onderhoudsprocedure |
|---|---|
| Bij elk gebruik of dagelijks |
|
Verwijder dagelijks het vuil uit de omgeving van de motor, de oliekoeler en de radiateur. Reinig ze vaker als in vuile omstandigheden wordt gemaaid.
Ontgrendel en draai het achterscherm open (Figuur 74).

Verwijder grondig al het vuil dat zich op het scherm bevindt.
Note: Om het scherm te verwijderen, moet u de scharnierpennen verwijderen.
Reinig beide zijden van de oliekoeler en de omgeving van de radiateur (Figuur 75) grondig met perslucht. Begin aan de voorkant en blaas het vuil eruit naar de achterkant. Reinig vervolgens vanaf de achterkant en blaas het vuil naar de voorkant. Herhaal deze procedure verschillende keren totdat het maaisel en het vuil geheel zijn verwijderd.

Important: Als u de radiateur of de oliekoeler met water reinigt, kan hierdoor voortijdig corrosie optreden en kunnen onderdelen schade oplopen en kan vuil gaan aankoeken.
Sluit het achterscherm en zet het vast met de vergrendeling.
Stel de serviceremmen af als de rempedalen meer dan 13 mm 'speling' hebben of als de remmen niet naar behoren functioneren. Met speling wordt de afstand bedoeld die het rempedaal aflegt als het wordt ingetrapt voordat er remweerstand wordt gevoeld.
Haal de borgpen van de rempedalen los zodat beide pedalen onafhankelijk van elkaar kunnen functioneren.
Om de speling op de rempedalen te verkleinen, moet u de remmen als volgt vaster zetten:
Draai de voorste moer op het draadeinde van de remkabel los (Figuur 76).

Draai vervolgens de achterste moer vast om de kabel naar achteren te halen totdat de rempedalen 0 tot 13 mm speling hebben.
Note: Zorg ervoor dat er geen remspanning is als het pedaal wordt losgelaten.
Draai de voorste moeren aan nadat de remmen correct zijn afgesteld.
| Onderhoudsinterval | Onderhoudsprocedure |
|---|---|
| Om de 100 bedrijfsuren |
|
Controleer de conditie en de spanning van de riemen (Figuur 77) om de 100 bedrijfsuren.
Bij een correcte spanning heeft de riem een speling van 10 mm als u halverwege tussen de poelies op de riem drukt met een kracht van 45 N (4,5 kg).
Als de indrukking niet correct is (geen 10 mm), moet u de montagebouten van de wisselstroomdynamo losdraaien (Figuur 77).

Verhoog of verminder de spanning van de riem van de wisselstroomdynamo en draai de bouten vast.
Controleer nogmaals de indrukking van de riem om zeker van te zijn dat de spanning correct is.
| Onderhoudsinterval | Onderhoudsprocedure |
|---|---|
| Om de 800 bedrijfsuren |
|
Ververs de hydraulische vloeistof in normale omstandigheden om de 800 bedrijfsuren. Als de vloeistof verontreinigd raakt, moet u contact opnemen met uw plaatselijke Toro-dealer omdat het systeem dient te worden schoongespoeld. Verontreinigde vloeistof ziet er in vergelijking met schone vloeistof melkachtig of zwart uit.
Zet de motor af en til de motorkap op.
Maak de terugvoerleiding van de bak los van de bodem van het hydraulische reservoir en laat de hydraulische vloeistof in een opvangbak lopen.
Plaats de leiding weer terug als er geen hydraulische vloeistof meer naar buiten komt.
Vul het reservoir met ongeveer 28,4 liter hydraulische vloeistof; zie Controleer het peil van de hydraulische vloeistof.
Important: Gebruik uitsluitend de gespecificeerde hydraulische vloeistoffen. Andere vloeistoffen kunnen schade aan het systeem veroorzaken.
Plaats de dop weer op het reservoir.
Start de motor en gebruik alle hydraulische bedieningsorganen om de hydraulische vloeistof door het hele systeem te verspreiden.
Controleer de machine op lekken en stop de motor.
Controleer het vloeistofpeil en vul vloeistof bij totdat het peil de Full-markering (Vol) op de peilstok bereikt.
Note: Vul het hydraulische systeem niet te vol.
| Onderhoudsinterval | Onderhoudsprocedure |
|---|---|
| Na de eerste 200 bedrijfsuren |
|
| Om de 800 bedrijfsuren |
|
Vervang de hydraulische filters (2) na de eerste 200 bedrijfsuren. Vervang de hydraulische filters daarna in normale omstandigheden om de 800 bedrijfsuren.
Gebruik ter vervanging Toro-filters (onderdeelnr. 94-2621 op de achterkant (maai-eenheid) van de machine en onderdeelnr. 75-1310 op de voorkant (lading) van de machine.
Important: Als een ander filter wordt gebruikt, kan de garantie van bepaalde onderdelen komen te vervallen.
Plaats de machine op een horizontaal oppervlak, laat de maai-eenheden neer, zet de motor af, stel de parkeerrem in werking en verwijder het sleuteltje uit het contact.
Reinig de omgeving van de plaats waar het filter wordt gemonteerd.
Plaats een opvangbak onder het filter en verwijder het filter (Figuur 78 en Figuur 79).
Smeer de nieuwe filterpakking en vul het filter met hydraulische vloeistof.


Zorg ervoor dat de plaats waar het filter wordt bevestigd, schoon is.
Schroef het filter erop totdat de pakking contact maakt met de bevestigingsplaat: draai het filter vervolgens nog eens een ½ slag.
Start de motor en laat deze ongeveer 2 minuten lopen om lucht uit het systeem te verwijderen.
Zet de motor af en controleer op olielekkages.
| Onderhoudsinterval | Onderhoudsprocedure |
|---|---|
| Bij elk gebruik of dagelijks |
|
Controleer dagelijks de hydraulische leidingen en slangen op lekkages, kinken, loszittende steunen, slijtage, loszittende aansluitingen, slijtage door weersinvloeden en de inwerking van chemicaliën. Voer alle noodzakelijke reparaties uit voordat u de machine weer in gebruik neemt.
Hydraulische vloeistof die onder druk ontsnapt, kan door de huid heen dringen en letsel veroorzaken.
Controleer of alle hydraulische slangen en leidingen in goede staat verkeren en alle hydraulische aansluitingen en fittings stevig vastzitten voordat u druk zet op het hydraulische systeem.
Houd lichaam en handen uit de buurt van kleine lekgaten of spuitmonden waaruit onder hoge druk hydraulische vloeistof ontsnapt.
U kunt lekken in het hydraulische systeem opsporen met behulp van karton of papier.
Hef alle druk in het hydraulische systeem op veilige wijze op, voordat u werkzaamheden gaat verrichten aan het hydraulische systeem.
Waarschuw onmiddellijk een arts als er hydraulische vloeistof is geïnjecteerd in de huid.
Contact met de messenkooien of andere bewegende onderdelen kan lichamelijk letsel veroorzaken.
Houd vingers, handen of kleding uit de buurt van de messenkooien of andere bewegende onderdelen.
Probeer de messenkooien nooit met uw handen of voeten te draaien of aan te raken terwijl de motor draait.
Note: Tijdens het wetten zijn de voormaaidekken en de achterste maaidekken tegelijk in werking.
Plaats de machine op een horizontaal oppervlak, laat de maaidekken neer, stop de motor, stel de parkeerrem in werking, en zet de aftakasschakelaar op UIT.
Ontgrendel de motorkap en til deze omhoog zodat u bij de bedieningsorganen kunt komen.
Doe de aanvankelijke instelling van het ondermes en messenkooi voor het wetten op alle maaidekken die moeten worden gewet. Zie de Gebruikershandleiding van het maaidek.
Kies met de voorste, achterste of beide wethendels de messenkooien die moeten worden gewet (Figuur 80).
Start de motor en laat deze op een laag stationair toerental lopen.
Wanneer u het toerental van de motor tijdens het wetten verandert, kunnen de messenkooien tot stilstand komen.
Verander nooit het motortoerental tijdens het wetten.
Wet de messenkooien uitsluitend als de motor laag stationair loopt.
Aanraking van het maaidek kan leiden tot letsel.
Om lichamelijk letsel te voorkomen, dient u buiten het bereik van de maaidekken te zijn voordat u verdere werkzaamheden uitvoert.
Met de maaisnelheidbegrenzer op Maaien, zet de aftakasschakelaar op AAN. Druk op de hefschakelaar om de gewenste messenkooien te beginnen wetten.
Breng de wetpasta aan met een borstel met lange steel.
Note: Gebruik nooit een borstel met een korte steel.

Als de messenkooien vast komen te zitten of onregelmatig worden tijdens het wetten, verhoogt u gasinstelling tot de messenkooi gestabiliseerd wordt.
Afstellen van de maaidekken tijdens het wetten: schakel de maaikooien uit door op de achterkant van de hefschakelaar te drukken, zet de aftakasschakelaar op UIT, en schakel de motor uit. Na de afstelling herhaalt u stappen4 tot en met 8.
Herhaal de procedure bij alle maaidekken die u wilt wetten.
Als u klaar bent met wetten, moet u de wethendels in de Maaistand zetten, de motorkap laten zakken en alle wetpasta van de maaidekken wassen. Stel indien nodig het contact tussen de messenkooi en het ondermes af. Zet de instelling van de messenkooisnelheid op de gewenste maai-stand.
Important: Als de wetschakelaar na het wetten niet in de UIT-stand worden gezet, zullen de maaidekken niet omhoog komen of naar behoren werken.
Note: Voor nadere informatie over het wetten, zie de Toro handleiding Slijpen van maaimachines met messenkooien en roterende messen, documentnr. 80-300SL.
Note: Voor een betere snijrand moet u de voorkant van het ondermes bijvijlen als u klaar bent met wetten. Hiermee verwijdert u bramen of ruwe randen die kunnen zijn ontstaan op de snijrand.
Tap de motorolie af uit het carter en plaats de aftapplug.
Verwijder het oliefilter en gooi het weg. Plaats een nieuw oliefilter.
Vul de motor met de opgegeven motorolie.
Start de motor en laat deze ongeveer twee minuten stationair lopen.
Zet de motor af.
Spoel de brandstoftank met verse, schone brandstof.
Zet alle onderdelen van het brandstofsysteem weer goed vast.
Zorg ervoor dat het luchtfilter grondig wordt gereinigd en een onderhoudsbeurt krijgt.
Plak de luchtfilterinlaat en de uitlaat af met weerbestendige tape.
Controleer de antivriesbescherming en vul het systeem bij met een oplossing die half uit water, half uit ethyleenglycol bestaat. Vul zoveel bij als nodig is met het oog op de plaatselijk te verwachten minimumtemperatuur.
Reinig de tractie-eenheid, de maaidekken en de motor grondig.
Controleer de bandenspanning; zie De bandenspanning controleren.
Controleer of alle bevestigingsmiddelen vastzitten; zet ze vast indien nodig.
Smeer alle smeer- en draaipunten met vet of olie. Neem overtollig vet op.
Plaatsen waar de lak is bekrast, beschadigd of geroest, moeten licht geschuurd en bijgewerkt worden. Eventuele deuken in de metalen carrosserie uitdeuken.
Verricht de volgende onderhoudswerkzaamheden aan de accu en de kabels:
Haal de accuklemmen los van de accupolen.
Reinig de accu, de klemmen en de polen met behulp van een staalborstel en een oplossing van zuiveringszout (natriumbicarbonaat).
Smeer een dun laagje Grafo 112X-vet (Toro- onderdeelnr. 505-47) of vaseline (petrolatum) op de kabelklemmen en de accupolen om corrosie te voorkomen.
Laad de accu om de 60 dagen 24 uur lang op om loodsulfatie van de accu te voorkomen.