| Wartungsintervall | Wartungsmaßnahmen |
|---|---|
| Bei jeder Verwendung oder täglich |
|
Dieser Aufsitzrasenmäher mit Messerspindeln sollte nur von geschulten Lohnarbeitern in gewerblichen Anwendungen eingesetzt werden. Er ist hauptsächlich für das Mähen von Gras auf gepflegten Grünflächen auf Golfplätzen, in Parks, Sportplätzen und öffentlichen Anlagen gedacht. Der Rasenmäher ist nicht für das Schneiden von Büschen, für das Mähen von Gras oder anderer Anpflanzungen entlang öffentlicher Verkehrswege oder für den landwirtschaftlichen Einsatz gedacht.
Lesen Sie diese Informationen sorgfältig durch, um sich mit dem ordnungsgemäßen Einsatz und der Wartung des Geräts vertraut zu machen und Verletzungen und eine Beschädigung des Geräts zu vermeiden. Sie tragen die Verantwortung für einen ordnungsgemäßen und sicheren Einsatz des Geräts.
Wenden Sie sich hinsichtlich Informationen zu Produkten und Zubehör sowie Angaben zu Ihrem örtlichen Vertragshändler oder zur Registrierung des Produktes direkt an Toro unter www.Toro.com.
Wenden Sie sich an den Toro-Vertragshändler oder Kundendienst, wenn Sie eine Serviceleistung, Originalersatzteile von Toro oder weitere Informationen benötigen. Haben Sie dafür die Modell- und Seriennummern der Maschine griffbereit. In Bild 1 wird der Standort der Modell- und Seriennummern am rechten vorderen Rahmen des Produkts angegeben. Tragen Sie hier bitte die Modell- und Seriennummern des Geräts ein.

In dieser Anleitung werden potenzielle Gefahren angeführt, und Sicherheitshinweise werden vom Sicherheitswarnsymbol (Bild 2) gekennzeichnet. Dieses Warnsymbol weist auf eine Gefahr hin, die zu schweren oder tödlichen Verletzungen führen kann, wenn Sie die empfohlenen Sicherheitsvorkehrungen nicht einhalten.

In dieser Anleitung werden zwei Begriffe zur Hervorhebung von Informationen verwendet. Wichtig weist auf spezielle mechanische Informationen hin, und Hinweis hebt allgemeine Informationen hervor, die Ihre besondere Beachtung verdienen.
Dieses Produkt entspricht allen relevanten europäischen Richtlinien. Weitere Angaben finden Sie in der separaten produktspezifischen Konformitätsbescheinigung.
Entsprechend dem California Public Resource Code Section 4442 oder 4443 ist der Einsatz des Motors in bewaldeten oder bewachsenen Gebieten ohne richtig gewarteten und funktionsfähigen Funkenfänger, wie in Section 4442 definiert, oder ohne einen Motor verboten, der nicht für die Brandvermeidung konstruiert, ausgerüstet und gewartet ist.
Die beiliegende Motoranleitung enthält Angaben zu den Abgasbestimmungen der amerikanischen Environmental Protection Agency (EPA) und den Kontrollvorschriften von Kalifornien zu Abgasanlagen, der Wartung und Garantie. Sie können einen Ersatz beim Motorhersteller anfordern.
KALIFORNIEN
Warnung zu Proposition 65
Die Dieselauspuffgase und einige Bestandteile wirken laut den Behörden des Staates Kalifornien krebserregend, verursachen Geburtsschäden oder andere Defekte des Reproduktionssystems
Bei Verwendung dieses Produkts sind Sie ggf. Chemikalien ausgesetzt, die laut den Behörden des Staates Kalifornien krebserregend wirken, Geburtsschäden oder andere Defekte des Reproduktionssystems verursachen.
Diese Maschine entspricht den Standards EN ISO 5395:2013 (bei Anbringung der entsprechenden Aufkleber) und ANSI B71.4:2012 oder übertrifft diese sogar.
Der unsachgemäße Einsatz oder die falsche Wartung der Maschine kann zu Verletzungen führen. Durch das Befolgen dieser Sicherheitshinweise kann das Verletzungsrisiko verringert werden. Achten Sie immer auf das Warnsymbol. Es bedeutet Vorsicht, Warnung oder Gefahr – Hinweise für die Personensicherheit. Wenn der Hinweis nicht beachtet wird, kann es zu schweren oder tödlichen Verletzungen kommen.
Die folgenden Anweisungen stammen aus EN 5395:2013 und ANSI B71.4-2012.
Lesen Sie die Bedienungsanleitung und weiteres Schulungsmaterial gründlich durch. Machen Sie sich mit den Bedienelementen, Sicherheitsschildern und der korrekten Anwendung des Geräts vertraut.
Lassen Sie den Rasenmäher nie von Kindern oder Personen bedienen oder warten, die mit diesen Anweisungen nicht vertraut sind. Örtliche Vorschriften schränken u. U. das Mindestalter von Bedienern ein.
Mähen Sie nie, wenn sich Personen, insbesondere Kinder oder Haustiere, in der Nähe aufhalten.
Bedenken Sie immer, dass der Bediener die Verantwortung für Unfälle oder Gefahren gegenüber anderen und ihrem Eigentum trägt.
Nehmen Sie nie Beifahrer mit.
Alle Fahrer und Mechaniker müssen sich um eine professionelle und praktische Schulung bemühen. Der Besitzer ist für die Schulung der Bediener verantwortlich. Die Ausbildung muss Folgendes hervorheben:
Die Bedeutung von Vorsicht und Konzentration bei der Arbeit mit Aufsitzrasenmähern;
Die Kontrolle über einen Rasentraktor, der an einer Hanglage rutscht, lässt sich nicht durch den Einsatz der Bremse wiedergewinnen. Kontrollverlust ist meistens auf Folgendes zurückzuführen:
Unzureichende Bodenhaftung.
Zu hohe Geschwindigkeit.
Unzureichendes Bremsen.
Nicht geeigneter Maschinentyp für die Aufgabe.
Mangelhafte Beachtung des Bodenzustands, insbesondere an Hanglagen.
Falsch angebrachte Geräte und falsche Lastverteilung.
Der Besitzer bzw. Bediener ist für Unfälle oder Verletzungen von Dritten sowie Sachschäden verantwortlich und kann diese verhindern.
Tragen Sie beim Mähen immer angemessene Schutzkleidung, hierzu gehören Schutzbrille, rutschfeste Arbeitsschuhe, lange Hosen und ein Gehörschutz.
Binden Sie lange Haare hinten zusammen. Tragen Sie keinen Schmuck.
Untersuchen Sie den Arbeitsbereich der Maschine gründlich und entfernen Sie alle Gegenstände, die von der Maschine aufgeworfen werden könnten.
Tauschen Sie defekte Schalldämpfer bzw. Auspuffe aus.
Begutachten Sie das Gelände, um das notwendige Zubehör und die Anbaugeräte zu bestimmen, die zur korrekten und sicheren Durchführung der Arbeit erforderlich sind. Verwenden Sie nur vom Hersteller zugelassenes Zubehör und zugelassene Anbaugeräte.
Prüfen Sie, ob die Sitzkontaktschalter, Sicherheitsschalter und Schutzbleche vorhanden sind und einwandfrei funktionieren. Nehmen Sie die Maschine nur in Betrieb, wenn diese richtig funktionieren.
Passen Sie beim Umfang mit Kraftstoff besonders auf, um Körperverletzungen oder Sachschäden zu vermeiden. Kraftstoff ist extrem leicht entflammbar und die Dämpfe sind hochexplosiv.
Machen Sie alle Zigaretten, Zigarren, Pfeifen und andere Zündquellen aus.
Verwenden Sie nur einen vorschriftsmäßigen Kraftstoffkanister.
Nehmen Sie den Tankdeckel nie bei laufendem Motor ab und betanken Sie nicht bei laufendem Motor.
Lassen Sie vor dem Betanken den Motor abkühlen.
Betanken Sie die Maschine nie in geschlossenen Räumen.
Lagern Sie die Maschine oder den Kraftstoffkanister nie an Orten mit offener Flamme, Funken oder Zündflamme, z. B. Warmwasserbereiter, oder andere Geräte.
Füllen Sie den Kanister nie im Fahrzeug oder auf der Ladepritsche eines Pritschenwagens oder Anhängers mit einer Verkleidung aus Kunststoff. Stellen Sie die Benzinkanister vor dem Auffüllen immer vom Fahrzeug entfernt auf den Boden.
Nehmen Sie Geräte vom Pritschenwagen oder Anhänger und tanken Sie sie auf dem Boden auf. Falls das nicht möglich ist, betanken Sie solche Geräte mit einem tragbaren Kanister und an einer Zapfsäule.
Sie müssen das Mundstück immer in Kontakt mit dem Rand des Kraftstofftanks bzw. der Kanisteröffnung halten, bis der Tankvorgang abgeschlossen ist. Verwenden Sie nicht ein Mundstück-Öffnungsgerät.
Wenn Sie Kraftstoff auf die Kleidung verspritzen, wechseln Sie sofort die Kleidung.
Füllen Sie den Kraftstofftank nie zu voll. Setzen Sie den Tankdeckel auf und schrauben Sie ihn richtig fest.
Lassen Sie den Motor nie in unbelüfteten Räumen laufen, da sich dort gefährliche Kohlenmonoxidgase ansammeln können.
Mähen Sie nur bei Tageslicht oder guter künstlicher Beleuchtung.
Kuppeln Sie, bevor Sie versuchen, den Motor zu starten, alle Anbaugeräte aus, schalten auf Neutral und aktivieren die Feststellbremse.
Denken Sie daran, dass ein Gefälle nie sicher ist. Fahren Sie an Grashängen besonders vorsichtig. So vermeiden Sie ein Überschlagen:
Stoppen oder starten Sie beim Hangauf-/Hangabfahren nie plötzlich.
Halten Sie die Geschwindigkeit an Hängen und in engen Kurven niedrig.
Achten Sie auf Buckel und Kuhlen und andere versteckte Gefahrenstellen.
Vermeiden Sie scharfes Wenden. Passen Sie beim Rückwärtsfahren auf.
Verwenden Sie Gegengewichte oder Radballast, wenn dies in der Bedienungsanleitung empfohlen wird.
Achten Sie auf Kuhlen und andere versteckte Gefahrenstellen im Gelände.
Achten Sie beim Überqueren und in der Nähe von Straßen auf den Verkehr.
Stellen Sie die Schnittmesser ab, bevor Sie grasfreie Oberflächen überqueren.
Richten Sie beim Einsatz von Anbaugeräten den Auswurf nie auf Unbeteiligte. Halten Sie Unbeteiligte aus dem Einsatzbereich fern.
Setzen Sie den Rasenmäher nie mit beschädigten Schutzvorrichtungen, -schildern und ohne angebrachte Sicherheitsvorrichtungen ein. Stellen Sie sicher, dass alle Sicherheitsschalter montiert, richtig eingestellt und funktionsfähig sind.
Verändern Sie nie die Einstellung des Motorfliehkraftreglers, und überdrehen Sie niemals den Motor. Durch das Überdrehen des Motors steigt die Verletzungsgefahr.
Bevor Sie den Fahrersitz verlassen:
Halten Sie auf einer ebenen Fläche an.
Kuppeln Sie die Zapfwelle aus und senken Sie die Anbaugeräte ab.
Schalten Sie auf Leerlauf und aktivieren Sie die Feststellbremse.
Stellen Sie den Motor ab und ziehen Sie den Zündschlüssel ab.
Kuppeln Sie den Antrieb der Anbaugeräte aus, wenn die Maschine nicht verwendet oder transportiert wird.
Stellen Sie den Motor ab und kuppeln den Antrieb der Anbaugeräte aus:
Vor dem Tanken.
Vor dem Verstellen der Schnitthöhe. Es sei denn, die Einstellung lässt sich von der Fahrerposition aus bewerkstelligen.
Vor dem Entfernen von Verstopfungen.
Vor dem Prüfen, Reinigen oder Warten des Rasenmähers;
Nach dem Kontakt mit einem fremden Objekt, oder wenn abnormale Vibrationen auftreten. Untersuchen Sie den Rasenmäher auf Schäden und führen die notwendigen Reparaturen durch, bevor Sie ihn erneut starten und in Betrieb nehmen.
Reduzieren Sie vor dem Abstellen des Motors die Einstellung der Gasbedienung, und drehen Sie nach dem Abschluss der Mäharbeiten den Kraftstofffluss ab, wenn der Motor mit einem Kraftstoffhahn ausgestattet ist.
Berühren Sie die Schneideinheiten nicht mit den Händen und Füßen.
Schauen Sie hinter sich und nach unten, um vor dem Rückwärtsfahren sicherzustellen, dass der Weg frei ist.
Fahren Sie beim Wenden und beim Überqueren von Straßen und Gehsteigen vorsichtig und langsam. Stellen Sie die Zylinder bzw. Spindeln ab, wenn Sie nicht mähen.
Bedienen Sie den Rasenmäher nicht, wenn Sie müde oder krank sind oder unter Alkohol- oder Drogeneinfluss stehen.
Blitzschlag kann zu schweren oder tödlichen Verletzungen führen. Setzen Sie die Maschine nicht ein, wenn Sie Blitze sehen oder Donner hören, und gehen Sie an eine geschützte Stelle.
Gehen Sie beim Laden und Abladen der Maschine auf einen/von einem Anhänger oder Pritschenwagen vorsichtig vor.
Seien Sie vorsichtig, wenn Sie sich nicht gut einsehbaren Biegungen, Sträuchern, Bäumen und anderen Objekten nähern, die Ihre Sicht behindern können.
Halten Sie alle Befestigungsteile fest angezogen, damit das Gerät in einem sicheren Betriebszustand bleibt.
Bewahren Sie das Gerät innerhalb eines Gebäudes nie mit Kraftstoff im Tank auf, wenn dort Dämpfe eine offene Flamme oder Funken erreichen könnten.
Lassen Sie den Motor abkühlen, bevor Sie die Maschine in einem geschlossenen Raum abstellen.
Halten Sie den Motor, Schalldämpfer, das Batteriefach und den Kraftstofftankbereich von Gras, Laub und überflüssigem Fett frei, um das Brandrisiko zu verringern. Wischen Sie Öl- und Kraftstoffverschüttungen auf.
Alle Teile müssen sich in gutem Zustand befinden, und alle Hardware und Hydraulikanschlussstücke müssen festgezogen sein. Ersetzen Sie abgenutzte und beschädigte Teile und Aufkleber.
Wenn Sie den Kraftstoff aus dem Tank ablassen müssen, sollte dies im Freien geschehen.
Passen Sie beim Einstellen der Maschine besonders auf, um ein Einklemmen der Finger zwischen den beweglichen Schnittmessern und permanenten Teilen der Maschine zu vermeiden.
Achten Sie bei Maschinen mit mehreren Zylindern bzw. mehreren Spindeln darauf, dass ein sich drehender Zylinder bzw. eine sich drehende Spindel eine Drehung anderer Zylinder bzw. Spindeln auslösen kann.
Kuppeln Sie die Antriebe aus, senken Sie die Schneideinheiten ab, aktivieren Sie die Feststellbremse, stellen Sie den Motor ab und ziehen Sie den Schlüssel ab. Lassen Sie vor dem Einstellen, Reinigen oder Reparieren alle beweglichen Teile zum Stillstand kommen.
Stützen Sie die Maschine bei Bedarf auf Achsständern ab.
Lassen Sie den Druck aus Maschinenteilen mit gespeicherter Energie vorsichtig ab.
Klemmen Sie vor dem Durchführen irgendwelcher Reparaturen die Batterie ab. Klemmen Sie immer zuerst den Minuspol und dann den Pluspol ab. Schließen Sie immer zuerst die Plusklemme und dann die Minusklemme wieder an.
Prüfen Sie die Zylinder/Spindel vorsichtig. Lassen Sie bei der Wartung dieser Teile große Vorsicht walten, und tragen Sie Handschuhe.
Berühren Sie bewegliche Teile nicht mit den Händen oder Füßen. Bei laufendem Motor sollten keine Einstellungsarbeiten vorgenommen werden.
Laden Sie Batterien an einem freien, gut belüfteten Ort, abseits von Funken und offenem Feuer. Ziehen Sie vor dem An- oder Abklemmen der Batterie den Netzstecker des Ladegeräts ab. Tragen Sie Schutzkleidung und verwenden Sie isoliertes Werkzeug.
Gehen Sie beim Laden und Abladen der Maschine auf einen/von einem Anhänger oder Pritschenwagen vorsichtig vor.
Laden Sie Maschinen mit Rampen, die über die ganze Breite gehen, auf einen Anhänger oder Pritschenwagen.
Vergurten Sie die Maschine sicher mit Riemen, Ketten, Kabeln oder Seilen. Die vorderen und hinteren Gurte sollten nach unten und außerhalb der Maschine verlaufen
Die folgende Liste enthält spezielle Sicherheitsinformationen für Toro Produkte sowie andere wichtige Sicherheitsinformationen, mit denen Sie vertraut sein müssen und die nicht in den CEN-, ISO- oder ANSI-Normen enthalten sind.
Dieses Produkt kann Hände und Füße amputieren und Gegenstände aufschleudern. Befolgen Sie zum Vermeiden von schweren oder tödlichen Verletzungen immer alle Sicherheitshinweise.
Der zweckentfremdende Einsatz dieser Maschine kann für den Benutzer und Unbeteiligte gefährlich sein.
Auspuffgase enthalten Kohlenmonoxid, ein geruchloses tödliches Giftgas.
Lassen Sie den Motor nie in geschlossenen Räumen laufen.
Sie müssen wissen, wie Sie den Motor schnell stoppen können.
Es sollten Sicherheitsschuhe und lange Hosen getragen werden, wie es auch in bestimmten örtlich geltenden Bestimmungen und Versicherungsvorschriften vorgeschrieben ist.
Passen Sie beim Umgang mit Kraftstoff auf. Wischen Sie verschütteten Kraftstoff auf.
Prüfen Sie die Sicherheitsschalter jeden Tag auf eine einwandfreie Funktion. Tauschen Sie alle defekten Schalter vor Inbetriebnahme der Maschine aus.
Setzen Sie sich auf den Sitz, bevor Sie den Motor starten.
Der Einsatz der Maschine erfordert Ihre ganze Aufmerksamkeit. So verlieren Sie nicht die Kontrolle über die Maschine:
Sollten Sie mit der Maschine nicht in der Nähe von Sandgruben, Gräben, Wasserläufen, Böschungen oder anderen Gefahrenbereichen arbeiten.
Fahren Sie beim engen Wenden langsam. Vermeiden Sie es, unvermittelt abzubremsen oder loszufahren.
Räumen Sie in der Nähe von oder beim Überqueren von Straßen immer das Vorfahrtsrecht ein.
Treten Sie auf die Betriebsbremse, wenn Sie bergab fahren, um die Vorwärtsgeschwindigkeit niedrig zu halten und die Kontrolle über die Maschine zu behalten.
Legen Sie beim Einsatz der Maschine mit einem Überrollschutz immer den Sitzgurt an und nehmen Sie nie den Überrollschutz ab.
Heben Sie beim Fahren von einem Einsatzort zum nächsten die Schneideinheiten an.
Berühren Sie weder den Motor, die Schalldämpfer oder das Auspuffrohr, während der Motor läuft bzw. kurz nachdem er abgestellt wurde, da diese Bereiche so heiß sind, dass dies zu Verbrennungen führen würde.
Bei jedem Hang besteht die Gefahr des Umkippens oder Überschlagens. Das Risiko wird jedoch mit zunehmenden Gefälle höher. Sie sollten steile Hänge vermeiden.
Senken Sie zum Verbessern der Kontrolle über die Lenkung die Schneideinheiten ab, wenn Sie hangabwärts fahren.
Kuppeln Sie den Fahrantrieb langsam ein. Lassen Sie den Fuß immer auf dem Fahrpedal, besonders wenn Sie abwärts fahren.
Verwenden Sie den Rückwärtsgang am Fahrpedal zum Bremsen.
Wenn die Maschine beim Hangaufwärtsfahren abstellt, drehen Sie die Maschine nicht herum. Fahren Sie in einem solchen Fall den Hang langsam und gerade rückwärts wieder hinunter.
Stellen Sie das Mähen sofort ein, wenn ein Mensch oder ein Haustier plötzlich in oder in der Nähe des Arbeitsbereichs erscheint. Ein fahrlässiger Betrieb kann in Verbindung mit dem Neigungsgrad des Geländes, Abprallungen und falsch montierten Schutzvorrichtungen durch das Herausschleudern von Gegenständen Verletzungen verursachen. Beginnen Sie das Mähen erst wieder, wenn der Arbeitsbereich frei ist.
Stellen Sie sicher, dass alle hydraulischen Anschlüsse fest angezogen sind und dass sich alle hydraulischen Schläuche und Leitungen in einwandfreiem Zustand befinden, bevor Sie die Anlage unter Druck stellen.
Halten Sie Ihren Körper und Ihre Hände von Nadellöchern und Düsen fern, aus denen Hydrauliköl unter hohem Druck ausgestoßen wird. Verwenden Sie zum Ausfindigmachen von undichten Stellen Pappe oder Papier und niemals Ihre Hände. Unter Druck austretendes Hydrauliköl kann unter die Haut dringen und schwere Verletzungen verursachen. Konsultieren Sie beim Einspritzen unter die Haut sofort einen Arzt.
Entspannen Sie vor dem Abtrennen hydraulischer Anschlüsse oder dem Durchführen von Arbeiten an der Hydraulikanlage immer das System, indem Sie den Motor abstellen und die Schneideinheiten und Anbaugeräte auf den Boden absenken.
Prüfen Sie regelmäßig die Festigkeit und Abnutzung aller Kraftstoffleitungen. Ziehen Sie die Leitungen an oder reparieren Sie sie ggf.
Berühren Sie die Schneideinheiten, Anbaugeräte und andere beweglichen Teile nicht mit den Händen, Füßen, Kleidungsstücken oder anderen Körperteilen, wenn der Motor zum Durchführen von Wartungseinstellungen laufen muss.
Lassen Sie, um die Sicherheit und Genauigkeit zu gewährleisten, die maximale Motordrehzahl mit einem Drehzahlmesser von Ihrem Toro Vertragshändler prüfen.
Wenden Sie sich bitte an Ihren Toro Vertragshändler, falls größere Reparaturen erforderlich werden sollten oder Sie praktische Unterstützung benötigen.
Verwenden Sie nur Toro Originalanbaugeräte und -ersatzteile. Die Verwendung von nicht zugelassenen Anbaugeräten kann zum Verlust Ihrer Garantieansprüche führen.
Dieses Gerät erzeugt einen Schalldruckpegel von 101 dBA (inkl. eines Unsicherheitswerts (K) von 1 dBA).
Der Schallleistungspegel wurde gemäß den Vorgaben in ISO 11094 gemessen.
Dieses Gerät erzeugt einen Schalldruckpegel, der am Ohr des Benutzers 83 dBA beträgt (inkl. eines Unsicherheitswerts (K) von 1 dBA.
Der Schalldruckpegel wurde gemäß den Vorgaben in EN ISO 5395:2013 gemessen.
Hand/Arm
Das gemessene Vibrationsniveau für rechts = 0,3 m/s2
Das gemessene Vibrationsniveau für die linke Hand beträgt 0,3 m/s2
Der Unsicherheitswert (K) beträgt 0,16 m/s2
Die Werte wurden nach den Vorgaben von EN ISO 5395:2013 gemessen.
Gesamtkörper
Gemessenes Vibrationsniveau = 0,2 m/s2
Der Unsicherheitswert (K) = 0,1 m/s2
Die Werte wurden nach den Vorgaben von EN ISO 5395:2013 gemessen.
Der Motor in dieser Maschine entspricht der EU Abgasnorm 3A.
![]() |
Die Sicherheits- und Bedienungsaufkleber sind gut sichtbar; sie befinden sich in der Nähe der möglichen Gefahrenbereiche. Tauschen Sie beschädigte oder verloren gegangene Aufkleber aus oder ersetzen sie. |























Note: Bestimmen Sie die linke und rechte Seite der Maschine anhand der üblichen Einsatzposition.
Stellen Sie abhängig von der Breite der am Antrieb montierten Schneideinheiten die Stützrollen wie folgt ein:
Für diesen Arbeitsschritt erforderliche Teile:
| Warnaufkleber | 1 |
Wechseln Sie an CE-konformen Maschinen das Warnschild, Bestellnummer 120–1683, gegen das Standard-Warnschild, Bestellnummer 120–1686, aus.
Für diesen Arbeitsschritt erforderliche Teile:
| Halterung des Motorhaubenriegels | 1 |
| Niete | 2 |
| Schraube (¼" x 2") | 1 |
| Flachscheibe (¼") | 2 |
| Sicherungsmutter (¼") | 1 |
Haken Sie den Motorhaubenriegel aus der Motorhaubenriegelhalterung aus (Bild 4).

Entfernen Sie die zwei Nieten, mit denen die Halterung des Motorhaubenriegels an der Motorhaube befestigt ist (Bild 5).

Nehmen Sie die Halterung des Motorhaubenriegels von der Motorhaube ab.
Fluchten Sie die Befestigungslöcher aus und positionieren Sie gleichzeitig die Halterung des CE-Riegels und des Motorhaubenriegels auf der Motorhaube.
Note: Die Riegelhalterung muss an der Haube anliegen (Bild 5).Nehmen Sie die Schraube und Mutter nicht vom Halterungsarm für den Riegel ab.

Fluchten Sie die Scheiben mit den Löchern an der Innenseite der Motorhaube aus.
Nieten Sie die Halterungen und Scheiben an die Haube (Bild 6).
Haken Sie den Riegel in die Halterung des Motorhaubenriegels ein (Bild 7).

Schrauben Sie die Schraube in den anderen Arm der Motorhaubenhalterung, um den Riegel zu arretieren (Bild 8).

Ziehen Sie die Schraube (nicht die Mutter) fest an.
Für diesen Arbeitsschritt erforderliche Teile:
| Vordere Schlauchführung, rechte Seite | 1 |
| Vordere Schlauchführung, linke Seite | 1 |
Nehmen Sie die Spindelmotoren aus den Versandhalterungen.
Nehmen Sie die Versandhalterungen ab und werfen Sie sie weg.
Nehmen Sie die Schneideinheiten aus den Kartons heraus.
Lesen Sie in der Bedienungsanleitung der Schneideinheit nach, wie Sie sie zusammenbauen und einstellen.
Stellen Sie sicher, dass der Gegenballast (Bild 9) am richtigen Ende der Schneideinheit montiert ist, siehe die Bedienungsanleitung der Schneideinheit.

Bei allen versandten Schneideinheiten ist die Rasenkompensierungsfeder rechts an der Schneideinheit montiert. Die Rasenkompensierungsfeder muss an derselben Seite der Schneideinheit wie der Spindelantriebsmotor montiert werden. So ändern Sie die Stellung der Rasenkompensierungsfeder:
Nehmen Sie die zwei Schlossschrauben und Muttern ab, mit denen die Stangenhalterung an den Nasen des Mähwerks befestigt ist (Bild 10).

Nehmen Sie die Bundmutter ab, mit denen die Schraube des Federrohrs an der Nase des Trägerrahmens befestigt ist (Bild 10)
Nehmen Sie das ganze Teil ab.
Montieren Sie die Schraube des Federrohrs an der anderen Nase am Trägerrahmen und befestigen sie mit der Bundmutter.
Note: Der Schraubenkopf zeigt zur Außenseite der Lasche, siehe Bild 11.

Montieren Sie die Stangenhalterung mit den Schlossschrauben und Muttern an den Schneideinheitnasen (Bild 11). An der Schneideinheit müssen Sie auch die linke Schlauchführung vorne an den Schneideinheitnasen befestigen, wenn Sie die Stangenhalterung (Bild 13) wieder einbauen.
Important: Montieren Sie an den Schneideinheiten Nr. 4 (vorne links) und Nr. 5 (vorne rechts) die Schlauchführungen mit den Befestigungsmuttern der Stangenhalterung vorne an den Schneideinheitnasen. Die Schlauchführungen sollten sich zur mittleren Schneideinheit neigen (Bild 12 bis Bild 14).



Note: Achten Sie beim Ein- oder Ausbau der Schneideinheiten darauf, dass der Splint in das Federrohrloch neben der Stangenhalterung eingesetzt ist. Sonst muss der Splint in das Loch am Ende der Stange eingesetzt werden.
Verbessern Sie die Lenkung an den Heckschneideinheiten, indem Sie die zwei Gelenkdistanzstücke, Sechskantschrauben und Bundmuttern (Bild 15) von den Trägerrahmen der Heckschneideinheiten (Schneideinheiten Nr. 2 und Nr. 3) entfernen, siehe Bild 12.

Senken Sie alle Hubarme komplett ab.
Schmieren Sie den Trägerrahmen mit sauberem Schmiermittel ein (Bild 16).

Frontschneideinheiten: Schieben Sie eine Schneideinheit unter den Hubarm und schieben Sie gleichzeitig die Trägerrahmenwelle in das Gelenkjoch des Hubarms (Bild 16). Stellen Sie sicher, dass die Druckscheibe auf der Trägerrahmenwelle positioniert ist.
Befestigen Sie die Trägerrahmenwelle mit dem Einraststift (Bild 16) am Hubarmjoch.
Befestigen Sie das Gelenkjoch mit dem Einraststift am Trägerrahmen, um die Lenkung an den Schneideinheiten zu arretieren (Bild 17).

Note: Die Lenkung sollte arretiert sein, wenn Sie Böschungen mähen.
Verwenden Sie die folgenden Schritte an den Heckschneideinheiten, wenn die Schnitthöhe über 1,9 cm liegt.
Nehmen Sie den Klappstecker und die Scheibe ab, mit denen die Gelenkwelle des Hubarms am Hubarm befestigt ist. Schieben Sie die Gelenkwelle des Hubarms aus dem Hubarm (Bild 18).

Setzen Sie das Hubarmjoch in die Trägerrahmenwelle ein (Bild 16).
Setzen Sie die Hubarmwelle in den Hubarm ein und befestigen sie mit der Scheibe und dem Klappstecker (Bild 18).
Befestigen Sie die Hubarmkette mit dem Einraststift an der Kettenhalterung (Bild 19).
Note: Verwenden Sie die Anzahl der Kettenglieder, die in der Bedienungsanleitung des Mähwerks beschrieben ist.

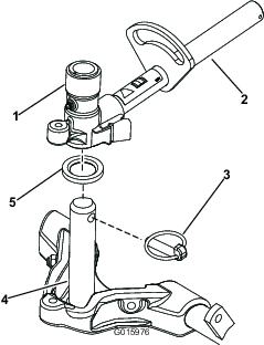
Fetten Sie die Keilwelle des Spindelmotors mit sauberem Fett ein.
Ölen Sie den O-Ring des Spindelmotors und setzen Sie ihn in den Motorflansch ein.
Montieren Sie den Motor; drehen Sie ihn nach rechts, damit die Motorflansche nicht die Schrauben berühren (Bild 20).

Drehen Sie den Motor nach links, bis die Flanschen die Schrauben umgeben. Ziehen Sie die Schrauben dann an.
Important: Stellen Sie sicher, dass die Schläuche des Spindelmotors nicht verdreht oder abgeknickt sind oder eingeklemmt werden können.
Die Rasenkompensierungsfeder (Bild 21) verlagert das Gewicht von der Front- zur Heckrolle. Dies reduziert ein Bobbing genanntes Wellenmuster auf der Grünfläche.
Important: Stellen Sie die Feder ein, wenn die Schneideinheit an der Zugmaschine montiert und auf den Boden der Werkstatt abgesenkt ist sowie gerade nach vorne zeigt.
Stellen Sie sicher, dass der Splint in das hintere Loch in der Federstange eingesetzt ist (Bild 21).
Note: Schieben Sie den Splint zum Federstangenloch neben der Rasenkompensierungsfeder, wenn Sie die Schneideinheit warten.

Ziehen Sie die Sechskantmuttern vorne an der Federstange an, bis die komprimierte Länge der Feder 15,9 cm beträgt, siehe Bild 21.
Note: Verkürzen Sie die Federlänge um 13 mm, wenn Sie in unebenem Terrain arbeiten. Der Bodenkontur wird nicht so genau gefolgt.
Note: Stellen Sie die Rasenausgleichseinstellung zurück, wenn die Schnitthöheneinstellung oder die Schnittschärfe geändert wird.
Für diesen Arbeitsschritt erforderliche Teile:
| Mähwerkständer | 1 |
Wenn Sie das Mähwerk kippen müssen, um das Untermesser bzw. die Spindel zugänglich zu machen, stützen Sie das Heck des Mähwerks mit dem Ständer ab, um sicherzustellen, dass die Muttern hinten an den Einstellschrauben des Untermesserträgers nicht auf der Arbeitsfläche aufliegen (Bild 22).

Befestigen Sie den Ständer mit dem Einraststift an der Kettenhalterung (Bild 23).

Vor dem Betrieb der Maschine muss sie eingeschmiert werden, um einen ordnungsgemäßen Betrieb zu gewährleisten. Siehe Schmierung. Wenn Sie die Maschine nicht einwandfrei einfetten, kommt es zum frühzeitigen Ausfall kritischer Bauteile.
Prüfen Sie den Füllstand des Hinterachsenöls vor dem ersten Anlassen des Motors, siehe Füllstand des Getriebeöls der Hinterachse prüfen.
Prüfen Sie den Füllstand des Hydrauliköls vor dem ersten Anlassen des Motors, siehe Hydraulikölstand prüfen.
Prüfen Sie den Füllstand des Motoröls vor und nach dem ersten Anlassen des Motors, siehe Prüfen des Stands des Motoröls.
Für diesen Arbeitsschritt erforderliche Teile:
| Messlehre | 1 |
Stellen Sie die Schneideinheit mit der Messlehre ein. Weitere Informationen zum Einstellen finden Sie in der Bedienungsanleitung der Schneideinheit (Bild 24).

Mit den zwei Fußpedalen (Bild 25) steuern Sie unabhängige Radbremsen zum Unterstützen des Wendens oder zum Beibehalten der Bodenhaftung beim seitlichen Überfahren von Hängen.
Der Pedalsperrriegel (Bild 25) verbindet beide Pedale zum Aktivieren der Feststellbremse.
Verbinden Sie die Pedale mit dem Pedalsperrriegel, (Bild 25) treten auf das rechte Bremspedal und aktivieren das Pedal mit den Zehen, um die Feststellbremse zu aktivieren. Treten Sie eines der Bremspedale durch, bis der Riegel der Feststellbremse wieder zurückgeht, um die Feststellbremse zu lösen.

Das Fahrpedal (Bild 25) regelt die Vorwärts- und Rückwärtsfahrt. Treten Sie oben auf das Pedal, um vorwärts zu fahren und unten auf das Pedal, um rückwärts zu fahren. Die Fahrgeschwindigkeit hängt davon ab, wie weit Sie das Pedal durchtreten. Treten Sie für die maximale Fahrgeschwindigkeit das Pedal ganz durch, während Sie den Gasbedienungshebel auf SCHNELL stellen.
Verringern Sie zum Anhalten den Druck auf das Fahrpedal und lassen es in die mittlere Stellung zurückgehen.
Wenn Sie das Lenkrad zu Ihnen kippen möchten, treten Sie das Pedal (Bild 25) durch und ziehen Sie die Lenksäule zu sich, bis Sie die bequemste Stellung erreicht haben. Nehmen Sie dann den Fuß vom Pedal.
Wenn Sie den Mähgeschwindigkeitsbegrenzer (Bild 26) nach oben kippen, steuert er die Mähgeschwindigkeit und ermöglicht das Einkuppeln der Schneideinheiten. Jedes Distanzstück stellt die Mähgeschwindigkeit um 0,8 km pro Stunde nach. Je mehr Distanzstücke auf der Schraube liegen, desto langsamer fährt die Maschine. Kippen Sie für den Transport den Mähgeschwindigkeitsbegrenzer zurück für die maximale Transportgeschwindigkeit.
Stellen Sie die Schrauben (Bild 26) so ein, dass sich das Fahrpedal zum Einschränken der Bewegung nur entsprechend seiner Einstellung in die Vorwärts- oder Rückwärtsrichtung drücken lässt.
Important: Die Schraube des Geschwindigkeitsbegrenzers muss das Fahrpedal stoppen, bevor die Pumpe den vollen Hub erreicht, sonst kann diese beschädigt werden.

Mit diesem Hebel (Bild 27) heben Sie die Schneideinheiten an und senken Sie ab. Außerdem werden die Spindeln (bei eingekuppelten Spindeln im Mähmodus) ein- und ausgeschaltet. Die Schneideinheiten können nicht abgesenkt werden, wenn der Mäh-/Transporthebel in der Transport-Stellung ist.
Das Zündschloss (Bild 27) hat drei Stellungen: AUS, EIN/GLüHKERZEN und START.
Auf dem InfoCenter-LCD-Display werden Informationen zur Maschine angezeigt, u. a. Betriebszustand, verschiedene Diagnostikwerte und andere Informationen zur Maschine (Bild 27).
Der Zapfwellenschalter (Bild 27) hat zwei Stellungen: Herausgezogen (START) und nicht herausgezogen (STOPP). Drücken Sie den Zapfwellenschalter nach vorne, um die Schneideinheitmesser einzukuppeln. Drücken Sie den Zapfwellenschalter hinein, um die Schneideinheitmesser auszukuppeln.

Der Schalter für die Motordrehzahl (Bild 27) hat zwei Betriebsarten zum Ändern der Motordrehzahl. Berühren Sie den Schalter kurz, um die Motordrehzahl in Schritten von 100 U/min zu erhöhen oder zu verringern. Wenn Sie den Schalter gedrückt halten, geht der Motor automatisch in den hohen oder niedrigen Leerlauf, abhängig davon, welches Ende des Schalters Sie drücken.
Drehen Sie den Schalter nach unten, um die Scheinwerfer einzuschalten (Bild 27).
Die Steckdose (Bild 28) wird für elektrisches Zubehör mit 12 Volt verwendet.

Der Taschenhalter (Bild 29) dient Aufbewahrungszwecken.

Mit den Läppenhebeln läppen Sie die Spindeln (Bild 30).


Ziehen Sie am Hebel, um den Sitz nach vorne oder hinten zu verstellen (Bild 31).
Drehen Sie das Handrad, um den Winkel der Armlehne einzustellen (Bild 31).
Stellen Sie die Neigung der Rückenlehne mit dem Hebel ein (Bild 31).
Die Gewichtsanzeige gibt an, wenn der Sitz auf das Gewicht des Bedieners eingestellt ist (Bild 31). Für die Höheneinstellung stellen Sie die Federung in den grünen Bereich.
Passen Sie die Einstellung auf das Bedienergewicht an (Bild 31). Ziehen Sie am Hebel, um den Luftdruck zu erhöhen und drücken Sie ihn runter, um den Luftdruck zu verringern. Die Einstellung ist richtig, wenn die Gewichtsanzeige im grünen Bereich ist.
Auf dem LCD-Display im InfoCenter werden Maschinenangaben angezeigt, u. a. Betriebszustand, verschiedene Diagnostik und andere Informationen zur Maschine (Bild 32). Das InfoCenter hat einen Begrüßungsbildschirm und einen Bildschirm mit den Hauptinformationen. Sie können jederzeit zwischen dem Willkommensbildschirm und dem Hauptinformationsbildschirm wechseln, wenn Sie eine InfoCenter-Taste drücken und den entsprechenden Richtungspfeil auswählen.

Linke Taste, Menüzugriff, Zurück-Taste: Drücken Sie diese Taste, um auf die InfoCenter-Menüs zuzugreifen. Mit dieser Taste verlassen Sie auch das aktuell verwendete Menü.
Mittlere Taste: Mit dieser Taste durchlaufen Sie die Menüs.
Rechte Taste: Mit dieser Taste öffnen Sie ein Menü, wenn ein Pfeil nach rechts weitere Inhalte angibt.
Manuelle Lüfterumkehrung: Wird durch gleichzeitiges Drücken der linken und rechten Taste aktiviert.
Pieper: Wird beim Absenken der Mähwerke oder bei Hinweisen und Fehlern aktiviert.
Note: Der Zweck jeder Taste kann sich ändern, abhängig von der erforderlichen Aktion. Jede Taste ist mit einem Symbol beschriftet, das die aktuelle Funktion anzeigt.
| SERVICE DUE | Gibt an, dass geplante Wartungsarbeiten fällig sind. |
![]() | Info-Symbol |
![]() | Betriebsstundenzähler |
![]() | Schnell |
![]() | Langsam |
![]() | Umkehren des Ventilators: Gibt an, dass die Ventilatorrichtung umgekehrt ist |
![]() | Lufteinlassheizung ist aktiviert |
![]() | Mähwerke anheben |
![]() | Mähwerke absenken |
![]() | Bediener muss auf dem Sitz sitzen |
![]() | Anzeige für Feststellbremse: Leuchtet auf, wenn die Feststellbremse aktiviert ist |
![]() | Gibt den Bereich als Hoch“ an |
![]() | Leerlauf |
![]() | Gibt den Bereich als Niedrig“ an |
![]() | Kühlmitteltemperatur: Gibt die Temperatur des Motorkühlmittels in °C oder °F an |
![]() | Temperatur (heiß) |
![]() | Verweigert oder nicht zugelassen |
![]() | Zapfwelle ist eingekuppelt |
![]() | Motorstart |
![]() | Stopp oder Abstellen |
![]() | Motor |
![]() | Zündschloss |
![]() | Leuchtet auf, wenn die Mähwerke abgesenkt werden |
![]() | Leuchtet auf, wenn die Mähwerke angehoben werden |
![]() | PIN-Passcode |
![]() | Hydrauliköltemperatur: Gibt die Temperatur des Hydrauliköls an |
![]() | CAN-Bus |
![]() | InfoCenter |
![]() | Defekt oder fehlgeschlagen |
![]() | Birne |
![]() | Ausgabe von TEC-Steuergerät oder Steuerkabel in Kabelbaum |
![]() | Hoch: Über zulässigem Bereich |
![]() | Niedrig: Unter zulässigem Bereich |
/![]() | Nicht im Bereich |
![]() | Schalter |
![]() | Bediener muss Schalter lösen |
![]() | Bediener sollte ändern, um Zustand anzugeben |
| Symbole werden oft für das Zusammenstellen von Sätzen kombiniert. Sie finden einige Beispiele unten. | |
![]() | Bediener sollte Leerlauf einlegen |
![]() | Motorstart verweigert |
![]() | Motor wird abgestellt |
![]() | Motorkühlmittel ist zu heiß |
![]() | Hydrauliköl ist zu heiß |
![]() | Hinsetzen oder Feststellbremse aktivieren |
Drücken Sie auf dem Hauptbildschirm die Taste für den Menüzugriff, um das InfoCenter-Menüsystem zu öffnen. Das Hauptmenü wird angezeigt. In den folgenden Tabellen finden Sie eine Zusammenfassung der Optionen, die in den Menüs verfügbar sind:
| Hauptmenü | |
| Menüelement | Beschreibung |
| Fehler | Das Faults-Menü enthält eine Liste der letzten Maschinendefekte. Weitere Informationen zum Fehler-Menü und den im Menü enthaltenen Angaben finden Sie in der Wartungsbedienungsanleitung oder wenden Sie sich an den offiziellen Toro Vertragshändlers. |
| Wartung | Das Wartung-Menü enthält Informationen zur Maschine, u. a. Betriebsstundenzähler und ähnliche Angaben. |
| Diagnostik | Im Diagnostik-Menü wird der Zustand der Maschinenschalter, Sensoren sowie der Steuerausgabe angezeigt. Diese Angaben sind bei der Problembehebung nützlich, da Sie sofort sehen, welche Bedienelemente der Maschine ein- oder ausgeschaltet sind. |
| Einstellungen | Im Einstellungen-Menü können Sie Konfigurationsvariablen auf dem InfoCenter-Display anpassen und ändern. |
| Info | Im Info-Menü wird die Modellnummer, Seriennummer und Softwareversion der Maschine aufgelistet. |
| Wartung | |
| Menüelement | Beschreibung |
| Hours | Listet die Gesamtbetriebsstunden der Maschine, des Motors und der Zapfwelle auf, sowie die Transportstunden der Maschine und fälligen Kundendienst. |
| Counts | Listet zahlreiche Ereignisse für die Maschine auf. |
| Diagnostik | |
| Menüelement | Beschreibung |
| Cutting Units | Gibt die Eingaben, Qualifizierer und Ausgaben für das Anheben und Absenken der Mähwerke an. |
| Hi/Low Range | Gibt die Eingaben, Qualifizierer und Ausgaben für das Fahren im Transportmodus an. |
| PTO | Gibt die Eingaben, Qualifizierer und Ausgaben für das Aktivieren der Zapfwelle an. |
| Engine Run | Gibt die Eingaben, Qualifizierer und Ausgaben für das Anlassen des Motors an. |
| Backlap | Gibt die Eingaben, Qualifizierer und Ausgaben für das Läppen an. |
| Einstellungen | |
| Menüelement | Beschreibung |
| Maßeinheiten | Steuert die auf dem InfoCenter verwendeten Maßeinheiten. Die Menüauswahlen sind englische Maße oder metrisch |
| Sprache | Steuert die für das InfoCenter verwendete Sprache*. |
| LCD-Beleuchtung | Steuert die Helligkeit des LCD-Displays. |
| LCD-Kontrast | Steuert den Kontrast des LCD-Displays. |
| Vordere Spindelgeschwindigkeit (Läppen) | Steuert die Geschwindigkeit der vorderen Spindeln im Läppen-Modus. |
| Hintere Spindelgeschwindigkeit (Läppen) | Steuert die Geschwindigkeit der hinteren Spindeln im Läppen-Modus. |
| Geschützte Menüs | Der Vorarbeiter bzw. Mechaniker kann einen Passcode eingeben und erhält Zugriff auf geschützte Menüs. |
| Autom. Leerlauf | Steuert die zulässige Dauer, bevor der Motor bei stationärer Maschine in den niedrigen Leerlauf wechselt. |
| Messeranzahl | Steuert die Anzahl der Messer an der Spindel für die Spindeldrehzahl. |
| Mähgeschwindigkeit | Steuert die Fahrgeschwindigkeit zum Ermitteln der Spindeldrehzahl. |
| Schnitthöhe | Steuert die Schnitthöhe zum Ermitteln der Spindeldrehzahl. |
| U/min vordere Spindel | Zeigt die berechnete Spindeldrehzahl für die vorderen Spindeln an. Die Spindeln können auch manuell eingestellt werden. |
| U/min hintere Spindel | Zeigt die berechnete Spindeldrehzahl für die hinteren Spindeln an. Die Spindeln können auch manuell eingestellt werden. |
* Nur Text, den der Bediener sieht, ist übersetzt. Bildschirme für Fehler, Wartung und Diagnostics gehören nicht dazu. Die Titel werden in der ausgewählten Sprache angezeigt; Menüelemente sind jedoch in Englisch.
| Info | |
| Menüelement | Beschreibung |
| Modell | Listet die Modellnummer der Maschine auf. |
| Seriennummer | Listet die Seriennummer der Maschine auf. |
| Machinensteuergerät Revision | Listet die Softwarerevision des Hauptsteuergeräts auf. |
| InfoCenter Revision | Listet die Softwarerevision des InfoCenter auf. |
| CAN-Bus | Listet den Status des Maschinenkommunikationsbusses auf. |
Das Menü Einstellungen“ im InfoCenter hat fünf anpassbare Einstellungen für die Betriebskonfiguration: Messeranzahl, Mähgeschwindigkeit, Schnitthöhe, U/min vordere Spindel und U/min hintere Spindel. Diese Einstellungen können mit dem Geschützten Menü gesperrt werden.
Note: Bei der Auslieferung programmiert der Händler den anfänglichen Passcode.
Gehen Sie vom Hauptmenü auf das Menü Einstellungen“ und drücken Sie die rechte Taste.
Gehen Sie im Menü Einstellungen“ auf Geschütztes Menü“ und drücken Sie die rechte Taste.
Geben Sie mit der mittleren Taste die erste Ziffer des Passcodes ein; drücken Sie dann die rechte Taste, um auf die nächste Ziffer zu gehen.
Stellen Sie die zweite Ziffer mit der mittleren Taste ein; drücken Sie dann die rechte Taste, um auf die nächste Ziffer zu gehen.
Stellen Sie die dritte Ziffer mit der mittleren Taste ein; drücken Sie dann die rechte Taste, um auf die nächste Ziffer zu gehen.
Stellen Sie die vierte Ziffer mit der mittleren Taste ein; drücken Sie dann die rechte Taste.
Drücken Sie die mittlere Taste, um den Code einzugeben.
Wenn der Code akzeptiert wird und das Geschützte Menü entsperrt ist, wird oben rechts auf dem Anzeigebildschirm PIN“ angezeigt.
Das mögliche Anzeigen und Ändern der Einstellungen im Geschützten Menü“ kann geändert werden. Öffnen Sie das Geschützte Menü“ und gehen Sie auf Einstellungen schützen“. Wenn Sie die Einstellung Einstellungen schützen“ mit der rechten Taste zu Aus“ ändern, können Sie die Einstellungen im Geschützten Menü“ ohne Eingabe des Passcodes anzeigen und ändern. Wenn Sie die Einstellung Einstellungen schützen“ zu Ein“ ändern, werden die geschützten Optionen ausgeblendet und Sie müssen zum Ändern der Einstellungen im Geschützten Menü“ einen Passcode eingeben. Nach dem Einstellen des Passcodes muss die Zündung aus- und erneut eingeschaltet werden, um diese Funktion zu aktivieren und zu speichern.
Note: Wenden Sie sich an den Vertragshändler, wenn Sie den Passcode vergessen haben.
Gehen Sie im Menü Einstellungen“ auf Autom. Leerlauf“.
Drücken Sie die rechte Taste, um die automatische Leerlaufzeit auf Aus, 8S, 10S, 15S, 20S und 30S einzustellen.
Gehen Sie im Menü Einstellungen“ auf Messeranzahl“.
Drücken Sie die rechte Taste, um die Messeranzahl auf 5, 8 oder 11 Messerspindeln einzustellen.
Gehen Sie im Menü Einstellungen“ auf Mähgeschwindigkeit“.
Drücken Sie die rechte Taste, um die Mähgeschwindigkeit auszuwählen.
Wählen Sie mit der mittleren und rechten Taste die entsprechende Mähgeschwindigkeit aus, die am mechanischen Mähgeschwindigkeitsbegrenzer am Fahrpedal eingestellt ist.
Drücken Sie die linke Taste, um die Mähgeschwindigkeit zu verlassen und die Einstellung zu speichern.
Gehen Sie im Menü Einstellungen“ auf Schnitthöhe“.
Drücken Sie die rechte Taste, um die Schnitthöhe auszuwählen.
Wählen Sie mit der mittleren und rechten Taste die entsprechende Schnitthöheneinstellung aus.
Note: (Wenn die genaue Einstellung nicht angezeigt wird, wählen Sie die nächste Schnitthöheneinstellung aus der angezeigten Liste aus.)
Drücken Sie die linke Taste, um die Schnitthöhe zu verlassen und die Einstellung zu speichern.
Obwohl die Drehzahl der vorderen und hinteren Spindeln durch Eingabe der Messeranzahl, Mähgeschwindigkeit und der Schnitthöhe im InfoCenter berechnet wird, können Sie die Einstellung manuell ändern, um sie unterschiedlichen Mähbedingungen anzupassen.
Navigieren Sie auf U/Min vordere Spindel, U/Min hintere Spindel oder beide.
Drücken Sie die rechte Taste, um die Spindeldrehzahl zu ändern. Wenn die Geschwindigkeitseinstellung geändert wird, zeigt das Display weiterhin die berechnete Spindeldrehzahl auf der Basis der vorher eingegebenen Messeranzahl, Mähgeschwindigkeit und Schnitthöhe an. Der neue Wert wird auch angezeigt.
Note: Technische und konstruktive Änderungen vorbehalten.
| Schnittbreite, 69 cm-Mähwerke | 307 cm |
| Schnittbreite, 81 cm-Mähwerke | 320 cm |
| Gesamtbreite, 69 cm-Mähwerke, abgesenkt | 345 cm |
| Gesamtbreite, 81 cm-Mähwerke, abgesenkt | 358 cm |
| Gesamtbreite, angehobene Mähwerke (Transportstellung) | 239 cm |
| Gesamtlänge | 370 cm |
| Höhe inkl. Überrollschutz | 220 cm |
| Spurbreite vorne | 229 cm |
| Spurbreite hinten | 141 cm |
| Radstand | 171 cm |
| Nettogewicht (ohne Schneideinheiten und ohne Öle) | 1,574 kg |
Ein Sortiment an Originalanbaugeräten und -zubehör von Toro wird für diese Maschine angeboten, um den Funktionsumfang des Geräts zu erhöhen und zu erweitern. Wenden Sie sich an offiziellen Servicehändler oder Vertragshändler.
Verlassen Sie sich auf Originalersatzteile von Toro, um Ihre Investition am besten zu schützen und die optimale Leistung Ihres Toro-Gerätes nicht zu beeinträchtigen. In puncto Zuverlässigkeit liefert Toro Ersatzteile, die genau gemäß den technischen Daten unserer Geräte entwickelt werden. Bestehen Sie für sorglosen Einsatz auf Originalersatzteile von Toro.
Note: Bestimmen Sie die linke und rechte Seite der Maschine anhand der üblichen Einsatzposition.
Wenn Sie den Zündschlüssel im Zündschloss lassen, könnte eine andere Person den Motor versehentlich anlassen und Sie und Unbeteiligte schwer verletzen.
Ziehen Sie vor irgendwelchen Wartungsarbeiten den Zündschlüssel ab.
Lesen Sie alle Sicherheitsanweisungen und Symbolerklärungen im Sicherheitsabschnitt gründlich durch. Kenntnis dieser Angaben kann Ihnen und Unbeteiligten dabei helfen, Verletzungen zu vermeiden.
Ein Einsatz auf nassem Gras oder auf steilen Hängen kann zu einem Rutschen und zu einem Verlust der Fahrzeugkontrolle führen.
Räder, die über Kanten abrutschen, können zum Überschlagen des Fahrzeugs und zu schweren oder tödlichen Verletzungen oder Ertrinken führen.
Lesen Sie die Sicherheitsanweisungen und -warnungen zum Überschlagen und halten Sie diese ein.
So vermeiden Sie einen Verlust der Fahrzeugkontrolle und ein mögliches Überschlagen:
Mähen Sie nicht in der Nähe von Abhängen oder Gewässern.
Arbeiten Sie nicht auf Hanglagen, die steiler sind, als für Ihr Maschinenmodell empfohlen.
Verringern Sie an Hanglagen die Geschwindigkeit und passen Sie besonders auf.
Vermeiden Sie abruptes Wenden oder ein schnelles Ändern der Geschwindigkeit.
Der Geräuschpegel dieser Maschine kann bei einem längeren Einsatz Gehörschäden verursachen.
Tragen Sie während des Arbeitseinsatzes der Maschine einen Gehörschutz.

| Wartungsintervall | Wartungsmaßnahmen |
|---|---|
| Bei jeder Verwendung oder täglich |
|
Der Motor wird vom Werk aus mit Öl befüllt. Prüfen Sie jedoch den Ölstand, bevor und nachdem Sie den Motor das erste Mal verwenden.
Das Kurbelgehäuse fasst ungefähr 9,5 l mit Filter.
Verwenden Sie qualitativ hochwertiges Öl, dass die folgenden Spezifikationen erfüllt:
Erforderliche API-Klassifizierung: CH-4, CI-4 oder höher
Bevorzugte Ölsorte: SAE 15W-40; über 18 °C
Ersatzöl: SAE 10W-30 oder 5W-30 (alle Temperaturen)
Note: Toro Premium Motoröl ist vom Vertragshändler mit einer Viskosität von 15W-40 oder 10W-30 erhältlich. Die Bestellnummern finden Sie im Ersatzteilkatalog.
Note: Der Stand des Motoröls sollte am besten bei kaltem Motor vor dem täglichen Anlassen geprüft werden. Wenn der Motor gelaufen ist, lassen Sie das Öl für 10 Minuten in die Wanne zurücklaufen, bevor Sie den Ölstand prüfen. Wenn der Ölstand an oder unter der Nachfüllen-Markierung am Peilstab liegt, gießen Sie Öl nach, bis der Ölstand die VOLL-Markierung erreicht. Überfüllen Sie den Motor nicht. Wenn der Ölstand zwischen der Voll- und der Nachfüll-Markierung liegt, muss kein Öl nachgefüllt werden.
Stellen Sie die Maschine auf eine ebene Fläche.
Lösen Sie die Motorhaubenriegel und öffnen Sie die Motorhaube (Bild 34).

Entfernen Sie den Peilstab, wischen ihn ab und führen ihn wieder in das Rohr ein; ziehen Sie ihn dann wieder heraus.
Der Ölstand sollte im sicheren Bereich liegen (Bild 35).

Wenn der Ölstand unter dem sicheren Bereich liegt, nehmen Sie den Fülldeckel ab (Bild 36) und gießen Sie genug Öl ein, um den Ölstand bis zur VOLL-Markierung anzuheben.
Important: Überfüllen Sie den Motor nicht.

Note: Lassen Sie, wenn Sie die Ölsorte wechseln möchten, das Altöl vollständig aus dem Kurbelgehäuse ablaufen, bevor Sie das neue einfüllen.
Führen Sie den Peilstab ein und schrauben den Deckel auf.
Schließen Sie die Motorhaube und befestigen Sie sie mit den Riegeln.
| Wartungsintervall | Wartungsmaßnahmen |
|---|---|
| Bei jeder Verwendung oder täglich |
|
Prüfen Sie den Kühlmittelstand täglich vor Arbeitsbeginn. Die Kühlanlage fasst 12,3 l.
Nehmen Sie den Kühlerdeckel ab.
Wenn der Motor gelaufen ist, ist das Kühlmittel heiß und steht unter Druck, d. h. es kann ausströmen und Verbrühungen verursachen.
Entfernen Sie niemals den Kühlerdeckel, wenn der Motor noch läuft.
Verwenden Sie beim Öffnen des Kühlerdeckels einen Lappen und öffnen den Kühler langsam, damit Dampf ohne Gefährdung austreten kann.

Prüfen Sie den Kühlmittelstand im Kühler.
Note: Der Kühler sollte bis zur Oberseite des Einfüllstutzens und das Ausdehnungsgefäß bis zur Voll-Markierung gefüllt sein (Bild 37).
Füllen Sie bei niedrigem Kühlmittelstand eine 50:50-Mischung aus Wasser und Ethylenglykol-Frostschutzmittel nach.
Note: Verwenden Sie niemals pures Wasser oder Kühlmittel auf Alkohol-/Methanolbasis.
Setzen Sie den Kühlerdeckel und den Deckel des Ausdehnungsgefäßes wieder auf.
Fassungsvermögen des Kraftstofftanks: 83 l.
Verwenden Sie nur sauberen, frischen Dieselkraftstoff oder Biodiesel mit einem extrem niedrigen (<15 ppm) Schwefelgehalt, der ASTM D975 oder EN590 entspricht. Der Cetanwert sollte mindestens 40 sein. Besorgen Sie, um immer frischen Kraftstoff sicherzustellen, nur so viel Kraftstoff, wie sie innerhalb von 180 Tagen verbrauchen können.
Important: Wenn Sie keinen Kraftstoff mit extrem niedrigen Schwefelgehalt verwenden, wird die Abgasanlage des Motors beschädigt.
Verwenden Sie bei Temperaturen über -7 °C Sommerdiesel (Nr. 2-D) und bei niedrigeren Temperaturen Winterdiesel (Nr. 1-D oder Nr. 1-D/2-D-Mischung). Bei Verwendung von Winterdiesel bei niedrigeren Temperaturen besteht ein niedrigerer Flammpunkt und Kaltflussmerkmale, die das Anlassen vereinfachen und ein Verstopfen des Kraftstofffilters vermeiden.
Die Verwendung von Sommerdiesel über -7 °C erhöht die Lebensdauer der Pumpe und steigert im Vergleich zu Winterdiesel die Kraft.
Important: Verwenden Sie nie Kerosin oder Benzin anstelle von Dieselkraftstoff. Das Nichtbefolgen dieser Vorschrift führt zu Motorschäden.
Diese Maschine kann auch mit einem Kraftstoff eingesetzt werden, der bis zu B20 mit Biodiesel vermischt ist (20 % Biodiesel, 80 % Benzindiesel). Der Benzindieselkraftstoff sollte einen niedrigen oder extrem niedrigen Schwefelgehalt aufweisen. Befolgen Sie die nachstehenden Sicherheitsvorkehrungen:
Der Biodieselanteil des Kraftstoffs muss die Spezifikationen ASTM D6751 oder EN 14214 erfüllen.
Die Zusammensetzung des gemischten Kraftstoffes sollte ASTM D975 oder EN 590 erfüllen.
Biodieselmischungen können lackierte Oberflächen beschädigen.
Verwenden Sie B5 (Biodieselgehalt von 5 %) oder geringere Mischungen in kaltem Wetter.
Prüfen Sie Dichtungen und Schläuche, die mit Kraftstoff in Kontakt kommen, da sie sich nach längerer Zeit abnutzen können.
Nach der Umstellung auf Biodieselmischungen ist ein Verstopfen der Kraftstofffilter für einige Zeit zu erwarten.
Der Vertragshändler gibt Ihnen gerne weitere Auskünfte zu Biodiesel.
Kraftstoff ist bei Verschlucken gesundheitsschädlich oder tödlich. Wenn eine Person langfristig Benzindünsten ausgesetzt ist, kann dies zu schweren Verletzungen und Krankheiten führen.
Vermeiden Sie das langfristige Einatmen von Benzindünsten.
Halten Sie Ihr Gesicht vom Einfüllstutzen und dem Kraftstofftank bzw. Beimischöffnungen fern.
Halten Sie Benzin von Augen und der Haut fern.
Unter bestimmten Bedingungen ist Kraftstoff extrem leicht entflammbar und hochexplosiv. Feuer und Explosionen durch Kraftstoff können Verbrennungen und Sachschäden verursachen.
Füllen Sie den Kraftstofftank im Freien auf, wenn der Motor kalt ist. Wischen Sie verschütteten Kraftstoff auf.
Füllen Sie den Kraftstofftank nie in einem geschlossenen Anhänger.
Rauchen Sie beim Umgang mit Kraftstoff unter keinen Umständen und halten Kraftstoff von offenem Licht und jeglichem Risiko von Funkenbildung fern.
Bewahren Sie Kraftstoff in vorschriftsmäßigen Kanistern für Kinder unzugänglich auf. Kaufen Sie nie einen Kraftstoffvorrat für mehr als 180 Tage.
Setzen Sie das Gerät nicht ohne vollständig montierte und betriebsbereite Auspuffanlage ein.
Unter gewissen Bedingungen kann beim Auftanken statische Elektrizität freigesetzt werden und zu einer Funkenbildung führen, welche die Kraftstoffdämpfe entzündet. Feuer und Explosionen durch Kraftstoff können Verbrennungen und Sachschäden verursachen.
Stellen Sie Benzinkanister vor dem Auffüllen immer vom Fahrzeug entfernt auf den Boden.
Füllen Sie Benzinkanister nicht in einem Fahrzeug oder auf einem Pritschenwagen oder einer Ladefläche auf, weil Teppiche im Fahrzeug und Kunststoffverkleidungen auf Ladeflächen den Kanister isolieren und den Abbau von statischen Ladungen verlangsamen können.
Nehmen Sie, soweit durchführbar, Geräte vom Pritschenwagen bzw. vom Anhänger und stellen Sie sie zum Auffüllen mit den Rädern auf den Boden.
Betanken Sie, falls dies nicht möglich ist, die betreffenden Geräte auf einem Pritschenwagen oder dem Anhänger von einem tragbaren Kanister und nicht von einer Zapfsäule aus.
Halten Sie, wenn Sie von einer Zapfsäule aus tanken müssen, den Einfüllstutzen immer in Kontakt mit dem Rand des Kraftstofftanks bzw. der Kanisteröffnung, bis der Tankvorgang abgeschlossen ist.
Stellen Sie die Maschine auf eine ebene Fläche.
Wischen Sie den Bereich um den Tankdeckel herum mit einem Lappen sauber.
Nehmen Sie den Deckel vom Kraftstofftank ab (Bild 38).

Füllen Sie den Tank mit , bis der Flüssigkeitsstand an der Unterkante des Füllstutzens liegt.
Schrauben Sie den Tankdeckel nach dem Auffüllen des Tanks sorgfältig fest.
Note: Betanken Sie die Maschine wenn möglich nach jedem Einsatz. Dadurch minimiert sich die Betauung der Innenseite des Kraftstofftanks.
| Wartungsintervall | Wartungsmaßnahmen |
|---|---|
| Bei jeder Verwendung oder täglich |
|
Der Hydraulikbehälter wird im Werk mit ca. 28,4 l Hydrauliköl guter Qualität gefüllt. Prüfen Sie den Hydraulikölstand vor dem ersten Anlassen des Motors und dann täglich.
Als Ersatzöl wird Toro Premium All Season Hydraulic Fluid (erhältlich in Eimern mit 19 l oder Fässern mit 208 l) empfohlen. Die Bestellnummer finden Sie im Ersatzteilkatalog oder erhalten Sie vom Toro Vertragshändler.
Ersatzölsorten: Wenn das Öl von Toro nicht erhältlich ist, können Sie andere konventionelle Ölsorten auf Petroleumbasis verwenden, solange die folgenden Materialeigenschaften und Industriestandards erfüllt werden. Wenden Sie sich an den Öllieferanten, um zu erfahren, ob das Öl diese technischen Daten erfüllt.
Note: Toro haftet nicht für Schäden, die aus einem unsachgemäßen Ersatz entstehen. Verwenden Sie also nur Produkte namhafter Hersteller, die für die Qualität ihrer Produkte garantieren.
| Hydrauliköl (hoher Viskositätsindex, niedriger Stockpunkt, abnutzungshemmend, ISO VG 46, mehrgradig | |||
| Materialeigenschaften: | |||
| Viskosität, ASTM D445 | cSt bei 40 °C, 44 bis 48cSt bei 100 °C, 7,9 bis 9,1 | ||
| Viskositätsindex ASTM D2270 | 140 oder höher (ein hoher Viskositätsindex gibt ein mehrgewichtiges Öl an) | ||
| Stockpunkt, ASTM D97 | -34 °C bis -45 °C | ||
| FZG, Defektphase | 11 oder höher | ||
| Wasseranteil (neue Flüssigkeit) | 500 ppm (Maximum) | ||
| Technische Daten der Branche: | |||
| Vickers I-286-S, Vickers M-2950-S, Denison HF-0, Vickers 35 VQ 25 (Eaton ATS373-C) | |||
Die richtigen Hydrauliköle müssen für Mobilgeräte (im Gegensatz zur industriellen Werksnutzung) angegeben werden, mehrgewichtiger Typ, mit abnutzungshemmenden ZnDTP- oder ZDDP-Paket (kein aschenloses Öl).
Important: Nach unseren Erfahrungen hat sich ISO VG 46-Mehrbereichsöl bei verschiedenen Temperaturbedingungen als optimal erwiesen. Bei Einsatz der Maschine in konstant warmem Klima, 18 °C bis 49 °C, kann das Hydrauliköl ISO VG 68 die Leistung verbessern.
Biologisch abbaubares Hydrauliköl Mobil EAL EnviroSyn 46H
Important: Mobil EAL EnviroSyn 46H ist das einzige biologisch abbaubare Öl, das von Toro zugelassen ist. Dieses Öl ist mit den Elastomeren kompatibel, die in den Hydraulikanlagen von Toro verwendet werden, und eignet sich für viele Klimata. Dieses Öl ist mit konventionellen Ölen kompatibel. Sie sollten die Hydraulikanlage jedoch gründlich spülen, um das konventionelle Öl zu entfernen, um die beste biologische Abbaubarkeit und Leistung zu erhalten. Das Öl ist in Behältern mit 19 Litern oder Fässern mit 208 Litern vom Mobil Händler erhältlich.
Important: Viele Hydraulikölsorten sind fast farblos, was das Ermitteln von undichten Stellen erschwert. Als Beimischmittel für das Hydrauliköl können Sie ein rotes Färbmittel in 20 ml Flaschen kaufen. Eine Flasche reicht für 15-22 l Hydrauliköl. Sie können es mit der Bestellnummer 44-2500 über den Toro Vertragshändler beziehen.
Stellen Sie die Maschine auf eine ebene Fläche, senken die Schneideinheiten ab, stellen den Motor ab und ziehen den Zündschlüssel ab.
Reinigen Sie den Bereich um den Füllstutzen und den Deckel des Hydraulikbehälters (Bild 39).

Drehen Sie den Deckel vom Einfüllstutzen ab.
Entfernen Sie den Peilstab aus dem Einfüllstutzen und wischen ihn mit einem sauberen Lappen ab.
Stecken Sie den Peilstab in den Einfüllstutzen und ziehen ihn dann heraus, um den Ölstand zu prüfen.
Note: Der Ölstand sollte sich zwischen den beiden Markierungen am Peilstab befinden.
Gießen Sie, wenn der Ölstand zu niedrig ist, Öl der korrekten Sorte in den Einfüllstutzen, bis der Ölstand die obere Markierung erreicht.
Führen Sie den Peilstab in den Einfüllstutzen ein.
| Wartungsintervall | Wartungsmaßnahmen |
|---|---|
| Bei jeder Verwendung oder täglich |
|
Die Reifen werden für den Versand zu stark aufgeblasen. Lassen Sie also etwas Luft aus den Reifen ab, um den Druck zu verringern. Der richtige Reifendruck ist 0,83-1,03 bar. Prüfen Sie täglich den Reifendruck.
Important: Behalten Sie den korrekten Reifendruck bei, um eine gute Schnittqualität und optimale Maschinenleistung zu gewährleisten. Achten Sie darauf, dass der Reifendruck nicht zu niedrig ist.
Important: Entlüften Sie die Kraftstoffanlage, wenn einer der folgenden Umstände eingetreten ist:
Der Motor hat aufgrund von Kraftstoffmangel abgestellt.
Die Kraftstoffanlage wurde gewartet.
Nehmen Sie den Fuß vom Fahrpedal und stellen Sie sicher, dass es in die NEUTRALSTELLUNG geht.
Note: Stellen Sie sicher, dass die Feststellbremse aktiviert ist.
Stellen Sie den Gasbedienungshebel in die langsame Leerlauf-Stellung.
Drehen Sie den Zündschlüssel auf die LAUF-Stellung.
Note: Dann leuchtet die Glühkerzenlampe auf.
Drehen Sie, wenn das Lämpchen erlischt, den Schlüssel auf Start.
Lassen Sie den Zündschlüssel sofort los und auf Lauf“ zurückgehen, sobald der Motor anspringt.
Stellen Sie die Motorgeschwindigkeit ein.
Important: Lassen Sie den Anlasser nie länger als 15 Sekunden am Stück laufen, sonst kann dieser vorzeitig ausfallen. Stellen Sie den Zündschlüssel auf Aus“, wenn der Motor nach 15 Sekunden nicht anspringt, prüfen die Bedienelemente und -vorgänge erneut, warten weitere 15 Sekunden und wiederholen den Vorgang.
Bei Temperaturen unter -7 °C kann der Anlasser 30 Sekunden lang laufen und sich dann 60 Sekunden lang abkühlen, bevor Sie einen zweiten Startversuch unternehmen.
Der Kontakt mit beweglichen Teilen kann zu Verletzungen führen.
Stellen Sie den Motor ab und warten, bis alle beweglichen Bauteile zum Stillstand gekommen sind, bevor Sie Öllecks, lockeren Teilen oder anderen Defekten nachgehen.
Important: Lassen Sie den Motor für fünf Minuten im Leerlauf laufen, bevor Sie ihn nach einem Einsatz unter voller Last ausschalten. Der Turbocharger kann dann vor dem Abstellen des Motors abkühlen. Ansonsten können Probleme mit dem Turbolader entstehen.
Note: Senken Sie die Schneideinheiten auf den Boden ab, wenn Sie die Maschine parken. Dies nimmt die Hydrauliklast von der Anlage, verhindert eine Abnutzung der Systemteile und auch ein versehentliches Absenken der Schneideinheiten.
Stellen Sie die Motordrehzahl wieder auf den niedrigen Leerlauf.
Stellen Sie den Zapfwellenschalter in die AUS-Stellung.
Aktivieren Sie die Feststellbremse.
Drehen Sie den Zündschlüssel auf AUS.
Ziehen Sie den Zündschlüssel ab, um einem versehentlichen Anlassen vorzubeugen.
| Wartungsintervall | Wartungsmaßnahmen |
|---|---|
| Bei jeder Verwendung oder täglich |
|
Wenn die Sicherheitsschalter abgeklemmt oder beschädigt werden, setzt sich die Maschine möglicherweise von alleine in Bewegung, was Verletzungen verursachen kann.
An den Sicherheitsschaltern dürfen keine Veränderungen vorgenommen werden.
Prüfen Sie die Funktion der Sicherheitsschalter täglich und tauschen alle defekten Schalter vor dem Einsatz der Maschine aus.
Im elektrischen System der Maschine befinden sich Sicherheitsschalter. Diese Sicherheitsschalter sind so ausgelegt, dass sie den Motor abstellen, wenn der Fahrer den Sitz verlässt und das Fahrpedal gedrückt ist. Der Bediener kann dagegen den Sitz bei laufendem Motor verlassen, solange das Fahrpedal auf Neutral steht. Obwohl der Motor weiter läuft, wenn der ZWA-Schalter ausgekuppelt und das Fahrpedal gelöst ist, empfehlen wir Ihnen nachdrücklich, dass Sie den Motor abstellen, bevor Sie den Sitz verlassen.
Führen Sie die folgenden Maßnahmen durch, um die Funktion der Sicherheitsschalter zu prüfen:
Fahren Sie die Maschine langsam auf eine größere, verhältnismäßig offene Fläche.
Senken Sie die Schneideinheit ab, stellen den Motor ab und aktivieren die Feststellbremse.
Nehmen Sie auf dem Sitz Platz und treten auf das Fahrpedal.
Versuchen Sie anschließend, den Motor zu starten.
Note: Der Motor sollte nicht anspringen. Wenn sich der Motor doch drehen lässt, hat die Verriegelungsanlage einen Defekt, den Sie vor Arbeitsbeginn beheben müssen.
Setzen Sie sich auf den Sitz und lassen Sie den Motor an.
Verlassen Sie den Sitz und stellen den Zapfwellenschalter in die EIN-Stellung.
Note: Die Zapfwelle darf jetzt nicht eingekuppelt werden. Wenn die Zapfwelle einkuppelt, haben die Sicherheitsschalter einen Defekt, den Sie vor dem Einsatz beheben müssen.
Nehmen Sie auf dem Sitz Platz, aktivieren Sie die Feststellbremse und lassen den Motor an.
Bewegen Sie das Fahrpedal aus der NEUTRAL-Stellung.
Note: Der Motor muss dann abstellen. Wenn der Motor nicht abstellt, sind die Sicherheitsschalter defekt und müssen vor Arbeitsbeginn repariert werden.
Sie können das Gegengewicht an den Hubarmen der Heckschneideinheit einstellen, um unterschiedliche Rasenbedingungen auszugleichen und um in unebenem Gelände oder Bereichen mit Ablagerungen von abgestorbenem Gras eine einheitliche Schnitthöhe zu erhalten.
Sie können jede Gegengewichtfeder auf eine von vier Einstellungen einstellen. Jede Stufe erhöht oder verringert das Gegengewicht an der Schneideinheit um 2,3 kg. Die Federn können hinten am Federaktuator positioniert werden, um das ganze Gegengewicht zu entfernen (4. Stellung).
Stellen Sie die Maschine auf eine ebene Fläche, senken die Schneideinheiten ab, stellen den Motor ab, aktivieren die Feststellbremse und ziehen den Zündschlüssel ab.
Führen Sie ein Rohr oder ein ähnliches Objekt in die lange Feder ein, um die Federspannung während der Einstellung aufzuheben (Bild 40).
Die Federn stehen unter Spannung und können sie verletzen.
Gehen Sie beim Einstellen der Federn vorsichtig vor.
Wenn Sie die Federspannung aufgehoben haben, nehmen Sie die Schraube und Sicherungsmutter ab, mit denen der Federaktuator an der Halterung befestigt ist (Bild 40).

Verschieben Sie den Federaktuator in die gewünschte Lochposition und befestigen Sie ihn mit einer Sicherungsmutter.
Wiederholen Sie die Schritte an der restlichen Feder.
Stellen Sie die Maschine auf eine ebene Fläche, senken die Schneideinheiten ab, stellen den Motor ab, aktivieren die Feststellbremse und ziehen den Zündschlüssel ab.
Der Hubarmschalter befindet sich hinter dem rechten vorderen Hubarm (Bild 41).

Lösen Sie die Befestigungsschrauben des Schalters (Bild 41) und schieben den Schalter nach oben, um die Wendehöhe des Hubarms zu erhöhen, oder schieben Sie den Schalter nach unten, um die Wendehöhe des Hubarms zu verringern.
Ziehen Sie die Befestigungsschrauben fest.
Im Notfall können Sie die Maschine durch Aktivieren des Sicherheitsventils an der stufenlosen Hydraulikpumpe und durch Umgehen des Sperrventils im Hydraulikschlauch und anschließendes Schieben oder Schleppen, bewegen.
Important: Schieben oder schleppen Sie die Maschine höchstens mit 3 km bis 4,8 km/h über eine maximale Strecke von 400 m, sonst kann das interne Getriebe beschädigt werden. Öffnen Sie das Sicherheitsventil, wenn die Maschine geschoben oder geschleppt wird. Außerdem müssen Sie, wenn Sie die Maschine rückwärts schieben oder abschleppen, einen Hydraulikschlauch einbauen, um das Sicherheitsventil zu umgehen.
Wenn Sie die Maschine schieben oder abschleppen müssen, werden Sie diese vorwärts und rückwärts bewegen müssen. Bereiten Sie deshalb die Maschine für beide Bewegungsrichtungen vor, damit das Antriebssystem beim Schieben oder Abschleppen keinen Schaden nimmt.
Important: Wenn Sie die Maschine rückwärts schieben oder schleppen müssen, sollten Sie zuerst das Sicherheitsventil im Allradantriebssteuerblock umgehen.
Für das Umgehen des Sicherheitsventils sind folgende Teile von Toro erforderlich:
59-7410, Diagnose-Anschlussstück
354-79, Deckel Diagnose-Anschlussstück
95-8843, Hydraulikschlauch
95-0985, Kupplungsstück (2)
340-77, Hydraulikanschlussstück (2)
Installieren Sie das Diagnose-Anschlussstück in dem unmarkierten Port zwischen den Ports M8 und P2 auf der Rückseite des Rückfahrsteuerblocks (Bild 42).

Schließen Sie einen Hydraulikschlauch zwischen dem eingebauten Diagnose-Anschlussstück im Heckantriebverteiler und dem Testanschluss für den Rückwärtsantriebsdruck (Bild 43) an.
Note: Verwenden Sie zum Anschluss des Hydraulikschlauchs die Hydraulikanschlussstücke und Kupplungsanschlussstücke.

Drehen Sie das Sicherheitsventil um eine Vierteldrehung nach rechts oder links, um es zu öffnen und das Öl intern umzuleiten (Bild 44).
Note: Da das Öl um das Getriebe umgeleitet wird, kann die Zugmaschine ohne Schäden am Getriebe langsam bewegt werden.Merken Sie sich die Ventilstellung beim Öffnen oder Schließen.

Nehmen Sie den eingebauten Hydraulikschlauch nach Abschluss des Schiebe- oder Abschleppvorgangs der Maschine wieder ab.
Bringen Sie den Deckel der Rückwärtsfahrt-Druckteststelle wieder an.
Bringen Sie den Deckel des Diagnose-Anschlussstücks auf das am Steuerblock installierte Anschlussstück an.
Drehen Sie das Sicherheitsventil um 90 Grad (eine Viertelumdrehung) zurück, bevor Sie den Motor anlassen.
Note: Schließen Sie das Ventil, jedoch nicht auf mehr als 7-11 N·m.
Wenn Sie die Maschine nur vorwärts schieben oder abschleppen müssen, brauchen Sie nur das Sicherheitsventil drehen.
Important: Wenn Sie die Maschine rückwärts schieben oder abschleppen müssen, siehe Vorbereiten der Maschine für das Rückwärtsschieben bzw. -abschleppen.
Öffnen Sie die Haube und entfernen Sie die mittlere Abdeckung.
Drehen Sie das Sicherheitsventil um eine Vierteldrehung nach rechts oder links, um es zu öffnen und das Öl intern umzuleiten (Bild 44).
Note: Da das Öl um das Getriebe umgeleitet wird, kann die Zugmaschine ohne Beschädigen des Getriebes langsam vorwärts bewegt werden.Merken Sie sich die Ventilstellung beim Öffnen oder Schließen.
Drehen Sie das Sicherheitsventil um 90 Grad (eine Viertelumdrehung) zurück, bevor Sie den Motor anlassen.
Note: Schließen Sie das Ventil, jedoch nicht auf mehr als 7-11 N·m.
Gehen Sie beim Ver- und Abladen der Maschine auf bzw. von einem Anhänger oder Pritschenwagen vorsichtig vor.
Verwenden Sie zum Ver- und Abladen der Maschine auf bzw. von einem Anhänger oder Pritschenwagen eine Rampe über die ganze Breite.
Befestigen Sie die Maschine sicher mit Gurten, Ketten, Kabeln oder Seilen. Sowohl die vorderen als auch die hinteren Gurte sollten von der Maschine nach außen und unten verlegt werden.
Die Hebestellen befinden sich in den folgenden Positionen:
Vorne am Maschinenchassis an der Innenseite jedes Antriebsreifens
In der Mitte der Achse hinten an der Maschine
Die Vergurtungsstellen befinden sich in den folgenden Positionen:
An jeder Seite des Rahmens unter den vorderen Stufen.
Hintere Stoßstange
Üben Sie das Fahren mit der Maschine, da sie ein hydrostatisches Getriebe hat, dessen Fahrverhalten sich von vielen anderen Rasenpflegemaschinen unterscheidet. Einige Punkte, die Sie beim Einsatz der Zugmaschine und der Schneideinheiten sollten, sind das Getriebe, die Motordrehzahl, die Last auf den Schnittmessern und die Bedeutung der Bremsen.
Stellen Sie das Fahrpedal so ein, dass die Motordrehzahl hoch und in etwa gleich bleibt, um im Einsatz eine ausreichende Leistung für die Maschine verfügbar zu haben. Als Faustregel gilt: Reduzieren Sie bei zunehmender Belastung der Schneideinheiten die Fahrgeschwindigkeit und erhöhen Sie diese, wenn sich die Last reduziert.
Lassen Sie deshalb das Fahrpedal bei abnehmender Motordrehzahl zurückgehen und drücken Sie es wieder herunter, wenn sich die Drehzahl erhöht. Wenn Sie jedoch ohne Belastung und mit angehobenen Mähwerk von einem Arbeitsbereich zum anderen fahren, stellen Sie die Gasbedienung in die Schnell-Stellung und treten das Fahrpedal langsam ganz durch, um die höchste Fahrgeschwindigkeit zu erzielen.
Sie können auch die Pedale, die mit den Bremsen in Verbindung stehen, in Betracht ziehen. Sie können zum Wenden der Maschine zusätzlich die Bremsen verwenden. Verwenden Sie sie jedoch vorsichtig, insbesondere auf weichem und nassen Gras, sonst können Sie versehentlich die Grünfläche beschädigen. Ein weiterer Vorteil der Bremsen liegt im Beibehalten der Bodenhaftung. An manchen Hängen rutscht das hangaufwärts liegende Rad durch und verliert die Bodenhaftung. Drücken Sie in solchen Fällen das hangaufwärts liegende Pedal langsam ab und zu durch, bis das hangaufwärts liegende Rad nicht mehr rutscht, wodurch sich die Bodenhaftung des hangabwärts liegenden Rades verbessert.
Gehen Sie beim Einsatz der Maschine an Hängen besonders vorsichtig vor. Stellen Sie sicher, dass der Sitzriegel einwandfrei eingerastet und der Sicherheitsgurt eingeklickt ist. Um einen Überschlag zu vermeiden, sollten Sie an Hängen langsam fahren und scharfe Kurven vermeiden. Zur besseren Lenkkontrolle sollten Sie die Mähwerke beim Hangabwärtsfahren absenken.
Important: Lassen Sie den Motor für 5 Minuten im Leerlauf laufen, bevor Sie ihn nach einem Einsatz unter voller Last ausschalten. Der Turbocharger kann dann vor dem Abstellen des Motors abkühlen. Ansonsten können Probleme mit dem Turboauflader entstehen.
Kuppeln Sie vor dem Abstellen des Motors alle Bedienelemente aus und stellen Sie den Gasbedienungshebel auf LANGSAM. Wenn der Gasbedienungshebel auf LANGSAM gestellt wird, sinkt die Motordrehzahl, die Geräuschentwicklung und die Vibration. Drehen Sie den Zündschlüssel auf AUS, um den Motor abzustellen.
Bevor Sie mit dem Mähen von Rasenflächen beginnen, sollten Sie mit der Maschine in einem offenen Bereich üben. Lassen Sie den Motor an und stellen Sie ihn ab. Fahren Sie vorwärts und rückwärts. Senken Sie die Mähwerke ab und heben Sie diese an, kuppeln Sie die Spindeln ein und aus. Wenn Sie sich mit der Maschine vertraut gemacht haben, üben Sie das Fahren hangauf- und hangabwärts mit verschiedenen Geschwindigkeiten.
Wenn eine Warnlampe beim Betrieb aufleuchtet, stellen Sie die Maschine sofort ab und beheben Sie den Fehler, bevor Sie weiterarbeiten. Die Maschine kann schwer beschädigt werden, wenn Sie sie mit einer Fehlfunktion einsetzen.
Lassen Sie den Motor an und stellen den Motordrehzahlschalter in die SCHNELL-Stellung. Stellen Sie den Mähgeschwindigkeitsbegrenzer auf die MäHSTELLUNG. Stellen Sie den Zapfwellenschalter auf die EIN-Stellung und steuern Sie dann die Schneideinheiten mit dem Hubschalter (die vorderen Schneideinheiten werden vor den hinteren Schneideinheiten abgesenkt). Drücken Sie das Fahrpedal nach vorne, um vorwärts zu fahren und zu mähen.
Schieben Sie den Zapfwellenschalter in die Aus-Stellung und heben Sie die Schneideinheiten in die Transportstellung an. Stellen Sie den Mähgeschwindigkeitsbegrenzer auf die Transportstellung. Fahren Sie vorsichtig zwischen Objekten durch, damit Sie weder die Maschine noch die Mähwerke beschädigen. Gehen Sie beim Einsatz der Maschine an Hängen besonders vorsichtig vor. Um einen Überschlag zu vermeiden, sollten Sie an Hängen langsam fahren und scharfe Kurven vermeiden. Senken Sie die Mähwerke ab, wenn Sie hangabwärts fahren, um eine bessere Lenkkontrolle zu haben.
Note: Bestimmen Sie die linke und rechte Seite der Maschine anhand der üblichen Einsatzposition.
| Wartungsintervall | Wartungsmaßnahmen |
|---|---|
| Nach acht Betriebsstunden |
|
| Nach 50 Betriebsstunden |
|
| Nach 200 Betriebsstunden |
|
| Bei jeder Verwendung oder täglich |
|
| Alle 50 Betriebsstunden |
|
| Alle 100 Betriebsstunden |
|
| Alle 200 Betriebsstunden |
|
| Alle 250 Betriebsstunden |
|
| Alle 400 Betriebsstunden |
|
| Alle 800 Betriebsstunden |
|
| Vor der Einlagerung |
|
Kopieren Sie diese Seite für regelmäßige Verwendung.
| Wartungsprüfpunkt | Für KW: | ||||||
|---|---|---|---|---|---|---|---|
| Mo | Di | Mi | Do | Fr | Sa | So | |
| Prüfen Sie die Funktion der Sicherheitsschalter. | |||||||
| Prüfen Sie die Funktion der Bremsen. | |||||||
| Prüfen Sie den Füllstand des Motoröls und des Kraftstoffs. | |||||||
| Prüfen Sie den Stand des Kühlmittels. | |||||||
| Entleeren Sie den Kraftstoff-/Wasserabscheider. | |||||||
| Prüfen Sie die Anzeige für den Luftfilter. | |||||||
| Prüfen Sie den Kühler, den Ölkühler und das Gitter auf Sauberkeit. | |||||||
| Achten Sie auf ungewöhnliche Motorgeräusche.1 | |||||||
| Achten Sie auf ungewöhnliche Betriebsgeräusche. | |||||||
| Prüfen Sie den Hydraulikölstand. | |||||||
| Prüfen Sie die Hydraulikschläuche auf Defekte. | |||||||
| Prüfen Sie die Dichtheit. | |||||||
| Prüfen Sie den Reifendruck. | |||||||
| Prüfen Sie die Funktion der Instrumente. | |||||||
| Prüfen Sie die Einstellung der Spindel zum Untermesser. | |||||||
| Prüfen Sie die Schnitthöheneinstellung. | |||||||
| Fetten Sie alle Schmiernippel ein.2 | |||||||
| Bessern Sie alle Lackschäden aus. | |||||||
1. Prüfen Sie bei schwerem Starten, zu starkem Qualmen oder unruhigem Lauf die Glühkerzen und Einspritzdüsen.
2. Unmittelbar nach jeder Wäsche, ungeachtet des aufgeführten Intervalls
| Inspiziert durch: | ||
| Punkt | Datum | Informationen |
| 1 | ||
| 2 | ||
| 3 | ||
| 4 | ||
| 5 | ||
| 6 | ||
| 7 | ||
| 8 | ||
Important: Weitere Wartungsarbeiten finden Sie in der Bedienungsanleitung des Motors und der Bedienungsanleitung der Schneideinheit.
Note: Ein Elektroschaltbild oder ein Hydraulikschaltbild für Ihre Maschine finden Sie unter www.Toro.com.

Wenn Sie den Zündschlüssel im Zündschloss lassen, könnte eine andere Person den Motor versehentlich anlassen und Sie und Unbeteiligte schwer verletzen.
Ziehen Sie vor irgendwelchen Wartungsarbeiten den Zündschlüssel ab.
Lösen Sie die Motorhaubenriegel (Bild 46) und öffnen die Motorhaube.

Entfernen Sie die Splints, mit denen die hinteren Haubenhalterungen an den Rahmenstiften befestigt sind, und nehmen Sie die Haube ab.
| Wartungsintervall | Wartungsmaßnahmen |
|---|---|
| Alle 50 Betriebsstunden |
|
Die Maschine hat Schmiernippel, die regelmäßig mit Nr. 2 Schmierfett auf Lithiumbasis eingefettet werden müssen. Fetten Sie alle Lager und Büchsen, wenn die Maschine unter normalen Bedingungen eingesetzt wird, alle 50 Betriebsstunden und unverzüglich nach jeder Wäsche.
Die Schmiernippel und deren Anzahl sind:
Bremsstangen-Drehlager (5) (Bild 47)

Hinterachse-Drehbüchsen (2) (Bild 48)

Lenkzylinder-Kugelgelenke (2) (Bild 49)

Spurstangen-Kugelgelenke (2) (Bild 49)
Achsschenkelbolzen (2) (Bild 49) Fetten Sie die obere Armatur am Achsschenkelbolzen nur einmal jährlich (2 Pumpen).
Hubarmbüchsen (1 pro Schneideinheit) (Bild 50)

Hubzylinderbüchsen (2 pro Schneideinheit) (Bild 50)
Hubarm-Drehbüchsen (1 pro Schneideinheit) (Bild 51)
Schneideinheit-Trägerrahmen (2 pro Schneideinheit) (Bild 51)
Mähwerk-Hubarmgelenk (1 pro Schneideinheit) (Bild 51)

| Wartungsintervall | Wartungsmaßnahmen |
|---|---|
| Alle 400 Betriebsstunden |
|
Prüfen Sie das Luftfiltergehäuse auf Beschädigungen, die eventuell zu einem Luftaustritt führen können. Ersetzen Sie ihn bei einer Beschädigung. Prüfen Sie die ganze Ansauganlage auf Lecks, Beschädigungen oder lose Schlauchklemmen.
Warten Sie den Luftfilter nur, wenn die Wartungsanzeige dies angibt (Bild 52). Das frühzeitige Auswechseln des Luftfilters erhöht nur die Gefahr, dass Schmutz in den Motor gelangt, wenn Sie den Filter entfernen.

Important: Stellen Sie sicher, dass die Abdeckung richtig angebracht und mit dem Luftfiltergehäuse abgedichtet ist.
Ziehen Sie den Riegel nach außen und drehen Sie die Luftfilterabdeckung nach links (Bild 53).

Nehmen Sie die Abdeckung vom Luftfiltergehäuse ab.
Vor dem Entfernen des Filters sollten Sie große Schmutzablagerungen zwischen der Außenseite des Hauptfilters und der Glocke mit schwacher Druckluft (2,76 bar, sauber und trocken) entfernen. Verwenden Sie keinen Hochdruckreiniger, da Schmutz durch den Filter in die Ansauganlage gedrückt werden könnte.
Diese Reinigung verhindert, dass Rückstände in den Einlass gelangen, wenn Sie den Hauptfilter entfernen.
Entfernen und wechseln Sie den Hauptfilter aus (Bild 54).
Sie sollten ein gebrauchtes Element nicht reinigen, da die Gefahr einer Beschädigung des Filtermediums besteht. Prüfen Sie den neuen Filter auf Versandschäden, prüfen Sie das Dichtungsende des Filters und des Gehäuses. Verwenden Sie nie einen beschädigten Einsatz.
Setzen Sie den neuen Filter ein. Drücken Sie auf den äußeren Rand des Einsatzes, um es im Kanister zu platzieren. Drücken Sie nie auf die flexible Mitte des Filters.

Important: Versuchen Sie nie, den Sicherheitsfilter zu reinigen (Bild 55). Tauschen Sie den Sicherheitsfilter bei jeder dritten Wartung des Hauptluftfilters aus.

Reinigen Sie den Schmutzauswurfanschluss in der abnehmbaren Abdeckung.
Nehmen Sie das Gummiablassventil von der Abdeckung ab, reinigen Sie den Hohlraum und setzen Sie das Ablassventil ein.
Setzen Sie die Abdeckung ein, richten Sie das Gummiablassventil nach unten, ungefähr zwischen 5 und 7 Uhr (vom Ende her gesehen).
Stellen Sie die Anzeige (Bild 52) zurück, wenn sie auf Rot steht.
| Wartungsintervall | Wartungsmaßnahmen |
|---|---|
| Nach 50 Betriebsstunden |
|
| Alle 250 Betriebsstunden |
|
Entfernen Sie die Ablassschraube (Bild 56) und lassen Sie das Öl in die Auffangwanne ab. Schrauben Sie die Ablassschraube wieder ein, nachdem das Öl abgelaufen ist.

Entfernen Sie den Ölfilter (Bild 57). Ölen Sie die neue Dichtung am Ölfilter leicht mit frischem Öl ein, bevor Sie den Filter eindrehen. Ziehen Sie nicht zu fest.

Füllen Sie Öl in das Kurbelgehäuse, siehe Prüfen des Stands des Motoröls.
Stellen Sie den Bowdenzug (Bild 58) so ein, dass den Drehzahlregler am Motor die Einstellschraube für die hohe Geschwindigkeit berührt, bevor den Bowdenzug die Kerbe im Steuerarm berührt.

Unter gewissen Bedingungen sind Dieselkraftstoff und -dünste äußerst brennbar und explosiv. Feuer und Explosionen durch Kraftstoff können Sie und Unbeteiligte verletzen und Sachschäden verursachen.
Betanken Sie die Maschine nur im Freien, wenn der Motor abgeschaltet und kalt ist. Wischen Sie verschütteten Kraftstoff auf.
Füllen Sie den Kraftstofftank nicht ganz auf. Tanken Sie nur bis zu einer Höhe von 25 mm unterhalb der Unterseite des Füllstutzens. Der verbleibende Raum im Tank ist für die Ausdehnung des Kraftstoffes erforderlich.
Rauchen Sie beim Umgang mit Kraftstoff unter keinen Umständen und halten Kraftstoff von offenem Licht und jeglichem Risiko von Funkenbildung fern.
Lagern Sie Kraftstoff in einem sauberen, zulässigen Kanister und halten den Deckel aufgeschraubt.
| Wartungsintervall | Wartungsmaßnahmen |
|---|---|
| Alle 800 Betriebsstunden |
|
| Vor der Einlagerung |
|
Entleeren und reinigen Sie den Tank, wenn die Kraftstoffanlage verunreinigt wird oder die Maschine längere Zeit eingelagert werden muss. Spülen Sie den Tank nur mit frischem Kraftstoff.
| Wartungsintervall | Wartungsmaßnahmen |
|---|---|
| Alle 400 Betriebsstunden |
|
Prüfen Sie die Kraftstoffleitungen auf Verschleiß, Defekte oder lockere Anschlüsse.
| Wartungsintervall | Wartungsmaßnahmen |
|---|---|
| Bei jeder Verwendung oder täglich |
|
| Alle 400 Betriebsstunden |
|
Stellen Sie einen sauberen Behälter unter den Kraftstofffilter.
Lösen Sie die Ablassschraube an der Unterseite der Filterglocke.

Reinigen Sie den Anbaubereich der Filterglocke.
Entfernen Sie die Filterglocke und reinigen die Kontaktfläche.
Ölen Sie die Dichtung der Filterglocke mit frischem Öl ein.
Drehen Sie die Filterglocke per Hand ein, bis die Dichtung die Kontaktfläche berührt; drehen Sie sie dann um eine weitere halbe Umdrehung fest.
Ziehen Sie die Ablassschraube an der Unterseite der Filterglocke.
Der Kraftstoffzulaufschlauch, der sich im Kraftstofftank befindet, hat ein Sieb, damit keine Rückstände in die Kraftstoffanlage gelangen. Entfernen Sie den Kraftstoffzulaufschlauch und reinigen das Sieb nach Bedarf.
Akkupole, Klemmen und anderes Zubehör enthalten Blei und Bleibestandteile. Dabei handelt es sich um Chemikalien, die laut der Regierung von Kalifornien krebserregend sind und zu Erbschäden führen können. Waschen Sie sich nach dem Umgang mit diesen Materialien die Hände.
Entriegeln und heben Sie die Abdeckung der Bedienerkonsole hoch (Bild 60).

Die Batterieflüssigkeit enthält Schwefelsäure, die tödlich wirken und starke chemische Verbrennungen verursachen kann.
Trinken Sie nie Batteriesäure und vermeiden Sie den Kontakt mit Haut, Augen und Kleidungsstücken. Tragen Sie eine Schutzbrille, um Ihre Augen zu schützen sowie Gummihandschuhe, um Ihre Hände zu schützen.
Füllen Sie den Akku an einem Ort, an dem immer klares Wasser zum Spülen der Haut verfügbar ist.
Schließen Sie ein Ladegerät mit drei Ampere oder vier Ampere an die Batteriepole an.
Laden Sie die Batterie mit drei bis vier Ampere für vier bis acht Stunden auf.
Ziehen Sie, wenn die Batterie ganz geladen ist, den Netzstecker des Ladegeräts und klemmen dieses von den Batteriepolen ab.
Beim Laden des Akkus werden Gase erzeugt, die explodieren können.
Rauchen Sie nie in der Nähe des Akkus und halten Sie Funken und offenes Feuer von des Akkus fern.
Klemmen Sie das Pluskabel (Rot) am Pluspol (+) der Batterie und das Minuskabel (Schwarz) am Minuspol (-) der Batterie an (Bild 61).

Befestigen Sie die Kabel mit Kopfschrauben und Muttern an den Polen.
Stellen Sie sicher, dass die Plusklemme (+) vollständig auf den Pluspol aufgezogen und das Kabel fest an die Batterie angeklemmt ist. Das Kabel darf die Batterieabdeckung nicht berühren.
Ziehen Sie die Gummimuffe über den Pluspol, um Kurzschlüssen vorzubeugen.
Akkupole, Klemmen und anderes Zubehör enthalten Blei und Bleibestandteile. Dabei handelt es sich um Chemikalien, die laut der Regierung von Kalifornien krebserregend sind und zu Erbschäden führen können. Waschen Sie sich nach dem Umgang mit diesen Materialien die Hände.
Überziehen Sie beide Batteriepole und Anschlüsse mit Grafo 112X-Fett (Toro, Bestellnummer 505-47), mit Vaseline oder leichtem Schmierfett, um einer Korrosion vorzubeugen.
Ziehen Sie den Gummischuh über den Pluspol.
Schließen Sie die Konsolenabdeckung und befestigen Sie den Riegel.
Batteriepole und Metallwerkzeuge können an metallischen Teilen Kurzschlüsse verursachen, was Funken erzeugen kann. Funken können zum Explodieren der Gase im Akku führen und Verletzungen verursachen.
Beim Aus- und Einbau des Akkus verhindern, dass Akkupole mit Metallteilen der Maschine in Kontakt kommen.
Vermeiden Sie Kurzschlüsse zwischen metallischen Werkzeugen, den Akkupolen und metallischen Maschinenteilen.
Das unsachgemäße Verlegen der Akkukabel kann zu Schäden an der Maschine führen, und die Kabel können Funken erzeugen. Funken können zum Explodieren der Batteriegase führen, was Verletzungen zur Folge haben kann.
Trennen Sie immer das Minuskabel (Schwarz) ab, bevor Sie das Pluskabel (Rot) abtrennen.
Schließen Sie immer das Pluskabel (Rot) an, bevor Sie das Minuskabel (Schwarz) anschließen.
| Wartungsintervall | Wartungsmaßnahmen |
|---|---|
| Alle 50 Betriebsstunden |
|
Important: Klemmen Sie vor Schweißarbeiten an der Maschine das negative Akkukabel vom Akkupol ab, um einer Beschädigung der elektrischen Anlage vorzubeugen.
Note: Prüfen Sie den Akkuzustand wöchentlich oder alle 50 Betriebsstunden. Halten Sie die Pole und den gesamten Batteriekasten sauber, da sich eine verschmutzte Batterie langsam entlädt.
Nehmen Sie die Batterie aus der Maschine heraus.
Waschen Sie den ganzen Kasten mit Natronlauge aus.
Spülen Sie den Kasten mit klarem Wasser aus.
Überziehen Sie die Batteriepole und Anschlüsse mit Grafo 112X-Schmiermittel (Toro Bestellnummer 50547) oder mit Vaseline, um einer Korrosion vorzubeugen.
| Wartungsintervall | Wartungsmaßnahmen |
|---|---|
| Nach acht Betriebsstunden |
|
| Alle 200 Betriebsstunden |
|
Wenn Sie die Radmuttern nicht fest genug ziehen, kann sich ein Rad lösen, was zu Verletzungen führen kann.
Ziehen Sie die Muttern an den Vorder- und Hinterreifen nach ein bis vier Arbeitsstunden bis auf 115-136 N∙m an und danach noch einmal nach acht Betriebsstunden. Ziehen Sie sie dann alle 200 Betriebsstunden nach.
Note: Die Vorderradmuttern sind ½-20 UNF. Die Hinterradmuttern sind M12 x 1,6-6H (metrisch).
| Wartungsintervall | Wartungsmaßnahmen |
|---|---|
| Alle 400 Betriebsstunden |
|
Prüfen Sie den Ölstand alle 400 Betriebsstunden. Verwenden Sie ein SAE 85W-140. Qualitätsgetriebeöl als Ersatz.
Stellen Sie die Maschine auf eine ebene Fläche und positionieren Sie das Rad so, dass eine Prüfschraube (Bild 65) auf 12 Uhr und die andere auf 3 Uhr steht.

Entfernen Sie die Schraube, die auf 3 Uhr steht (Bild 65).
Note: Der Ölstand sollte am unteren Rand des Prüflochs sein.
Wenn der Ölstand niedrig ist, entfernen Sie die Schraube an der 12-Uhr-Position und füllen Sie Öl auf, bis es aus dem Loch an der 3-Uhr-Position austritt.
Setzen Sie beide Schrauben wieder ein.
Wiederholen Sie die Schritte 1 bis 4 am gegenüberliegenden Planetengetriebe.
| Wartungsintervall | Wartungsmaßnahmen |
|---|---|
| Nach 200 Betriebsstunden |
|
| Alle 800 Betriebsstunden |
|
Wechseln Sie den Ölfilter zunächst nach den ersten 200 Betriebsstunden. Wechseln Sie dann das Öl alle 800 Betriebsstunden oder mindestens jährlich. Verwenden Sie ein SAE 85W-140 Qualitätsgetriebeöl als Ersatz.
Stellen Sie die Maschine auf einer ebenen Fläche ab und positionieren Sie das Rad so, dass sich eine der Prüfschrauben in der untersten Stellung (6 Uhr) befindet (Bild 66).

Stellen Sie eine Auffangwanne unter die Nabe des Planetengetriebes, entfernen die Verschlussschraube und lassen das Öl ablaufen.
Stellen Sie eine Auffangwanne unter das Bremsgehäuse, entfernen Sie die Ablassschraube und lassen das Öl ablaufen (Bild 67).

Setzen Sie die Schraube wieder im Bremsgehäuse ein, wenn das Öl vollständig an beiden Stellen abgelaufen ist.
Drehen Sie das Rad, bis das offene Schraubenloch im Planetengetriebe auf der 12-Uhr-Stellung ist.
Füllen Sie das Planetengetriebe durch das offene Loch langsam mit 0,65 Liter SAE 85W-140 Qualitätsgetriebeöl.
Important: Wenn das Planetengetriebe gefüllt ist, bevor Sie 0,65 Liter Öl eingefüllt haben, warten Sie eine Stunde oder setzen Sie die Schraube ein und bewegen die Maschine ca. 3 m, um das Öl gleichmäßig in der Bremsanlage zu verteilen. Entfernen Sie dann die Schraube und füllen das restliche Öl ein.
Drehen Sie die Verschlussschraube wieder auf.
Wiederholen Sie die Schritte am gegenüberliegenden Planetengetriebe bzw. der Bremse.
| Wartungsintervall | Wartungsmaßnahmen |
|---|---|
| Alle 400 Betriebsstunden |
|
Die Hinterachse wird im Werk mit SAE 85W-140 Getriebeöl gefüllt. Prüfen Sie den Ölstand vor dem ersten Anlassen des Motors und dann alle 400 Betriebsstunden. Das Fassungsvermögen beträgt 2,4 l. Prüfen Sie die Dichtheit täglich.
Stellen Sie die Maschine auf eine ebene Fläche.
Entfernen Sie eine Prüfschraube aus einem Ende der Achse (Bild 68) und stellen sicher, dass das Öl die Unterseite des Lochs erreicht. Entfernen Sie bei niedrigem Ölstand die Füllschraube (Bild 68) und füllen genug Öl ein, um den Stand bis an die Unterseite der Prüfschraubenöffnungen anzuheben.

| Wartungsintervall | Wartungsmaßnahmen |
|---|---|
| Nach 200 Betriebsstunden |
|
| Alle 800 Betriebsstunden |
|
Stellen Sie die Maschine auf eine ebene Fläche.
Reinigen Sie den Bereich um die drei Ablassschrauben, d. h. jeweils eine an beiden Enden und eine in der Mitte (Bild 69).

Entfernen Sie die Ölstandprüfschrauben und den Entlüftungsdeckel an der Hauptachse, um das Ablassen des Öls zu beschleunigen.
Entfernen Sie die Ablassschraube und lassen das Öl in die Auffangwannen abfließen.
Drehen Sie die Stöpsel wieder ein.
Entfernen Sie eine Prüfschraube und füllen Sie die Achse mit ungefähr 2,37 l 85W-140 Getriebeöl oder bis die Unterseite des Lochs mit Öl bedeckt ist.
Drehen Sie die Prüfschraube wieder auf.
| Wartungsintervall | Wartungsmaßnahmen |
|---|---|
| Alle 400 Betriebsstunden |
|
Das Getriebe ist mit Getriebeöl der Sorte SAE 85W-140 gefüllt. Prüfen Sie den Ölstand vor dem ersten Anlassen des Motors und dann alle 400 Betriebsstunden. Das Fassungsvermögen beträgt 0,5 l. Prüfen Sie die Dichtheit täglich.
Stellen Sie die Maschine auf eine ebene Fläche.
Entfernen Sie die Prüf-/Füllschraube an der linken Getriebeseite (Bild 70) und stellen sicher, dass der Schmierstoff die Unterseite des Lochs erreicht. Füllen Sie bei einem niedrigen Stand genug Öl auf, um den Stand bis an die Unterseite des Lochs anzuheben.

Die Maschine darf nicht kriechen, wenn Sie das Fahrpedal loslassen. Sie müssen eine Einstellung vornehmen, wenn es dennoch dazu kommt.
Stellen Sie die Maschine auf eine ebene Fläche, stellen Sie den Motor ab, stellen den Fahrantriebshebel in den niedrigen Bereich und senken die Mähwerke auf den Boden ab.
Treten Sie nur auf das rechte Bremspedal und aktivieren die Feststellbremse.
Bocken Sie die linke Seite der Maschine auf, bis linke Vorderrad Bodenfreiheit hat. Stützen Sie die Maschine mit Stützböcken ab, sodass sie nicht umfallen kann.
Starten Sie den Motor und lassen ihn im niedrigen Leerlauf laufen.
Stellen Sie die Klemmmuttern am Pumpenstangenende ein, um das Pumpensteuerungsrohr nach vorne zu verschieben, um ein Kriechen nach vorne zu vermeiden, oder um das Pumpensteuerungsrohr nach hinten zu verschieben, um ein Kriechen nach hinten zu vermeiden (Bild 71).

Ziehen Sie die Klemmmuttern fest, wenn die Räder zum Stillstand gekommen sind, um die Einstellung zu arretieren.
Stellen Sie den Motor ab und lösen die rechte Bremse.
Entfernen Sie die Achsständer und bringen die Maschine wieder auf den Boden.
Machen Sie eine Probefahrt, um sicherzustellen, dass die Maschine nicht kriecht.
| Wartungsintervall | Wartungsmaßnahmen |
|---|---|
| Alle 800 Betriebsstunden |
|
Messen Sie den Abstand vorne und hinten an den Lenkreifen Mitte-zu-Mitte (auf Achshöhe).
Note: Der Wert für vorne darf höchstens 3 mm kleiner sein als der Wert für hinten (Bild 72).

Entfernen Sie den Splint und die Mutter von einem der Spurstangen-Kugelgelenke (Bild 73), um die Vorspur einzustellen.

Entfernen Sie das Spurstangen-Kugelgelenk vom Achsständer.
Lockern Sie die Klemmen an beiden Enden der Zugstangen (Bild 73).
Drehen Sie das abgenommene Kugelgelenk um eine komplette Umdrehung nach innen oder außen.
Ziehen Sie die Klemme am losen Ende der Spurstange fest.
Drehen Sie die gesamte Spurstange um eine komplette Umdrehung in dieselbe Richtung (nach innen oder außen).
Ziehen Sie die Klemme am angeschlossenen Ende der Spurstange fest.
Montieren Sie das Kugelgelenk im Achsständer und ziehen Sie die Griffmutter fest.
Messen Sie die Vorspur.
Wiederholen Sie diese Schritte bei Bedarf.
Ziehen Sie die Mutter fest und montieren Sie einen neuen Splint, wenn die Einstellung korrekt ist.
| Wartungsintervall | Wartungsmaßnahmen |
|---|---|
| Bei jeder Verwendung oder täglich |
|
Entfernen Sie den Schmutz vom Motorbereich, dem Öl- und Motorkühler täglich. Reinigen Sie unter besonders schmutzigen Bedingungen häufiger.
Entriegeln und schwenken Sie das hintere Gitter in die geöffnete Stellung (Bild 74).

Entfernen Sie alle Schmutzrückstände aus dem Drehgitter.
Note: Wenn Sie das Drehgitter entfernen möchten, heben Sie es aus den Gelenkstiften heraus.
Reinigen Sie beide Seiten des Ölkühler- und des Kühlerbereichs (Bild 75) gründlich mit Druckluft. Blasen Sie Rückstände von vorne nach hinten heraus. Reinigen Sie dann von hinten und blasen Sie nach vorne. Wiederholen Sie diesen Vorgang mehrmals, bis alle Rückstände entfernt sind.

Important: Das Reinigen des Kühlers bzw. Ölkühlers mit Wasser kann zu frühzeitigem Verrosten, einer Beschädigung der Bauteile und Verdichten der Ablagerungen führen.
Schließen Sie das hintere Gitter und befestigen es mit dem Riegel.
Stellen Sie die Betriebsbremsen ein, wenn das Bremspedal mehr als 13 mm Spiel hat, oder wenn die Bremsen nicht mehr gut genug greifen. Als Spiel gilt die Entfernung, die das Bremspedal zurücklegt, bevor ein Bremswiderstand spürbar ist.
Ziehen Sie die Sperrlasche aus den Bremspedalen heraus, so dass beide Bremsen unabhängig voneinander wirken können.
Ziehen Sie die Bremsen wie folgt an, um das Spiel der Bremspedale zu reduzieren:
Lockern Sie die vordere Mutter an der Gewindeseite des Bremszuges (Bild 76).

Ziehen Sie die hintere Mutter an, um den Zug nach hinten zu bewegen, bis die Bremspedale ein Spiel von 0 mm bis 13 mm aufweisen.
Note: Stellen Sie sicher, dass keine Bremsspannung besteht, wenn das Pedal gelöst wird.
Ziehen Sie die vordere Mutter fest, wenn die Bremsen einwandfrei eingestellt sind.
| Wartungsintervall | Wartungsmaßnahmen |
|---|---|
| Alle 100 Betriebsstunden |
|
Prüfen Sie den Zustand und die Spannung der Treibriemen (Bild 77) alle 100 Betriebsstunden.
Bei einer richtigen Spannung lässt sich der Riemen 10 mm durchbiegen, wenn eine Kraft von 45 N in der Mitte zwischen den Riemenscheiben angesetzt wird.
Lockern Sie bei einer Durchbiegung von mehr oder weniger als 10 mm die Befestigungsschrauben der Lichtmaschine (Bild 77).

Erhöhen oder verringern Sie die Spannung des Lichtmaschinenriemens und ziehen die Schrauben fest.
Prüfen Sie die Riemenspannung noch einmal auf korrekte Einstellung.
| Wartungsintervall | Wartungsmaßnahmen |
|---|---|
| Alle 800 Betriebsstunden |
|
Wechseln Sie das Hydrauliköl unter normalen Betriebsbedingungen alle 800 Betriebsstunden. Setzen Sie sich, wenn das Öl verunreinigt wird, mit Ihrem Toro Vertragshändler in Verbindung, um die Anlage spülen zu lassen. Verunreinigtes Öl sieht im Vergleich zu sauberem Öl milchig oder schwarz aus.
Stellen Sie den Motor ab und öffnen die Motorhaube.
Schließen Sie den Ablasshahn an der Unterseite des Ölbehälters ab und lassen das Hydrauliköl in eine große Auffangwanne ab.
Schließen Sie die Leitung wieder an, wenn kein Hydrauliköl mehr ausströmt.
Füllen Sie den Behälter mit ca. 28,4 Litern Hydrauliköl, siehe Hydraulikölstand prüfen.
Important: Verwenden Sie nur die angegebenen Hydraulikölsorten. Andere Ölsorten können die Hydraulikanlage beschädigen.
Schrauben Sie den Behälterdeckel wieder auf.
Starten Sie den Motor und benutzen alle hydraulischen Bedienelemente, um das Hydrauliköl in der ganzen Anlage zu verteilen.
Prüfen Sie gleichfalls die Dichtheit und stellen dann den Motor ab.
Prüfen Sie den Ölstand und gießen so viel Öl ein, dass der Ölstand die Voll-Markierung am Peilstab erreicht.
Note: Überfüllen Sie die Hydraulikanlage nicht.
| Wartungsintervall | Wartungsmaßnahmen |
|---|---|
| Nach 200 Betriebsstunden |
|
| Alle 800 Betriebsstunden |
|
Wechseln Sie beide Hydraulikölfilter nach den ersten 200 Betriebsstunden. Wechseln Sie die Filter dann unter normalen Betriebsbedingungen alle 800 Betriebsstunden.
Verwenden Sie dabei nur Toro Originalersatzfilter, Bestellnummer 94-2621 für das hintere Ende der Maschine (Schneideinheit) und 75-1310 für das vordere Ende der Maschine (Ladegerät).
Important: Der Einsatz anderer Filter führt u. U. zum Verlust Ihrer Garantieansprüche für einige Bauteile.
Stellen Sie die Maschine auf eine ebene Fläche, senken die Mähwerke ab, stellen den Motor ab, aktivieren die Feststellbremse und ziehen den Zündschlüssel ab.
Reinigen Sie den Anbaubereich des Filters.
Stellen Sie eine Auffangwanne unter den Filter (Bild 78 und Bild 79) und entfernen diesen.
Ölen Sie die neue Filterdichtung ein und füllen den Filter mit Hydrauliköl.


Stellen Sie sicher, dass der Anbaubereich des Filters sauber ist.
Drehen Sie den neuen Filter ein, bis die Dichtung die Ansatzfläche berührt; ziehen Sie dann den Filter um eine weitere ½ Umdrehung fester.
Lassen Sie den Motor an und lassen ihn ca. zwei Minuten lang laufen, um die Anlage zu entlüften.
Stellen Sie den Motor ab und prüfen Sie die Dichtheit.
| Wartungsintervall | Wartungsmaßnahmen |
|---|---|
| Bei jeder Verwendung oder täglich |
|
Prüfen Sie die hydraulischen Leitungen und Schläuche täglich auf Dichtheit, Knicke, lockere Stützteile, Abnutzung, lockere Verbindungsteile, witterungsbedingte Minderung und chemischen Angriff. Führen Sie alle erforderlichen Reparaturen vor der Inbetriebnahme durch.
Unter Druck austretendes Hydrauliköl kann unter die Haut dringen und Verletzungen verursachen.
Stellen Sie sicher, dass alle Hydraulikschläuche und -leitungen in einem guten Zustand sowie alle Hydraulikverbindungen und -anschlüsse festgezogen sind, bevor Sie das Hydrauliksystem unter Druck setzen.
Halten Sie sich, insbesondere Ihre Hände, von Nadellöchern und Düsen fern, aus denen Hydrauliköl unter hohem Druck ausgestoßen wird.
Gehen Sie hydraulischen Undichtheiten nur mit Pappe oder Papier nach.
Lassen Sie den Druck in der Hydraulikanlage auf eine sichere Art und Weise ab, bevor Sie irgendwelche Arbeiten an der Anlage durchführen.
Konsultieren Sie beim Einspritzen unter die Haut sofort einen Arzt.
Kontakt mit den Spindeln oder anderen beweglichen Teilen kann zu Verletzungen führen.
Halten Sie Finger, Hände und Bekleidung fern von den Spindeln und anderen beweglichen Teilen.
Versuchen Sie nie, die Spindeln per Hand oder Fuß in Gang zu bringen, während der Motor läuft.
Note: Beim Läppen laufen alle Frontgeräte und alle Heckgeräte zusammen.
Stellen Sie die Maschine auf eine ebene Fläche, senken die Schneideinheiten ab, stellen den Motor ab, aktivieren die Feststellbremse und stellen den Zapfwellenschalter in die AUS-Stellung.
Entriegeln und heben Sie die Motorhaube an, um die Bedienelemente frei zu legen.
Stellen Sie zuerst die Spindeln und Untermesser für das Läppen an allen Schneideinheiten ein, die Sie läppen möchten, siehe Bedienungsanleitung der Schneideinheit.
Wählen Sie entweder den vorderen, hinteren oder beide Läpphebel aus, um festzulegen, welche Geräte geläppt werden (Bild 80).
Starten Sie den Motor an und lassen Sie ihn mit niedrigen Drehzahlen laufen.
Das Verändern der Motordrehzahl beim Läppen kann zum Festfahren der Spindeln führen.
Verändern Sie die Motordrehzahl nie, während Sie die Spindeln läppen.
Läppen Sie Spindeln nur im niedrigen Leerlauf.
Der Kontakt mit einer rotierenden Schneideinheit kann zu schweren Verletzungen führen.
Stellen Sie sicher, dass Sie die Schneideinheiten nicht berühren, bevor Sie fortfahren, um Verletzungen zu vermeiden.
Stellen Sie den Zapfwellenschalter in die EIN-Stellung, wenn der Mähwerkgeschwindigkeitsbegrenzer in der Mähstellung ist. Drücken Sie den Hubschalter, um das Läppen an der gewünschten Spindel zu starten.
Tragen Sie Schleifpaste mit einer langstieligen Bürste auf.
Note: Verwenden Sie nie eine Bürste mit kurzem Stiel.

Wenn die Spindeln beim Läppen anhalten oder ungleichmäßig laufen, erhöhen Sie die Fahrgeschwindigkeit, bis sich die Geschwindigkeit stabilisiert.
Wenn Sie die Schneideinheiten beim Läppen einstellen möchten, drehen Sie die Spindeln ab, indem Sie hinten auf den Hubschalter drücken; stellen Sie den Zapfwellenschalter auf die AUS-Stellung und stellen den Motor ab. Wiederholen Sie nach dem Abschluss der Einstellungen die Schritte 4 bis 8.
Wiederholen Sie diesen Vorgang für alle Schneideinheiten, die Sie läppen möchten.
Stellen Sie nach dem Läppen die Läppriegel in die Mäh-Stellung, senken Sie die Abdeckung ab und waschen Sie die Schleifpaste von den Schneideinheiten ab. Stellen Sie den Kontakt zwischen Spindel und Untermesser nach Bedarf ein. Stellen Sie den Spindeldrehzahlregler der Schneideinheit auf die gewünschte Mähstellung.
Important: Wenn der Läppschalter nicht in die Aus-Stellung zurückgestellt wird, können die Schneideinheiten weder richtig angehoben noch eingesetzt werden.
Note: Weitere Anleitungen und Verfahren zum Läppen finden Sie im Toro Handbuch Läppen von Spindel und Sichelmähern, Form Nr. 90300SL.
Note: Um eine noch bessere Schnittkante zu erzielen, feilen Sie nach dem Läppen die Vorderseite des Untermessers. Auf diese Weise werden Grate oder raue Kanten beseitigt, die sich möglicherweise an der Schnittkante gebildet haben.
Lassen Sie das Motoröl in eine Auffangwanne ablaufen und schrauben die Ablassschraube wieder ein.
Entfernen und entsorgen Sie den Ölfilter. Montieren Sie einen neuen Ölfilter.
Füllen Sie das vorgegebene Motoröl in den Motor an.
Lassen Sie den Motor an und lassen Sie ihn ca. 2 Minuten lang im Leerlauf laufen.
Stellen Sie den Motor ab.
Spülen Sie den Kraftstofftank mit frischem, sauberem
Befestigen Sie alle Anschlussstücke der Kraftstoffanlage.
Reinigen und warten Sie den Luftfilter gründlich.
Dichten Sie die Ansaugseite des Luftfilters und das Auspuffrohr mit witterungsbeständigem Klebeband ab.
Prüfen Sie den Frostschutz und füllen bei Bedarf eine 50/50-Mischung aus Wasser und Ethylenglykol-Frostschutzmittel ein, die den in Ihrer Region zu erwartenden Mindesttemperaturen entsprechen muss.
Reinigen Sie die Zugmaschine, Mähwerke und den Motor gründlich.
Prüfen Sie den Reifendruck, siehe Prüfen des Reifendrucks.
Prüfen Sie auf lockere Befestigungsteile und ziehen diese bei Bedarf fest.
Fetten und ölen Sie alle Schmiernippel und Drehpunkte ein. Wischen Sie überflüssiges Fett ab.
Schmirgeln Sie alle Lackschäden leicht und bessern Bereiche aus, die angekratzt, abgesprungen oder verrostet sind. Reparieren Sie alle Blechschäden.
Warten Sie den Akku und die Akkukabel wie folgt:
Entfernen Sie die Akkuklemmen von den -polen.
Reinigen Sie den Akku, die Akkuklemmen und -pole mit einer Drahtbürste und Natronlauge.
Überziehen Sie die Kabelklemmen und Akkupole mit Grafo 112X-Fett (Toro-Bestellnummer 505-47) oder mit Vaseline, um einer Korrosion vorzubeugen.
Laden Sie die Batterie alle 60 Tage 24 Stunden lang langsam auf, um einer Bleisulfation der Batterie vorzubeugen.