| Cadenza di manutenzione | Procedura di manutenzione |
|---|---|
| Prima di ogni utilizzo o quotidianamente |
|
Questo è un tosaerba dotato di postazione per l'operatore e cilindri di taglio, pensato per essere utilizzato da professionisti e operatori del verde in applicazioni commerciali. Il suo scopo è quello di tagliare l'erba di campi da golf, parchi, campi sportivi e aree verdi commerciali ben tenuti. Non è stato progettato per tagliare aree cespugliose, erba e altre piante ai bordi delle strade, né per impieghi in agricoltura.
Leggete attentamente il presente manuale per utilizzare ed eseguire correttamente la manutenzione del prodotto, e per evitare lesioni personali e danni al prodotto. Voi siete responsabili del corretto utilizzo del prodotto, all'insegna della sicurezza.
Per ricevere materiale di addestramento sulla sicurezza e il funzionamento dei prodotti, informazioni sugli accessori, ottenere assistenza nella ricerca di un rivenditore o registrare il vostro prodotto potete contattare direttamente Toro all'indirizzo www.Toro.com.
Per assistenza, ricambi originali Toro o ulteriori informazioni, rivolgetevi a un Distributore Toro autorizzato o ad un Centro Assistenza Toro ed abbiate sempre a portata di mano il numero del modello ed il numero di serie del prodotto. Figura 1 indica la posizione del numero del modello e del numero di serie sul longherone destro del telaio anteriore del prodotto. Scrivete i numeri negli spazi previsti.

Questo manuale identifica pericoli potenziali e riporta messaggi di sicurezza evidenziati dal simbolo di avviso di sicurezza (Figura 2) che segnala un pericolo che può causare lesioni personali gravi o fatali se non osserverete le precauzioni consigliate.

Per evidenziare le informazioni vengono utilizzate due parole. Importante: indica informazioni meccaniche di particolare importanza; Nota evidenzia informazioni generali di particolare rilevanza.
Questo prodotto è conforme a tutte le direttive europee pertinenti. Vedere i dettagli nella Dichiarazione di Conformità (DICO) specifica del prodotto, fornita a parte.
Costituisce una trasgressione al Codice delle Risorse Pubbliche della California, Sezione 4442 o 4443, utilizzare o azionare questo motore su terreno forestale, sottobosco o prateria senza un parascintille montato sul motore, come riportato alla Sezione 4442, in stato di marcia effettivo, o se il motore non è costruito, attrezzato e sottoposto a manutenzione per la prevenzione di incendi.
Il manuale d'uso del motore allegato fornisce informazioni sull'Environment Protection Agency (EPA) degli Stati Uniti e sul regolamento del Controllo delle Emissioni dello stato della California riguardo a sistemi di emissione, manutenzione e garanzia. I pezzi di ricambio possono essere ordinati tramite il produttore del motore.
CALIFORNIA
Avvertenza norma "Proposition 65"
I gas di scarico dei motori Diesel e alcuni dei loro elementi costitutivi sono noti allo Stato della California come cancerogeni e responsabili di difetti congeniti ed altri problemi riproduttivi.
L'utilizzo del presente prodotto potrebbe esporre a sostanze chimiche che nello Stato della California sono considerate cancerogene e causa di anomalie congenite o di altre problematiche della riproduzione.
Questa macchina soddisfa o supera le norme EN ISO 5395:2013 (quando sono applicati gli adesivi adatti) ed ANSI B71.4-2012.
L'errato utilizzo o l'errata manutenzione di questa macchina può causare infortuni. Per ridurre il rischio di incidenti, rispettate le seguenti norme di sicurezza e fate sempre attenzione al simbolo di allarme che indica Attenzione, Avvertenza o Pericolo – norme di sicurezza personali. Il mancato rispetto delle istruzioni può provocare infortuni o la morte.
Le seguenti istruzioni sono tratte da EN ISO 5395:2013 e ANSI B71.4-2012.
Leggete attentamente il Manuale dell'operatore e gli altri stampati relativi all'addestramento. Acquisite dimestichezza con i comandi, gli adesivi di sicurezza e il corretto utilizzo della macchina.
Non permettete mai a bambini o a persone che non abbiano una perfetta conoscenza delle presenti istruzioni di utilizzare il tosaerba o di effettuarne la manutenzione. Le normative locali possono imporre limiti all'età dell'operatore.
Non tosate in prossimità di altre persone, soprattutto bambini, o di animali da compagnia.
Ricordate sempre che l'operatore o utilizzatore è responsabile di incidenti o pericoli occorsi ad altre persone o alla loro proprietà.
Non trasportate passeggeri.
Tutti i conducenti e i meccanici devono mirare a ottenere una formazione professionale e pratica. Il proprietario è responsabile dell'addestramento degli operatori. Tale formazione dovrà evidenziare:
la necessità di attenzione e concentrazione quando si lavora sui rider;
il controllo del rider che scivola su un terreno in pendenza non verrà recuperato azionando il freno. I motivi principali della perdita di controllo sono:
presa insufficiente delle ruote;
velocità troppo elevata;
azione frenante inadeguata;
tipo di macchina inadatto al compito da eseguire;
mancanza di consapevolezza degli effetti delle condizioni del terreno, soprattutto dei pendii;
traino e distribuzione del carico errati.
Il proprietario/operatore può impedire che si verifichino incidenti o infortuni a persone e danni alla proprietà.
Durante il lavoro indossate sempre abbigliamento idoneo, comprendente protezioni per gli occhi, calzature pesanti e antiscivolo, pantaloni lunghi e auricolari adatti.
Legate i capelli lunghi. Non indossate gioielli.
Ispezionate attentamente l’area in cui deve essere utilizzata l’apparecchiatura, e sgombratela da oggetti che possano venire raccolti e scagliati dalla macchina.
Sostituite le marmitte di scarico e i silenziatori difettosi.
Esaminate il terreno per determinare quali accessori e quali attrezzi siano necessari per eseguire il lavoro in modo corretto e sicuro. Usate soltanto accessori e attrezzi approvati dal produttore.
Controllate che i comandi dell'operatore, gli interruttori di sicurezza e le protezioni siano collegati e correttamente funzionanti. Se non funzionano correttamente, non azionate la macchina.
Per evitare lesioni personali o danni alle cose, prestate la massima cautela quando manipolate il carburante. Il carburante è estremamente infiammabile e i vapori sono esplosivi.
Spegnete sigarette, sigari, pipe e altre fonti di accensione.
Utilizzate soltanto taniche per carburanti approvate.
Non togliete mai il tappo del carburante né aggiungete carburante mentre il motore è in funzione.
Fate raffreddare il motore prima di eseguire il rifornimento di carburante.
Non fate mai rifornimento di carburante in luoghi chiusi.
Non depositate mai la macchina o la tanica del carburante in presenza di fiamme libere, scintille o spie, come vicino a uno scaldabagno o altre apparecchiature.
Non riempite mai le taniche all'interno di un veicolo o sul pianale di un camion o di un rimorchio con rivestimento di plastica. Prima del rabbocco, posizionate sempre le taniche di carburante sul pavimento, lontano dal veicolo.
Scaricate l'attrezzatura dal camion o dal rimorchio ed effettuate il rifornimento al suolo. Qualora ciò non sia possibile, rabboccate l'apparecchiatura mediante una tanica portatile, anziché con una normale pompa del carburante.
Tenete sempre l'ugello a contatto con il bordo del serbatoio del carburante o con il foro della tanica finché non sia stato completato il rifornimento. Non utilizzate un dispositivo a ugello con blocco in apertura.
In caso di versamento di carburante sugli abiti, cambiatevi immediatamente.
Non riempite eccessivamente il serbatoio del carburante. Riposizionate il tappo del carburante e serrate a fondo.
Non azionate il motore in un locale chiuso in cui possano raccogliersi i fumi tossici dell'ossido di carbonio.
Tosate solamente alla luce del giorno o con illuminazione artificiale adeguata.
Prima di cercare di avviare il motore, disinnestate tutte le frizioni dell'accessorio con lame, mettete il cambio in folle e inserite il freno di stazionamento.
Ricordate che non esistono pendenze sicure. L'utilizzo su pendii erbosi richiede un'attenzione particolare. Per cautelarvi dal ribaltamento:
evitate partenze e frenate brusche procedendo in salita o in discesa;
mantenete bassa la velocità della macchina quando procedete in pendenza o eseguite curve a stretto raggio;
prestate attenzione a protuberanze del terreno, buche e altri ostacoli nascosti;
Non curvate bruscamente, ed eseguite le retromarce con prudenza;
utilizzate i contrappesi o le zavorre per le ruote quando raccomandato nel manuale dell'operatore.
Prestate attenzione a fosse e ad altri pericoli nascosti.
Prestate attenzione al traffico quando attraversate o procedete nei pressi di una strada.
Arrestate la rotazione delle lame prima di attraversare superfici non erbose.
Quando utilizzate degli accessori, non dirigete mai lo scarico del materiale verso terzi e non consentite ad alcuno di avvicinarsi alla macchina durante il lavoro.
Non azionate mai la macchina con schermi o ripari difettosi, o senza i dispositivi di protezione montati. Verificate che tutti i microinterruttori di sicurezza siano collegati, regolati e funzionino correttamente.
Non modificate la taratura del regolatore del motore e non fate superare al motore i regimi previsti. Il motore che funziona a velocità eccessiva può aumentare il rischio di infortuni.
Prima di scendere dalla postazione di guida:
fermate la macchina su terreno pianeggiante;
disinnestate la presa di forza e abbassate al suolo l'attrezzatura;
mettete il cambio in folle e inserite il freno di stazionamento;
spegnete il motore e togliete la chiave di accensione.
Disinserite la trasmissione agli accessori durante i trasferimenti e quando la macchina non viene utilizzata.
Spegnete il motore e disinserite la trasmissione all'accessorio:
prima del rifornimento di carburante;
prima di regolare l'altezza, a meno che la regolazione non possa essere eseguita dalla postazione di guida.
prima di pulire intasamenti;
prima di controllare, pulire o eseguire interventi sul tosaerba;
dopo avere urtato un corpo estraneo, o in caso di vibrazioni anomale. Ispezionate il tosaerba per rilevare eventuali danni, ed effettuate le riparazioni necessarie prima di riavviare l'accessorio.
Riducete la regolazione dell'acceleratore durante il tempo di arresto del motore e, se il motore è dotato di valvola di intercettazione, spegnete l'afflusso di carburante al termine del lavoro.
Tenete mani e piedi a distanza dagli elementi di taglio.
Prima di fare marcia indietro, guardate indietro e in basso, assicurandovi che il percorso sia libero.
Rallentate e fate attenzione quando eseguite curve o attraversate strade e marciapiedi. Fermate tutti i cilindri se la macchina è ferma.
Non utilizzate la macchina se siete malati, stanchi o se siete sotto l'effetto di alcol o droga.
I lampi possono causare lesioni gravi o morte. Se, mentre vi trovate sull'area di lavoro, vedete lampi o udite tuoni, non utilizzate la macchina; cercate invece un riparo.
Prestate la massima attenzione durante il carico e lo scarico della macchina da un rimorchio o da un autocarro.
Prestate la massima attenzione quando vi avvicinate a curve cieche, cespugli, alberi o altri oggetti che possano impedire la vista.
Mantenete adeguatamente serrati tutti i dispositivi di fissaggio, per assicurarvi che l'apparecchiatura funzioni nelle migliori condizioni di sicurezza.
Non tenete la macchina con carburante nel serbatoio all'interno di edifici, dove i vapori della benzina possano raggiungere fiamme libere o scintille.
Lasciate raffreddare il motore prima del rimessaggio al chiuso.
Per ridurre il rischio d'incendio, mantenete motore, silenziatore/marmitta di scarico, vano batteria e zona di conservazione del carburante privi di erba, foglie e grasso in eccesso. Tergete l'olio o il carburante versati.
Mantenete tutte le parti in buone condizioni operative, tutti i componenti metallici e i raccordi idraulici ben serrati. Sostituite i componenti e gli adesivi usurati o danneggiati.
Dovendo scaricare il serbatoio del carburante, eseguite l'operazione all'aperto.
Durante la messa a punto della macchina fate attenzione a non intrappolare le dita tra le lame in movimento e le parti fisse della macchina.
Su macchine a più cilindri ricordate che la rotazione di un cilindro può provocare la rotazione anche di altri cilindri.
Disinnestate gli organi di trasmissione e abbassate gli elementi di taglio, inserite il freno di stazionamento, spegnete il motore e togliete la chiave di accensione. Attendete l'arresto di ogni movimento prima di eseguire interventi di regolazione, pulizia o riparazione.
Quando necessario, utilizzate cavalletti metallici per supportare i componenti.
Scaricate con cautela la pressione dai componenti che hanno accumulato energia.
Scollegate la batteria prima di ogni intervento di riparazione. Scollegate prima il morsetto negativo, per ultimo quello positivo. Ricollegate prima il morsetto positivo, per ultimo quello negativo.
Prestate la massima attenzione quando controllate i cilindri. Indossate i guanti e prestate attenzione durante il controllo.
Tenete mani e piedi a distanza dalle parti mobili. Se possibile, non eseguite regolazioni mentre il motore è in funzione.
Caricate le batterie in un luogo aperto, ben ventilato e distante da scintille e fiamme. Togliete la spina del caricabatterie prima di collegarlo o scollegarlo dalla batteria. Indossate indumenti di protezione e utilizzate attrezzi isolati.
Prestate la massima attenzione durante il carico e lo scarico della macchina da un rimorchio o da un autocarro.
Utilizzate rampe di larghezza massima per caricare la macchina su un rimorchio o un autocarro.
Fissate saldamente la macchina con cinghie, catene, capi o corde. Sia la cinghia anteriore, sia quella posteriore dovranno essere rivolte verso il basso e all'esterno rispetto alla macchina.
La seguente lista contiene informazioni sulla sicurezza specifiche per i prodotti Toro oppure di cui è necessario essere a conoscenza, non incluse nelle norme CEN, ISO o ANSI.
Questo prodotto è in grado di amputare mani e piedi e di scagliare oggetti. Rispettate sempre tutte le norme di sicurezza per evitare gravi infortuni o la morte.
L'utilizzo di questo prodotto per scopi non conformi alle funzioni per cui è stato concepito può essere pericoloso per l'utente e gli astanti.
Lo scarico del motore contiene ossido di carbonio, gas velenoso inodore che può uccidere.
Non fate funzionare il motore in interni o in ambienti cintati.
Imparate a fermare rapidamente il motore.
Si consiglia di indossare scarpe di sicurezza e pantaloni lunghi. L'uso di tale attrezzatura è richiesto ai sensi di alcune ordinanze locali e disposizioni assicurative.
Maneggiate la benzina con cautela, e tergete le perdite accidentali.
Controllate quotidianamente il corretto funzionamento dei microinterruttori di sicurezza. Se un interruttore è guasto, sostituitelo prima di mettere in funzione la macchina.
Sedetevi sul sedile prima di avviare il motore.
L'utilizzo della macchina richiede la vostra attenzione. Per evitare di perdere il controllo:
non guidate nelle vicinanze di banchi di sabbia, fossati, torrenti, scarpate o altri potenziali pericoli;
riducete la velocità prima di eseguire curve strette; evitate arresti e avviamenti improvvisi;
date sempre la precedenza nell'attraversare la strada o nelle adiacenze;
inserite i freni di servizio in discesa per rallentare e mantenere la macchina sotto controllo.
Quando utilizzate la macchina con il sistema di protezione antiribaltamento, non rimuovetelo mai e allacciate sempre la cintura di sicurezza.
Sollevate gli elementi di taglio quando vi spostate da un'area di lavoro all'altra.
Non toccate il motore, il silenziatore/la marmitta di scarico o il tubo di scappamento quando il motore è acceso o poco dopo averlo spento, in quanto questi componenti possono scottare ed ustionarvi.
Ogni collina presenta il rischio di ribaltamento o rotolamento; tuttavia il rischio aumenta proporzionalmente all'angolo d'inclinazione. Evitate forti pendenze.
Per mantenere il controllo dello sterzo, gli apparati di taglio devono essere abbassati quando scendete da pendii.
Innestate lentamente il comando della trazione tenendo sempre il piede sul pedale della trazione, particolarmente quando scendete da pendii.
Frenate usando la retromarcia sul pedale della trazione.
Se la macchina dovesse arrestarsi in salita, non giratela; fate sempre marcia indietro, lentamente e direttamente giù dal pendio.
Smettete di tosare se una persona o un animale da compagnia si presentano improvvisamente nell'area da tosare o nelle sue vicinanze. L'utilizzo imprudente della macchina, abbinato alle irregolarità del terreno ed agli sbalzi, o a protezioni posizionate in modo errato, può causare infortuni dovuti al lancio di oggetti. Non riprendete la tosatura finché l'area non è sgombra.
Prima di mettere l'impianto sotto pressione verificate che tutti i connettori dei flessibili idraulici siano saldamente serrati e che tutti i tubi e i flessibili siano in buone condizioni.
Tenete corpo e mani lontano da perdite filiformi o da ugelli che eiettano fluido idraulico pressurizzato. Per verificare la presenza di eventuali perdite, utilizzate carta o cartone, non le mani. Il fluido idraulico che fuoriesce sotto pressione può avere una forza sufficiente da penetrare la pelle e causare gravi lesioni. Se il fluido viene iniettato nella pelle, rivolgetevi immediatamente ad un medico.
Prima di scollegare l'impianto idraulico o di effettuare su di esso qualsiasi intervento, eliminate la pressione dell'intero impianto spegnendo il motore e abbassando a terra gli elementi di taglio e gli accessori.
Verificate ad intervalli regolari che i tubi di alimentazione siano correttamente serrati e non usurati. All'occorrenza, provvedete al serraggio o alla riparazione.
Se il motore deve essere mantenuto in funzione per eseguire un intervento di regolazione, tenete mani, piedi, indumenti e altre parti del corpo distanti dagli elementi di taglio, dagli accessori e dalle parti in movimento.
Per garantire condizioni di sicurezza e precisione, fate controllare la velocità massima del motore con un tachimetro da un Distributore Toro autorizzato.
Qualora fossero necessari interventi di assistenza o di riparazione di notevole entità, rivolgetevi a un Distributore Toro autorizzato.
Utilizzate soltanto accessori e parti di ricambio approvati dalla Toro. L'utilizzo di accessori non approvati può rendere nulla la garanzia.
Questa unità ha un livello di potenza acustica garantito di 101 dBA, con un valore di incertezza (K) di 1 dBA.
Il livello di potenza acustica è stato determinato in conformità con le procedure definite nella norma ISO 11094.
Questa unità ha un livello di pressione acustica all'orecchio dell'operatore di 83 dBA, con un valore di incertezza (K) di 1 dBA.
Il livello di pressione acustica è stato determinato in conformità con le procedure definite nella norma EN ISO 5395:2013.
Mani-braccia
Livello di vibrazione rilevato per la mano destra = 0,3 m/s2
Livello di vibrazione rilevato per la mano sinistra = 0,3 m/s2
Valore di incertezza (K) = 0,16 m/s2
I valori rilevati sono stati determinati in conformità con le procedure definite nella norma EN ISO 5395:2013.
Corpo
Livello di vibrazione rilevato = 0,2 m/s2
Valore di incertezza (K) = 0,1 m/s2
I valori rilevati sono stati determinati in conformità con le procedure definite nella norma EN ISO 5395:2013.
Il motore di questa macchina è conforme a EU Stadio 3A.
![]() |
Gli adesivi di sicurezza e di istruzione sono chiaramente visibili e sono affissi accanto a zone particolarmente pericolose. Sostituite gli adesivi danneggiati o smarriti. |























Note: Stabilite i lati sinistro e destro della macchina dalla normale posizione di guida.
In base alla larghezza degli elementi di taglio che verranno montati sul trattorino, regolate i rulli di supporto come segue:
Parti necessarie per questa operazione:
| Adesivo di avvertenza | 1 |
Per le macchine che richiedono la conformità alle norme CE, sostituite l’adesivo di avvertenza CE (n. cat. 120-1683) con l’adesivo di avvertenza standard (n. cat. 120–1686).
Parti necessarie per questa operazione:
| Staffa di chiusura del cofano | 1 |
| Rivetto | 2 |
| Vite (¼" x 2") | 1 |
| Rondella piana (¼") | 2 |
| Dado di bloccaggio (¼") | 1 |
Sganciate il fermo del cofano dalla staffa (Figura 4).

Rimuovete i 2 rivetti che fissano la staffa del fermo del cofano al cofano (Figura 5).

Rimuovete la staffa del fermo del cofano dal cofano.
Mentre allineate i fori di montaggio, posizionate la staffa di bloccaggio CE e la staffa del fermo del cofano sul cofano.
Note: La staffa di bloccaggio deve essere contro il cofano (Figura 5).Non togliete il gruppo bullone e dado dal braccio della staffa di bloccaggio.

Allineare le rondelle con i fori all'interno del cofano.
Rivettate le staffe e le rondelle al cofano (Figura 6).
Agganciate il fermo sulla relativa staffa (Figura 7).

Avvitate il bullone nell'altro braccio della staffa di chiusura del cofano per fissare il fermo in posizione (Figura 8).

Serrate accuratamente il bullone ma non serrate il dado.
Parti necessarie per questa operazione:
| Guida flessibile anteriore, destra | 1 |
| Guida flessibile anteriore, sinistra | 1 |
Togliete i motori del cilindro dalle staffe di ancoraggio per la spedizione.
Togliete le staffe di ancoraggio per la spedizione e scartatele.
Togliete gli elementi di taglio dai cartoni.
Eseguite il montaggio e la messa a punto come descritto nel Manuale dell'operatore degli elementi di taglio.
Il contrappeso (Figura 9) deve essere montato dal lato giusto dell'elemento di taglio, come descritto nel Manuale dell'operatore degli elementi di taglio.

Tutti gli elementi di taglio vengono spediti con la molla di compensazione del manto erboso montata sulla destra degli elementi di taglio. La molla di compensazione del manto erboso deve essere montata dallo stesso lato dell’elemento di taglio e del motore principale del cilindro. Posizionate la molla di compensazione del manto erboso come indicato di seguito:
Togliete i due bulloni a testa tonda e i dadi che fissano la staffa dell'asta alle alette degli elementi di taglio (Figura 10).

Rimuovete il dado flangiato che fissa il bullone del tubo della molla all'aletta del telaio portante (Figura 10)
Rimuovete il gruppo
Montate il bullone del tubo della molla sull'aletta opposta, sul telaio portante, e fissatelo con il dado flangiato.
Note: La testa del bullone deve essere posta sul lato esterno dell'aletta, come illustrato nella Figura 11.

Montate la staffa dell'asta sulle alette degli elementi di taglio usando i bulloni a testa tonda e i dadi (Figura 11). Nel rimontare la staffa dell'asta, sull'elemento di taglio montate la guida del flessibile di sinistra sulla parte anteriore delle alette degli elementi di taglio (Figura 13).
Important: Sull'elemento di taglio n. 4 (anteriore sinistro) e n. 5 (anteriore destro), utilizzate i dadi di fissaggio della staffa dell'asta per montare le guide del flessibile sulla parte anteriore delle alette dell'elemento di taglio. Le guide del flessibile devono essere inclinate verso l'elemento di taglio (da Figura 12 a Figura 14)



Note: In sede di montaggio o rimozione degli elementi di taglio verificate che la coppiglia sia montata nel foro dell'asta della molla, accanto alla staffa della molla. Diversamente, dovrete inserire la coppiglia nel foro nell'estremità dell'asta.
Aumentate lo sterzo degli apparati di taglio posteriori rimuovendo i 2 distanziali del perno, le viti a esagono incassato e i dadi di bloccaggio flangiati (Figura 15) dai telai portanti degli apparati di taglio (apparati di taglio 2 e 3) posteriori; fate riferimento a Figura 12.

Abbassate completamente tutti i bracci di sollevamento.
Rivestite l'albero del telaio portante di grasso pulito (Figura 16).

Per gli elementi di taglio anteriori, infilate un elemento di taglio sotto il braccio di sollevamento mentre inserite l'albero del telaio portante nella forcella di articolazione del braccio di sollevamento (Figura 16). Assicuratevi che la rondella di spinta sia in posizione corretta sull'albero del telaio portante.
Fissate l’albero del telaio portante alla forcella del braccio di sollevamento con l'acciarino (Figura 16).
Per bloccare lo sterzo sugli apparati di taglio, fissate la forcella al telaio portante con il perno di ritenuta (Figura 17).

Note: Lo sterzo bloccato è consigliato per il taglio su pendii.
Eseguite la seguente operazione sugli elementi di taglio posteriori quando l'altezza di taglio è superiore a 19 mm.
Togliete la coppiglia ad anello e la rondella che fissano l'albero di articolazione al braccio di sollevamento ed estraete l'albero dal braccio di sollevamento (Figura 18).

Inserite la forcella del braccio di sollevamento nell'albero del telaio portante (Figura 16).
Inserite l'albero del braccio di sollevamento nel braccio di sollevamento e fissatelo con la rondella e la coppiglia ad anello (Figura 18).
Fissate la catena del braccio di sollevamento alla staffa della catena, usando il perno di ritenuta (Figura 19).
Note: Utilizzate il numero di maglie della catena riportato nel Manuale dell'operatore degli elementi di taglio.

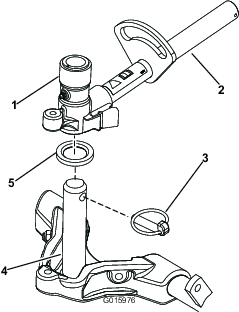
Spalmate del grasso pulito sull'albero scanalato del motore del cilindro.
Lubrificate con olio l'o-ring del motore del cilindro e montatelo sulla flangia del motore.
Montate il motore ruotato in senso orario in modo che le flange del motore non tocchino i bulloni (Figura 20).

Ruotate il motore in senso antiorario fin quando le flange non agganciano i bulloni, quindi serrate i bulloni.
Important: Verificate che i flessibili del motore del cilindro non siano attorcigliati, piegati o rischino di venire compressi.
La molla di compensazione per il manto erboso (Figura 21) trasferisce inoltre il peso dal rullo anteriore a quello posteriore. per contribuire a ridurre l'ondulazione del manto erboso, detta anche fluttuazione o bobbing.
Important: Per eseguire la messa a punto della molla, lasciate l'apparato di taglio montato sul trattorino, in posizione di marcia avanti e abbassato a terra.
Verificate che la coppiglia sia montata nel foro posteriore dell'asta della molla (Figura 21).
Note: Nell'effettuare la manutenzione dell'apparato di taglio, spostate la coppiglia verso il foro dell'asta della molla, accanto alla molla di compensazione per il manto erboso.

Serrate i dadi esagonali sul lato anteriore dell'asta della molla, finché la lunghezza compressa della molla non è di 15,9 cm; fate riferimento a Figura 21.
Note: Per lavorare su terreno accidentato riducete la lunghezza della molla di 13 mm. Le ondulazioni del terreno saranno seguite leggermente meno fedelmente.
Note: Resettate l'impostazione di compensazione del manto erboso se l'altezza di taglio o l'aggressività di taglio cambiano.
Parti necessarie per questa operazione:
| Cavalletto dell'apparato di taglio | 1 |
Quando occorre inclinare l'elemento di taglio per accedere alla controlama o al cilindro, sostenete la parte posteriore dell'elemento con il cavalletto in modo che i dadi sul retro delle viti di regolazione della barra di appoggio non poggino sul piano di lavoro (Figura 22).

Fissate il cavalletto alla staffa della catena, usando il perno di ritenuta (Figura 23).

Ingrassate la macchina prima dell'uso, perché sia adeguatamente lubrificata. Vedere Lubrificazione. In caso di mancato corretto ingrassaggio della macchina, si verificherà l'avaria prematura di componenti importanti.
Controllate il livello del lubrificante nell'assale posteriore prima di avviare il motore per la prima volta; fate riferimento a Controllo del livello dell'olio dell'assale posteriore.
Controllate il livello del fluido idraulico prima di avviare il motore per la prima volta; fate riferimento a Controllo del livello del fluido idraulico.
Controllate il livello dell'olio motore prima e dopo aver avviato il motore per la prima volta; fate riferimento a Controllo del livello dell'olio motore.
Parti necessarie per questa operazione:
| Barra di riferimento | 1 |
Usate la barra di riferimento per mettere a punto l'apparato di taglio. Le operazioni di messa a punto sono riportate nel Manuale dell’operatore degli elementi di taglio (Figura 24).

I 2 pedali dei freni (Figura 25) azionano i singoli freni delle ruote per agevolare la guida in curva e contribuire al miglioramento della trazione su pendii.
Il perno di bloccaggio dei pedali (Figura 25) collega i pedali per l'inserimento del freno di stazionamento.
Per innestare il freno di stazionamento (Figura 25) connettete insieme i pedali tramite il fermo di bloccaggio pedali, premete a fondo il pedale del freno di destra mentre innestate la punta del pedale. Per rilasciare il freno di stazionamento, premete uno dei pedali del freno finché il fermo non si ritira.

Il pedale di comando della trazione (Figura 25) controlla il funzionamento in marcia avanti e retromarcia. Premete la parte superiore del pedale per fare marcia avanti, e la parte inferiore per la retromarcia. La velocità di trasferimento è determinata dal grado di pressione sul pedale. La velocità di trasferimento massima si ottiene premendo a fondo il pedale con l'acceleratore in posizione FAST.
Per fermare la macchina, riducete la pressione sul pedale della trazione e lasciate che ritorni al centro.
Per inclinare il volante verso di voi premete il pedale (Figura 25) e tirate il volante verso di voi, nella posizione più comoda, poi rilasciate il pedale.
Quando è alzato, il limitatore della velocità di tosatura (Figura 26) controlla la velocità di tosatura e consente l'innesto degli elementi di taglio. Ciascun distanziale regola la velocità di tosatura di 0,8 km/h. Quanto più distanziali si trovano sopra il bullone, tanto più lenta è la macchina. Per il trasferimento, e per ottenere la massima velocità della macchina, spostate indietro il limitatore di velocità di tosatura.
Regolate la vite (o viti) (Figura 26) per ridurre la distanza di abbassamento del pedale della trazione e limitare la velocità in marcia avanti o retromarcia.
Important: La vite di limitazione della velocità deve arrestare il pedale della trazione prima che la pompa raggiunga la corsa massima; in caso contrario la pompa può danneggiarsi.

Questa leva (Figura 27) alza e abbassa gli elementi di taglio, ed avvia e arresta i cilindri quando sono attivati per la tosatura. Non è possibile abbassare gli apparati di taglio quando la leva di tosatura/trasferimento è in posizione trasferimento.
L'interruttore di accensione (Figura 27) ha 3 posizioni: SPEGNIMENTO, ACCENSIONE/PRERISCALDAMENTO e AVVIAMENTO.
Il display LCD InfoCenter mostra i dati relativi alla macchina, come lo stato operativo, le varie diagnostiche e altre informazioni sulla macchina stessa (Figura 27).
L'interruttore PDF (Figura 27) ha 2 posizioni: START e STOP. Spingete in avanti il pulsante PDF per innestare le lame dell'apparato di taglio. Spingete indietro il pulsante per disinnestare le lame dell'apparato di taglio.

L'interruttore di regime del motore (Figura 27) ha 2 modalità che consentono di modificare la velocità del motore stesso. Agendo temporaneamente sull'interruttore, si può aumentare o diminuire il regime del motore con incrementi di 100 giri/min. Tenendo premuto l'interruttore, il motore passa automaticamente al minimo superiore o inferiore, a seconda dell'estremità dell'interruttore premuta.
Girate l'interruttore in basso per accendere i fari (Figura 27).
Utilizzate la presa elettrica (Figura 28) per alimentare accessori elettrici optional a 12V.

Usate il supporto cesto (Figura 29) come portaoggetti.

Utilizzate le apposite leve per la lappatura dei cilindri (Figura 30).


Spostate il sedile avanti o indietro tirando la leva (Figura 31).
Ruotate la manopola per regolare l'inclinazione del bracciolo del sedile (Figura 31).
Spostate la leva per regolare l'inclinazione dello schienale (Figura 31).
Indica quando il sedile è regolato secondo il peso dell'operatore (Figura 31). La regolazione dell'altezza viene effettuata posizionando la sospensione all'interno dei parametri della zona verde.
Regolate in base al peso dell'operatore (Figura 31). Alzate la leva per aumentare la pressione dell'aria e abbassate la leva per diminuire la pressione dell'aria. La regolazione corretta si ottiene quando l'indicatore del peso è nella zona verde.
Il display LCD InfoCenter mostra le informazioni relative alla macchina, quali lo stato di funzionamento, diagnostica e altre informazioni pertinenti (Figura 32). Sono presenti uno splash screen e una schermata principale dell'InfoCenter. In qualsiasi momento potete passare dalla schermata di caricamento alla schermata principale e viceversa premendo uno dei pulsanti dell’InfoCenter e selezionando la freccia di direzione appropriata.

Pulsante sinistro, pulsante indietro/accesso menu – premete il pulsante per accedere ai menu InfoCenter e per tornare indietro da qualsiasi menu in uso al momento.
Pulsante centrale – utilizzate il pulsante per scorrere i menu.
Pulsante destro – Utilizzate il pulsante per aprire un menu in cui una freccia a destra indica un contenuto supplementare.
Inversione manuale della ventola – attivata premendo contemporaneamente i pulsanti sinistro e destro
Segnale acustico – attivato quando si abbassano i piatti di taglio o per indicazioni o guasti.
Note: Lo scopo di ogni pulsante può variare a seconda della necessità del momento. Ogni pulsante è contrassegnato con un'icona che ne visualizza la funzione corrente.
| SERVICE DUE | Indica quando occorre effettuare la manutenzione programmata |
![]() | Icona informazioni |
![]() | Contaore |
![]() | Massima |
![]() | Minima |
![]() | Inversione della ventola – Indica quando la ventola è invertita |
![]() | Il riscaldatore della presa d'aria è attivo |
![]() | Alzare gli apparati di taglio |
![]() | Abbassare gli apparati di taglio |
![]() | L'operatore deve essere seduto alla guida |
![]() | Indicatore del freno di stazionamento – indica quando il freno di stazionamento è inserito |
![]() | Identifica la velocità come alta |
![]() | Folle |
![]() | Identifica la velocità come bassa |
![]() | Temperatura del refrigerante – Indica la temperatura del refrigerante del motore in °C o °F |
![]() | Temperatura (calda) |
![]() | Rifiutato o non permesso |
![]() | La PDF è innestata |
![]() | Avviamento del motore |
![]() | Arresto o spegnimento |
![]() | Motore |
![]() | Interruttore a chiave |
![]() | Indica quando gli apparati di taglio si stanno abbassando |
![]() | Indica quando gli apparati di taglio si stanno sollevando |
![]() | Codice di accesso PIN |
![]() | Temperatura dell'olio idraulico - indica la temperatura dell'olio idraulico |
![]() | Bus CAN |
![]() | InfoCenter |
![]() | Cattivo stato o non funzionante |
![]() | Lampada |
![]() | Uscita del controller TEC o cavo di controllo preassemblato |
![]() | Alta: oltre la velocità consentita |
![]() | Bassa: al di sotto della velocità consentita |
/![]() | Fuori velocità |
![]() | Interruttore |
![]() | L'operatore deve rilasciare l'interruttore |
![]() | L'operatore deve passare allo stato indicato |
| Spesso i simboli sono combinati per formare frasi. Alcuni esempi sono mostrati sotto. | |
![]() | L'operatore dovrebbe portare la macchina in folle |
![]() | Avviamento del motore negato |
![]() | Spegnimento del motore |
![]() | Refrigerante del motore troppo caldo |
![]() | Olio idraulico troppo caldo |
![]() | Sedersi o azionare il freno di stazionamento |
Per accedere al sistema di menu InfoCenter, premete il pulsante di accesso ai menu dalla schermata principale. Si passerà così al menu principale. Consultate le tabelle seguenti per un riepilogo delle opzioni disponibili nei menu:
| Menu principale | |
| Voce menu | Descrizione |
| Faults | Il menu Faults (Guasti) contiene un elenco dei guasti recenti della macchina. Consultate il Manuale di manutenzione o il distributore Toro autorizzato per maggiori informazioni sul menu Guasti e sulle informazioni in esso contenute. |
| Servizio | Il menu Servizio contiene dati sulla macchina, come il contatore delle ore di utilizzo e altri valori analoghi. |
| Diagnostica | Il menu Diagnostics (Diagnostica) mostra lo stato di ogni interruttore della macchina, del sensore e dell'uscita di controllo. Si può utilizzare per risolvere determinate problematiche in quanto indica rapidamente i comandi della macchina attivati e disattivati. |
| Settings | Il menu Settings (Impostazioni) consente di personalizzare e modificare le opzioni di configurazione sul display InfoCenter. |
| About | Il menu About (Informazioni) elenca il numero del modello, il numero di serie e la versione software della macchina. |
| Manutenzione | |
| Voce menu | Descrizione |
| Hours | Riporta il numero totale di ore di funzionamento di macchina, motore e PDF, nonché il numero di ore di trasporto della macchina e la manutenzione prevista. |
| Counts | Riporta i vari conteggi a cui è stata sottoposta la macchina. |
| Diagnostica | |
| Voce menu | Descrizione |
| Cutting Units | Indica entrate, qualificatori e uscite per sollevare e abbassare gli apparati di taglio. |
| Hi/Low Range | Indica entrate, qualificatori e uscite per guidare in modalità di trasporto. |
| PTO | Indica entrate, qualificatori e uscite per abilitare il circuito PDF. |
| Engine Run | Indica entrate, qualificatori e uscite per avviare il motore. |
| Backlap | Indica entrate, qualificatori e uscite per azionare la funzione di lappatura. |
| Impostazioni | |
| Voce menu | Descrizione |
| Units | Imposta le unità di misura usate nell'InfoCenter. Le opzioni del menu sono Inglese o Metrico |
| Language | Imposta la lingua usata nell'InfoCenter*. |
| LCD Backlight | Imposta la luminosità del display LCD. |
| LCD Contrast | Imposta il contrasto del display LCD. |
| Front Backlap Reel Speed | Controlla la velocità dei cilindri anteriori in modalità lappatura. |
| Rear Backlap Reel Speed | Controlla la velocità dei cilindri posteriori in modalità lappatura. |
| Protected Menus | Consente al supervisore/meccanico di accedere ai menu protetti inserendo un codice di accesso. |
| Auto Idle | Controlla la durata consentita prima di riportare il motore al minimo quando la macchina è ferma. |
| Numero lame | Controlla il numero di lame sul cilindro per la velocità dei cilindri. |
| Mow Speed | Controlla la velocità di trasferimento per determinare la velocità dei cilindri. |
| Height of cut (HOC) | Controlla l'altezza di taglio (HOC) per determinare la velocità dei cilindri. |
| F Reel RPM | Visualizza la posizione della velocità dei cilindri calcolata per i cilindri anteriori. I cilindri possono essere anche regolati manualmente. |
| R Reel RPM | Visualizza la posizione della velocità dei cilindri calcolata per i cilindri posteriori. I cilindri possono essere anche regolati manualmente. |
* Solo il testo “rivolto all'operatore” è tradotto. Le schermate Guasti, Servizio e Diagnostica sono “rivolte alla manutenzione”. I titoli saranno disponibili nella lingua selezionate mentre le voci di menu in inglese.
| Informazioni | |
| Voce menu | Descrizione |
| Model | Elenca il numero di modello della macchina. |
| SN | Elenca il numero di serie della macchina. |
| Machine Controller Revision | Elenca la revisione software del controller master. |
| InfoCenter Revision | Elenca la versione software dell'InfoCenter. |
| CAN Bus | Elenca lo stato del bus di comunicazione della macchina. |
Il menu Impostazioni di InfoCenter prevede 5 impostazioni di configurazione operativa regolabili: Numero di lame, Velocità di tosatura, Altezza di taglio, Regime cilindro ant. e Regime cilindro post. Tali impostazioni sono bloccabili utilizzando il Menu protetto.
Note: Al momento della consegna, la password iniziale è programmata dal distributore.
Dal Menu principale scorrete fino al menu Impostazioni e premete il pulsante destro.
Dal menu Impostazioni scorrete fino al Menu protetto e premete il pulsante destro.
Per inserire il codice di accesso, utilizzate il pulsante centrale per impostare la prima cifra poi premete il pulsante destro per passare alla cifra successiva.
Utilizzate il pulsante centrale per impostare la seconda cifra poi premente il pulsante destro per passare alla cifra successiva.
Utilizzate il pulsante centrale per impostare la terza cifra poi premente il pulsante destro per passare alla cifra successiva.
Utilizzate il pulsante centrale per impostare la quarta cifra poi premete il pulsante destro.
Premete il pulsante centrale per inserire il codice.
Se il codice è stato accettato e il menu Protected è stato sbloccato, il PIN sarà visualizzato nell'angolo in alto a destra della schermata.
La possibilità di visualizzare e modificare le impostazioni nel menu Protected può essere modificata. Dopo l'accesso al menu Protected scorrete fino a Protezione impostazioni. Con il pulsante destro il passaggio della voce Protezione impostazioni su Spegnimento permetterà di visualizzare e modificare le impostazioni del menu Protected senza inserire il codice di accesso. Il passaggio della voce Protezione impostazioni su Accensione nasconderà le opzioni protette richiedendo perciò l'inserimento del codice di accesso per modificare le impostazioni nel menu Protected. Dopo avere impostato il codice di accesso, spegnete e riaccendete l'interruttore a chiave per abilitare e salvare la funzionalità.
Note: Se dimenticate il codice di accesso o lo inserite erroneamente, contattate il distributore a scopo di assistenza.
Nel menu Settings (Impostazioni) scorrete fino a Auto Idle (Minimo automatico).
Premete il tasto destro per modificare la durata del minimo automatico tra spegnimento, 8S, 10S, 15S, 20S e 30S.
Nel menu Impostazioni, scorrete fino a N. lame
Premete il tasto destro per modificare il numero di lame tra 5, 8 o 11 lame.
Nel menu Impostazioni, scorrete fino a Velocità di tosatura.
Premete il pulsante destro per selezionare la velocità di tosatura.
Utilizzate il pulsante centrale destro per selezionare la velocità di tosatura adeguata da impostare sul limitatore della velocità di tosatura meccanico sul pedale di trazione.
Premete il pulsante sinistro per uscire dalla velocità di tosatura e salvare l'impostazione.
Nel menu Impostazioni, scorrete fino a HOC.
Premete il pulsante destro per selezionare l'altezza di taglio.
Utilizzate il pulsante centrale destro per selezionare la corretta impostazione dell'altezza di taglio.
Note: Se non viene visualizzata l'impostazione esatta, selezionate l'impostazione dell'altezza di taglio più prossima nell'elenco visualizzato.
Premete il pulsante sinistro per uscire dall'altezza di taglio e salvare l'impostazione.
Sebbene le velocità dei cilindri anteriore e posteriore si calcolino inserendo il numero di lame, la velocità di tosatura e l'altezza di taglio nell'InfoCenter, l'impostazione è modificabile manualmente per adattarsi alle diverse condizioni di tosatura.
Scorrete fino a Regime cilindro ant., Regime cilindro post., o entrambe.
Premete il pulsante destro per modificare il valore della velocità di tosatura. Sebbene l'impostazione della velocità sia variata, il display continua a visualizzare la velocità dei cilindri calcolata in base a conteggio delle lame, velocità di tosatura e altezza di taglio inserite in precedenza, visualizzando anche il nuovo valore.
Note: Specifiche e disegno sono soggetti a variazione senza preavviso.
| Larghezza di taglio, apparati di taglio da 69 cm | 307 cm |
| Larghezza di taglio, apparati di taglio da 81 cm | 320 cm |
| Larghezza totale, apparati di taglio abbassati da 69 cm | 345 cm |
| Larghezza totale, apparati di taglio abbassati da 81 cm | 358 cm |
| Larghezza totale con gli apparati di taglio sollevati (trasferimento) | 239 cm |
| Lunghezza totale | 370 cm |
| Altezza con rollbar di protezione | 220 cm |
| Carreggiata anteriore | 229 cm |
| Carreggiata posteriore | 141 cm |
| Interasse | 171 cm |
| Peso netto (senza apparati di taglio, né fluidi) | 1.574 kg |
È disponibile una gamma di attrezzi ed accessori approvati da Toro per l'impiego con la macchina, per ottimizzare ed ampliare le sue applicazioni. Contattate il vostro rivenditore o distributore autorizzato.
Per proteggere nel modo migliore i vostri investimenti e mantenere le prestazioni ottimali della vostra attrezzatura per la manutenzione del verde, affidatevi ai ricambi Toro. Per quanto riguarda l'affidabilità, Toro fornisce ricambi concepiti per le specifiche tecniche esatte delle proprie attrezzature. Per la massima tranquillità, pretendete ricambi originali Toro.
Note: Stabilite i lati sinistro e destro della macchina rispetto alla normale posizione di guida.
Se lasciate la chiave nell'interruttore di accensione, qualcuno potrebbe accidentalmente avviare il motore e ferire gravemente voi od altre persone.
Togliete la chiave di accensione prima di ogni intervento di manutenzione.
Leggete attentamente tutte le istruzioni e i simboli contenuti nella sezione sulla sicurezza. Queste informazioni contribuiranno alla protezione vostra e di altre persone.
L'erba bagnata e pendenze ripide possono causare scivolate e la perdita di controllo del tosaerba.
Se le ruote cadono oltre i bordi dell'area di lavoro, possono provocare il ribaltamento della macchina e causare gravi infortuni, la morte o l'annegamento.
Leggete le istruzioni e le avvertenze relative alla protezione antiribaltamento, ed osservatele.
Per non perdere controllo ed evitare il rischio di ribaltamento:
non tosate nelle adiacenze di scarpate o acqua;
non utilizzate su pendenze superiori a quanto specificato per il vostro modello di macchina;
rallentate sui pendii, ed usate la massima cautela;
evitate curve brusche e rapidi cambiamenti di velocità.
Questa macchina produce livelli acustici che possono causare la perdita dell'udito in caso di lunghi periodi di esposizione al rumore.
Quando utilizzate questa macchina usate la protezione per l'udito.

| Cadenza di manutenzione | Procedura di manutenzione |
|---|---|
| Prima di ogni utilizzo o quotidianamente |
|
Al momento della fornitura la coppa del motore contiene dell'olio, il cui livello deve tuttavia essere controllato prima e dopo il primo avvio del motore.
La coppa ha una capacità di circa 9,5 litri con il filtro.
Usate un olio motore di alta qualità rispondente alla seguente specifica:
grado di classifica API: CH-4, CI-4, o superiore.
Olio preferito: SAE 15W-40, sopra 18 °C
Olio alternativo: SAE 10W-30 o 5W-30 (tutte le temperature)
Note: L'olio motore Toro Premium è reperibile dal vostro distributore con viscosità 15W-40 o 10W-30. Vedere i numeri delle parti nel catalogo ricambi.
Note: Il momento migliore per controllare l'olio del motore è a motore freddo prima che venga avviato per la giornata. Se è già stato avviato, lasciate che l'olio ritorni nel pozzetto per almeno 10 minuti prima di controllarlo. Se il livello dell'olio corrisponde o è inferiore al segno di aggiunta (add) sull'asta, rabboccate l'olio per portarne il livello al segno di pieno. Non riempite troppo il motore. Se il livello dell'olio è tra le tacche di pieno e aggiunta, non è necessario rabboccare l'olio.
Parcheggiate la macchina su terreno pianeggiante.
Sbloccate i fermi e aprite il cofano del motore (Figura 34).

Togliete l'asta di livello, pulitela strofinandola, rimettetela nel tubo ed estraetela di nuovo.
Il livello dell'olio deve trovarsi tra i parametri di sicurezza (Figura 35).

Se l'olio non raggiunge i parametri di sicurezza, togliete il tappo di riempimento (Figura 36) e aggiungete olio finché il livello non raggiunge la tacca Pieno.
Important: Non riempite troppo il motore.

Note: Quando utilizzate un olio differente dal precedente, drenate completamente l'olio usato dalla coppa prima di aggiungere quello nuovo.
Montate il tappo dell'olio e l'asta di livello.
Chiudete il coperchio del motore e fissatelo con i fermi.
| Cadenza di manutenzione | Procedura di manutenzione |
|---|---|
| Prima di ogni utilizzo o quotidianamente |
|
Controllate il livello del refrigerante all'inizio di ogni giornata di lavoro. L'impianto ha una capacità di 12,3 litri.
Togliete il tappo del radiatore con cautela.
Se il motore è rimasto in funzione, il refrigerante nel radiatore sarà caldo e sotto pressione e può fuoriuscire provocando ustioni.
Non aprite il tappo del radiatore quando il motore gira.
Aprite il tappo del radiatore con un cencio, agendo lentamente per lasciare fuoriuscire il vapore.

Controllate il livello del refrigerante nel radiatore.
Note: Il radiatore deve essere riempito fino alla parte superiore del collo del bocchettone ed il serbatoio di espansione fino al segno di pieno (Figura 37).
Se il livello del refrigerante è basso, aggiungete una miscela 50/50 di acqua e anticongelante glicol etilico.
Note: Non usate solo acqua o refrigeranti a base di alcol o metanolo.
Montate il tappo del radiatore e quello del serbatoio di espansione.
Capacità del serbatoio del carburante: 83 litri
Utilizzate solo gasolio pulito fresco con contenuto di zolfo molto basso (<15 ppm), in conformità alle specifiche ASTM D975 o EN 590. La taratura di cetano minima deve essere pari a 40. Acquistate il carburante in quantità tali che ne consentano il consumo entro 180 giorni in modo da garantirne la freschezza.
Important: L'utilizzo di gasolio con contenuto di zolfo non molto basso danneggerà il sistema di emissioni del motore.
Utilizzate gasolio per uso estivo (n. 2-D) a temperature superiori a -7 °C e per uso invernale (n. 1-D o miscela n. 1-D/2-D) a temperature inferiori a -7 °C. L'uso di carburante per uso invernale basse temperature assicura un punto di infiammabilità inferiore e caratteristiche di flusso a freddo che agevolano l'avvio e riducono la chiusura del filtro del carburante.
L'uso del carburante per uso estivo a temperature superiori a -7 °C contribuisce a una più lunga durata della pompa del carburante e a una maggiore potenza rispetto al carburante per uso invernale.
Important: Non usate kerosene o benzina al posto del gasolio. L'inosservanza di questo avviso provocherà danni al motore.
Questa macchina può anche funzionare con una miscela di biodiesel fino a B20 (20% biodiesel, 80% gasolio). La parte di gasolio deve avere un contenuto di zolfo basso o molto basso. Adottate le seguenti precauzioni:
La parte di biodiesel deve essere conforme alle norme ASTM D6751 o EN 14214.
La miscela di carburante deve essere conforme alle norme ASTM D975 o EN 590.
Le superfici verniciate possono essere danneggiate dalle miscele di biodiesel.
In caso di condizioni atmosferiche fredde utilizzate miscele B5 (contenuto di biodiesel pari al 5%) o inferiori.
Monitorate le guarnizioni di tenuta, i flessibili e le guarnizioni a contatto con il carburante, poiché con il tempo potrebbero degradarsi.
Dopo la conversione a miscele di biodiesel può verificarsi una chiusura del filtro del carburante.
Per ulteriori informazioni sul biodiesel contattate il vostro distributore.
Se ingerito, il carburante è nocivo o micidiale. L'esposizione a lungo termine ai vapori di carburante può causare gravi danni e malattie.
Evitate di respirare a lungo i vapori.
Tenete il viso lontano dall'ugello e dall'apertura del serbatoio di carburante o del condizionatore.
Tenete il carburante lontano dagli occhi e dalla pelle.
In determinate condizioni, il carburante è estremamente infiammabile ed altamente esplosivo. Un incendio o un'esplosione causati dal carburante possono ustionare voi ed altre persone, e provocare danni.
Fate il pieno di carburante all'aria aperta, a motore freddo, e tergete il carburante versato.
Non riempite mai il serbatoio del carburante all'interno di un rimorchio cintato.
Non fumate mai quando maneggiate il carburante, e state lontani da fiamme libere o dove i fumi di carburante possano essere accesi da una scintilla.
Conservate il carburante in taniche approvate, e tenetelo lontano dalla portata dei bambini. Acquistate carburante in modo da utilizzarla entro 180 giorni.
Non utilizzate la macchina senza l'impianto di scarico completo, o se quest'ultimo non è in perfette condizioni d'impiego.
Durante il rifornimento di carburante, in alcune condizioni vengono rilasciate cariche elettrostatiche che possono sprigionare scintille e incendiare i vapori di carburante. Un incendio o un'esplosione causati dal carburante possono ustionare voi ed altre persone, e provocare danni.
Prima del rabbocco, posizionate sempre le taniche di carburante sul pavimento, lontano dal veicolo.
Non riempite le taniche di carburante all'interno di un veicolo oppure su un camion o rimorchio, in quanto il tappetino del rimorchio o le pareti di plastica del camion possono isolare la tanica e rallentare la dispersione delle cariche elettrostatiche.
Se possibile, scaricate la macchina dal camion o dal rimorchio ed effettuate il rifornimento con le ruote al suolo.
Qualora ciò non sia possibile, rabboccate l'apparecchiatura sul camion o sul rimorchio mediante una tanica portatile, anziché con una normale pompa del carburante.
Qualora sia necessario utilizzare una pompa del carburante, tenete sempre l'ugello a contatto con il bordo del serbatoio del carburante oppure sull'apertura della tanica fino al termine del rifornimento.
Parcheggiate la macchina su terreno pianeggiante.
Utilizzando un panno pulito, pulite attorno al tappo del serbatoio del carburante.
Togliete il tappo dal serbatoio carburante (Figura 38).

Riempite di carburante il serbatoio finché il livello non raggiunge la base del collo del bocchettone.
Dopo aver riempito il serbatoio, serrate a fondo il tappo.
Note: Se possibile, riempite il serbatoio del carburante ogni volta che utilizzate la macchina. In tal modo ridurrete al minimo l'accumulo di condensa all'interno del serbatoio.
| Cadenza di manutenzione | Procedura di manutenzione |
|---|---|
| Prima di ogni utilizzo o quotidianamente |
|
Il serbatoio viene riempito in fabbrica con circa 28,4 litri di fluido idraulico di prima qualità. Controllate il livello del fluido idraulico prima di avviare il motore per la prima volta, ed in seguito ogni giorno.
Viene raccomandato il seguente fluido di ricambio: Toro Premium All Season Hydraulic Fluid (fluido idraulico per tutte le stagioni, reperibile in fustini di 19 litri o in contenitori di 208 litri. Vedere i numeri delle parti nel catalogo ricambi o rivolgersi al distributore Toro).
Fluidi alternativi: qualora il fluido Toro non sia disponibile, si potranno utilizzare altri fluidi convenzionali a base di petrolio, purché abbiano tutti le seguenti proprietà materiali e caratteristiche industriali. Verificate con il fornitore che il fluido soddisfi tali specifiche.
Note: Toro declina ogni responsabilità per danni causati dall'inadeguata sostituzione, pertanto si raccomanda l'uso di prodotti di marche aventi una buona reputazione, che rispondano delle proprie raccomandazioni.
| Fluido idraulico antiusura, alto indice di viscosità e basso punto di scorrimento, ISO VG 46 Multigrade | |||
| Proprietà materiali: | |||
| Viscosità, ASTM D445 | cSt a 40 °C da 44 a 48cSt a 100 °C da 7,9 a 9,1 | ||
| Indice di viscosità, ASTM D2270 | 140 o superiore (l'alto indice di viscosità indica un fluido a peso multiplo) | ||
| Punto di scorrimento, ASTM D97 | da -37 °C a -45 °C | ||
| FZG, stadio di fallimento | 11 o migliore | ||
| Contenuto d'acqua (nuovo fluido) | 500 ppm (max) | ||
| Caratteristiche industriali: | |||
| Vickers I-286-S, Vickers M-2950-S, Denison HF-0, Vickers 35 VQ 25 (Eaton ATS373-C) | |||
I fluidi idraulici idonei devono essere specificati per macchinario mobile (in contrasto con l'utilizzo di impianto industriale), tipo peso multiplo, con pacchetto additivo antiusura ZnDTP o ZDDP (fluido non di tipo senza cenere).
Important: Il fluido multigrado ISO VG 46 ha dimostrato ottime prestazioni a temperature ambientali estremamente diverse. Il fluido idraulico ISO VG 68 può offrire prestazioni migliori per lavori svolti a temperature ambiente decisamente elevate (dai 18 °C ai 49 °C).
Fluido idraulico biodegradabile di qualità premium Mobil EAL EnviroSyn 46H
Important: Mobil EAL EnviroSyn 46H è l'unico fluido biodegradabile sintetico approvato da Toro. Questo fluido è compatibile con gli elastomeri utilizzati negli impianti idraulici Toro ed è adatto ad una vasta gamma di temperature. Questo fluido è compatibile con fluidi tradizionali; tuttavia, per la massima biodegradabilità e la migliore performance, l'impianto idraulico deve essere lavato accuratamente per eliminare il fluido tradizionale. Il fluido è disponibile in taniche di 19 litri o in fusti di 208 litri dal distributore Mobil di zona.
Important: Molti fluidi idraulici sono praticamente incolori, e rendono difficile il rilevamento di fuoriuscite. Per il fluido idraulico è disponibile un additivo con colorante rosso in confezioni da 20 ml. Una confezione è sufficiente per 15–22 litri di fluido idraulico. Per ottenerlo, ordinate il n. cat. 44-2500 presso il Distributore Toro autorizzato di zona.
Parcheggiate la macchina su una superficie pianeggiante, abbassate gli apparati di taglio, spegnete il motore e togliete la chiave.
Pulite attorno al collo del bocchettone e del tappo del serbatoio idraulico (Figura 39).

Togliete il tappo dal collo del bocchettone.
Togliete l'asta di livello dal collo del bocchettone e pulitela strofinandola con un cencio pulito.
Inserite l'asta di livello nel collo del bocchettone, quindi estraetela e controllate il livello del fluido.
Note: Il livello del fluido deve essere compreso tra le 2 tacche sull'asta di livello.
Se il livello è basso, rabboccate con olio adatto fino a portarlo alla tacca superiore.
Montate l'asta di livello e il tappo sul collo del bocchettone.
| Cadenza di manutenzione | Procedura di manutenzione |
|---|---|
| Prima di ogni utilizzo o quotidianamente |
|
Gli pneumatici vengono sovragonfiati per la spedizione. quindi occorre eliminare dell’aria per ridurre la pressione. La pressione giusta dell'aria negli pneumatici è di 0,83–1,03 bar. Controllate la pressione degli pneumatici ogni giorno.
Important: Per garantire un'ottima qualità di taglio e le prestazioni previste per questa macchina, mantenete la pressione raccomandata in tutti gli pneumatici. Non usate una insufficiente pressione di gonfiaggio degli pneumatici.
Important: L'impianto di alimentazione deve essere spurgato nei seguenti casi:
quando il motore ha cessato di funzionare a causa di mancanza di carburante;
quando è stato eseguito un intervento di manutenzione sui componenti dell'impianto di alimentazione.
Togliete il piede dal pedale di comando della trazione e assicuratevi che sia in FOLLE.
Note: Verificate che il freno di stazionamento sia inserito.
Portate l'interruttore del regime del motore in posizione di minima inferiore.
Girate la chiave di accensione in posizione di FUNZIONAMENTO.
Note: Si accende la spia della candela a incandescenza.
Quando l'intensità della spia della candela a incandescenza si affievolisce, girate la chiave di accensione in posizione Start.
Rilasciate immediatamente la chiave non appena il motore si avvia, e lasciatela ritornare in posizione di marcia Run.
Regolate il regime del motore.
Important: Non fate girare il motorino di avviamento per più di 15 secondi per volta perché può danneggiarsi. Se il motore non si avvia dopo 15 secondi, girate la chiave in posizione Off, controllate nuovamente la posizione dei comandi e le procedure, attendete altri 15 secondi e ripetete la procedura di avviamento.
Se la temperatura è inferiore a -7 °C, è possibile azionare il motorino d'avviamento per 30 secondi seguiti da 60 secondi in posizione Off per due tentativi.
Il contatto con parti in movimento può causare infortuni.
Prima di controllare che non vi siano perdite d'olio, parti allentate o altri problemi, spegnete il motore e attendete che tutte le parti in movimento si siano fermate.
Important: Al termine di un'operazione a pieno carico, lasciate girare il motore alla minima per cinque minuti prima di spegnerlo. Ciò permette al turbocompressore di raffreddarsi prima di spegnere il motore. La mancata osservanza di questa istruzione può causare l'avaria del turbocompressore.
Note: Abbassate gli apparati di taglio a terra ogni volta che parcheggiate la macchina, per scaricare il carico idraulico dal sistema, impedendo l'usura delle parti del sistema e l'abbassamento accidentale degli apparati stessi.
Riportate la velocità del motore alla minima inferiore.
Spostate l’interruttore PDF in posizione di SPEGNIMENTO.
Inserite il freno di stazionamento.
Girate la chiave di accensione in posizione OFF.
Togliete la chiave dall'interruttore per evitare l'avviamento accidentale del motore.
| Cadenza di manutenzione | Procedura di manutenzione |
|---|---|
| Prima di ogni utilizzo o quotidianamente |
|
Se i microinterruttori di sicurezza sono scollegati o guasti, la macchina può muoversi improvvisamente e causare incidenti.
Non manomettete i microinterruttori di sicurezza.
Ogni giorno, controllate il funzionamento dei microinterruttori e prima di azionare la macchina sostituite gli interruttori guasti.
L'impianto elettrico della macchina è dotato di microinterruttori di sicurezza. Questi microinterruttori sono previsti per arrestare il motore quando l'operatore scende dal sedile e viene premuto il pedale della trazione. L'operatore può tuttavia lasciare il sedile mentre il motore è acceso e il pedale della trazione è in folle. Sebbene il motore resti acceso quando l'interruttore PDF è disinnestato e il pedale di comando della trazione è rilasciato, si consiglia vivamente di spegnere il motore prima di scendere dal sedile.
Per controllare il funzionamento dei microinterruttori di sicurezza eseguite le seguenti operazioni.
Guidate lentamente la macchina in una zona ampia e abbastanza aperta.
Abbassate gli apparati di taglio, spegnete il motore ed inserite il freno di stazionamento.
Sedetevi sul sedile e premete il pedale di comando della trazione.
Cercate di avviare il motore,
Note: che non deve girare. Se gira, significa che i microinterruttori di sicurezza non funzionano correttamente ed è necessario riparare il guasto prima di usare la macchina.
Sedetevi sul sedile ed avviate il motore.
Alzatevi dal sedile e spostate l'interruttore PDF in posizione ON.
Note: La PDF non deve innestarsi. Se s'innesta significa che i microinterruttori di sicurezza non funzionano correttamente, ed è necessario riparare il guasto prima di usare la macchina.
Sedetevi sul sedile, inserite il freno di stazionamento e avviate il motore.
Togliete il pedale della trazione dalla posizione di FOLLE.
Note: Il motore deve spegnersi. Se non si spegne, significa che il sistema di sicurezza non funziona correttamente, ed è necessario riparare il guasto prima di usare la macchina.
Il contrappeso dei bracci di sollevamento degli elementi di taglio posteriori può essere regolato per compensare le varie condizioni del manto erboso e mantenere un'altezza di taglio uniforme in condizioni accidentate o in zone infeltrite.
Le molle di contrappeso sono regolabili in 4 posizioni. Ogni incremento aumenta o riduce il contrappeso dell’elemento di taglio di 2,3 kg. Per rimuovere completamente il contrappeso (quarta posizione) si possono spostare le molle sul retro dell'attuatore pertinente.
Parcheggiate la macchina su una superficie pianeggiante, abbassate gli elementi di taglio, spegnete il motore, inserite il freno di stazionamento e togliete la chiave di accensione.
Infilate un tubo o un oggetto similare sull'estremità della molla lunga al fine di allentare la tensione della molla durante la messa a punto (Figura 40).
Le molle sono sotto tensione e possono causare gravi ferite.
Regolate le molle con la massima cautela.
Mentre allentate la tensione della molla, togliete il bullone e il dado di bloccaggio che fissano l'attuatore della molla alla staffa (Figura 40).

Spostate l'attuatore della molla nel foro adatto e fissatelo con un dado di bloccaggio.
Ripetete l'operazione sulle altre molle.
Parcheggiate la macchina su una superficie pianeggiante, abbassate gli elementi di taglio, spegnete il motore, inserite il freno di stazionamento e togliete la chiave di accensione.
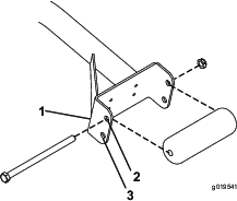
L'interruttore del braccio di sollevamento è situato dietro il braccio di sollevamento anteriore destro (Figura 41).

Allentate le viti di attacco dell'interruttore (Figura 41) e alzate l'interruttore per aumentare l'altezza d'inversione del braccio di sollevamento o abbassate l'interruttore per ridurla.
Serrate le viti di fissaggio.
In caso di emergenza, potete spostare la macchina azionando la valvola di bypass situata nella pompa idraulica e montando un flessibile idraulico per effettuare il bypass della valvola di non ritorno, poi spingendo o trainando la macchina.
Important: Non spingete né trainate la macchina a velocità superiori a 3–4,8 km/h o per oltre 0,4 km, poiché la trasmissione interna può danneggiarsi. La valvola di bypass deve essere aperta ogni volta che spingete o trainate la macchina. Inoltre, dovete montare un flessibile idraulico per effettuare il bypass della valvola di non ritorno ogni volta che spingete o trainate la macchina in retromarcia.
Se è necessario spingere o trainare la vostra macchina, probabilmente dovrete muoverla sia in marcia avanti che in retromarcia. Per garantire che l'impianto della trazione non subisca danni durante la spinta o il traino, è meglio preparare la macchina per la spinta o il traino sia in marcia avanti che in retromarcia.
Important: Se dovete spingere o trainare la macchina in retromarcia, dovete prima effettuare il bypass della valvola di non ritorno, nel collettore della trazione integrale.
Per effettuare il bypass della valvola di non ritorno sono necessari i seguenti componenti Toro:
59-7410, raccordo diagnostico
354-79, tappo del raccordo diagnostico
95-8843, flessibile idraulico
95-0985, raccordo dell'accoppiatore (2)
340-77, raccordo idraulico (2)
Montate un raccordo diagnostico nel foro non marcato situato tra i fori M8 e P2 sul collettore della trazione posteriore (Figura 42).

Collegate un flessibile idraulico tra il raccordo diagnostico montato sul collettore della trazione posteriore e il foro diagnostico della pressione della trazione in retromarcia (Figura 43).
Note: Utilizzate i raccordi idraulici e i raccordi dell'accoppiatore in base alle esigenze per montare il flessibile.

Girate la valvola di 90° (1/4 di giro) in qualsiasi direzione per aprirla e consentire al fluido di effettuare il bypass internamente (Figura 44).
Note: Dal momento che il fluido effettua il bypass della trasmissione, potete spostare lentamente la macchina senza danneggiare la trasmissione.Notate la posizione della valvola durante l'apertura e la chiusura.

Una volta terminato di spingere o trainare la macchina, rimuovete il flessibile idraulico che avete montato.
Montate il tappo esistente sul foro diagnostico della pressione della trazione in retromarcia.
Montate il tappo del raccordo diagnostico sul raccordo che avete montato sul collettore.
Girate indietro la valvola di bypass di 90° (1/4 di giro) prima di avviare il motore.
Note: Nel chiudere la valvola, non superate una coppia di serraggio di 7-11 N·m.
Se dovete spingere o trainare la macchina solo in marcia avanti, potete girare solo la valvola di bypass.
Important: Se dovete spingere o trainare la macchina in retromarcia, fate riferimento a Preparazione della macchina per la spinta o il traino in retromarcia.
Aprite il cofano e togliete il pannello di protezione centrale.
Girate la valvola di 90° (1/4 di giro) in qualsiasi direzione per aprirla e consentire al fluido di effettuare il bypass internamente (Figura 44).
Note: Dal momento che il fluido effettua il bypass della trasmissione, potete spostare lentamente la macchina in avanti senza danneggiare la trasmissione.Notate la posizione della valvola durante l'apertura e la chiusura.
Girate indietro la valvola di bypass di 90° (1/4 di giro) prima di avviare il motore.
Note: Nel chiudere la valvola, non superate una coppia di serraggio di 7-11 N·m.
Prestate la massima attenzione durante il carico e lo scarico della macchina su o da un rimorchio o un autocarro.
Utilizzate una rampa a grandezza integrale per il carico e lo scarico della macchina su o da un rimorchio o un autocarro.
Fissate saldamente la macchina in basso utilizzando cinghie, catene, cavi o corde. Sia la cinghia anteriore, sia quella posteriore dovranno essere rivolte verso il basso e all'esterno rispetto alla macchina.
I punti di sollevamento sono situati nelle seguenti posizioni:
Sulla parte anteriore della macchina, sul telaio all'interno di ogni ruota motrice
Sul retro della macchina, al centro dell'assale
I punti di ancoraggio sono situati nelle seguenti posizioni:
Da ciascun lato del telaio, sotto i gradini anteriori
Paraurti posteriore
Esercitatevi a guidare la macchina poiché è dotata di trasmissione idrostatica e le sue caratteristiche differiscono da quelle di molte macchine per la manutenzione dei tappeti erbosi. Quando si azionano la trattrice e l'apparato di taglio, alcuni elementi da prendere in considerazione sono la trasmissione, il regime del motore, il carico sulle lame di taglio e l'importanza dei freni.
Per mantenere una potenza sufficiente per la macchina durante il funzionamento della macchina, regolate il pedale di comando della trazione in modo da tenere la velocità del motore alta e piuttosto costante. Si consiglia di rallentare man mano che il carico sugli apparati di taglio aumenta, e di accelerare quando il carico diminuisce.
Lasciate quindi che il pedale di comando della trazione arretri quando diminuisce il regime del motore e premetelo lentamente quando la velocità aumenta. Al confronto, quando vi spostate da un'area di lavoro ad un'altra senza carico e con l'apparato di taglio sollevato, portate l'acceleratore in posizione FAST e abbassate il pedale della trazione lentamente ma a fondo per ottenere la massima velocità di trasferimento.
Un'altra caratteristica da tenere presente è il funzionamento dei pedali che sono collegati ai freni. Potete utilizzare i freni come ausilio durante l’esecuzione di una curva. Usateli tuttavia con attenzione, in particolare su erba morbida o bagnata, poiché potreste strappare accidentalmente il manto erboso. Un altro vantaggio offerto dai freni è quello di mantenere la trazione. Ad esempio, in alcune condizioni di pendenza, la ruota a monte slitta e perde di trazione. In questo caso, abbassate lentamente e a intermittenza il pedale della curva a monte, finché la ruota a monte non smette di slittare, aumentando così la trazione sulla ruota a valle.
Prestate la massima attenzione quando utilizzate la macchina su pendii. Verificate che il fermo del sedile sia bloccato correttamente e che la cintura di sicurezza sia allacciata. Guidate lentamente ed evitate curve brusche su pendii, per non ribaltare la macchina. Quando si effettua una discesa, l’apparato di taglio deve essere abbassato per avere il controllo di sterzata.
Important: Al termine di un’operazione a pieno carico, lasciate girare il motore alla minima per cinque minuti prima di spegnerlo. Ciò permette al turbocompressore di raffreddarsi prima di spegnere il motore. La mancata osservanza di questa istruzione può causare l'avaria del turbocompressore.
Prima di spegnere il motore, disinserite tutti i comandi e portate l'acceleratore in posizione SLOW. Spostando l'acceleratore in posizione SLOW ridurrete il regime elevato del motore, il rumore e la vibrazione. Girate la chiave in posizione OFF per spegnere il motore.
Prima di tosare esercitatevi con la macchina in uno spazio aperto. Avviate e spegnete il motore. Guidate la macchina in marcia avanti e retromarcia. Abbassate e alzate gli apparati di taglio e innestate e disinnestate i cilindri. Quando vi sarete familiarizzati con la macchina, esercitatevi a lavorare in salita e discesa a velocità diverse.
Se durante il servizio si dovesse accendere una spia di allarme, fermate immediatamente la macchina e riattate prima di proseguire. L'utilizzo della macchina in presenza di un guasto può causare gravi danni.
Avviate il motore e spostate l'interruttore del regime del motore in posizione FAST. Spostate il limitatore della velocità di tosatura in posizione di FALCIATURA. Spostate l'interruttore PDF in posizione ON e usate la leva di sollevamento per controllare gli elementi di taglio (gli elementi anteriori sono temporizzati e si abbassano prima di quelli posteriori). Premete in avanti il pedale della trazione per spostarvi in avanti e falciare l’erba.
Spostate l'interruttore PDF in posizione Off e alzate gli elementi di taglio in posizione di trasferimento. Spostate il limitatore della velocità di tosatura in posizione di trasferimento. Prestate la massima attenzione quando guidate fra corpi estranei, al fine di non danneggiare accidentalmente la macchina o gli elementi di taglio. Prestate la massima attenzione quando utilizzate la macchina su pendii. Guidate lentamente ed evitate curve brusche su pendii, per non ribaltare la macchina. Per mantenere il controllo dello sterzo, gli apparati di taglio devono essere abbassati quando scendete dai pendii.
Note: Stabilite i lati sinistro e destro della macchina dalla normale posizione di guida.
| Cadenza di manutenzione | Procedura di manutenzione |
|---|---|
| Dopo le prime 8 ore |
|
| Dopo le prime 50 ore |
|
| Dopo le prime 200 ore |
|
| Prima di ogni utilizzo o quotidianamente |
|
| Ogni 50 ore |
|
| Ogni 100 ore |
|
| Ogni 200 ore |
|
| Ogni 250 ore |
|
| Ogni 400 ore |
|
| Ogni 800 ore |
|
| Prima del rimessaggio |
|
Fotocopiate questa pagina e utilizzatela quando opportuno.
| Punto di verifica per la manutenzione | Per la settimana di: | ||||||
|---|---|---|---|---|---|---|---|
| Lun | Mar | Mer | Gio | Ven | Sab | Dom | |
| Verificate il funzionamento del sistema di sicurezza a interblocchi. | |||||||
| Verificate il funzionamento dei freni. | |||||||
| Controllate i livelli dell'olio motore e del carburante. | |||||||
| Controllate il livello del fluido dell'impianto di raffreddamento. | |||||||
| Spurgate il separatore di condensa/carburante. | |||||||
| Controllate la spia di manutenzione del filtro dell'aria. | |||||||
| Verificate che non vi siano detriti nel radiatore, nel radiatore dell’olio o nella griglia. | |||||||
| Controllate i rumori insoliti del motore.1 | |||||||
| Controllate eventuali rumori insoliti di funzionamento. | |||||||
| Controllate il livello del fluido nell'impianto idraulico. | |||||||
| Accertatevi che i tubi idraulici non siano danneggiati. | |||||||
| Accertatevi dell'assenza di perdite di liquido. | |||||||
| Controllate la pressione degli pneumatici. | |||||||
| Verificate il funzionamento degli strumenti. | |||||||
| Verificate la regolazione tra cilindro e controlama. | |||||||
| Controllate la regolazione dell'altezza di taglio. | |||||||
| Lubrificate tutti i raccordi d'ingrassaggio.2 | |||||||
| Ritoccate la vernice danneggiata. | |||||||
1. Controllate la candela a incandescenza e gli ugelli dell'iniettore in caso di avviamento difficile, fumo eccessivo o funzionamento anomalo del motore.
2. Immediatamente dopo ogni lavaggio, a prescindere dalla cadenza indicata
| Ispezione eseguita da: | ||
| Art. | Data | Informazioni |
| 1 | ||
| 2 | ||
| 3 | ||
| 4 | ||
| 5 | ||
| 6 | ||
| 7 | ||
| 8 | ||
Important: Per ulteriori procedure di manutenzione consultare il Manuale dell'operatore del motore ed il Manuale dell'operatore dell'apparato di taglio.
Note: Per ottenere uno schema elettrico o uno schema idraulico per la vostra macchina, visitate il sito www.Toro.com.

Se lasciate la chiave nell'interruttore di accensione, qualcuno potrebbe accidentalmente avviare il motore e ferire gravemente voi od altre persone.
Togliete la chiave di accensione prima di ogni intervento di manutenzione.
Rilasciate i fermi (Figura 46) e il perno del cofano e apritelo.

Rimuovete le coppiglie che fissano le staffe posteriori del cofano ai perni del telaio e sollevate il cofano.
| Cadenza di manutenzione | Procedura di manutenzione |
|---|---|
| Ogni 50 ore |
|
La macchina è dotata di raccordi per ingrassaggio che devono essere lubrificati ad intervalli regolari con grasso n. 2 a base di litio. Se utilizzate la macchina in condizioni normali, lubrificate tutti i cuscinetti e le boccole ogni 50 ore di servizio o immediatamente dopo ogni lavaggio.
Posizione e numero di raccordi per ingrassaggio:
Cuscinetti orientabili (5) dell'albero del freno (Figura 47)

Boccole orientabili (2) dell'assale posteriore (Figura 48)

Giunti sferici (2) del cilindro di sterzo (Figura 49)

Giunti sferici (2) del tirante (Figura 49)
Boccole (2) del perno del fuso a snodo (Figura 49). Il raccordo superiore sul perno del fuso a snodo richiede soltanto una lubrificazione annuale (2 pompate).
Boccole (1 per piatto di taglio) del braccio di sollevamento (Figura 50).

Boccole (2 per piatto di taglio) del braccio di sollevamento (Figura 50).
Boccole girevoli (1 per piatto di taglio) del braccio di sollevamento (Figura 51).
Telaio portante dell'apparato di taglio (2 per apparato) (Figura 51)
Perno del braccio dell'apparato di taglio (1 per apparato) (Figura 51)

| Cadenza di manutenzione | Procedura di manutenzione |
|---|---|
| Ogni 400 ore |
|
Verificate che il corpo del filtro dell'aria sia privo di danni che possano causare una fuoriuscita d'aria. Sostituitelo se è danneggiato. Verificate che l'intero sistema di presa d'aria non sia danneggiato, non accusi perdite e che le fascette stringitubo non siano allentate.
Effettuate la manutenzione del filtro dell'aria quando l'indicatore (Figura 52) lo richiede. Sostituendo il filtro dell'aria prima del necessario si aumenta il rischio che la morchia penetri nel motore quando si toglie il filtro.

Important: Verificate che il coperchio si chiuda ermeticamente intorno al corpo del filtro.
Tirate il fermo verso l'esterno e ruotate il coperchio del filtro in senso antiorario (Figura 53).

Togliete il coperchio dal corpo del filtro dell'aria.
Prima di rimuovere il filtro, utilizzate aria compressa a bassa pressione (2,76 bar) pulita e asciutta per agevolare la rimozione di grossi detriti depositati tra il filtro primario esterno e la scatola. Evitate di usare aria ad alta pressione, che potrebbe spingere la morchia attraverso il filtro e nella zona di aspirazione.
Questa operazione di pulizia impedisce che la rimozione del filtro primario causi lo spostamento dei detriti nella zona di aspirazione.
Togliete il filtro primario e sostituitelo (Figura 54).
Si sconsiglia la pulizia dell'elemento usato, per evitare il rischio di danneggiare l'elemento filtrante. Controllate il filtro nuovo e accertatevi che non sia stato danneggiato durante la spedizione, in particolare l'estremità di tenuta del filtro ed il corpo. Non usate l'elemento se è avariato.
Montate il filtro nuovo premendo sul bordo esterno dell'elemento per inserirlo nella scatola. Non premete sulla parte centrale flessibile del filtro.

Important: Non cercate mai di pulire il filtro di sicurezza (Figura 55). Sostituitelo con uno nuovo ogni 3 interventi di manutenzione sul filtro primario.

Pulite il foro di espulsione della morchia, previsto nel coperchio rimovibile.
Togliete la valvola di uscita in gomma dal coperchio, pulite la cavità e installate la valvola di uscita.
Montate il coperchio con la valvola di uscita in gomma disposta in giù, in una posizione tra le ore 5 e le ore 7 vista dall'estremità.
Se la spia (Figura 52) è rossa, resettatela.
| Cadenza di manutenzione | Procedura di manutenzione |
|---|---|
| Dopo le prime 50 ore |
|
| Ogni 250 ore |
|
Togliete il tappo di spurgo (Figura 56) e lasciate defluire l'olio in una bacinella. Quando l’olio cessa di defluire, rimontate il tappo.

Togliete il filtro dell'olio (Figura 57). Applicate un velo di olio pulito sulla tenuta del nuovo filtro prima di avvitarla. Non serrate troppo.

Rabboccate la coppa con olio adatto; vedere Controllo del livello dell'olio motore.
Regolate il cavo dell'acceleratore (Figura 58) in modo che la leva di regolazione sul motore entri in contatto con i perni di registrazione della velocità alta nello stesso momento in cui il cavo dell'acceleratore entra in contatto con l'estremità della scanalatura del braccio di comando.

In determinate condizioni, il gasolio e i vapori del carburante sono estremamente infiammabili ed esplosivi. Un incendio o un'esplosione causati dal carburante possono ustionare voi o altre persone e causare danni.
Fate il pieno di carburante all'aria aperta, a motore spento e freddo e tergete il carburante versato.
Non riempite completamente il serbatoio. Rabboccate il serbatoio del carburante fino a portare il livello del carburante a 25 mm dall’estremità superiore del serbatoio, non dalla base del collo del bocchettone. Questo spazio consentirà l'espansione del carburante.
Non fumate mai quando maneggiate il carburante, e state lontani da fiamme libere o dove i fumi di carburante possano essere accesi da una scintilla.
Conservate il carburante in una tanica pulita ed omologata ai fini di sicurezza, con il tappo chiuso.
| Cadenza di manutenzione | Procedura di manutenzione |
|---|---|
| Ogni 800 ore |
|
| Prima del rimessaggio |
|
Se l'impianto di alimentazione è contaminato, e prima del rimessaggio per lunghi periodi, spurgate il serbatoio carburante e pulitelo. Utilizzate del carburante pulito per lavare il serbatoio.
| Cadenza di manutenzione | Procedura di manutenzione |
|---|---|
| Ogni 400 ore |
|
Controllate i tubi di alimentazione per verificare l’assenza di deterioramenti, danni o allentamento dei raccordi.
| Cadenza di manutenzione | Procedura di manutenzione |
|---|---|
| Prima di ogni utilizzo o quotidianamente |
|
| Ogni 400 ore |
|
Mettete un contenitore pulito sotto il filtro del carburante.
Allentate il tappo di spurgo situato nella parte inferiore della scatola del filtro.

Pulite la superficie circostante la scatola del filtro.
Togliete la scatola del filtro e pulite la superficie di appoggio.
Lubrificate la guarnizione della scatola del filtro con olio pulito.
Montate a mano la scatola del filtro finché la guarnizione non tocca la superficie di appoggio, quindi ruotatela per un altro mezzo giro.
Allentate il tappo di spurgo situato in fondo alla scatola del filtro.
Il tubo di aspirazione del carburante, situato all'interno del serbatoio carburante, è provvisto di una griglia che contribuisce ad impedire a corpi estranei di entrare nell'impianto di alimentazione. Togliete il tubo di aspirazione del carburante e pulite la griglia come opportuno.
I poli della batteria, i morsetti e gli accessori attinenti contengono piombo e relativi composti, sostanze chimiche che nello Stato della California sono considerate cancerogene e causa di anomalie della riproduzione. Lavate le mani dopo avere maneggiato questi componenti.
Sbloccate e sollevate il pannello comandi dell'operatore (Figura 60).

L'elettrolito della batteria contiene acido solforico, veleno mortale che può causare gravi ustioni.
Non bevete l'elettrolito, e non lasciate che venga a contatto con la pelle, gli occhi o gli indumenti. Indossate occhiali di protezione per proteggere gli occhi, e guanti di gomma per proteggere le mani.
Riempite la batteria nelle vicinanze di acqua pulita, per lavare la pelle.
Collegate un caricabatterie da 3-4 A ai poli della batteria.
Caricate la batteria a 3-4 A per 4-8 ore.
Quando la batteria è carica, staccate il caricabatterie dalla presa elettrica e dai poli della batteria.
Durante la ricarica della batteria si sviluppano gas esplosivi.
Non fumate mai nelle adiacenze della batteria e tenetela lontano da scintille e fiamme.
Collegate il cavo positivo (rosso) al terminale positivo (+) e il cavo negativo (nero) al terminale negativo (-) della batteria (Figura 61).

Fissate i cavi ai poli con dadi e viti a testa cilindrica.
Verificate che il morsetto positivo (+) sia completamente sul polo, e che il cavo sia posizionato in modo aderente alla batteria. Il cavo non deve toccare il coperchio della batteria.
Fate scorrere la guaina di gomma sul morsetto positivo per evitare un cortocircuito.
I poli della batteria, i morsetti e gli accessori attinenti contengono piombo e relativi composti, sostanze chimiche che nello Stato della California sono considerate cancerogene e causa di anomalie della riproduzione. Lavate le mani dopo avere maneggiato questi componenti.
Per impedire la corrosione, spalmate i due collegamenti della batteria con grasso Grafo 112X (rivestimento), n. cat. Toro 505-47, vaselina o grasso leggero e
Infilate il cappuccio in gomma sul morsetto positivo.
Chiudete il pannello comandi e fissate con il fermo.
I morsetti della batteria e gli attrezzi metallici possono creare cortocircuiti contro i componenti metallici, e provocare scintille, Queste possono fare esplodere i gas delle batterie e provocare infortuni.
Quando la batteria viene smontata o montata, evitate che i morsetti entrino a contatto con le parti metalliche della macchina.
Evitate cortocircuiti fra i morsetti della batteria e le parti metalliche della macchina causati da utensili metallici.
Se il percorso dei cavi della batteria non è corretto, la macchina e i cavi potrebbero danneggiarsi e produrre scintille. Eventuali scintille possono fare esplodere i gas delle batterie e provocare lesioni personali.
Scollegate sempre il cavo negativo (nero) della batteria prima di quello positivo (rosso).
Collegate sempre il cavo positivo (rosso) della batteria prima di quello negativo (nero).
| Cadenza di manutenzione | Procedura di manutenzione |
|---|---|
| Ogni 50 ore |
|
Important: Prima di effettuare interventi di saldatura sulla macchina, scollegate il cavo negativo dalla batteria per evitare di danneggiare l’impianto elettrico.
Note: Controllate lo stato della batteria ogni settimana, oppure ogni 50 ore di servizio. Mantenete puliti i morsetti e la scatola della batteria, poiché le batterie sporche si scaricano lentamente.
Togliete la batteria dalla macchina.
Lavate la scatola completa con una soluzione di bicarbonato di sodio e acqua.
Lavate la scatola con acqua pulita.
Per impedire la corrosione, ricoprite i morsetti della batteria e i connettori dei cavi con grasso Grafo 112X (rivestimento) (n. di parte Toro 505-47) o vaselina.
| Cadenza di manutenzione | Procedura di manutenzione |
|---|---|
| Dopo le prime 8 ore |
|
| Ogni 200 ore |
|
Il mancato serraggio dei dadi delle ruote alla coppia prevista può causare guasti o la perdita di una ruota, pregiudicando l'integrità fisica delle persone.
Serrate i dadi delle ruote anteriori e posteriori a 115–136 N∙m dopo 1–4 ore di servizio e di nuovo dopo 8 ore di servizio. In seguito serrate ogni 200 ore.
Note: I dadi delle ruote anteriori sono 1/2-20 UNF. I dadi delle ruote posteriori sono M12 x 1,6-6H (metrici).
| Cadenza di manutenzione | Procedura di manutenzione |
|---|---|
| Ogni 400 ore |
|
Controllate il livello dell'olio ogni 400 ore di funzionamento. Per la sostituzione usate lubrificante per ingranaggi di alta qualità SAE 85W-140.
Con la macchina parcheggiata su una superficie piana, posizionate la ruota in modo che un tappo (Figura 65) si trovi nella posizione ore 12 e l'altro ore 3.

Rimuovete il tappo a ore 3 (Figura 65).
Note: L'olio deve essere in fondo al foro.
Se il livello dell'olio è basso rimuovete il tappo a ore 12 e aggiungete l'olio finché non inizia a fuoriuscire dal foro a ore 3.
Installate entrambi i tappi.
Ripetete le operazioni da 1 a 4 sul gruppo riduttore a planetari opposto.
| Cadenza di manutenzione | Procedura di manutenzione |
|---|---|
| Dopo le prime 200 ore |
|
| Ogni 800 ore |
|
Cambiate l'olio inizialmente dopo le prime 200 ore di servizio; dopodiché sostituitelo ogni 800 ore di servizio, oppure ogni anno, optando per l’intervallo più breve. Per la sostituzione usate lubrificante per ingranaggi di alta qualità SAE 85W-140.
Con la macchina parcheggiata su una superficie piana, posizionate la ruota in modo che 1 dei tappi di controllo si trovi nella posizione inferiore (ore 6i) (Figura 66).

Mettete una bacinella sotto il mozzo del planetario, togliete il tappo e lasciate defluire l'olio.
Mettete una bacinella sotto la scatola del freno, togliete il tappo di spurgo e lasciate defluire l'olio (Figura 67).

Quando è defluito tutto l'olio da entrambi le parti, inserite il tappo nella scatola del freno.
Girate la ruota finché il foro del tappo aperto nel planetario si trovi a ore 12.
Mediante il foro aperto riempite lentamente il planetario con 0,65 litri di lubrificante per ingranaggi di alta qualità SAE 85W-140.
Important: Se il planetario si riempie prima dell'aggiunta di 0,65 litri di olio, aspettate un'ora o inserite il tappo e muovete la macchina di circa tre metri per distribuire l'olio all'interno dell'impianto frenante. In seguito rimuovete il tappo e aggiungete l'olio rimanente.
Montate il tappo.
Ripetete la procedura sul gruppo ruotismo planetario/freno opposto.
| Cadenza di manutenzione | Procedura di manutenzione |
|---|---|
| Ogni 400 ore |
|
Il ponte posteriore viene riempito in fabbrica con lubrificante per ingranaggi SAE 85W-140. Si consiglia tuttavia di controllare il livello dell'olio prima di avviare il motore per la prima volta, ed in seguito ogni 400 ore. La capienza è di 2,4 litri. Ogni giorno, controllate a vista che non vi siano perdite.
Parcheggiate la macchina su terreno pianeggiante.
Togliete il tappo di controllo da un'estremità del ponte (Figura 68) e verificate che l'olio raggiunga la base del foro. Se il livello è basso, togliete il tappo di riempimento (Figura 68) e rabboccate con olio finché non raggiunge la base del foro del tappo di controllo.

| Cadenza di manutenzione | Procedura di manutenzione |
|---|---|
| Dopo le prime 200 ore |
|
| Ogni 800 ore |
|
Parcheggiate la macchina su terreno pianeggiante.
Pulite attorno ai tre tappi di spurgo, uno per lato ed uno in centro (Figura 69).

Togliete i tappi di controllo del livello dell'olio e il tappo di sfiato dell'assale principale, per agevolare la fuoriuscita dell'olio.
Togliete i tappi di spurgo e lasciate defluire l'olio nelle bacinelle.
Montate i tappi.
Togliete un tappo di spurgo e riempite l'assale con 2,37 litri circa di lubrificante per ingranaggi 85W-140, o fin quando l'olio non raggiunge la base del foro.
Montate il tappo di controllo.
| Cadenza di manutenzione | Procedura di manutenzione |
|---|---|
| Ogni 400 ore |
|
La scatola ingranaggi è riempita di lubrificante per ingranaggi SAE 85W-140. Si consiglia tuttavia di controllare il livello dell'olio prima di avviare il motore per la prima volta, ed in seguito ogni 400 ore. La capienza è di 0,5 litri. Ogni giorno, controllate a vista che non vi siano perdite.
Parcheggiate la macchina su terreno pianeggiante.
Togliete il tappo di controllo/riempimento dal lato sinistro del riduttore (Figura 70) e verificate che il lubrificante raggiunga la base del foro. Se il livello è basso, rabboccate con lubrificante fino a portarlo alla base del foro.

La macchina non deve spostarsi quando rilasciate il pedale di comando della trazione. In caso contrario, occorre effettuare una regolazione.
Parcheggiate la macchina su terreno pianeggiante, spegnete il motore, spostate il regolatore della velocità nel range Low (bassa), ed abbassate a terra gli apparati di taglio.
Premete solo il pedale destro del freno e inserite il freno di stazionamento.
Sollevate con un martinetto la parte sinistra della macchina fino a quando lo pneumatico anteriore sinistro non si solleva da terra. Sostenete la macchina con dei cavalletti metallici per impedirne la caduta accidentale.
Avviate il motore e lasciatelo funzionare al minimo inferiore.
Regolate i controdadi dal lato asta della pompa per muovere in avanti il tubo di controllo della pompa ed eliminare lo spostamento in avanti, o per muoverlo indietro ed eliminare lo spostamento indietro (Figura 71).

Quando la ruota avrà smesso di girare, serrate i controdadi per mantenere la messa a punto.
Spegnete il motore e rilasciate il freno destro.
Rimuovete i cavalletti metallici e abbassate la macchina a terra.
Collaudate la macchina e verificate che non si sposti.
| Cadenza di manutenzione | Procedura di manutenzione |
|---|---|
| Ogni 800 ore |
|
Misurate l’interasse (all’altezza dell’assale) sulla parte anteriore e posteriore degli pneumatici di sterzo.
Note: La misurazione anteriore deve risultare di 3 mm inferiore a quella posteriore (Figura 72).

Per regolare la convergenza, togliete la coppiglia e il dado da uno dei giunti a sfera del tirante (Figura 73).

Togliete il giunto a sfera del tirante dal supporto della scatola dell'assale.
Allentate i fermi su entrambe le estremità dei tiranti (Figura 73).
Girate di un 1 giro completo, verso l’interno o l’esterno, il giunto a sfera rimosso.
Serrate la ghiera dal lato allentato del tirante.
Girate l'intero gruppo del tirante nello stesso verso (interno o esterno), di un 1 giro completo.
Serrate la ghiera dal lato collegato del tirante.
Montate il giunto a sfera nella scatola dell’assale e serrate a mano il dado.
Misurate la convergenza.
All’occorrenza ripetete questa procedura.
Quando la regolazione è esatta, serrate il dado e montate una nuova coppiglia.
| Cadenza di manutenzione | Procedura di manutenzione |
|---|---|
| Prima di ogni utilizzo o quotidianamente |
|
Ogni giorno togliete i detriti dalla zona motore, dal radiatore dell'olio e dal radiatore. Eliminateli più spesso in ambienti sporchi.
Sbloccate la griglia posteriore ed apritela (Figura 74).

Ripulite accuratamente la griglia da tutti i detriti.
Note: Per togliere la griglia sollevate i perni d'incernieramento.
Pulite accuratamente entrambi i lati dell’area del radiatore/refrigeratore dell’olio (Figura 75) utilizzando aria compressa. Iniziate dal lato anteriore ed eliminate i detriti spingendoli verso la parte posteriore. Successivamente eseguite la pulizia partendo dalla parte posteriore e soffiando l'aria verso la parte anteriore. Ripetete la procedura più volte fino a rimuovere completamente sporcizia e detriti.

Important: L'uso di acqua per la pulizia del refrigeratore o del radiatore dell'olio favorisce la precoce corrosione e danni ai componenti, e la compattazione di detriti.
Chiudete la griglia posteriore e fissatela con il fermo.
Regolate questi freni se il pedale ha un gioco superiore a 13 mm, o quando i freni non funzionano in modo efficace. Per gioco s'intende la distanza che il pedale percorre prima che si avverta la resistenza della frenata.
Disinserite il perno di bloccaggio dai pedali del freno, in modo che i due pedali operino indipendentemente l’uno dall’altro.
Per ridurre il gioco dei pedali del freno serrate i freni come segue:
Allentate il dado anteriore sull'estremità filettata del cavo del freno (Figura 76).

Serrate il dado posteriore per spostare indietro il cavo, finché i pedali del freno non hanno un gioco di 0–13 mm.
Note: Assicuratevi che non vi sia tensione nel freno quando il pedale viene rilasciato.
Serrate i dadi anteriori dopo avere regolato correttamente i freni.
| Cadenza di manutenzione | Procedura di manutenzione |
|---|---|
| Ogni 100 ore |
|
Controllate lo stato e la tensione delle cinghie (Figura 77) ogni 100 ore di servizio.
La tensione è corretta quando applicando una forza di 45 N sulla cinghia, al centro tra le pulegge, si ha una flessione di 10 mm.
Se l'inflessione non è di 10 mm, allentate i bulloni di fissaggio dell'alternatore (Figura 77).

Aumentate o riducete la tensione della cinghia dell'alternatore e serrate i bulloni.
Controllate di nuovo l’inflessione della cinghia per accertare che sia esatta.
| Cadenza di manutenzione | Procedura di manutenzione |
|---|---|
| Ogni 800 ore |
|
In condizioni normali, cambiate il fluido idraulico ogni 800 ore di servizio. Nel caso in cui il fluido sia contaminato, rivolgetevi al distributore Toro di zona, che provvederà al lavaggio dell'impianto. Il fluido contaminato ha un aspetto lattiginoso o nero rispetto al fluido pulito.
Spegnete il motore e sollevate il cofano.
Scollegate il tubo di ritorno della cassa dal fondo del serbatoio e lasciate defluire il fluido idraulico in una bacinella grande.
Collegate il tubo quando il fluido idraulico cessa di defluire.
Riempite il serbatoio idraulico con circa 28,4 litri di fluido idraulico; vedere Controllo del livello del fluido idraulico.
Important: Usate soltanto i fluidi idraulici specificati. Altri fluidi possono danneggiare l'impianto.
Montate il tappo sul serbatoio.
Avviate il motore ed attivate tutti i comandi idraulici per distribuire il fluido attraverso l’impianto.
Verificate che non vi siano perdite, poi spegnete il motore.
Controllate il livello del fluido e rabboccate fino a raggiungere la tacca Full sull’asta di livello.
Note: Non riempite troppo l'impianto idraulico.
| Cadenza di manutenzione | Procedura di manutenzione |
|---|---|
| Dopo le prime 200 ore |
|
| Ogni 800 ore |
|
Cambiate i due filtri idraulici inizialmente dopo le prime 200 ore di servizio, in seguito ogni 800 ore di servizio in condizioni normali.
Utilizzate filtri di ricambio Toro, n. cat. 94-2621 per il retro (apparato di taglio) della macchina, e 75-1310 per la parte anteriore (carica) della macchina.
Important: L'uso di altri filtri può invalidare la garanzia di alcuni componenti.
Parcheggiate la macchina su una superficie pianeggiante, abbassate gli apparati di taglio, spegnete il motore, inserite il freno di stazionamento e togliete la chiave di accensione.
Pulite la superficie circostante il filtro.
Collocate una bacinella di spurgo sotto il filtro (Figura 78 e Figura 79).
Lubrificate la guarnizione del nuovo filtro e riempite il filtro con fluido idraulico.


Verificate che l'area circostante il filtro sia pulita.
Avvitate il filtro fin quando la guarnizione viene a contatto con la piastra di appoggio, quindi serrate il filtro di mezzo giro.
Avviate il motore e lasciatelo funzionare per 2 minuti circa, per spurgare l’aria dall’impianto.
Spegnete il motore e verificate che non ci siano fuoriuscite.
| Cadenza di manutenzione | Procedura di manutenzione |
|---|---|
| Prima di ogni utilizzo o quotidianamente |
|
Controllate i tubi idraulici e i flessibili ogni giorno per rilevare fuoriuscite, tubi attorcigliati, attacchi allentati, usura, raccordi allentati e deterioramento causato dalle condizioni atmosferiche e da agenti chimici. Riattate completamente prima di usare la macchina.
Se il fluido idraulico fuoriesce sotto pressione, può penetrare la pelle e causare infortuni.
Verificate che tutti i tubi e i flessibili del fluido idraulico siano in buone condizioni, e che tutte le connessioni e i raccordi idraulici siano saldamente serrati, prima di mettere l'impianto sotto pressione.
Tenete corpo e mani lontano da perdite filiformi o da ugelli che emettono fluido idraulico pressurizzato.
Usate carta o cartone per individuare eventuali perdite di fluido idraulico.
Eliminate con sicurezza la pressione dall'intero impianto idraulico prima di eseguire qualsiasi intervento sull'impianto.
Se il fluido viene iniettato nella pelle, rivolgetevi immediatamente ad un medico.
Il contatto con i cilindri o altre parti in movimento può causare infortuni.
Non avvicinate dita, mani o abiti ai cilindri o ad altre parti in movimento.
Non cercate mai di girare i cilindri con la mano o col piede se il motore è acceso.
Note: Durante la lappatura, gli elementi di taglio anteriori funzionano insieme e gli elementi posteriori funzionano insieme.
Parcheggiate la macchina su terreno pianeggiante, abbassate gli elementi di taglio, spegnete il motore, innestate il freno di stazionamento e spostate l’interruttore PDF in posizione OFF.
Sbloccate e sollevate il cofano per accedere ai comandi.
Effettuate, su tutti gli elementi di taglio, la regolazione iniziale fra cilindro e controlama, ai fini della lappatura; vedere il Manuale dell'operatore degli elementi di taglio.
Selezionate le leve di lappatura anteriore, posteriore o entrambe per stabilire gli elementi da lappare (Figura 80).
Avviate il motore e lasciatelo girare alla minima inferiore.
Cambiando il regime del motore durante la lappatura potreste fare fermare i cilindri.
Non cambiate mai il regime del motore durante la lappatura.
Eseguite la lappatura soltanto a velocità del motore minima.
Il contatto con un apparato di taglio in movimento può causare infortuni.
Per evitare infortuni, prima di procedere accertatevi di essere a una distanza di sicurezza dagli elementi di taglio.
Con il limitatore della velocità di tosatura in posizione di falciatura, spostate l'interruttore PDF in posizione ON. Premete l'interruttore di sollevamento per iniziare la lappatura dei cilindri interessati.
Applicate il preparato per lappatura con un pennello dal manico lungo.
Note: Non usate mai un pennello dal manico corto.

Se i cilindri si arrestano o funzionano in modo irregolare durante la lappatura, aumentate la velocità con l'acceleratore agendo fino a stabilizzarli.
Per regolare gli elementi di taglio durante la lappatura, disattivate i cilindri premendo la parte posteriore dell'interruttore di sollevamento; spostate l'interruttore PDF in posizione OFF, e spegnere il motore. Una volta terminata la regolazione, ripetete da 4 a 8.
Ripetete l'operazione per tutti gli elementi di taglio da sottoporre a lappatura.
Al termine, riportate le leve di lappatura in posizione Tosatura, abbassate il cofano e lavate via il preparato per lappatura dagli elementi di taglio. Eseguite la regolazione tra cilindro dell’elemento di taglio e controlama come opportuno. Portate i comandi della velocità del cilindro degli elementi di taglio nella posizione opportuna per la tosatura.
Important: Se al termine della lappatura l’interruttore di lappatura non viene riportato in posizione Off, gli elementi di taglio non si alzano o non funzionano correttamente.
Note: Ulteriori istruzioni e procedure di lappatura sono disponibili nel manuale Toro relativo ad affilatura cilindri e tosaerba rotativi, Modulo n. 80-300SL.
Note: Per ottimizzare il bordo di taglio, inserite una lima nel lato anteriore della controlama, al termine dell'operazione di lappatura. Essa consentirà di rimuovere difetti o margini irregolari eventualmente presenti sul bordo di taglio.
Spurgate l’olio del motore dalla coppa e montate il tappo di spurgo.
Togliete il filtro dell'olio e scartatelo. Montate un nuovo filtro dell'olio.
Riempite il motore con l'olio indicato.
Avviate il motore e lasciatelo funzionare alla velocità minima per circa 2 minuti.
Spegnete il motore.
Lavate il serbatoio con carburante nuovo e pulito.
Fissate tutti i raccordi dell'impianto.
Pulite accuratamente il gruppo filtro dell'aria e revisionatelo.
Sigillate l'entrata del filtro dell'aria e l'uscita di scarico con un nastro resistente agli agenti atmosferici.
Controllate la protezione antigelo ed aggiungete una soluzione di 50% anticongelante glicol etilico e 50% acqua, come opportuno, in base alle temperature minime previste nella vostra zona.
Pulite accuratamente il trattore, gli apparati di taglio e il motore.
Controllate la pressione degli pneumatici; vedere Controllo della pressione degli pneumatici.
Controllate tutti gli elementi di fissaggio per verificare che non siano allentati; all'occorrenza serrateli.
Lubrificate con grasso od olio tutti i raccordi di ingrassaggio e i punti di articolazione. Tergete il lubrificante superfluo.
Carteggiate leggermente e ritoccate le aree verniciate graffiate, scheggiate o arrugginite. Riparate ogni intaccatura nel metallo.
Revisionate la batteria e i cavi come segue:
Togliete i morsetti della batteria dai poli.
Pulite la batteria, i morsetti e i poli con una spazzola metallica e una soluzione di bicarbonato di sodio.
Per evitare la corrosione, ricoprite i morsetti e i poli della batteria con grasso di rivestimento Grafo 112X (codice prodotto Toro 505-47) o vaselina.
Per impedire la solfatazione di piombo della batteria, caricatela lentamente ogni 60 giorni per 24 ore.