| Huoltoväli | Huoltotoimenpide |
|---|---|
| Aina ennen käyttöä tai päivittäin |
|
Tämä kone on ajettava kelateräruohonleikkuri, joka on tarkoitettu ammattimaiseen kaupalliseen käyttöön. Se on tarkoitettu pääasiassa golfkenttien, puistojen, urheilukenttien ja kaupallisten kiinteistöjen viheralueiden ruohonleikkuuseen. Sitä ei ole tarkoitettu pensaiden leikkuuseen tai ruohon tai muun kasvuston leikkuuseen teiden varsilla eikä maatalouskäyttöön.
Lue nämä tiedot huolellisesti, jotta oppisit käyttämään ja huoltamaan laitetta asianmukaisesti sekä välttämään tapaturmia ja tuotevaurioita. Olet itse vastuussa tuotteen asianmukaisesta ja turvallisesta käytöstä.
Voit ottaa suoraan yhteyden Toroon osoitteessa www.Toro.com, jos tarvitset tuoteturvallisuuteen ja käyttökoulutukseen liittyvää materiaalia, tietoja lisävarusteista tai lähimmästä jälleenmyyjästä tai haluat rekisteröidä tuotteesi.
Aina kun tarvitset huoltoa, alkuperäisiä Toro-varaosia tai lisätietoja, ota yhteys valtuutettuun huoltoliikkeeseen tai Toron asiakaspalveluun. Ota tällöin tuotteen malli- ja sarjanumerot valmiiksi esiin. Kuva 1 näyttää malli- ja sarjanumeron sijainnin ajoyksikön rungon oikeanpuoleisessa etupalkissa. Kirjoita numerot annettuun tilaan.

Tässä käyttöoppaassa esiintyvä varoitusmerkintä (Kuva 2) ilmaisee vaaratilannetta, josta saattaa olla seurauksena vakava tapaturma tai jopa kuolema, jos suositellut varotoimenpiteet laiminlyödään.

Tässä käyttöoppaassa käytetään kahta termiä tietojen korostamiseksi. Tärkeää kiinnittää huomiota mekaanisiin erikoistietoihin ja Huomautus korostaa erityishuomion ansaitsevia yleistietoja.
Tämä tuote on asiaankuuluvien eurooppalaisten direktiivien mukainen. Lisätietoja on erillisessä tuotekohtaisessa vaatimustenmukaisuusvakuutuksessa.
Kalifornian lain (California Public Resource Code) pykälät 4442 ja 4443 kieltävät tämän moottorin käytön metsä-, pensaikko- tai ruohopeitteisillä mailla, jos moottoria ei ole varustettu pykälässä 4442 mainitulla hyvässä käyttökunnossa pidetyllä kipinänsammuttimella tai jos moottoria ei ole suojattu, varustettu ja huollettu palovaaran ehkäisemiseksi.
Mukana toimitettavassa moottorin käyttöoppaassa on USA:n ympäristönsuojeluelimen EPA:n (Environmental Protection Agency) ja Kalifornian päästöjen hallintaa koskevien määräysten päästöjärjestelmiä, kunnossapitoa ja takuuta koskevia tietoja. Käyttöoppaita voi tilata moottorin valmistajalta.
KALIFORNIA
Lakiesityksen 65 mukainen varoitus
Dieselmoottorin tuottamat pakokaasut ja jotkin niiden aineosat sisältävät kemikaaleja, jotka Kalifornian osavaltion tietojen mukaan aiheuttavat syöpää, synnynnäisiä epämuodostumia tai muuta lisääntymiseen liittyvää haittaa.
Tämän tuotteen käyttäminen voi altistaa kemikaaleille, jotka Kalifornian osavaltion tietojen mukaan aiheuttavat syöpää, synnynnäisiä epämuodostumia tai muuta lisääntymiseen liittyvää haittaa.
Tämä kone täyttää tai ylittää EN ISO 5395:2013-standardin (kun koneessa on asianmukaiset ohjetarrat) ja ANSI B71.4-2012 -standardin vaatimukset.
Koneen virheellinen käyttö tai huolto voi aiheuttaa tapaturman. Vähennä loukkaantumisriskiä noudattamalla näitä turvallisuusohjeita ja kiinnittämällä aina huomiota varoitusmerkkiin, joka tarkoittaa varoitusta, vaaraa tai hengenvaaraa – henkilöturvallisuusohjeet. Ohjeiden noudattamatta jättäminen saattaa johtaa henkilövahinkoon tai kuolemaan.
Seuraavat ohjeet ovat EN ISO -standardista 5395:2013 ja ANSI-standardista B71.4-2012.
Lue käyttöopas ja muu koulutusmateriaali huolellisesti. Tutustu ohjauslaitteisiin, turvamerkintöihin ja laitteen oikeaoppiseen käyttöön.
Älä koskaan anna lasten tai näihin ohjeisiin perehtymättömien henkilöiden käyttää tai huoltaa leikkuria. Paikalliset säännökset saattavat asettaa rajoituksia käyttäjän iälle.
Älä koskaan leikkaa ruohoa, kun lähistöllä on ihmisiä (varsinkin lapsia) tai lemmikkieläimiä.
Muista, että käyttäjä vastaa muille ihmisille tai heidän omaisuudelleen aiheutuneista vahingoista.
Älä kuljeta mukana matkustajia.
Konetta käyttävien ja sitä huoltavien henkilöiden tulee vaatia ja saada ammattitaitoista ja käytännöllistä opastusta. Omistaja vastaa käyttäjien koulutuksesta. Opastuksen tulee painottaa seuraavia seikkoja:
Ajoleikkureilla on työskenneltävä huolellisesti ja keskittyneesti.
Rinteessä luisuvaa ajoleikkuria ei saada takaisin hallintaan painamalla jarrua. Hallinnan menettämisen yleisimmät syyt ovat
pyörien riittämätön pito
liian suuri ajonopeus
puutteellinen jarrutus
konetyypin sopimattomuus tehtävään
piittaamattomuus maaperän ominaisuuksista, varsinkin kaltevuudesta
virheellinen kiinnitys tai kuorman jakauma.
Omistaja/käyttäjä voi estää tapaturmat, loukkaantumiset tai omaisuusvahingot ja on siksi vastuussa niistä.
Pukeudu leikkuun aikana asianmukaisesti. Käytä silmiensuojaimia, tukevia liukastumisen estäviä kenkiä, pitkälahkeisia housuja ja kuulosuojaimia.
Sido pitkät hiukset. Älä käytä koruja.
Tarkasta huolellisesti alue, jolla laitetta on tarkoitus käyttää, ja poista kaikki esineet, jotka se voi singota.
Vaihda vialliset äänenvaimentimet.
Tutki maasto, jotta voit arvioida, mitä lisälaitteita ja -varusteita työn turvallinen suorittaminen edellyttää. Käytä vain valmistajan hyväksymiä lisälaitteita ja -varusteita.
Tarkista, että käyttäjän pitokytkimet, turvakytkimet ja kilvet ovat paikoillaan ja toimivat oikein. Älä käytä konetta, mikäli ne eivät toimi kunnolla.
Vältä loukkaantumiset ja omaisuusvahingot käsittelemällä polttoainetta erittäin varovasti. Polttoaine on erittäin tulenarkaa, ja höyryt ovat räjähdysherkkiä.
Sammuta savukkeet, sikarit, piiput ja muut sytytyslähteet.
Käytä vain hyväksyttyä polttoaineastiaa.
Älä irrota polttoainesäiliön korkkia tai lisää polttoainetta moottorin ollessa käynnissä.
Anna moottorin jäähtyä ennen tankkausta.
Älä täytä polttoainesäiliötä sisätiloissa.
Älä säilytä konetta tai polttoainesäiliötä tilassa, jossa on avotuli, kipinöitä tai varmistusliekki (esimerkiksi vedenlämmitin tai muu vastaava laite).
Älä täytä astioita ajoneuvon sisällä tai kuorma-auton tai perävaunun lavalla, jossa on muovipäällyste. Aseta astiat maahan ja pois ajoneuvon läheltä ennen polttoaineen lisäämistä.
Poista laite kuorma-autosta tai perävaunusta ja tankkaa laite, kun sen pyörillä on kosketus maahan. Jos se ei ole mahdollista, tankkaa tällainen laite mieluummin kannettavasta astiasta kuin polttoaineen jakelupistoolilla.
Pidä pistoolia polttoainesäiliön reunaa tai astian aukkoa vasten koko tankkaamisen ajan. Älä käytä polttoainepistoolin aukilukituskytkintä.
Jos polttoainetta on roiskunut vaatteille, vaihda vaatteet välittömästi.
Älä täytä polttoainesäiliötä liian täyteen. Asenna säiliön korkki ja kiristä se huolellisesti.
Älä käytä moottoria ahtaissa tiloissa, joihin voi kertyä vaarallista häkäkaasua.
Leikkaa ruohoa vain päivänvalossa tai hyvässä keinovalaistuksessa.
Vapauta kaikki terien kiinnikkeet, siirrä vaihde vapaalle ja kytke seisontajarru ennen kuin käynnistät moottorin.
Muista, että turvallista rinnettä ei ole. Ruohorinteillä ajettaessa on oltava erityisen varovainen. Ehkäise kaatuminen seuraavilla tavoilla:
Älä käynnistä tai pysähdy äkillisesti ajaessasi ylä- tai alamäkeen.
Pidä koneen nopeus alhaisena rinteillä ja jyrkissä käännöksissä.
Varo töyssyjä, kuoppia ja muita piileviä vaaroja.
Älä tee jyrkkiä käännöksiä. Ole varovainen peruuttaessasi.
Käytä vastapainoja tai pyöräpainoja aina, kun käyttöoppaassa niin kehotetaan.
Pidä silmällä monttuja ja muita piileviä vaaroja.
Varo liikennettä, kun ylität tien tai työskentelet tien lähistöllä.
Pysäytä terien pyörintä, ennen kuin ylität muun kuin ruohopinnan.
Kun käytät lisälaitteita, älä koskaan ohjaa leikkuujätteen poistoa ihmisiä kohti tai päästä ketään koneen lähelle käytön aikana.
Älä koskaan käytä konetta, jonka suojukset tai suojalevyt ovat vaurioituneet tai jossa ei ole suojalaitteita. Varmista, että kaikki turvalaitteet ovat paikoillaan, ne on säädetty oikein ja ne toimivat kunnolla.
Älä muuta moottorin keskipakosäätimen asetuksia äläkä käytä moottoria ylikierroksilla. Moottorin käyttäminen ylikierroksilla lisää henkilövahingon riskiä.
Ennen kuin poistut käyttäjän paikalta, tee seuraavat:
Pysähdy tasaiselle alustalle.
Vapauta voimanulosotto ja laske lisälaitteet alas.
Vaihda vapaalle ja kytke seisontajarru.
Pysäytä moottori ja irrota virta-avain.
Kytke lisälaitteiden käyttö pois, kun konetta siirretään tai se ei ole käytössä.
Pysäytä moottori ja kytke lisälaitteen käyttö pois:
ennen polttoainesäiliön täyttämistä
ennen korkeuden säätämistä, paitsi jos säätö voidaan tehdä kuljettajan istuimelta käsin
ennen tukkeuman poistamista
ennen leikkurin tarkistamista, puhdistamista tai huoltamista
jos leikkuri osuu vieraaseen esineeseen tai värisee poikkeavasti. Tarkista, onko leikkurissa vaurioita, ja korjaa ne ennen laitteen käynnistämistä ja käyttämistä.
Pienennä kaasuasetusta moottorin pysäytyksen aikana, ja jos moottorissa on sulkuventtiili, katkaise polttoaineen syöttö, kun lopetat leikkaamisen.
Älä pane käsiä tai jalkoja leikkuuyksiköihin.
Varmista ennen peruuttamista, että reitti on vapaa katsomalla taakse ja alas.
Hidasta ja ole varovainen kääntyessäsi sekä teitä ja jalkakäytäviä ylittäessäsi. Pysäytä sylinterit/kelat, jos et leikkaa ruohoa.
Älä käytä konetta sairaana, väsyneenä tai alkoholin tai huumausaineiden vaikutuksen alaisena.
Salamanisku voi aiheuttaa vakavan loukkaantumisen tai hengenvaaran. Jos alueella on ukonilma, konetta ei saa käyttää. Tällöin on hakeuduttava suojaan.
Ole varovainen lastatessasi konetta perävaunuun tai kuorma autoon.
Ole varovainen lähestyessäsi kulmia, joissa on huono näkyvyys, pensaita, puita tai muita näköesteitä.
Huolehdi, että kaikki kiinnitystarvikkeet ovat tiukalla, jotta laitetta on turvallista käyttää.
Konetta, jonka säiliössä on polttoainetta, ei saa säilyttää sisätiloissa, jossa kaasut voivat joutua kosketuksiin avotulen tai kipinän kanssa.
Anna moottorin jäähtyä, ennen kuin varastoit koneen suljettuun tilaan.
Vähennä palovaaraa puhdistamalla moottori, äänenvaimennin, akkutila ja polttoaineen säilytysalue ruohosta, lehdistä ja liiallisesta rasvasta. Puhdista öljy- ja polttoaineroiskeet.
Pidä kaikki osat hyvässä kunnossa ja kaikki laitteiden ja hydrauliosien kiinnitykset tiukalla. Vaihda kuluneet tai vaurioituneet osat ja tarrat.
Tyhjennä polttoainesäiliö ulkona.
Varo konetta säätäessäsi, etteivät sormet jää jumiin leikkurin liikkuvien terien ja kiinteiden osien väliin.
Ole huolellinen käsitellessäsi monisylinteristä/monikelaista konetta, sillä yhden sylinterin/kelan kiertäminen saattaa saada muut sylinterit/kelat kääntymään.
Vapauta käytöt, laske leikkuuyksiköt, kytke seisontajarru, pysäytä moottori ja irrota virta-avain. Odota, että kaikki osat pysähtyvät kokonaan ennen säätämistä, puhdistamista tai korjaamista.
Tue osat tarvittaessa pukkien avulla.
Vapauta paine huolellisesti osista, joihin on varastoitunut energiaa.
Irrota akku ennen kuin korjaat konetta. Irrota kaapeli ensin negatiivisesta navasta ja vasta sitten positiivisesta navasta. Kytke kaapeli ensin positiiviseen napaan ja vasta sitten negatiiviseen napaan.
Ole varovainen, kun tarkastat sylinterejä/keloja. Käytä käsineitä ja noudata varovaisuutta keloja huoltaessasi.
Pidä kädet ja jalat poissa liikkuvista osista. Älä tee säätöjä moottorin ollessa käynnissä, jos mahdollista.
Lataa akut avoimessa tilassa, jossa on hyvä ilmanvaihto, kaukana kipinöistä ja avotulesta. Irrota laturin virtajohto, ennen kuin kytket laturin akkuun tai irrotat sen akusta. Käytä suojavaatetusta ja eristettyjä työkaluja.
Ole varovainen lastatessasi konetta perävaunuun tai kuorma autoon.
Käytä täysleveää ramppia lastatessasi konetta perävaunuun tai kuorma-autoon.
Kiinnitä kone tiukasti hihnoilla, ketjuilla, kaapeleilla tai köysillä. Etu- ja takahihnat on suunnattava alas- ja ulospäin koneesta
Seuraavassa luettelossa on Toro-tuotteita koskevia turvaohjeita ja muita turvallisuustietoja, jotka käyttäjän on syytä tietää ja jotka eivät sisälly CEN-, ISO- tai ANSI-standardeihin.
Tämä tuote voi katkaista jalan tai käden sekä singota esineitä. Noudata aina kaikkia turvallisuusohjeita vakavan loukkaantumisen tai kuoleman välttämiseksi.
Tuotteen käyttäminen muuhun kuin sen aiottuun käyttötarkoitukseen voi olla vaarallista käyttäjälle ja sivullisille.
Moottorin pakokaasu sisältää hiilimonoksidia, joka on hajuton ja myrkyllinen kaasu ja voi aiheuttaa hengenvaaran.
Älä käytä moottoria sisällä tai suljetussa tilassa.
Selvitä, kuinka moottorin saa sammutettua nopeasti.
On suositeltavaa käyttää turvakenkiä ja pitkiä housuja. Jotkin paikalliset säädökset ja vakuutussäännöt saattavat edellyttää niiden käyttämistä.
Käsittele polttoainetta varoen. Pyyhi läikkynyt polttoaine pois.
Tarkista päivittäin, että turvakytkimet toimivat oikein. Jos jokin kytkimistä on viallinen, vaihda se ennen koneen käyttöä.
Istu istuimelle ennen kuin käynnistät moottorin.
Koneen käyttäminen vaatii valppautta. Toimi seuraavasti, jotta et menettäisi ajoneuvon hallintaa:
Älä aja hiekkavallien, ojien, purojen, pengerrysten tai muiden vaaratekijöiden lähellä.
Hidasta vauhtia, kun teet jyrkkiä käännöksiä. Vältä äkkilähtöjä ja -pysäytyksiä.
Väistä aina muita tiellä liikkujia risteyksissä ja niiden läheisyydessä.
Käytä alamäissä ajojarruja, sillä se helpottaa laitteen hallintaa ja ajonopeuden pitämistä riittävän alhaisena.
Kun käytät konetta, jossa on kaatumissuojausjärjestelmä, älä poista kaatumissuojausjärjestelmää, ja käytä aina turvavyötä.
Nosta leikkuuyksiköt ylös siirryttäessä leikkuualueelta toiselle.
Älä koske moottoriin, äänenvaimentimeen tai pakoputkeen moottorin käydessä tai heti sen sammuttamisen jälkeen. Nämä osat saattavat olla niin kuumia, että ne aiheuttavat palovamman.
Kone voi kaatua millä tahansa rinteellä, mutta riski kasvaa rinteen kaltevuuden myötä. Vältä käyttämästä konetta jyrkillä rinteillä.
Ohjaamisen helpottamiseksi leikkuuyksiköt on pidettävä alhaalla ajettaessa alamäessä.
Kytke vetopyörän käyttö hitaasti ja pidä jalka aina ajopolkimella, varsinkin ajettaessa alamäkeen.
Jarruta käyttämällä ajopolkimen peruutusta.
Jos kone sammuu ajettaessa rinnettä ylöspäin, älä käännä konetta. Peruuta aina hitaasti ja suoraan alas rinnettä.
Jos havaitset yllättäen leikkuualueella tai sen välittömässä läheisyydessä ihmisen tai lemmikkieläimen, keskeytä leikkaaminen. Huolimaton käyttö epätasaisella maalla, kimmokkeet tai väärin sijoitetut turvalaitteet voivat aiheuttaa sinkoutuvista esineistä aiheutuvia vammoja. Älä jatka leikkaamista ennen kuin alueella ei enää ole ketään.
Varmista, että kaikki hydrauliputkien liittimet ovat tiukalla ja kaikki hydrauliletkut ja putket hyvässä kunnossa, ennen kuin lisäät järjestelmän painetta.
Pidä kehosi ja kätesi kaukana vuotavista rei’istä ja suuttimista, joista suihkuaa korkeapaineista hydraulinestettä. Etsi vuotokohtia paperin tai pahvin avulla, älä käsilläsi. Paineella suihkuava hydraulineste voi läpäistä ihon ja aiheuttaa vakavia vammoja. Jos nestettä pääsee ihon alle, hakeudu välittömästi lääkäriin.
Ennen kuin kytket hydraulijärjestelmän pois päältä tai huollat sitä, järjestelmästä on poistettava kaikki paine sammuttamalla moottori ja laskemalla leikkuuyksiköt sekä lisälaitteet alas.
Tarkista kaikkien polttoaineletkujen liitännät ja kunto säännöllisesti. Kiristä tai korjaa tarvittaessa.
Jos moottorin on oltava käynnissä huoltosäädön aikana, pidä kätesi, jalkasi, vaatteesi ja kaikki kehosi osat kaukana leikkuuyksiköistä, moottorista ja liikkuvista osista.
Turvallisuus- ja tarkkuussyistä johtuen kannattaa antaa valtuutetun Toro-jälleenmyyjän tarkistaa moottorin suurin käyntinopeus kierrosnopeusmittarilla.
Jos ajoneuvo vaatii suurempaa korjausta tai jos tarvitset apua, ota yhteys valtuutettuun Toro-jälleenmyyjään.
Käytä vain Toron hyväksymiä lisälaitteita ja varaosia. Takuu voi raueta, jos käytetään hyväksymättömiä lisälaitteita.
Tämän laitteen taattu äänitehon taso on 101 dBA, johon sisältyy epävarmuusarvo (K) 1 dBA.
Äänitehon taso on määritetty standardissa ISO 11094 kuvatun menettelyn mukaisesti.
Tämän laitteen äänenpainetaso käyttäjän korvan kohdalla on 83 dBA, johon sisältyy epävarmuusarvo (K) 1 dBA.
Äänenpainetaso on määritetty standardissa EN ISO 5395:2013 määritetyn menettelyn mukaisesti.
Käsi–käsivarsi
Oikealle kädelle mitattu värinätaso = 0,3 m/s2
Vasemmalle kädelle mitattu värinätaso = 0,3 m/s2
Epävarmuusarvo (K) = 0,16 m/s2
Mitatut arvot on määritetty standardissa EN ISO 5395:2013 kuvatun menettelyn mukaisesti.
Koko vartalo
Mitattu värinätaso = 0,2 m/s2
Epävarmuusarvo (K) = 0,1 m/s2
Mitatut arvot on määritetty standardissa EN ISO 5395:2013 kuvatun menettelyn mukaisesti.
Koneen moottori täyttää EU:n Stage 3A -vaatimukset.
![]() |
Turva- ja ohjetarrat on sijoitettu hyvin näkyville paikoille mahdollisten vaara-alueiden lähettyville. Korvaa vioittuneet tai kadonneet tarrat uusilla. |























Note: Koneen vasen ja oikea puoli määritellään normaalista käyttöasennosta käsin.
Säädä tukirullia seuraavasti ajoyksikköön asennettavien leikkuuyksikköjen leveyden mukaan:
Vaiheeseen tarvittavat osat:
| Varoitustarra | 1 |
Koneissa, joiden on täytettävä CE-vaatimukset, CE-varoitustarra (osanro 120-1683) on kiinnitettävä vakiovaroitustarran (osanro 120-1686) päälle.
Vaiheeseen tarvittavat osat:
| Konepellin lukitustuki | 1 |
| Niitti | 2 |
| Ruuvi (¼ × 2 tuumaa) | 1 |
| Litteä aluslaatta (¼ tuumaa) | 2 |
| Lukkomutteri (¼ tuumaa) | 1 |
Irrota konepellin salpa sen tuesta (Kuva 4).

Irrota kaksi niittiä, jotka kiinnittävät konepellin salvan tuen konepeltiin (Kuva 5).

Irrota konepellin salvan tuki konepellistä.
Kohdista kiinnitysreiät ja asenna CE-vaatimusten mukainen lukitustuki ja konepellin salvan tuki konepeltiin.
Note: Lukitustuen on oltava konepeltiä vasten (Kuva 5).Älä irrota pultti- ja mutterikokoonpanoa lukitustuen varresta.

Kohdista aluslaatat konepellin sisäpuolella oleviin reikiin.
Niittaa tuet ja aluslaatat konepeltiin (Kuva 6).
Kiinnitä salpa sen tukeen (Kuva 7).

Lukitse salpa paikalleen ruuvaamalla pultti konepellin lukitustuen toiseen varteen (Kuva 8).

Kiristä pultti huolellisesti, mutta älä kiristä mutteria.
Vaiheeseen tarvittavat osat:
| Etuletkunohjain, oikea | 1 |
| Etuletkunohjain, vasen | 1 |
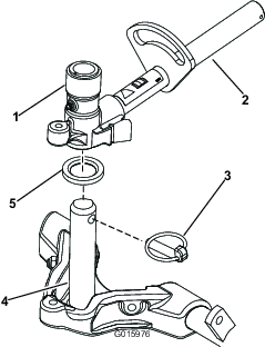
Irrota kelamoottorit kuljetustuista.
Irrota kuljetustuet ja hävitä ne.
Ota leikkuuyksiköt pois pahvilaatikoista.
Kokoa ja säädä leikkuuyksikön käyttöoppaan ohjeiden mukaan.
Varmista, että vastapaino (Kuva 9) asennetaan leikkuuyksikön oikeaan päähän leikkuuyksikön käyttöoppaan ohjeiden mukaan.

Kaikissa leikkuuyksiköissä on toimitettaessa nurmentasausjousi asennettuna leikkuuyksikön oikealle puolelle. Nurmentasausjousi on asennettava leikkuuyksikköön samalle puolelle kuin kelamoottori. Sijoita nurmentasausjouset seuraavasti:
Irrota kaksi lukkopulttia ja mutteria, joilla tangon kiinnike on kiinni leikkuuyksikön kielekkeissä (Kuva 10).

Irrota laippamutteri, jolla jousiputken pultti on kiinni kannattimen kielekkeessä (Kuva 10).
Irrota kokoonpano.
Asenna jousiputken pultti kannattimen vastakkaiseen kielekkeeseen ja kiinnitä laippamutterilla.
Note: Pultin pää on sijoitettava kielekkeen ulkoreunalle kuvan mukaisesti (Kuva 11).

Asenna tangon kiinnike leikkuuyksikön kielekkeisiin lukkopulteilla ja muttereilla (Kuva 11). Leikkuuyksikön kohdalla vasemmanpuoleinen letkunohjain on kiinnitettävä leikkuuyksikön kielekkeiden eteen tangon kiinnikkeen asennuksen yhteydessä (Kuva 13).
Important: Leikkuuyksiköissä 4 (edessä vasemmalla) ja 5 (edessä oikealla) letkunohjaimet on kiinnitettävä leikkuuyksikön kielekkeiden eteen tangon kiinnikkeen kiinnitysmuttereilla. Letkunohjainten on kallistuttava keskimmäistä leikkuuyksikköä kohti (Kuva 12 – Kuva 14).



Note: Leikkuuyksiköiden asennuksen ja irrotuksen yhteydessä on varmistettava, että sokka asennetaan jousitangon aukkoon, joka on tangon kiinnikkeen vieressä. Muussa tapauksessa sokka on asennettava tangon päässä olevaan aukkoon.
Lisää takaleikkuuyksiköiden ohjautuvuutta irrottamalla kaksi nivelen välikappaletta, kuusiokoloruuvia ja laippalukkomutteria (Kuva 15) takaleikkuuyksiköiden kannattimista (leikkuuyksiköt 2 ja 3). Katso kohta Kuva 12.

Laske kaikki nostovarret kokonaan.
Voitele kannattimen akseli puhtaalla rasvalla (Kuva 16).

Liu’uta etuleikkuuyksiköissä leikkuuyksikkö nostovarren alle ja työnnä samalla kannattimen akseli nostovarren tapin haarukkapäähän (Kuva 16). Varmista, että painealuslaatta on paikallaan kannattimen akselissa.
Kiinnitä kannattimen akseli nostovarren haarukkapäähän lukitussokalla (Kuva 16).
Lukitse leikkuuyksiköiden ohjaus kiinnittämällä tapin haarukkapää kannattimeen lukkotapilla (Kuva 17).

Note: Lukittua ohjausta suositellaan käytettäväksi rinteissä leikattaessa.
Toimi seuraavasti takaleikkuuyksiköissä, kun leikkuukorkeus on yli 1,9 cm.
Irrota lukitussokka ja aluslaatta, joilla nostovarren tappi on kiinni nostovarressa ja liu’uta nostovarren tappi irti nostovarresta (Kuva 18).

Työnnä nostovarren haarukkapää kannattimen akseliin (Kuva 16).
Työnnä nostovarren akseli nostovarteen ja kiinnitä se aluslaatalla ja lukitussokalla (Kuva 18).
Kiinnitä nostovarren ketju ketjukiinnikkeeseen lukkotapilla (Kuva 19).
Note: Käytä leikkuuyksikön käyttöoppaassa määritettyä määrää rengaslinkkejä.

Päällystä kelamoottorin ura-akseli puhtaalla rasvalla.
Voitele kelamoottorin O-rengas ja asenna se moottorin laippaan.
Asenna moottori kiertämällä sitä myötäpäivään niin, että moottorin laipat eivät koske pultteihin (Kuva 20).

Kierrä moottoria vastapäivään, kunnes laipat ympäröivät pultit. Kiristä sitten pultit.
Important: Varmista, että kelamoottorin letkut eivät ole vääntyneet, mutkalla tai vaarassa joutua puristuksiin.
Nurmentasausjousi (Kuva 21) siirtää painoa eturullalta takarullalle. Näin voidaan vähentää aaltokuvioita nurmessa.
Important: Tee jousen säädöt leikkuuyksikön ollessa asennettuna ajoyksikköön, osoittaessa suoraan eteenpäin ja laskettuna työpajan lattialle.
Varmista, että sokka on asennettuna tangon taimmaiseen aukkoon (Kuva 21).
Note: Siirrä sokka nurmentasausjousen vieressä olevaan tangon aukkoon leikkuuyksikköä huollettaessa.

Kiristä tangon etupään kuusiomuttereita, kunnes jousen pituus puristettuna on 15,9 cm. Katso Kuva 21.
Note: Vähennä jousen pituudesta 13 mm, jos konetta käytetään epätasaisessa maastossa. Maapinnan myötäily vähenee hieman.
Note: Nollaa nurmentasausasetukset, jos leikkuukorkeus- tai aggressiivisuusasetusta muutetaan.
Vaiheeseen tarvittavat osat:
| Leikkuuyksikön tukiteline | 1 |
Jos leikkuuyksikköä on kallistettava kiinteän terän / kelan esiin saamiseksi, nosta leikkuuyksikön takaosa tukitelineen varaan siten, että runkopalkin säätöruuvien takaosan mutterit eivät nojaa työpintaan (Kuva 22).

Kiinnitä tukiteline ketjukiinnikkeeseen lukkotapilla (Kuva 23).

Kone on rasvattava ennen käyttöä, jotta voitelu olisi asianmukainen. Katso kohta Voitelu. Koneen rasvauksen laiminlyönti saattaa vioittaa tärkeitä osia ennenaikaisesti.
Tarkista taka-akselin voiteluaineen määrä ennen moottorin ensimmäistä käynnistystä. Katso kohta Taka-akselin öljymäärän tarkistus.
Tarkista hydraulinesteen määrä ennen moottorin ensimmäistä käynnistystä. Katso kohta Hydraulinesteen määrän tarkistus.
Tarkista moottorin öljymäärä ennen moottorin ensimmäistä käynnistystä ja sen jälkeen. Katso kohta Moottoriöljyn määrän tarkistus.
Vaiheeseen tarvittavat osat:
| Mittapalkki | 1 |
Säädä leikkuuyksikköä käyttämällä mittapalkkia. Säätöohjeet ovat leikkuuyksikön käyttöoppaassa (Kuva 24).

Kahdella polkimella (Kuva 25) käytetään erillisiä pyöräjarruja. Niiden avulla voidaan helpottaa kääntymistä ja parantaa rinteensuuntaista pitoa.
Polkimen lukitussalpa (Kuva 25) yhdistää polkimet seisontajarrun kytkemistä varten.
Kun haluat kytkeä seisontajarrun (Kuva 25), yhdistä polkimet toisiinsa polkimen lukitussalvalla, kytke varvaspoljin ja paina oikea jarrupoljin alas. Kun haluat vapauttaa seisontajarrun, paina yhtä jarrupoljinta, kunnes seisontajarrun salpa palautuu.

Ajopoljin (Kuva 25) ohjaa käyttöä eteen- ja taaksepäin. Polkimen yläosaa painamalla kone liikkuu eteenpäin ja polkimen alaosaa painamalla taaksepäin. Ajonopeus määräytyy sen mukaan, kuinka pitkälle poljinta painetaan. Jos haluat maksiminopeuden, säädä kaasu NOPEA-asentoon ja paina poljin pohjaan.
Kun haluat pysäyttää koneen, nosta jalkaa ajopolkimelta ja anna polkimen palautua keskiasentoon.
Kun haluat kallistaa ohjauspyörää itseesi päin, paina poljinta (Kuva 25) alas ja vedä ohjauspyörää itseäsi kohti miellyttävimpään asentoon. Vapauta sitten poljin.
Kun leikkuunopeuden rajoitin (Kuva 26) on nostettuna ylös, se rajoittaa leikkuunopeutta ja mahdollistaa leikkuuyksiköiden kytkemisen. Jokainen välikappale säätää leikkuunopeutta 0,8 km/h. Mitä enemmän välikappaleita pultin päällä on, sitä hitaammin kone liikkuu. Vedä leikkuunopeuden rajoitin takaisin alas kuljetusta varten, jotta koneen kuljetusnopeus on suurin mahdollinen.
Ruuveja säätämällä (Kuva 26) rajoitetaan sitä, kuinka syvälle ajopoljinta voidaan painaa eteenpäin tai taaksepäin ajettaessa.
Important: Nopeudenrajoitusruuvin on pysäytettävä ajopoljin, ennen kuin pumppu saavuttaa täyden iskun pituuden. Muutoin pumppu voi vaurioitua.

Tällä vivulla (Kuva 27) nostetaan ja lasketaan leikkuuyksikköjä. Sillä myös käynnistetään ja pysäytetään kelat, kun kelat ovat käytössä ja leikkuutilassa. Leikkuuyksiköitä ei voida laskea, kun leikkuunohjaus-/kuljetusvipu on kuljetusasennossa.
Avainkytkimessä (Kuva 27) on kolme asentoa: PYSäYTYS, KäYNNISSä/ESILäMMITYS ja KäYNNISTYS.
Tietokeskuksen LCD-näytössä on muun muassa tietoja koneen käyttötilasta, vianmääritystietoja ja muita koneeseen liittyviä tietoja (Kuva 27).
Voimanulosoton kytkimellä (Kuva 27) on kaksi asentoa: KäYNNISTYS ja PYSäYTYS. Kytke leikkuuyksikön terät painamalla voimanulosoton painiketta eteenpäin. Vapauta leikkuuyksikön terät painamalla painiketta taaksepäin.

Moottorin nopeuskytkimessä (Kuva 27) on kaksi tilaa, joilla moottorin nopeutta voi muuttaa. Moottorin nopeutta voidaan nostaa tai laskea 100 kierr./min:n askelin napauttamalla kytkintä. Kun kytkintä pidetään painettuna, moottori siirtyy automaattisesti korkealle tai alhaiselle joutokäyntinopeudelle riippuen siitä, kumpaa kytkimen päätä painetaan.
Sytytä ajovalot kääntämällä kytkintä alaspäin (Kuva 27).
Sähkötoimiset lisävarusteet saavat virtaa 12 voltin pistorasiasta (Kuva 28).

Käytä pussin pidikettä säilytykseen (Kuva 29).

Läpätä kelat läppäysvivuilla (Kuva 30).


Siirrä istuinta pitkittäissuunnassa vetämällä vivusta (Kuva 31).
Säädä istuimen käsinojan kulmaa kiertämällä nuppia (Kuva 31).
Säädä istuimen selkänojan kulmaa siirtämällä vipua (Kuva 31).
Painomittarin avulla istuinta voidaan säätää käyttäjän painon mukaan (Kuva 31). Korkeutta säädetään siten, että jousitus osuu vihreällä merkitylle alueelle.
Säädä istuin käyttäjän painon mukaan (Kuva 31). Voit nostaa ilmanpainetta vetämällä vipua ylös ja laskea painetta painamalla vipua alas. Säätö on oikea, kun painomittari on vihreällä alueella.
Tietokeskuksen LCD-näytössä on muun muassa tietoja koneen käyttötilasta, vianmääritystietoja ja muita koneeseen liittyviä tietoja (Kuva 32). Tietokeskuksessa on odotusnäyttö ja päätietonäyttö. Odotusnäytön ja päätietonäytön välillä voidaan siirtyä milloin tahansa painamalla jotakin tietokeskuksen painiketta ja valitsemalla sitten sopiva nuolen suunta.

Vasenta painiketta, valikon käyttöpainiketta / takaisin-painiketta painamalla voi käyttää tietokeskuksen valikoita. Sen avulla voidaan myös siirtyä taaksepäin valikoissa.
Keskimmäisellä painikkeella voi selata valikoita alaspäin.
Oikealla painikkeella voi avata lisätietoja sisältävän valikon, jos oikealle osoittava nuoli on näkyvissä.
Manuaalinen taaksepäinpuhallus aktivoidaan painamalla vasenta ja oikeaa painiketta samanaikaisesti.
Äänimerkki kuuluu, kun leikkuupöytiä lasketaan, näytössä on ilmoituksia tai koneessa on vika.
Note: Kunkin painikkeen käynnistämä toiminto vaihtelee tilanteen mukaan. Jokaisessa painikkeessa näkyy kuvake, joka ilmaisee painikkeen sillä hetkellä käytössä olevan toiminnon.
| SERVICE DUE | Ilmoittaa, milloin on tehtävä määräaikaishuolto. |
![]() | Tietokuvake |
![]() | Tuntilaskuri |
![]() | Nopea |
![]() | Hidas |
![]() | Taaksepäinpuhallus ilmaisee, milloin puhallin puhaltaa taaksepäin. |
![]() | Ilmanoton lämmitin käytössä |
![]() | Nosta leikkuuyksiköt |
![]() | Laske leikkuuyksiköt |
![]() | Kuljettajan on oltava istuimella. |
![]() | Seisontajarrun ilmaisin kertoo, onko seisontajarru käytössä. |
![]() | Käytössä ylempi nopeusalue |
![]() | Vapaa |
![]() | Käytössä alempi nopeusalue |
![]() | Jäähdytysnesteen lämpötila osoittaa moottorin jäähdytysnesteen lämpötilan joko celsius- tai fahrenheitasteina. |
![]() | Lämpötila (kuuma) |
![]() | Estetty tai kielletty |
![]() | Voimanulosotto on kytkettynä |
![]() | Moottorin käynnistys |
![]() | Pysäytys tai sammutus |
![]() | Moottori |
![]() | Avainkytkin |
![]() | Leikkuuyksiköitä lasketaan |
![]() | Leikkuuyksiköitä nostetaan |
![]() | PIN-käyttökoodi |
![]() | Hydrauliöljyn lämpötila |
![]() | CAN-väylä |
![]() | Tietokeskus |
![]() | Viallinen tai epäonnistunut |
![]() | Polttimo |
![]() | TEC-ohjaimen tai johdinsarjan ohjaimen lähtöliitäntä |
![]() | Korkea: yli sallitun alueen |
![]() | Matala: alle sallitun alueen |
/![]() | Alueen ulkopuolella |
![]() | Kytkin |
![]() | Kuljettajan on vapautettava kytkin. |
![]() | Kuljettajan on vaihdettava ilmoitettuun tilaan. |
| Symboleja käytetään usein yhdistelminä, jolloin ne muodostavat lauseita. Alla on joitakin esimerkkejä. | |
![]() | Vaihda kone vapaalle. |
![]() | Moottoria ei voida käynnistää. |
![]() | Moottori sammutetaan. |
![]() | Moottorin jäähdytysneste on liian kuumaa. |
![]() | Hydrauliöljy on liian kuumaa. |
![]() | Istuudu istuimelle tai kytke seisontajarru. |
Avaa tietokeskuksen valikko painamalla päänäytössä valikkopainiketta. Esiin tulee päävalikko. Valikkojen toiminnot on merkitty lyhyesti seuraaviin taulukoihin:
| Päävalikko | |
| Valikon kohta | Kuvaus |
| Viat | Viat-valikossa on lueteltu koneen viimeaikaiset viat. Lisätietoja Viat-valikosta ja sen sisältämistä tiedoista saa huolto-oppaasta tai valtuutetulta Toro-jälleenmyyjältä. |
| Huolto | Huoltovalikossa on koneeseen liittyviä tietoja, kuten käyttötuntimerkintöjä ja muita vastaavia lukuja. |
| Diagnostiikka | Diagnostiikka-valikossa näkyy koneen kaikkien kytkinten, antureiden ja ohjainten ulostulojen tila. Sitä voi käyttää joidenkin ongelmien vianmääritykseen, koska siitä näkee helposti, mitkä koneen ohjaimet ovat käytössä ja mitkä pois käytöstä. |
| Asetukset | Asetukset-valikossa voi muokata tietokeskuksen näyttöasetusten muuttujia. |
| Tietoja | Tietoja-valikossa on mainittu koneen mallinumero, sarjanumero ja ohjelmiston versio. |
| Huolto | |
| Valikon kohta | Kuvaus |
| Hours | Näyttää kokonaisajan, jonka kone, moottori ja voimanulosotto ovat olleet käytössä, sekä ajan, jonka verran konetta on kuljetettu ja milloin se on huollettava. |
| Counts | Näyttää koneen laskennat. |
| Diagnostiikka | |
| Valikon kohta | Kuvaus |
| Cutting Units | Osoittaa leikkuuyksiköiden nostamisessa ja laskemisessa käytetyt tulot ja lähdöt sekä määritykset. |
| Hi/Low Range | Osoittaa kuljetustilan aikana ajettaessa käytössä olevat tulot ja lähdöt sekä määritykset. |
| PTO | Osoittaa voimanulosoton käytön mahdollistavat tulot ja lähdöt sekä määritykset. |
| Engine Run | Osoittaa moottorin käynnistyksen aikana käytössä olevat sisään- ja ulostulot sekä määritykset. |
| Backlap | Osoittaa läppäyksen käyttöön liittyvät tulot, määritykset ja lähdöt. |
| Asetukset | |
| Valikon kohta | Kuvaus |
| Yksiköt | Kontrolloi tietokeskuksen yksiköitä. Valikon vaihtoehdot ovat Englantilainen (brittiläiset mitat) tai Metrinen (metrijärjestelmä). |
| Kieli | Tietokeskuksessa käyttävien kielten hallinta* |
| Taustavalo | LCD-näytön kirkkauden säätö |
| Kontrasti | LCD-näytön kontrastin säätö |
| Etuläppäyksen kelanopeus | Säätää etukelojen nopeutta läppäystilassa. |
| Takaläppäyksen kelanopeus | Säätää takakelojen nopeutta läppäystilassa. |
| Suojatut valikot | Jälleenmyyjä/mekaanikko pääsee suojattuihin valikkoihin syöttämällä käyttökoodin. |
| Automaattinen joutokäynti | Säätelee aikaa, jonka jälkeen liikkumaton kone siirtyy joutokäyntitilaan. |
| Terien määrä | Säätää kelanopeuteen vaikuttavaa kelaterien määrää. |
| Leikkuunopeus | Säätää kelanopeuden määrittämisessä käytettävää ajonopeutta. |
| Leikkuukorkeus | Valvoo leikkuukorkeutta kelanopeuden määrittämiseksi. |
| E kelan kierr. | Näyttää etukelojen lasketun nopeusasennon. Keloja voidaan säätää myös manuaalisesti. |
| T kelan kierr. | Näyttää takakelojen lasketun nopeusasennon. Keloja voidaan säätää myös manuaalisesti. |
* Vain kuljettajalle tarkoitetut tekstit on käännetty. Viat-, Huolto- ja Diagnostiikka-näytöt on tarkoitettu huoltohenkilöstölle. Otsikot on käännetty valitulle kielielle, mutta valikkovaihtoehdot ovat englanniksi.
| Tietoja | |
| Valikon kohta | Kuvaus |
| Malli | Näyttää koneen mallinumeron. |
| SN | Näyttää koneen sarjanumeron. |
| Koneen ohjainversio | Näyttää pääohjaimen ohjelmiston version. |
| Tietokeskuksen versio | Näyttää tietokeskuksen ohjelmiston version. |
| CAN-väylä | Näyttää koneen tietoliikenneväylän tilan. |
Tietokeskuksen asetusvalikossa on viisi käyttökokoonpanoasetusta, joita voidaan säätää. Näitä ovat terien määrä, leikkuunopeus, leikkuukorkeus, E kelan kierr. ja T kelan kierr. Asetukset voidaan lukita suojatussa valikossa.
Note: Jälleenmyyjä ohjelmoi alkuperäisen käyttökoodin toimitushetkellä.
päävalikosta etsimällä Asetukset-valikon ja painamalla oikeaa painiketta.
Asetukset-valikosta etsimällä suojatun valikon ja painamalla oikeaa painiketta.
Käyttökoodi annetaan painamalla keskimmäistä painiketta, antamalla ensimmäinen numero ja painamalla sitten oikeaa painiketta toiseen numeroon siirtymiseksi.
Anna toinen numero keskimmäistä painiketta painamalla ja siirry sitten seuraavaan numeroon painamalla oikeaa painiketta.
Anna kolmas numero keskimmäistä painiketta painamalla ja siirry sitten seuraavaan numeroon painamalla oikeaa painiketta.
Anna neljäs numero keskimmäistä painiketta painamalla ja paina sitten oikeaa painiketta.
Vahvista koodi painamalla keskimmäistä painiketta.
Jos koodi on hyväksytty ja suojattu valikko on lukitsematon, näytön oikeassa yläkulmassa näkyy sana ”PIN”.
Suojatun valikon asetusten tarkastelu- ja muutosmahdollisuuksia voi muuttaa. Kun olet siirtynyt suojattuun valikkoon, etsi kohta Suojaa asetukset. Asetusten suojaus voidaan poistaa oikealla painikkeella. Tällöin asetuksia voidaan tarkastella ja muuttaa suojatussa valikossa ilman käyttökoodia. Jos asetusten suojaus on käytössä, suojatut vaihtoehdot eivät ole näkyvissä ja niiden vaihto suojatussa valikossa edellyttää käyttökoodia. Kun käyttökoodi on asetettu, toiminto otetaan käyttöön ja tallennetaan kytkemällä virtalukko pois päältä ja takaisin päälle.
Note: Jos käyttökoodi on unohtunut tai hukkunut, pyydä apua jälleenmyyjältä.
Siirry Asetukset-valikon kohtaan Automaattinen joutokäynti.
Vaihda oikeaa painiketta painamalla automaattisen joutokäynnin asetukseksi Pois, 8S, 10S, 15S, 20S tai 30S.
Siirry Asetukset-valikon kohtaan Terien määrä.
Vaihda koneeseen 5-, 8- tai 11-lehtinen kela painamalla oikeaa painiketta.
Siirry Asetukset-valikon kohtaan Leikkuunopeus.
Valitse leikkuunopeus painamalla oikeaa painiketta.
Valitse ajopolkimen mekaaniseen leikkuukorkeuden rajoittimeen asetettava leikkuunopeus keskimmäisellä ja oikealla painikkeella.
Poistu leikkuunopeuden asetuksesta ja tallenna se painamalla vasenta painiketta.
Siirry Asetukset-valikon kohtaan Leikkuukorkeus (HOC).
Valitse leikkuukorkeus painamalla oikeaa painiketta.
Valitse sopiva leikkuukorkeusasetus keskimmäisellä ja oikeanpuoleisella painikkeella.
Note: Jos näytössä ei ole täsmälleen sopivaa asetusta, valitse näytössä olevasta luettelosta lähin sopiva leikkuukorkeusasetus.
Poistu asetuksesta ja tallenna se painamalla vasenta painiketta.
Vaikka tietokeskus laskee etu- ja takakelojen nopeudet automaattisesti terien määrän, leikkuunopeuden ja leikkuukorkeuden avulla, asetusta voidaan muuttaa käsin erilaisiin leikkuuolosuhteisiin sopivaksi.
Siirry valikon kohtaan E kelan kierr., T kelan kierr. tai molempiin.
Muuta kelanopeutta painamalla oikeaa painiketta. Kun nopeusasetus muuttuu, näytössä näkyy edelleen aiemmin annettuihin terien määrään, leikkuunopeuteen ja leikkuukorkeuteen perustuva kelanopeus, mutta siinä näkyy myös uusi nopeus.
Note: Ominaisuuksia ja rakennetta voidaan muuttaa ilmoittamatta.
| Leikkuuleveys, 69 cm:n leikkuuyksiköt | 307 cm |
| Leikkuuleveys, 81 cm:n leikkuuyksiköt | 320 cm |
| Kokonaisleveys, 69 cm:n leikkuuyksiköt alhaalla | 345 cm |
| Kokonaisleveys, 81 cm:n leikkuuyksiköt alhaalla | 358 cm |
| Kokonaisleveys, leikkuuyksiköt ylhäällä (kuljetus) | 239 cm |
| Kokonaispituus | 370 cm |
| Korkeus kaatumissuojausjärjestelmä mukaan luettuna | 220 cm |
| Pyöräväli edessä | 229 cm |
| Pyöräväli, takana | 141 cm |
| Akseliväli | 171 cm |
| Nettopaino (ilman leikkuuyksiköitä tai nesteitä) | 1 574 kg |
Koneeseen on saatavana valikoima Toron hyväksymiä lisälaitteita ja -varusteita, joiden avulla voidaan parantaa ja laajentaa sen ominaisuuksia. Ota yhteys valtuutettuun huoltoliikkeeseen.
Suojaa Toro-laitteistoinvestointi ja huolehdi sen toiminnasta käyttämällä alkuperäisiä Toro-varaosia. Toro toimittaa alkuperäisiä varaosia, jotka on suunniteltu erityisen tarkasti laitteidemme teknisten määritysten mukaisesti. Vaadi alkuperäisiä Toro-varaosia ja voit olla huoletta.
Note: Koneen vasen ja oikea puoli määritellään normaalista käyttöasennosta käsin.
Jos jätät avaimen virtalukkoon, joku voi vahingossa käynnistää moottorin ja vahingoittaa vakavasti lähellä olijoita.
Irrota avain virtalukosta ennen huollon aloitusta.
Lue kaikki turvallisuusohjeet ja perehdy merkintöihin. Nämä tiedot auttavat suojaamaan sinua ja sivullisia loukkaantumiselta.
Käyttö märällä ruoholla tai jyrkillä rinteillä saattaa aiheuttaa luisumista ja koneen hallinnan menetyksen.
Renkaiden lipeäminen reunojen yli saattaa kaataa koneen, mistä voi olla seurauksena vakava loukkaantuminen, hukkumisvaara tai kuolema.
Lue kaatumissuojausohjeet ja -varoitukset ja noudata niitä.
Noudata seuraavia ohjeita hallinnan säilyttämiseksi ja kaatumisen ehkäisemiseksi.
Älä käytä pudotusten tai veden lähellä.
Älä käytä rinteillä, joiden kaltevuus ylittää konemallille määritetyn arvon.
Vähennä rinteissä nopeutta ja ole äärimmäisen varovainen.
Älä muuta nopeutta tai suuntaa äkillisesti.
Tämän koneen tuottama äänitaso saattaa aiheuttaa kuulovamman pitkäaikaisessa altistuksessa.
Käytä kuulosuojaimia käyttäessäsi konetta.

| Huoltoväli | Huoltotoimenpide |
|---|---|
| Aina ennen käyttöä tai päivittäin |
|
Moottori toimitetaan kampikammio öljyllä täytettynä, mutta öljymäärä on kuitenkin tarkistettava ennen moottorin ensimmäistä käynnistystä ja sen jälkeen.
Kampikammion ja suodattimen yhteistilavuus on noin 9,5 litraa.
Käytä seuraavien määritysten mukaista korkealaatuista moottoriöljyä:
Vaadittu API-luokitus: CH-4, CI-4 tai korkeampi
Öljysuositus: SAE 15W-40 (yli –18 °C)
Vaihtoehto: SAE 10W-30 tai 5W-30 (kaikki lämpötilat)
Note: Toro Premium -moottoriöljyä on saatavana jälleenmyyjältä (viskositeetti 15W-40 tai 10W-30). Katso näiden osien osanumerot osaluettelosta.
Note: Paras aika tarkistaa moottoriöljy on moottorin ollessa viileä ennen päivän ensimmäistä käynnistystä. Jos moottori on ollut käynnissä, anna öljyn valua takaisin öljypohjaan ainakin 10 minuutin ajan ennen tarkistusta. Jos öljyn taso on mittatikun Add-merkinnän kohdalla tai sen alapuolella, lisää öljyä mittatikun Full-merkintään saakka. Älä täytä moottoria liian täyteen. Jos öljyn pinta on mittatikun Full- ja Add-merkintöjen välissä, öljyä ei tarvitse lisätä.
Pysäköi kone tasaiselle alustalle.
Vapauta konepellin salvat ja avaa konepelti (Kuva 34).

Poista mittatikku, pyyhi puhtaaksi, työnnä takaisin ja vedä uudestaan ulos.
Öljyn pinnan on oltava oikealla alueella (Kuva 35).

Jos öljyn pinta jää oikean alueen alle, irrota täyttöaukon korkki (Kuva 36) ja lisää öljyä, kunnes pinta yltää Full-merkkiin saakka.
Important: Älä täytä moottoria liian täyteen.

Note: Kun käytät eri öljyä, tyhjennä kaikki vanha öljy kampikammiosta ennen uuden öljyn lisäämistä.
Asenna öljyntäyttökorkki ja työnnä mittatikku paikoilleen.
Sulje konepelti ja salpaa se kiinni.
| Huoltoväli | Huoltotoimenpide |
|---|---|
| Aina ennen käyttöä tai päivittäin |
|
Tarkista jäähdytysnesteen määrä jokaisen työpäivän alussa. Järjestelmän tilavuus on 12,3 litraa.
Irrota jäähdyttimen korkki varovasti.
Jos moottori on juuri sammutettu, kuuma, paineenalainen jäähdytysneste saattaa roiskua ja aiheuttaa palovammoja.
Älä aukaise jäähdyttimen korkkia moottorin käydessä.
Käytä korkkia käsitellessäsi liinaa ja aukaise korkki hitaasti, jotta paine pääsee pois.

Tarkista jäähdyttimen jäähdytysnesteen määrä.
Note: Jäähdytysnestettä on oltava täyttökaulan yläreunaan saakka ja paisuntasäiliön Full-merkkiin saakka (Kuva 37).
Jos jäähdytysnestettä on liian vähän, lisää veden ja etyleeniglykolipakkasnesteen seosta (seossuhde 50/50).
Note: Älä käytä pelkkää vettä tai alkoholi-/metanolipohjaista jäähdytysnestettä.
Asenna jäähdyttimen korkki ja paisuntasäiliön korkki.
Polttoainesäiliön tilavuus: 83 litraa
Käytä vain puhdasta, tuoretta dieselpolttoainetta, jonka rikkipitoisuus on erittäin alhainen (<15 ppm) ja joka täyttää standardin ASTM D975 tai EN 590 vaatimukset. Setaaniluvun on oltava vähintään 40. Jotta polttoaine olisi tuoretta, osta sitä vain 180 päivän tarpeeseen.
Important: Muun kuin rikkipitoisuudeltaan erittäin alhaisen polttoaineen käyttö vahingoittaa moottorin päästöjärjestelmää.
Käytä kesälaatuista dieselpolttoainetta (nro 2-D) yli –7 °C:n lämpötiloissa ja talvilaatuista dieselpolttoainetta (nro 1-D tai nro 1-D / nro 2-D -seosta) alle –7 °C:n lämpötiloissa. Talvilaatuisen polttoaineen leimahduspiste on alhaisempi, ja sen kylmävirtausominaisuudet helpottavat käynnistystä ja vähentävät polttoainesuodattimen tukkeutumista.
Kesälaatuisen polttoaineen käyttö lämpötilan ollessa yli –7 °C pidentää polttoainepumpun käyttöikää ja antaa talvilaatuista polttoainetta enemmän tehoa.
Important: Dieselpolttoaineen sijasta ei saa käyttää paloöljyä tai bensiiniä. Väärän polttoaineen käyttö rikkoo moottorin.
Tässä laitteessa voidaan käyttää myös polttoaineseosta, jossa on enintään 20 % biodieseliä (B20). Seoksen petrodieselosuuden rikkipitoisuuden on oltava alhainen tai erittäin alhainen. Noudata seuraavia varo-ohjeita:
Polttoaineen biodieselosuuden on oltava ASTM D6751:n tai EN 14214:n mukainen.
Polttoaineseoksen koostumuksen on oltava ASTM D975:n tai EN 590:n mukainen.
Biodieselseokset voivat vahingoittaa maalattuja pintoja.
Käytä kylmällä säällä korkeintaan B5-seosta (biodieselpitoisuus 5 %).
Tarkkaile polttoaineen kanssa kosketuksiin joutuvia tiivisteitä ja letkuja, sillä ne voivat haurastua ajan mittaan.
Polttoainesuodattimeen voi muodostua tukoksia jonkin aikaa biodieselseosten käytön aloittamisen jälkeen.
Lisätietoja biodieselistä saa jälleenmyyjältä.
Polttoaine on haitallista tai tappavaa nieltynä. Pitkäaikainen altistuminen höyryille voi aiheuttaa vakavan tapaturman ja sairauksia.
Vältä höyryjen hengittämistä.
Pidä kasvot etäällä jakelupistoolista ja polttoainesäiliöstä tai lisäaineaukosta.
Älä päästä polttoainetta silmiin tai iholle.
Tietyissä oloissa polttoaine on hyvin tulenarkaa ja räjähdysherkkää. Polttoaineen aiheuttama tulipalo tai räjähdys voi aiheuttaa palovammoja ja omaisuusvahinkoja.
Täytä polttoainesäiliö ulkona avoimessa tilassa, kun moottori on jäähtynyt. Pyyhi läikkynyt polttoaine pois.
Älä täytä polttoainesäiliötä suljetussa perävaunussa.
Älä tupakoi polttoainetta käsitellessäsi ja pysy kaukana avotulesta tai paikoista, joissa kipinä voi sytyttää polttoainehöyryt.
Polttoainetta tulee säilyttää hyväksytyssä polttoaineastiassa, joka tulee pitää poissa lasten ulottuvilta. Älä osta polttoainetta enempää kuin 180 päivän tarpeeseen.
Käytä laitetta vain, kun pakokaasujärjestelmä on kokonaisuudessaan paikallaan ja toimii oikein.
Tietyissä olosuhteissa polttoainesäiliön täytön aikana saattaa purkautua staattista sähköä, joka voi sytyttää polttoainehöyryt. Polttoaineen aiheuttama tulipalo tai räjähdys voi aiheuttaa palovammoja ja omaisuusvahinkoja.
Aseta polttoaineastiat aina maahan ja pois ajoneuvon läheltä ennen polttoaineen lisäämistä.
Polttoaineastioita ei saa täyttää ajoneuvon sisällä tai kuorma-auton tai perävaunun lavalla, sillä sisämatot tai muoviset lavan päällysteet saattavat eristää astian ja hidastaa staattisen sähkön purkautumista.
Poista laite kuorma-autosta tai perävaunusta ja tankkaa laite, kun sen pyörillä on kosketus maahan, mikäli tämä on käytännössä mahdollista.
Jos se ei ole mahdollista, tankkaa tällainen laite kannettavasta astiasta kuorma-auton tai perävaunun lavalla mieluummin kuin polttoaineen jakelupistoolilla.
Jos polttoaineen jakelupistoolia on käytettävä, pidä pistoolia polttoainesäiliön reunaa tai astian aukkoa vasten koko tankkaamisen ajan.
Pysäköi kone tasaiselle alustalle.
Puhdista polttoainesäiliön korkin ympäristö puhtaalla liinalla.
Irrota polttoainesäiliön korkki (Kuva 38).

Lisää polttoainetta polttoainesäiliöön, kunnes pinta on täyttökaulan alareunan tasalla.
Aseta polttoainesäiliön korkki tiukasti paikalleen, kun olet täyttänyt säiliön.
Note: Täytä polttoainesäiliö aina käytön jälkeen, jos mahdollista. Tämä estää kosteutta tiivistymästä polttoainesäiliön sisälle.
| Huoltoväli | Huoltotoimenpide |
|---|---|
| Aina ennen käyttöä tai päivittäin |
|
Säiliöön on lisätty tehtaalla noin 28,4 litraa korkealaatuista hydraulinestettä. Tarkista hydraulinesteen määrä ennen moottorin ensimmäistä käynnistystä ja sen jälkeen päivittäin.
Suositettu neste: Toro Premium All Season Hydraulic Fluid (Saatavana 19 litran astioissa tai 208 litran tynnyreissä. Katso näiden osien osanumerot osaluettelosta tai pyydä ne Toro-jälleenmyyjältä).
Vaihtoehtoiset nesteet: Jos Toro-nesteitä ei ole saatavana, voidaan käyttää muita tavallisia, öljypohjaisia nesteitä, jotka täyttävät kaikki jäljempänä luetellut vaatimukset (ominaisuudet ja standardit). Tarkista öljyntoimittajalta, täyttääkö neste nämä määritykset.
Note: Toro ei vastaa vääränlaisten nesteiden käytöstä aiheutuneista vaurioista, joten on käytettävä vain sellaisten tunnettujen valmistajien tuotteita, joiden luokituksiin voi luottaa.
| Kulumista estävä hydraulineste, jolla on korkea viskositeetti-indeksi / alhainen jähmepiste, ISO VG 46 Multigrade | |||
| Ominaisuudet: | |||
| Viskositeetti, ASTM D445 | cSt / 40 °C 44–48cSt / 100 °C 7,9–9,1 | ||
| Viskositeetti-indeksi, ASTM D2270 | 140 tai korkeampi (korkea viskositeetti-indeksi merkitsee moniasteista nestettä) | ||
| Jähmepiste, ASTM D97 | -37 °C...-45 °C | ||
| FZG, Fail Stage | 11 tai parempi | ||
| Vesipitoisuus (uusi neste) | 500 ppm (enintään) | ||
| Standardit: | |||
| Vickers I-286-S, Vickers M-2950-S, Denison HF-0, Vickers 35 VQ 25 (Eaton ATS373-C) | |||
Asianmukaisten hydraulinesteiden määritysten on vastattava liikkuvia koneita (teollisuuslaitoskäytön sijaan), niiden on oltava monipainotyyppisiä sekä niissä on oltava kulumista estävä lisäainepaketti ZnDTP tai ZDDP (ei tuhkattoman tyyppistä nestettä).
Important: ISO VG 46 -moniastenesteen on todettu tarjoavan optimaaliset käyttöominaisuudet useissa lämpötiloissa. Jatkuvasti korkeissa lämpötiloissa (18–49 °C) työskenneltäessä ISO VG 68 -hydraulineste saattaa olla parempi vaihtoehto.
Luonnossa hajoava hydraulineste – Mobil EAL EnviroSyn 46H
Important: Mobil EAL EnviroSyn 46H on ainoa Toron testaama ja hyväksymä luonnossa hajoava synteettinen neste. Neste on yhteensopiva Toro-hydraulijärjestelmissä käytettyjen elastomeerien kanssa, ja sitä voidaan käyttää useissa lämpötiloissa. Neste on yhteensopiva perinteisten nesteiden kanssa, mutta paras mahdollinen luonnossa hajoavuus ja suorituskyky saavutetaan huuhtelemalla perinteinen neste perusteellisesti pois hydraulijärjestelmästä. Nestettä on saatavana 19 litran säiliöissä tai 208 litran tynnyreissä Mobil-jälleenmyyjiltä.
Important: Monet hydraulinesteet ovat lähes värittömiä, mikä vaikeuttaa vuotojen toteamista. Hydraulinesteelle tarkoitettua punaista värilisäainetta on saatavana 20 ml:n pulloissa. Yksi pullo riittää 15–22 litralle hydraulinestettä. Tilaa valtuutetulta Toro-jälleenmyyjältä osa numero 44-2500.
Pysäköi kone tasaiselle alustalle, laske leikkuuyksiköt, sammuta moottori ja irrota avain virtalukosta.
Puhdista hydraulinestesäiliön täyttökaulaa ja korkkia ympäröivä alue (Kuva 39).

Irrota korkki täyttökaulasta.
Vedä mittatikku ulos täyttökaulasta ja pyyhi tikku puhtaalla liinalla.
Työnnä mittatikku täyttökaulaan, vedä se taas ulos ja tarkista nesteen pinta.
Note: Nesteen pinnan täytyy ulottua mittatikun kahden merkinnän välille.
Jos nestettä on liian vähän, lisää nestettä riittävästi, jotta pinta nousee ylempään merkkiin saakka.
Työnnä mittatikku takaisin paikoilleen ja sulje täyttökaulan korkki.
| Huoltoväli | Huoltotoimenpide |
|---|---|
| Aina ennen käyttöä tai päivittäin |
|
Renkaat on ylitäytetty kuljetusta varten. Vapauta siksi renkaista hieman ilmaa, jotta paine laskee. Renkaiden oikea ilmanpaine on 0,83–1,03 bar. Tarkista rengaspaine päivittäin.
Important: Pidä rengaspaineet suositelluissa rajoissa, jotta leikkuujäljen laatu pysyy hyvänä ja kone toimii oikein. Älä käytä liian alhaisia rengaspaineita.
Important: Polttoainejärjestelmä voi olla tarpeen ilmata seuraavien tilanteiden yhteydessä:
Moottori on pysähtynyt polttoaineen loppumisen vuoksi.
Polttoainejärjestelmää on huollettu.
Nosta jalka ajopolkimelta ja varmista, että poljin on VAPAA-asennossa.
Note: Tarkista, että seisontajarru on kytkettynä.
Siirrä moottorin nopeuskytkin alhaisen joutokäynnin asentoon.
Käännä virta-avain KäYNNISSä-asentoon.
Note: Hehkutulppien merkkivalo syttyy.
Kun hehkutulppien merkkivalo sammuu, käännä virta-avain Käynnistys-asentoon.
Vapauta virta-avain heti moottorin käynnistyttyä ja anna sen palata Käynnissä-asentoon.
Säädä moottorin käyntinopeutta.
Important: Älä käytä käynnistysmoottoria yli 15 sekuntia yhdellä kertaa, koska se voi vaurioitua. Jos moottori ei käynnisty 15 sekunnin kuluessa, käännä virta-avain Pois-asentoon, tarkista ohjauslaitteet ja toimenpiteet, odota 15 sekuntia ja yritä käynnistää uudelleen.
Kun lämpötila on alle –7 °C, käynnistysmoottoria voidaan käyttää 30 sekuntia, mutta sen jälkeen on pidettävä 60 sekunnin tauko. Käynnistystä voidaan yrittää kaksi kertaa.
Liikkuvat osat voivat aiheuttaa tapaturman.
Sammuta moottori ja odota, että kaikki liikkuvat osat ovat pysähtyneet ennen kuin tarkistat öljyvuodot, irtonaiset osat tai muut viat.
Important: Kun konetta on käytetty täydellä kuormalla, anna moottorin käydä joutokäynnillä viisi minuuttia, ennen kuin sammutat sen. Näin turboahdin ehtii jäähtyä ennen moottorin sammuttamista. Muutoin turboahtimeen voi tulla vikoja.
Note: Laske leikkuuyksiköt maahan, kun pysäköit koneen. Tämä vähentää hydraulijärjestelmän kuormitusta, ehkäisee järjestelmän osien kulumista ja estää myös leikkuuyksiköiden laskemisen vahingossa.
Palauta moottori alhaiselle joutokäyntinopeudelle.
Siirrä voimanulosoton kytkin POIS-asentoon.
Kytke seisontajarru.
Käännä virta-avain PYSäYTYS-asentoon.
Irrota avain virtalukosta, jotta moottori ei käynnisty vahingossa.
| Huoltoväli | Huoltotoimenpide |
|---|---|
| Aina ennen käyttöä tai päivittäin |
|
Jos turvakytkimet ovat irronneet tai vaurioituneet, kone saattaa toimia odottamattomalla tavalla ja aiheuttaa henkilövahinkoja.
Älä kajoa turvakytkimiin.
Tarkista turvakytkimien toimivuus päivittäin ja vaihda mahdolliset vaurioituneet kytkimet ennen koneen käyttämistä.
Koneen sähköjärjestelmässä on turvakytkimet. Näiden kytkimien tarkoituksena on sammuttaa moottori kuljettajan noustessa istuimelta ajopolkimen ollessa painettuna alas. Kuljettaja voi kuitenkin poistua istuimelta, kun moottori on käynnissä ja ajopoljin on vapaalla. Vaikka moottori pysyy käynnissä voimanulosoton kytkimen ja ajopolkimen vapautuksen jälkeen, suosittelemme ehdottomasti, että moottori sammutetaan ennen istuimelta poistumista.
Tarkista turvakytkimien toiminta seuraavasti:
Aja kone hitaasti laajalle ja pääosin avoimelle alueelle.
Laske leikkuuyksiköt alas, sammuta moottori ja kytke seisontajarru.
Istuudu istuimelle ja paina ajopoljinta.
Yritä käynnistää moottori.
Note: Moottori ei saa käynnistyä. Jos moottori käynnistyy, turvajärjestelmässä on vika, joka on korjattava ennen koneen käyttöä.
Istuudu istuimelle ja käynnistä moottori.
Nouse istuimelta ja siirrä voimanulosoton kytkin PääLLä-asentoon.
Note: Voimanulosoton vipu ei saa kytkeytyä päälle. Jos voimanulosoton vipu kytkeytyy päälle, turvajärjestelmässä on vika, joka on korjattava ennen koneen käyttöä.
Istuudu istuimelle, kytke seisontajarru ja käynnistä moottori.
Siirrä ajopoljin pois VAPAA-asennosta.
Note: Moottorin pitäisi sammua. Jos moottori ei sammu, turvajärjestelmässä on vika, joka on korjattava ennen koneen käyttöä.
Takaleikkuuyksikön nostovarsien vastapainoa voidaan säätää erilaisia nurmiolosuhteita varten ja yhtenäisen leikkuukorkeuden saavuttamiseksi epätasaisissa olosuhteissa tai alueilla, joille on kertynyt olkia.
Kukin vastapainon jousi voidaan säätää johonkin neljästä asennosta. Kukin asento lisää tai vähentää leikkuuyksikköön kohdistuvaa vastapainoa 2,3 kg. Vastapaino voidaan poistaa kokonaan asettamalla jouset jousiohjaimen takaosaan (neljäs asento).
Pysäköi kone tasaiselle alustalle, laske leikkuuyksiköt alas, pysäytä moottori, kytke seisontajarrut ja irrota avain virtalukosta.
Työnnä putki tai vastaava esine jousen pitkään päähän jousikuormituksen vapauttamiseksi säädön aikana (Kuva 40).
Jouset ovat kireällä ja saattavat aiheuttaa henkilövahingon.
Säädä jousia varovaisesti.
Kun vapautat jousikuormitusta, irrota pultti ja lukkomutteri, joilla jousiohjain on kiinni kannattimessa (Kuva 40).

Siirrä jousiohjain haluttuun aukkoon ja kiinnitä se lukkomutterilla.
Toista edellä mainitut toimenpiteet jäljellä olevalle jouselle.
Pysäköi kone tasaiselle alustalle, laske leikkuuyksiköt alas, sammuta moottori, kytke seisontajarrut ja irrota avain virtalukosta.
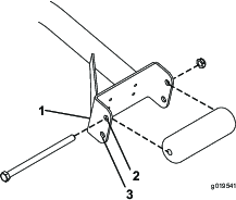
Nostovarren kytkin sijaitsee oikeanpuoleisen etunostovarren takana (Kuva 41).

Löysää kytkimen asennusruuvit (Kuva 41) ja siirrä kytkintä ylöspäin, jos haluat lisätä nostovarren kääntökorkeutta, tai siirrä kytkintä alaspäin, jos haluat laskea nostovarren kääntökorkeutta.
Kiristä asennusruuvit.
Hätätilanteessa konetta voidaan liikuttaa avaamalla hydraulisessa säätötilavuuspumpussa oleva ohitusventtiili ja asentamalla hydrauliletku ohittamaan sulkuventtiili. Tämän jälkeen konetta voidaan työntää tai hinata.
Important: Konetta ei saa työntää tai hinata nopeammin kuin 3–4,8 km/h tai pidempää matkaa kuin 0,4 km, jotta vaihteisto ei vaurioidu. Ohitusventtiilin on oltava auki aina, kun konetta työnnetään tai hinataan. Lisäksi on asennettava hydrauliletku ohittamaan sulkuventtiili, jos konetta työnnetään tai hinataan taaksepäin.
Jos konetta on työnnettävä tai hinattava, sitä on todennäköisesti liikutettava niin eteen- kuin taaksepäin. Siksi on järkevää valmistella kone sekä eteen- että taaksepäin työntämistä tai hinaamista varten, jotta vetojärjestelmä ei vaurioidu.
Important: Jos konetta on työnnettävä tai hinattava taaksepäin, nelivetojärjestelmän sulkuventtiili on ensin ohitettava.
Sulkuventtiilin ohittamiseen tarvitaan seuraavat Toro-osat:
59-7410, vianmääritysliitin
354-79, vianmääritysliittimen suojus
95-8843, hydrauliletku
95-0985, letkuliitin (2)
340-77, hydrauliliitin (2)
Asenna vianmääritysliitin ajon takajakelulohkon porttien M8 ja P2 välissä olevaan merkitsemättömään porttiin (Kuva 42).

Liitä hydrauliletku ajon takajakelulohkoon asennetun vianmääritysliittimen ja peruutusajon paineentestausportin väliin (Kuva 43).
Note: Asenna letku tarvittavien hydrauli- ja letkuliittimien avulla.

Käännä ohitusventtiiliä 90° (1/4-kierros) kumpaan suuntaan tahansa, jolloin venttiili avautuu ja nesteen ohivirtaus alkaa (Kuva 44).
Note: Koska neste ohittaa vaihteiston, konetta voidaan liikuttaa hitaasti vaurioittamatta vaihteistoa.Huomaa venttiilin asento avattaessa ja suljettaessa.

Kun koneen työntäminen tai hinaaminen ei enää ole tarpeen, asennettu hydrauliletku on poistettava.
Asenna suojus peruutusajon paineentestausporttiin.
Asenna vianmääritysliittimen suojus jakelulohkoon asentamaasi liittimeen.
Käännä ohitusventtiiliä 90° (1/4-kierros) takaisin ennen moottorin käynnistämistä.
Note: Käytä venttiilin sulkemiseen voimaa korkeintaan 7–11 N·m.
Jos konetta on työnnettävä tai hinattava vain eteenpäin, sulkuventtiilin kääntäminen riittää.
Important: Jos konetta on työnnettävä tai hinattava taaksepäin, katso kohta Koneen valmistelu taaksepäin työntämistä tai hinaamista varten.
Avaa konepelti ja irrota keskimmäinen suojapeite.
Käännä ohitusventtiiliä 90° (1/4-kierros) kumpaan suuntaan tahansa, jolloin venttiili avautuu ja nesteen ohivirtaus alkaa (Kuva 44).
Note: Koska neste ohittaa vaihteiston, konetta voidaan liikuttaa hitaasti eteenpäin vaurioittamatta vaihteistoa.Huomaa venttiilin asento avattaessa ja suljettaessa.
Käännä ohitusventtiiliä 90° (1/4-kierros) takaisin ennen moottorin käynnistämistä.
Note: Käytä venttiilin sulkemiseen voimaa korkeintaan 7–11 N·m.
Ole varovainen lastatessasi konetta perävaunuun tai kuorma-autoon ja poistaessasi konetta niistä.
Käytä täysleveää ramppia lastatessasi konetta perävaunuun tai ajoneuvoon ja purkaessasi konetta niistä.
Kiinnitä kone tiukasti hihnoilla, ketjuilla, kaapeleilla tai köysillä. Etu- ja takahihnat on suunnattava alas- ja ulospäin koneesta.
Nostokohdat ovat seuraavissa paikoissa:
Koneen etuosassa rungossa vetävien pyörien sisäpuolella.
Koneen takaosassa akselin keskellä.
Kiinnityspisteet ovat seuraavissa paikoissa:
Rungon molemmilla sivuilla etuaskelmien alla.
Takapuskurissa
Harjoittele koneella ajamista, koska siinä on hydrostaattinen vaihteisto ja se on ominaisuuksiltaan erilainen kuin monet nurmikonhoitokoneet. Ajoyksikköä ja leikkuuyksiköitä käytettäessä on otettava huomioon muun muassa vaihteiston toiminta, moottorin käyntinopeus, leikkuuterien kuormitus sekä jarrujen toiminta.
Jotta koneen käytettävissä on tarpeeksi tehoa käytön aikana, pidä moottorin nopeus korkeana ja suurin piirtein tasaisena ajopolkimen avulla. Hyvä ohje on vähentää ajonopeutta, kun leikkuuyksiköiden kuormitus kasvaa, ja lisätä ajonopeutta, kun kuormitus pienenee.
Anna siis ajopolkimen liikkua taaksepäin moottorin nopeuden vähentyessä ja paina poljinta hitaasti nopeuden kasvaessa. Kun ajat työalueelta toiselle ilman kuormitusta ja leikkuuyksikkö ylhäällä, pidä kaasu NOPEA-asennossa ja paina ajopoljin hitaasti pohjaan saakka, jotta kone liikkuu suurimmalla ajonopeudella.
Huomionarvoinen seikka on myös jarruihin kytkettyjen poljinten toiminta. Jarruja voidaan käyttää apuna käännettäessä konetta. Käytä jarruja kuitenkin varovasti varsinkin pehmeässä tai kosteassa ruohikossa, koska nurmikko voi tällöin rikkoutua. Toinen jarruista saatava hyöty on ajotoiminnon ylläpitäminen. Esimerkiksi joissakin rinneolosuhteissa ylämäen pyörä voi luistaa ja menettää pidon. Paina tällaisessa tilanteessa ylämäen kääntöpoljinta vähitellen ja katkonaisesti, kunnes ylämäen puoleinen pyörä lakkaa luistamasta. Näin alamäen puoleisen pyörän pito paranee.
Käytä konetta rinteissä erityisen varovasti. Tarkista, että istuimen salpa on kunnolla lukittuna ja että turvavyö on kiinni. Aja hitaasti ja vältä jyrkkiä käännöksiä rinteissä, jotta kone ei kaadu. Ohjaamisen helpottamiseksi leikkuuyksikkö on pidettävä alhaalla ajettaessa alamäkeen.
Important: Kun konetta on käytetty täydellä kuormalla, anna moottorin käydä joutokäynnillä viisi minuuttia, ennen kuin sammutat sen. Näin turboahdin ehtii jäähtyä ennen moottorin sammuttamista. Muutoin turboahtimeen voi tulla vikoja.
Ennen kuin sammutat moottorin, kytke kaikki ohjauslaitteet pois käytöstä ja siirrä kaasuvipu HIDAS-asentoon. Kun kaasuvipu siirretään HIDAS-asentoon, moottorin käyntinopeus pienenee ja melu ja tärinä vähenevät. Sammuta moottori kääntämällä avain PYSäYTYS-asentoon.
Ennen kuin alat leikata ruohoa, harjoittele koneen käyttöä avoimessa tilassa. Käynnistä ja pysäytä moottori. Aja eteenpäin ja taaksepäin. Nosta ja laske leikkuuyksiköt ja kytke ja vapauta kelat. Kun tunnet olevasi riittävän perehtynyt koneeseen, harjoittele ajamista ylös ja alas rinteissä eri nopeuksilla.
Jos varoitusvalo syttyy käytön aikana, pysäytä kone välittömästi ja korjaa ongelma ennen käytön jatkamista. Jos konetta käytetään viallisena, seurauksena saattaa olla vakavia vaurioita.
Käynnistä moottori ja siirrä moottorin nopeuskytkin NOPEA-asentoon. Siirrä leikkuunopeuden rajoitin LEIKKUU-asentoon. Siirrä voimanulosoton kytkin PääLLä-asentoon ja ohjaa leikkuuyksikköjä nostokytkimellä (etuleikkuuyksiköt on ajastettu laskeutumaan ennen takaleikkuuyksikköjä). Kun haluat liikkua eteenpäin ja leikata nurmea, paina ajopoljinta eteenpäin.
Siirrä voimanulosoton kytkin Pois-asentoon ja nosta leikkuuyksiköt kuljetusasentoon. Siirrä leikkuunopeuden rajoitin kuljetusasentoon. Ole varovainen, ettet vahingoita konetta tai leikkuuyksiköitä ajaessasi kapeista väleistä. Käytä konetta rinteissä erityisen varovasti. Aja hitaasti ja vältä jyrkkiä käännöksiä rinteissä, jotta kone ei kaadu. Laske leikkuuyksiköt alamäkeen ajettaessa. Tällöin ohjattavuus paranee.
Note: Koneen vasen ja oikea puoli määritellään normaalista käyttöasennosta käsin.
| Huoltoväli | Huoltotoimenpide |
|---|---|
| 8 ensimmäisen käyttötunnin jälkeen |
|
| 50 ensimmäisen käyttötunnin jälkeen |
|
| 200 ensimmäisen käyttötunnin jälkeen |
|
| Aina ennen käyttöä tai päivittäin |
|
| 50 käyttötunnin välein |
|
| 100 käyttötunnin välein |
|
| 200 käyttötunnin välein |
|
| 250 käyttötunnin välein |
|
| 400 käyttötunnin välein |
|
| 800 käyttötunnin välein |
|
| Ennen varastointia |
|
Ota tästä sivusta kopioita.
| Tarkistettavat kohdat | Viikolle: | ||||||
|---|---|---|---|---|---|---|---|
| Ma | Ti | Ke | To | Pe | La | Su | |
| Tarkista turvajärjestelmän toiminta. | |||||||
| Tarkista jarrujen toiminta. | |||||||
| Tarkista moottoriöljyn ja polttoaineen määrä. | |||||||
| Tarkista jäähdytysnesteen määrä. | |||||||
| Tyhjennä veden/polttoaineen erotin. | |||||||
| Tarkista ilmansuodattimen huoltoilmaisin. | |||||||
| Tarkista, että jäähdyttimessä, öljynjäähdyttimessä ja säleikössä ei ole leikkuujätettä. | |||||||
| Kuuntele, kuuluuko moottorista epätavallisia käyntiääniä.1 | |||||||
| Tarkista, kuuluuko käytön aikana epätavallisia ääniä. | |||||||
| Tarkista hydraulijärjestelmän nestemäärä. | |||||||
| Tarkista, ettei hydrauliletkuissa ole vaurioita. | |||||||
| Tarkista nestevuodot. | |||||||
| Tarkista rengaspaine. | |||||||
| Tarkista mittareiden toiminta. | |||||||
| Tarkista kelan ja kiinteän terän kohdistus. | |||||||
| Tarkista leikkuukorkeussäätö. | |||||||
| Voitele kaikki rasvanipat.2 | |||||||
| Korjaa maalipinnan vauriot. | |||||||
1. Tarkista hehkutulppa ja ruiskutussuuttimet, jos käynnistys on hidas, savua on liikaa tai käyntiääni on karkea.
2. Välittömästi jokaisen pesun jälkeen, luettelon mukaisesta huoltovälistä riippumatta
| Tarkastuksen suoritti: | ||
| Vika | Päivämäärä | Huomio |
| 1 | ||
| 2 | ||
| 3 | ||
| 4 | ||
| 5 | ||
| 6 | ||
| 7 | ||
| 8 | ||
Important: Katso moottorin käyttöoppaasta ja leikkuuyksikön käyttöoppaasta tietoja muista huoltotoimenpiteistä.
Note: Koneen kytkentäkaavio ja hydraulikaavio ovat saatavissa osoitteesta www.Toro.com.

Jos jätät avaimen virtalukkoon, joku voi vahingossa käynnistää moottorin ja vahingoittaa vakavasti lähellä olijoita.
Irrota avain virtalukosta ennen huollon aloitusta.
Avaa konepellin salvat (Kuva 46) ja nosta konepelti.

Irrota sokat, jotka kiinnittävät konepellin takakannattimet rungon tappeihin ja nosta konepelti irti.
| Huoltoväli | Huoltotoimenpide |
|---|---|
| 50 käyttötunnin välein |
|
Koneessa on rasvanippoja, jotka on voideltava säännöllisesti litiumrasvalla nro 2. Jos konetta käytetään normaaliolosuhteissa, voitele kaikki laakerit ja holkit 50 käyttötunnin välein tai heti pesun jälkeen.
Rasvanippojen sijainnit ja määrät ovat seuraavat:
Jarruakselin tappilaakerit (5) (Kuva 47)

Taka-akselin tappiholkit (2) (Kuva 48)

Ohjaussylinterin pallonivelet (2) (Kuva 49)

Raidetangon pallonivelet (2) (kuvaKuva 49)
Olkatapin holkit (2) (Kuva 49). Olkatapin yläliitos voidellaan vain kerran vuodessa (2 pumppausta).
Nostovarren holkit (1/leikkuuyksikkö) (Kuva 50)

Nostosylinterin holkit (2/leikkuuyksikkö) (Kuva 50)
Nostovarren tappiholkit (1/leikkuuyksikkö) (Kuva 51)
Leikkuuyksikön kannatin (2/leikkuuyksikkö) (Kuva 51)
Leikkuuyksikön nostovarren tappi (1/leikkuuyksikkö) (Kuva 51)

| Huoltoväli | Huoltotoimenpide |
|---|---|
| 400 käyttötunnin välein |
|
Tarkista, ettei ilmanpuhdistimen rungossa ole vaurioita, jotka voivat aiheuttaa ilmavuodon. Vaihda se, jos se on vaurioitunut. Tarkista, että ilmanottojärjestelmässä ei ole vuotoja, vaurioita tai löysiä letkunkiristimiä.
Huolla ilmanpuhdistimen suodatin vain silloin, kun huoltoilmaisin (Kuva 52) edellyttää sitä. Ilmansuodattimen tarpeeton vaihtaminen vain kasvattaa mahdollisuutta, että moottoriin pääsee likaa suodattimen irrotuksen yhteydessä.

Important: Varmista, että suojus on asetettu oikein ja että se on tiiviisti ilmanpuhdistimen rungon ympärillä.
Vedä salpaa ulospäin ja kierrä ilmanpuhdistimen suojusta vastapäivään (Kuva 53).

Irrota ilmanpuhdistimen rungon suojus.
Ennen kuin irrotat suodattimen, poista pääsuodattimen ja kotelon väliin kertynyt lika matalapaineisella (2,76 bar, puhdas ja kuiva) ilmalla. Älä käytä korkeapaineista ilmaa, sillä se voi työntää lian suodattimen läpi ilmanottokanavaan.
Puhdistaminen estää lian joutumisen ilmanottoon pääsuodattimen irrottamisen yhteydessä.
Irrota ja vaihda pääsuodatin (Kuva 54).
Älä puhdista käytettyä elementtiä, sillä elementin materiaali saattaa vaurioitua. Tarkasta, että uudessa suodattimessa ei ole kuljetusvaurioita tarkastamalla suodattimen tiivistetty pää ja runko. Älä käytä viallista elementtiä.
Työnnä uusi suodatin paikoilleen puristamalla samalla elementin ulkokehää, jotta se asettuu koteloon. Älä paina suodattimen joustavaa keskikohtaa.

Important: Älä koskaan yritä puhdistaa varosuodatinta (Kuva 55). Vaihda varosuodatin uuteen joka kolmannella pääsuodattimen huoltokerralla.

Puhdista irrotettavassa suojuksessa oleva lianpoistoaukko.
Irrota kuminen poistoventtiili suojuksesta, puhdista ontelo ja asenna poistoventtiili.
Asenna suojus siten, että kuminen poistoventtiili osoittaa alaspäin, eli noin kello viiden ja kello seitsemän välille päästä katsottuna.
Palauta ilmaisin (Kuva 52), jos se näyttää punaista.
| Huoltoväli | Huoltotoimenpide |
|---|---|
| 50 ensimmäisen käyttötunnin jälkeen |
|
| 250 käyttötunnin välein |
|
Irrota tyhjennystulppa (Kuva 56) ja anna öljyn valua tyhjennysastiaan. Kun öljyä ei enää valu, asenna tyhjennystulppa takaisin.

Irrota öljynsuodatin (Kuva 57). Levitä ohut kerros puhdasta öljyä uuden suodattimen tiivisteeseen ennen asennusta. Älä kiristä liikaa.

Lisää öljyä kampikammioon. Katso Moottoriöljyn määrän tarkistus.
Säädä kaasuvaijeria (Kuva 58) siten, että moottorissa oleva säätövipu koskettaa nopean pyörintänopeuden asetuspulttia samassa kohdassa kuin kaasuvaijeri koskettaa tukivarren uran päätä.

Tietyissä olosuhteissa dieselpolttoaine ja polttoainehöyryt ovat erittäin tulenarkoja ja räjähdysherkkiä. Polttoaineen aiheuttamasta tulipalosta tai räjähdyksestä voi olla seurauksena palovammoja ja omaisuusvahinkoja.
Täytä polttoainesäiliö ulkona avoimessa tilassa moottorin ollessa sammutettu ja jäähtynyt. Pyyhi läikkynyt polttoaine pois.
Polttoainesäiliötä ei saa täyttää aivan täyteen. Lisää polttoainetta polttoainesäiliöön, kunnes pinta on 25 mm säiliön (ei täyttökaulan) yläreunan alapuolella. Säiliöön jäävä tyhjä tila antaa polttoaineen laajentua.
Älä tupakoi polttoainetta käsitellessäsi ja pysy kaukana avotulesta tai paikoista, joissa kipinä voi sytyttää polttoainehöyryt.
Säilytä polttoaine puhtaassa, turvallisuushyväksytyssä säiliössä. Pidä korkki suljettuna.
| Huoltoväli | Huoltotoimenpide |
|---|---|
| 800 käyttötunnin välein |
|
| Ennen varastointia |
|
Tyhjennä ja puhdista säiliö, jos polttoainejärjestelmä likaantuu tai jos kone on tarkoitus varastoida pitkäksi aikaa. Huuhtele säiliö puhtaalla polttoaineella.
| Huoltoväli | Huoltotoimenpide |
|---|---|
| 400 käyttötunnin välein |
|
Tarkista, että polttoaineputkissa ei ole haurastumia, vaurioita tai löysiä liitäntöjä.
| Huoltoväli | Huoltotoimenpide |
|---|---|
| Aina ennen käyttöä tai päivittäin |
|
| 400 käyttötunnin välein |
|
Aseta puhdas astia polttoainesuodattimen alle.
Löysää suodatinkotelon pohjassa olevaa tyhjennystulppaa.

Puhdista suodatinkotelon kiinnityskohdan ympäristö.
Irrota suodatinkotelo ja puhdista asennuspinta.
Voitele suodatinkotelon tiiviste puhtaalla öljyllä.
Asenna suodatinkotelo käsin, kunnes tiiviste koskettaa asennuspintaa. Kierrä sitten vielä puoli kierrosta.
Kiristä suodatinkotelon pohjassa oleva tyhjennystulppa.
Polttoainesäiliössä oleva polttoaineputki on varustettu sihdillä, joka estää roskien pääsyn polttoainejärjestelmään. Irrota polttoaineputki ja puhdista sihti tarvittaessa.
Akun liitännät, navat ja niihin liittyvät lisävarusteet sisältävät lyijyä ja lyijy-yhdisteitä, joiden tiedetään aiheuttavan syöpää ja haittaavan lisääntymistä. Pese kädet, kun olet käsitellyt akkua.
Avaa käyttäjän konsolipaneelin salpa ja nosta paneeli (Kuva 60).

Akkuneste sisältää rikkihappoa, joka on tappava myrkky ja aiheuttaa vakavia syöpymiä.
Älä juo akkunestettä äläkä anna sen päästä kosketuksiin ihon, silmien tai vaatteiden kanssa. Käytä suojalaseja ja kumikäsineitä.
Akku on täytettävä paikassa, jossa on aina saatavilla puhdasta vettä ihon huuhtelua varten.
Kytke 3–4 A:n akkulaturi akun napoihin.
Lataa akkua 3–4 A:n virralla 4–8 tunnin ajan.
Kun akku on latautunut, irrota laturi virtalähteestä ja akun navoista.
Akun latauksen yhteydessä syntyy räjähdysherkkiä kaasuja.
Älä tupakoi akun lähettyvillä. Älä päästä kipinöitä tai liekkejä kosketuksiin akun kanssa.
Kiinnitä pluskaapeli (punainen) akun plusnapaan (+) ja miinuskaapeli (musta) akun miinusnapaan (–) (Kuva 61).

Kiinnitä kaapelit napoihin kantaruuveilla ja muttereilla.
Varmista, että plusliitin (+) on kunnolla kiinni akun navassa ja että kaapeli on tiiviisti akkua vasten. Kaapeli ei saa koskettaa akun kantta.
Työnnä kumisuojus plusnavan päälle mahdollisen oikosulun ehkäisemiseksi.
Akun liitännät, navat ja niihin liittyvät lisävarusteet sisältävät lyijyä ja lyijy-yhdisteitä, joiden tiedetään aiheuttavan syöpää ja haittaavan lisääntymistä. Pese kädet, kun olet käsitellyt akkua.
Voitele molemmat akkuliitännät Grafo 112X -suojarasvalla, Toron osanro 505-47, vaseliinilla tai kevyellä rasvalla ruostumisen ehkäisemiseksi.
Vedä kumisuojus akun plusnavan päälle.
Sulje konsolipaneeli ja kiinnitä salpa.
Akun navat tai metallityökalut voivat aiheuttaa oikosulun koskettaessaan metalliosia, mistä voi seurata kipinöitä. Kipinät voivat saada akun kaasut räjähtämään ja aiheuttaa siten henkilövahingon.
Kun irrotat tai asennat akun, älä anna akun napojen koskettaa koneen metalliosia.
Älä anna metallityökalujen aiheuttaa oikosulkua akun napojen ja koneen metalliosien välille.
Akun kaapeleiden virheellinen asennus voi vahingoittaa konetta ja kaapeleita aiheuttaen kipinöitä. Kipinät voivat saada akun kaasut räjähtämään ja aiheuttaa siten henkilövahingon.
Irrota aina akun miinuskaapeli (musta) ennen pluskaapelin (punainen) irrottamista.
Kytke aina akun pluskaapeli (punainen) ennen miinuskaapelia (musta).
| Huoltoväli | Huoltotoimenpide |
|---|---|
| 50 käyttötunnin välein |
|
Important: Ennen kuin hitsaat konetta, irrota miinuskaapeli akusta, jotta sähköjärjestelmä ei vaurioidu.
Note: Tarkista akun kunto viikoittain tai 50 käyttötunnin välein. Pidä akkukengät ja koko akkukotelo puhtaana, koska likainen akku purkautuu vähitellen.
Irrota akku koneesta.
Pese koko kotelo liuoksella, jossa on ruokasoodaa ja vettä.
Huuhtele kotelo puhtaalla vedellä.
Päällystä akkunavat ja kaapeliliittimet Grafo 112X -suojarasvalla (Toron osanro 505-47) tai vaseliinilla estämään ruostumista.
| Huoltoväli | Huoltotoimenpide |
|---|---|
| 8 ensimmäisen käyttötunnin jälkeen |
|
| 200 käyttötunnin välein |
|
Mikäli pyöränmuttereiden kireyttä ei pidetä oikeana, pyörään voi tulla vika tai se voi irrota, mikä voi aiheuttaa tapaturman.
Kiristä etu- ja takapyörien mutterit momenttiin 115–136 N·m 1–4 käyttötunnin jälkeen ja uudelleen kahdeksan käyttötunnin jälkeen. Kiristä pyöränmutterit tämän jälkeen 200 tunnin välein.
Note: Etupyörän muttereiden kierre on 1/2–20 UNF. Takapyörän mutterit ovat M12 × 1,6-6H (metrijärjestelmän mukaan).
| Huoltoväli | Huoltotoimenpide |
|---|---|
| 400 käyttötunnin välein |
|
Tarkista öljymäärä 400 käyttötunnin välein. Lisää tarvittaessa korkealaatuista SAE 85W-140 -vaihteistoöljyä.
Tarkista, että kone on tasaisella alustalla. Aseta pyörä siten, että toinen tarkistustulppa on kello 12:n asennossa ja toinen tulppa kello kolmen asennossa (Kuva 65).

Irrota kello kolmen asennossa oleva tulppa (Kuva 65).
Note: Öljyn pinnan tulee ulottua aukon alareunaan saakka.
Jos öljyn pinta on matalalla, irrota kello 12:n asennossa oleva tulppa ja lisää öljyä, kunnes sitä alkaa virrata ulos kello kolmen asennossa olevasta aukosta.
Asenna molemmat tulpat.
Toista vaiheet 1–4 vastakkaisessa planeettapyörästössä.
| Huoltoväli | Huoltotoimenpide |
|---|---|
| 200 ensimmäisen käyttötunnin jälkeen |
|
| 800 käyttötunnin välein |
|
Vaihda öljy ensimmäisen kerran 200 käyttötunnin jälkeen. Vaihda öljy tämän jälkeen 800 käyttötunnin välein tai vuosittain riippuen siitä, kumpi saavutetaan ensin. Lisää tarvittaessa korkealaatuista SAE 85W-140 -vaihteistoöljyä.
Tarkista, että kone on tasaisella alustalla. Aseta pyörä siten, että yksi tarkistustulpista (Kuva 66) on kello kuuden asennossa.

Aseta tyhjennysastia planeettapyörän navan alle, irrota tulppa ja valuta öljy.
Aseta tyhjennysastia jarrurummun alle, irrota tyhjennystulppa ja valuta öljy (Kuva 67).

Kun kaikki öljy on valunut molemmista paikoista, asenna tulppa jarrurumpuun.
Käännä pyörää niin, että planeettapyörästön avoin tulpan aukko on kello 12:n asennossa.
Lisää avoimen aukon kautta planeettapyörästöön hitaasti 0,65 litraa korkealaatuista SAE 85W-140 -vaihteistoöljyä.
Important: Jos planeettapyörästö on täynnä ennen kuin öljyä on lisätty 0,65 litraa, odota yksi tunti tai asenna tulppa ja liikuta konetta noin kolme metriä, jotta öljy leviää jarrujärjestelmään. Irrota sitten tulppa ja lisää jäljellä oleva öljy.
Asenna tulppa.
Toista menettely vastakkaisella planeettapyörästö-/jarrukokoonpanolla.
| Huoltoväli | Huoltotoimenpide |
|---|---|
| 400 käyttötunnin välein |
|
Taka-akseli toimitetaan tehtaalta SAE 85W-140 -vaihteistoöljyllä täytettynä. Tarkista öljyn määrä ennen moottorin ensimmäistä käynnistystä ja sen jälkeen 400 käyttötunnin välein. Järjestelmän tilavuus on 2,4 litraa. Tarkista järjestelmä silmämääräisesti päivittäin vuotojen varalta.
Pysäköi kone tasaiselle alustalle.
Irrota tarkistustulppa akselin toisesta päästä (Kuva 68) ja varmista, että öljyn pinta on aukon alareunan tasolla. Jos öljyä on liian vähän, irrota täyttötulppa (Kuva 68) ja lisää riittävästi öljyä, jotta öljyn pinta nousee tarkistustulppien aukkojen alareunan tasolle.

| Huoltoväli | Huoltotoimenpide |
|---|---|
| 200 ensimmäisen käyttötunnin jälkeen |
|
| 800 käyttötunnin välein |
|
Pysäköi kone tasaiselle alustalle.
Puhdista alue kolmen tyhjennystulpan ympäriltä, yksi kummassakin päässä ja yksi keskellä (Kuva 69).

Irrota öljyntarkistustulpat ja pääakselin ilmareiän suojus, jotta öljy valuu paremmin.
Irrota tyhjennystulpat, jotta öljy pääsee virtaamaan astioihin.
Asenna tulpat.
Irrota tarkistustulppa ja lisää akseliin noin 2,37 litraa 85W-140-vaihteistoöljyä siten, että öljyn pinta ulottuu aukon alareunaan saakka.
Asenna tarkistustulppa paikalleen.
| Huoltoväli | Huoltotoimenpide |
|---|---|
| 400 käyttötunnin välein |
|
Vaihteisto on täytetty SAE 85W-140 -vaihteistoöljyllä. Tarkista öljyn määrä ennen moottorin ensimmäistä käynnistystä ja sen jälkeen 400 käyttötunnin välein. Järjestelmän tilavuus on 0,5 litraa. Tarkista järjestelmä silmämääräisesti vuotojen varalta päivittäin.
Pysäköi kone tasaiselle alustalle.
Irrota tarkistus-/täyttötulppa käyttöpyörästön kotelon vasemmalta puolelta (Kuva 70) ja varmista, että voiteluaineen pinta on aukon alareunan tasolla. Jos voiteluainetta on vähän, lisää sitä, kunnes sen pinta on aukon alareunan tasolla.

Kone ei saa liikkua eteenpäin, kun ajopoljin on vapautettu. Jos kone liikkuu eteenpäin, vaihteistoa on säädettävä.
Pysäköi kone tasaiselle alustalle, sammuta moottori, aseta nopeussäätö alhaiselle alueelle ja laske leikkuuyksiköt maahan.
Paina vain oikeanpuoleista jarrupoljinta ja kytke seisontajarru.
Nosta koneen vasen puoli ylös siten, että vasen eturengas nousee ylös maasta. Tue kone pukeilla, jotta se ei pääse kaatumaan.
Käynnistä moottori ja anna sen käydä alhaisella joutokäynnillä.
Säädä pumpputangon päässä olevia vastamuttereita ja siirrä pumpun ohjausputkea eteenpäin, kun haluat poistaa turhan liikkeen eteenpäin, tai taaksepäin, jos haluat poistaa turhan liikkeen taaksepäin (Kuva 71).

Kun pyörän pyörintä lakkaa, varmista säätö kiristämällä vastamutterit.
Pysäytä moottori ja vapauta oikeanpuoleinen jarru.
Poista pukit ja laske kone maahan.
Koeaja konetta ja varmista, että se ei enää ryömi eteenpäin pysähdyttäessä.
| Huoltoväli | Huoltotoimenpide |
|---|---|
| 800 käyttötunnin välein |
|
Mittaa keskeltä keskelle -etäisyys (akselikorkeudella) ohjaavien pyörien etu- ja takapuolella.
Note: Etuosan mitan on oltava 3 mm pienempi kuin takaosan mitan (Kuva 72).

Jos aurauskulmaa on säädettävä, irrota sokka ja mutteri raidetangon jommastakummasta pallonivelestä (Kuva 73).

Irrota raidetangon pallonivel akselikotelon tuesta.
Löysää raidetankojen molemmissa päissä olevat kiristimet (Kuva 73).
Käännä irrotettua palloniveltä sisään- tai ulospäin yhden kokonaisen kierroksen verran.
Kiristä raidetangon irrotetun pään kiristin.
Käännä koko raidetankokokoonpanoa samaan suuntaan (sisään- tai ulospäin) yhden kokonaisen kierroksen verran.
Kiristä raidetangon kiinnitetyn pään kiristin.
Asenna pallonivel akselikotelon tukeen ja kiristä mutteri sormitiukkuuteen.
Mittaa aurauskulma.
Toista toimenpiteet tarvittaessa.
Kiristä mutteri ja asenna uusi sokka, kun säätö on oikea.
| Huoltoväli | Huoltotoimenpide |
|---|---|
| Aina ennen käyttöä tai päivittäin |
|
Poista lika moottorin alueelta, jäähdyttimestä ja öljynjäähdyttimestä päivittäin. Puhdista ne useammin likaisissa olosuhteissa.
Vapauta ja avaa takasäleikkö (Kuva 74).

Puhdista säleikkö huolellisesti.
Note: Jos haluat irrottaa säleikön, nosta saranan tapit ylös.
Puhdista jäähdyttimen/öljynjäähdyttimen molemmat sivut (Kuva 75) perusteellisesti paineilmalla. Aloita edestä ja puhalla roskat pois taaksepäin. Puhdista sitten takaa alkaen ja puhalla eteenpäin. Toista useita kertoja, kunnes roskia ei enää ole.

Important: Jäähdyttimen/öljynjäähdyttimen puhdistaminen vedellä voi edistää ruostumista ja osien vaurioitumista sekä pakata roskia järjestelmään.
Sulje takasäleikkö ja kiinnitä se salvalla.
Säädä käyttöjarruja, jos jarrupolkimissa on vapaaliikettä yli 13 mm tai kun jarrut eivät toimi tehokkaasti. Vapaaliike on etäisyys, jonka jarrupoljin liikkuu, ennen kuin tunnet jarruvastuksen.
Vapauta lukitussalpa jarrupolkimista, jotta molemmat polkimet toimivat itsenäisesti toisiinsa nähden.
Pienennä jarrupolkimien vapaaliikettä kiristämällä jarruja seuraavasti:
Löysää jarrukaapelin kierteisessä päässä olevaa etummaista mutteria (Kuva 76).

Siirrä vaijeria taaksepäin kiristämällä takimmaista mutteria, kunnes jarrupolkimissa on 0–13 mm vapaaliikettä.
Note: Varmista, että jarruissa ei ole kireyttä, kun poljin vapautetaan.
Kiristä etummaiset mutterit, kun jarrut on säädetty oikein.
| Huoltoväli | Huoltotoimenpide |
|---|---|
| 100 käyttötunnin välein |
|
Tarkista hihnojen kunto ja kireys (Kuva 77) 100 käyttötunnin välein.
Kireys on oikea, kun hihna painuu 10 mm painettaessa hihnaa 45 N:n voimalla hihnapyörien puolivälistä.
Jos painuma ei ole 10 mm, löysää laturin kiinnityspultteja (Kuva 77).

Löysää tai kiristä laturin hihnaa ja kiristä pultit.
Varmista oikea kireys tarkistamalla hihnan painuma uudelleen.
| Huoltoväli | Huoltotoimenpide |
|---|---|
| 800 käyttötunnin välein |
|
Vaihda hydraulineste 800 käyttötunnin välein normaaliolosuhteissa. Jos neste saastuu, ota yhteys paikalliseen Toro-jälleenmyyjääsi, sillä koko järjestelmä on huuhdeltava. Saastunut neste näyttää maitomaiselta tai mustalta puhtaaseen nesteeseen verrattuna.
Sammuta moottori ja nosta konepelti.
Irrota paluuputki säiliön pohjasta ja anna hydraulinesteen valua suureen tyhjennysastiaan.
Liitä putki, kun hydraulinestettä ei enää valu.
Lisää säiliöön noin 28,4 litraa hydraulinestettä. Katso kohta Hydraulinesteen määrän tarkistus.
Important: Käytä vain ohjeissa mainittuja hydraulinesteitä. Muut nesteet saattavat vahingoittaa järjestelmää.
Laita säiliön korkki paikalleen.
Käynnistä moottori ja käytä kaikkia hydraulisia laitteita, jotta hydraulineste leviää koko järjestelmään.
Varmista, että vuotoja ei ole, ja sammuta moottori.
Tarkista nestemäärä ja lisää nestettä mittatikun Full-merkintään saakka.
Note: Älä täytä hydraulijärjestelmää liian täyteen.
| Huoltoväli | Huoltotoimenpide |
|---|---|
| 200 ensimmäisen käyttötunnin jälkeen |
|
| 800 käyttötunnin välein |
|
Vaihda hydraulinesteen suodattimet (2) ensimmäisen kerran 200 käyttötunnin jälkeen. Vaihda sen jälkeen suodattimet 800 käyttötunnin välein normaaliolosuhteissa.
Käytä Toron vaihtosuodattimia osanro 94-2621 koneen takaosassa (leikkuuyksikkö) ja osanro 75-1310 koneen etuosassa.
Important: Muiden suodattimien käyttö saattaa mitätöidä joidenkin osien takuun.
Aseta kone tasaiselle alustalle, laske leikkuuyksiköt alas, sammuta moottori, kytke seisontajarrut ja poista avain virtalukosta.
Puhdista suodattimen kiinnitysalueen ympäristö.
Aseta tyhjennysastia suodattimen alle ja irrota suodatin (Kuva 78 ja Kuva 79).
Voitele uuden suodattimen tiiviste ja täytä suodatin hydraulinesteellä.


Tarkista, että suodattimen asennuskohta on puhdas.
Kierrä suodatinta, kunnes kumitiiviste koskettaa asennuslevyä. Kiristä sitten vielä puoli kierrosta.
Käynnistä moottori ja anna sen käydä kaksi minuuttia, jotta kaikki ilma purkautuu järjestelmästä.
Sammuta moottori ja tarkista, ettei järjestelmässä ole vuotoja.
| Huoltoväli | Huoltotoimenpide |
|---|---|
| Aina ennen käyttöä tai päivittäin |
|
Tarkista päivittäin, ettei hydrauliletkuissa ja -putkissa ole vuotoja, kulumia, säävahinkoja tai kemiallisia vaurioita ja etteivät letkut ole kiertyneet eivätkä kiinnitykset tai liitännät löystyneet. Suorita kaikki tarvittavat korjaukset ennen koneen käyttöä.
Paineella suihkuava hydraulineste voi läpäistä ihon ja aiheuttaa vammoja.
Varmista, että kaikki hydrauliletkut ja -putket ovat hyvässä kunnossa ja että kaikki hydrauliliitännät ja -liittimet ovat tiukalla, ennen kuin lisäät hydraulijärjestelmän painetta.
Pidä keho ja kädet kaukana vuotavista rei’istä ja suuttimista, joista suihkuaa korkeapaineista hydraulinestettä.
Etsi hydraulinestevuotoja pahvin tai paperin avulla.
Poista paine varovasti hydraulijärjestelmästä, ennen kuin huollat järjestelmää.
Jos nestettä pääsee ihon alle, hakeudu välittömästi lääkäriin.
Kelojen tai muiden liikkuvien osien koskettaminen saattaa johtaa loukkaantumiseen.
Pidä sormet, kädet ja vaatteet etäällä keloista ja muista liikkuvista osista.
Älä yritä kääntää keloja kädellä tai jalalla moottorin käydessä.
Note: Läppäyksen aikana etuyksiköt toimivat yhdessä ja takayksiköt toimivat yhdessä.
Pysäköi kone tasaiselle alustalle, laske leikkuuyksiköt alas, sammuta moottori, kytke seisontajarru ja siirrä voimanulosoton kytkin POIS-asentoon.
Irrota salpa ja nosta konepelti, jotta pääset käsiksi ohjaimiin.
Tee kaikille läpättäville leikkuuyksiköille asianmukaiset kelan ja kiinteän terän kohdistukset läppäystä varten. Katso leikkuuyksikön käyttöopas.
Määritä läpättävät kelat valitsemalla joko etu- tai takaläppäysvipu tai molemmat (Kuva 80).
Käynnistä moottori ja anna sen käydä alhaisella joutokäynnillä.
Moottorin nopeuden muuttaminen läppäyksen aikana saattaa aiheuttaa kelojen pysähtymisen.
Älä muuta moottorin nopeutta läppäyksen aikana.
Läppää ainoastaan moottorin alhaisen joutokäynnin aikana.
Pyörivä leikkuuyksikkö voi aiheuttaa tapaturman.
Henkilövahinkojen välttämiseksi pysy pois leikkuuyksikköjen lähettyviltä, ennen kuin jatkat.
Kun leikkuunopeuden rajoitin on leikkuuasennossa, siirrä voimanulosoton kytkin PääLLä-asentoon. Aloita määritettyjen kelojen läppäys painamalla nostokytkintä.
Lisää läppäysainetta pitkävartisella harjalla.
Note: Älä käytä lyhytvartista harjaa.

Jos kelat pysähtyvät tai toimivat epäsäännöllisesti läppäyksen aikana, nosta tehoa, kunnes kela vakaantuu.
Jos haluat säätää leikkuuyksikköjä läppäyksen aikana, pysäytä kelat painamalla nostokytkimen takaosaa, siirrä voimanulosoton kytkin POIS-asentoon ja sammuta moottori. Kun säädöt on tehty, toista vaiheet 4–8.
Toista toimenpiteet kaikille läpättäville leikkuuyksiköille.
Kun läppäys on tehty, palauta läppäysvivut leikkuuasentoon, laske konepelti ja pese leikkuuyksiköistä läppäysaine pois. Säädä leikkuuyksikön kelan ja kiinteän terän kosketus tarpeen mukaan. Siirrä leikkuuyksikön kelan nopeuden säätimet haluttuun leikkuuasentoon.
Important: Jos läppäyskytkintä ei palauteta Pois-asentoon läppäyksen jälkeen, leikkuuyksiköt eivät nouse eivätkä toimi oikein.
Note: Lisäohjeita läppäyksestä ja siihen liittyvistä menettelyistä löytyy Toro Sharpening Reel & Rotary Mowers -oppaasta, lomakenro 80-300SL.
Note: Saat paremman leikkuusärmän, jos pyyhkäiset kiinteän terän etusivua viilalla läppäyksen jälkeen. Tämä poistaa mahdolliset jäysteet ja vajaasyrjät, joita on saattanut muodostua leikkuusärmään.
Tyhjennä moottoriöljy öljypohjasta ja aseta tyhjennystulppa paikalleen.
Irrota ja hävitä öljynsuodatin. Asenna uusi öljynsuodatin.
Lisää moottoriin määrityksen mukaista moottoriöljyä.
Käynnistä moottori ja käytä sitä joutokäynnillä parin minuutin ajan.
Sammuta moottori.
Huuhtele polttoainesäiliö tuoreella ja puhtaalla polttoaineella.
Varmista kaikki polttoainejärjestelmän liitännät.
Puhdista ja huolla ilmanpuhdistinjärjestelmä perusteellisesti.
Tiivistä ilmanpuhdistimen imuaukko sekä pakoaukko säänkestävällä teipillä.
Tarkista pakkassuojaus ja lisää veden ja etyleeniglykolin seosta (50/50) alueella odotettavissa olevan alimman lämpötilan mukaan.
Puhdista ajoyksikkö, leikkuuyksiköt ja moottori huolellisesti.
Tarkista rengaspaineet. Katso Rengaspaineen tarkistus.
Tarkista, että kiinnikkeet eivät ole löysällä, ja kiristä ne tarvittaessa.
Rasvaa tai öljyä kaikki rasvanipat ja nivelet. Pyyhi pois ylimääräinen voiteluaine.
Hio varovasti ja maalaa korjausmaalilla maalipinnat, jotka ovat naarmuuntuneet, lohkeilleet tai ruostuneet. Korjaa kaikki metallirungossa olevat kolhut.
Huolla akku ja kaapelit seuraavasti:
Irrota akkuliittimet akun navoista.
Puhdista akku, liittimet ja navat teräsharjalla ja ruokasoodaliuoksella.
Voitele kaapeliliittimet ja akun navat Grafo 112X -suojarasvalla (Toron osanro 505-47) tai vaseliinilla ruostumisen ehkäisemiseksi.
Lataa akkua hitaasti 60 päivän välein 24 tunnin ajan, jotta akkuun ei muodostu lyijysulfaattia.