| Vedligeholdelsesintervaller | Vedligeholdelsesprocedure |
|---|---|
| Hver anvendelse eller dagligt |
|
Dette er en plænetraktor med knivcylindre, der er beregnet til brug af professionelle, ansatte operatører i kommercielle anvendelsesområder. Den er primært beregnet til klipning af græs på velholdte plæner på golfbaner, i parker, på sportsbaner og kommercielle områder. Den er ikke beregnet til at klippe krat, slå græs eller anden bevoksning langs motorveje eller til landbrugsformål.
Læs denne vejledning omhyggeligt, så du kan lære at betjene og vedligeholde produktet korrekt samt undgå person- og produktskade. Det er dit ansvar at betjene produktet korrekt og sikkert.
Du kan kontakte Toro direkte på www.Toro.com for at få materialer om produktsikkerhed og oplæring i betjening, oplysninger om tilbehør, hjælp til at finde en forhandler eller for at registrere dit produkt.
Når du har brug for service, originale Toro-dele eller yderligere oplysninger, bedes du kontakte en autoriseret serviceforhandler eller Toros kundeservice samt have produktets model- og serienummer parat. Figur 1 angiver, hvor model- og serienummeret er placeret på produktets højre vange. Skriv numrene, hvor der er gjort plads til dette.

Denne vejledning advarer dig om mulige farer og giver dig særlige sikkerhedsoplysninger ved hjælp af advarselssymbolet (Figur 2), der angiver en fare, som kan forårsage alvorlig personskade eller død, hvis du ikke følger de anbefalede forholdsregler.

Denne betjeningsvejledning bruger to ord til at fremhæve oplysninger. Vigtigt henleder opmærksomheden på særlige mekaniske oplysninger, og Bemærk angiver generel information, som det er værd at lægge særligt mærke til.
Dette produkt overholder alle relevante EU-direktiver. Yderligere oplysninger fås på den separate produktspecifikke overensstemmelseserklæring.
Det er en overtrædelse af California Public Resource Code Section 4442 eller 4443 at bruge eller betjene denne motor på et skovbegroet, buskbegroet eller græsbegroet område, medmindre motoren er forsynet med en gnistskærm som defineret i Section 4442, som vedligeholdes og er i god driftsmæssig stand, eller medmindre motoren er bygget, udstyret og vedligeholdt til brandforebyggelse.
Den medfølgende motorvejledning indeholder information om det amerikanske Environmental Protection Agency (EPA) og California Emission Control Regulation for emissionssystemer, vedligeholdelse og garanti. Nye eksemplarer kan bestilles via motorfabrikanten.
CALIFORNIEN
Advarsel i henhold til erklæring nr. 65
Dieselmotorens udstødningsgas og nogle af dens bestanddele er ifølge staten Californien kræftfremkaldende og kan medføre fødselsskader eller andre forplantningsskader.
Brug af dette produkt kan medføre eksponering over for kemikalier, der ifølge staten Californien er kræftfremkaldende og giver medfødte defekter eller andre forplantningsskader.
Denne maskine opfylder som minimum EN ISO 5395:2013 (mærkater er påsat, når det er relevant) og ANSI B71.4-2012.
Ukorrekt brug eller vedligeholdelse af maskinen kan medføre personskade. Operatøren skal altid følge sikkerhedsforskrifterne og være opmærksom på advarselssymbolet, der betyder Forsigtig, Advarsel eller Fare – ”personlig sikkerhedsanvisning” for at nedsætte risikoen for personskade. Hvis forskrifterne ikke overholdes, kan det medføre personskade eller død.
Følgende instruktioner er fra EN ISO 5395:2013 og ANSI B71.4-2012.
Læs betjeningsvejledningen og andet uddannelsesmateriale omhyggeligt. Bliv fortrolig med betjeningsanordningerne og sikkerhedssymbolerne, samt hvordan udstyret bruges korrekt.
Lad aldrig børn eller andre personer, der ikke kender denne vejledning, bruge eller foretage eftersyn af plæneklipperen. Vær opmærksom på, at lokale forskrifter kan angive en mindstealder for operatøren.
Klip aldrig græs, når der er mennesker, især børn, eller kæledyr i nærheden.
Husk, at operatøren eller brugeren er ansvarlig for ulykker eller farer, der måtte ramme andre mennesker eller deres ejendom.
Kør ikke med passagerer.
Alle førere og mekanikere skal indhente og få professionel og praktisk vejledning. Ejeren er ansvarlig for uddannelsen af brugerne. En sådan vejledning skal understrege:
behovet for omtanke og koncentration, når der arbejdes med plænetraktorer;
herredømmet over en plænetraktor, der glider på en bakkeskråning, kan ikke genvindes ved at bruge bremsen. Hovedårsagerne til mistet herredømme er:
utilstrækkeligt hjulgreb;
for hurtig kørsel;
utilstrækkelig opbremsning;
maskintypen er uegnet til formålet;
manglende kendskab til jordforholdenes betydning, især skråninger;
forkert bugsering og lastfordeling.
Ejeren/brugeren kan forhindre og er ansvarlig for ulykker eller personskader, som måtte påføres personer og ejendom.
Benyt altid korrekt beklædning herunder beskyttelsesbriller, kraftigt skridsikkert fodtøj, lange bukser og høreværn under klipning.
Sæt langt hår op. Bær ikke smykker.
Undersøg nøje området, hvor udstyret skal anvendes, og fjern alle genstande, som kan blive slynget ud af maskinen.
Udskift defekte lydpotter.
Bedøm terrænet, så du kan vælge det nødvendige tilbehør og udstyr til korrekt og sikker udførelse af opgaven. Brug kun tilbehør og udstyr, der er godkendt af producenten.
Kontroller, at dødemandsgreb, sikkerhedskontakter og afskærmninger er korrekt påmonteret og fungerer korrekt. Betjen ikke maskinen, medmindre disse fungerer korrekt.
For at undgå person- eller tingsskade skal du være yderst forsigtig, når du håndterer brændstof. Brændstof er ekstremt brandfarlig, og dampene er eksplosive.
Sluk alle cigaretter, cigarer, piber og andre antændingskilder.
Brug kun en godkendt brændstofbeholder.
Tag aldrig brændstofdækslet af, og påfyld aldrig brændstof, mens motoren kører.
Lad motoren køle af før genopfyldning.
Fyld aldrig brændstof på maskinen indendørs.
Opbevar aldrig maskinen eller brændstofbeholdere, hvor der er åben ild, gnister eller vågeblus som f.eks på en vandvarmer eller på andre apparater.
Fyld aldrig beholdere inde i et køretøj eller på en lastbil eller anhænger med plastikforing. Stil altid beholdere på jorden et stykke fra køretøjet, før påfyldning påbegyndes.
Fjern udstyr fra lastbilen eller anhængeren, og fyld det op igen på jorden. Hvis dette ikke er muligt, skal påfyldningen af udstyret finde sted med en bærbar beholder i stedet for direkte fra brændstofstandereren.
Spidsen af slangen skal altid være i kontakt med kanten af åbningen i brændstoftanken eller -dunken, indtil påfyldningen er afsluttet. Brug ikke låseenhed for slangespidsen.
Hvis der kommer brændstof på tøj, skal du skifte tøj øjeblikkeligt.
Fyld aldrig for meget på brændstoftanken. Sæt brændstofdækslet på igen, og spænd det godt fast.
Lad ikke motoren køre i et uventileret rum, hvor der kan samles farlige kuliltedampe.
Klip kun græs i dagslys eller i godt, kunstigt lys.
Før du forsøger at starte motoren, skal du udkoble alle koblinger til fastspændte knivanordninger, sætte maskinen i frigear og aktivere parkeringsbremsen.
Husk, at der ikke findes sikre skråninger. Kørsel på græsskråninger kræver særlig opmærksomhed. For at forhindre, at maskinen vælter, skal følgende forholdsregler overholdes:
undgå pludselig standsning eller start, når der køres op og ned ad skråninger,
kørselshastigheden bør være lav på skråninger og i skarpe sving,
vær opmærksom på små forhøjninger og huller samt andre skjulte farer,
Drej ikke skarpt. Vær forsigtig, når du bakker.
brug modvægt(e) eller hjulvægte, når det er foreslået i betjeningsvejledningen.
Vær opmærksom på huller i terrænet samt andre skjulte risici.
Hold øje med trafikken, når du krydser eller kører i nærheden af veje.
Stop skæreknivenes rotation, før du krydser andre overflader end græs.
Når du bruger påmonterede redskaber, må du aldrig rette udblæsning af materiale mod omkringstående eller tillade nogen at komme nær maskinen, mens den kører.
Brug aldrig plæneklipperen med beskadigede værn, afskærmninger eller uden korrekt påmonterede sikkerhedsanordninger. Sørg for, at alle sikkerhedskontakter er påmonteret, korrekt justeret og fungerer korrekt.
Lav ikke om på motorens regulatorindstillinger, og kør ikke motoren ved for høj hastighed. Hvis motoren betjenes ved for høj hastighed, kan risikoen for personskade øges.
Før du forlader førersædet:
stands på plan grund;
udkobl kraftudtaget, og sænk redskaberne,
skift til frigear, og aktiver parkeringsbremsen;
stop motoren, og fjern nøglen.
Sørg for at udkoble drevet til redskaberne, når du transporterer maskinen fra et sted til et andet, eller når den ikke anvendes.
Sørg for at standse motoren, og kontroller, at drevet til redskaberne er udkoblet:
før du påfylder brændstof,
før du foretager højdejusteringer, medmindre justeringen kan foretages fra førersædet.
før du fjerner blokeringer,
før du efterser, rengør eller arbejder på plæneklipperen,
efter at du har ramt et fremmedlegeme, eller hvis der forekommer en unormal vibration. Efterse plæneklipperen for skader, og foretag udbedringer, før du starter og betjener udstyret igen.
Du skal nedsætte motorens omdrejningstal, når motoren er ved at standse, og hvis motoren er udstyret med en brændstofafbryderventil, skal du lukke for brændstoftilførslen, når du er færdig med at slå græs.
Hold hænder og fødder væk fra klippeenhederne.
Se bagud og ned for at sikre, at der er fri bane, før du bakker.
Sænk farten, og vær forsigtig, når du vender og krydser veje og fortove. Stop cylindrene/knivcylindrene, hvis du ikke klipper.
Betjen ikke maskinen, hvis du er syg, træt eller påvirket af alkohol eller medicin.
Lyn kan forårsage alvorlig personskade eller død. Hvis der observeres lyn eller høres torden i området, må maskinen ikke anvendes. Søg ly.
Vær forsigtig, når du læsser maskinen på eller af en trailer eller lastbil.
Vær forsigtig, når du nærmer dig blinde hjørner, buske, træer eller andre genstande, der kan blokere for udsynet.
Hold alle fastgørelsesanordninger tilspændte for at sikre, at udstyret er i en sikker driftsmæssig stand.
Opbevar aldrig udstyret med brændstof i tanken i en bygning, hvor brandfarlige dampe kan nå åben ild eller gnister.
Lad motoren køle af, før du opbevarer maskinen på et lukket sted.
Mindsk brandfaren ved at holde motoren, lydpotten, batterirummet og brændstofopbevaringsområdet fri for græs, blade eller for meget fedt. Tør spildt olie eller brændstof op.
Hold alle dele i god driftsmæssig stand og alle beslag og hydraulikfittinger tilspændt. Udskift alle slidte eller beskadigede dele og mærkater.
Hvis brændstoftanken skal tømmes, skal dette foregå udendørs.
Vær forsigtig, når du justerer maskinen, for at undgå at få fingrene ind mellem roterende knive og maskinens faste dele.
I forbindelse med maskiner med flere cylindre/knivcylindre skal du være forsigtig, da blot én roterende cylinder/knivcylinder kan få de øvrige cylindre/knivcylindre til at rotere.
Udkobl drevene, sænk klippeenhederne, aktiver parkeringsbremsen, stop motoren, og tag nøglen ud af tændingen. Vent, til al bevægelse er standset, før du justerer, rengør eller reparerer udstyret.
Brug om nødvendigt støttebukke til at understøtte komponenter.
Tag forsigtigt trykket af komponenter, hvori der er oplagret energi.
Frakobl batteriet, før du foretager reparationer. Frakobl minuspolen først og pluspolen sidst. Tilslut pluspolen først og minuspolen sidst.
Vær forsigtig, når du efterser cylindrene/knivcylindrene. Brug handsker, og vær forsigtig, når de efterses.
Hold hænder og fødder væk fra bevægelige dele. Undgå om muligt at foretage justeringer, mens motoren kører.
Oplad batterierne på et åbent sted med god ventilation, væk fra gnister og åben ild. Træk stikket til opladeren ud af stikkontakten, før den tilsluttes eller frakobles batteriet. Brug beskyttelsesdragt og isoleret værktøj.
Vær forsigtig, når du læsser maskinen på eller af en anhænger eller lastbil.
Brug ramper i fuld bredde, når maskinen læsses på en trailer eller lastbil.
Fastgør maskinen med stropper, kæder, kabler eller reb. Både de forreste og bageste stropper bør føres ned og udad fra maskinen
Nedenstående liste indeholder sikkerhedsoplysninger specifikt for Toro-produkter eller andre sikkerhedsoplysninger, du skal kende, og som ikke er indeholdt i CEN-, ISO- eller ANSI-standarderne.
Dette produkt kan afskære hænder og fødder samt udslynge genstande. Følg altid sikkerhedsforskrifterne for at undgå alvorlig personskade eller død.
Brug af dette produkt til andre formål, end det er beregnet til, kan være farligt for brugeren og omkringstående personer.
Motorudstødningen indeholder kulilte, som er en lugtfri, dødbringende gift.
Lad ikke motoren køre indendørs eller i et indelukket område.
Du skal vide, hvordan man standser motoren hurtigt.
Brug af sikkerhedsfodtøj og lange bukser anbefales og kræves i henhold til visse lokale forskrifter og forsikringsbestemmelser.
Brændstof skal håndteres forsigtigt. Tør eventuelt spildt brændstof op.
Kontroller hver dag, om sikkerhedskontakterne fungerer korrekt. Hvis en kontakt ikke fungerer korrekt, skal den udskiftes, før maskinen betjenes.
Sæt dig på førersædet, før motoren startes.
Det kræver koncentration at bruge maskinen. Gør følgende for at undgå at miste herredømmet over maskinen:
Kør ikke tæt på bunkere, grøfter, vandløb, volde eller andre farer.
Sænk hastigheden, når du foretager skarpe drejninger. Undgå at stoppe og starte pludseligt.
Når du befinder dig i nærheden af, eller når du krydser veje, skal du altid holde tilbage.
Aktiver driftsbremserne, når du kører ned ad en bakke for at bevare den langsomme fremdrift og for at bevare kontrollen over maskinen.
Når en maskine anvendes med styrtbøjlesystem, skal du aldrig fjerne styrtbøjlesystemet og altid benytte sikkerhedsselen.
Klippeenhederne skal være hævet ved kørsel fra et arbejdsområde til et andet.
Rør ikke ved motoren, lydpotten eller udstødningsrøret, mens motoren kører, eller kort tid efter den er stoppet, da disse områder kan være så varme, at de kan forårsage brandsår.
På bakker er der risiko for at tippe eller vælte, men risikoen øges, jo stejlere bakken er. Stejle skråninger bør undgås.
Klippeenhederne skal sænkes, når du kører ned ad bakker, så du kan opretholde kontrollen over maskinen.
Indkobl langsomt traktionsdrevet, og behold altid foden på traktionspedalen, især når du kører ned ad en bakke.
Brug bakkegearet på traktionspedalen til at bremse.
Hvis maskinerne sætter ud, når du kører op ad en bakke, må du ikke vende maskinen. Bak altid langsomt lige ned ad skråningen.
Stop klipningen, hvis en person eller et dyr uventet dukker op i eller nær klipningsområdet. Skødesløs betjening kan i kombination med terrænets hældning, rikochetterede genstande eller forkert anbragte sikkerhedsafskærmninger føre til skader på grund af udslyngning af genstande. Genoptag ikke klipningen, før området er ryddet.
Sørg for, at alle hydraulikrørsforbindelser er fast tilspændte, og at alle hydraulikslanger og rør er i god stand, før der sættes tryk på systemet.
Hold kroppen og hænderne væk fra små lækagehuller eller dyser, der sprøjter hydraulikvæske ud under højtryk. Brug papir eller pap, ikke dine hænder, til at finde lækager. Hydraulikvæske, der trænger ud under tryk, kan have tilstrækkelig kraft til at gå gennem huden og forårsage alvorlig personskade. Søg straks lægehjælp, hvis der sprøjtes væske ind under huden.
Før du afbryder eller udfører arbejde på hydrauliksystemet, skal hele trykket tages af systemet ved at stoppe motoren og sænke klippeenhederne og redskaberne ned på jorden.
Kontroller regelmæssigt alle brændstofrørs tæthed og tilstand. Tilspænd eller reparer dem som nødvendigt.
Hvis motoren skal køre for at udføre en vedligeholdelsesjustering, skal du holde hænder, fødder, tøj og alle kropsdele væk fra klippeenhederne, redskaber og bevægelige dele.
Få en autoriseret Toro-forhandler til at kontrollere det maksimale motoromdrejningstal med en omdrejningstæller af hensyn til sikker og nøjagtig drift.
Kontakt en autoriseret Toro-forhandler, hvis større reparationer er nødvendige, eller hvis du har brug for anden hjælp.
Brug kun Toro-godkendte redskaber og reservedele. Garantien kan bortfalde, hvis der bruges udstyr, som ikke er godkendt til maskinen.
Maskinen har et garanteret lydstyrkeniveau på 101 dBA, hvori der er medtaget en usikkerhedsværdi (K) på 1 dBA.
Lydeffektniveauet er fastlagt i overensstemmelse med procedurerne beskrevet i ISO 11094.
Maskinen har et lydtryksniveau ved brugerens øre på 83 dBA, hvori der er medtaget en usikkerhedsværdi (K) på 1 dBA.
Lydtryksniveauet er fastlagt i overensstemmelse med procedurerne beskrevet i EN ISO 5395:2013.
Hånd-Arm
Målt vibrationsniveau for højre hånd = 0,3 m/s2
Målt vibrationsniveau for venstre hånd = 0,3 m/s2
Usikkerhedsværdi (K) = 0,16 m/s2
De målte værdier er fastlagt i overensstemmelse med procedurerne beskrevet i EN ISO 5395:2013.
Hele kroppen
Målt vibrationsniveau = 0,2 m/s2
Usikkerhedsværdi (K) = 0,1 m/s2
De målte værdier er fastlagt i overensstemmelse med procedurerne beskrevet i EN ISO 5395:2013.
Motoren i denne maskine er EU Stage 3A-kompatibel.
![]() |
Sikkerheds- og instruktionsmærkaterne kan nemt ses af operatøren og er placeret tæt på potentielle risikoområder. Beskadigede eller bortkomne mærkater skal udskiftes. |























Note: Maskinens venstre og højre side er som set fra den normale betjeningsposition.
Alt efter bredden på de klippeenheder, der skal monteres på traktionsenheden, skal støtterullerne justeres som følger:
Dele, der skal bruges til dette trin:
| Advarselsmærkat | 1 |
På maskiner, der kræver CE-overensstemmelse, skal CE-advarselsmærkaten (delnr. 120-1683), monteres over standard-advarselsmærkaten (delnr. 120-1686).
Dele, der skal bruges til dette trin:
| Hjelmlåsebeslag | 1 |
| Nitte | 2 |
| Skrue (¼" x 2") | 1 |
| Flad spændeskive (¼") | 2 |
| Låsemøtrik (¼") | 1 |
Fjern motorhjelmslåsen fra hjelmlåsebeslaget (Figur 4).

Fjern de to nitter, der fastholder hjelmlåsebeslaget på hjelmen (Figur 5).

Fjern hjelmlåsebeslaget fra motorhjelmen.
Når du nivellerer monteringshullerne, skal du placere CE-låsebeslaget og hjelmlåsebeslaget på motorhjelmen.
Note: Låsebeslaget skal være placeret mod hjelmen (Figur 5).Fjern ikke samlingsbolten og -møtrikken fra låsebeslagets arm.

Ret låseskiverne ind efter hullerne på indersiden af motorhjelmen.
Nit beslagene og spændeskiverne fast til motorhjelmen (Figur 6).
Sæt låsen fast på hjelmlåsebeslaget (Figur 7).

Skru bolten ind i den anden arm på hjelmlåsebeslaget for at låse låsen på plads (Figur 8).

Spænd bolten godt, men spænd ikke møtrikken.
Dele, der skal bruges til dette trin:
| Forreste slangeholder, højre | 1 |
| Forreste slangeholder, venstre | 1 |
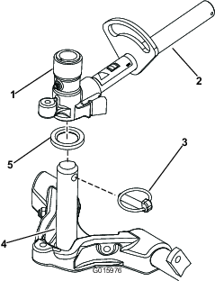
Fjern knivcylindermotorerne fra leveringsbeslagene.
Fjern leveringsbeslagene, og bortskaf dem.
Tag klippeenhederne ud af papkasserne.
Saml og juster som beskrevet i betjeningsvejledningen til klippeenheden.
Sørg for, at kontravægten (Figur 9) er monteret i den rigtige ende af klippeenheden som beskrevet i betjeningsvejledningen til klippeenheden.

Alle klippeenhederne leveres med plænekompensationsfjederen monteret på højre side af klippeenheden. Plænekompensationsfjederen skal monteres på samme side af klippeenheden som knivcylinderens drivmotor. Placer plænekompensationsfjederen som følger:
Fjern de to bræddebolte og møtrikker, der fastgør stangbeslaget på klippeenhedens tapper (Figur 10).

Fjern den flangemøtrik, som fastgør fjederrørets bolt på bærerammens tap (Figur 10).
Fjern enheden.
Monter fjederrørets bolt på den modsatte tap på bærerammen, og fastgør den med flangemøtrikken.
Note: Boltens hoved skal placeres på tappens udvendige side som vist i Figur 11.

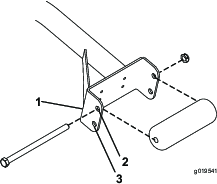
Monter stangbeslaget på klippeenhedens tapper med bræddebolte og møtrikker (Figur 11). Monter derudover den venstre slangeholder foran på klippeenhedens tapper, når stangbeslaget monteres igen (Figur 13).
Important: På klippeenhed 4 (forrest til venstre) og klippeenhed 5 (forrest til højre) bruges stangbeslagets monteringsmøtrikker til at montere slangeholderne forrest på klippeenhedens tapper. Slangeholderne skal læne imod den midterste klippeenhed (Figur 12 til Figur 14).



Note: Ved montering eller afmontering af klippeenheder skal det sikres, at låseclipsen er monteret i fjederstangens hul ved siden af stangbeslaget. Ellers skal låseclipsen monteres i hullet i stangens ende.
Øg styringen på de bageste klippeenheder ved at fjerne de to drejeafstandsbøsninger, skruer med unbrakokærv og flangelåsemøtrikker (Figur 15) fra bærerammerne på de bageste klippeenheder (klippeenhed 2 og 3). Se Figur 12.

Sænk alle løftearme fuldstændigt.
Smør bærerammens aksel med smørefedt (Figur 16).

Hvad angår de forreste klippeenheder, skubbes en klippeenhed ind under løftearmen, mens bærerammeakslen sættes op i løftearmens drejegaffel (Figur 16). Sørg for, at trykskiven er placeret på bærerammens aksel.
Fastgør bærerammens aksel på løftearmsgaflen med ringstiften (Figur 16).
For at låse styringen på klippeenhederne skal drejegaflen fastgøres på bærerammen med låsestiften (Figur 17).

Note: Låst styring anbefales ved klipning på skråninger.
Brug følgende procedure for de bageste klippeenheder, når klippehøjden er over 1,9 cm.
Fastgør løftearmskæden til kædebeslaget med låsestiften (Figur 19).
Note: Brug det antal kædeled, der er anført i betjeningsvejledningen til klippeenheden.

Kom rent smørefedt på knivcylindermotorens notaksel.
Smør knivcylindermotorens O-ring, og monter den på motorflangen.
Monter motoren ved at dreje den med uret, således at motorflangerne går fri af boltene (Figur 20).

Drej motoren mod uret, indtil flangerne indeslutter boltene, og tilspænd derefter boltene.
Important: Sørg for, at knivcylindermotorens slanger ikke er snoede, bukkede eller kan komme i klemme.
Plænekompensationsfjederen (Figur 21) overfører vægt fra forrullen til bagrullen. Dette medvirker til at reducere dannelsen af et bølgemønster i plænen, også kaldet ondulation.
Important: Foretag justeringerne af fjederen, mens klippeenheden er monteret på traktionsenheden, peger lige frem og er sænket ned på gulvet.
Sørg for, at låseclipsen er monteret i det bageste hul i fjederstangen (Figur 21).
Note: Ved eftersyn af klippeenheden skal låseclipsen flyttes til fjederstangens hul ved siden af plænekompensationsfjederen.

Stram sekskantmøtrikkerne på fjederstangens forende, indtil fjederens sammentrykkede længde er 15,9 cm. Se Figur 21.
Note: Ved drift i ujævnt terræn skal fjederlængden mindskes med 13 mm. Kontakten med terrænet vil blive mindsket let.
Note: Nulstil indstillingen for plænekompensation, hvis indstillingen af klippehøjden eller indstillingen af klipningens aggressivitet ændres.
Dele, der skal bruges til dette trin:
| Støtteben til klippeenhed | 1 |
Når det er nødvendigt at vippe klippeenheden, så bundkniven/knivcylinderen kommer til syne, skal det bageste af klippeenheden understøttes med støttebenet for at sikre, at møtrikkerne på den bageste del af bundtværstangens justeringsskruer ikke hviler på arbejdsfladen (Figur 22).

Fastgør støttebenet til kædebeslaget med låsestiften (Figur 23).

Før maskinen betjenes, skal den smøres for at sikre korrekt smøring. Se Smøring. Hvis maskinen ikke indfedtes ordentligt, kan det føre til for tidligt svigt i de afgørende elementer.
Kontroller smøremiddelstanden i bagakslen, før motoren startes første gang. Se Kontrol af oliestanden i bagakslen.
Kontroller hydraulikvæskestanden, før motoren startes første gang. Se Kontrol af hydraulikvæskestanden.
Kontroller motorolieniveauet, før og efter at motoren startes første gang. Se Kontrol af motoroliestanden.
Dele, der skal bruges til dette trin:
| Målestang | 1 |
Brug af målestangen til at justere klippeenheden. Se betjeningsvejledningen til klippeenheden for oplysninger om justeringsproceduren (Figur 24).

To fodpedaler (Figur 25) aktiverer de individuelle hjulbremser, der bruges til at hjælpe med at vende maskinen og for at få bedre trækkraft på bakkeskråninger.
Pedallåsepinden (Figur 25) kobler pedalerne sammen og aktiverer parkeringsbremsen.
For at aktivere parkeringsbremsen (Figur 25) skal pedalerne forbindes med pedallåsepinden. Træd ned på den højre bremsepedal, mens du træder ned på tåpedalen. Parkeringsbremsen udløses ved at træde en af bremsepedalerne ned, indtil parkeringsbremselåsen trækkes tilbage.

Traktionspedalen (Figur 25) styrer maskinens kørsel frem og tilbage. Tryk på den øverste del af pedalen for at køre fremad og på den nederste del af pedalen for at bakke. Kørselshastigheden er proportional med, hvor langt du træder pedalen ned. Hvis der skal køres med maksimal hastighed, skal pedalen trykkes ned, mens gashåndtaget står i HURTIG position.
Sådan standser du maskinen: Let foden fra traktionspedalen, og lad pedalen vende tilbage til midterpositionen.
Hvis du ønsker at vippe rattet mod dig selv, skal du trykke ned på fodpedalen (Figur 25), og trække ratstammen mod dig selv til den mest behagelige position, og dernæst slippe pedalen.
Når klippehastighedsbegrænseren (Figur 26) er vippet op, regulerer den klippehastigheden og lader klippeenhederne blive koblet til. Hver afstandsbøsning justerer klippehastigheden med 0,8 km/t. Jo flere afstandsbøsninger der er oven på bolten, jo langsommere kører maskinen. Ved transport vippes klippehastighedsbegrænseren tilbage med henblik på maksimal transporthastighed på maskinen.
Juster skruen(-erne) (Figur 26) for at begrænse, hvor meget traktionspedalen kan trædes ned i fremadgående eller tilbagegående retning for at begrænse hastigheden.
Important: Hastighedsbegrænserskruen skal standse traktionspedalen, før pumpen når sin fulde vandringslængde, ellers kan pumpen blive beskadiget.

Dette håndtag (Figur 27) hæver og sænker klippeenhederne og starter og standser endvidere klippecylindrene, når de er aktiveret i klippetilstanden. Klippeenhederne kan ikke sænkes, når klippe-/transporthåndtaget står i transportpositionen.
Tændingskontakten (Figur 27) har tre positioner: FRA, TæNDT/FORVARM og START.
Infocenterets LCD-display viser oplysninger om maskinen, som f.eks. driftsstatus, diverse diagnostikoplysninger og andre oplysninger om maskinen (Figur 27).
Kraftudtagskontakten (Figur 27) har to positioner: START og STOP. Tryk kraftudtagsknappen fremad for at aktivere klippeenhedens skæreknive. Tryk knappen tilbage for at udkoble driften af klippeenhedens skæreknive.

Kontakten til motorhastighed (Figur 27) har to tilstande til ændring af motorhastigheden. Ved midlertidigt at slå på kontakten kan motorhastigheden øges eller mindskes i intervaller på 100 o/min. Ved at holde kontakten nede skifter motoren automatisk til høj eller lav tomgang afhængigt af, hvilken ende af kontakten der trykkes ned.
Drej kontakten nedad for at tænde forlygterne (Figur 27).
Brug stikkontakten (Figur 28) til at strømføde ekstra, elektrisk tilbehør med 12 V.

Anvend poseholderen (Figur 29) til opbevaring.

Brug baglapningshåndtagene til at baglappe knivcylindrene (Figur 30).


Træk ud i håndtaget for at skubbe sædet frem eller tilbage (Figur 31).
Drej knappen for at indstille sædearmlænets vinkel (Figur 31).
Flyt håndtaget for at justere ryglænets hældning (Figur 31).
Indikerer, hvornår sædet er justeret efter brugerens vægt (Figur 31). Højdejusteringen foretages ved at placere affjedringen inden for det grønne område.
Juster efter operatørens vægt (Figur 31). Træk op i håndtaget for at øge lufttrykket, og tryk det ned for at reducere lufttrykket. Den korrekte justering opnås, når vægtmåleren befinder sig i det grønne område.
Infocenterets LCD-display viser oplysninger om din maskine, som f.eks. driftsstatus, diverse diagnostikoplysninger og andre oplysninger om maskinen (Figur 32) Infocenteret har et velkomstbillede og en hovedinformationsskærm. Du kan skifte mellem velkomstbilledet og hovedinformationsskærmen på et hvilket som helst tidspunkt ved at trykke på en vilkårlig infocenter-knap og derefter vælge den korrekte retningspil.

Venstre-knap, menu-/tilbage-knap – tryk på denne knap for at gå ind på infocenterets menuer. Du kan bruge den til at gå ud af en menu, du i øjeblikket er inde i.
Midter-knap – brug denne knap til at rulle ned i menuer.
Højre-knap – brug denne knap til at åbne en menu, hvor en pil til højre viser, at der er yderligere indhold.
Manuel omstyring af ventilator – aktiveres ved at trykke på venstre og højre knap samtidig.
Alarm – aktiveres, når skjolddækslerne sænkes eller ved rådgivningsmeddelelser og fejl.
Note: Hver knaps funktion ændres afhængigt af, hvad der er påkrævet på et givet tidspunkt. For hver knap er der et ikon, der viser dens aktuelle funktion.
| SERVICE DUE | Angiver, når planlagt serviceeftersyn skal udføres |
![]() | Infoikon |
![]() | Timetæller |
![]() | Hurtig |
![]() | Langsom |
![]() | Omstyring af ventilator – angiver, at ventilatoren kører baglæns |
![]() | Luftindtagsforvarmer er aktiv |
![]() | Hæv klippeenhederne |
![]() | Sænk klippeenhederne |
![]() | Operatøren skal sidde på sædet |
![]() | Indikator for parkeringsbremse – angiver, når parkeringsbremsen er i positionen On (Til) |
![]() | Identificerer hastigheden som High (Høj) |
![]() | Neutral |
![]() | Identificerer hastigheden som Low (Lav) |
![]() | Kølevæskens temperatur – viser motorens kølevæskes temperatur i enten °C eller °F |
![]() | Temperatur (varm) |
![]() | Afvist eller ikke tilladt |
![]() | Kraftudtag er indkoblet |
![]() | Motorstart |
![]() | Stop eller afbryd |
![]() | Motor |
![]() | Tændingskontakt |
![]() | Angiver, når klippeenhederne sænkes |
![]() | Angiver, når klippeenhederne hæves |
![]() | PIN-adgangskode |
![]() | Hydraulikoliens temperatur-angiver hydraulikoliens temperatur |
![]() | CAN-bus |
![]() | InfoCenter |
![]() | Dårlig eller mislykkedes |
![]() | Pære |
![]() | TEC-styreenhedens eller kontrolkablets udgangsstik i ledningsnettet |
![]() | Høj: over tilladt interval |
![]() | Lav: under tilladt interval |
/![]() | Udenfor interval |
![]() | Kontakt |
![]() | Operatøren skal slippe kontakten |
![]() | Operatøren skal skifte til den tilstand, der er angivet |
| Symboler kombineres ofte for at danne sætninger. Der vises nogle eksempler nedenfor. | |
![]() | Operatøren skal sætte maskinen i frigear |
![]() | Motorstart afvist |
![]() | Standsning af motor |
![]() | Motorkølevæske for varm |
![]() | Hydraulikolie for varm |
![]() | Sid ned, eller aktiver parkeringsbremse |
For at gå ind på infocenterets menusystem skal du trykke på menuknappen, når du er på hovedskærmen. Det bringer dig til hovedmenuen. I disse tabeller kan du se en oversigt over de muligheder, der er tilgængelige i menuerne:
| Hovedmenu | |
| Menuelement | Beskrivelse |
| Fejl | Fejlmenuen indeholder en liste over de seneste maskinfejl. Se servicevejledningen, eller henvend dig til din autoriserede Toro-forhandler for flere oplysninger om fejlmenuen og disse oplysninger. |
| Service | Servicemenuen indeholder oplysninger om maskinen, såsom antal timers drift, tællere og andre lignende tal. |
| Diagnostik | Diagnostikmenuen viser status for hver af maskinens kontroller, sensorer og styreenhedsudgange. Du kan bruge den til fejlfinding ved visse problemer, da den hurtigt kan fortælle dig, hvilke funktioner der er aktiveret, og hvilke der er deaktiveret. |
| Indstillinger | Menuen Indstillinger giver dig mulighed for at tilpasse og ændre konfigurationsvariablerne på infocenterets display. |
| Om | Menuen Om viser maskinens modelnummer, serienummer og softwareversion. |
| Service | |
| Menuelement | Beskrivelse |
| Hours | Viser det samlede antal timer, som maskinen, motoren og kraftudtaget har været tændt, såvel som det antal timer, maskinen er blevet transporteret, og påkrævet service. |
| Counts | Viser adskillige optællinger, maskinen har gennemgået. |
| Diagnostik | |
| Menuelement | Beskrivelse |
| Cutting Units | Angiver inputs, kvalifikatorer og outputs til hævning og sænkning af klippeenhederne. |
| Hi/Low Range | Angiver inputs, kvalifikatorer og outputs til kørsel i transportfunktion. |
| PTO | Angiver inputs, kvalifikatorer og outputs til aktivering af kraftudtagets kredsløb. |
| Engine Run | Angiver inputs, kvalifikatorer og outputs til start af motoren. |
| Backlap | Angiver inputs, kvalifikatorer og outputs til brug af baglapningsfunktionen. |
| Indstillinger | |
| Menuelement | Beskrivelse |
| Enheder | Styrer enhederne, der anvendes på infocenteret. Du kan vælge mellem britiske eller metriske enheder |
| Sprog | Styrer sprogene, der anvendes på infocenteret*. |
| LCD-baggrundsbelysning | Styrer LCD-displayets lysstyrke. |
| LCD-kontrast | Styrer LCD-displayets kontrast. |
| Cylinderhastighed for forreste baglapning | Styrer hastigheden på de forreste knivcylindre i baglapningstilstand. |
| Cylinderhastighed for bageste baglapning | Styrer hastigheden på de bageste knivcylindre i baglapningstilstand. |
| Beskyttede menuer | Giver den tilsynsførende/mekanikeren adgang til beskyttede menuer ved at angive en adgangskode. |
| Automatisk tomgang | Styrer den tilladte tid, før motoren går tilbage til lav tomgang, når maskinen står stille. |
| Skæreknivsantal | Styrer antallet af skæreknive på knivcylinderen for cylinderhastigheden. |
| Klippehastighed | Styrer kørselshastigheden til fastlæggelse af cylinderhastigheden. |
| Klippehøjde | Styrer klippehøjden til fastlæggelse af cylinderhastigheden. |
| Forreste cylinder, o/min | Viser den beregnede cylinderhastighedsposition for de forreste knivcylindre. Knivcylinderne kan også justeres manuelt. |
| Bageste cylinder, o/min | Viser den beregnede cylinderhastighedsposition for de bageste knivcylindre. Knivcylinderne kan også justeres manuelt. |
* Kun den tekst, som vises til operatøren, er oversat. Fejl-, service- og diagnostik vises til serviceteknikere. Titlerne vises på de valgte sprog, men menuenhederne er på engelsk.
| Om | |
| Menuelement | Beskrivelse |
| Model | Viser maskinens modelnummer. |
| Serienr. | Viser maskinens serienummer. |
| Hovedstyreenhedens version | Viser softwareversionen for hovedstyreenheden. |
| Infocenterets version | Viser softwareversionen for infocenteret. |
| CAN-bus | Viser status for maskinens kommunikationsbus. |
Der er 5 indstillinger for driftskonfiguration, som kan justeres i menuen Indstillinger i infocenteret: Skæreknivsantal, Klippehastighed, Klippehøjde, Forreste cylinder, o/min, og Bageste cylinder, o/min. Disse indstillinger kan låses ved at bruge den beskyttede menu.
Note: På leveringstidspunktet er adgangskoden programmeret af din forhandler.
Rul ned til menuen Indstillinger fra hovedmenuen, og tryk på den højre knap.
Rul ned til den beskyttede menu fra menuen Indstillinger, og tryk på den højre knap.
For at indtaste adgangkoden skal du bruge den midterste knap til at angive det første ciffer, og derefter trykke på den højre knap for at gå videre til det næste ciffer.
Brug den midterste knap til at angive det andet ciffer, og tryk derefter på den højre knap for at gå videre til det næste ciffer.
Brug den midterste knap til at angive det tredje ciffer, og tryk derefter på den højre knap for at gå videre til det næste ciffer.
Brug den midterste knap til at angive det fjerde ciffer, og tryk derefter på den højre knap.
Tryk på den midterste knap for at indlæse koden.
Hvis koden accepteres, og den beskyttede menu låses op (”Oplåst”), vises ”PIN” i øverste højre hjørne af displayskærmen.
Muligheden for at se og ændre indstillingerne i den beskyttede menu kan ændres. Rul ned til beskyttede indstillinger, når der er oprettet adgang til den beskyttede menu. Når de beskyttede indstillinger med højre knap sættes til Off (fra), er det muligt at se og ændre indstillingerne i den beskyttede menu uden at indtaste en adgangskode. Hvis de beskyttede indstillinger ændres til On (til), skjules de beskyttede muligheder, og en adgangskode er påkrævet for at ændre indstillingen i den beskyttede menu. Når adgangskoden er blevet indstillet, skal tændingskontakten slukkes og tændes igen for at aktivere og gemme denne funktion.
Note: Hvis du glemmer eller forlægger adgangskoden, kan du kontakte din forhandler for at få hjælp.
Rul ned til Auto Idle (automatisk tomgang) fra menuen Settings.
Tryk på den højre knap for at skifte tiden for automatisk tomgang mellem Fra, 8 sek., 10 sek., 15 sek., 20 sek. og 30 sek.
Rul ned til Skæreknivsantal i menuen Indstillinger.
Tryk på den højre knap for at ændre antallet af skæreknive til 5, 8 eller 11 skæreknive.
Rul ned til Klippehastighed i menuen Indstillinger.
Tryk på den højre knap for at vælge klippehastigheden.
Brug den midterste og højre knap for at vælge den relevante klippehastighed, som indstilles på den mekaniske klippehastighedsbegrænser på traktionspedalen.
Tryk på den venstre knap for at lukke klippehastigheden og gemme indstillingen.
Rul ned til Klippehøjde i menuen Indstillinger.
Tryk på den højre knap for at vælge klippehøjden.
Brug den midterste og højre knap for at vælge den relevante klippehøjde.
Note: Hvis den korrekte indstilling ikke vises, skal du vælge den nærmeste klippehøjdeindstilling på den viste liste.
Tryk på den venstre knap for at lukke klippehøjden og gemme indstillingen.
Selvom forreste og bageste cylinderhastighed beregnes ved at indtaste antallet af skæreknive, klippehastigheden og klippehøjden i infocenteret, kan indstillingen ændres manuelt, så den passer til forskellige klippeforhold.
Rul ned til Forreste cylinder, o/min, Bageste cylinder, o/min eller begge.
Tryk på den højre knap for at ændre værdien for cylinderhastighed. Når hastighedsindstillingen ændres, vises den beregnede cylinderhastighed fortsat på skærmen baseret på skæreknivsantal, klippehastighed og klippehøjde, der blev indtastet tidligere, men den nye værdi vises også.
Note: Specifikationer og design kan ændres uden forudgående varsel.
| Klippebredde, klippeenheder på 69 cm | 307 cm |
| Klippebredde, klippeenheder på 81 cm | 320 cm |
| Samlet bredde, klippeenheder på 69 cm nede | 345 cm |
| Samlet bredde, klippeenheder på 81 cm nede | 358 cm |
| Samlet bredde, klippeenheder oppe (ved transport) | 239 cm |
| Samlet længde | 370 cm |
| Højde med styrtbøjle | 220 cm |
| Sporbredde, foran | 229 cm |
| Sporbredde, bagpå | 141 cm |
| Akselafstand | 171 cm |
| Nettovægt (uden klippeenheder og væsker) | 1,574 kg |
Der kan fås en række forskellige Toro-godkendte redskaber og tilbehør til brug sammen med maskinen, som gør den bedre og mere alsidig. Kontakt din autoriserede serviceforhandler.
Sørg for at bruge originale Toro-reservedele for at beskytte din investering og sikre optimal ydelse fra dit Toro-udstyr. Med hensyn til driftssikkerhed leverer Toro reservedele, der opfylder den nøjagtige tekniske specifikation for vores udstyr. Originale Toro-dele – kvalitet du kan stole på.
Note: Maskinens venstre og højre side er som set fra den normale betjeningsposition.
Hvis du lader nøglen sidde i tændingen, kan andre personer utilsigtet komme til at starte motoren og forårsage alvorlig personskade på dig eller andre omkringstående.
Fjern nøglen fra tændingen, før vedligeholdelsesarbejde påbegyndes.
Læs alle sikkerhedsforskrifterne grundigt igennem, og gør dig bekendt med symbolerne i afsnittet om sikkerhed. Disse oplysninger kan hjælpe dig eller omkringstående personer med at undgå at komme til skade.
Betjening på vådt græs eller stejle skråninger kan forårsage udskridning og mistet herredømme over maskinen.
Hjul, der kører ud over kanter, kan forårsage, at maskinen vælter, hvilket kan medføre alvorlige kvæstelser, død eller drukning.
Læs og følg instruktionerne om styrtbøjlebeskyttelsen samt advarslerne.
Følg disse retningslinjer for at undgå at miste herredømmet og risikere at vælte:
Klip ikke i nærheden af stejle skråninger eller vand.
Betjen aldrig maskinen på skråninger med en større hældning end den, der er specificeret for din maskinmodel.
Sænk hastigheden, og vær yderst forsigtig på skråninger.
Undgå pludselige drejninger og hurtige ændringer af hastigheden.
Denne maskine afgiver støj, der kan medføre nedsat hørelse ved længere tids anvendelse.
Brug høreværn, når du betjener denne maskine.

| Vedligeholdelsesintervaller | Vedligeholdelsesprocedure |
|---|---|
| Hver anvendelse eller dagligt |
|
Motoren leveres med olie i krumtaphuset, men oliestanden skal alligevel kontrolleres, før og efter motoren startes første gang.
Krumtaphusets oliekapacitet er ca. 9,5 l med filteret monteret.
Brug motorolie af høj kvalitet, der overholder følgende specifikationer:
Krævet API-klassifikationsniveau: CH-4, CI-4 eller højere
Foretrukken olie: SAE 15W-40: over 18 °C
Alternativ olie: SAE 10W-30 eller 5W-30 (alle temperaturer)
Note: Toro Premium-motorolie kan købes hos forhandleren med en viskositet på enten 15W-40 eller 10W-30. Reservedelsnumrene kan findes i reservedelskataloget.
Note: Det bedste tidspunkt at kontrollere motorolien på er, når motoren er kold, og inden den startes første gang på en dag. Hvis motoren allerede har kørt, skal olien drænes tilbage i sumpen ca. 10 minutter før, der udføres kontrol. Hvis oliestanden er på eller under mærket ”Add” (påfyld) på målepinden, skal du tilsætte olie for at bringe oliestanden op på mærket ”Full” (fuld). Overfyld ikke motoren. Hvis oliestanden er mellem mærket ”Full” og ”Add”, skal der ikke fyldes mere olie på.
Parker maskinen på en plan flade.
Lås motorhjelmslåsen op, og åbn motorhjelmen (Figur 34).

Fjern målepinden, tør den af, sæt den ind i røret, og træk den ud igen.
Oliestanden bør være inden for det sikre område (Figur 35).

Hvis olien er under det sikre område, skal du fjerne påfyldningsdækslet (Figur 36) og fylde olie på, indtil niveauet når mærket ”Full”.
Important: Overfyld ikke motoren.

Note: Når der benyttes en anden olie, skal al den gamle olie tappes af krumtaphuset, før ny olie påfyldes.
Monter oliepåfyldningsdækslet og målepinden.
Luk motorhjelmen, og fastgør den med låsene.
| Vedligeholdelsesintervaller | Vedligeholdelsesprocedure |
|---|---|
| Hver anvendelse eller dagligt |
|
Kontroller kølervæskestanden ved begyndelsen af hver dag. Systemets kapacitet er på ca. 12,3 l.
Tag forsigtigt kølerdækslet af.
Hvis motoren har kørt, kan varm kølevæske under tryk slippe ud og forårsage forbrændinger.
Tag ikke kølerdækslet af, når motoren kører.
Brug en klud, når kølerdækslet åbnes, og åbn det langsomt, så damp kan slippe ud.

Kontroller kølervæskestanden i køleren.
Note: Køleren bør fyldes til toppen af påfyldningsstudsen, og ekspansionsbeholderen bør fyldes til mærket ”Full” (Figur 37).
Hvis kølervæskestanden er lav, tilsættes en 50/50-blanding af vand og ethylenglycol-frostvæske.
Note: Brug ikke alkohol/methanol-baserede kølervæsker eller vand alene.
Monter kølerdækslet og dækslet til ekspansionsbeholderen.
Brændstoftankens kapacitet: 83 l.
Brug kun rent, friskt dieselbrændstof med ultralavt (<15 ppm) svovlindhold, der opfylder ASTM D975- eller EN 590-specifikationerne. Det minimale cetantal bør være 40. Køb brændstof i mængder, der kan bruges inden for 180 dage for at sikre, at brændstoffet er friskt.
Important: Brug af brændstof uden ultralavt svovlindhold kan medføre, at motorens emissionssystem beskadiges.
Brug sommerdieselolie (nr. 2-D) ved temperaturer over -7 °C og vinterdieselolie (nr. 1-D eller en blanding af nr. 1-D/2-D) under denne temperatur. Brug af vinterdieselolie ved lavere temperaturer giver et lavere flammepunkt og en kold flowkarakteristik, som letter start og minimerer tilstopning af brændstoffilteret.
Brug af sommerbrændstof ved over -7 °C bidrager til at forlænge brændstofpumpens levetid og giver øget kraft sammenlignet med vinterbrændstof.
Important: Brug ikke petroleum eller benzin i stedet for dieselolie. Hvis denne advarsel ikke overholdes, kan motoren blive beskadiget.
Denne maskine kan også bruge et blandet biodieselbrændstof på op til B20 (20 % biodiesel, 80 % petrodiesel). Andelen af petrodiesel bør være lav eller have et ekstra lavt svovlindhold. Træf følgende forholdsregler:
Andelen af biodiesel skal opfylde specifikationen anført i ASTM D6751 eller EN14214.
Brændstofsammensætningen skal opfylde ASTM D975 eller EN590.
Malede overflader kan beskadiges af biodieselblandinger.
Brug B5 (biodieselindhold på 5 %) eller blandinger med et lavere biodieselindhold under kolde vejrforhold.
Efterse tætninger, slanger og pakninger, der kommer i berøring med brændstoffet, da de kan forringes over tid.
Tilstopning af brændstoffilteret kan forventes i tiden efter, at du er gået over til at bruge biodieselblandinger.
Kontakt din forhandler for at få flere oplysninger om biodiesel.
Brændstof er farligt eller dødbringende, hvis det indtages. Længere tids udsættelse for dampe kan forårsage alvorlige skader og sygdomme.
Undgå længere tids indånding af dampe.
Hold ansigtet væk fra spidsen af slangen og brændstoftanken eller stabilisatoråbningen.
Undgå at få brændstof i øjnene eller på huden.
Under visse forhold er brændstof meget brandfarligt og yderst eksplosivt. En brand eller eksplosion forårsaget af brændstof kan give dig eller andre forbrændinger samt medføre tingsskade.
Fyld tanken udendørs i et åbent område, når motoren er kold. Tør eventuelt spildt brændstof op.
Fyld aldrig brændstoftanken op i en lukket anhænger.
Ryg aldrig under håndtering af brændstof, og hold afstand til åben ild eller steder, hvor brændstofdampe kan antændes af en gnist.
Opbevar brændstof i en godkendt beholder og utilgængeligt for børn. Køb aldrig benzin til mere end 180 dages forbrug.
Betjen ikke maskinen, medmindre hele udstødningssystemet er på plads og i god driftsmæssig stand.
Under visse omstændigheder kan der under påfyldning af brændstof udvikle sig statisk elektricitet, der kan antænde brændstofdampene. En brand eller eksplosion forårsaget af brændstof kan give dig eller andre forbrændinger samt medføre tingsskade.
Anbring altid brændstofbeholdere på jorden et stykke fra køretøjet, før påfyldningen påbegyndes.
Fyld ikke brændstofbeholdere inde i et køretøj eller på en lastbil eller anhænger, da indvendige tæpper eller plastikforinger i lastbiler kan isolere dunken og forsinke tabet af eventuel statisk elektricitet.
Når det er praktisk muligt, skal udstyret fjernes fra lastbilen eller anhængeren og påfyldes brændstof, mens det har hjulene stående på jorden.
Hvis dette ikke er muligt, skal påfyldningen af udstyret finde sted på en lastbil eller anhænger med en bærbar beholder i stedet for direkte fra brændstofstanderen.
Hvis det er nødvendigt at benytte brændstofstanderen, skal spidsen af slangen hele tiden være i kontakt med kanten af åbningen i brændstoftanken eller -beholderen, indtil påfyldningen er afsluttet.
Parker maskinen på en plan flade.
Rengør området omkring tankdækslet med en ren klud.
Fjern dækslet fra brændstoftanken (Figur 38).

Fyld tanken med , indtil niveauet ligger ved påfyldningsstudsens bund.
Sæt tankdækslet på, og stram det, når tanken er fyldt op.
Note: Fyld om muligt brændstoftanken helt op efter hver anvendelse. Dette vil minimere muligheden for akkumulering af kondens i brændstoftanken.
| Vedligeholdelsesintervaller | Vedligeholdelsesprocedure |
|---|---|
| Hver anvendelse eller dagligt |
|
Beholderen fyldes på fabrikken med ca. 28,4 liter hydraulikvæske af høj kvalitet. Kontroller hydraulikvæskestanden, før motoren startes første gang, og derefter dagligt.
Den anbefalede udskiftningsvæske er Toro Premium All Season Hydraulic Fluid (fås i spande med 19 liter eller tromler med 208 liter. Reservedelsnumrene kan findes i reservedelskataloget, eller spørg din Toro-forhandler).
Alternative væsker: Såfremt Toro-væsken ikke kan fås, kan man anvende andre gængse mineraloliebaserede væsker, forudsat at de overholder alle følgende materialeegenskaber og branchespecifikationer. Spørg din olieleverandør, om væsken overholder specifikationerne.
Note: Toro påtager sig intet ansvar for skader forårsaget af forkerte erstatningsprodukter. Brug derfor kun produkter fra producenter med et godt omdømme, som står bag deres anbefaling.
| Slidhæmmende hydraulikvæske med højt viskositetsindeks/lavt flydepunkt, ISO VG 46 Multigrade | |||
| Materialeegenskaber: | |||
| Viskositet, ASTM D445 | cSt ved 40 °C: 44 til 48cSt ved 100 °C: 7,9 til 9,1 | ||
| Viskositetsindeks, ASTM D2270 | 140 eller højere (et højt viskositetsindeks indikerer en multivægtsvæske) | ||
| Flydepunkt, ASTM D97 | -37 °C til -45 °C | ||
| FZG, belastningstrin | 11 eller højere | ||
| Vandindhold (ny væske) | 500 ppm (maksimum) | ||
| Branchespecifikationer: | |||
| Vickers I-286-S, Vickers M-2950-S, Denison HF-0, Vickers 35 VQ 25 (Eaton ATS373-C) | |||
De rette hydraulikvæsker skal angives for mobile maskiner (dvs. maskiner, der ikke bruges i industrielle anlæg), multivægttype, med slidbeskyttende ZnDTP- eller ZDDP-tilsætningsstoffer (ikke en askefri væsketype).
Important: ISO VG 46 Multigrade-væsken har vist sig at give den optimale ydeevne under meget forskellige temperaturforhold. Til drift ved konstant høje omgivende temperaturer, 18 °C til 49 °C, kan ISO VG 68 hydraulikvæske give en bedre ydeevne.
Premium bionedbrydelig hydraulikvæske – Mobil EAL EnviroSyn 46H
Important: Mobil EAL EnviroSyn 46H er den eneste syntetiske bionedbrydelige væske godkendt af Toro. Væsken er kompatibel med elastomerne anvendt i Toro-hydrauliksystemer og egnet til en lang række temperaturforhold. Denne væske er kompatibel med traditionelle væsker, men forudsætningen for maksimal bionedbrydelighed og ydeevne er, at hydrauliksystemet tømmes grundigt for traditionel væske. Væsken fås i beholdere med 19 l eller tromler med 208 l fra Mobil-forhandleren.
Important: Mange hydraulikvæsker er næsten farveløse, og det kan derfor være svært at få øje på lækager. Der kan fås et rødt tilsætningsstof til hydraulikvæsken i flasker med 20 ml. En flaske er nok til 15 til 22 l hydraulikvæske. Bestil delnr. 44-2500 fra en autoriseret Toro-forhandler.
Anbring maskinen på en plan flade, sænk klippeenhederne, stop motoren, og fjern nøglen.
Rengør området omkring påfyldningsstudsen og hydrauliktankens dæksel (Figur 39).

Fjern dækslet fra påfyldningsstudsen.
Fjern målepinden fra påfyldningsstudsen, og tør den af med en ren klud.
Indfør målepinden i påfyldningsstudsen, tag den op igen, og kontroller væskestanden.
Note: Væskestanden skal være mellem de to mærker på målepinden.
Hvis væskestanden er lav, skal du efterfylde med passende væske for at hæve den til det øverste mærke.
Sæt målepinden i igen, og sæt dækslet på påfyldningsstudsen.
| Vedligeholdelsesintervaller | Vedligeholdelsesprocedure |
|---|---|
| Hver anvendelse eller dagligt |
|
Dækkene er oppumpede med overtryk med henblik på forsendelse. Luk derfor noget af luften ud for at reducere trykket. Det korrekte lufttryk i dækkene er 0,83 til 1,03 bar. Kontroller dæktrykket dagligt.
Important: Oprethold det anbefalede tryk i alle dæk for at sikre en klipning af god kvalitet og korrekt maskinydeevne. Pump ikke for lidt luft i dækkene.
Important: Udluft brændstofsystemet, hvis nogen af følgende situationer er opstået:
Motoren er gået i stå på grund af brændstofmangel.
Vedligeholdelse er udført på brændstofsystemets komponenter.
Tag foden væk fra traktionspedalen, og sørg for, at pedalen er i positionen NEUTRAL.
Note: Sørg for, at parkeringsbremsen er aktiveret.
Flyt kontakten til motorhastighed til positionen for lav tomgangshastighed.
Drej tændingsnøglen til positionen KøR.
Note: Kontrollampen tændes.
Drej tændingsnøglen til positionen Start, når gløderørskontrollampens lys bliver svagere.
Slip nøglen med det samme, når motoren starter, og lad den vende tilbage til positionen Kør.
Juster motorhastigheden.
Important: Kør ikke startmotoren i mere end 15 sekunder ad gangen, da den ellers kan blive ødelagt. Hvis motoren ikke starter efter 15 sekunder, skal du dreje nøglen til positionen OFF [slukket], kontrollere kontrolgrebene og procedurerne igen, vente yderligere 15 sekunder og gentage startproceduren.
Når temperaturen er under -7 °C, kan startmotoren køres i 30 sekunder og dernæst slukkes i 60 sekunder, og man har 2 forsøg.
Kontakt med bevægelige dele kan forårsage personskade.
Sluk motoren, og vent på, at alle bevægelige dele stopper, før du kontrollerer, om der er olielækager, løse dele eller andre fejl.
Important: Lad motoren køre i tomgang i 5 minutter, før du slukker den efter drift ved fuld belastning. Herved får turboladeren tid til at køle af, før motoren stoppes. Gøres dette ikke, kan der opstå problemer med turboladeren.
Note: Sænk klippeenhederne ned på jorden, når du parkerer maskinen. Dette lette den hydrauliske belastning af systemet, forhindrer slid på systemets dele og forhindrer desuden, at klippeenhederne sænkes ved et uheld.
Sæt motoren tilbage til lav tomgangshastighed.
Flyt kraftudtagshåndtaget til positionen OFF (Fra).
Aktiver parkeringsbremsen.
Drej tændingsnøglen til positionen OFF (slukket).
Fjern nøglen fra tændingen for at forhindre utilsigtet start.
| Vedligeholdelsesintervaller | Vedligeholdelsesprocedure |
|---|---|
| Hver anvendelse eller dagligt |
|
Hvis kontakterne til sikkerhedslåsesystemet frakobles eller beskadiges, kan maskinen reagere uventet og forårsage personskade.
Pil ikke ved sikkerhedskontakterne.
Kontroller dagligt, at sikkerhedskontakterne fungerer, og udskift eventuelle beskadigede kontakter, før du betjener maskinen.
Maskinen har sikkerhedskontakter i det elektriske system. Disse kontakter er udviklet med henblik på at standse motoren, hvis operatøren forlader sædet, når traktionspedalen er trådt ned. Operatøren kan dog imidlertid forlade sædet, mens motoren kører, og traktionspedalen er i neutral position. Selvom motoren vil fortsætte med at køre, hvis håndtaget til kraftudtaget er udkoblet, og traktionspedalen er sluppet, anbefales det stærkt, at du standser motoren, før du forlader sædet.
Gør følgende for at kontrollere, at sikkerhedskontakterne fungerer:
Kør langsomt maskinen til et stort, forholdsvist åbent område.
Sænk klippeenhederne, stands motoren, og aktiver parkeringsbremsen.
Tag plads i sædet, og træd traktionspedalen ned.
Forsøg at starte motoren.
Note: Motoren bør ikke tørne. Hvis motoren tørner, er der en fejlfunktion i sikkerhedslåsesystemet, som bør rettes, før maskinen benyttes.
Tag plads i sædet, og start motoren.
Rejs dig op fra sædet, og flyt håndtaget til kraftudtaget til positionen ON (til).
Note: Kraftudtaget bør ikke indkobles. Hvis kraftudtaget indkobles, er der en fejlfunktion i sikkerhedslåsesystemet, som bør rettes, før maskinen benyttes.
Tag plads i sædet, aktiver parkeringsbremsen, og start motoren.
Flyt traktionspedalen ud af positionenNEUTRAL.
Note: Motoren skal stoppe. Hvis motoren ikke stopper, er der en fejlfunktion i sikkerhedslåsesystemet, som bør rettes, før maskinen benyttes.
Du kan justere modvægten på den bageste klippeenheds løftearme for at kompensere for forskellige plæneforhold og for at bevare en ensartet klippehøjde under ujævne forhold eller på steder med megen strådannelse.
Du kan justere hver modvægtsfjeder til en af 4 forskellige indstillinger. Hvert trin øger eller mindsker modvægtstrykket på klippeenheden med 2,3 kg. Fjedrene kan placeres på bagsiden af fjederaktuatoren for at fjerne hele modvægten (fjerde position).
Placer maskinen på en plan flade, sænk klippeenhederne, stands motoren, aktiver parkeringsbremserne, og tag nøglen ud af tændingen.
Sæt et rør eller lignende ind i den lange fjederende for at slække fjederspændingen under justering (Figur 40).
Fjedrene er spændt og kan forårsage personskade.
Vær forsigtig under justering af fjedrene.
Fjern bolten og låsemøtrikken, som fastgør fjederaktuatoren til beslaget, mens fjederspændingen slækkes (Figur 40).

Flyt fjederaktuatoren til den ønskede hulplacering, og fastgør den med låsemøtrikken.
Gentag proceduren på den anden fjeder.
Placer maskinen på en plan flade, sænk klippeenhederne, stands motoren, aktiver parkeringsbremserne, og tag nøglen ud af tændingen.
Kontakten til løftearmen er placeret bag den forreste højre løftearm (Figur 41).

Løsn kontaktens monteringsskruer (Figur 41), og flyt kontakten op for at forøge løftearmens drejehøjde, eller flyt kontakten ned for at mindske løftearmens drejehøjde.
Stram monteringsskruerne.
I nødstilfælde kan du flytte maskinen ved at aktivere omløbsventilen i hydraulikpumpen med variabel slagvolumen og montere en hydraulikslange til omløb af kontraventilen og derefter skubbe eller trække maskinen.
Important: Maskinen må ikke skubbes eller trækkes med en hastighed på over 3-4,8 km/t og højst 0,4 km, da der ellers kan opstå skader i gearkassen. Når du bugserer eller trækker maskinen, skal omløbsventilen være åben. Herudover skal du montere en hydraulikslange til omløb af kontraventilen, når du skubber eller bugserer maskinen baglæns.
Hvis du skal skubbe eller bugsere maskinen, er du sandsynligvis nødt til at flytte den både forlæns og baglæns. For at sikre, at drivsystemet ikke påføres skade af at blive skubbet eller bugseret, er det bedst at klargøre maskinen til at blive skubbet eller bugseret forlæns og baglæns.
Important: Hvis du skal skubbe eller bugsere maskinen baglæns, skal du først omløbe kontraventilen i 4-hjulstrækmanifolden.
Følgende Toro-dele er nødvendige for at omløbe kontraventilen:
59-7410, fejlfindingsfitting
354-79, fejlfindingsfittings hætte
95-8843, hydraulikslange
95-0985, koblerfitting (2)
340-77, hydraulikfitting (2)
Monter en fejlfindingsfitting i den umarkerede port placeret mellem portene M8 og P2 på den bageste traktionsmanifold (Figur 42).

Tilslut en hydraulikslange mellem fejlfindingsfittingen monteret i den bageste traktionsmanifold og tryktestporten for omvendt traktion (Figur 43).
Note: Brug hydraulikfittingerne og koblerfittingerne efter behov for at montere slangen.

Drej omløbsventilen 90 ° (¼ omdrejning) i den ene eller den anden retning for at åbne den og lade væske løbe om internt (Figur 44).
Note: Idet væsken omløber transmissionen, kan du flytte maskinen langsomt, uden at gearkassen beskadiges.Bemærk ventilens position, når du åbner og lukker den.

Når du er færdig med at skubbe eller bugsere maskinen, skal du fjerne hydraulikslangen, som du monterede.
Monter den eksisterende hætte på tryktestporten for omvendt traktion.
Monter fejlfindingsfittingens hætte på fittingen, som du monterede på manifolden.
Drej omløbsventilen 90° (1/4 omdrejning) tilbage, før motoren startes.
Note: Ventilen må ikke lukkes med et moment på over 7-11 Nm.
Hvis du kun skal skubbe eller bugsere maskinen forlæns, kan du blot dreje omløbsventilen.
Important: Hvis du skal skubbe eller bugsere maskinen baglæns, se Klargøring af maskinen til at blive skubbet eller bugseret baglæns.
Åbn motorhjelmen, og fjern den midterste beklædning.
Drej omløbsventilen 90 ° (1/4 omdrejning) i den ene eller den anden retning for at åbne den og lade væske løbe om internt (Figur 44).
Note: Da væsken omgår transmissionen, kan du flytte maskinen langsomt fremad uden at transmissionen beskadiges.Bemærk ventilens position, når du åbner og lukker den.
Drej omløbsventilen 90° (1/4 omdrejning) tilbage, før motoren startes.
Note: Ventilen må ikke lukkes med et moment på over 7-11 Nm.
Vær forsigtig, når du læsser maskinen på eller af en trailer eller lastbil.
Brug en rampe i fuld bredde, når du læsser maskinen på eller af en trailer eller lastbil.
Fastgør maskinen med stropper, kæder, kabler eller reb. Både de forreste og bageste stropper bør føres ned og udad fra maskinen.
Dunkraftpunkterne er placeret som følger:
På maskinens forende på stellet inde i hvert drivdæk
På maskinens bagende i akslens midte
Bindepunkterne er placeret som følger:
På hver side af stellet under de forreste trin
Bageste kofanger
Øv dig i at køre maskinen, da den er udstyret med en hydrostatisk transmission, og dens egenskaber er anderledes end mange plænevedligeholdelsesmaskiner. Når traktionsenheden og klippeenhederne betjenes, skal følgende punkter tages i betragtning: transmissionen, motorhastigheden, belastningen af skæreknivene samt bremsernes betydning.
Reguler traktionspedalen, så motorhastigheden forbliver høj og i nogen grad konstant. Derved opretholdes nok drivkraft til maskinen under betjening. En god regel er at sænke kørselshastigheden, når belastningen på klippeenhederne øges, og øge kørselshastigheden, når belastningen sænkes.
Lad derfor traktionspedalen bevæge sig tilbage, idet motorhastigheden mindskes, og træd langsomt pedalen ned, idet hastigheden øges. Når du kører fra et arbejdsområde til et andet – uden belastning og med klippeenhederne hævet – skal du til sammenligning have gashåndtaget i positionen FAST (Hurtig) og træde traktionspedalen langsomt, men helt i bund for at opnå den maksimale kørselshastighed.
En anden ting, der bør overvejes, er, hvordan pedalerne, som er forbundet til bremserne, virker. Du kan bruge bremserne til at hjælpe med at dreje maskinen. Brug dem dog forsigtigt, især på blødt eller vådt græs, da plænen kan blive ødelagt ved et uheld. En anden fordel ved bremserne er, at de fastholder traktionen. For eksempel kan det hjul, der er øverst på bakken, begynde at glide og miste trækkraft i bakket terræn. Hvis denne situation opstår, skal drejebremsepedalen øverst på bakken gradvist og rykvist trædes ned, indtil det hjul, der er øverst på bakken, holder op med at glide. Derved øges traktionskraften på det hjul, der er nederst på bakken.
Vær ekstra forsigtig, når du betjener maskinen på skråninger. Sørg for, at sædelåsen er forsvarligt fastgjort, og at sikkerhedsselen er spændt. Kør langsomt, og undgå skarpe drejninger på skråninger for at forhindre væltning. Klippeenheden skal være sænket under kørsel ned ad bakker af hensyn til kontrollen med styringen.
Important: Lad motoren køre i tomgang i 5 minutter, før du slukker den efter drift ved fuld belastning. Herved får turboladeren tid til at køle af, før motoren stoppes. Gøres dette ikke, kan der opstå problemer med turboladeren.
Udkobl alle betjeningsanordninger, og sæt gashåndtaget i SLOW (langsom), før du standser motoren. Når gashåndtaget flyttes til SLOW, mindskes den høje motorhastighed, støjen og vibrationerne. Drej nøglen til positionen OFF for at standse motoren.
Før du begynder at slå græs, skal du øve dig i at bruge maskinen på et åbent område. Start og stands motoren Kør fremad og bak. Hæv og sænk klippeenhederne, og kobl knivcylindrene til og fra. Når du føler, at du er blevet fortrolig med maskinen, skal du øve dig i at køre op og ned ad skråninger ved forskellige hastigheder.
Hvis der tændes en advarselslampe under betjening af maskinen, skal maskinen stoppes med det samme, og fejlen udbedres, før der fortsættes. Der kan opstå alvorlige skader, hvis du betjener maskinen med en fejl.
Start motoren, og flyt kontakten til motorhastighed til positionen FAST (hurtig). Stil klippehastighedsbegrænseren i KLIPPEPOSITIONEN. Stil kontakten til kraftudtaget i positionen ON (til), og brug løftehåndtaget til at styre klippeenhederne (de forreste klippeenheder er indstillet således, at de sænkes før de bageste). Træd traktionspedalen fremad for at køre fremad og klippe græsset.
Stil kontakten til kraftudtaget i positionen OFF (fra), og hæv klippeenhederne til transportpositionen. Stil klippehastighedsbegrænseren i transportposition. Vær forsigtig, når du kører gennem snævre passager, så du ikke kommer til at beskadige maskinen eller klippeenhederne. Vær ekstra forsigtig, når du betjener maskinen på skråninger. Kør langsomt, og undgå skarpe drejninger på skråninger for at forhindre væltning. Sænk klippeenhederne, når du kører ned ad bakke for at få bedre kontrol over styringen.
Note: Maskinens venstre og højre side er som set fra den normale betjeningsposition.
| Vedligeholdelsesintervaller | Vedligeholdelsesprocedure |
|---|---|
| Efter de første 8 timer |
|
| Efter de første 50 timer |
|
| Efter de første 200 timer |
|
| Hver anvendelse eller dagligt |
|
| For hver 50 timer |
|
| For hver 100 timer |
|
| For hver 200 timer |
|
| For hver 250 timer |
|
| For hver 400 timer |
|
| For hver 800 timer |
|
| Før opbevaring |
|
Kopier denne side til daglig brug.
| Vedligeholdelsespunkter | I ugen: | ||||||
|---|---|---|---|---|---|---|---|
| Man. | Tirs. | Ons. | Tors. | Fre. | Lør. | Søn. | |
| Kontroller sikkerhedslåsesystemets funktion. | |||||||
| Kontroller bremsefunktionen. | |||||||
| Kontroller motorolie- og brændstofstanden. | |||||||
| Kontroller kølesystemets væskestand. | |||||||
| Tøm vand-/brændstofudskilleren. | |||||||
| Kontroller luftfilterets serviceindikator. | |||||||
| Kontroller køler, oliekøler og filter for snavs. | |||||||
| Kontroller for usædvanlige motorlyde.1 | |||||||
| Kontroller for usædvanlige driftslyde. | |||||||
| Kontroller hydrauliksystemets væskestand. | |||||||
| Kontroller, om hydraulikslangerne er beskadigede. | |||||||
| Kontroller for væskelækager. | |||||||
| Kontrol af dæktrykket. | |||||||
| Kontrol af instrumenternes funktion. | |||||||
| Kontroller afstanden mellem knivcylinderen og bundkniven. | |||||||
| Kontroller justeringen af klippehøjden. | |||||||
| Smør alle fedtfittings.2 | |||||||
| Reparation af beskadiget maling. | |||||||
1. Kontroller gløderør og indsprøjtningsdyser, hvis motoren er svær at starte, hvis der observeres for meget røg, eller hvis maskinen kører ujævnt.
2. Umiddelbart efter hver vask, uanset det angivne interval
| Eftersyn foretaget af: | ||
| Punkt | Dato | Oplysninger |
| 1 | ||
| 2 | ||
| 3 | ||
| 4 | ||
| 5 | ||
| 6 | ||
| 7 | ||
| 8 | ||
Important: Se betjeningsvejledningen til motoren og betjeningsvejledningen til klippeenheden for at få yderligere oplysninger om vedligeholdelsesprocedurer.
Note: Du kan finde ledningsdiagram eller hydraulikdiagram til din maskine på www.Toro.com.

Hvis du lader nøglen sidde i tændingen, kan andre personer utilsigtet komme til at starte motoren og forårsage alvorlig personskade på dig eller andre omkringstående.
Fjern nøglen fra tændingen, før vedligeholdelsesarbejde påbegyndes.
Åbn hjelmlåsene (Figur 46), og løft motorhjelmen.

Fjern splitterne, der fastgør de bageste hjelmlåse til rammetapperne, og løft hjelmen af.
| Vedligeholdelsesintervaller | Vedligeholdelsesprocedure |
|---|---|
| For hver 50 timer |
|
Maskinen har smørenipler, som skal smøres jævnligt med litiumfedt nr. 2. Hvis maskinen anvendes under normale forhold, skal alle lejer og bøsninger smøres efter hver 50 timers brug eller straks efter hver vask.
Smøreniplernes placering og antal er som følger:
Bremseakslens pinollejer (5) (Figur 47)

Bagakslens drejebøsninger (2) (Figur 48)

Styretøjscylinderens kugleled (2) (Figur 49)

Forbindelsesstangens kugleled (2) (Figur 49)
Styreboltbøsninger (2) (Figur 49). Den øverste fitting på styrebolten bør kun smøres en gang om året (2 pumpeslag).
Løftearmsbøsninger (1 pr. klippeenhed) (Figur 50)

Løftearmsbøsninger (2 pr. klippeenhed) (Figur 50)
Løftearmens drejetapsbøsninger (1 pr. klippeenhed) (Figur 51)
Klippeenhedens bæreramme (2 pr. klippeenhed) (Figur 51)
Klippeenhedens løftearmsdrejetap (1 pr. klippeenhed) (Figur 51)

| Vedligeholdelsesintervaller | Vedligeholdelsesprocedure |
|---|---|
| For hver 400 timer |
|
Kontroller luftfilterhuset for skader, som kan medføre en luftlækage. Udskift den, hvis den er beskadiget. Kontroller hele indsugningssystemet for lækager, beskadigelse eller løse slangeklemmer.
Efterse kun luftfilteret, når serviceindikatoren (Figur 52) viser, at det er nødvendigt. Hvis du udskifter luftfilteret, før det er nødvendigt, øger du blot risikoen for, at der kommer snavs ind i motoren, når filteret afmonteres.

Important: Sørg for, at dækslet sidder korrekt og slutter tæt sammen med luftfilterhuset.
Træk låsen udad, og drej luftfilterdækslet mod uret (Figur 53).

Fjern dækslet fra luftfilterhuset.
Før du afmonterer filteret, skal du ved hjælp af trykluft med lavt tryk (2,75 bar, ren og tør luft) fjerne større ansamlinger af snavs, der har ophobet sig mellem ydersiden af primærfilteret og filterdåsen. Undgå at bruge trykluft med højt tryk, som kan presse snavs gennem filteret og ind i indsugningsrøret.
Denne rengøringsmetode forhindrer, at der kommer snavs ind i indsugningen, når primærfilteret afmonteres.
Afmonter og udskift primærfilteret (Figur 54).
Det anbefales ikke at rengøre det brugte filter på grund af risikoen for at beskadige filtermediet. Efterse det nye filter for forsendelsesskader, og kontroller filterets forseglingsende og selve filterelementet. Benyt ikke et beskadiget filter.
Isæt det nye filter ved at trykke på den udvendige kant af filterelementet og skubbe det på plads i filterdåsen. Tryk ikke på den bløde del i midten af filteret.

Important: Forsøg aldrig at rense sikkerhedsfilteret (Figur 55). Udskift sikkerhedsfilteret med et nyt efter hvert tredje primærfiltereftersyn.

Rengør åbningen til udblæsning af snavs i det aftagelige dæksel.
Afmonter gummiudløbsventilen i dækslet, rengør fordybningen, og monter udløbsventilen.
Monter dækslet således, at gummiudløbsventilen vender nedad – i en position mellem ca. klokken 5 og klokken 7 set fra enden.
Nulstil indikatoren (Figur 52), hvis den viser rødt.
| Vedligeholdelsesintervaller | Vedligeholdelsesprocedure |
|---|---|
| Efter de første 50 timer |
|
| For hver 250 timer |
|
Fjern aftapningsproppen (Figur 56), og lad olien flyde over i aftapningsbeholderen. Monter aftapningsproppen igen, når olien holder op med at løbe.

Fjern oliefilteret (Figur 57). Smør et tyndt lag ren olie på det nye filters pakning, før det skrues på. Overspænd ikke.

Fyld olie på krumtaphuset. Se Kontrol af motoroliestanden.
Juster gaskablet (Figur 58), så regulatorgrebet på motoren kommer i kontakt med stillebolten for høj hastighed, samtidig med at gaskablet berører enden af åbningen i styrearmen.

Under visse forhold er dieselbrændstof og brændstofdampe meget brandfarlige og eksplosive. En brand eller eksplosion forårsaget af brændstof kan give forbrændinger samt forårsage tingsskade.
Fyld brændstoftanken udendørs i et åbent område, når motoren er slukket og kold. Tør eventuelt spildt brændstof op.
Fyld ikke brændstoftanken helt op. Fyld brændstof på brændstoftanken, indtil niveauet ligger 25 mm under kanten af tanken (ikke påfyldningsstudsen). Dette tomrum i tanken giver brændstoffet plads til at udvide sig.
Ryg aldrig under håndtering af brændstof, og hold afstand til åben ild eller steder, hvor brændstofdampe kan antændes af en gnist.
Opbevar brændstof i en ren, sikkerhedsgodkendt beholder, og sørg altid for, at låget er skruet på.
| Vedligeholdelsesintervaller | Vedligeholdelsesprocedure |
|---|---|
| For hver 800 timer |
|
| Før opbevaring |
|
Tøm og rengør brændstoftanken, hvis brændstofsystemet forurenes, eller hvis maskinen skal tages ud af drift i længere tid. Brug rent brændstof til at skylle tanken med.
| Vedligeholdelsesintervaller | Vedligeholdelsesprocedure |
|---|---|
| For hver 400 timer |
|
Efterse brændstofslangerne for slitage, skader eller løse forbindelser.
| Vedligeholdelsesintervaller | Vedligeholdelsesprocedure |
|---|---|
| Hver anvendelse eller dagligt |
|
| For hver 400 timer |
|
Anbring en ren beholder under brændstoffilteret.
Løsn aftapningsproppen i bunden af filterdåsen.

Rengør området, hvor filterdåsen monteres.
Afmonter filterdåsen, og rengør monteringsfladen.
Smør pakningen på filterdåsen med ren olie.
Monter filterdåsen med hånden, indtil pakningen berører monteringsoverfladen. Drej dernæst endnu ½ omgang.
Stram aftapningsproppen i bunden af filterdåsen.
Brændstofindtagsslangen, som sidder inde i brændstoftanken, er udstyret med et filter, som medvirker til at forhindre, at der kommer snavs ind i brændstofsystemet. Afmonter brændstofindtagsslangen, og rengør filteret efter behov.
Batteripoler, -klemmer og tilbehør indeholder bly og blysammensætninger: kemikalier, som ifølge staten Californien er kræftfremkaldende og forårsager forplantningsskader. Vask hænder efter håndtering.
Lås operatørens konsolpanel op, og løft det op (Figur 60).

Batterielektrolyt indeholder svovlsyre, som er en dødelig gift, der forårsager alvorlige forbrændinger.
Drik ikke elektrolyt, og undgå kontakt med hud, øjne og tøj. Brug sikkerhedsbriller for at beskytte øjnene og gummihandsker for at beskytte hænderne.
Fyld batteriet op på et sted, hvor der altid er rent vand i nærheden til at skylle huden med.
Slut en 3-4 A batterioplader til batteripolerne.
Oplad batteriet ved 3-4 A i 4 til 8 timer.
Når batteriet er opladet, tages opladeren ud af stikkontakten og frakobles batteripolerne.
Opladning af batteriet producerer gasser, der kan eksplodere.
Der må aldrig ryges i nærheden af batteriet, og gnister og åben ild skal holdes væk fra batteriet.
Monter pluskablet (rødt) til pluspolen (+) og minuskablet (sort) til minuspolen (-) på batteriet (Figur 61).

Fastgør kablerne til polerne med maskinskruer og møtrikker.
Sørg for, at pluspolen (+) sidder ordentligt fast på batteriet, og at kablet er placeret tæt ind til batteriet. Kablet må ikke berøre batteridækslet.
Skyd gummikappen ind over pluspolen for at forhindre eventuel kortslutning.
Batteripoler, -klemmer og tilbehør indeholder bly og blysammensætninger: kemikalier, som ifølge staten Californien er kræftfremkaldende og forårsager forplantningsskader. Vask hænder efter håndtering.
Smør begge batteriforbindelser med Grafo 112X-fedt, Toro delnr. 505-47, vaseline eller let fedt for at forhindre korrosion.
Skyd gummikappen hen over batteriets pluspol.
Luk konsolpanelet, og fastgør låsen.
Batteripoler eller metalværktøj kan kortslutte mod metaldele og forårsage gnister. Gnister kan få batterigasserne til at eksplodere og medføre personskade.
Når batteriet skal fjernes eller monteres, må batteriets poler ikke berøre nogen metaldele på maskinen.
Metalværktøj må ikke kortslutte mellem batteripolerne og maskinens metaldele.
Forkert batterikabelføring kan danne gnister og beskadige maskinen og kablerne. Gnister kan få batterigasserne til at eksplodere og medføre personskade.
Frakobl altid batteriets (sorte) minuskabel, før du frakobler det røde pluskabel.
Tilslut altid batteriets røde pluskabel, før du tilslutter det sorte minuskabel.
| Vedligeholdelsesintervaller | Vedligeholdelsesprocedure |
|---|---|
| For hver 50 timer |
|
Important: Før der foretages svejsninger på maskinen, skal det negative kabel frakobles batteriet for at forhindre, at det elektriske system beskadiges.
Note: Kontroller batteriets tilstand hver uge eller efter hver 50 driftstimer. Polerne og hele batterikassen skal holdes rene, da et snavset batteri langsomt vil aflades.
Fjern batteriet fra maskinen.
Vask hele kassen med en opløsning af tvekulsurt natron og vand.
Skyl kassen med rent vand.
For at forebygge korrosion belægges batteriet og kabelforbindelserne med Grafo 112X-fedt (Toro delnr. 505-47) eller vaseline.
| Vedligeholdelsesintervaller | Vedligeholdelsesprocedure |
|---|---|
| Efter de første 8 timer |
|
| For hver 200 timer |
|
Hvis du ikke bevarer det rette tilspændingsmoment i hjulmøtrikkerne, kan det medføre svigt eller tab af hjulet, hvilket kan medføre personskade.
Tilspænd hjulmøtrikkerne for og bag med et moment på 115 til 136 N·m efter 1-4 timers brug og igen efter 8 timers brug. Tilspænd hjulmøtrikkerne med 200 timers mellemrum derefter.
Note: Forhjulets møtrikker er ½–20 UNF. Baghjulets møtrikker er M12 x 1,6-6H (metrisk).
| Vedligeholdelsesintervaller | Vedligeholdelsesprocedure |
|---|---|
| For hver 400 timer |
|
Kontroller oliestanden efter hver 400 driftstimer. Anvend SAE 85W-140-gearolie af høj kvalitet til udskiftning.
Anbring maskinen på et plant underlag og placer hjulet, således at den 1 kontrolprop (Figur 65) står i klokken 12-positionen, og den anden står i klokken 3-positionen.

Fjern proppen i klokken 3-positionen (Figur 65).
Note: Der skal stå olie op til bunden af hullet
Hvis oliestanden er lav, skal proppen i klokken 12-positionen fjernes, og olie skal påfyldes, indtil den begynder at flyde ud af hullet i klokken 3-positionen.
Sæt begge propper i.
Gentag trin 1 til 4 på det modsatte planetdrev.
| Vedligeholdelsesintervaller | Vedligeholdelsesprocedure |
|---|---|
| Efter de første 200 timer |
|
| For hver 800 timer |
|
Skift olie første gang efter 200 driftstimer. Skift derefter olie for hver 800 driftstimer eller årligt, alt efter hvad der indtræffer først. Anvend SAE 85W-140-gearolie af høj kvalitet til udskiftning.
Når maskinen er parkeret på en plan flade, placeres et hjul, så en af kontrolpropperne er i den lavest mulige position (klokken 6) (Figur 66).

Placer en drænbakke under planetnavet, fjern dækslet, og lad olien løbe ud.
Placer en drænbakke under bremsehuset, fjern aftapningsproppen og dræn for olie (Figur 67).

Når begge steder er drænet helt for olie, skal du sætte proppen i bremsehuset.
Drej hjulet indtil det åbne prophul i planetdrevet er placeret i klokken 12-positionen.
Fyld langsomt planetdrevet gennem det åbne hul med 0,65 liter højkvalitetsgearolie SAE 85W-140.
Important: Hvis planetdrevet fyldes, før der er fyldt 0,65 liter olie på, skal du vente en time eller sætte proppen i og flytte maskinen cirka tre meter, så olien fordeles i bremsesystemet. Fjern derefter proppen, og hæld den resterende olie på.
Skru proppen i.
Gentag proceduren på modsatte planetgear/bremse.
| Vedligeholdelsesintervaller | Vedligeholdelsesprocedure |
|---|---|
| For hver 400 timer |
|
Bagakslen er fra fabrikken fyldt med SAE 85W-140-gearolie. Kontroller oliestanden, før motoren startes første gang, og for hver 400 timer derefter. Kapaciteten er 2,4 liter. Kontroller dagligt for lækager.
| Vedligeholdelsesintervaller | Vedligeholdelsesprocedure |
|---|---|
| Efter de første 200 timer |
|
| For hver 800 timer |
|
Parker maskinen på en plan flade.
Rengør området rundt om de 3 aftapningspropper, 1 på hver ende og 1 i midten (Figur 69).

Fjern olieniveauets kontrolpropper og hovedakslens udluftningsdæksel for at lette aftapningen af olien.
Fjern aftapningspropperne, og lad olien løbe ned i bakkerne.
Skru propperne i.
Afmonter en kontrolprop, og fyld akslen med cirka 2,37 l 85W-140-gearolie, eller indtil olien når op til bunden af påfyldningshullet.
Skru kontrolproppen i.
| Vedligeholdelsesintervaller | Vedligeholdelsesprocedure |
|---|---|
| For hver 400 timer |
|
Gearkassen er fyldt med SAE 85W-140 gearolie. Kontroller oliestanden, før motoren startes første gang, og for hver 400 timer derefter. Kapaciteten er 0,5 liter. Kontroller dagligt for lækager.
Parker maskinen på en plan flade.
Fjern kontrol/påfyldningsproppen fra venstre side af gearkassen (Figur 70), og sørg for, at smøreoliestanden når op til bunden af hullet. Hvis oliestanden er lav, skal der hældes tilstrækkelig olie på, til at den når op til bunden af hullet.

Maskinen må ikke krybe, når traktionspedalen slippes. Hvis den kryber, er det nødvendigt at foretage en justering.
Parker maskinen på en plan flade, sluk motoren, placer hastighedskontrollen i indstillingen for lav hastighed, og sænk klippeenhederne ned på jorden.
Træd kun på den højre bremsepedal, og aktiver parkeringsbremsen.
Løft den venstre side af maskinen op med en donkraft, indtil venstre forhjul slipper gulvet. Understøt maskinen med bukke, så den ikke kan vælte ved et uheld.
Start motoren, og lad den køre i lav tomgang.
Juster kontramøtrikkerne på pumpestangens ende for at flytte pumpekontrolslangen fremad for at afhjælpe krybning fremad, eller flyt den bagud for at afhjælpe bagudrettet krybning (Figur 71).

Når hjulet holder op med at rotere, skal du stramme kontramøtrikkerne for at sikre justeringen.
Stands motoren, og slip den højre bremse.
Fjern donkraftene, og sænk maskinen ned på gulvet.
Prøvekør maskinen for at kontrollere, at den ikke kryber.
| Vedligeholdelsesintervaller | Vedligeholdelsesprocedure |
|---|---|
| For hver 800 timer |
|
Mål afstanden fra midte til midte (i akselhøjden) på de styrende dæk, foran og bag akslen.
Note: Målingen foran akslen skal være 3 mm mindre end målingen bag akslen (Figur 72).

Du kan justere spidsningen ved at fjerne låseclipsen og møtrikken fra hver forbindelsesstangs kugleled (Figur 73).

Fjern forbindelsesstangens kugleled fra akselhusets holder.
Løsn klemmerne i hver ende af forbindelsesstængerne (Figur 73).
Drej det fritliggende kugleled en hel omgang indad eller udad.
Stram klemmen i den løse ende af forbindelsesstangen.
Drej hele forbindelsesstangen en hel omgang i samme retning (indad eller udad).
Stram klemmen i den tilsluttede ende af forbindelsesstangen.
Monter kugleleddet på akselhusets holder, og stram møtrikken fingerstramt.
Mål spidsningen.
Gentag proceduren om nødvendigt.
Stram møtrikken, og monter en ny låseclips, når justeringen er korrekt.
| Vedligeholdelsesintervaller | Vedligeholdelsesprocedure |
|---|---|
| Hver anvendelse eller dagligt |
|
Fjern snavs fra motorområdet, oliekøleren og køleren dagligt. Rengør dem oftere under snavsede forhold.
Åbn den bageste skærm (Figur 74).

Rengør skærmen grundigt for alt snavs.
Note: Du kan afmontere skærmen ved at løfte hængselsstifterne af.
Rengør begge sider af oliekøler-/kølerområdet (Figur 75) grundigt med trykluft. Start fra forenden, og blæs snavs ud mod bagsiden. Rengør dernæst fra bagsiden, og blæs mod forenden. Gentag proceduren adskillige gange, indtil snavs og skidt er fjernet.

Important: Rengøring af oliekøleren eller køleren med vand medvirker til, at der for tidligt opstår korrosionsskader på komponenterne, og at der ophober sig snavs.
Luk bagskærmen, og fastgør den med låsen.
Juster driftsbremserne, hvis bremsepedalen har mere end 13 mm “fri vandring”, eller når bremserne ikke virker effektivt. Fri vandring angiver den afstand, som bremsepedalen kan flyttes, før du mærker bremsemodstand.
Løsn låsen fra bremsepedalerne, så begge pedaler virker uafhængigt af hinanden.
Stram bremserne for at reducere bremsepedalernes frie vandring på følgende måde:
Løsn den forreste møtrik på bremsekablets gevind-ende (Figur 76).

Tilspænd den bageste møtrik for at flytte kablet bagud, indtil bremsepedalerne har 0-13 mm fri vandring.
Note: Kontroller, at der ikke er bremsetræk, når bremsepedalen slippes.
Tilspænd de forreste møtrikker, når bremserne er justeret korrekt.
| Vedligeholdelsesintervaller | Vedligeholdelsesprocedure |
|---|---|
| For hver 100 timer |
|
Kontroller remmens tilstand og spænding (Figur 77) efter hver 100 driftstimer.
Med den rigtige spænding opnås 10 mm afbøjning, når en belastning på 45 N (4,5 kg) påføres remmen midtvejs mellem remskiverne.
Hvis afbøjningen ikke er 10 mm, skal generatorens monteringsbolte løsnes (Figur 77).

Øg eller mindsk generatorremmens stramhed, og tilspænd boltene.
Kontroller remmens afbøjning igen for at sikre, at stramningen er korrekt.
| Vedligeholdelsesintervaller | Vedligeholdelsesprocedure |
|---|---|
| For hver 800 timer |
|
Skift hydraulikvæsken i intervaller på 800 driftstimer under normale forhold. Hvis væsken bliver forurenet, skal du kontakte den lokale Toro-forhandler, eftersom systemet skal skylles ud. Forurenet væske ser mælkeagtigt eller sort ud sammenlignet med ren væske.
Sluk motoren, og løft motorhjelmen.
Frakobl returrøret fra beholderens bund, og lad hydraulikvæsken løbe ned i en stor dræningsbakke.
Genmonter røret, når hydraulikvæsken holder op med at dræne.
Fyld beholderen op med ca. 28,4 l hydraulikvæske. Se Kontrol af hydraulikvæskestanden.
Important: Brug kun de angivne hydraulikolier. Andre væsker kan beskadige systemet.
Sæt beholderens dæksel på.
Start motoren, og brug alle de hydrauliske styreenheder til at fordele hydraulikvæsken gennem hele systemet.
Kontroller for lækager, og stop motoren.
Kontroller væskeniveauet, og påfyld nok til at hæve niveauet til mærket fuld på målepinden.
Note: Fyld ikke for meget væske på hydrauliksystemet.
| Vedligeholdelsesintervaller | Vedligeholdelsesprocedure |
|---|---|
| Efter de første 200 timer |
|
| For hver 800 timer |
|
Skift de 2 hydraulikfiltre første gang efter de første 200 driftstimer. Skift derefter filtrene efter hver 800 driftstimer under normale forhold.
Brug Toro-filtre, delnr. 94-2621 til den bageste (klippeenhed) del af maskinen og 75-1310 til den forreste (lade) del af maskinen.
Important: Brug af andre filtertyper kan gøre garantien på visse komponenter ugyldig.
Placer maskinen på en plan flade, sænk klippeenhederne, stop motoren, aktiver parkeringsbremsen, og tag nøglen ud af tændingen.
Rengør det område, hvor filteret monteres.
Anbring en drænbakke under filteret, og afmonter filteret (Figur 78 og Figur 79).
Smør den nye filterpakning, og fyld filteret med hydraulikvæske.


Sørg for, at området omkring det sted, hvor filteret skal monteres, er rent.
Skru filteret på, indtil pakningen berører monteringspladen, og spænd derefter filteret endnu en halv omgang.
Start motoren, og lad den køre i ca. to minutter for at lukke luft ud af systemet.
Stop motoren, og kontroller, om der er lækager.
| Vedligeholdelsesintervaller | Vedligeholdelsesprocedure |
|---|---|
| Hver anvendelse eller dagligt |
|
Efterse dagligt hydraulikrør og -slanger for lækager, bøjede rør, løse monteringsholdere, slid, løse fittings, forringelser på grund af vejrlig og kemisk forringelse. Foretag alle nødvendige udbedringer før drift.
Hydraulikvæske, der slipper ud under tryk, kan trænge ind i huden og dermed forårsage personskader.
Sørg for, at alle slanger og rør til hydraulikvæske er i god stand, og at alle hydrauliske forbindelser og fittings slutter tæt, før der sættes tryk på hydrauliksystemet.
Hold din krop og hænder væk fra splithulslækager eller dyser, der sprøjter højtrykshydraulikvæske ud.
Brug pap eller papir til at finde eventuelle hydrauliklækager.
Tag hele trykket af det hydrauliske system, før der udføres arbejde på det.
Søg straks lægehjælp, hvis der sprøjtes væske ind under huden.
Berøring af knivcylindrene eller andre bevægelige dele kan medføre personskader.
Hold fingre, hænder og beklædningsgenstande væk fra knivcylindrene eller andre bevægelige dele.
Forsøg aldrig at dreje knivcylindrene med hænderne eller fødderne, mens motoren kører.
Note: Ved baglapning arbejder alle frontenhederne sammen, og bagenhederne arbejder sammen.
Placer maskinen på en plan flade, sænk klippeenhederne, stop motoren, aktiver parkeringsbremsen, og stil kontakten til kraftudtaget i positionen OFF (fra).
Lås motorhjelmen op, og løft den, så betjeningsanordningerne bliver tilgængelige.
Foretag de første justeringer mellem knivcylinder og bundkniv, der er relevante for baglapning, på alle klippeenheder, som skal baglappes. Se betjeningsvejledningen til klippeenhederne.
Brug enten forreste, bageste eller begge baglapningshåndtag for at vælge de enheder, som skal baglappes (Figur 80).
Start motoren, og lad den køre ved lav tomgangshastighed.
Ændring af motorhastighed under baglapning kan få knivcylindrene til at sætte ud.
Reguler aldrig motorhastigheden under baglapning.
Foretag kun baglapning, når motoren kører i tomgang.
Kontakt med en roterende klippeenhed kan forårsage personskade.
Sørg for, at du ikke er i nærheden af klippeenhederne, før du fortsætter, for at undgå personskade.
Stil kontakten til kraftudtaget i positionen ON (til), når klippehastighedsbegrænseren er i klippeposition. Tryk på løftekontakten for at starte baglapningen på de valgte knivcylindre.
Påsmør lappepasta med en langskaftet børste.
Note: Brug aldrig kortskaftede børster.

Hvis knivcylindrene går i stå eller kører uregelmæssigt under baglapningen, så vælg en højere hastighed for knivcylindrene, indtil hastigheden stabiliseres.
Klippeenhederne justeres under baglapning ved at slå knivcylindrene fra ved at trykke på det bageste af løftekontakten, stille kontakten til kraftudtaget i positionen OFF (fra) og slukke motoren. Gentag trin 4 til og med 8, når justeringerne er foretaget.
Gentag proceduren for alle de klippeenheder, som du ønsker at baglappe.
Når du er færdig, sættes baglapningshåndtagene tilbage til klippepositionen, motorhjelmen sænkes, og al lappepasta vaskes af klippeenhederne. Juster klippeenhedens kontakt mellem cylinderkniven og bundkniven efter behov. Flyt hastighedsregulatorerne for klippeenhedernes knivcylindre til den ønskede klippeposition.
Important: Hvis baglapningskontakten ikke sættes tilbage til positionen Fra efter baglapningen, kan klippeenhederne ikke hæves eller fungere korrekt.
Note: Der findes yderligere instruktioner og fremgangsmåder for baglapning i Toro-manualen om slibning af knivcylindere og rotorplæneklippere, Form No. 80-300SL.
Note: For at få et bedre skær, skal der føres en fil hen over forsiden af bundkniven efter lapning. Derved fjernes eventuel grat eller ru kanter, som kan være blevet dannet på skæret.
Aftap motorolien fra oliesumpen, og udskift bundproppen.
Fjern og bortskaf oliefilteret. Sæt et nyt oliefilter i.
Fyld den angivne motorolie på motoren.
Start motoren, og lad den køre i tomgang i ca. 2 minutter.
Stop motoren.
Skyl brændstoftanken med frisk, rent brændstof.
Spænd alle brændstofsystemfittinger igen.
Rengør og efterse luftfilterenheden grundigt.
Forsegl luftfilterindtaget og udstødningsåbningen med vejrbestandig tape.
Kontroller frostvæskebeskyttelsen, og påfyld en 50/50-opløsning af vand og ethylenglycol-frostvæske som nødvendigt til den forventede minimumstemperatur i dit område.
Rengør traktionsenheden, klippeenhederne og motoren grundigt.
Kontroller dæktrykket. Se Kontrol af dæktrykket.
Kontroller, at der ikke er løse dele, som skal være fastspændte, og efterspænd dem om nødvendigt.
Smør alle fittings og drejepunkter med fedt eller olie. Tør overskydende smøremiddel af.
Slib let med sandpapir, og benyt pletreparationslak på lakerede områder, som er blevet ridsede, har været udsat for stenslag eller har rustpletter. Reparer eventuelle buler i metalkarrosseriet.
Udfør service på batteriet og kablerne som beskrevet herunder:
Fjern batteriklemmerne fra batteripolerne.
Rengør batteriet, klemmerne og polerne med en stålbørste og en opløsning med tvekulsurt natron.
For at forebygge korrosion skal batteriets poler og kabelforbindelserne smøres med Grafo 112X-fedt (Toro delnr. 505-47) eller vaseline.
Oplad langsomt batteriet hver 60. dag i 24 timer for at forhindre blysulfatering af batteriet.