| Wartungsintervall | Wartungsmaßnahmen |
|---|---|
| Bei jeder Verwendung oder täglich |
|
Dieser Aufsitzrasenmäher mit Sichelmesser sollte nur von geschulten Lohnarbeitern in gewerblichen Anwendungen eingesetzt werden. Er ist hauptsächlich für das Mähen von Gras auf gepflegten Grünflächen auf Golfplätzen, in Parks, Sportplätzen und öffentlichen Anlagen gedacht. Der Rasenmäher ist nicht für das Schneiden von Büschen, für das Mähen von Gras oder anderer Anpflanzungen entlang öffentlicher Verkehrswege oder für den landwirtschaftlichen Einsatz gedacht.
Lesen Sie diese Informationen sorgfältig durch, um sich mit dem ordnungsgemäßen Einsatz und der Wartung des Geräts vertraut zu machen und Verletzungen und eine Beschädigung des Geräts zu vermeiden. Sie tragen die Verantwortung für einen ordnungsgemäßen und sicheren Einsatz des Geräts.
Wenden Sie sich hinsichtlich Informationen zu Produkten und Zubehör sowie Angaben zu Ihrem örtlichen Vertragshändler oder zur Registrierung des Produktes direkt an Toro unter www.Toro.com.
Wenden Sie sich an den Toro-Vertragshändler oder Kundendienst, wenn Sie eine Serviceleistung, Originalersatzteile von Toro oder weitere Informationen benötigen. Haben Sie dafür die Modell- und Seriennummern der Maschine griffbereit. In Bild 1 wird der Standort der Modell- und Seriennummern am rechten vorderen Rahmen des Produkts angegeben. Tragen Sie hier bitte die Modell- und Seriennummern des Geräts ein.

In dieser Anleitung werden potenzielle Gefahren angeführt, und Sicherheitsmeldungen werden vom Sicherheitswarnsymbol (Bild 2) gekennzeichnet, das auf eine Gefahr hinweist, die zu schweren oder tödlichen Verletzungen führen kann, wenn Sie die empfohlenen Sicherheitsvorkehrungen nicht einhalten.

In dieser Anleitung werden zwei weitere Begriffe zur Hervorhebung von Informationen verwendet. Wichtig weist auf spezielle mechanische Informationen hin, und Hinweis hebt allgemeine Informationen hervor, die Ihre besondere Beachtung verdienen.
Dieses Produkt entspricht allen relevanten europäischen Richtlinien; weitere Angaben finden Sie in den produktspezifischen Konformitätsbescheinigungen.
Da Sie in einigen Regionen aufgrund von Gemeinde-, Landes- oder Bundesvorschriften einen Funkenfänger an der Auspuffanlage verwenden müssen, ist ein Funkenfänger im Auspuff integriert.
Originalfunkenfänger von Toro sind vom USDA Forestry Service zugelassen.
Important: Der Motor hat einen Funkenfänger an der Auspuffanlage. Entsprechend dem California Public Resource Code Section 4442 ist der Einsatz des Motors in bewaldeten oder bewachsenen Gebieten ohne richtig gewarteten und funktionsfähigen Funkenfänger oder ohne einen Motor verboten, der nicht für die Brandvermeidung geschützt, ausgerüstet und gewartet ist. Andere Länder oder Staaten haben u. U. ähnliche Gesetze.
Die beiliegende Motoranleitung enthält Angaben zu den Abgasbestimmungen der US Environmental Protection Agency (EPA) und den Kontrollvorschriften von Kalifornien zu Abgasanlagen, der Wartung und Garantie. Sie können einen Ersatz beim Motorhersteller anfordern.
KALIFORNIEN
Warnung zu Proposition 65
Die Dieselauspuffgase und einige Bestandteile wirken laut den Behörden des Staates Kalifornien krebserregend, verursachen Geburtsschäden oder andere Defekte des Reproduktionssystems
Bei Verwendung dieses Produkts sind Sie ggf. Chemikalien ausgesetzt, die laut den Behörden des Staates Kalifornien krebserregend wirken, Geburtsschäden oder andere Defekte des Reproduktionssystems verursachen.
Diese Maschine entspricht zum Zeitpunkt der Herstellung den Standards EN ISO 5395:2013 (bei Anbringung der entsprechenden Aufkleber) und ANSI B71.4:2012 oder übertrifft diese sogar.
Eine fehlerhafte Bedienung oder Wartung durch den Benutzer oder Besitzer kann Verletzungen zur Folge haben. Diese Sicherheitshinweise sollen dabei helfen, das Verletzungsrisiko zu reduzieren. Achten Sie immer auf das Warnsymbol. Es bedeutet VORSICHT, WARNUNG oder GEFAHR – Sicherheitshinweis. Wenn der Hinweis nicht beachtet wird, kann es zu schweren oder tödlichen Verletzungen kommen.
Die folgenden Anweisungen stammen aus EN 5395:2013 und ANSI B71.4-2012.
Lesen Sie die Bedienungsanleitung und weiteres Schulungsmaterial gründlich durch. Machen Sie sich mit den Bedienelementen, Sicherheitsschildern und der korrekten Anwendung des Geräts vertraut.
Lassen Sie den Rasenmäher nie von Kindern oder Personen bedienen oder warten, die mit diesen Anweisungen nicht vertraut sind. Örtliche Vorschriften schränken u. U. das Mindestalter von Bedienern ein.
Mähen Sie nie, wenn sich Personen, insbesondere Kinder oder Haustiere, in der Nähe aufhalten.
Bedenken Sie immer, dass der Bediener die Verantwortung für Unfälle oder Gefahren gegenüber anderen und ihrem Eigentum trägt.
Nehmen Sie nie Beifahrer mit.
Alle Fahrer und Mechaniker müssen sich um eine professionelle und praktische Schulung bemühen. Der Besitzer ist für die Schulung der Bediener verantwortlich. Die Ausbildung muss Folgendes hervorheben:
Die Bedeutung von Vorsicht und Konzentration bei der Arbeit mit Aufsitzrasenmähern;
Die Kontrolle über einen Rasentraktor, der an einer Hanglage rutscht, lässt sich nicht durch den Einsatz der Bremse wiedergewinnen. Kontrollverlust ist meistens auf Folgendes zurückzuführen:
Unzureichende Bodenhaftung.
Zu hohe Geschwindigkeit.
Unzureichendes Bremsen.
Nicht geeigneter Maschinentyp für die Aufgabe.
Mangelhafte Beachtung des Bodenzustands, insbesondere an Hanglagen.
Falsch angebrachte Geräte und falsche Lastverteilung.
Der Besitzer/Benutzer ist für eigene Unfälle, Verletzungen und Sachschäden sowie für die von Dritten verantwortlich und kann diese verhindern.
Tragen Sie beim Mähen immer feste Schuhe mit rutschfester Sohle, lange Hosen, einen Schutzhelm, eine Schutzbrille und einen Gehörschutz. Langes Haar, lose Kleidungsstücke und Schmuck können sich in beweglichen Teilen verfangen. Fahren Sie die Maschine nie barfuß oder mit Sandalen.
Untersuchen Sie den Arbeitsbereich der Maschine gründlich und entfernen Sie alle Gegenstände, die von der Maschine aufgeworfen werden könnten.
Tauschen Sie defekte Schalldämpfer bzw. Auspuffe aus.
Begutachten Sie das Gelände, um das notwendige Zubehör und die Anbaugeräte zu bestimmen, die zur korrekten und sicheren Durchführung der Arbeit erforderlich sind. Verwenden Sie nur vom Hersteller zugelassenes Zubehör und zugelassene Anbaugeräte.
Prüfen Sie, ob die Sitzkontaktschalter, Sicherheitsschalter und Schutzbleche vorhanden sind und einwandfrei funktionieren. Nehmen Sie die Maschine nur in Betrieb, wenn diese richtig funktionieren.
Passen Sie beim Umgang mit Kraftstoff besonders auf, um Körperverletzungen oder Sachschäden zu vermeiden. Benzin ist extrem leicht entflammbar und Benzindämpfe sind hochexplosiv.
Löschen Sie alle Zigaretten, Zigarren, Pfeifen und sonstigen Zündquellen.
Verwenden Sie nur einen vorschriftsmäßigen Kraftstoffkanister.
Nehmen Sie den Tankdeckel nie bei laufendem Motor ab und betanken Sie nicht bei laufendem Motor.
Lassen Sie vor dem Betanken den Motor abkühlen.
Betanken Sie die Maschine nie in geschlossenen Räumen.
Lagern Sie die Maschine oder den Kraftstoffkanister nie an Orten mit offener Flamme, Funken oder Zündflamme, z. B. Warmwasserbereiter, oder andere Geräte.
Füllen Sie den Kanister nie im Fahrzeug oder auf der Ladepritsche eines Pritschenwagens oder Anhängers mit einer Verkleidung aus Kunststoff. Stellen Sie die Benzinkanister vor dem Auffüllen immer vom Fahrzeug entfernt auf den Boden.
Nehmen Sie Geräte vom Pritschenwagen oder Anhänger und tanken Sie sie auf dem Boden auf. Falls das nicht möglich ist, betanken Sie solche Geräte mit einem tragbaren Kanister und an einer Zapfsäule.
Sie müssen das Mundstück immer in Kontakt mit dem Rand des Kraftstofftanks bzw. der Kanisteröffnung halten, bis der Tankvorgang abgeschlossen ist. Verwenden Sie nicht ein Mundstück-Öffnungsgerät.
Wenn Sie Kraftstoff auf die Kleidung verspritzen, wechseln Sie sofort die Kleidung.
Füllen Sie den Kraftstofftank nie zu voll. Setzen Sie den Tankdeckel auf und schrauben Sie ihn richtig fest.
Lassen Sie den Motor nie in unbelüfteten Räumen laufen, da sich dort gefährliche Kohlenmonoxidgase und Abgase ansammeln können.
Mähen Sie nur bei Tageslicht oder guter künstlicher Beleuchtung.
Kuppeln Sie, bevor Sie versuchen, den Motor zu starten, alle Anbaugeräte aus, schalten auf Neutral und aktivieren die Feststellbremse.
Denken Sie daran, dass ein Gefälle nie sicher ist. Fahren Sie an Grashängen besonders vorsichtig. So vermeiden Sie ein Überschlagen:
Stoppen oder starten Sie beim Hangauf-/Hangabfahren nie plötzlich.
Halten Sie die Geschwindigkeit an Hängen und in engen Kurven niedrig.
Achten Sie auf Buckel und Kuhlen und andere versteckte Gefahrenstellen.
Vermeiden Sie scharfes Wenden. Passen Sie beim Rückwärtsfahren auf.
Verwenden Sie Gegengewichte oder Radballast, wenn dies in der Bedienungsanleitung empfohlen wird.
Achten Sie auf Kuhlen und andere versteckte Gefahrenstellen im Gelände.
Achten Sie beim Überqueren und in der Nähe von Straßen auf den Verkehr.
Stellen Sie die Schnittmesser ab, bevor Sie grasfreie Oberflächen überqueren.
Richten Sie beim Einsatz von Anbaugeräten den Auswurf nie auf Unbeteiligte. Halten Sie Unbeteiligte aus dem Einsatzbereich fern.
Setzen Sie den Rasenmäher nie mit beschädigten Schutzvorrichtungen, -schildern und ohne angebrachte Sicherheitsvorrichtungen ein. Stellen Sie sicher, dass alle Sicherheitsschalter montiert, richtig eingestellt und funktionsfähig sind.
Verändern Sie nie die Einstellung des Motorfliehkraftreglers, und überdrehen Sie niemals den Motor. Durch das Überdrehen des Motors steigt die Verletzungsgefahr.
Bevor Sie den Fahrersitz verlassen:
Halten Sie auf einer ebenen Fläche an.
Kuppeln Sie die Zapfwelle aus und senken Sie die Anbaugeräte ab.
Schalten Sie auf Leerlauf und aktivieren Sie die Feststellbremse.
Stellen Sie den Motor ab und ziehen Sie den Zündschlüssel ab.
Kuppeln Sie den Antrieb der Anbaugeräte aus, wenn die Maschine nicht verwendet oder transportiert wird.
Stellen Sie den Motor ab und kuppeln den Antrieb der Anbaugeräte aus:
Vor dem Tanken.
Vor dem Verstellen der Schnitthöhe. Es sei denn, die Einstellung lässt sich von der Fahrerposition aus bewerkstelligen.
Vor dem Entfernen von Verstopfungen.
Vor dem Prüfen, Reinigen oder Warten des Rasenmähers;
Nach dem Kontakt mit einem fremden Objekt, oder wenn abnormale Vibrationen auftreten. Untersuchen Sie den Rasenmäher auf Schäden und führen die notwendigen Reparaturen durch, bevor Sie ihn erneut starten und in Betrieb nehmen.
Reduzieren Sie vor dem Abstellen des Motors die Einstellung der Gasbedienung, und drehen Sie nach dem Abschluss der Mäharbeiten den Kraftstofffluss ab, wenn der Motor mit einem Kraftstoffhahn ausgestattet ist.
Berühren Sie die Schneideinheiten nicht mit den Händen und Füßen.
Schauen Sie hinter sich und nach unten, um vor dem Rückwärtsfahren sicherzustellen, dass der Weg frei ist.
Fahren Sie beim Wenden und beim Überqueren von Straßen und Gehsteigen vorsichtig und langsam. Stellen Sie die Zylinder bzw. Spindeln ab, wenn Sie nicht mähen.
Setzen Sie den Rasenmäher nie unter Alkohol- oder Drogeneinfluss ein.
Blitzschlag kann zu schweren oder tödlichen Verletzungen führen. Setzen Sie die Maschine nicht ein, wenn Sie Blitze sehen oder Donner hören, und gehen Sie an eine geschützte Stelle.
Gehen Sie beim Laden und Abladen der Maschine auf einen/von einem Anhänger oder Pritschenwagen vorsichtig vor.
Seien Sie vorsichtig, wenn Sie sich nicht gut einsehbaren Biegungen, Sträuchern, Bäumen und anderen Objekten nähern, die Ihre Sicht behindern können.
Halten Sie alle Muttern und Schrauben fest angezogen, damit das Gerät in einem sicheren Betriebszustand bleibt.
Bewahren Sie das Gerät innerhalb eines Gebäudes nie mit Kraftstoff im Tank auf, wenn dort Dämpfe eine offene Flamme oder Funken erreichen könnten.
Lassen Sie den Motor abkühlen, bevor Sie die Maschine in einem geschlossenen Raum abstellen.
Halten Sie, um das Brandrisiko zu verringern, den Motor, Schalldämpfer, das Batteriefach und den Kraftstofftankbereich von Gras, Laub und überflüssigem Fett frei.
Alle Teile müssen sich in gutem Zustand befinden, und alle Hardware und Hydraulikanschlussstücke müssen festgezogen sein. Ersetzen Sie abgenutzte und beschädigte Teile und Aufkleber.
Wenn Sie den Kraftstoff aus dem Tank ablassen müssen, sollte dies im Freien geschehen.
Passen Sie beim Einstellen der Maschine besonders auf, um ein Einklemmen der Finger zwischen den beweglichen Schnittmessern und permanenten Teilen der Maschine zu vermeiden.
Achten Sie bei Maschinen mit mehreren Zylindern bzw. mehreren Spindeln darauf, dass ein sich drehender Zylinder bzw. eine sich drehende Spindel eine Drehung anderer Zylinder bzw. Spindeln auslösen kann.
Kuppeln Sie die Antriebe aus, senken Sie die Schneideinheiten ab, aktivieren Sie die Feststellbremse, stellen Sie den Motor ab und ziehen Sie den Schlüssel ab. Lassen Sie vor dem Einstellen, Reinigen oder Reparieren alle beweglichen Teile zum Stillstand kommen.
Entfernen Sie Gras und Schmutz von den Schneideinheiten, Antrieben, Schalldämpfern bzw. Auspuff und dem Motor, um einem Brand vorzubeugen. Wischen Sie Öl- und Kraftstoffverschüttungen auf.
Stützen Sie die Maschine bei Bedarf auf Achsständern ab.
Lassen Sie den Druck aus Maschinenteilen mit gespeicherter Energie vorsichtig ab.
Klemmen Sie vor dem Durchführen irgendwelcher Reparaturen die Batterie ab. Klemmen Sie immer zuerst den Minuspol und dann den Pluspol ab. Schließen Sie immer zuerst die Plusklemme und dann die Minusklemme wieder an.
Prüfen Sie die Zylinder/Spindel vorsichtig. Lassen Sie bei der Wartung dieser Teile große Vorsicht walten, und tragen Sie Handschuhe.
Berühren Sie bewegliche Teile nicht mit den Händen oder Füßen. Bei laufendem Motor sollten keine Einstellungsarbeiten vorgenommen werden.
Laden Sie Batterien an einem freien, gut belüfteten Ort, abseits von Funken und offenem Feuer. Ziehen Sie vor dem An- oder Abklemmen der Batterie den Netzstecker des Ladegeräts ab. Tragen Sie Schutzkleidung und verwenden Sie isoliertes Werkzeug.
Gehen Sie beim Laden und Abladen der Maschine auf einen/von einem Anhänger oder Pritschenwagen vorsichtig vor.
Laden Sie Maschinen mit Rampen, die über die ganze Breite gehen, auf einen Anhänger oder Pritschenwagen.
Vergurten Sie die Maschine sicher mit Riemen, Ketten, Kabeln oder Seilen. Die vorderen und hinteren Gurte sollten nach unten und außerhalb der Maschine verlaufen
Die folgende Liste enthält spezielle Sicherheitsinformationen für Toro Produkte sowie andere wichtige Sicherheitsinformationen, mit denen Sie vertraut sein müssen und die nicht in den CEN-, ISO- oder ANSI-Normen enthalten sind.
Dieses Produkt kann Hände und Füße amputieren und Gegenstände aufschleudern. Befolgen Sie zum Vermeiden von schweren oder tödlichen Verletzungen immer alle Sicherheitshinweise.
Der zweckentfremdende Einsatz dieser Maschine kann für den Benutzer und Unbeteiligte gefährlich sein.
Auspuffgase enthalten Kohlenmonoxid, ein geruchloses tödliches Giftgas.
Lassen Sie den Motor nie in geschlossenen Räumen laufen.
Sie müssen wissen, wie Sie den Motor schnell stoppen können.
Bedienen Sie die Maschine nie, wenn Sie Tennis- oder Laufschuhe tragen.
Es sollten Sicherheitsschuhe und lange Hosen getragen werden, wie es auch in bestimmten örtlich geltenden Bestimmungen und Versicherungsvorschriften vorgeschrieben ist.
Passen Sie beim Umgang mit Kraftstoff auf. Wischen Sie verschütteten Kraftstoff auf.
Prüfen Sie die Sicherheitsschalter jeden Tag auf eine einwandfreie Funktion. Tauschen Sie alle defekten Schalter vor Inbetriebnahme der Maschine aus.
Setzen Sie sich auf den Sitz, bevor Sie den Motor starten.
Der Einsatz der Maschine erfordert Ihre ganze Aufmerksamkeit. So verlieren Sie nicht die Kontrolle über die Maschine:
Sollten Sie mit der Maschine nicht in der Nähe von Sandgruben, Gräben, Wasserläufen, Böschungen oder anderen Gefahrenbereichen arbeiten.
Fahren Sie beim engen Wenden langsam. Vermeiden Sie es, unvermittelt abzubremsen oder loszufahren.
Räumen Sie in der Nähe von oder beim Überqueren von Straßen immer das Vorfahrtsrecht ein.
Treten Sie auf die Betriebsbremse, wenn Sie bergab fahren, um die Vorwärtsgeschwindigkeit niedrig zu halten und die Kontrolle über die Maschine zu behalten.
Legen Sie beim Einsatz der Maschine mit einem Überrollschutz immer den Sitzgurt an und nehmen Sie nie den Überrollschutz ab.
Heben Sie beim Fahren von einem Einsatzort zum nächsten die Schneideinheiten an.
Berühren Sie weder den Motor, die Schalldämpfer oder das Auspuffrohr, während der Motor läuft bzw. kurz nachdem er abgestellt wurde, da diese Bereiche so heiß sind, dass dies zu Verbrennungen führen würde.
Bei jedem Hang besteht die Gefahr des Umkippens oder Überschlagens. Das Risiko wird jedoch mit zunehmenden Gefälle höher. Sie sollten steile Hänge vermeiden.
Senken Sie zum Verbessern der Kontrolle über die Lenkung die Schneideinheiten ab, wenn Sie hangabwärts fahren.
Kuppeln Sie den Fahrantrieb langsam ein. Lassen Sie den Fuß immer auf dem Fahrpedal, besonders wenn Sie abwärts fahren.
Verwenden Sie den Rückwärtsgang am Fahrpedal zum Bremsen.
Wenn die Maschine beim Hangaufwärtsfahren abstellt, drehen Sie die Maschine nicht herum. Fahren Sie in einem solchen Fall den Hang langsam und gerade rückwärts wieder hinunter.
Stellen Sie das Mähen sofort ein, wenn ein Mensch oder ein Haustier plötzlich in oder in der Nähe des Arbeitsbereichs erscheint. Ein fahrlässiger Betrieb kann in Verbindung mit dem Neigungsgrad des Geländes, Abprallungen und falsch montierten Schutzvorrichtungen durch das Herausschleudern von Gegenständen Verletzungen verursachen. Beginnen Sie das Mähen erst wieder, wenn der Arbeitsbereich frei ist.
Stellen Sie sicher, dass alle hydraulischen Anschlüsse fest angezogen sind und dass sich alle hydraulischen Schläuche und Leitungen in einwandfreiem Zustand befinden, bevor Sie die Anlage unter Druck stellen.
Halten Sie Ihren Körper und Ihre Hände von Nadellöchern und Düsen fern, aus denen Hydrauliköl unter hohem Druck ausgestoßen wird. Verwenden Sie zum Ausfindigmachen von undichten Stellen Pappe oder Papier und niemals Ihre Hände. Unter Druck austretendes Hydrauliköl kann unter die Haut dringen und schwere Verletzungen verursachen. Konsultieren Sie beim Einspritzen unter die Haut sofort einen Arzt.
Entspannen Sie vor dem Abtrennen hydraulischer Anschlüsse oder dem Durchführen von Arbeiten an der Hydraulikanlage immer das System, indem Sie den Motor abstellen und die Schneideinheiten und Anbaugeräte auf den Boden absenken.
Prüfen Sie regelmäßig die Festigkeit und Abnutzung aller Kraftstoffleitungen. Ziehen Sie die Leitungen an oder reparieren Sie sie ggf.
Berühren Sie die Schneideinheiten, Anbaugeräte und andere beweglichen Teile nicht mit den Händen, Füßen, Kleidungsstücken oder anderen Körperteilen, wenn der Motor zum Durchführen von Wartungseinstellungen laufen muss.
Lassen Sie, um die Sicherheit und Genauigkeit zu gewährleisten, die maximale Motordrehzahl mit einem Drehzahlmesser von Ihrem Toro Vertragshändler prüfen.
Wenden Sie sich bitte an Ihren Toro Vertragshändler, falls größere Reparaturen erforderlich werden sollten oder Sie praktische Unterstützung benötigen.
Verwenden Sie nur Toro Originalanbaugeräte und -ersatzteile. Die Verwendung von nicht zugelassenen Anbaugeräten kann zum Verlust Ihrer Garantieansprüche führen.
Dieses Gerät erzeugt einen Schalldruckpegel von 101 dBA (inkl. eines Unsicherheitswerts (K) von 1 dBA).
Der Schallleistungspegel wurde gemäß den Vorgaben in ISO 11094 gemessen.
Dieses Gerät erzeugt einen Schalldruckpegel, der am Ohr des Benutzers 83 dBA beträgt (inkl. eines Unsicherheitswerts (K) von 1 dBA.
Der Schalldruckpegel wurde gemäß den Vorgaben in EN ISO 5395:2013 gemessen.
Hand/Arm
Das gemessene Vibrationsniveau für rechts = 0,3 m/s2
Das gemessene Vibrationsniveau für die linke Hand beträgt 0,3 m/s2
Der Unsicherheitswert (K) beträgt 0,16 m/s2
Die Werte wurden nach den Vorgaben von EN ISO 5395:2013 gemessen.
Gesamtkörper
Gemessenes Vibrationsniveau = 0,2 m/s2
Der Unsicherheitswert (K) = 0,1 m/s2
Die Werte wurden nach den Vorgaben von EN ISO 5395:2013 gemessen.
![]() |
Die Sicherheits- und Bedienungsaufkleber sind gut sichtbar; sie befinden sich in der Nähe der möglichen Gefahrenbereiche. Tauschen Sie beschädigte oder verloren gegangene Aufkleber aus oder ersetzen sie. |























Note: Bestimmen Sie die linke und rechte Seite der Maschine anhand der üblichen Einsatzposition.
Stellen Sie abhängig von der Breite der am Antrieb montierten Schneideinheiten die Stützrollen wie folgt ein:
Für diesen Arbeitsschritt erforderliche Teile:
| Warnaufkleber | 1 |
Wechseln Sie an CE-konformen Maschinen das Warnschild, Bestellnummer 120–1683, gegen das Warnschild, Bestellnummer 120–1686, aus.
Für diesen Arbeitsschritt erforderliche Teile:
| Halterung für die Motorhaubenbefestigung | 1 |
| Niete | 2 |
| Schraube 1/4 x 2 Zoll | 1 |
| Flache Scheibe, 1/4 Zoll | 2 |
| Sicherungsmutter, ¼" | 1 |
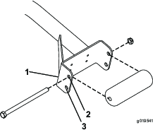
Haken Sie den Motorhaubenriegel aus der Motorhaubenriegelhalterung aus (Bild 4).

Entfernen Sie die zwei (2) Nieten, mit denen die Halterung des Motorhaubenriegels an der Motorhaube befestigt ist (Bild 5). Nehmen Sie die Halterung des Motorhaubenriegels von der Motorhaube ab.

Fluchten Sie die Befestigungslöcher aus und positionieren Sie gleichzeitig die Halterung des CE-Riegels und des Motorhaubenriegels auf der Motorhaube. Die Riegelhalterung muss an der Haube anliegen (Bild 5). Nehmen Sie die Schraube und Mutter nicht vom Halterungsarm für den Riegel ab.

Fluchten Sie die Scheiben mit den Löchern an der Innenseite der Motorhaube aus.
Nieten Sie die Halterungen und Scheiben an die Haube (Bild 6).
Haken Sie den Riegel in die Halterung des Motorhaubenriegels (Bild 7).

Schrauben Sie die Schraube in den anderen Arm der Motorhaubenhalterung, um den Riegel zu arretieren (Bild 8). Ziehen Sie die Schraube (nicht die Mutter) an.

Für diesen Arbeitsschritt erforderliche Teile:
| Vordere Schlauchführung, rechte Seite | 1 |
| Vordere Schlauchführung, linke Seite | 1 |
Nehmen Sie die Spindelmotoren aus den Versandhalterungen.
Nehmen Sie die Versandhalterungen ab und werfen Sie sie weg.
Nehmen Sie die Schneideinheiten aus den Kartons heraus. Lesen Sie in der Bedienungsanleitung der Schneideinheit nach, wie Sie sie zusammenbauen und einstellen.
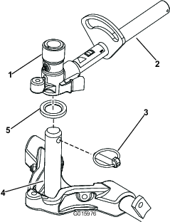
Stellen Sie sicher, dass der Gegenballast (Bild 9) am richtigen Ende der Schneideinheit montiert ist, siehe die Bedienungsanleitung der Schneideinheit.

Bei allen versandten Schneideinheiten ist die Rasenkompensierungsfeder rechts an der Schneideinheit montiert. Die Rasenkompensierungsfeder muss an derselben Seite des Mähwerks wie der Spindelantriebsmotor montiert werden. So ändern Sie die Stellung der Rasenkompensierungsfeder:
Nehmen Sie die zwei Schlossschrauben und Muttern ab, mit denen die Stangenhalterung an den Nasen des Mähwerks befestigt ist (Bild 10).

Nehmen Sie die Bundmutter ab, mit denen die Schraube des Federrohrs an der Trägerrahmenlasche befestigt ist (Bild 10). Nehmen Sie das Bauteil ab.
Montieren Sie die Schraube des Federrohrs an der anderen Lasche am Trägerrahmen und befestigen Sie sie mit der Bundmutter. Der Schraubenkopf zeigt zur Außenseite der Lasche, siehe Bild 11.

Montieren Sie die Stangenhalterung mit den Schlossschrauben und Muttern an den Schneideinheitnasen (Bild 11). An der Schneideinheit müssen Sie auch die linke Schlauchführung vorne an den Schneideinheitnasen befestigen, wenn Sie die Stangenhalterung wieder einbauen (Bild 13).
Important: Montieren Sie an den Schneideinheiten Nr. 4 (vorne links) und Nr. 5 (vorne rechts) die Schlauchführungen mit den Befestigungsmuttern der Stangenhalterung vorne an den Schneideinheitnasen. Die Schlauchführungen sollten sich zur mittleren Schneideinheit neigen (Bild 12 bis Bild 14).



Note: Achten Sie beim Ein- oder Ausbau der Schneideinheiten darauf, dass der Splint in das Federrohrloch neben der Stangenhalterung eingesetzt ist. Sonst muss der Splint in das Loch am Ende der Stange eingesetzt werden.
Verbessern Sie die Lenkung an den hinteren Schneideinheiten, indem Sie die zwei Gelenkdistanzstücke, Sechskantschrauben und Bundmuttern (Bild 15) von den Trägerrahmen der hinteren Schneideinheiten (Nr. 2 und Nr. 3) entfernen (Bild 12).

Senken Sie alle Hubarme komplett ab.
Schmieren Sie den Trägerrahmen mit sauberem Schmiermittel ein (Bild 16).

Vordere Schneideinheiten: Schieben Sie eine Schneideinheit unter den Hubarm und schieben Sie gleichzeitig den Trägerrahmenschaft in das Gelenkjoch des Hubarms (Bild 16). Stellen Sie sicher, dass die Druckscheibe auf der Trägerrahmenwelle ist.
Befestigen Sie die Trägerrahmenwelle mit dem Einraststift am Hubarmjoch (Bild 16).
Befestigen Sie das Gelenkjoch mit dem Einraststift am Trägerrahmen, um die Lenkung an den Schneideinheiten zu arretieren (Bild 17).

Note: Die Lenkung sollte arretiert sein, wenn Sie Seitenhänge mähen.
Verwenden Sie die folgenden Schritte an den hinteren Schneideinheiten, wenn die Schnitthöhe über 19 mm liegt.
Nehmen Sie den Klappstecker und die Scheibe ab, mit denen der Gelenkschaft des Hubarms am Hubarm befestigt ist. Schieben Sie die Gelenkwelle des Hubarms aus dem Hubarm (Bild 18).

Setzen Sie das Hubarmjoch in den Trägerrahmenschaft ein (Bild 16).
Setzen Sie den Hubarmschaft in den Hubarm ein und befestigen Sie ihn mit der Scheibe und dem Klappstecker (Bild 18).
Befestigen Sie die Hubarmkette mit dem Einraststift an der Kettenhalterung (Bild 19). Verwenden Sie die Anzahl der Kettenglieder, die in der Bedienungsanleitung der Schneideinheit beschrieben ist.

Fetten Sie die Keilwelle des Spindelmotors mit sauberem Fett ein.
Ölen Sie den O-Ring des Spindelmotors und setzen Sie ihn in den Motorflansch ein.
Montieren Sie den Motor; drehen Sie ihn nach rechts, damit die Motorflansche nicht die Schrauben berühren (Bild 20). Drehen Sie den Motor nach links, bis die Flansche die Schrauben umgeben. Ziehen Sie die Schrauben dann an.
Important: Stellen Sie sicher, dass die Schläuche des Spindelmotors nicht verdreht oder abgeknickt sind oder eingeklemmt werden können.

Die Rasenkompensierungsfeder (Bild 21) verlagert das Gewicht von der Front- zur Heckrolle. (Dies reduziert ein Bobbing genanntes Wellenmuster auf der Rasenfläche.)
Important: Stellen Sie die Feder ein, wenn die Schneideinheit an der Zugmaschine montiert und auf den Boden der Werkstatt abgesenkt ist.
Stellen Sie sicher, dass der Lastösenbolzen in das hintere Loch in der Federstange eingesetzt ist (Bild 21).
Note: Schieben Sie den Splint zum Federstangenloch neben der Rasenausgleichsfeder, wenn Sie die Schneideinheit warten.

Ziehen Sie die Sechskantmuttern vorne an der Federstange an, bis die komprimierte Länge der Feder 15,9 cm beträgt (Bild 21).
Note: Verkürzen Sie die Federlänge um 13 mm, wenn Sie in unebenem Terrain arbeiten. Der Bodenkontur wird nicht so genau gefolgt.
Note: Die Rasenkompensierungseinstellung muss zurückgesetzt werden, wenn die Schnitthöheneinstellung oder die Schnittschärfe geändert wird.
Für diesen Arbeitsschritt erforderliche Teile:
| Schneideinheitständer | 1 |
Wenn Sie die Schneideinheit kippen müssen, um das Untermesser bzw. die Spindel zugänglich zu machen, stützen Sie das Heck der Schneideinheit mit dem Ständer ab, um sicherzustellen, dass die Muttern hinten an den Einstellschrauben des Untermesserträgers nicht auf der Arbeitsfläche aufliegen (Bild 22).

Befestigen Sie den Ständer mit dem Einraststift an der Kettenhalterung (Bild 23).

Vor dem Betrieb der Maschine muss sie eingeschmiert werden, um einen ordnungsgemäßen Betrieb zu gewährleisten. Siehe Schmierung. Wenn Sie die Maschine nicht einwandfrei einfetten, kommt es zum frühzeitigen Ausfall kritischer Bauteile.
Prüfen Sie den Schmiermittelstand der Hinterachse, bevor Sie den Motor zum ersten Mal anlassen, siehe Prüfen des Schmiermittels der Hinterachse“ unter Warten der Antriebsanlage“.
Prüfen Sie den Stand der Hydraulikflüssigkeit vor dem ersten Anlassen des Motors; siehe Prüfen des Hydraulikflüssigkeitsstands“ im Einsatzabschnitt.
Prüfen Sie den Stand des Motoröls vor und nach dem ersten Anlassen des Motors, siehe Prüfen des Motoröls“ im Einsatzabschnitt.
Für diesen Arbeitsschritt erforderliche Teile:
| Messlehre | 1 |
Stellen Sie die Schneideinheit mit der Messlehre ein. Weitere Informationen zum Einstellen finden Sie in der Bedienungsanleitung der Schneideinheit (Bild 24).

Zwei Fußpedale (Bild 25) regeln unabhängige Radbremsen zum Unterstützen des Wendens oder zum Beibehalten der Bodenhaftung beim seitlichen Überfahren von Hängen.
Der Pedalsperrriegel (Bild 25) verbindet beide Pedale zum Aktivieren der Feststellbremse.
Verbinden Sie die Pedale mit dem Pedalsperrriegel, (Bild 25) treten auf das rechte Bremspedal und aktivieren das Pedal mit den Zehen, um die Feststellbremse zu aktivieren. Treten Sie eines der Bremspedale durch, bis der Riegel der Feststellbremse wieder zurückgeht, um die Feststellbremse zu lösen.

Das Fahrpedal (Bild 25) regelt die Vorwärts- und Rückwärtsfahrt. Drücken Sie die Oberseite des Pedals, um vorwärts zu fahren und die Unterseite, um rückwärts zu fahren. Die Fahrgeschwindigkeit richtet sich danach, wie stark das Pedal durchgedrückt wird. Drücken Sie für die Höchstgeschwindigkeit der Maschine ohne Belastung das Pedal ganz durch, während der Gasbedienungshebel auf Schnell steht.
Reduzieren Sie zum Stoppen den Druck auf das Fahrpedal und lassen es in die Neutralstellung zurückgehen.
Wenn Sie das Lenkrad zu Ihnen kippen möchten, treten Sie das Pedal (Bild 25) durch und ziehen Sie die Lenksäule zu sich, bis Sie die bequemste Stellung erreicht haben. Nehmen Sie dann den Fuß vom Pedal.
Wenn Sie den Mähgeschwindigkeitsbegrenzer (Bild 26) nach oben kippen, steuert er die Mähgeschwindigkeit und ermöglicht das Einkuppeln der Schneideinheiten. Jedes Distanzstück stellt die Mähgeschwindigkeit um 0,8 km pro Stunde ein. Je mehr Distanzstücke auf der Schraube liegen, desto langsamer fahren Sie. Kippen Sie für den Transport den Mähgeschwindigkeitsbegrenzer zurück und Sie haben die maximale Transportgeschwindigkeit.
Stellen Sie die Schrauben (Bild 26) so ein, dass sich das Fahrpedal zum Einschränken der Bewegung nur entsprechend Ihrer Einstellung in die Vorwärts- oder Rückwärtsrichtung drücken lässt.
Important: Die Schraube des Geschwindigkeitsbegrenzers muss das Fahrpedal stoppen, bevor die Pumpe den vollen Hub erreicht, sonst kann diese beschädigt werden.

Mit diesem Hebel (Bild 27) werden die Schneideinheiten angehoben und abgesenkt. Außerdem werden die Schneidköpfe (bei eingekuppelten Schneidköpfen im Mähmodus) ein- und ausgeschaltet. Die Schneidköpfe können nicht abgesenkt werden, wenn der Mäh-/Transporthebel in der Transport-Stellung ist.
Das Zündschloss (Bild 27) hat drei Stellungen: Aus, Ein/Glühkerzen und Start.
Auf dem InfoCenter-LCD-Display werden Informationen zur Maschine angezeigt, u. a. Betriebszustand, verschiedene Diagnostikwerte und andere Informationen zur Maschine (Bild 27).
Der ZWA-Schalter (Bild 27) hat zwei Stellungen: Herausgezogen (Start) und nicht herausgezogen (Stopp). Ziehen Sie den Zapfwellenschalter heraus, um die Messer der Schneideinheit einzukuppeln. Drücken Sie den Schalter hinein, um die Messer der Schneideinheit auszukuppeln.

Bewegen Sie den Gasbedienungshebel (Bild 27) nach vorne, um die Motordrehzahl zu erhöhen und nach hinten, um die Drehzahl zu reduzieren.
Drehen Sie den Schalter nach unten, um die Scheinwerfer einzuschalten (Bild 27).
Diese Steckdose (Bild 28) wird für elektrisches Zubehör mit 12 Volt verwendet.

Der Taschenhalter (Bild 28) dient Aufbewahrungszwecken.
Mit den Läppenhebeln läppen Sie die Spindeln (Bild 29).

Ziehen Sie am Hebel, um den Sitz nach vorne oder hinten zu verstellen (Bild 30).
Drehen Sie das Handrad, um den Winkel der Sitzarmlehne einzustellen (Bild 30).
Stellen Sie die Neigung der Rückenlehne mit dem Hebel ein (Bild 30).
Die Gewichtsanzeige gibt an, wenn der Sitz auf das Gewicht des Bedieners eingestellt ist (Bild 30). Für die Höheneinstellung stellen Sie die Federung in den grünen Bereich.

Passen Sie die Einstellung auf das Bedienergewicht an (Bild 30). Ziehen Sie am Hebel, um den Luftdruck zu erhöhen und drücken Sie ihn runter, um den Luftdruck zu verringern. Die Einstellung ist richtig, wenn die Gewichtsanzeige im grünen Bereich ist.
Auf dem LCD-Display im InfoCenter werden Maschinenangaben angezeigt, u. a. Betriebszustand, verschiedene Diagnostik und andere Informationen zur Maschine (Bild 31). Das InfoCenter hat einen Willkommenbildschirm und einen Bildschirm mit den Hauptinformationen. Sie können jederzeit zwischen dem Willkommenbildschirm und dem Hauptinformationsbildschirm wechseln, wenn Sie eine InfoCenter-Taste drücken und den entsprechenden Richtungspfeil auswählen.

Linke Taste, Menüzugriff, Zurück-Taste: Drücken Sie diese Taste, um auf die InfoCenter-Menüs zuzugreifen. Mit dieser Taste verlassen Sie auch das aktuell verwendete Menü.
Mittlere Taste: Mit dieser Taste durchlaufen Sie die Menüs.
Rechte Taste: Mit dieser Taste öffnen Sie ein Menü, wenn ein Pfeil nach rechts weitere Inhalte angibt.
Manuelle Lüfterumkehrung: Wird durch gleichzeitiges Drücken der linken und rechten Taste aktiviert.
Pieper: Wird beim Absenken der Mähwerke oder bei Hinweisen und Fehlern aktiviert.
Note: Der Zweck jeder Taste kann sich ändern, abhängig von der erforderlichen Aktion. Jede Taste ist mit einem Symbol beschriftet, das die aktuelle Funktion anzeigt.
| SERVICE DUE | Gibt an, dass geplante Wartungsarbeiten fällig sind. |
![]() | Info-Symbol |
![]() | Betriebsstundenzähler |
![]() | Schnell |
![]() | Langsam |
![]() | Umkehren des Ventilators: Gibt an, dass die Ventilatorrichtung umgekehrt ist |
![]() | Lufteinlassheizung ist aktiviert |
![]() | Mähwerke anheben |
![]() | Mähwerke absenken |
![]() | Bediener muss auf dem Sitz sitzen |
![]() | Anzeige für Feststellbremse: Leuchtet auf, wenn die Feststellbremse aktiviert ist |
![]() | Gibt den Bereich als Hoch“ an |
![]() | Leerlauf |
![]() | Gibt den Bereich als Niedrig“ an |
![]() | Kühlmitteltemperatur: Gibt die Temperatur des Motorkühlmittels in °C oder °F an |
![]() | Temperatur (heiß) |
![]() | Verweigert oder nicht zugelassen |
![]() | Zapfwelle ist eingekuppelt |
![]() | Motorstart |
![]() | Stopp oder Abstellen |
![]() | Motor |
![]() | Zündschloss |
![]() | Leuchtet auf, wenn die Mähwerke abgesenkt werden |
![]() | Leuchtet auf, wenn die Mähwerke angehoben werden |
![]() | PIN-Passcode |
![]() | Hydrauliköltemperatur: Gibt die Temperatur des Hydrauliköls an |
![]() | CAN-Bus |
![]() | InfoCenter |
![]() | Defekt oder fehlgeschlagen |
![]() | Birne |
![]() | Ausgabe von TEC-Steuergerät oder Steuerkabel in Kabelbaum |
![]() | Hoch: Über zulässigem Bereich |
![]() | Niedrig: Unter zulässigem Bereich |
/![]() | Nicht im Bereich |
![]() | Schalter |
![]() | Bediener muss Schalter lösen |
![]() | Bediener sollte ändern, um Zustand anzugeben |
| Symbole werden oft für das Zusammenstellen von Sätzen kombiniert. Sie finden einige Beispiele unten | |
![]() | Bediener sollte Leerlauf einlegen |
![]() | Motorstart verweigert |
![]() | Motor wird abgestellt |
![]() | Motorkühlmittel ist zu heiß |
![]() | Hydrauliköl ist zu heiß |
![]() | Hinsetzen oder Feststellbremse aktivieren |
Drücken Sie auf dem Hauptbildschirm die Taste für den Menüzugriff, um das InfoCenter-Menüsystem zu öffnen. Das Hauptmenü wird angezeigt. In den folgenden Tabellen finden Sie eine Zusammenfassung der Optionen, die in den Menüs verfügbar sind:
| Hauptmenü | |
| Menüelement | Beschreibung |
| Fehler | Das Fehler-Menü enthält eine Liste der letzten Maschinendefekte. Weitere Informationen zum Fehler-Menü und den im Menü enthaltenen Angaben finden Sie in der Wartungsbedienungsanleitung des offiziellen Toro-Vertragshändlers. |
| Wartung | Das Wartung-Menü enthält Informationen zur Maschine, u. a. Betriebsstundenzähler und ähnliche Angaben. |
| Diagnostik | Im Diagnostik-Menü wird der Zustand der Maschinenschalter, Sensoren sowie der Steuerausgabe angezeigt. Diese Angaben sind bei der Problembehebung nützlich, da Sie sofort sehen, welche Bedienelemente der Maschine ein- oder ausgeschaltet sind. |
| Einstellungen | Im Einstellungen-Menü können Sie Konfigurationsvariablen auf dem InfoCenter-Display anpassen und ändern. |
| Info | Im Info-Menü wird die Modellnummer, Seriennummer und Softwareversion der Maschine aufgelistet. |
| Wartung | |
| Menüelement | Beschreibung |
| Hours | Listet die Gesamtbetriebsstunden der Maschine, des Motors und der Zapfwelle auf, sowie die Transportstunden der Maschine und fälligen Kundendienst. |
| Counts | Listet zahlreiche Ereignisse für die Maschine auf. |
| Diagnostik | |
| Menüelement | Beschreibung |
| Cutting Units | Gibt die Eingaben, Qualifizierer und Ausgaben für das Anheben und Absenken der Mähwerke an. |
| Hi/Low Range | Gibt die Eingaben, Qualifizierer und Ausgaben für das Fahren im Transportmodus an. |
| PTO | Gibt die Eingaben, Qualifizierer und Ausgaben für das Aktivieren der Zapfwelle an. |
| Engine Run | Gibt die Eingaben, Qualifizierer und Ausgaben für das Anlassen des Motors an. |
| Backlap | Gibt die Eingaben, Qualifizierer und Ausgaben für das Läppen an. |
| Einstellungen | |
| Menüelement | Beschreibung |
| Maßeinheiten | Steuert die auf dem InfoCenter verwendeten Maßeinheiten. Die Menüauswahlen sind englische Maße oder metrisch |
| Sprache | Steuert die für das InfoCenter verwendete Sprache*. |
| LCD-Beleuchtung | Steuert die Helligkeit des LCD-Displays. |
| LCD-Kontrast | Steuert den Kontrast des LCD-Displays. |
| Vordere Spindelgeschwindigkeit (Läppen) | Steuert die Geschwindigkeit der vorderen Spindeln im Läppen-Modus. |
| Hintere Spindelgeschwindigkeit (Läppen) | Steuert die Geschwindigkeit der hinteren Spindeln im Läppen-Modus. |
| Geschützte Menüs | Der Vorarbeiter bzw. Mechaniker kann einen Passcode eingeben und erhält Zugriff auf geschützte Menüs. |
| Autom. Leerlauf | Steuert die zulässige Dauer, bevor der Motor bei stationärer Maschine in den niedrigen Leerlauf wechselt. |
| Messeranzahl | Steuert die Anzahl der Messer an der Spindel für die Spindeldrehzahl. |
| Mähgeschwindigkeit | Steuert die Fahrgeschwindigkeit zum Ermitteln der Spindeldrehzahl. |
| Schnitthöhe | Steuert die Schnitthöhe zum Ermitteln der Spindeldrehzahl. |
| U/min vordere Spindel | Zeigt die berechnete Spindeldrehzahl für die vorderen Spindeln an. Die Spindeln können auch manuell eingestellt werden. |
| U/min hintere Spindel | Zeigt die berechnete Spindeldrehzahl für die hinteren Spindeln an. Die Spindeln können auch manuell eingestellt werden. |
* Nur Text, den der Bediener sieht, ist übersetzt. Bildschirme für Fehler, Wartung und Diagnostics gehören nicht dazu. Die Titel werden in der ausgewählten Sprache angezeigt; Menüelemente sind jedoch in Englisch.
| Info | |
| Menüelement | Beschreibung |
| Modell | Listet die Modellnummer der Maschine auf. |
| Seriennummer | Listet die Seriennummer der Maschine auf. |
| Machinensteuergerät Revision | Listet die Softwarerevision des Hauptsteuergeräts auf. |
| InfoCenter Revision | Listet die Softwarerevision des InfoCenter auf. |
| CAN-Bus | Listet den Status des Maschinenkommunikationsbusses auf. |
Das Menü Einstellungen“ im InfoCenter hat sieben anpassbare Einstellungen für die Betriebskonfiguration: Messeranzahl, Mähgeschwindigkeit, Schnitthöhe, U/Min vordere Spindel und U/Min hintere Spindel. Diese Einstellungen können mit dem Geschützten Menü gesperrt werden.
Note: Bei der Auslieferung programmiert der Händler den anfänglichen Passcode.
Zugreifen auf die Einstellungen im geschützten Menü
Gehen Sie vom Hauptmenü auf das Menü Einstellungen“ und drücken Sie die rechte Taste.
Gehen Sie im Menü Einstellungen“ auf Geschütztes Menü“ und drücken Sie die rechte Taste.
Geben Sie mit der mittleren Taste die erste Ziffer des Passcodes ein; drücken Sie dann die rechte Taste, um auf die nächste Ziffer zu gehen.
Stellen Sie die zweite Ziffer mit der mittleren Taste ein; drücken Sie dann die rechte Taste, um auf die nächste Ziffer zu gehen.
Stellen Sie die dritte Ziffer mit der mittleren Taste ein; drücken Sie dann die rechte Taste, um auf die nächste Ziffer zu gehen.
Stellen Sie die vierte Ziffer mit der mittleren Taste ein; drücken Sie dann die rechte Taste.
Drücken Sie die mittlere Taste, um den Code einzugeben.
Wenn der Code akzeptiert wird und das Geschützte Menü entsperrt ist, wird oben rechts auf dem Anzeigebildschirm PIN“ angezeigt.
Das mögliche Anzeigen und Ändern der Einstellungen im Geschützten Menü“ kann geändert werden. Öffnen Sie das Geschützte Menü“ und gehen Sie auf Einstellungen schützen“. Wenn Sie die Einstellung Einstellungen schützen“ mit der rechten Taste zu AUS ändern, können Sie die Einstellungen im Geschützten Menü“ ohne Eingabe des Passcodes anzeigen und ändern. Wenn Sie die Einstellung Einstellungen schützen“ zu EIN ändern, werden die geschützten Optionen ausgeblendet und Sie müssen zum Ändern der Einstellungen im Geschützten Menü“ einen Passcode eingeben. Nach dem Einstellen des Passcodes muss die Zündung aus- und erneut eingeschaltet werden, um diese Funktion zu aktivieren und zu speichern.
Note: Wenden Sie sich an den Vertragshändler, wenn Sie den Passcode vergessen haben.
Gehen Sie im Menü Einstellungen“ auf Messeranzahl“.
Drücken Sie die rechte Taste, um die Messeranzahl auf 5, 8 oder 11 Messerspindeln einzustellen.
Gehen Sie im Menü Einstellungen“ auf Mähgeschwindigkeit“.
Drücken Sie die rechte Taste, um die Mähgeschwindigkeit auszuwählen.
Wählen Sie mit der mittleren und rechten Taste die entsprechende Mähgeschwindigkeit aus, die am mechanischen Mähgeschwindigkeitsbegrenzer am Fahrpedal eingestellt ist.
Drücken Sie die linke Taste, um die Mähgeschwindigkeit zu verlassen und die Einstellung zu speichern.
Gehen Sie im Menü Einstellungen“ auf Schnitthöhe“.
Drücken Sie die rechte Taste, um die Schnitthöhe auszuwählen.
Wählen Sie mit der mittleren und rechten Taste die entsprechende Schnitthöheneinstellung aus. (Wenn die genaue Einstellung nicht angezeigt wird, wählen Sie die nächste Schnitthöheneinstellung aus der angezeigten Liste aus.)
Drücken Sie die linke Taste, um die Schnitthöhe zu verlassen und die Einstellung zu speichern.
Obwohl die Drehzahl der vorderen und hinteren Spindeln durch Eingabe der Messeranzahl, Mähgeschwindigkeit und der Schnitthöhe im InfoCenter berechnet wird, können Sie die Einstellung manuell ändern, um sie unterschiedlichen Mähbedingungen anzupassen.
Gehen Sie auf U/min vordere Spindel“, U/min hintere Spindel“ oder beide, um die Einstellungen für die Spindeldrehzahl zu ändern.
Drücken Sie die rechte Taste, um die Spindeldrehzahl zu ändern. Wenn die Geschwindigkeitseinstellung geändert wird, zeigt das Display weiterhin die berechnete Spindeldrehzahl auf der Basis der vorher eingegebenen Messeranzahl, Mähgeschwindigkeit und Schnitthöhe an. Der neue Wert wird auch angezeigt.
Note: Technische und konstruktive Änderungen vorbehalten.
| Schnittbreite, 69-cm-Schneideinheiten | 307 cm |
| Schnittbreite, 81-cm-Schneideinheiten | 320 cm |
| Gesamtbreite, 69-cm-Schneideinheiten, abgesenkt | 345 cm |
| Gesamtbreite, 81-cm-Schneideinheiten, abgesenkt | 358 cm |
| Gesamtbreite, angehobene Mähwerke (Transportstellung) | 239 cm |
| Gesamtlänge | 370 cm |
| Höhe inkl. Überrollschutz | 220 cm |
| Spurbreite vorne | 229 cm |
| Spurbreite hinten | 141 cm |
| Radstand | 171 cm |
| Nettogewicht (ohne Schneideinheiten und ohne Öle) | 1.574 kg |
Ein Sortiment an von Toro zugelassenen Anbaugeräten und Zubehör wird für diese Maschine angeboten, um den Funktionsumfang des Geräts zu erhöhen und zu erweitern. Wenden Sie sich an einen offiziellen Vertragshändler oder navigieren Sie zu www.Toro.com für eine Liste der zugelassenen Anbaugeräte und des Zubehörs.
Note: Bestimmen Sie die linke und rechte Seite der Maschine anhand der üblichen Einsatzposition.
Diese Maschine entwickelt am Ohr des Benutzers mehr als 85 dBA, und dies kann bei einem längeren Einsatz Gehörschäden verursachen.
Tragen Sie während des Arbeitseinsatzes der Maschine einen Gehörschutz.
Wenn Sie den Zündschlüssel im Zündschloss lassen, könnte eine andere Person den Motor versehentlich anlassen und Sie und Unbeteiligte schwer verletzen.
Ziehen Sie vor irgendwelchen Wartungsarbeiten den Zündschlüssel ab.
| Wartungsintervall | Wartungsmaßnahmen |
|---|---|
| Bei jeder Verwendung oder täglich |
|
Der Motor wird vom Werk aus mit Öl befüllt. Prüfen Sie jedoch den Ölstand, bevor und nachdem Sie den Motor das erste Mal verwenden.
Das Kurbelgehäuse fasst ungefähr 9,5 l mit Filter.
Verwenden Sie qualitativ hochwertiges Öl, dass die folgenden Spezifikationen erfüllt:
Erforderliche API-Klassifizierung: CH-4, CI-4 oder höher
Bevorzugte Ölsorte: SAE 15W-40 (über -18 °C)
Ersatzöl: SAE 10W-30 oder 5W-30 (alle Temperaturen)
Note: Toro Premium Motoröl ist vom Vertragshändler mit einer Viskosität von 15W-40 oder 10W-30 erhältlich. Die Bestellnummern finden Sie im Ersatzteilkatalog.
Note: Der Stand des Motoröls sollte am besten bei kaltem Motor vor dem täglichen Anlassen geprüft werden. Wenn der Motor gelaufen ist, lassen Sie das Öl für 10 Minuten in die Wanne zurücklaufen, bevor Sie den Ölstand prüfen. Wenn der Ölstand an oder unter der Nachfüllen-Markierung am Peilstab liegt, gießen Sie Öl nach, bis der Ölstand die VOLL-Markierung erreicht. Füllen Sie nicht zu viel ein. Wenn der Ölstand zwischen der Voll- und der Nachfüll-Markierung liegt, muss kein Öl nachgefüllt werden.
Stellen Sie die Maschine auf eine ebene Fläche.
Lösen Sie die Motorhaubenriegel und öffnen Sie die Motorhaube (Bild 32).

Entfernen Sie den Peilstab, wischen ihn ab und führen ihn wieder in das Rohr ein; ziehen Sie ihn dann wieder heraus.
Der Ölstand sollte im sicheren Bereich liegen (Bild 33).

Wenn der Ölstand unter dem sicheren Bereich liegt, nehmen Sie den Fülldeckel ab (Bild 34) und gießen Sie genug Öl ein, um den Ölstand bis zur VOLL-Markierung anzuheben. Füllen Sie nicht zu viel ein.

Note: Lassen Sie, wenn Sie die Ölsorte wechseln möchten, das Altöl vollständig aus dem Kurbelgehäuse ablaufen, bevor Sie das neue einfüllen.
Führen Sie den Peilstab ein und schrauben den Deckel auf.
Schließen Sie die Motorhaube und befestigen Sie sie mit den Riegeln.
| Wartungsintervall | Wartungsmaßnahmen |
|---|---|
| Bei jeder Verwendung oder täglich |
|
Prüfen Sie den Kühlmittelstand täglich beim Arbeitsbeginn. Die Anlage fasst 12,3Liter.
Nehmen Sie den Kühlerdeckel ab.
Wenn der Motor gelaufen ist, ist das Kühlmittel heiß und steht unter Druck, d. h. es kann ausströmen und Verbrühungen verursachen.
Entfernen Sie niemals den Kühlerdeckel, wenn der Motor noch läuft.
Verwenden Sie beim Öffnen des Kühlerdeckels einen Lappen und öffnen den Kühler langsam, damit Dampf ohne Gefährdung austreten kann.

Prüfen Sie den Kühlmittelstand im Kühler. Der Kühler muss bis zur Oberseite des Einfüllstutzens und das Ausdehnungsgefäß bis zur VOLL-Markierung gefüllt sein (Bild 35).
Füllen Sie bei niedrigem Füllstand eine 50:50-Mischung aus Wasser und permanentem Ethylenglykol-Frostschutzmittel nach. Verwenden Sie niemals reines Wasser oder Kühlmittel auf Alkohol-/Methanolbasis.
Drehen Sie die Deckel wieder auf das Ausdehnungsgefäß und den Kühler auf.
Fassungsvermögen des Kraftstofftanks: 83 Liter.
Verwenden Sie nur sauberen, frischen Dieselkraftstoff oder Biodiesel mit einem extrem niedrigen (<15 ppm) Schwefelgehalt, der ASTM D975 oder EN590 entspricht. Der Cetanwert sollte mindestens 40 sein. Besorgen Sie, um immer frischen Kraftstoff sicherzustellen, nur so viel Kraftstoff, wie sie innerhalb von 180 Tagen verbrauchen können.
Important: Wenn Sie keinen Kraftstoff mit extrem niedrigen Schwefelgehalt verwenden, wird die Abgasanlage des Motors beschädigt.
Verwenden Sie bei Temperaturen über -7 °C Sommerdiesel (Nr. 2-D) und bei niedrigeren Temperaturen Winterdiesel (Nr. 1-D oder Nr. 1-D/2-D-Mischung). Bei Verwendung von Winterdiesel bei niedrigeren Temperaturen besteht ein niedrigerer Flammpunkt und Kaltflussmerkmale, die das Anlassen vereinfachen und ein Verstopfen des Kraftstofffilters vermeiden.
Die Verwendung von Sommerdiesel über -7 °C erhöht die Lebensdauer der Pumpenteile und steigert im Vergleich zum Winterdiesel die Kraft.
Important: Verwenden Sie nie Kerosin oder Benzin anstelle von Dieselkraftstoff. Das Nichtbefolgen dieser Vorschrift führt zu Motorschäden.
Kraftstoff ist bei Einnahme gesundheitsschädlich oder tödlich. Wenn eine Person langfristig Benzindünsten ausgesetzt ist, kann dies zu schweren Verletzungen und Krankheiten führen.
Vermeiden Sie das langfristige Einatmen von Benzindünsten.
Halten Sie Ihr Gesicht vom Einfüllstutzen und dem Kraftstofftank bzw. Beimischöffnungen fern.
Halten Sie Benzin von Augen und der Haut fern.
Biodiesel-bereit
Diese Maschine kann auch mit einem Kraftstoff eingesetzt werden, der bis zu B7 mit Biodiesel vermischt ist (7 % Biodiesel, 93 % Benzindiesel). Der Benzindieselteil muss einen extrem niedrigen Schwefelgehalt haben. Befolgen Sie die nachstehenden Sicherheitsvorkehrungen:
Der Biodieselanteil des Kraftstoffs muss die Spezifikationen ASTM D6751 oder EN 14214 erfüllen.
Die Zusammensetzung des gemischten Kraftstoffes sollte ASTM D975 oder EN 590 erfüllen.
Biodieselmischungen können lackierte Oberflächen beschädigen.
Prüfen Sie Dichtungen und Schläuche, die mit Kraftstoff in Kontakt kommen, da sie sich nach längerer Zeit abnutzen können.
Nach der Umstellung auf Biodieselmischungen wird der Kraftstofffilter für einige Zeit verstopfen.
Der Vertragshändler gibt Ihnen gerne weitere Auskünfte zu Biodiesel.
Unter bestimmten Bedingungen ist Kraftstoff extrem leicht entflammbar und hochexplosiv. Feuer und Explosionen durch Kraftstoff können Verbrennungen und Sachschäden verursachen.
Füllen Sie den Kraftstofftank im Freien auf, wenn der Motor kalt ist. Wischen Sie verschütteten Kraftstoff auf.
Füllen Sie den Kraftstofftank nie in einem geschlossenen Anhänger.
Rauchen Sie beim Umgang mit Kraftstoff unter keinen Umständen und halten Kraftstoff von offenem Licht und jeglichem Risiko von Funkenbildung fern.
Bewahren Sie Kraftstoff in vorschriftsmäßigen Kanistern für Kinder unzugänglich auf. Kaufen Sie nie einen Kraftstoffvorrat für mehr als 180 Tage.
Setzen Sie das Gerät nicht ohne vollständig montierte und betriebsbereite Auspuffanlage ein.
Unter gewissen Bedingungen kann beim Auftanken statische Elektrizität freigesetzt werden und zu einer Funkenbildung führen, welche die Kraftstoffdämpfe entzündet. Feuer und Explosionen durch Kraftstoff können Verbrennungen und Sachschäden verursachen.
Stellen Sie Benzinkanister vor dem Auffüllen immer vom Fahrzeug entfernt auf den Boden.
Füllen Sie Benzinkanister nicht in einem Fahrzeug oder auf einem Pritschenwagen oder einer Ladefläche auf, weil Teppiche im Fahrzeug und Kunststoffverkleidungen auf Ladeflächen den Kanister isolieren und den Abbau von statischen Ladungen verlangsamen können.
Nehmen Sie, soweit durchführbar, Geräte vom Pritschenwagen bzw. vom Anhänger und stellen Sie sie zum Auffüllen mit den Rädern auf den Boden.
Betanken Sie, falls dies nicht möglich ist, die betreffenden Geräte auf einem Pritschenwagen oder dem Anhänger von einem tragbaren Kanister und nicht von einer Zapfsäule aus.
Halten Sie, wenn Sie von einer Zapfsäule aus tanken müssen, den Einfüllstutzen immer in Kontakt mit dem Rand des Kraftstofftanks bzw. der Kanisteröffnung, bis der Tankvorgang abgeschlossen ist.
Stellen Sie die Maschine auf eine ebene Fläche.
Wischen Sie den Bereich um den Tankdeckel herum mit einem Lappen sauber.
Schrauben Sie den Tankdeckel ab (Bild 36).

Füllen Sie den Tank mit Diesel, bis der Flüssigkeitsstand an der Unterkante des Einfüllstutzens liegt.
Schrauben Sie den Tankdeckel nach dem Auffüllen des Tanks sorgfältig fest.
Note: Betanken Sie die Maschine wenn möglich nach jedem Einsatz. Dadurch minimiert sich die Betauung der Innenseite des Kraftstofftanks.
| Wartungsintervall | Wartungsmaßnahmen |
|---|---|
| Bei jeder Verwendung oder täglich |
|
Der Behälter der Maschine wird im Werk mit ca. 28,4Liter Hydrauliköl guter Qualität gefüllt. Prüfen Sie den Hydraulikölstand vor dem ersten Anlassen des Motors und dann täglich. Verwenden Sie die folgenden Ölsorten zum Auffüllen:
Toro Premium Ganzjahres Hydrauliköl (erhältlich in Eimern mit 19 l oder Fässern mit 208 l. Die Bestellnummer finden Sie im Ersatzteilkatalog oder erhalten vom Vertragshändler von Toro.)
Ersatzölsorten: Wenn das Öl von Toro nicht erhältlich ist, können Sie andere verwenden, solange die folgenden Materialeigenschaften und Industriestandards erfüllt werden. Sie sollten kein Synthetiköl verwenden. Wenden Sie sich an den Ölhändler, um einen entsprechenden Ersatz zu finden.Hinweis: Toro haftet nicht für Schäden, die aus einer unsachgemäßen Substitution resultieren. Verwenden Sie also nur Erzeugnisse namhafter Hersteller, die für die Qualität ihrer Produkte garantieren.
Hydrauliköl (hoher Viskositätsindex, niedriger Stockpunkt, abnutzungshemmend, ISO VG 46
| Materialeigenschaften: | |||
| Viskosität, ASTM D445 | cSt @ 40 °C 44 bis 48cSt @ 100 °C 7,9 bis 8,5 | ||
| Viskositätsindex ASTM D2270 | 140 bis 160 | ||
| Pour Point, ASTM D97 | -37 °C bis -45 °C | ||
| Branchenspezifikationen: | |||
| Vickers I-286-S (Qualitätsstufe), Vickers M-2950-S (Qualitätsstufe), Denison HF-0 | |||
Biologisch abbaubares Hydrauliköl Mobil EAL EnviroSyn 46H
Important: Mobil EAL EnviroSyn 46H ist das einzige biologisch abbaubare Öl, das von Toro zugelassen ist. Dieses Öl ist mit den Elastomeren kompatibel, die in den Hydraulikanlagen von Toro verwendet werden, und eignet sich für viele Klimabereiche. Dieses Öl ist mit konventionellen Mineralölen kompatibel. Sie sollten die Hydraulikanlage jedoch gründlich spülen, um das konventionelle Öl zu entfernen, um die beste biologische Abbaubarkeit und Leistung zu erhalten. Das Öl ist in Behältern mit 19 Litern oder Fässern mit 208 Litern vom Mobil Händler erhältlich.
Note: Viele Hydraulikölsorten sind fast farblos, was das Ermitteln von undichten Stellen erschwert. Als Beimischmittel für die Hydraulikanlage können Sie ein rotes Färbmittel in 20-ml-Flaschen beziehen. Eine Flasche reicht für 15-22 l Hydrauliköl. Sie können es mit der Bestellnummer 44-2500 über Ihren Toro Vertragshändler beziehen.
Stellen Sie die Maschine auf eine ebene Fläche, senken die Schneideinheiten ab, stellen den Motor ab und ziehen den Zündschlüssel ab.
Reinigen Sie den Bereich um den Einfüllstutzen und den Deckel des Hydraulikölbehälters (Bild 37). Drehen Sie den Deckel vom Einfüllstutzen ab.

Entfernen Sie den Peilstab aus dem Einfüllstutzen und wischen ihn mit einem sauberen Lappen ab. Stecken Sie den Peilstab in den Einfüllstutzen und ziehen ihn dann heraus, um den Ölstand zu prüfen. Der Ölstand sollte zwischen den beiden Markierungen am Peilstab liegen.
Gießen Sie, wenn der Ölstand zu niedrig ist, Öl der korrekten Sorte in den Einfüllstutzen, bis der Ölstand die obere Markierung erreicht.
Führen Sie den Peilstab in den Einfüllstutzen ein.
| Wartungsintervall | Wartungsmaßnahmen |
|---|---|
| Bei jeder Verwendung oder täglich |
|
Die Reifen werden für den Versand zu stark aufgeblasen. Lassen Sie also etwas Luft aus den Reifen ab, um den Druck zu verringern. Der richtige Reifendruck beträgt 0,83-1,03 bar. Prüfen Sie täglich den Reifendruck.
Important: Behalten Sie den korrekten Reifendruck bei, um eine gute Schnittqualität und optimale Maschinenleistung zu gewährleisten. Blasen Sie nicht zu schwach auf.
Important: Entlüften Sie die Kraftstoffanlage, wenn einer der folgenden Umstände eingetreten ist:
Der Motor hat aufgrund von Kraftstoffmangel abgestellt.
Die Kraftstoffanlage wurde gewartet.
Nehmen Sie Ihren Fuß vom Fahrpedal und stellen Sie sicher, dass es sich auf Neutral befindet. Stellen Sie sicher, dass die Feststellbremse aktiviert ist.
Stellen Sie den Gasbedienungshebel auf den langsamen Leerlauf.
Drehen Sie den Zündschlüssel auf die Lauf-Stellung. Dann leuchtet die Glühkerzenlampe auf.
Drehen Sie, wenn das Lämpchen erlischt, den Schlüssel auf Start. Lassen Sie den Zündschlüssel sofort los und auf Lauf“ zurückgehen, sobald der Motor anspringt. Stellen Sie die Motordrehzahl ein.
Important: Lassen Sie den Anlasser nie länger als 15 Sekunden am Stück laufen, sonst kann dieser vorzeitig ausfallen. Stellen Sie den Zündschlüssel auf Aus“, wenn der Motor nach 15 Sekunden nicht anspringt, prüfen die Bedienelemente und -vorgänge erneut, warten weitere 15 Sekunden und wiederholen den Vorgang.
Bei Temperaturen unter -7 °C kann der Anlasser 30 Sekunden lang laufen und sich dann 60 Sekunden lang abkühlen, bevor Sie einen zweiten Startversuch unternehmen.
Stellen Sie den Motor ab und warten, bis alle beweglichen Bauteile zum Stillstand gekommen sind, bevor Sie Öllecks, lockeren Teilen oder anderen Defekten nachgehen.
Important: Lassen Sie den Motor für 5 Minuten im Leerlauf laufen, bevor Sie ihn nach einem Einsatz unter voller Last ausschalten. Der Turbocharger kann dann vor dem Abstellen des Motors abkühlen. Ansonsten können Probleme mit dem Turboauflader entstehen.
Note: Senken Sie die Schneideinheiten immer ab, wenn Sie die Maschine parken. Dies lässt die Hydrauliklast von der Anlage ab, verhindert eine Abnutzung der Systemteile und verhindert auch ein versehentliches Absenken der Schneideinheiten.
Stellen Sie die Motordrehzahl wieder auf den niedrigen Leerlauf.
Stellen Sie den ZWA-Schalter in die Aus-Stellung.
Aktivieren Sie die Feststellbremse.
Drehen Sie den Zündschlüssel auf Aus“.
Ziehen Sie den Zündschlüssel ab, um einem versehentlichen Anlassen vorzubeugen.
| Wartungsintervall | Wartungsmaßnahmen |
|---|---|
| Bei jeder Verwendung oder täglich |
|
Wenn die Sicherheitsschalter abgeklemmt oder beschädigt werden, setzt sich die Maschine möglicherweise von alleine in Bewegung, was Verletzungen verursachen kann.
An den Sicherheitsschaltern dürfen keine Veränderungen vorgenommen werden.
Prüfen Sie die Funktion der Sicherheitsschalter täglich und tauschen alle defekten Schalter vor dem Einsatz der Maschine aus.
Im elektrischen System der Maschine befinden sich Sicherheitsschalter. Diese Sicherheitsschalter sind so ausgelegt, dass sie den Motor abstellen, wenn der Fahrer den Sitz verlässt und das Fahrpedal gedrückt ist. Der Bediener kann dagegen den Sitz bei laufendem Motor verlassen, solange das Fahrpedal auf Neutral steht. Obwohl der Motor weiter läuft, wenn der ZWA-Schalter ausgekuppelt und das Fahrpedal gelöst ist, empfehlen wir Ihnen nachdrücklich, dass Sie den Motor abstellen, bevor Sie den Sitz verlassen.
Führen Sie die folgenden Maßnahmen durch, um die Funktion der Sicherheitsschalter zu prüfen:
Fahren Sie die Maschine langsam auf eine größere, verhältnismäßig offene Fläche. Senken Sie das Mähwerk ab, stellen den Motor ab und aktivieren die Feststellbremse.
Nehmen Sie auf dem Sitz Platz und drücken das Fahrpedal nach unten. Versuchen Sie anschließend, den Motor zu starten. Der Motor sollte jetzt anspringen. Wenn sich der Motor doch drehen lässt, hat die Verriegelungsanlage einen Defekt, den Sie vor Arbeitsbeginn beheben müssen.
Setzen Sie sich auf den Sitz und lassen Sie den Motor an. Verlassen Sie den Sitz und stellen den ZWA-Schalter auf Ein. Die Zapfwelle darf jetzt nicht eingekuppelt werden. Wenn die Zapfwelle einkuppelt, haben die Sicherheitsschalter einen Defekt, den Sie vor dem Einsatz beheben müssen.
Nehmen Sie auf dem Sitz Platz, aktivieren Sie die Feststellbremse und starten Sie den Motor. Bewegen Sie das Fahrpedal aus der Neutralstellung. Der Motor muss dann abstellen. Wenn der Motor nicht abstellt, hat die Verriegelungsanlage einen Defekt, den Sie vor Arbeitsbeginn beheben müssen.
Sie können das Gegengewicht an den Hubarmen der hinteren Schneideinheit einstellen, um unterschiedliche Rasenbedingungen auszugleichen und um in unebenem Gelände oder Bereichen mit Ablagerungen von abgestorbenem Gras eine einheitliche Schnitthöhe zu erhalten.
Sie können jede Gegengewichtfeder auf eine der vier Einstellungen einstellen. Jeder Schritt erhöht oder verringert das Gegengewicht an der Schneideinheit um 2,3 kg. Die Federn können hinten am Federaktuator positioniert werden, um das ganze Gegengewicht zu entfernen (4. Stellung).
Stellen Sie die Maschine auf eine ebene Fläche, senken Sie die Schneideinheiten ab, stellen Sie den Motor ab, aktivieren Sie die Feststellbremsen und ziehen Sie den Zündschlüssel ab.
Führen Sie ein Rohr oder ein ähnliches Objekt in die lange Feder ein, um die Federspannung während der Einstellung aufzuheben (Bild 38).
Die Federn sind gespannt.
Passen Sie beim Einstellen auf.
Wenn Sie die Federspannung aufgehoben haben, nehmen Sie die Schraube und Sicherungsmutter ab, mit denen der Federaktuator an der Halterung befestigt ist (Bild 38).

Verschieben Sie den Federaktuator in die gewünschte Lochposition und befestigen Sie ihn mit einer Sicherungsmutter.
Wiederholen Sie die Schritte an der restlichen Feder.
Stellen Sie die Maschine auf eine ebene Fläche, senken Sie die Schneideinheiten ab, stellen Sie den Motor ab, aktivieren Sie die Feststellbremsen und ziehen Sie den Zündschlüssel ab.
Der Hubarmschalter befindet sich hinter dem rechten vorderen Hubarm (Bild 39).

Lösen Sie die Befestigungsschauben des Schalters (Bild 39) und schieben Sie den Schalter nach oben, um die Wendehöhe des Hubarms zu erhöhen, oder schieben Sie den Schalter nach unten, um die Wendehöhe des Hubarms zu verringern. Ziehen Sie die Befestigungsschrauben fest.
Im Notfall können Sie die Maschine durch Aktivieren des Sicherheitsventils an der stufenlosen Hydraulikpumpe und Schieben oder Schleppen bewegen. Schieben oder schleppen Sie die Maschine nie weiter als 0,4 km.
Important: Schieben oder schleppen Sie die Maschine höchstens mit 3 km bis 4,8 km/h ab, sonst kann das interne Getriebe beschädigt werden. Öffnen Sie das Sicherheitsventil immer, wenn die Zugmaschine geschoben oder geschleppt wird.
Important: Wenn Sie die Zugmaschine rückwärts schieben oder abschleppen müssen, muss auch das Rückschlagventil im Vierradantriebsverteiler umgangen werden. Schließen Sie einen Schlauch (Bestellnummer 95-8843 (Schlauch), Bestellnummer 95-0985 (Kupplungsanschlussstück) [Menge 2] und Bestellnummer 340-77 (Hydraulikanschlussstück) [Menge 2]) an der Rückwärtsfahrt-Druckteststelle und an der Rückwärtsfahrt-Druckteststelle für den Vierradantrieb an, um das Auslaufsperrventil zu umgehen.
Öffnen Sie die Haube und entfernen Sie die mittlere Haube.
Drehen Sie das Ventil um eine Vierteldrehung nach rechts oder links, um es zu öffnen und Öl intern abzulenken (Bild 40). Weil das Öl abgelenkt wird, lässt sich die Zugmaschine ohne Schäden am Getriebe langsam bewegen. Merken Sie sich die Ventilstellung beim Öffnen oder Schließen.

Drehen Sie das Sicherheitsventil um 90 Grad (eine Viertelumdrehung) zurück, bevor Sie den Motor anlassen. Ziehen Sie das Ventil zum Schließen höchstens mit 7–11 N·m an.
Vorne am Maschinenchassis an der Innenseite jedes Antriebsreifens
In der Mitte der Achse hinten an der Maschine
An jeder Seite des Rahmens unter den vorderen Stufen.
Hintere Stoßstange
Üben Sie das Fahren mit der Maschine, weil diese ein hydrostatisches Getriebe hat, dessen Fahrverhalten sich von vielen anderen Rasenmaschinen unterscheidet. Einige Punkte, die Sie beim Einsatz der Zugmaschine und der Schneideinheit berücksichtigen sollten, sind das Getriebe, die Motordrehzahl, die Last auf den Schnittmessern und die Bedeutung der Bremsen.
Regeln Sie das Fahrpedal so, dass die Motordrehzahl hoch und in etwa gleich bleibt, um im Einsatz eine ausreichende Leistung für die Zugmaschine und das Anbaugerät verfügbar zu haben. Als Faustregel gilt: Reduzieren Sie bei zunehmender Belastung der Schneideinheiten die Fahrgeschwindigkeit und erhöhen Sie diese, wenn sich die Last reduziert.
Lassen Sie deshalb das Fahrpedal bei abnehmender Motordrehzahl zurückgehen und drücken es langsam durch, wenn sich die Drehzahl erhöht. Wenn Sie nahezu ohne Last auf dem Anbaugerät und mit angehobenen Schneideinheiten von einem Arbeitsbereich zum anderen fahren, sollten Sie den Gasbedienungshebel auf Schnell stellen und das Fahrpedal langsam, aber voll durchtreten, um die maximale Fahrgeschwindigkeit zu erreichen.
Sie können auch die Pedale, die mit den Bremsen in Verbindung stehen, in Betracht ziehen. Mit diesen unterstützen Sie das Wenden der Maschine. Gehen Sie bei ihrem Einsatz jedoch vorsichtig vor, insbesondere auf weichem und nassem Gras, sonst können Sie versehentlich den Rasen beschädigen. Ein weiterer Vorteil der Bremsen liegt im Beibehalten der Bodenhaftung. An manchen Hängen rutscht das hangaufwärts liegende Rad durch und verliert die Bodenhaftung. Drücken Sie in solchen Fällen das hangaufwärts liegende Pedal langsam ab und zu durch, bis das hangaufwärts liegende Rad nicht mehr rutscht, wodurch sich die Bodenhaftung des hangabwärts liegenden Rades verbessert.
Gehen Sie beim Einsatz der Maschine an Hängen besonders vorsichtig vor. Stellen Sie sicher, dass der Sitzriegel einwandfrei eingerastet und der Sicherheitsgurt eingeklickt ist. Um einen Überschlag zu vermeiden, sollten Sie an Hängen langsam fahren und scharfe Kurven vermeiden. Zur besseren Lenkkontrolle sollten Sie die Schneideinheiten beim Hangabwärtsfahren absenken.
Important: Lassen Sie den Motor für 5 Minuten im Leerlauf laufen, bevor Sie ihn nach einem Einsatz unter voller Last ausschalten. Der Turbocharger kann dann vor dem Abstellen des Motors abkühlen. Ansonsten können Probleme mit dem Turboauflader entstehen.
Kuppeln Sie vor dem Abstellen des Motors alle Bedienelemente aus, und stellen Sie den Gasbedienungshebel auf Langsam. Wenn der Gasbedienungshebel auf Langsam gestellt wird, sinkt die Motordrehzahl, die Geräuschentwicklung und die Vibration. Drehen Sie den Zündschlüssel auf Aus“, um den Motor abzustellen.
Bevor Sie mit dem Mähen von Rasenflächen beginnen, sollten Sie mit der Maschine in einem offenen Bereich üben. Lassen Sie den Motor an und stellen Sie ihn ab. Fahren Sie vorwärts und rückwärts. Senken Sie die Mähwerke ab und heben Sie diese an, kuppeln Sie die Spindeln ein und aus. Wenn Sie sich mit der Maschine vertraut gemacht haben, üben Sie das Fahren hangauf- und hangabwärts mit verschiedenen Geschwindigkeiten.
Wenn eine Warnlampe beim Betrieb aufleuchtet, stellen Sie die Maschine sofort ab und beheben Sie den Fehler, bevor Sie weiterarbeiten. Die Maschine kann schwer beschädigt werden, wenn Sie sie mit einer Fehlfunktion einsetzen.
Lassen Sie den Motor an und schieben Sie die Gasbedienung in die Schnell-Stellung. Stellen Sie den Mähgeschwindigkeitsbegrenzer auf die Mähstellung. Stellen Sie den Zapfwellenschalter auf die Ein-Stellung und steuern Sie dann die Schneideinheiten mit dem Hubschalter (die vorderen Schneideinheiten werden vor den hinteren Schneideinheiten abgesenkt). Drücken Sie das Fahrpedal nach vorne, um vorwärts zu fahren und zu mähen.
Schieben Sie den Zapfwellenschalter in die Aus-Stellung und heben Sie die Schneideinheiten in die Transportstellung an. Stellen Sie den Mähgeschwindigkeitsbegrenzer auf die Transportstellung. Fahren Sie vorsichtig zwischen Hindernissen durch, so dass Sie weder die Maschine noch die Schneideinheiten beschädigen. Gehen Sie beim Einsatz der Maschine an Hängen besonders vorsichtig vor. Um einen Überschlag zu vermeiden, sollten Sie an Hanglagen langsam fahren und scharfe Kurven vermeiden. Senken Sie die Schneideinheiten ab, wenn Sie hangabwärts fahren, um eine bessere Lenkkontrolle zu haben.
Note: Bestimmen Sie die linke und rechte Seite der Maschine anhand der üblichen Einsatzposition.
| Wartungsintervall | Wartungsmaßnahmen |
|---|---|
| Nach acht Betriebsstunden |
|
| Nach 50 Betriebsstunden |
|
| Nach 200 Betriebsstunden |
|
| Nach 250 Betriebsstunden |
|
| Bei jeder Verwendung oder täglich |
|
| Alle 50 Betriebsstunden |
|
| Alle 100 Betriebsstunden |
|
| Alle 150 Betriebsstunden |
|
| Alle 200 Betriebsstunden |
|
| Alle 400 Betriebsstunden |
|
| Alle 800 Betriebsstunden |
|
| Vor der Einlagerung |
|
| Jährlich |
|
Important: Weitere Wartungsarbeiten finden Sie in der Bedienungsanleitung des Motors und der Bedienungsanleitung des Mähwerks.
Kopieren Sie diese Seite für regelmäßige Verwendung.
| Wartungsprüfpunkt | Für KW: | ||||||
|---|---|---|---|---|---|---|---|
| Mo | Di | Mi | Do | Fr | Sa | So | |
| Prüfen Sie die Funktion der Sicherheitsschalter | |||||||
| Prüfen Sie die Funktion der Bremsen | |||||||
| Prüfen Sie den Motoröl und Kraftstoffstand | |||||||
| Prüfen Sie den Füllstand der Kühlanlage | |||||||
| Entleeren Sie den Kraftstoff-/Wasserabscheider | |||||||
| Prüfen Sie die Luftfilter-Verstopfungsanzeige | |||||||
| Prüfen Sie den Kühler, den Ölkühler und das Gitter auf Sauberkeit | |||||||
| Achten Sie auf ungewöhnliche Motorgeräusche 1 | |||||||
| Achten Sie auf ungewöhnliche Betriebsgeräusche | |||||||
| Prüfen Sie den Hydraulikölstand | |||||||
| Prüfen Sie die Hydraulikschläuche auf Defekte | |||||||
| Prüfen Sie die Dichtheit | |||||||
| Prüfen Sie den Reifendruck | |||||||
| Prüfen Sie die Funktion der Instrumente. | |||||||
| Prüfen Sie die Einstellung der Spindel zum Untermesser | |||||||
| Prüfen Sie die Schnitthöheneinstellung | |||||||
| Fetten Sie alle Schmiernippel ein2 | |||||||
| Bessern Sie alle Lackschäden aus. | |||||||
1. Prüfen Sie bei schwerem Starten, zu starkem Qualmen oder unruhigem Lauf die Glühkerzen und Einspritzdüsen.
2. Unmittelbar nach jeder Wäsche, ungeachtet des aufgeführten Intervalls.

Wenn Sie den Zündschlüssel im Zündschloss lassen, könnte eine andere Person den Motor versehentlich anlassen und Sie und Unbeteiligte schwer verletzen.
Ziehen Sie vor irgendwelchen Wartungsarbeiten den Zündschlüssel ab.
Lösen Sie die Haubenriegel (Bild 42) und schwenken die Haube nach oben.

Entfernen Sie die Splints, mit denen die hinteren Haubenhalterungen an den Rahmenstiften befestigt sind, und nehmen Sie die Haube ab.
| Wartungsintervall | Wartungsmaßnahmen |
|---|---|
| Alle 50 Betriebsstunden |
|
Die Maschine weist Schmiernippel auf, die regelmäßig mit Nr. 2 Allzweckschmierfett auf Lithiumbasis eingefettet werden müssen. Fetten Sie alle Lager und Büchsen, wenn die Maschine unter normalen Bedingungen eingesetzt wird, alle 50 Betriebsstunden und unverzüglich nach jeder Wäsche.
Die Schmiernippel und deren Anzahl sind:
Bremsstangen-Drehlager (5) (Bild 43)

Hinterachse-Drehbüchsen (2) (Bild 44)

Lenkzylinder-Kugelgelenke (2) (Bild 45)

Spurstangen-Kugelgelenke (2) (Bild 45)
Achsschenkelbolzen (2) (Bild 45) Fetten Sie die obere Armatur am Achsschenkelbolzen nur einmal jährlich (2 Pumpen).
Hubarmbüchsen (1 pro Schneideinheit) (Bild 46)

Hubzylinderbüchsen (2 pro Schneideinheit) (Bild 46)
Hubarm-Drehbüchsen (1 pro Schneideinheit) (Bild 47)
Schneideinheit-Trägerrahmen (2 pro Schneideinheit) (Bild 47)
Mähwerk-Hubarmgelenk (1 pro Schneideinheit) (Bild 47)

| Wartungsintervall | Wartungsmaßnahmen |
|---|---|
| Alle 400 Betriebsstunden |
|
Prüfen Sie das Gehäuse des Luftfilters auf Schäden, die eventuell zu einem Luftleck führen könnten. Wechseln Sie es bei einer Beschädigung aus. Prüfen Sie die ganze Einlassanlage auf Lecks, Beschädigungen oder lose Schlauchklemmen.
Warten Sie den Luftfilter nur, wenn die Wartungsanzeige dies angibt (Bild 48). Das frühzeitige Auswechseln des Luftfilters erhöht nur die Gefahr, dass Schmutz in den Motor gelangt, wenn Sie den Filter entfernen.

Important: Stellen Sie sicher, dass die Abdeckung richtig angebracht ist und das Luftfiltergehäuse einwandfrei abdichtet.
Ziehen Sie den Riegel nach außen und drehen Sie die Luftfilterabdeckung nach links (Bild 49).

Nehmen Sie die Abdeckung vom Luftfiltergehäuse ab. Vor dem Entfernen des Filters sollten Sie schwache Druckluft (2,76 bar, sauber und trocken) verwenden, um große Schmutzablagerungen zwischen der Außenseite des Hauptfilters und dem Kanister zu entfernen. Vermeiden Sie starke Druckluft, da Schmutz durch den Filter in den Einlassgang gelangen könnte.
Diese Reinigung verhindert, dass Rückstände in den Einlass gelangen, wenn Sie den Hauptfilter entfernen.
Entfernen und wechseln Sie den Hauptfilter aus (Bild 50).
Sie sollten ein gebrauchtes Element nicht reinigen, da die Gefahr einer Beschädigung des Filtermediums besteht. Prüfen Sie den neuen Filter auf Versandschäden, prüfen Sie das Dichtungsende des Filters und das Gehäuse. Verwenden Sie nie einen beschädigten Einsatz. Setzen Sie den Filter ein. Drücken Sie auf den äußeren Rand des Einsatzes, um es in die Glocke zu setzen. Drücken Sie nie auf die flexible Mitte des Filters.

Important: Versuchen Sie nie, den Sicherheitsfilter zu reinigen (Bild 51). Tauschen Sie den Sicherheitsfilter bei jeder dritten Wartung des Hauptfilters aus.

Reinigen Sie den Schmutzauslassanschluss, der sich in der abnehmbaren Abdeckung befindet. Nehmen Sie das Gummiablassventil von der Abdeckung ab, reinigen Sie den Hohlraum und wechseln Sie das Ablassventil aus.
Setzen Sie die Abdeckung ein, richten Sie das Gummiablassventil nach unten, ungefähr zwischen 5 und 7 Uhr (vom Ende her gesehen).
Stellen Sie die Anzeige (Bild 48) zurück, wenn sie auf Rot steht.
| Wartungsintervall | Wartungsmaßnahmen |
|---|---|
| Nach 50 Betriebsstunden |
|
| Alle 150 Betriebsstunden |
|
Entfernen Sie die Ablassschraube (Bild 52) und lassen Sie das Öl in die Auffangwanne ab. Schrauben Sie die Ablassschraube wieder ein, nachdem das Öl abgelaufen ist.

Entfernen Sie den Ölfilter (Bild 53). Ölen Sie die neue Dichtung am Ölfilter leicht mit frischem Öl ein, bevor Sie den Filter eindrehen. Ziehen Sie nicht zu fest.

Gießen Sie dann Öl in das Kurbelgehäuse; siehe Prüfen des Motoröls“ unter Betrieb“.
Stellen Sie den Bowdenzug (Bild 54) so ein, dass den Drehzahlregler am Motor die Einstellschraube für die hohe Geschwindigkeit berührt, bevor den Bowdenzug die Kerbe im Steuerarm berührt.

Unter gewissen Bedingungen sind Dieselkraftstoff und -dünste äußerst brennbar und explosiv. Feuer und Explosionen durch Kraftstoff können Sie und Unbeteiligte verletzen und Sachschäden verursachen.
Betanken Sie die Maschine nur im Freien, wenn der Motor abgeschaltet und kalt ist. Wischen Sie verschütteten Kraftstoff auf.
Füllen Sie den Kraftstofftank nicht ganz auf. Tanken Sie nur bis zu einer Höhe von 25 mm unterhalb der Unterseite des Füllstutzens. Der verbleibende Raum im Tank ist für die Ausdehnung des Kraftstoffes erforderlich.
Rauchen Sie beim Umgang mit Kraftstoff unter keinen Umständen und halten Kraftstoff von offenem Licht und jeglichem Risiko von Funkenbildung fern.
Lagern Sie Kraftstoff in einem sauberen, zulässigen Kanister und halten den Deckel aufgeschraubt.
| Wartungsintervall | Wartungsmaßnahmen |
|---|---|
| Bei jeder Verwendung oder täglich |
|
| Alle 800 Betriebsstunden |
|
| Vor der Einlagerung |
|
Entleeren und reinigen Sie den Kraftstofftank alle 800 Stunden. Entleeren und reinigen Sie den Tank ebenfalls, wenn die Kraftstoffanlage verschmutzt ist oder die Maschine längere Zeit eingelagert wird. Spülen Sie den Tank nur mit frischem Kraftstoff.
| Wartungsintervall | Wartungsmaßnahmen |
|---|---|
| Alle 400 Betriebsstunden |
|
| Jährlich |
|
Prüfen Sie die Leitungen und Anschlüsse alle 400 Stunden oder mindestens einmal jährlich. Prüfen Sie auf Verschleiß, Defekte oder lockere Anschlüsse.
| Wartungsintervall | Wartungsmaßnahmen |
|---|---|
| Bei jeder Verwendung oder täglich |
|
| Alle 400 Betriebsstunden |
|
Entleeren Sie Wasser und andere Fremdstoffe täglich aus dem Wasserabscheider. Wechseln Sie die Filterglocke alle 400 Betriebsstunden aus.
Stellen Sie einen sauberen Behälter unter den Kraftstofffilter (Bild 55).
Lösen Sie die Ablassschraube an der Unterseite der Filterglocke.

Reinigen Sie den Anbaubereich der Filterglocke.
Entfernen Sie die Filterglocke und reinigen die Kontaktfläche.
Ölen Sie die Dichtung der Filterglocke mit frischem Öl ein.
Drehen Sie die Filterglocke per Hand ein, bis die Dichtung die Kontaktfläche berührt; drehen Sie sie dann um eine weitere halbe Umdrehung fest.
Ziehen Sie die Ablassschraube an der Unterseite der Filterglocke.
Der Kraftstoffaufnahmeschlauch, der sich im Kraftstofftank befindet, hat ein Gitter, sodass Fremdstoffe nicht in die Kraftstoffanlage gelangen. Nehmen Sie den Kraftstoffaufnahmeschlauch ab und reinigen Sie das Gitter nach Bedarf.
Akkupole, Klemmen und anderes Zubehör enthalten Blei und Bleibestandteile. Dabei handelt es sich um Chemikalien, die laut der Regierung von Kalifornien krebserregend sind und zu Erbschäden führen können. Waschen Sie sich nach dem Umgang mit diesen Materialien die Hände.
Entriegeln und heben Sie die Abdeckung der Bedienerkonsole hoch (Bild 56).

Die Batterieflüssigkeit enthält Schwefelsäure, die tödlich wirken und starke chemische Verbrennungen verursachen kann.
Trinken Sie nie Batteriesäure und vermeiden Sie den Kontakt mit Haut, Augen und Kleidungsstücken. Tragen Sie eine Schutzbrille, um Ihre Augen zu schützen sowie Gummihandschuhe, um Ihre Hände zu schützen.
Füllen Sie den Akku an einem Ort, an dem immer klares Wasser zum Spülen der Haut verfügbar ist.
Schließen Sie ein 3 Ampere bis 4 Ampere Ladegerät an die Batteriepole an. Laden Sie die Batterie bei einer Rate von 3 bis 4 Ampere vier bis acht Stunden lang auf.
Ziehen Sie, wenn die Batterie ganz geladen ist, den Netzstecker des Ladegeräts und klemmen dieses von den Batteriepolen ab.
Beim Laden des Akkus werden Gase erzeugt, die explodieren können.
Rauchen Sie nie in der Nähe des Akkus und halten Sie Funken und offenes Feuer von des Akkus fern.
Klemmen Sie das Pluskabel (Rot) am Pluspol (+) der Batterie und das Minuskabel (Schwarz) am Minuspol (-) der Batterie an (Bild 57). Befestigen Sie die Kabel mit Kopfschrauben und Muttern an den Polen. Stellen Sie sicher, dass die Plusklemme (+) vollständig auf den Pluspol aufgezogen und das Kabel fest an die Batterie angeklemmt ist. Das Kabel darf die Batterieabdeckung nicht berühren. Ziehen Sie den Gummischuh über den Pluspol, um Kurzschlüssen vorzubeugen.

Akkupole, Klemmen und anderes Zubehör enthalten Blei und Bleibestandteile. Dabei handelt es sich um Chemikalien, die laut der Regierung von Kalifornien krebserregend sind und zu Erbschäden führen können. Waschen Sie sich nach dem Umgang mit diesen Materialien die Hände.
Überziehen Sie beide Batteriepole und Anschlüsse mit Grafo 112X-Fett (Toro, Bestellnummer 505-47), mit Vaseline oder leichtem Schmierfett, um einer Korrosion vorzubeugen. Ziehen Sie den Gummischuh über den Pluspol.
Schließen Sie die Konsolenabdeckung und befestigen Sie den Riegel.
Batteriepole und Metallwerkzeuge können an metallischen Teilen Kurzschlüsse verursachen, was Funken erzeugen kann. Funken können zum Explodieren der Gase im Akku führen und Verletzungen verursachen.
Beim Aus- und Einbau des Akkus verhindern, dass Akkupole mit Metallteilen der Maschine in Kontakt kommen.
Vermeiden Sie Kurzschlüsse zwischen metallischen Werkzeugen, den Akkupolen und metallischen Maschinenteilen.
Das unsachgemäße Verlegen der Akkukabel kann zu Schäden an der Maschine führen, und die Kabel können Funken erzeugen. Funken können zum Explodieren der Batteriegase führen, was Verletzungen zur Folge haben kann.
Trennen Sie immer das Minuskabel (Schwarz) ab, bevor Sie das Pluskabel (Rot) abtrennen.
Schließen Sie immer das Pluskabel (Rot) an, bevor Sie das Minuskabel (Schwarz) anschließen.
| Wartungsintervall | Wartungsmaßnahmen |
|---|---|
| Alle 50 Betriebsstunden |
|
Important: Klemmen Sie vor Schweißarbeiten an der Maschine das negative Akkukabel vom Akkupol ab, um einer Beschädigung der elektrischen Anlage vorzubeugen.
Note: Prüfen Sie den Batteriezustand wöchentlich oder alle 50 Betriebsstunden. Halten Sie die Pole und den gesamten Batteriekasten sauber, da sich eine verschmutzte Batterie langsam entlädt. Waschen Sie zum Reinigen der Batterie den ganzen Kasten mit Natronlauge. Spülen Sie mit klarem Wasser nach. Überziehen Sie die Batteriepole und Anschlüsse mit Grafo 112XSchmiermittel (Toro Bestellnummer 50547) oder mit Vaseline, um einer Korrosion vorzubeugen.
| Wartungsintervall | Wartungsmaßnahmen |
|---|---|
| Nach acht Betriebsstunden |
|
| Alle 200 Betriebsstunden |
|
Wenn Sie die Radmuttern nicht fest genug ziehen, kann sich ein Rad lösen, was zu Verletzungen führen kann.
Ziehen Sie die Vorder- und Hinterradnaben nach 1 bis 4 Betriebsstunden und erneut nach 8 Betriebsstunden auf 115-136 N·m an. Ziehen Sie die Muttern alle 200 Stunden nach.
Note: Vorderradmuttern sind ½–20 UNF. Hinterradmuttern sind M12 x 1,6-6H (metrisch).
| Wartungsintervall | Wartungsmaßnahmen |
|---|---|
| Alle 400 Betriebsstunden |
|
Prüfen Sie den Ölstand alle 400 Betriebsstunden. Verwenden Sie ein SAE 85W-140 Qualitätsgetriebeöl als Ersatz.
Wenn die Maschine auf einer ebenen Fläche steht, positionieren Sie das Rad so, dass eine Prüfschraube (Bild 61) auf 12 Uhr und die andere auf 3 Uhr steht.

Entfernen Sie die Schraube, die auf 3 Uhr steht (Bild 61). Der Ölstand sollte ungefähr 6 mm vom Prüfschraubenloch liegen.
Wenn der Ölstand niedrig ist, entfernen Sie die Schraube an der 12-Uhr-Position und füllen Sie Öl auf, bis es aus dem Loch an der 3-Uhr-Position austritt.
Setzen Sie beide Schrauben wieder ein.
Wiederholen Sie die Schritte 1 bis 3 am gegenüberliegenden Planetengetriebe.
| Wartungsintervall | Wartungsmaßnahmen |
|---|---|
| Nach 250 Betriebsstunden |
|
| Alle 800 Betriebsstunden |
|
Wechseln Sie den Ölfilter zunächst nach den ersten 250 Betriebsstunden. Wechseln Sie dann das Öl alle 800 Betriebsstunden oder mindestens jährlich. Verwenden Sie ein SAE 85W-140-Qualitätsgetriebeöl als Ersatz.
Stellen Sie auf einer ebenen Fläche ab und positionieren Sie das Rad so, dass sich eine der Prüfschrauben in der untersten Stellung (6 Uhr) befindet (Bild 62).

Stellen Sie eine Auffangwanne unter die Nabe des Planetengetriebes, entfernen Sie beide Schrauben und lassen das Öl ablaufen.
Stellen Sie ein Auffanggefäß unter das Bremsgehäuse, entfernen die Verschlussschraube und lassen das Öl ablaufen (Bild 63).

Setzen Sie die Schraube wieder im Bremsgehäuse ein, wenn das Öl vollständig an beiden Stellen abgelaufen ist.
Drehen Sie das Rad, bis die offenen Löcher im Planetengetriebe auf der 11-Uhr- und 13-Uhr-Stellung sind (Bild 64).

Füllen Sie das Planetengetriebe durch das offene Loch langsam mit 0,53-0,59 Liter SAE 85W-140 Qualitätsgetriebeöl.
Setzen Sie die Schrauben wieder ein.
Wiederholen Sie die Schritte an der gegenüberliegenden Planetengetriebe- bzw. Bremsengruppe.
| Wartungsintervall | Wartungsmaßnahmen |
|---|---|
| Alle 400 Betriebsstunden |
|
Die Hinterachse wird im Werk mit SAE 85W-140 Getriebeöl befüllt. Prüfen Sie den Ölstand vor dem ersten Anlassen des Motors und dann alle 400 Betriebsstunden. Die Achse fasst 2,4 l). Prüfen Sie die Dichtheit täglich.
Stellen Sie die Maschine auf eine ebene Fläche.
Entfernen Sie die Prüfschraube aus einem Ende der Achse (Bild 65) und stellen sicher, dass der Schmierstoff die Unterseite des Lochs erreicht. Entfernen Sie bei niedrigem Ölstand die Füllschraube (Bild 65) und füllen genug Öl ein, um den Stand bis an die Unterseite der Prüfschraubenöffnungen anzuheben.

| Wartungsintervall | Wartungsmaßnahmen |
|---|---|
| Nach 200 Betriebsstunden |
|
| Alle 800 Betriebsstunden |
|
Stellen Sie die Maschine auf eine ebene Fläche.
Reinigen Sie den Bereich um die drei Ablassschrauben, d. h. jeweils eine an beiden Enden und eine in der Mitte (Bild 66).

Entfernen Sie die drei Ölstandprüfschrauben und den Entlüftungsdeckel an der Hauptachse, um das Ablassen des Öls zu fördern.
Entfernen Sie die Ablassschraube und lassen das Öl in die Auffanggefäße abfließen.
Drehen Sie die Stöpsel wieder ein.
Entfernen Sie eine Prüfschraube und füllen Sie die Achse mit ungefähr 2,4 l 85W-140 Getriebeöl oder bis die Unterseite des Lochs mit Öl bedeckt ist.
Drehen Sie die Prüfschraube wieder auf.
Die Maschine darf nicht kriechen, wenn Sie das Fahrpedal loslassen. Sie müssen eine Einstellung vornehmen, wenn es dennoch dazu kommt.
Stellen Sie die Maschine auf einer ebenen Fläche ab, stellen Sie den Motor ab, stellen Sie den Fahrantriebshebel in den niedrigen Bereich und senken Sie die Schneideinheiten auf den Boden ab. Drücken Sie nur das rechte Bremspedal durch und aktivieren die Feststellbremse.
Bocken Sie die linke Seite der Maschine auf, bis das Vorderrad den Boden nicht mehr berührt. Stützen Sie die Maschine auf Achsständern ab, so dass sie nicht umfallen kann.
Lassen Sie den Motor an und lassen Sie ihn im Leerlauf laufen.
Stellen Sie die Bundmuttern am Pumpenstangenende ein, um die Pumpensteuerungsstange nach vorne zu verschieben, um ein Verschieben nach vorne zu vermeiden, oder um die Pumpensteuerungsstange nach hinten zu verschieben, um ein Verschieben nach hinten zu vermeiden (Bild 67).

Ziehen Sie, wenn die Räder zum Stillstand gekommen sind, die Bundmuttern fest, um die Einstellung zu arretieren.
Stellen Sie den Motor ab und lösen die rechte Bremse. Entfernen Sie die Achsständer und lassen Sie die Maschine wieder ab. Machen Sie eine Probefahrt, um sicherzustellen, dass die Maschine nicht mehr kriecht.
| Wartungsintervall | Wartungsmaßnahmen |
|---|---|
| Alle 800 Betriebsstunden |
|
Messen Sie den Abstand vorne und hinten an den Lenkreifen Mitte-zu-Mitte (auf Achshöhe). Der Wert für vorne darf höchstens 3 mm kleiner sein als der Wert für hinten (Bild 68).

Entfernen Sie den Splint und die Mutter von einem der Spurstangen-Kugelgelenke (Bild 69). Entfernen Sie das Spurstangen-Kugelgelenk vom Achsständer.

Lockern Sie die Klemmen an beiden Enden der Spurstangen (Bild 69).
Drehen Sie das abgenommene Kugelgelenk um eine komplette Umdrehung nach innen oder außen. Ziehen Sie die Klemme am losen Ende der Spurstange an.
Drehen Sie die gesamte Spurstange um eine komplette Umdrehung in dieselbe Richtung (nach innen oder außen). Ziehen Sie die Klemme am verbundenen Ende der Spurstange an.
Montieren Sie das Kugelgelenk im Achsständer und ziehen Sie die Griffmutter fest. Messen Sie die Vorspur.
Wiederholen Sie das Verfahren bei Bedarf.
Ziehen Sie die Mutter fest und montieren Sie einen neuen Splint, wenn die Einstellung korrekt ist.
| Wartungsintervall | Wartungsmaßnahmen |
|---|---|
| Bei jeder Verwendung oder täglich |
|
Entfernen Sie den Schmutz vom Motorbereich, dem Öl und vom Motorkühler täglich. Reinigen Sie unter besonders schmutzigen Bedingungen häufiger.
Entriegeln und schwenken Sie das hintere Drehgitter in die geöffnete Stellung (Bild 70). Entfernen Sie alle Schmutzrückstände aus dem Drehgitter.
Note: Wenn Sie das Drehgitter entfernen möchten, heben Sie es aus den Gelenkstiften heraus.

Reinigen Sie beide Seiten des Ölkühler- und des Kühlerbereichs (Bild 71) gründlich mit Druckluft. Blasen Sie Rückstände von vorne nach hinten heraus. Reinigen Sie dann von hinten und blasen Sie nach vorne. Wiederholen Sie dies mehrmals, bis alle Rückstände entfernt sind.

Important: Das Reinigen des Kühlers bzw. Ölkühlers mit Wasser kann zu frühzeitigem Verrosten, einer Beschädigung der Bauteile und Verdichten der Ablagerungen führen.
Schließen Sie das hintere Gitter und befestigen es mit dem Riegel.
Stellen Sie die Betriebsbremsen ein, wenn das Bremspedal mehr als 13 mm Spiel hat, oder wenn die Bremsen nicht mehr gut genug greifen. Als Spiel gilt die Entfernung, die das Bremspedal zurücklegt, bevor ein Bremswiderstand spürbar ist.
Ziehen Sie die Sperrlasche aus den Bremspedalen heraus, so dass beide Bremsen unabhängig voneinander wirken können.
Ziehen Sie die Bremsen strammer, um das Spiel der Bremspedale zu reduzieren:
Lockern Sie die vordere Mutter an der Gewindeseite des Bremszuges (Bild 72).

Ziehen Sie die hintere Mutter an, um den Zug nach hinten zu bewegen, bis die Bremspedale ein Spiel von 0 mm bis 13 mm aufweisen.
Note: Stellen Sie sicher, dass keine Bremsspannung besteht, wenn das Pedal gelöst wird.
Ziehen Sie die vordere Mutter fest, wenn die Bremsen einwandfrei eingestellt sind.
| Wartungsintervall | Wartungsmaßnahmen |
|---|---|
| Alle 100 Betriebsstunden |
|
Prüfen Sie den Zustand und die Spannung der Treibriemen (Bild 73) alle 100 Betriebsstunden.
Bei einer richtigen Spannung lässt sich der Riemen 10 mm durchbiegen, wenn eine Kraft von 4,5 kg in der Mitte zwischen den Riemenscheiben angesetzt wird.
Lockern Sie bei einer Durchbiegung von mehr oder weniger als 10 mm die Befestigungsschrauben der Lichtmaschine (Bild 73). Erhöhen oder reduzieren Sie die Spannung des Lichtmaschinen-Treibriemens und ziehen Sie die Schrauben wieder fest. Prüfen Sie die Riemenspannung noch einmal auf korrekte Einstellung.

| Wartungsintervall | Wartungsmaßnahmen |
|---|---|
| Alle 800 Betriebsstunden |
|
Wechseln Sie das Hydrauliköl unter normalen Betriebsbedingungen alle 800 Betriebsstunden. Setzen Sie sich, wenn das Öl verunreinigt wird, mit Ihrem Toro Vertragshändler in Verbindung, um die Anlage spülen zu lassen. Verunreinigtes Öl sieht im Vergleich zu sauberem Öl milchig oder schwarz aus.
Stellen Sie den Motor ab und heben die Motorhaube an.
Schließen Sie den Ablasshahn an der Unterseite des Ölbehälters ab und lassen das Hydrauliköl in ein großes Auffanggefäß ab. Schließen Sie die Leitung wieder an, wenn kein Hydrauliköl mehr ausströmt.
Füllen Sie den Behälter mit ca. 28,4Litern Hydrauliköl, siehe Prüfen des Hydrauliköls“.
Important: Verwenden Sie nur die angegebenen Hydraulikölsorten. Andere Ölsorten können die hydraulische Anlage beschädigen.
Schrauben Sie den Behälterdeckel wieder auf. Starten Sie den Motor und benutzen alle hydraulischen Bedienelemente, um das Hydrauliköl in der ganzen Anlage zu verteilen. Prüfen Sie gleichfalls die Dichtheit und stellen dann den Motor ab.
Prüfen Sie den Ölstand und gießen so viel Öl ein, dass der Ölstand die Voll-Markierung am Peilstab erreicht. Füllen Sie nicht zu viel ein.
| Wartungsintervall | Wartungsmaßnahmen |
|---|---|
| Nach 200 Betriebsstunden |
|
| Alle 800 Betriebsstunden |
|
Wechseln Sie beide Hydraulikölfilter nach den ersten 200 Betriebsstunden. Wechseln Sie die Filter dann unter normalen Betriebsbedingungen alle 800 Betriebsstunden.
Verwenden Sie dabei nur Toro Originalersatzfilter, Bestellnummer 94-2621 für das hintere Ende der Maschine (Schneideinheit) und 75-1310 für das vordere Ende der Maschine (Ladegerät).
Important: Der Einsatz anderer Filter führt u. U. zum Verlust Ihrer Garantieansprüche für einige Bauteile.
Stellen Sie die Maschine auf eine ebene Fläche, senken die Schneideinheiten ab, stellen den Motor ab, aktivieren die Feststellbremse und ziehen den Zündschlüssel ab.
Reinigen Sie den Anbaubereich des Filters. Stellen Sie ein Auffanggefäß unter den Filter (Bild 74 und Bild 75) und entfernen diesen.
Ölen Sie die neue Filterdichtung ein und füllen den Filter mit Hydrauliköl.


Stellen Sie sicher, dass der Anbaubereich des Filters sauber ist. Drehen Sie den neuen Filter ein, bis die Dichtung die Ansatzfläche berührt; ziehen Sie dann den Filter um eine weitere 1/2 Umdrehung fester.
Starten Sie den Motor und lassen ihn ca. zwei Minuten lang laufen, um die Anlage zu entlüften. Stellen Sie den Motor ab und prüfen Sie die Dichtheit.
| Wartungsintervall | Wartungsmaßnahmen |
|---|---|
| Bei jeder Verwendung oder täglich |
|
Prüfen Sie die hydraulischen Leitungen und Schläuche täglich auf Dichtheit, Knicke, lockere Stützteile, Abnutzung, lockere Verbindungsteile, witterungsbedingte Minderung und chemischen Angriff. Führen Sie alle erforderlichen Reparaturen vor der Inbetriebnahme durch.
Unter Druck austretendes Hydrauliköl kann unter die Haut dringen und Verletzungen verursachen.
Stellen Sie sicher, dass alle hydraulischen Anschlüsse fest angezogen sind und dass sich alle hydraulischen Schläuche und Leitungen in einwandfreiem Zustand befinden, bevor Sie die Hydraulikanlage unter Druck setzen.
Halten Sie Ihren Körper und Ihre Hände von Nadellöchern und Düsen fern, aus denen Hydrauliköl unter hohem Druck ausgestoßen wird.
Gehen Sie hydraulischen Undichtheiten nur mit Pappe oder Papier nach.
Lassen Sie den Druck in der Hydraulikanlage auf eine sichere Art und Weise ab, bevor Sie irgendwelche Arbeiten an der Anlage durchführen.
Konsultieren Sie beim Einspritzen unter die Haut sofort einen Arzt.
Kontakt mit den Spindeln oder anderen beweglichen Teilen kann zu Verletzungen führen.
Halten Sie Finger, Hände und Bekleidung fern von den Spindeln und anderen beweglichen Teilen.
Versuchen Sie nie, die Spindeln per Hand oder Fuß in Gang zu bringen, während der Motor läuft.
Note: Beim Läppen laufen alle Frontgeräte und alle Heckgeräte zusammen.
Stellen Sie die Maschine auf eine ebene Fläche, senken Sie die Schneideinheiten ab, stellen Sie den Motor ab, aktivieren Sie die Feststellbremse und stellen Sie den Zapfwellenschalter in die Aus-Stellung.
Entriegeln und heben Sie die Motorhaube an, um die Bedienelemente frei zu legen.
Stellen Sie zuerst die Spindeln und Untermesser für das Läppen an allen Schneideinheiten ein, die Sie läppen möchten, siehe Bedienungsanleitung der Schneideinheit.
Wählen Sie entweder die vorderen, hinteren oder beide Läpphebel, um zu bestimmen, welche Spindeln geschärft werden (Bild 76).
Lassen Sie den Motor an und lassen Sie ihn mit niedrigen Drehzahlen laufen.
Das Verändern der Motordrehzahl beim Läppen kann zum Festfahren der Spindeln führen.
Verändern Sie die Motordrehzahl nie, während Sie die Spindeln läppen.
Läppen Sie Spindeln nur im niedrigen Leerlauf.
Stellen Sie sicher, dass Sie die Schneideinheiten nicht berühren, bevor Sie fortfahren, um Verletzungen zu vermeiden.
Stellen Sie den Zapfwellenschalter in die Ein-Stellung, wenn der Mähwerkgeschwindigkeitsbegrenzer in der Mähstellung ist. Drücken Sie den Hubschalter, um das Läppen an der gewünschten Spindel zu starten.
Tragen Sie Schleifpaste mit einer langstieligen Bürste auf. Verwenden Sie nie Bürsten mit kurzem Stiel.

Wenn die Spindeln beim Läppen anhalten oder ungleichmäßig laufen, erhöhen Sie die Fahrgeschwindigkeit, bis sich die Geschwindigkeit stabilisiert.
Wenn Sie die Schneideinheiten beim Läppen einstellen möchten, drehen Sie die Spindeln ab, indem Sie hinten auf den Hubschalter drücken; Stellen Sie den Zapfwellenschalter auf die Aus-Stellung und stellen den Motor ab. Wiederholen Sie nach dem Abschluss der Einstellungen die Schritte bis 8.
Wiederholen Sie diesen Vorgang für alle Schneideinheiten, die Sie läppen möchten.
Stellen Sie nach dem Läppen die Läppriegel in die Mäh-Stellung, senken Sie die Abdeckung ab und waschen Sie die Schleifpaste von den Schneideinheiten ab. Stellen Sie den Spindel- zu Untermesserkontakt der Schneideinheit nach Bedarf ein. Stellen Sie die Bedienelemente für die Schneideinheitspindeldrehzahl auf die gewünschte Mähstellung.
Important: Wenn der Läppschalter nicht in die Aus-Stellung zurückgestellt wird, können die Schneideinheiten weder richtig angehoben noch eingesetzt werden.
Note: Weitere Anleitungen und Verfahren zum Läppen finden Sie im Toro Handbuch Läppen von Spindel und Sichelmähern, Form No. 90300SL.
Note: Um eine noch bessere Schnittkante zu erzielen, feilen Sie nach dem Läppen die Vorderseite des Untermessers. Auf diese Weise werden Grate oder raue Kanten beseitigt, die sich möglicherweise an der Schnittkante gebildet haben.
Lassen Sie das Motoröl in ein Auffanggefäß ablaufen und schrauben die Ablassschraube wieder ein.
Entfernen und entsorgen Sie den Ölfilter. Montieren Sie einen neuen Ölfilter.
Füllen Sie die Ölwanne wieder dem angegebenen Motoröl.
Starten Sie den Motor und lassen ihn ca. zwei Minuten lang im Leerlauf laufen.
Stellen Sie den Motor ab.
Spülen Sie den Kraftstofftank mit frischem, sauberem Diesel.
Befestigen Sie alle Anschlussstücke der Kraftstoffanlage.
Reinigen und warten Sie die Luftfiltergruppe gründlich.
Dichten Sie die Ansaugseite des Luftfilters und das Auspuffrohr mit witterungsbeständigem Klebeband ab.
Prüfen Sie den Frostschutz und füllen bei Bedarf eine 50:50-Mischung aus Wasser und Ethylenglykol-Frostschutzmittel ein, die den in Ihrer Region zu erwartenden Mindesttemperaturen entsprechen muss.
Reinigen Sie die Zugmaschine, Schneideinheiten und den Motor gründlich.
Prüfen Sie den Reifendruck; siehe Prüfen des Reifendrucks“.
Prüfen Sie auf lockere Befestigungsteile und ziehen diese bei Bedarf fest.
Fetten und ölen Sie alle Schmiernippel und Drehpunkte ein. Wischen Sie überflüssiges Fett ab.
Schmirgeln Sie alle Lackschäden leicht und bessern Bereiche aus, die angekratzt, abgesprungen oder verrostet sind. Reparieren Sie alle Blechschäden.
Warten Sie den Akku und die Akkukabel wie folgt:
Entfernen Sie die Batterieklemmen von den -polen.
Reinigen Sie die Batterie, -klemmen und -pole mit einer Drahtbürste und Natronlauge.
Überziehen Sie die Kabelklemmen und Batteriepole mit Grafo 112X-Fett (Toro-Bestellnummer 505-47) oder mit Vaseline, um einer Korrosion vorzubeugen.
Laden Sie die Batterie alle 60 Tage 24 Stunden lang langsam auf, um einer Bleisulfation der Batterie vorzubeugen.