| 整備間隔 | 整備手順 |
|---|---|
| 使用するごとまたは毎日 |
|
この機械は回転刃を使用するリール式乗用芝刈り機であり、そのような業務に従事するプロのオペレータが運転操作することを前提として製造されています。この製品は、集約的で高度な管理を受けているゴルフ場や公園、スポーツフィールド、商用目的で使用される芝生に対する刈り込み管理を行うことを主たる目的として製造されております。本機は、雑草地や道路わきの草刈り、農業用地における刈り取りなどを目的とした機械ではありません。
この説明書を読んで製品の運転方法や整備方法を十分に理解し、他人に迷惑の掛からない、適切で安全な方法でご使用ください。この製品を適切かつ安全に使用するのはお客様の責任です。
弊社のウェブサイト www.Toro.com で製品やアクセサリ情報の閲覧、代理店についての情報閲覧、お買い上げ製品の登録などを行っていただくことができます。
整備について、また純正部品についてなど、分からないことはお気軽に弊社代理店またはカスタマーサービスにおたずねください。お問い合わせの際には、必ず製品のモデル番号とシリアル番号をお知らせください。図 1 は、モデル番号とシリアル番号を刻印した銘板の取り付け位置(機械の右前フレーム部材)を示します。いまのうちに番号をメモしておきましょう。

この説明書では、危険についての注意を促すための警告記号 (図 2) を使用しております。これらは死亡事故を含む重大な人身事故を防止するための注意ですから、必ずお守りください。

この他に2つの言葉で注意を促しています。重要 は製品の構造などについての注意点を、注はその他の注意点を表しています。
この製品は、関連するEU規制に適合しています。 詳細については、DOC シート(規格適合証明書)をご覧ください。
地域によっては、この機械の使用に当たり、本機のエンジンにスパークアレスタを取り付けることが義務付けられておりますので、この機械のマフラー・アセンブリにはスパークアレスタが内蔵されています。
トロの純正スパークアレスタは、USDA森林局の適合品です。
Important: この製品のエンジンのマフラーにはスパークアレスタが装着されています。カリフォルニア州の森林地帯・潅木地帯・草地などでこの機械を使用する場合には、同州公共資源法第4442章により、正常に機能するスパークアレスタの装着、またはエンジンに対して森林等の火災防止措置をほどこすことが義務づけられています。他の地域においても同様の規制が存在する可能性がありますのでご注意ください。
エンジンの保守整備のため、および米国環境保護局(EPA)並びにカリフォルニア州排ガス規制に関連してエンジンマニュアルを同梱しております。エンジンマニュアルはエンジンのメーカーから入手することができます。
カリフォルニア州
第65号決議による警告
カリフォルニア州では、ディーゼルエンジンの排気には発癌性や先天性異常などの原因となる物質が含まれているとされております。
米国カリフォルニア州では、この製品を使用した場合、ガンや先天性異常などを誘発する物質に触れる可能性があるとされております。
この機械は、EN ISO 5395:2013(但し所定のステッカーの貼付が条件)、および米国連邦ANSI規格B71.4-2012に適合する製品として製造されています。
不適切な使い方をしたり手入れを怠ったりすると、人身事故につながります。事故を防止するため、以下に示す安全上の注意や安全注意標識のついている遵守事項は必ずお守りください。これは「注意」、「警告」、「危険」など、人身の安全に関わる注意事項を示しています。これらの注意を怠ると死亡事故などの重大な人身事故が発生することがあります。
以下の注意事項は EN ISO 5395:2013 およびANSI B71.4-2012から抜粋したものです。
このマニュアルや関連する機器のマニュアルをよくお読みください。各部の操作方法や本機の正しい使用方法に十分慣れておきましょう。
子供や正しい運転知識のない方には機械を操作させないでください。地域によっては機械のオペレータに年齢制限を設けていることがありますのでご注意ください。
周囲にペットや人、特に子供がいる所では絶対に作業をしないでください。
人身事故や器物損壊などについてはオペレータやユーザーが責任を負うものであることを忘れないでください。
人を乗せないでください。
本機を運転する人、整備する人すべてに適切なトレーニングを行ってください。トレーニングはオーナーの責任です。特に以下の点についての十分な指導が必要です:
乗用芝刈り機を取り扱う上での基本的な注意点と注意の集中;
斜面で機体が滑り始めるとブレーキで制御することは非常に難しくなること。斜面で制御不能となるおもな原因は:
タイヤグリップの不足;
速度の出しすぎ;
ブレーキの不足;
機種選定の不適当;
地表条件、特に傾斜角度を正しく把握していなかった;
ヒッチの取り付けや積荷の重量分配の不適切。
オペレータやユーザーは自分自身や他の安全に責任があり、オペレータやユーザーの注意によって事故を防止することができます。
刈り込み作業には必ず滑らない頑丈な靴と、長ズボン、ヘルメット、安全めがね、および聴覚保護具を着用してください。長い髪、だぶついた衣服、装飾品などは可動部に巻き込まれる危険があります。また、裸足やサンダルで機械を運転しないでください。
機械にはね飛ばされて危険なものが落ちていないか、作業場所をよく確認しましょう。
マフラーが破損したら必ず交換してください。
作業場所を良く観察し、安全かつ適切に作業するにはどのようなアクセサリやアタッチメントが必要かを判断してください。メーカーが認めた以外のアクセサリやアタッチメントを使用しないでください。
オペレータコントロールやインタロックスイッチなどの安全装置が正しく機能しているか、また安全カバーなどが外れたり壊れたりしていないか点検してください。これらが正しく機能しない時には芝刈り作業を行わないでください。
人身事故や物損事故を防止するために、ガソリンの取り扱いには細心の注意を払ってください。ガソリンは極めて引火しやすく、またその気化ガスは爆発性があります。
燃料取り扱い前に、引火の原因になり得るタバコ、パイプなど、すべての火気を始末してください。
燃料の保管は必ず認可された容器で行ってください。
エンジン回転中やエンジンが熱い間に燃料タンクのふたを開けたり給油しないでください。
給油はエンジンの温度が下がってから行いましょう。
屋内では絶対に給油しないでください。
ガス湯沸かし器のパイロット火やストーブなど裸火や火花を発するものがある近くでは、絶対に機械や燃料容器を保管・格納しないでください。
トラックの荷台に敷いたカーペットやプラスチックマットなど絶縁体の上で燃料の給油をしないでください。ガソリン容器は車から十分に離し、地面に直接置いて給油してください。
給油は、機械をトラックやトレーラから地面に降ろし、機体を接地させた状態で行ってください。機械を車両に搭載したままで給油を行わなければいけない場合には、大型タンクのノズルからでなく、小型の容器から給油してください。
給油は、給油ノズルを燃料タンクの口に接触させた状態を維持して行ってください。ノズルを開いたままにする器具などを使わないでください。
もし燃料を衣服にこぼしてしまった場合には、直ちに着替えてください。
絶対にタンクから燃料をあふれさせないでください。給油後は燃料タンクキャップをしっかりと締めてください。
有毒な一酸化炭素ガスなどを含むエンジン排気が溜まるような閉め切った場所ではエンジンを運転しないでください。
作業は日中または十分な照明のもとで行ってください。
エンジンを掛ける前には、アタッチメントのクラッチをすべて外し、ギアシフトをニュートラルにし、駐車ブレーキを掛けてください。
「安全な斜面」はあり得ません。芝生の斜面での作業には特に注意が必要です。転倒を防ぐため:
斜面では急停止・急発進しない。
斜面の走行や小さな旋回は低速で。
隆起や穴、隠れた障害物がないか常に注意すること。
急な旋回をしない。バックする時には安全に十分注意する。
マニュアルに指示があれば、カウンタバランス やホイールバランスを使用すること。
隠れて見えない穴や障害物に常に警戒を怠らないようにしましょう。
道路付近で作業するときや道路を横断するときは通行に注意しましょう。
芝面以外の場所を走行するときはブレードの回転を止めてください。
アタッチメントを使用するときは、排出方向に気を付け、人に向けないようにしてください。また作業中は機械に人を近づけないでください。
ガードが破損したり、正しく取り付けられていない状態のままで運転しないでください。インタロック装置は絶対に取り外さないこと、また、正しく調整してお使いください。
エンジンのガバナの設定を変えたり、エンジンの回転数を上げすぎたりしないでください。規定以上の速度でエンジンを運転すると人身事故が起こる恐れが大きくなります。
運転位置を離れる前に:
平坦な場所に停止する;
PTOの接続を解除し、アタッチメントを下降させる;
ギアシフトをニュートラルに入れ、駐車ブレーキを掛ける;
エンジンを止め、キーを抜き取る。
移動走行中や作業を休んでいるときはアタッチメントの駆動を止めてください。
次の場合は、アタッチメントの駆動を止め、エンジンを止めてください:
燃料を補給するとき;
刈り高を変更するとき。ただし運転位置から遠隔操作で刈り高を変更できる時にはこの限りでありません。
詰まりを取り除くとき
機械の点検・清掃・整備作業などを行うとき;
異物をはね飛ばしたときや機体に異常な振動を感じたとき。機械に損傷がないか点検し、必要があれば修理を行ってください。点検修理が終わるまでは作業を再開しないでください。
エンジンを停止する時にはスロットルを下げておいて下さい。また、燃料バルブの付いている機種では燃料バルブを閉じてください。
カッティングユニットに手足を近づけないでください。
バックするときには、足元と後方の安全に十分な注意を払ってください。
旋回するときや道路や歩道を横切るときなどは、減速し周囲に十分な注意を払ってください。刈り込み中以外はブレードの回転を止めておいてください。
アルコールや薬物を摂取した状態での運転は避けてください。
機械が落雷を受けると最悪の場合死亡事故となります。稲光が見えたり雷が聞こえるような場合には機械を運転しないで安全な場所に避難してください。
トレーラやトラックに芝刈り機を積み降ろすときには安全に十分注意してください。
見通しの悪い曲がり角や、茂み、立ち木などの障害物の近くでは安全に十分注意してください。
常に機械全体の安全を心掛け、また、ボルト、ナット、ねじ類が十分に締まっているかを確認してください。
火花や裸火を使用する屋内で本機を保管する場合は、必ず燃料タンクを空にし、火元から十分離してください。
閉めきった場所に本機を保管する場合は、エンジンが十分冷えていることを確認してください。
火災防止のため、エンジンやマフラー、バッテリーの周囲に、余分なグリス、草や木の葉、ホコリなどが溜まらないようご注意ください。
各部品、特に油圧関連部が良好な状態にあるか点検を怠らないでください。消耗したり破損した部品やステッカーは安全のため早期に交換してください。
燃料タンクの清掃などが必要になった場合は屋外で作業を行ってください。
機械の調整中に指などを挟まれないように十分注意してください。
複数のリールを持つ機械では、1つのリールを回転させると他のリールも回転する場合がありますから注意してください。
整備・調整作業の前には、必ず機械を停止し、カッティングユニットを降下させ、駐車ブレーキを掛け、エンジンを停止し、キーを抜き取ってください。また、必ず機械各部の動きが完全に停止したのを確認してから作業に掛かってください。
火災防止のため、カッティングユニットや駆動部、マフラーの周囲に、草や木の葉、ホコリなどが溜まらないようご注意ください。オイルや燃料がこぼれた場合はふきとってください。
必要に応じ、ジャッキなどを利用して機体を確実に支えてください。
機器類を取り外すとき、スプリングなどの力が掛かっている場合があります。取り外しには十分注意してください。
修理作業に掛かる前にバッテリーの接続を外してください。バッテリーの接続を外すときにはマイナスケーブルを先に外し、次にプラスケーブルを外してください。取り付けるときにはプラスケーブルから接続します。
リールの点検を行うときには安全に十分注意してください。必ず手袋を着用してください。
可動部に手足を近づけないよう注意してください。エンジンを駆動させたままで調整を行うのは可能な限り避けてください。
バッテリーの充電は、火花や火気のない換気の良い場所で行ってください。バッテリーと充電器の接続 や切り離しを行うときは、充電器をコンセントから抜いておいてください。また、安全な服装を心がけ、工具は確実に絶縁されたものを使ってください。
トレーラやトラックに芝刈り機を積み降ろすときには安全に十分注意してください。
積み込みには、機体と同じ幅のある歩み板を使用してください。
荷台に載せたら、ストラップ、チェーン、ケーブル、ロープなどで機体を確実に固定してください。機体の前後に取り付けた固定ロープは、どちらも、機体を外側に引っ張るように配置してください。
以下の注意事項はCEN、ISO、ANSI規格には含まれていませんが、Toroの芝刈り機を安全に使用していただくために必ずお守りいただきたい事項です。
この機械は手足を切断したり物をはね飛ばしたりする能力があります。重傷事故や死亡事故を防ぐため、すべての注意事項を厳守してください。
この機械は本来の目的から外れた使用をするとユーザーや周囲の人間に危険な場合があります。
エンジンの排気ガスには致死性の有毒物質である一 酸化炭素が含まれている。
屋内や締め切った場所ではエンジンを運転しないこと。
エンジンの緊急停止方法に慣れておきましょう。
テニスシューズやスニーカーでの作業は避けてください。
安全靴と長ズボンの着用をおすすめします。地域によってはこれらの着用が義務付けられていますのでご注意ください。
燃料の取り扱いには十分注意してください。こぼれた燃料はふき取ってください。
インタロックスイッチは使用前に必ず点検してください。スイッチの故障を発見したら必ず修理してから使用してください。
エンジンを始動する時は必ず着席してください。
運転には十分な注意が必要です。転倒や暴走事故を防止するために以下の点にご注意ください:
サンドトラップや溝・小川、土手などに近づかないこと。
小さな旋回をする時は必ず減速すること。急停止や急発進をしないこと。
道路横断時の安全に注意。常に道を譲る心掛けを。
下り坂ではブレーキを併用して十分に減速し、確実な車両制御を行うこと。
ROPS(横転保護バー)を搭載している機械からは絶対に ROPS を取り外さないでください。また運転するときには、必ずシートベルトを着用してください。
移動走行時にはカッティングユニットを上昇させてください。
エンジン回転中や停止直後は、エンジン本体、マフラー、排気管などに触れると火傷の危険がありますから手を触れないでください。
斜面ではいつでも転倒の危険がありますが、傾斜が急になるほど転倒の危険が大きくなります。急な斜面での運転は避けてください。
斜面を下るときには、機体を安定させるためにカッティングユニットを下げておいてください。
走行ペダルはゆっくり操作してください。また運転中、特に下り坂を走行中はペダルから足を放さないでください。
ブレーキが必要な時にはペダルを後退側に踏み込むと効果的です。
坂を登りきれない時は、絶対にUターンしないでください。必ずバックで、ゆっくりと下がって下さい。
人や動物が突然目の前に現れたら直ちにリール停止。注意力の分散、アップダウン、カッティングユニットから飛びだす異物など思わぬ危険があります。周囲に人がいなくなるまでは作業を再開しないでください。
油圧系統のラインコネクタは頻繁に点検してください。油圧を掛ける前に、油圧ラインの接続やホースの状態を確認してください。
油圧のピンホールリークやノズルからは作動油が高圧で噴出していますから、手などを近づけないでください。リークの点検には新聞紙やボール紙を使い、絶対に手を直接差し入れたりしないでください。高圧で噴出する作動油は皮膚を貫通し、身体に重大な損傷を引き起こします。万一、油圧オイルが体内に入ったら、直ちに専門医の治療を受けてください。
油圧系統の整備作業を行う時は、必ずエンジンを停止し、カッティングユニットを下降させてシステム内部の圧力を完全に解放してください。
燃料ラインにゆるみや磨耗がないか定期的に点検してください。必要に応じて締め付けや修理交換してください。
エンジンを回転させながら調整を行わなければならない時は、手足や頭や衣服をカッティングユニットや可動部に近づけないように十分ご注意ください。
Toro正規代理店でタコメータによるエンジン回転数検査を受け、安全性と精度を確認しておきましょう。
大がかりな修理が必要になった時、補助が必要な時Toro 正規代理店にご相談ください。
交換部品やアクセサリはToro純正品をお求めください。他社の部品やアクセサリを御使用になると製品保証を受けられなくなる場合があります。
この機械は、音力レベルが 101 dBA であることが確認されています; ただしこの数値には不確定値(K)1 dBA が含まれています。
音力レベルの確認は、ISO 11094 に定める手順に則って実施されています。
この機械は、オペレータの耳の位置における音圧レベルが 83 dBA であることが確認されています; ただしこの数値には不確定値(K)1 dBA が含まれています。
音圧レベルの確認は、EN ISO 規則 5395:2013 に定める手順に則って実施されています。
腕および手
右手の振動レベルの実測値 = 0.3 m/s2
左手の振動レベルの実測値 = 0.3 m/s2
不確定値(K)= 0.16 m/s2
実測は、EN ISO 5395:2013 に定められた手順に則って実施されています。
全身
振動レベルの実測値 = 0.2m/s2
不確定値(K) = 0.1m/s2
実測は、EN ISO 5395:2013 に定められた手順に則って実施されています。
![]() |
危険な部分の近くには、見やすい位置に安全ラベルや指示ラベルを貼付しています。破損したりはがれたりした場合は新しいラベルを貼付してください。 |























Note: 前後左右は運転位置からみた方向です。
この作業に必要なパーツ
| 警告表示ステッカー | 1 |
CE 基準に適合させる必要がある場合には、警告ステッカー(P/N 120–1683)を、P/N 120–1686 の上から貼り付けます。
この作業に必要なパーツ
| フードロックブラケット | 1 |
| リベット | 2 |
| ねじ, 1/4 x 2 インチ | 1 |
| 平ワッシャ, 1/4 inch | 2 |
| ロックナット, 1/4 inch | 1 |
フードラッチブラケットからフードラッチを外す(図 4)。

フードラッチブラケットをフードに固定しているリベット(2本)を外す(図 5)。フードからフードラッチブラケットを取り外す。

CE 用ロックブラケットとフードラッチブラケットの取り付け穴をそろえて、フードの上に位置決めする。ロックブラケットをフードに当てて取り付ける(図 5)。ロックブラケットアームからボルト&ナットアセンブリを外してしまわないこと。

フードの内側にある穴に、ワッシャを整列させる。
ブラケットとワッシャをフードにリベットで固定する(図 6)。
フードラッチブラケットにラッチを入れる(図 7)。

フードロックブラケットのもう一方のアームにボルトを取り付けてラッチを固定する(図 8)。ボルトはしっかりと固定するがナットの締め付けは行わないこと。

この作業に必要なパーツ
| 前ホースガイド(右) | 1 |
| 前ホースガイド(左) | 1 |
出荷用ブラケットからリールモータを取り出す。
出荷用のブラケットを外して破棄する。
カッティングユニットをカートンから取り出す。同梱されているカッティングユニット用オペレーターズマニュアルに従って、希望の設定に組み立て、調整を行う。
カウンタウェイト(図 9) を、決められている側に取り付ける;カッティングユニットのオペレーターズマニュアルを参照。

どのカッティングユニットも、カッティングユニットの右側にターフ補正スプリングを取り付けて出荷している。ターフ補正スプリングは、リール駆動用モータを取り付ける側に取り付ける必要がある。以下の要領で、ターフ補正スプリングの位置換えを行う:
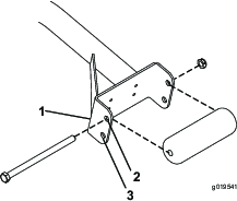
カッティングユニットのタブにロッドブラケットを固定しているキャリッジボルト2本を外す(図 10)。

スプリングチューブのボルトをキャリアフレームのタブに固定しているフランジナット(図 10)を外し、アセンブリを取り外す。
スプリングチューブのボルトを、反対側のキャリアフレームのタブに取り付け、フランジナットで固定する。図 11に示すように、ボルトの頭部がタブの外側を向くように取り付けること。

カッティングユニットのタブにロッドブラケットを取り付け、キャリッジボルト2本とナットで固定する(図 11)。また、ロッドブラケットの再取り付けを行うときに、カッティングユニットのタブの前に、左ホースガイドを取り付ける(図 13)。
Important: #4(左前)カッティングユニットと、#5(右前)カッティングユニットでは、ロッドブラケット取り付けナットを使って、各ユニットのタブの前に、ホースガイドを取り付ける。ホースガイドは、中央カッティングユニットに向かって傾斜するのが正しい(図 12~図 14)。



Note: カッティングユニットをトラクションユニットに取り付ける時には、ロッドブラケットの隣にあるスプリングロッド穴にヘアピンコッターを、忘れずに取り付けてください。トラクションユニットを外している時は、必ずヘアピンコッターをロッドの端の穴に差し込んでおいてください。
後ろのカッティングユニット(2番と3番)のキャリア・フレームから、ピボット・スペーサ、六角ソケットねじ、およびフランジ・ロックナット(各2)(図 15)を取り外すことにより、これらのカッティングユニットの首振り追従性能を向上させることができます(図 12)。

全部の昇降アームを完全に下降させる。
キャリアフレームのシャフトにきれいなグリスを塗る(図 16)。

フロントに取り付けるカッティングユニットは、昇降アームの下に入れるときにキャリアフレームのシャフトを立てて昇降アームのピボットヨークに挿入する(図 16)。スラストワッシャがキャリアフレームのシャフトの所定位置にあることを確認してください。
クリックピンを使って、キャリアフレームシャフトを昇降アームのヨークに固定する(図 16)。
Tカッティングユニットを首振りしないようにロック(固定)するには、スナッパピンを使ってピボットヨークをキャリアフレームに固定します(図 17)。

Note: 法面では、カッティングユニットを固定することをお奨めします。
刈高 19mm 超で使用する場合には、リアカッティングユニットの取り付けは以下の要領で行う。
スナッパピンを使って、昇降アームのチェーンを昇降アームに固定する(図 19)。カッティングユニットのオペレーターズマニュアルに従って、決められたリンクを使用すること。

リールモータのスプラインシャフトにきれいなグリスを塗りつける。
リールモータのOリングにオイルを塗りつけ、モータのフランジに取り付ける。
モータを手に持ち、右回りにひねってモータのフランジをボルトから逃がしながら、キャップスクリュにモータをセットする(図 20)。モータを左回りにひねって、ボルトにフランジをしっかりと掛け、ボルトを締めてモータを固定する。
Important: リールモータのホースがねじれたり、折れたり、はさまれたりしないように注意してください。

ターフ補正スプリング(図 21)は、前ローラから後ローラへと、カッティングユニットの体重移動を行います。(これによりユニットを安定させ、いわゆる「波打ったような」仕上がり(ボビングとかマーセリングといわれる現象)を防いでいます。
Important: この調整は、カッティングユニットをトラクタに取り付け、ユニットを真っ直ぐ前に向けて床に降ろした状態で行ってください。
ヘアピンコッターがスプリングロッドの後の穴に差し込まれていることを必ず確認しおいてください(図 21)。
Note: Wカッティングユニットの整備を行う場合には、ヘアピンコッターを、ターフ補正スプリングの隣にあるスプリングロッドの穴に移動させてください。

スプリングロッド前部の6角ナットを締めて、スプリング(圧縮状態)の長さが15.9cm になるようにする(図 21)。
Note: 凹凸の激しい場所を刈るときには、スプリングの長さを 13 mm 短くしてください。地表追従性が若干下がります。
Note: 刈高や刈り込みの強さを変更した場合には、ターフ補正スプリングの設定の確認、調整が必要になります。
初めて運転する前にマシン全体のグリスアップを行って ください。「潤滑」の項を参照。この作業を怠ると重要部品に急激な磨耗が発生しますから注意してください。
初回運転の前に、後アクスルオイルの量を点検してください。「駆動系統の保守」の「後アクスルオイルの点検」を参照。
初回運転の前に油圧オイルの量を確認してください。「運転」の章の「油圧オイルの量の確認」を参照。
初回運転の前に油圧オイルの量を確認してください。「運転」の章の「エンジンオイルの点検」を参照。
2枚のペダル(図 25)により左右の車輪を独立で制御し、旋回性能、駐車、斜面での走行性能を高めています。
ペダルのロック用ラッチ(図 25)を使って2枚のペダルを連結して駐車ブレーキを掛けます。
駐車ブレーキ(図 25)を掛けるには、ペダルロック用ラッチで2枚のペダルを連結し、右ブレーキペダルを踏み込みながら、つま先ペダルを踏み込みます。ブレーキを解除するには、駐車ブレーキラッチが解除される左右どちらかのペダルを踏み込みます。

走行ペダル(図 25)は前進走行と後退走行を制御します。ペダル前部を踏み込むと前進、後部を踏み込むと後退です。走行速度はペダルの踏み込み具合で調整します。スロットルが FAST 位置にあり負荷が掛かっていない状態でペダルを一杯に踏み込むと最高速度となります。
ペダルの踏み込みをやめると、ペダルは中央位置に戻り、走行を停止します。
ハンドルを手前に寄せたい場合には、ペダル(図 25)を踏みこみ、ステアリングタワーを手前に引き寄せ、ちょうど良い位置になったら、ペダルから足を離します。
刈り込み速度リミッタ(図 26)を上位置にセットすると、事前にセットしてある刈り込み速度での走行になり、カッティングユニットが回転できるようになります。刈り込み速度の調整はスペーサで行い、スペーサ1枚で、走行速度が約 0.8km/h 変化します。ボルトの上側にセットするスペーサの数が多いほど、刈り込み速度は遅くなります。移動走行を行う時は、刈り込み速度リミッタを下位置に下げて解除すると全速力での走行が可能になります。
これらのネジ(図 26)を使ってペダルの前後への踏み込み深さを制限し、前進速度や後退速度を制限することができます。
Important: これらのネジは、ポンプのストロークの範囲内で調整してください。ポンプのストローク限界を超えてペダルを踏み込むと、ポンプを破損する場合があります。

このレバー(図 27)で、カッティングユニットの昇降動作を行うほか、カッティングユニットが刈り込みモードになっているときには、カッティングユニットの回転と停止も行います。カッティングユニット昇降レバーが移動走行位置にセットされているときには、カッティングユニットを下降させることができません。
始動キー(図 27)には3つの位置があります: OFF, ON/Preheat, STARTです。
インフォセンターLCDディスプレイは、マシンの運転状態、故障診断など)の情報を表示します(図 27)。
PTOスイッチ(図 27)には2つの位置があります: Out(回転)とIn(停止)です。PTO ボタンを引くとカッティングユニットのブレードが回転を開始します。カッティングユニットのブレードの回転を止めるにはボタンを押し込んでください。

スロットルコントロール(図 27)を前に倒すとエンジン回転速度が速くなり、後ろに引くと遅くなります。
ヘッドライトスイッチ(図 27)を下げるとヘッドライトが点灯します。
電源ソケット(図 28)から電動アクセサリ用に12 Vの電源をとることができます。

バッグホルダー(図 28)は物入れにお使いください。
リールのバックラップを行うときに使用します(図 29)。

インフォセンター LCD は、マシンの運転状態、不具合診断など、マシンに関わる様々な情報を表示します(図 31)。インフォセンターには初期画面(スプラッシュ画面)とメイン画面があります。インフォセンターのどのボタンでも、押せば初期画面とメイン画面とをいつでも切り替えることができ、また、矢印ボタンで選択することによって、希望する項目の内容を確認することができます。

左ボタン, メニューアクセス/バック・ボタン:このボタンを押すと、インフォセンターのメニューが表示されます。メニュー表示中にこれを押せばメニューを終了します。
中央ボタン:メニューを下向きにスクロールするときに使います。
右ボタン:右向き矢印が表示されたとき、その先にあるメニュー項目を見るために使用します。
手動ファン逆転:左右のボタンを同時に押すとファンが逆転します。
ブザー:デッキを下降させるときや、故障発見時などに音が鳴ります。
Note: 各ボタンの機能はメニューの内容によって、変わります。各ボタンについて、その時の機能がアイコンで表示されます。
| SERVICE DUE(定期整備時期です) | 定期整備時期であることを示します |
![]() | 情報アイコン |
![]() | アワーメータ |
![]() | 高速 |
![]() | 低速 |
![]() | ファン逆転:ファンが逆転しているときに表示されます |
![]() | エアインテークヒーターが作動中 |
![]() | カッティングユニット上昇 |
![]() | カッティングユニット下降 |
![]() | オペレータが着席している必要があります |
![]() | 駐車ブレーキ作動表示:駐車ブレーキが掛かっていることを示します |
![]() | レンジが「高速」 |
![]() | ニュートラル |
![]() | レンジが「低速」 |
![]() | 冷却液温度:エンジンの冷却液の温度を表示します;表示単位は、 °C または °Fです。 |
![]() | 温度(高温) |
![]() | 禁止または不許可 |
![]() | PTOが入っています |
![]() | エンジン始動 |
![]() | 停止またはシャットダウン |
![]() | エンジン |
![]() | キースイッチ |
![]() | カッティングユニットが下降中であることを示します |
![]() | カッティングユニットが上昇中であることを示します |
![]() | PIN 暗証コード |
![]() | 油圧オイル温度:油圧オイルの温度を表示します。 |
![]() | CAN バス |
![]() | インフォセンター |
![]() | 不良または故障 |
![]() | 電球 |
![]() | TEC コントローラまたはコントロールワイヤハーネスからの出力 |
![]() | 高:許容範囲を超えています |
![]() | 高:許容範囲に達していません |
/![]() | 所定範囲外 |
![]() | スイッチ |
![]() | スイッチを解除する必要があります |
![]() | 表示されているモードに切り換えてください |
| 表示記号を組み合わせた文章が表示されます。以下に文章の例を示します | |
![]() | マシンをニュートラルにセットしてください。 |
![]() | エンジンの始動許可がおりません。 |
![]() | エンジンをシャットダウンします |
![]() | 冷却液が過熱しています |
![]() | 油圧オイルが過熱しています |
![]() | 着席するか駐車ブレーキをかけてください |
インフォセンターのメニューにアクセスするには、メニュー画面が表示されているときにメニューアクセスボタンを押します。ボタンを押すとメインメニューが表示されます。各メニューにおいてどのような内容が表示されるかは、以下の表をご覧ください。
| メインメニュー | |
| メニュー項目 | 記述称 |
| Faults(不具合) | 不具合メニューには、最近に記録された不具合が表示されます。不具合メニューおよびその内容の詳細については、サービスマニュアルを参照するか、弊社ディストリビュータにお問い合わせください。 |
| Service(整備) | 整備メニューでは、使用時間積算記録などの情報を見ることができます。 |
| Diagnostics(診断機能) | 診断メニューでは、各スイッチ、センサー、制御出力の状態が表示されます。どのコントロール装置がONになっており、どれがOFFになっているかが表示されますから、故障探究を手早く行うことができます。 |
| Settings(設定) | 設定メニューではインフォセンターの表示や機械の設定を変更することができます。 |
| About(マシンについて) | このメニュー項目では、モデル番号、シリアル番号、ソフトウェアのバージョンなどを確認することができます。 |
| Service(整備) | |
| メニュー項目 | 記述称 |
| Hours(運転時間) | マシン、エンジン、リール、およびPTOが使用されていた時間およびマシンが移動走行していた時間と定期整備までの時間が記録されており、これらを確認することができます。 |
| Counts(回数) | マシンに発生した様々な事象の回数を表示します。 |
| Diagnostics(診断機能) | |
| メニュー項目 | 記述称 |
| カッティングユニット | カッティングユニットを上昇・下降させるための入力、許可、出力の状態を表示します。 |
| Hi/Low レンジ | 移動走行モードで運転を行うための入力、許可、出力の状態を表示します。 |
| PTO | PTO回路を作動させるための入力、許可、出力の状態を表示します。 |
| Engine Run(エンジン作動) | エンジンを始動させるための入力、許可、出力の状態を表示します。 |
| バックラップ | バックラップを行うための入力、許可、出力の状態を表示します。 |
| Settings(設定) | |
| メニュー項目 | 記述称 |
| Units(単位) | インフォセンターで表示される項目の単位を選択することができます。ヤードポンド系またはメートル系から選択します。 |
| Language(言語) | インフォセンターの表示に使う言語を選択することができます*。 |
| LCD Backlight(バックライト) | LCD 表示の明るさを調整します。 |
| LCD Contrast(コントラスト) | LCD 表示のコントラストを調整します。 |
| Front Backlap Reel Speed(前ユニットのバックラップ速度) | 前方ユニットのバックラップ時のリール速度を設定します。 |
| Rear Backlap Reel Speed(後ユニットのバックラップ速度) | 後方ユニットのバックラップ時のリール速度を設定します。 |
| Protected Menus(保護項目) | スーパーインテンデントや整備士のための情報で、パスワードを入力すると見ることができます。 |
| オートアイドル | マシンの運転操作をしていない状態から自動的にアイドリングに移行するまでの時間の長さを設定します。 |
| Blade Count(刃数) | リール速度を計算するために必要な刃数です |
| Mow Speed(刈込速度) | リール速度を決定するために必要な走行速度です。 |
| Height of cut (HOC:刈高) | リール速度を決定するために必要な刈高です。 |
| F Reel RPM(前リール速度) | 前リールの回転速度(計算値)を表示します。リール速度は手動で調整することもできます。 |
| R Reel RPM(後リール速度) | 後リールの回転速度(計算値)を表示します。リール速度は手動で調整することもできます。 |
* 「オペレータ向け」のメッセージのみが翻訳表示されます。故障、整備、診断の画面は「整備士向け」メッセージです。タイトルは選択された言語で表示されますが、本文は英語表示となります。
| About (マシンについて) | |
| メニュー項目 | 記述称 |
| Model(モデル) | マシンのモデル番号を表示します。 |
| SN(シリアル番号) | マシンのシリアル番号を表示します。 |
| Machine Controller Revision(コントローラ改訂番号) | マスターコントローラのソフトウェアの改訂番号を表示します。 |
| InfoCenter Revision(インフォセンターの改定番号) | インフォセンターのソフトウェアの改訂番号を表示します。 |
| CAN Bus(バス) | マシン内部の通信状態を表示します。 |
インフォセンターの「設定」メニューで変更可能な項目は7つあります:刃数、刈り込み速度、刈高、前リール速度、および後リール速度です。これらの設定は、「パスワード保護メニュー」で保護することができます。
Note: 納品時のパスワードは、代理店にて設定しています。
「パスワード保護メニュー」にアクセスするには
メインメニューから、下へスクロールしていくと「設定メニュー」がありますから、ここで右ボタンを押します。
「設定メニュー」で、下へスクロールしていくと保護メニュー(Protected Menus)がありますから、ここで右ボタンを押します。
パスワードを入力するには、中央ボタンを押して最初の桁へ移動します。その後に右ボタンを押すと次の桁へ移動します。
中央ボタンを押して2番目の桁の入力を行い、その後に右ボタンを押すと次の桁へ移動します。
中央ボタンを押して3番目の桁の入力を行い、その後に右ボタンを押すと次の桁へ移動します。
中央ボタンを押して4番目の桁の入力を行い、その後に右ボタンを押します。
中央ボタンを押してコードを入力します。
コードが受け付けられて保護メニューが開くと、画面右上の部分に PIN という表示が現れます。
保護メニューの設定内容を閲覧・変更する権限を変更することができます。まず、「保護メニュー」にアクセスし、下へスクロールして「設定を保護」へ進みます。右ボタンを使って、「設定を保護」をOFFにすると、パスワードを入力しなくても、保護メニューの内容を閲覧・変更することができるようになります。「設定を保護」をONにすると、保護されている内容は表示されなくなり、これらを閲覧・変更するにはパスワードの入力が必要となります。パスワードを入力した場合は、キースイッチをOFF にし、もう一度キーを ON にすると、このパスワードが記憶されます。
Note: パスワードを忘れてしまった場合には、代理店にご連絡ください。
「設定メニュー」にて、下へスクロールすると「Blade Count」があります。
右側のボタンを使用して、刃数を 5、8 または 11 から選択してください。
「設定メニュー」にて、下へスクロールすると「Mow Speed」があります。
右側のボタンを使用して、刈り込み速度を選択してください。
中央の右側のボタンを使って、走行ペダルの速度リミッタに、適当な刈り込み速度を設定してください。
設定が終了したら左ボタンを押すと、設定内容を保存して設定が終了します。
「設定メニュー」にて、下へスクロールすると「HOC」があります。
右側のボタンを使用して、刈高を選択してください。
中央の右側のボタンを使って、適当な刈高を設定してください。(ご希望の通りの刈高が表示されない場合には、表示されている数値の中から最も近いものを選んでください)。
設定が終了したら左ボタンを押すと、設定内容を保存して設定が終了します。
前後のリールの速度は、刃数、刈り込み速度および刈高からインフォセンターが自動的に計算しますが、いろいろな刈り込み条件に対応するために速度設定を手動で変更することができるようになっています。
リール速度設定を変更するには、 F Reel RPM、R Reel RPM またはその両方までスクロールしてください。
右側のボタンを使用して、リール速度を変更してください。設定の変更をしているとき、ディスプレイには、刃数、刈り込み速度および刈高に基づいて計算された以前と同じリール速度が表示されていますが、新しく入力した値も表示されます。
Note: 仕様および設計は予告なく変更される場合があります。
| 刈り込み幅(27 インチユニット搭載時) | 307cm |
| 刈り込み幅(32 インチユニット搭載時) | 320cm |
| 全幅(27インチユニット降下時) | 345cm |
| 全幅(32インチユニット降下時) | 358cm |
| 全幅(カッティングユニット上昇時) | 239 cm |
| 全長 | 370 cm |
| 高さ(ROPSを含む) | 220cm |
| トレッド(前輪) | 229cm |
| トレッド(後輪) | 141 cm |
| ホイールベース | 171 cm |
| 純重量(カッティングユニットと油脂類を含まない) | 1574kg |
トロが認定した各種のアタッチメントやアクセサリがそろっており、マシンの機能をさらに広げることができます。詳細は弊社の正規サービスディーラ、または代理店へお問い合わせください。www.Toro.comでもすべての認定アタッチメントとアクセサリをご覧になることができます。
Note: 前後左右は運転位置からみた方向です。
この機械の運転音は、オペレータの耳の位置で 85 dBA となり、長時間使用しつづけると聴覚に障害を起こす可能性がある。
運転に際しては聴覚保護具を使用すること。
始動キーをつけたままにしておくと、誰でもいつでもエンジンを始動させることができ、危険である。
整備・調整作業の前には必ずエンジンを停止し、キーを抜いておくこと。
| 整備間隔 | 整備手順 |
|---|---|
| 使用するごとまたは毎日 |
|
エンジンにはオイルを入れて出荷していますが、初回運転の前後に必ずエンジンオイルの量を確認してください。
油量は約 9.5 リットル(フィルタ共)です。
以下の条件を満たす高品質なエンジンオイルを使用してください:
API規格 CH-4、CI-4 またはそれ以上のクラス
推奨オイル: SAE 15W-40(-18°C 以上)
他に使用可能なオイル:SAE 10W-30 または 5W-30(全温度帯)
Note: Toro のプレミアムエンジンオイル(10W-30 または 5W-30)を代理店にてお求めいただくことができます。パーツカタログでパーツ番号をご確認ください。
Note: エンジンオイルを点検する最もよいタイミングは、その日の仕事を始める直前、エンジンがまだ冷えているうちです。既にエンジンを始動してしまった場合には、一旦エンジンを停止し、オイルが戻ってくるまで約 10 分間程度待ってください。油量がディップスティックのADDマークにある場合は、FULLマークまで補給してください。入れすぎないこと。FULL 位置と ADD 位置の間であればオイルの補給は不要です。
| 整備間隔 | 整備手順 |
|---|---|
| 使用するごとまたは毎日 |
|
毎日、冷却液の量を点検してください。冷却液の総量は 12.3リットルです。
ラジエターキャップを注意深く外す。
エンジン停止直後にラジエターのキャップを開けると、高温高圧の冷却液が吹き出してやけどを負う恐れがある。
エンジン回転中はラジエターのふたを開けないこと。
キャップを開けるときはウェスなどを使い、高温の水蒸気を逃がしながらゆっくりと開けること。

ラジエター内部の液量を点検する。補給口の首の上部まであればよい。また、補助タンク側面についてい るFULLマークまであればよい(図 35)。
液量が不足している場合には冷却液は水とエチレングリコール不凍液の50/50 混合液を補給する。水だけの使用やアルコール系、メタノール系の冷却液の使用は避けること。
ラジエターと補助タンクのふたを取り付ける。
燃料容量: 83 リットル
ASTM D975 または EN590 規格を満たす、硫黄分の少ない(極微量:15 ppm 未満)の新しい軽油またはバイオディーゼル燃料以外は使用しないでください。セタン値が 40以上のものをお使いください。燃料の劣化を避けるため、180日以内に使いきれる程度の量を購入するようにしてください。
Important: 規格を満たしていない軽油を使用すると、排気系統にトラブルが発生します。
気温が -7℃ 以上では夏用燃料(2号軽油)を使用しますが、気温が -7℃ 以下の季節には冬用燃料(1号軽油または1号と2号の混合)を使用してください。低温下で冬用ディーゼル燃料を使うと、発火点や流動点が下がってエンジンが始動しやすくなるばかりでなく、燃料の成分分離(ワックス状物質の沈殿)によるフィルタの目詰まりを防止できるなどの利点があります。
気温が -7° 以上の季節には夏用燃料を使用する方が、燃料ポンプの寿命を延ばします。
Important: ディーゼル燃料の代わりに灯油やガソリンを使わないでください。この注意を守らないとエンジンが破損します。
燃料を飲み込むと非常に危険で生命に関わる。また気化した燃料に長期間ふれると身体に重篤な症状や疾病を引き起こす。
燃料蒸気を長時間吸わないようにする。
ノズルやタンク、コンディショナー注入口には顔を近づけないこと。
燃料蒸気が目や肌に触れないようにする
バイオディーゼル燃料対応
この機械はバイオディーゼル燃料を混合したB7燃料(バイオディーゼル燃料が7%、通常軽油が93%)を使用することができます。ただし、混合されている軽油のイオウ含有量は極低レベルである必要があります。以下の注意を守ってお使いください。
バイオディーゼル成分が ASTM D6751 または EN 14214 に適合しているものを使用してください。
混合後の成分構成が ASTM D975 または EN 590 に適合していること。
バイオディーゼル混合燃料は塗装部を傷める可能性がある。
時間経過による劣化がありうるので、シール部分、ホース、ガスケットなど燃料に直接接する部分をまめに点検すること。
バイオディーゼル燃料に切り換えた後に燃料フィルタが詰まる場合がある。
バイオディーゼルについて更に詳しい情報は、代理店にお問い合わせください。
燃料は非常に引火・爆発しやすい物質である。発火したり爆発したりすると、やけどや火災などを引き起こす。
燃料補給は必ず屋外で、エンジンが冷えた状態で行う。こぼれた燃料はふき取る。
箱型トレーラに本機を搭載した状態では、絶対に本機への燃料補給をしてはならない。
燃料取り扱い中は禁煙を厳守し、火花や炎を絶対に近づけない。
燃料は安全で汚れのない認可された容器に入れ、子供の手の届かない場所で保管する。180 日分以上の買い置きは避ける。
運転時には必ず適切な排気システムを取り付け正常な状態で使用すること。
燃料を補給中、静電気による火花がガソリンに引火する危険がある。発火したり爆発したりすると、やけどや火災などを引き起こす。
燃料容器は車から十分に離し、地面に直接置いて給油する。
車に乗せたままの容器にガソリンを補給しない。車両のカーペットやプラスチック製の床材などが絶縁体となって静電気の逃げ場がなくなるので危険である。
可能であれば、機械を地面に降ろし、車輪を地面に接触させた状態で給油を行う。
機械を車に搭載したままで給油を行わなければいけない場合には大型タンクのノズルからでなく、小型の容器から給油する。
大型タンクのノズルから直接給油しなければならない場合には、ノズルを燃料タンクの口に常時接触させた状態で給油を行う。
平らな場所に駐車する。
燃料タンクの補給口付近をよごれのないウェスできれいにぬぐう。
燃料タンクのキャップ(図 36)を取る。

補給管の下まで軽油を入れる。
給油が終わったら燃料タンクのキャップをしっかりとはめる。
Note: 可能であれば、作業後に毎回燃料を補給しておくようにしてください。これにより燃料タンク内の結露を少なくすることができます。
| 整備間隔 | 整備手順 |
|---|---|
| 使用するごとまたは毎日 |
|
油圧オイルタンクに約 28.4 リットルの高品質油圧オイルを満たして出荷しています。初めての運転の前に必ず油量を確認し、その後は毎日点検してください。推奨オイルの銘柄を以下に示します:
オールシーズン用 Toro プレミアム油圧オイルを販売しています(19 リットル缶または 208 リットル缶)。パーツカタログまたは代理店でパーツ番号をご確認ください。
代替製品: Toro のオイルが入手できない場合は、以下に挙げる特性条件および産業規格を満たすオイルを使用することができます。合成オイルの使用はお奨めできません。オイルの専門業者と相談の上、適切なオイルを選択してください:注: 不適切なオイルの使用による損害については弊社は責任を持ちかねますので、品質の確かな製品をお使い下さる様お願いいたします。
高粘度インデックス/低流動点アンチウェア油圧作動液, ISO VG 46
| 物性: | |||
| 粘度, ASTM D445 | cSt @ 40°C 44 - 48cSt @ 100°C 7.9-8.5 | ||
| 粘性インデックス ASTM D2270 | 140-160 | ||
| 流動点, ASTM D97 | -37°C--45°C | ||
| 産業規格: | |||
| ヴィッカース I-286-S (品質レベル), ヴィッカース M-2950-S(品質レベル), デニソン HF-0 | |||
プレミアム生分解油圧オイル — Mobil EAL EnviroSyn 46H
Important: Mobil EAL EnviroSyn 46H は、トロ社がこの製品への使用を認めた唯一の合成生分解オイルです。このオイルは、トロ社の油圧装置で使用しているエラストマーに悪影響を与えず、また広範囲な温度帯での使用が可能です。このオイルは通常の鉱物性オイルと互換性がありますが、十分な生分解性を確保し、オイルそのものの性能を十分に発揮させるためには、通常オイルと混合せず、完全に入れ替えて使用することが望まれます。この生分解オイルは、モービル代理店にて 19 リットル缶または208リットル缶でお求めになれます。
Note: 多くの油圧オイルはほとんど無色透明であり、そのためオイル洩れの発見が遅れがちです。油圧オイル用の着色剤(20ml 瓶)をお使いいただくと便利です。1瓶で 15~22 リットルのオイルに使用できます。パーツ番号は P/N 44-2500。ご注文は Toro 代理店へ。
平らな場所に駐車し、カッティングユニットを下降させ、エンジンを停止させてキーを抜き取る。
油圧オイルタンクの注油口周辺をきれいに拭き、キ ャップ(図 37)を外す。給油口からキャップを取る。

補給口の首からディップスティックを抜き、ウ ェスできれいに拭う。もう一度首に差し込んで引き抜き、オイルの量を点検する。2本のマークの間にあれば適正である。
油量が少なければ上マークまで補給する。
ディップスティックとキャップを取り付ける。
| 整備間隔 | 整備手順 |
|---|---|
| 使用するごとまたは毎日 |
|
タイヤは空気圧を高めに設定して出荷しています。運転前に正しいレベルに下げてください。タイヤの適正空気圧は、83~103kPa(0.84~1.05kg/m2 = 12~15psi)です。使用開始前に毎日点検してください。
Important: 全部のタイヤを同じ圧力に調整しないと機械の性能が十分に発揮されず、刈り上がりの質が悪くなります。規定以下で使用しないでください。
Important: 以下の場合には燃料システムのエア抜きが必要です:
燃料切れでエンジンが停止した時
燃料系統の整備作業を行った時
走行ペダルから足を外し、ペダルがニュ ートラル位置にあることを確認する。さらに、駐車 ブレーキが掛かっていることを確認する。
スロットルコントロールをローアイドル位置とする。
キーを RUN 位置に回す。グローランプの点灯を確認する。
グローランプが消えたら、キーをSTART位置に回す。エンジンが始動したらすぐにキーから手を放す。キーは RUN 位置に戻る。エンジン速度の調整を行う。
Important: スタータモータのオーバーヒートを防止するため、スタータは15秒間以上連続で回転させないでください。10 秒間連続で使ったら、キーをOFF位置に戻し、始動手順を確認し、15 秒間待ってからもう一度スタータを回してください。
気温が -7°C 未満のときは、スタータモータを 30 秒間連続で作動させられます。その後は 60 秒間休止してください。2回まで可能です。
機体の点検を行う前に、機械の可動部がすべて完全 に停止していることを必ず確認すること。
Important: 高負荷で運転した後は、エンジンを停止させる前に5 分間程度のアイドリング時間をとってください。これにより、エンジンを停止する前にターボチャージャを冷却します。これを怠るとターボチャージャにトラブルが発生する場合があります。
Note: 駐車するときには必ずカッティングユニットを降下させてください。これにより、油圧系統の負荷がなくなり、各部やパーツの磨耗が少なくなるだけでなく、カッティングユニットが不意に落下するなどの事故を防ぐことができます。
エンジンをローアイドル速度に戻す。
PTO スイッチをOFF 位置にする。
駐車ブレーキを掛ける。
キーを OFF 位置に回す。
事故防止のため、キーは抜き取っておく。
| 整備間隔 | 整備手順 |
|---|---|
| 使用するごとまたは毎日 |
|
インタロックスイッチは安全装置であり、これを取り外すと予期せぬ人身事故が起こり得る。
インタロックスイッチをいたずらしない。
作業前にインタロックスイッチの動作を点検し、不具合があれば作業前に交換修理する。
本機には、電気系統にインタロックスイッチが組み込まれています。インタロックスイッチは、オペレータが座席にいないのに走行ペダルが踏まれた場合にエンジンを停止させます。走行ペダルがニュートラル位置にある時にはオペレータが座席を離れてもエンジンは停止しません。PTOレバーと走行ペダルを解除しておけばエンジンは回転を続けますが、運転席を離れる場合にはいつでもエンジンを停止させる習慣をつけてください。
インタロックスイッチの点検手順を以下に示します:
ゆっくりとした速度で、比較的広い、障害物のない場所に移動する。カッティングユニットを降下させ、エンジンを停止し、駐車ブレーキを掛ける。
着席し、走行ペダルを踏み込む。エンジンを始動させてみる。クランキングしなければ正常。ク ランキングする場合はインタロックスイッチが故障しているので、運転前に修理する。
着席し、エンジンを始動させる。座席から立ち上がっ てPTO レバーをONにする。PTOが回転を開始し なければ正常。回転する場合はインタロックスイッチが故障しているので、運転前に修理する。
着席し、駐車ブレーキを掛け、エンジンを始動させる。走行ペダルを前進または後退方向に踏み込む。エ ンジンが停止すれば正常。停止しない場合はインタロックスイッチが故障しているので、運転前に修理する。
凹凸の激しいターフで一定の刈高にカット、サッチが厚くたまっているターフで削らないように刈るなど、様々なターフ条件に合わせて、後カッティングユニットの昇降アームについているカウンタバランスを調整することができます。
調整は、カウンタバランスのスプリングの設定位置(全部で4ヶ所あります)を変更することによって行います。位置を1目盛り変えるごとに、カウンタバランスの重量効果が2.3 kg変わります。カウンタバランスを完全になくしたい場合には、スプリングをスプリングアクチュエータの後側にセット(4番目の位置)します。
緊急時には、油圧ポンプについているバイパスバルブを開いて本機を牽引または押して移動することができます。但し、移動距離は 400 m 以内としてください。
Important: トランスミッションを保護するために、牽引または押して移動する時の速度は、3-4.8 km/h としてください。本機を押して或いは引いて移動させる場合には、必ずバイパスバルブを開く必要があります。
Important: 機械を後ろに押して移動させる場合には、4輪駆動マニホルドのチェックバルブもバイパスさせる必要があります。バイパスさせるには、ホースアセンブリ(ホース:P/N 95-8843、カップラフィッティング:P/N 95-0985(2個)、油圧フィ ッティング:P/N 340-77(2 個)を後退走行テストポートに接続し、4輪駆動油圧テストポートで流れを逆転させます。
フードを開け、中央のシュラウドを取る。
バイパスバルブのレバー(図 40)を右または左に90°回転(4分の1回転) させると内部でバイパスが形成される。これにより、トランスミッ ションを破損することなく機械を押して移動できる ようになる。バルブを開けたとき、どちらの方向に 回したかを覚えておくこと。

エンジンを掛ける時にはバルブを元通りに90度(1/4回転)閉める。バルブの締め付けトルクが 7-11 N·m(0.7-1.1 kg.m = 5-8 ft-lb)を超えないようにすること。
機体前部:左右の駆動輪の内側のフレーム
機体後部:アクスルの中央
機体前部:左右の前ステップ
機体後部:後バンパー
この芝刈機はHST(ハイドロスタティックトランスミッション)を採用しており、一般の芝管理用機械とは異なった特性をもっています。よく練習してから運転してください。運転に当たっては、トラクションユニットおよびカッティングデッキやその他のインプレメントを効率よく作動させていただくために気をつけるべき点があります。特に、トランスミッションの原理、エンジン速度と負荷との関係、ブレードやその他のインプレメントに掛かる負荷の大きさ、ならびにブレーキの効果的な使用方法をよく理解してください。
トラクションユニットおよびインプレメント(カッティングユニット)に十分なパワーを供給してやるためには、エンジンがほぼ一定の高速度で回転を続けさせてやる必要があります。このコツは、走行ペダルの踏み込みに注意することです。カッティングユニットへの負荷が大きくなったら走行に掛かる負荷を下げてやるきとです。
エンジンの回転数が落ちてきたら、ペダルの踏み込みを浅くして走行速度を落としてやりましょう。そうしてエンジンの回転が上がってきたら、再び走行ペダルを踏み込みます。一方、移動走行時のように、カッティングユニットが回転しておらず、カッティングユニットへの負荷がない場合には、ペダルを一杯に踏み込んで最高速度で走行することができます。
もう一つのポイントはブレーキペダルの使い方です。旋回時にブレーキを使用すると、小さな半径で旋回することができます。但し、誤って芝を傷つけないよう注意が必要です。特に、ターフが柔らかいときやぬれているときは注意してください。ブレーキは斜面での運転にも応用できます。例えば、斜面を横断中に山側の車輪がスリップして地面に走行力を伝えられなくなる場合があります。このような場合には、山側のブレーキをゆっくり、スリップが止まる所まで踏み込んでやると、谷側の走行力が増加し、安定した走行ができるようになります。
斜面の通行には最大の注意を払ってください。運転席の固定ラッチが確実に掛かっていることを確認し、必ずシートベルトを着用してください。また、転倒事故を防止するために、法面での速度の出しすぎや急旋回に十分注意してください。そして、下り坂では、機体を安定させるためにカッティングユニットを下げてください。
Important: 高負荷で運転した後は、エンジンを停止させる前に5 分間程度のアイドリング時間をとってください。これにより、エンジンを停止する前にターボチャージャを冷却します。これを怠るとターボチャージャにトラブルが発生する場合があります。
エンジンを停止させる前にすべてのコントロールを解除し、スロットルをSLOWに戻してください。スロットルを下げればエンジン回転が下がり、運転音も振動も小さ くなります。その後にキーをOFFにしてエンジンを停止 させてください。
実際に芝刈りを始める前に、安全な場所で運転操作に十分慣れておいてください。特に機械の始動、停止、前進走行と後退走行、カッティングユニットの回転、停止、昇降動作などを十分に練習してください。操作に慣れてきたら、斜面の上り下りや速度を変えての運転も練習しましょう。
作業中に警告灯が点灯したら、直ちに機械を停止し原因を確認してください。異常を放置したまま作業を続けると本機に重大な損傷を招く可能性があります。
エンジンを始動し、エンジン速度を FAST 位置にセットする。刈り込み速度リミッタを「刈り込み」位置にセットします。PTO スイッチを ON 位置にセットし、昇降スイッチでカッティングユニットを下降させます(前方のカッティングユニットは、後方のカッティングユニットよりも早く降りてきます)。走行ペダルを前進側に踏み込めば刈り込みが始まります。
PTO スイッチを OFF にし、カッティングユニットを移動走行位置まで上昇させます。刈り込み速度リミッタを「移動走行」位置にセットします。狭い場所を通り抜ける時、カッティングユニットをぶつけて損傷しないよう十分注意してください。斜面の通行には最大の注意を払ってください。また、転倒事故を防止するために、法面での速度の出しすぎや急旋回に十分注意してください。下り坂ではハンドリングを安定させるためにカッティングユニットを下降させてください。
Note: 前後左右は運転位置からみた方向です。
| 整備間隔 | 整備手順 |
|---|---|
| 使用開始後最初の 8 時間 |
|
| 使用開始後最初の 50 時間 |
|
| 使用開始後最初の 200 時間 |
|
| 使用開始後最初の 250 時間 |
|
| 使用するごとまたは毎日 |
|
| 50運転時間ごと |
|
| 100運転時間ごと |
|
| 150運転時間ごと |
|
| 200運転時間ごと |
|
| 400運転時間ごと |
|
| 800運転時間ごと |
|
| 長期保管前 |
|
| 1年ごと |
|
Important: エンジンの整備についての詳細はエンジンマニュアルを、カッティングユニットの整備にはカッティングユニットマニュアルを参照してください。
このページをコピーして使ってください。
| 点検項目 | 第週 | ||||||
|---|---|---|---|---|---|---|---|
| 月 | 火 | 水 | 木 | 金 | 土 | 日 | |
| インタロックの動作 | |||||||
| ブレーキの動作を確認する | |||||||
| エンジンオイルの量を点検する | |||||||
| 冷却水の量を点検する | |||||||
| 燃料・水セパレータの水抜きを行う | |||||||
| エアフィルタの状態インジケータの表示を確認する | |||||||
| ラジエターとオイルクーラとスクリーンのよごれ具合を点検する | |||||||
| エンジンからの異常音がないか点検する 1 | |||||||
| 運転操作時に異常音がないか点検する | |||||||
| 油圧オイルの量を点検する | |||||||
| 油圧ホースの磨耗損傷を点検する | |||||||
| オイル漏れなどがないか点検する。 | |||||||
| タイヤ空気圧を点検する。 | |||||||
| 計器類の動作を確認する | |||||||
| リールとベッドナイフの摺り合わせを点検する | |||||||
| 刈高の調整具合を点検する | |||||||
| グリスアップを行なう 2 | |||||||
| 塗装傷のタッチアップ | |||||||
1. 始動困難、大量の煙、咳き込むような走りなどが見られる場合はグロープラグと噴射ノズルを点検する。
2. 車体を水洗いしたときは整備間隔に関係なく直ちにグリスアップする。

始動キーをつけたままにしておくと、誰でもいつでもエンジンを始動させることができ、危険である。
整備・調整作業の前には必ずエンジンを停止し、キーを抜いておくこと。
ラッチ(図 42)を外し、フードを回転させて開く。

後フードブラケットをフレームピンに固定しているコッターピンを抜き取り、フードを持ち上げて取り外す。
| 整備間隔 | 整備手順 |
|---|---|
| 50運転時間ごと |
|
定期的に、全部のベア リングとブッシュにNo.2汎用リチウム系グリスを注入します。通常の使用では 50 運転時間ごとに行いますが、機体を水洗いしたあとは整備間隔に関係なく直ちにグリスアップしてください。
グリスアップ箇所は以下の通りです:
ブレーキシャフトのピボットベアリング(5ヶ所)(図 43)

後アクスルピボットのブッシュ(2ヶ所)(図 44)

ステアリングシリンダのボールジョイント (2ヶ所)(図 45)

タイロッドのボールジョイント (2ヶ所)(図 45)
キングピンのブッシュ(2ヶ所)(図 45)。但しキングピン上部は1 年に1 回のみ(ポンプ2 回押 し)のみとする。
昇降アームのブッシュ(カッティングユニット 1 台に 1 ケ所)(図 46)

昇降シリンダのブッシュ(カッティングユニット 1 台に 2 ケ所)(図 46)
昇降アームのピボットブッシュ(カッティングユニット 1 台に 1 ケ所)(図 47)
カッティングユニットのキャリアフレーム(カッティングユニット 1 台に 2 ケ所)(図 47)
昇降アームのピボット(カッティングユニット 1 台に 1 ケ所)(図 47)

| 整備間隔 | 整備手順 |
|---|---|
| 400運転時間ごと |
|
エアクリーナ本体にリーク原因となる傷がないか点検してください。破損していれば交換してください。吸気部全体について、リーク、破損、ホースのゆるみなどを点検してください。
エアクリーナの整備はインジケータ(図 48)が赤色になってから行ってください。早めに整備を行っても意味がありません。むしろフィルタを外したときにエンジン内部に異物を入れてしまう危険が大きくなります。

Important: 本体とカバーがシールでしっかり密着しているのを確認してくだ さい。
ラッチを引いて外し、カバーを左にひねってボディーからはずす(図 49)。

ボディーからカバーを外す。フィルタを外す前に、低圧のエア(2.8 kg/cm2、異物を含まない乾燥した空気)で、1次フィルタとボディーとの間に溜まっている大きなゴミを取り除く。高圧のエアは使用しないでください。異物がフィルタを通ってエンジン部へ吹き込まれる恐れがあります。
このエア洗浄により、1次フィルタを外した時にホコリが舞い上がってエンジン部へ入り込むのを防止することができる。
1次フィルタ(図 50)を取り外して交換する。
エレメントを洗って再使用しないこと。洗浄によってフィルタの濾紙を破損させる恐れがある。新しいフィルタに傷がついていないかを点検する。特にフィルタとボディーの密着部に注意する。破損しているフィルタは使用しない。フィルタをボディー内部にしっかり取り付ける。エレメントの外側のリムをしっかり押さえて確実にボ ディーに密着させる。フィルタの真ん中の柔らかい部分を持たないこと。

Important: 安全フィルタ(図 51)は絶対に洗わないでください。安全フィルタは、1次フィルタの3度目の整備時に新品に交換します。

カバーについている異物逃がしポートを清掃する。カバーについているゴム製のアウトレットバルブを外し、内部を清掃して元通りに取り付ける。
アウトレットバルブが下向き(後ろから見たとき、時計の5:00と7:00の間になるように)カバーを取り付ける。
インジケータ(図 48)が赤になっている場合はリセットする。
スロットルケーブル(図 54)がコントロールアームのスロットの端部に当たるのと同じタイミングでエンジンのガバナレバーが高速固定ボルトに当たるように、スロットルケーブルを調整します。

軽油は条件次第で簡単に引火爆発する。発火したり爆発したりすると、やけどや火災などを引き起こす。
燃料補給は必ず屋外で、また、エンジンが停止して冷えた状態で行う。こぼれた燃料はふき取る。
燃料タンク一杯に入れないこと。給油は燃料タンクの首の根元から25 mm 程度下までとする。これは、温度が上昇して燃料が膨張したときにあふれないように空間を確保するためである。
燃料取り扱い中は禁煙を厳守し、火花や炎を絶対に近づけない。
安全で汚れのない認可された容器で保存し、容器には必ずキャップをはめること。
| 整備間隔 | 整備手順 |
|---|---|
| 使用するごとまたは毎日 |
|
| 800運転時間ごと |
|
| 長期保管前 |
|
燃料タンクは 800 運転時間ごとにタンクを空にして内部を清掃してください。燃料系統が汚染された時や、マシンを長期にわたって格納する場合も同様です。タンクの清掃にはきれいな燃料を使用してください。
| 整備間隔 | 整備手順 |
|---|---|
| 400運転時間ごと |
|
| 1年ごと |
|
400 運転時間ごと又は1年に1回のうち早い方の時期に点検を行ってください。劣化・破損状況やゆるみが発生していないかを調べてください。
| 整備間隔 | 整備手順 |
|---|---|
| 使用するごとまたは毎日 |
|
| 400運転時間ごと |
|
水セパレータの水抜きは毎日おこなって異物を除去してください。フィルタは400運転時間ごとに交換してください。
燃料フィルタの下に汚れのない容器をおく(図 55)。
キャニスタ下部のドレンプラグをゆるめて水や異物を流し出す。

フィルタ容器の周辺をウェスできれいにぬぐう。
フィルタ容器を外して取り付け部をきれいに拭く。
ガスケットに薄くオイルを塗る。
ガスケットが取り付け部に当るまで手でねじ込み、そこからさらに1/2回転締め付ける。
キャニスタ下部のドレンプラグを締める。
燃料ピックアップチューブは、燃料タンクの内部にあって、スクリーンで燃料を濾過し、燃料系統への異物の進入を防いでいます。必要に応じて燃料ピックアップチューブを取り外し、清掃してください。
バッテリーの電極部や端子などの部分には鉛や鉛含有物質が含まれており、カリフォルニア州では、これらの物質が癌や先天性異常の原因となるとされている。取り扱い後は手を洗うこと。
運転席のコンソールパネルのラッチを外して持ち上げる(図 56)。

電解液には触れると火傷を起こす劇薬である硫酸が含まれている。
電解液を飲まないこと。また、電解液を皮膚や目や衣服に付けないよう十分注意すること。安全ゴーグルとゴム手袋で目と手を保護すること。
皮膚に付いた場合にすぐに洗浄できるよう、必ず十分な量の真水を用意しておくこと。
充電器に接続し、充電電流を 3-4 A にセットする。3-4 Aで4-8時間充電する。
充電が終わったらチャージャをコンセントから抜き、バッテリー端子からはずす。
充電中は爆発性のガスが発生する。
充電中は絶対禁煙を厳守。バッテリーに火気を近づけない。
赤い(+)ケーブルをバッテリーの(+)端子に、 黒いケーブル(-)はバッテリーの(-)端子に固定する(図 57)ケーブルはキャップスクリュとナットで各電極に確実に固定すること。プラス端子が電極に十分にはまり込んでいること、ケーブルの配線に無理がないことを確認する。ケーブルとバッテリーカバーを接触させないこと。ショート防止のために(+)端子にゴムキャップをかぶせる。

バッテリーの電極部や端子などの部分には鉛や鉛含有物質が含まれており、カリフォルニア州では、これらの物質が癌や先天性異常の原因となるとされている。取り扱い後は手を洗うこと。
腐食防止のために両方の端子部にワセリン(Grafo 112X: P/N 505-47)またはグリスを薄く塗る。プラス端子にゴムカバーを取り付ける。
コンソールパネルを閉じ、ラッチを掛ける。
バッテリーの端子に金属製品や車体の金属部分が触 れるとショートを起こして火花が発生する。それによって水素ガスが爆発を起こし人身事故に至る恐れがある。
バッテリーの取り外しや取り付けを行うときには、端子と金属を接触させないように注意する。
バッテリーの端子と金属を接触させない。
バッテリーケーブルの接続手順が不適切であるとケーブルがショートを起こして火花が発生する。それによって水素ガスが爆発を起こし人身事故に至る恐れがある。
ケーブルを取り外す時は、必ずマイナス(黒)ケーブルから取り外す。
ケーブルを取り付ける時は、必ずプラス(赤)ケーブルから取り付け、それからマイナス(黒)ケーブルを取り付ける。
| 整備間隔 | 整備手順 |
|---|---|
| 50運転時間ごと |
|
Important: 電気系統を保護するため、本機に溶接作業を行う時には、バッテリーのマイナスケーブルの接続を外してください。
Note: 50 運転時間ごとまたは1週間に1度、バッテリーを点検してください。端子や周囲が汚れていると自然放電しますので、バッテリーが汚れないようにしてください。洗浄する場合は、まず重曹と水で全体を洗います。次に真水ですすぎ、。腐食防止のために両方の端子部にワセリン(Grafo 112X: P/N 505-47)を薄く塗ってください。
| 整備間隔 | 整備手順 |
|---|---|
| 使用開始後最初の 8 時間 |
|
| 200運転時間ごと |
|
この整備を怠ると車輪の脱落や破損から人身事故につながる恐れがある。
前輪と後輪のホイールナットを85-100ft.-lb.(115~136 N·m= 11.8~13.8 kg.m)にトルク締めする; この作業は新車の使用を開始して 1~4 運転時間後に1度、そして 8 運転時間後にもう一度行なう。その後は 200 運転時間ごとに締め付けを行う。
Note: 前ホイールナットは ½–20 UNFネジです。後ホイールナットはM12×1.6-6H(メートルネジ)です。
| 整備間隔 | 整備手順 |
|---|---|
| 400運転時間ごと |
|
オイル量は 400 運転時間ごとに点検してください。補給用には高品質のSAE 85W-140 ギアオイルを使用してく ださい。
| 整備間隔 | 整備手順 |
|---|---|
| 使用開始後最初の 250 時間 |
|
| 800運転時間ごと |
|
250運転時間で初回交換を行います。その後は 800運転時間ごと又は 1 年に 1 回のうち早い方の時期に交換してください。補給用には高品質のSAE 85W-140 ギアオイルを使用してく ださい。
平らな場所で、点検/ドレンプラグが一番低い位置(時計の 6 時の位置)に来るように停止させる(図 62) 。

プラネタリハブの下に容器を置き、2つのプラグを両方とも外してオイルを抜く。
ブレーキハウジングの下に容器を置き、プラグを外してオイルを抜く(図 63)。

両方からオイルが完全に抜けたら、ブレーキハウジングにプラグを取り付ける。
まだプラグを取り付けていない方の穴が 11時 - 1時の位置にくるように、車輪を回転させる(図 64)。

開いている穴のどれかを使って、高品質の SAE 85W-140 wt. ギア潤滑油 520 - 590ml をゆっくりと入れる。
プラグを元通りに取り付ける。
反対側のプラネタリギアアセンブリも同様に作業する。
| 整備間隔 | 整備手順 |
|---|---|
| 使用開始後最初の 200 時間 |
|
| 800運転時間ごと |
|
平らな場所に駐車する。
ドレンプラグ(図 66;左右端に1個と中央に1個、全部で3個ある)の周辺をきれいに拭く。

オイルが抜けやすいように点検用プラグ(3 個)を 抜く。
各ドレンプラグからオイルを抜き、容器で回収する。
プラグを取り付ける。
点検穴から、新しい85W-140 オイルを入れる。容量 は2.4リットル。穴の縁まで入ればよい。
点検プラグを取り付ける
走行ペダルがニュートラル位置にあるときには本機は停止していなければいけません。動きだすようでしたら調整が必要です。
平らな場所に駐車し、、エンジンを停止させ、速度コントロールをLOWレンジにセットし、カッティングユニットを降下させる。右ブレーキだけ踏んだ状態で駐車ブレーキを掛ける。
車両の左側をジャッキアップして前輪を床から浮かす。落下事故防止のためにジャッキスタンドでサポートする。
エンジンを始動しアイドル回転させる。
前への動きを止めたい場合は、ポンプロッドの端部にあるジャムナットを回してポンプコントロールチューブ(図 67)を前へ動かす。後への動きを止めたい場合は、後へ動かす。

車輪の回転が止まったら、ナットを締めて調整を固定する。
エンジンを停止し、右ブレーキ をゆるめる。ジャッキスタンドをはずし、機体を床に下ろす。試験運転で調整を確認する。
| 整備間隔 | 整備手順 |
|---|---|
| 800運転時間ごと |
|
後輪の前と後ろで、左右のタイヤの中央線間距離を測る(アクスルの高さ位置で計測)。前での測定値が、後ろでの測定値より 3 mm 小さければ合格とする(図 68)。

調整が必要な場合は、タイロッドのボールジョイ ントのコッターピンとナットを外す(図 69)。次に、タイロッドのボールジョイントをアクスルケースのサポートから外す。

タイロッド両側のクランプをゆるめる(図 69)。
外した方のボールジョイントを内側または外側に 1 回転させる。タイロッドの自由端側のクランプを締める。
タイロッドアセンブリ全体を先ほどと同じ方向 (内回しまたは外回し)に1回転させる。タイロッドの接続端側のクランプを締める。
アクスルケースサポートのボールジョイント を取り付け、指締めする。トーインを計測確認する。
必要に応じ、上記の調整手順を繰り返す。
調整ができたらナットを締め、新しいコッターピンで固定する。
| 整備間隔 | 整備手順 |
|---|---|
| 使用するごとまたは毎日 |
|
エンジン部、オイルクーラ、ラジエターは毎日清掃してください。汚れが激しければより頻繁な清掃が必要です。
ブレーキペダルの「遊び」が 13mm以上となったり、ブレーキの効きが悪いと感じられるようになったら、調整を行ってください。遊びとは、ブレーキペダルを踏み込んでから抵抗を感じるまでのペダルの行きしろを言います。
左右のペダルが独立に動けるように、ブレーキペダルのロックピンを外す。
行きしろを小さくするにはブレーキを締める:
ブレーキケーブル(図 72)の端にある前ナッ トをゆるめる。

後ナットを締めてケーブルを後方に移動させてブレーキペダルの遊びが 0~13mm なるようにする。
Note: ペダルを踏んでいない時にブレーキにテンションがかかっていないことを確認してください。
調整ができたら前ナットを締める。
| 整備間隔 | 整備手順 |
|---|---|
| 800運転時間ごと |
|
通常は 800 運転時間ごとにオイルを交換します。オイルが汚染されてしまった場合は油圧系統全体を洗浄する必要がありますので、Toro 代理店にご連絡ください。汚染されたオイルは乳液状になったり黒ずんだ色なったりします。
エンジンを止め、フードを開ける。
油圧オイルタンクからケースリターンラインを外し、流れ出すオイルを大型の容器に受ける。オイルが全部流れ出たらラインを元通りに接続する。
油圧オイルタンクに約 28.4 リットルのオイルを入れる;「油圧オイルを点検する」を参照。
Important: 指定された銘柄のオイル以外は使用しないでください。他のオイルを使用するとシステムを損傷する可能性があります。
タンクにキャップを取り付ける。エンジンを始動し、全部の油圧装置を操作して内部にオイルを行き渡らせる。また、オイル漏れがないか点検して、エンジンを停止する。
油量を点検し、足りなければディップスティックの FULLマークまで補給する。入れすぎないこと。
| 整備間隔 | 整備手順 |
|---|---|
| 使用開始後最初の 200 時間 |
|
| 800運転時間ごと |
|
油圧オイルのフィルタ(2個)は、最初の 200 運転時間で交換します。通常の使用条件では、その後 800 運転時間ごとにフィルタを交換します。
フィルタはToro 純正品を使用してください: カッティングユニット用(後): P/N 94-2621、チャージ用(前): P/N 75-1310)
Important: 純正品以外のフィルタを使用すると関連機器の保証が適用されなくなる場合があります。
| 整備間隔 | 整備手順 |
|---|---|
| 使用するごとまたは毎日 |
|
油圧ライン油圧ホースにオイル漏れ、ねじれ、支持部のゆるみ、磨耗、フィッティングのゆるみ、風雨や薬品による劣化などがないか毎日点検してください。異常を発見したら必ず運転を行う前に修理してください。
高圧で噴出する作動油は皮膚を貫通し、身体に重大な損傷を引き起こす。
油圧を掛ける前に、油圧ラインやホースに傷や変形がないか接続部が確実に締まっているかを確認する。
油圧のピンホールリークやノズルからは作動油が高圧で噴出しているので、絶対に手などを近づけない。
リークの点検には新聞紙やボール紙を使う。
油圧関係の整備を行う時は、内部の圧力を確実に解放する。
万一、油圧オイルが体内に入ったら、直ちに専門医の治療を受けてください。
バックラップ中にリールに触れると大けがをする。
リールその他の可動部に手指、足、衣類等を近づけないよう注意すること。
エンジンが動いている間は、止まったリールを絶対に手や足で回そうとしないこと。
Note: バックラップの時は、前3ユニット、後2ユニットがそれぞれ共に回転します。
平らな場所に駐車し、カッティングユニットを下降させ、エンジンを停止して、駐車ブレーキを掛け、PTOスイッチをOFF位置にする。
ラッチを外してフードを開ける。
各カッティングユニットのリールと下刃をバックラップ用に設定する;カッティングユニットのオペレーターズマニュアルを参照。
バックラップスイッチで前のカッティングユニット又は後ろのカッティングユニット、あるいは両方を選択する(図 76)。
エンジンを始動し、アイドル回転にセットする。
バックラップ中にエンジン速度を変えるとリールが停止することがある。
バックラップ中は絶対にエンジン速度を変えないこと。
バックラップは、必ずエンジンアイドリング速度で行う。
人身事故防止のため、カッティングユニットから十分離れてから次の手順に進むこと。
刈り込み速度リミッタを「刈り込み」位置にセットし、PTO スイッチを ON にする。上昇スイッチを押すと、バックラップが開始される。
長い柄のブラシを使ってラッピングコンパウンドを塗布しながらラッピングを続ける。柄の短いブラシは絶対に使用しないこと。

リールの回転が止まってしまったり、回転が一定しない場合には、スロットル速度を少し上げて安定させる。
バックラップ中にカッティングユニットに調整を行う場合には、まず昇降スイッチの後部を押してリールの回転を止め、PTOスイッチをOFF位置にセットし、エンジンを停止させてから調整作業に取り掛かる。調整が終ったら8までの作業を行う。
バックラップするユニット全部に上記手順を行う。
終了したら、バックラップレバーを通常位置(F)に戻し、フードを下ろし、カッティングユニットについているラッピングコンパウンドをていねいに洗い落とす。必要に応じてリールと下刃の間隔を調整する。リール回転速度コントロールを、希望の速度位置にセットする。
Important: バックラップスイッチをOFF に戻さないと、カッティングユニットを上昇させることができません。
Note: さらに詳しい説明が、「Toro リール/ロータリーモアのための研磨マニュアル(Form No. 80-300 SL)」に掲載されています。
Note: バックラップが終わったら、ベッドナイフの前端に軽くヤスリ掛けを行うとさらに切れ味が向上します。これによりベッドナイフ前端に形成されたバリを取り除きます。このとき刃先を削らないように注意してください。
エンジンオイルを抜き取り、ドレンプラグをはめる。
オイルフィルタを外して捨てる。新しいオイルフィルタを取り付ける。
オイルパンに所定のモーターオイルを入れる。
エンジンを始動し、約2分間のアイドル運転を行う。
エンジンを止める。
燃料タンクから燃料を抜き取り、きれいな燃料で内部を洗浄する。
燃料系統の接続状態を点検し必要な締め付けを行う。
エアクリーナをきれいに清掃する。
エアクリーナの吸気口とエンジンの排気口を防水テープでふさぐ。
冷却水(エチレングリコール不凍液と水とのの 50/50 混合液)の量を点検し、凍結を考慮して必要に応じて補給する。
トラクションユニット、カッティングユニット、エンジンをていねいに洗浄する。
タイヤ空気圧を点検する;「タイヤ空気圧を点検する」を参照。
ボルト・ナット類にゆるみがないか点検し、必要な締め付けを行う。
グリス注入部やピボット部全部をグリスアップする。余分のグリスやオイルはふき取る。
塗装のはがれている部分に軽く磨きをかけ、タッチアップする。金属部の変形を修理する。
バッテリーとケーブルに以下の作業を行う:
バッテリー端子からケーブルを外す。
バッテリー本体、端子、ケーブル端部を重曹水とブラシで洗浄する。
腐食防止のために両方の端子部にワセリン(Grafo 112X: P/N 505-47)を薄く塗る。
電極板の劣化を防止するため、60日ごとに24時間かけてゆっくりと充電する。