| Périodicité d'entretien | Procédure d'entretien |
|---|---|
| À chaque utilisation ou une fois par jour |
|
Cette machine est une tondeuse autoportée à cylindre prévue pour les utilisateurs professionnels employés à des applications professionnelles. Elle est principalement conçue pour tondre les pelouses régulièrement entretenues dans les parcs, les terrains de golf, les terrains de sports et les espaces verts commerciaux. Elle n'est pas conçue pour couper les broussailles et autre végétation sur le bord des routes ni pour des utilisations agricoles.
Lisez attentivement cette notice pour apprendre à utiliser et entretenir correctement votre produit, et éviter ainsi de l'endommager ou de vous blesser. Vous êtes responsable de l'utilisation sûre et correcte du produit.
Vous pouvez contacter Toro directement sur www.Toro.com pour tout renseignement concernant un produit ou un accessoire, pour obtenir l'adresse des concessionnaires ou pour enregistrer votre produit.
Pour obtenir des prestations de service, des pièces d'origine Toro ou des renseignements complémentaires, munissez-vous des numéros de modèle et de série du produit et contactez un concessionnaire-réparateur agréé ou le service client Toro. La Figure 1 indique l'emplacement des numéros de modèle et de série du produit sur le longeron avant droit du cadre du produit. Inscrivez les numéros dans l'espace réservé à cet effet.

Les mises en garde de ce manuel soulignent les dangers potentiels et sont signalées par le symbole de sécurité (Figure 2), qui indique un danger pouvant entraîner des blessures graves ou mortelles si les précautions recommandées ne sont pas respectées.

Ce manuel utilise également deux autres termes pour faire passer des informations essentielles : Important, pour attirer l'attention sur des renseignements mécaniques spécifiques et Remarque, pour insister sur des renseignements d'ordre général méritant une attention particulière.
Ce produit est conforme à toutes les directives européennes pertinentes. Pour plus de renseignements, reportez-vous à la Déclaration de conformité spécifique du produit fournie séparément.
Un pare-étincelles est incorporé au silencieux car certaines régions et certains pays en exigent l'usage sur le moteur de la machine.
Les pare-étincelles d'origine Toro sont homologués par le Service des forêts du Ministère de l'Agriculture des États-Unis (USDAFS).
Important: Le moteur de cette machine est équipé d'un pare-étincelles. Vous commettez une infraction à la section 4442 du Code des ressources publiques de Californie si vous utilisez cette machine dans une zone boisée, broussailleuse ou recouverte d'herbe sans l'équiper d'un pare-étincelles en bon état de marche, ou sans que le moteur soit bridé, équipé et entretenu correctement pour prévenir les incendies. Certains autres états ou régions fédérales peuvent être régis par des lois similaires.
Le Manuel du propriétaire du moteur ci-joint est fourni à titre informatif concernant la réglementation de l'Agence américaine pour la protection de l'environnement (EPA) et la réglementation antipollution de l'état de Californie relative aux systèmes antipollution, à leur entretien et à leur garantie. Vous pouvez vous en procurer un nouvel exemplaire en vous adressant au constructeur du moteur.
CALIFORNIE
Proposition 65 - Avertissement
L'état de Californie considère les gaz d'échappement des moteurs diesel et certains de leurs composants comme susceptibles de provoquer des cancers, des malformations congénitales et autres troubles de la reproduction.
L'utilisation de ce produit peut entraîner une exposition à des substances chimiques considérées pas l'état de Californie comme capables de provoquer des cancers, des anomalies congénitales ou d'autres troubles de la reproduction.
Cette machine est conforme ou supérieure aux spécifications de la norme EN ISP 5395:2013 (lorsque les autocollants appropriés sont en place) et de la norme ANSI B71.4-2012 en vigueur au moment de la production.
Cette machine peut occasionner des accidents si elle n'est pas utilisée ou entretenue correctement. Pour réduire les risques d'accidents et de blessures, respectez les consignes de sécurité qui suivent. Tenez toujours compte des mises en garde signalées par le symbole de sécurité et la mention PRUDENCE, ATTENTION ou DANGER. Ne pas respecter ces instructions, c'est risquer de vous blesser, parfois mortellement.
Les instructions qui suivent sont adaptées de la norme ISO 5395:2013 et de la norme ANSI B71.4-2012.
Lisez attentivement le manuel de l'utilisateur et toute autre documentation de formation. Familiarisez-vous avec les commandes, les symboles de sécurité et l'utilisation correcte de la machine.
N'autorisez jamais des enfants, ou des adultes n'ayant pas pris connaissance de ces instructions, à utiliser la tondeuse ou procéder à son entretien. Certaines législations imposent un âge minimum pour l'utilisation de ce type d'appareil.
Ne tondez jamais lorsque des personnes, et surtout des enfants ou des animaux familiers, se trouvent à proximité.
N'oubliez jamais que l'utilisateur est responsable des accidents ou dommages causés à d'autres personnes et à leurs possessions.
Ne transportez pas de passagers.
Tous les utilisateurs et les mécaniciens sont tenus de suivre une formation professionnelle et pratique. Le propriétaire de la machine doit assurer la formation des utilisateurs. La formation doit insister sur les points suivants :
La nécessité de consacrer toute son attention à la conduite lors de l'utilisation d'une machine autoportée.
L'application du frein ne permet pas de regagner le contrôle d'une machine autoportée en cas de problème sur une pente. La perte de contrôle est due le plus souvent :
au manque d'adhérence des roues
à une conduite trop rapide
à un freinage inadéquat
à un type de machine non adapté à la tâche
à l'ignorance de l'importance de la nature du terrain, surtout sur pente
à un attelage incorrect ou à une mauvaise répartition de la charge
Le propriétaire/l'utilisateur est responsable des dommages matériels ou corporels et peut les prévenir.
Portez toujours des chaussures solides à semelles antidérapantes, un pantalon, un casque, des lunettes de protection et des protecteurs d'oreilles pour travailler. Les cheveux longs, les vêtements amples et les bijoux peuvent se prendre dans les pièces mobiles. N'utilisez pas la machine pieds nus ou chaussé de sandales.
Inspectez soigneusement la zone à tondre et enlevez tout objet susceptible d'être projeté par la machine.
Remplacez les silencieux défectueux.
Examinez la zone de travail pour déterminer quels accessoires et équipements vous permettront d'exécuter votre tâche correctement et sans danger. N'utilisez que les accessoires et équipements agréés par le constructeur.
Vérifiez toujours que les commandes de présence de l'utilisateur, les contacteurs de sécurité et les capots de protection sont en place et fonctionnent correctement. N'utilisez pas la machine en cas de mauvais fonctionnement.
Pour éviter de vous blesser ou de causer des dommages matériels, manipulez l'essence avec une extrême prudence. L'essence est extrêmement inflammable et ses vapeurs sont explosives.
Éteignez cigarettes, cigares, pipes et autres sources d'étincelles.
Utilisez exclusivement un bidon à carburant homologué.
N'enlevez jamais le bouchon du réservoir de carburant et n'ajoutez jamais de carburant quand le moteur est en marche.
Laissez refroidir le moteur avant de faire le plein.
Ne faites jamais le plein de carburant à l'intérieur d'un local.
Ne remisez jamais la machine ni les bidons de carburant à proximité d'une flamme nue, d'une source d'étincelles ou d'une veilleuse, telle celle d'un chauffe-eau ou d'autres appareils.
Ne remplissez jamais les bidons de carburant à l'intérieur d'un véhicule ou sur le plateau d'une remorque dont le revêtement est en plastique. Posez toujours les bidons sur le sol, à l'écart du véhicule, avant de les remplir.
Descendez la machine du véhicule ou de la remorque et posez-la à terre avant de remplir le réservoir de carburant. Si ce n'est pas possible, laissez la machine dans le véhicule ou sur la remorque, mais remplissez le réservoir à l'aide d'un bidon, et non directement à la pompe.
Maintenez le pistolet en contact avec le bord du réservoir ou du bidon jusqu'à la fin du remplissage. N'utilisez pas de dispositif de verrouillage du pistolet en position ouverte.
Si du carburant s'est répandu sur vos vêtements, changez-vous immédiatement.
Ne remplissez jamais excessivement le réservoir de carburant. Remettez en place le bouchon du réservoir et serrez-le fermement.
Ne faites pas tourner le moteur dans un espace clos où le monoxyde de carbone et autres gaz d'échappement dangereux risquent de s'accumuler.
Tondez uniquement à la lumière du jour ou avec un bon éclairage artificiel.
Avant de mettre le moteur en marche, débrayez l'entraînement des lames, mettez la transmission au point mort et serrez le frein de stationnement.
Aucune pente n'est absolument sans danger. Le déplacement sur une pente herbeuse demande une attention particulière. Pour éviter le retournement de la machine :
Ne vous arrêtez pas et ne démarrez pas brusquement en montée ou en descente.
Progressez à vitesse réduite sur les pentes et quand vous prenez des virages serrés.
Méfiez-vous des irrégularités de terrain, des obstacles, des ornières et autres dangers cachés.
Ne prenez pas de virages serrés. Faites marche arrière avec prudence.
Utilisez des contrepoids ou lestez les roues lorsque le manuel d'utilisation le recommande.
Méfiez-vous des trous et autres dangers cachés de la zone de travail.
Méfiez-vous de la circulation près des routes et pour les traverser.
Arrêtez la rotation des lames avant de traverser une surface non herbeuse.
Lorsque vous utilisez des accessoires, ne dirigez jamais l'éjection vers qui que ce soit et ne laissez personne s'approcher de la machine en marche.
N'utilisez jamais une machine dont les capots ou les déflecteurs sont défectueux ou dont les protections de sécurité ne sont pas en place. Vérifiez la fixation, le réglage et le fonctionnement de tous les verrouillages de sécurité.
Ne modifiez pas le réglage du régulateur et ne faites pas tourner le moteur à un régime excessif. Un régime moteur excessif peut augmenter les risques d'accidents et de blessures.
Avant de quitter la position d'utilisation :
Arrêtez-vous sur une surface plane et horizontale ;
Désengagez la prise de force et abaissez les accessoires ;
Sélectionnez le point mort et serrez le frein de stationnement.
Coupez le moteur et enlevez la clé de contact.
Débrayez les accessoires lors du transport et quand ils ne servent pas.
Coupez le moteur et débrayez les accessoires :
Avant de rajouter du carburant.
Avant de régler la hauteur de coupe, sauf si ce réglage peut se faire depuis la position d'utilisation.
Avant de dégager des obstructions.
Avant d'inspecter, de nettoyer ou d'effectuer toute opération sur la tondeuse.
Après avoir heurté un obstacle ou si des vibrations inhabituelles se produisent. Recherchez et réparez les dommages éventuels avant de remettre la machine en marche et d'utiliser les accessoires.
Réduisez l'ouverture du papillon pendant la mise à l'arrêt du moteur et coupez l'arrivée de carburant après la tonte si le moteur est équipé d'un robinet d'arrivée de carburant.
N'approchez pas les pieds et les mains des plateaux de coupe.
Avant de faire marche arrière, vérifiez que la voie est libre juste derrière la machine et sur sa trajectoire.
Ralentissez et soyez prudent quand vous changez de direction et quand vous traversez des routes et des trottoirs. Arrêtez les cylindres/rouleaux quand vous avez fini de tondre.
N'utilisez pas la machine sous l'emprise de l'alcool, de drogues ou de médicaments.
La foudre peut causer des blessures graves ou mortelles. Si vous voyez des éclairs ou que vous entendez le tonnerre à proximité, n'utilisez pas la machine et mettez-vous à l'abri.
Procédez avec prudence pour charger la machine sur une remorque ou un camion, ainsi que pour la décharger.
Soyez prudent à l'approche de tournants sans visibilité, de buissons, d'arbres ou d'autres objets susceptibles de masquer la vue.
Gardez tous les écrous, boulons et vis toujours bien serrés pour garantir l'utilisation sûre de la machine.
S'il reste du carburant dans le réservoir, ne remisez pas la machine dans un bâtiment où les vapeurs risquent de rencontrer une flamme nue ou une étincelle.
Laissez refroidir le moteur avant de ranger la machine dans un local fermé.
Pour réduire les risques d'incendie, débarrassez le moteur, le silencieux, le bac à batterie et le lieu de stockage du carburant de tout excès de graisse, débris d'herbe et feuilles.
Maintenez toutes les pièces en bon état de marche, et toutes les fixations et tous les raccords hydrauliques bien serrés. Remplacez toutes les pièces et tous les autocollants usés ou endommagés.
La vidange du réservoir de carburant doit impérativement s'effectuer à l'extérieur.
Soyez prudent pendant le réglage de la machine pour éviter de vous coincer les doigts entre les lames en rotation et les pièces fixes de la machine.
Attention, sur les machines à plusieurs cylindres/rouleaux, la rotation d'un cylindre/rouleau peut entraîner les autres.
Débrayez les commandes, abaissez les plateaux de coupe, serrez le frein de stationnement, arrêtez le moteur et enlevez la clé de contact. Attendez l'arrêt complet de toutes les pièces mobiles avant de régler, de nettoyer ou de réparer la machine.
Pour éviter les risques d'incendie, enlevez les débris d'herbe coupée et autres agglomérés sur les plateaux de coupe, les dispositifs d'entraînement, les silencieux et le moteur. Nettoyez les coulées éventuelles d'huile ou de carburant.
Utilisez des chandelles pour soutenir les composants au besoin.
Libérez la pression emmagasinée dans les composants avec précaution.
Débranchez la batterie avant d'entreprendre des réparations. Débranchez toujours la borne négative de la batterie avant la borne positive. Rebranchez toujours la borne positive avant la borne négative.
Examinez toujours les cylindres/rouleaux avec précaution. Portez des gants et procédez toujours avec précaution pendant leur entretien.
N'approchez jamais les mains ou les pieds des pièces mobiles. Dans la mesure du possible, évitez de procéder à des réglages sur la machine quand le moteur tourne.
Chargez les batteries dans un endroit dégagé et bien aéré, à l'écart des flammes ou sources d'étincelles. Débranchez le chargeur du secteur avant de le connecter à la batterie ou de l'en déconnecter. Portez des vêtements de protection et utilisez des outils isolés.
Procédez avec prudence pour charger la machine sur une remorque ou un camion, ainsi que pour la décharger.
Utilisez des rampes d'une seule pièce pour charger la machine sur une remorque ou un véhicule.
Arrimez solidement la machine au moyen de sangles, chaînes, câbles ou cordes. Les sangles avant et arrière doivent être dirigées vers le bas et l'extérieur de la machine.
La liste qui suit contient des renseignements de sécurité spécifiques aux produits Toro ou d'autres renseignements relatifs à la sécurité non inclus dans les normes CEN, ISO et ANSI mais dont il est important d'avoir connaissance.
Ce produit peut sectionner les mains ou les pieds et projeter des objets. Respectez toujours toutes les consignes de sécurité pour éviter des blessures graves ou mortelles.
L'utilisation de ce produit à d'autres fins que celle qui est prévue peut être dangereuse pour l'utilisateur et les personnes à proximité.
Les gaz d'échappement contiennent du monoxyde de carbone, un gaz inodore mortel.
Ne faites pas tourner le moteur dans un local fermé.
Apprenez à arrêter le moteur rapidement.
N'utilisez pas la machine chaussé de chaussures légères ou de sport.
Le port de chaussures de sécurité et d'un pantalon est recommandé et parfois exigé par certaines ordonnances et réglementations d'assurances locales.
Manipulez le carburant avec prudence. Essuyez le carburant éventuellement répandu.
Vérifiez chaque jour le fonctionnement des contacteurs de sécurité. En cas de défaillance d'un contacteur, remplacez-le avant d'utiliser la machine.
Prenez place sur le siège avant de mettre le moteur en marche.
L'utilisation de la machine exige une grande vigilance. Pour éviter de perdre le contrôle :
Ne vous approchez pas des fosses de sable, fossés, berges ou autres accidents de terrain.
Ralentissez avant de prendre des virages serrés. Évitez les arrêts et les démarrages brusques.
Cédez toujours la priorité à l'approche d'une route ou pour la traverser.
Serrez toujours les freins de service lorsque vous descendez une pente pour limiter la vitesse de déplacement en marche avant et pour garder le contrôle de la machine.
Si la machine est équipée d'un système de protection antiretournement (ROPS), ne l'enlevez jamais et utilisez toujours la ceinture de sécurité.
Élevez les plateaux de coupe pour vous rendre d'une zone de travail à l'autre.
Ne touchez pas le moteur, le silencieux ou le tuyau d'échappement si le moteur tourne ou vient de s'arrêter car vous risquez de vous brûler.
La machine est susceptible de se retourner ou de se renverser quelle que soit la pente, mais le risque augmente avec l'angle de la pente. Évitez de travailler sur des pentes très raides.
Abaissez les plateaux de coupe avant de descendre une pente pour garder le contrôle de la direction.
Embrayez lentement la transmission aux roues et gardez toujours les pied sur la pédale de déplacement, surtout dans les descentes.
Servez-vous de la position de marche arrière sur la pédale de déplacement pour freiner.
Si la machine cale en montée, ne faites pas demi-tour. Faites toujours marche arrière lentement et en ligne droite.
Arrêtez de tondre si une personne ou un animal apparaît subitement dans la zone de travail. Une utilisation imprudente associée à l'état du terrain, aux ricochets possibles d'objets ou à des capots de sécurité mal installés peut donner lieu à des projections d'objets susceptibles de causer des blessures. Ne recommencez pas à tondre avant d'avoir dégagé la zone de travail.
Vérifiez le serrage de tous les raccords hydrauliques, ainsi que l'état de toutes les conduites et tous les flexibles hydrauliques avant de mettre le système sous pression.
N'approchez pas les mains ni aucune autre partie du corps des fuites en trou d'épingle ou des gicleurs d'où sort du liquide hydraulique sous haute pression. Utilisez un morceau de carton ou de papier pour détecter les fuites, jamais les mains. Les fuites de liquide hydraulique sous pression peuvent transpercer la peau et causer des blessures graves. Consultez immédiatement un médecin si du liquide est injecté sous la peau.
Coupez le moteur et abaissez les plateaux de coupe et les accessoires pour dépressuriser complètement le système hydraulique avant de procéder à des débranchements ou des réparations.
Vérifiez régulièrement que les conduites d'alimentation sont bien serrées et en bon état. Serrez-les ou réparez-les au besoin.
Si le moteur doit tourner pour effectuer un réglage, n'approchez pas les mains, les pieds et autres parties du corps ni les vêtements des plateaux de coupe, des accessoires et des pièces mobiles.
Pour garantir la sécurité et la précision du fonctionnement, demandez à un distributeur Toro agréé de contrôler le régime moteur maximum avec un compte-tours.
Si la machine nécessite une réparation importante ou si vous avez besoin de renseignements, contactez un distributeur Toro agréé.
Utilisez uniquement des accessoires et pièces de rechange agréés par Toro. L'utilisation d'accessoires non agréés risque d'annuler la garantie.
Cette machine a un niveau de puissance acoustique garanti de 101 dBA, qui comprend une valeur d'incertitude (K) de 1 dBA.
La puissance acoustique est déterminée en conformité avec les procédures énoncées dans la norme ISO 11094.
Cette machine produit au niveau de l'oreille de l'utilisateur une pression acoustique de 83 dBA, qui comprend une valeur d'incertitude (K) de 1 dBA.
La pression acoustique est déterminée en conformité avec les procédures énoncées dans la norme EN ISO 5395:2013.
Mains-Bras
Niveau de vibrations mesuré pour la main droite = 0,3 m/s2
Niveau de vibrations mesuré pour la main gauche = 0,3 m/s2
Valeur d'incertitude (K) = 0,16 m/s2
Les valeurs mesurées sont déterminées en conformité avec les procédures énoncées dans la norme EN ISO 5395:2013.
Corps de l'utilisateur
Niveau de vibrations mesuré = 0,2 m/s2
Valeur d'incertitude (K) = 0,1 m/s2
Les valeurs mesurées sont déterminées en conformité avec les procédures énoncées dans la norme EN ISO 5395:2013.
![]() |
Des autocollants de sécurité et des instructions bien visibles par l'opérateur sont placés près de tous les endroits potentiellement dangereux. Remplacez tout autocollant endommagé ou manquant. |























Note: Les côtés gauche et droit de la machine sont déterminés d'après la position d'utilisation normale.
Selon la largeur des unités de coupe montés sur le groupe de déplacement, réglez les rouleaux de support comme suit :
Pièces nécessaires pour cette opération:
| Autocollant de sécurité | 1 |
Sur les machines devant satisfaire à la norme CE, apposez l'autocollant de sécurité Réf. 120-1683 sur l'autocollant Réf. 120-1686.
Pièces nécessaires pour cette opération:
| Patte de verrouillage du capot | 1 |
| Rivet | 2 |
| Vis (¼ x 2") | 1 |
| Rondelle plate (1/4 po) | 2 |
| Contre-écrou (1/4 po) | 1 |
Décrochez le verrou du capot de son support (Figure 4).

Retirez les (2) rivets qui fixent le support du verrou au capot (Figure 5). Enlevez le support du verrou du capot.

Alignez les trous de montage et positionnez le support de verrouillage CE et le support du verrou de capot sur le capot. Le support du verrou doit être appuyé contre le capot (Figure 5). Ne retirez pas le boulon et l'écrou du bras du support de verrouillage.

Placez les rondelles en face des trous à l'intérieur du capot
Rivez les supports et les rondelles sur le capot (Figure 6).
Accrochez le verrou sur son support (Figure 7).

Vissez le boulon dans l'autre bras du support de verrou pour bloquer le verrou en position (Figure 8). Serrez fermement le boulon mais pas l'écrou.

Pièces nécessaires pour cette opération:
| Guide de flexible avant (côté droit) | 1 |
| Guide de flexible avant (côté gauche) | 1 |
Déposez les moteurs de cylindre des supports de transport.
Déposez les supports de transport et mettez-les au rebut.
Sortez les unités de coupe des cartons d'expédition. Procédez à l'assemblage et au réglage comme expliqué dans le Manuel de l'utilisateur des unités de coupe.
Veillez à monter le contrepoids (Figure 9) du bon côté de l'unité de coupe, comme expliqué dans le Manuel de l'utilisateur des unités de coupe.

Tous les plateaux de coupe sont expédiés avec le ressort de compensation monté sur le côté droit du plateau de coupe. Le ressort de compensation doit être monté sur l'unité de coupe du même côté que le moteur d'entraînement de cylindre. Repositionnez le ressort de compensation comme suit :
Retirez les 2 boulons de carrosserie et les écrous qui fixent le support de tige aux pattes de l'unité de coupe (Figure 10).

Retirez l'écrou à embase qui fixe le boulon du tube de ressort à la patte du bâti porteur (Figure 10). Déposez l'ensemble.
Montez le boulon du tube de ressort sur la patte opposée du bâti porteur et fixez-le en position avec l'écrou à embase. La tête du boulon doit être à l'extérieur de la patte, comme illustré à la Figure 11.

Montez le support de tige sur les pattes de l'unité de coupe à l'aide des boulons de carrosserie et des écrous (Figure 11). De plus, sur le plateau de coupe, montez le guide de flexible gauche devant les pattes du plateau quand vous reposez le support de tige (Figure 13).
Important: Sur le plateau nº 4 (avant gauche) ou nº 5 (avant droit), utilisez les écrous de fixation du support de tige pour monter les guides de flexible devant les pattes du plateau de coupe. Les guides de flexible doivent être inclinés vers le plateau de coupe central (Figure 12 à Figure 14).



Note: Lors de la mise en place ou du retrait des unités de coupe, vérifiez que la goupille fendue est insérée dans le trou de la tige de ressort situé près du support de la tige. Sinon, la goupille fendue doit être placée dans le trou au bout de la tige.
Augmentez la direction des plateaux de coupe arrière en retirant les (2) entretoises de pivot, vis à tête creuse et contre-écrous à embase (Figure 15) des bâtis porteur des plateaux de coupe arrière (n° 2 et n° 3) (Figure 12).

Abaissez complètement les bras de relevage.
Enduire l'arbre du bâti porter de graisse propre (Figure 16).

Pour les plateaux de coupe avant, poussez un plateau de coupe sous le bras de relevage tout en insérant l'arbre du bâti porteur dans la chape de pivot du bras de relevage (Figure 16). Positionnez correctement la rondelle de butée sur l'arbre du bâti porteur.
Fixez l'arbre du bâti porteur à la chape du bras de relevage avec la goupille Klik (Figure 16).
Pour verrouiller (fixer) la direction sur les plateaux de coupe, fixez la chape de pivot au bâti porteur avec la goupille élastique (Figure 17).

Note: La direction fixe est recommandée pour tondre à flanc de pente.
Procédez comme suit sur pour les plateaux de coupe arrière lorsque la hauteur de coupe est supérieure à 19 mm.
Retirez la goupille à anneau et la rondelle qui fixent l'axe de pivot du bras de relevage au bras de relevage, et sortez l'axe de pivot du bras (Figure 18).

Insérez la chape du bras de relevage sur l'arbre du bâti porteur (Figure 16).
Insérez l'axe du bras de relevage dans le bras de relevage et fixez-le à l'aide de la rondelle et de la goupille à anneau (Figure 18).
Fixez la chaîne du bras de relevage au support de la chaîne avec la goupille à fermoir (Figure 19). Utilisez le nombre de maillons mentionné dans le Manuel de l'utilisateur du plateau de coupe.

Enduisez de graisse propre l'arbre cannelé du moteur de cylindre.
Huilez le joint torique du moteur de cylindre et posez-le sur la bride du moteur.
Montez le moteur en le tournant dans le sens horaire jusqu'à ce que les brides passent les boulons (Figure 20). Tournez le moteur dans le sens antihoraire jusqu'à ce que les brides encerclent les boulons, puis serrez les boulons.
Important: Vérifiez que les flexibles du moteur de cylindre ne sont pas vrillés ni coudés et ne risquent pas d'être coincés.

Le ressort de compensation (Figure 21) transfère aussi le poids du rouleau avant au rouleau arrière. (Cela évite la formation d'ondulations à la surface de la pelouse.)
Important: Effectuez le réglage des ressorts quand le plateau de coupe est monté sur le groupe de déplacement, dirigé en avant et abaissé au sol.
Vérifiez que la goupille fendue est insérée dans le trou de la tige de ressort (Figure 21).
Note: Lors de l'entretien du plateau de coupe, placez la goupille fendue dans le trou de la tige de ressort, près du ressort de compensation.

Serrez les écrous hexagonaux à l'extrémité avant de la tige de ressort jusqu'à ce que la longueur du ressort comprimé soit égale à 15,9 cm (Figure 21).
Note: Si vous travaillez sur un mauvais terrain, réduisez la longueur du ressort de 13 mm. Le suivi des contours du terrain sera légèrement diminué.
Note: Le réglage de compensation doit être réinitialisé si la hauteur de coupe ou l'agressivité de coupe est modifiée.
Pièces nécessaires pour cette opération:
| Béquille du plateau de coupe | 1 |
Chaque fois que le plateau de coupe doit être basculé pour exposer la contre-lame et le cylindre, utilisez la béquille pour soutenir l'arrière du plateau et empêcher ainsi les écrous situés à l'arrière des vis de réglage de la barre d'appui de reposer sur la surface de travail (Figure 22).

Fixez la béquille au support de chaîne avec la goupille à fermoir (Figure 23).

Vous devez graisser la machine avant de l'utiliser pour garantir une bonne lubrification. Voir la section Lubrification. Si la machine n'est pas graissée correctement, des pannes prématurées de pièces importantes se produiront.
Contrôlez le niveau de lubrifiant dans le pont arrière avant de mettre le moteur en marche pour la première fois ; voir Contrôle du niveau de lubrifiant du pont arrière à la section Entretien de la transmission.
Contrôlez le niveau du liquide hydraulique avant de mettre le moteur en marche pour la première fois ; voir Contrôle du niveau du liquide hydraulique à la section Utilisation.
Contrôlez le niveau d'huile moteur avant et après la premier démarrage du moteur ; voir Contrôle du niveau d'huile moteur à la section Utilisation.
Pièces nécessaires pour cette opération:
| Gabarit | 1 |
Utilisez le gabarit pour régler le plateau de coupe. Pour les procédures de réglage, reportez-vous au Manuel de l'utilisateur du plateau de coupe (Figure 24).

Deux pédales au pied (Figure 25) commandent les freins de roues individuels pour faciliter le braquage et l'adhérence sur les flancs des pentes.
Le verrou de blocage (Figure 25) relie les pédales entre elles pour serrer le frein de stationnement.
Pour serrer le frein de stationnement (Figure 25), reliez les pédales ensemble à l'aide du verrou de blocage, et enfoncez la pédale de frein droite tout en engageant la pédale actionnée en bout de pied. Pour desserrer le frein de stationnement, appuyez sur une des pédales de frein jusqu'à ce que le verrou se rétracte.

La pédale de déplacement (Figure 25) commande le déplacement en marche avant et arrière. Appuyez sur le haut de la pédale pour avancer et sur le bas pour faire marche arrière. La vitesse de déplacement varie selon que la pédale est plus ou moins enfoncée. Pour vous déplacer à la vitesse maximale à vide, appuyez sur la pédale après avoir placé la commande d'accélérateur en position Haut régime.
Pour vous immobiliser, relâchez la pédale de déplacement et laissez-la revenir à la position centrale.
Pour incliner le volant vers vous, appuyez sur la pédale (Figure 25) et tirez la colonne de direction vers vous à la position qui vous convient le mieux, puis relâchez la pédale.
Lorsque le limiteur de vitesse de tonte (Figure 26) est relevé, il régule la vitesse de tonte et permet d'engager les plateaux de coupe. Chaque entretoise règle la vitesse de tonte de 0,8 km/h. Plus vous rajoutez d'entretoises sur le boulon, plus la vitesse de tonte sera réduite. Pour le transport, basculez le limiteur de vitesse en arrière pour obtenir la vitesse de transport maximale.
Réglez les vis (Figure 26) pour limiter la course de la pédale de déplacement en marche avant ou arrière et limiter la vitesse de déplacement.
Important: La vis du limiteur de vitesse doit arrêter la pédale de déplacement avant que la pompe soit arrivée en bout de course, sinon la pompe risque d'être endommagée.

Ce levier (Figure 27) relève et abaisse les plateaux de coupe et démarre/arrête également les têtes de coupe lorsque celles-ci sont activées en mode tonte. Les têtes de coupe ne peuvent pas être abaissées lorsque le levier de tonte/transport est en position transport.
Le commutateur à clé (Figure 27) a trois positions : arrêt, contact/préchauffage et démarrage.
L'écran LCD de l'InfoCenter affiche des informations sur votre machine, comme l'état de fonctionnement, ainsi que divers diagnostics et autres renseignements concernant la machine (Figure 27).
La commande de PDF (Figure 27) a 2 positions : sortie (démarrage) et rentrée (arrêt). Tirez sur le bouton de PDF pour engager les lames des plateaux de coupe. Appuyez sur le bouton pour désengager les lames des plateaux de coupe.

Déplacez la commande d'accélérateur (Figure 27) en avant pour augmenter le régime moteur, et en arrière pour le diminuer.
Pivotez l'interrupteur vers le bas pour allumer les phares (Figure 27).
La prise d'alimentation (Figure 28) sert à alimenter les accessoires électriques de 12 volts en option.

Utilisez le support de sac (Figure 28) pour le rangement.
Utilisez les leviers de rodage pour effectuer le rodage des cylindres (Figure 29).

Tirez sur le levier pour faire coulisser le siège en avant ou en arrière (Figure 30).
Tournez le bouton pour régler l'angle de l'accoudoir (Figure 30).
Déplacez le levier pour ajuster l'angle du dossier (Figure 30).
Elle indique quand le siège est réglé pour le poids de l'utilisateur (Figure 30). Le réglage en hauteur est obtenu en plaçant la suspension dans la zone verte.

Il permet de régler le siège en fonction du poids de l'utilisateur (Figure 30). Tirez sur le levier pour augmenter la pression d'air et abaissez-le pour réduire la pression d'air. Le réglage est correct lorsque la jauge de poids se trouve dans la zone verte.
L'écran LCD de l'InfoCenter affiche des renseignements relatifs à la machine, comme l'état de fonctionnement, ainsi que divers diagnostics et autres données concernant la machine (Figure 31). L'InfoCenter comporte un écran de démarrage et un écran d'information principal. Vous pouvez alterner entre l'écran de démarrage et l'écran d'information principal à tout moment en appuyant sur l'une des touches de l'InfoCenter puis en sélectionnant la flèche de direction appropriée.

Bouton gauche : bouton d'accès aux menus/de retour – appuyez sur ce bouton pour accéder aux menus de l'InfoCenter. Il permet également de revenir en arrière et de quitter le menu actuellement utilisé.
Bouton central – utilisez ce bouton pour faire défiler les menus.
Bouton droit – utilisez ce bouton pour ouvrir un menu lorsqu'une flèche à droite indique un contenu supplémentaire.
Inversion manuelle du ventilateur – activée en appuyant sur les boutons gauche et droit simultanément.
Avertisseur – activé lors de l'abaissement des unités ou en cas d'alertes et d'anomalies.
Note: Chaque bouton peut changer de fonction selon les besoins du moment. Chaque bouton est repéré par une icône illustrant sa fonction actuelle.
| SERVICE DUE | Indique quand un entretien programmé doit être effectué |
![]() | Icône d'information |
![]() | Compteur horaire |
![]() | Haut régime |
![]() | Basse vitesse |
![]() | Inversion du ventilateur – indique quand le sens de rotation du ventilateur est inversé |
![]() | Chauffage d'admission d'air actif |
![]() | Levage des unités de coupe |
![]() | Abaissement des unités de coupe |
![]() | L'utilisateur doit s'asseoir sur le siège |
![]() | Témoin de frein de stationnement – indique quand le frein de stationnement est serré |
![]() | Identifie la gamme Haute |
![]() | Point mort |
![]() | Identifie la gamme Basse |
![]() | Thermomètre de liquide de refroidissement – indique la température du liquide de refroidissement en ºC ou ºF |
![]() | Température (chaude) |
![]() | Refusé ou non autorisé |
![]() | La PDF est engagée |
![]() | Démarrage du moteur |
![]() | Arrêt ou arrêt d'urgence |
![]() | Moteur |
![]() | Commutateur d'allumage |
![]() | Indique l'abaissement des unités de coupe |
![]() | Indique le levage des unités de coupe |
![]() | Code PIN |
![]() | Température d'huile hydraulique – indique la température de l'huile hydraulique |
![]() | Bus CAN |
![]() | InfoCenter |
![]() | Mauvais fonctionnement ou défaillance |
![]() | Ampoule |
![]() | Sortie du contrôleur TEC ou câble de commande en faisceau |
![]() | Haute : supérieure à la gamme permise |
![]() | Basse : inférieure à la gamme permise |
/![]() | Hors gamme |
![]() | Interrupteur |
![]() | L'utilisateur doit relâcher l'interrupteur |
![]() | L'utilisateur doit passer à l'état indiqué |
| Plusieurs symboles sont souvent associés pour former des phrases. Quelques exemples sont donnés ci-après | |
![]() | L'utilisateur doit mettre la machine au point mort |
![]() | Démarrage du moteur refusé |
![]() | Arrêt du moteur |
![]() | Liquide de refroidissement moteur trop chaud |
![]() | Surchauffe de l'huile hydraulique |
![]() | S'asseoir ou serrer le frein de stationnement |
Pour accéder au système de menus InfoCenter, appuyez sur le bouton d'accès au menu depuis l'écran principal. Cela vous amènera au menu principal. Reportez-vous aux tableaux ci-après pour le synopsis des options disponibles dans les différents menus :
| Menu principal | |
| Option de menu | Description |
| Anomalies | Le menu Anomalies contient la liste des anomalies récentes de la machine. Reportez-vous au Manuel d'entretien ou adressez-vous à votre distributeur Toro agréé pour plus de renseignements sur le menu Anomalies et sur les données qu'il contient. |
| Entretien | Le menu Entretien contient des renseignements sur la machine, comme le nombre d'heures de fonctionnement et d'autres renseignements de ce type. |
| Diagnostics | Le menu Diagnostics indique l'état de chaque contacteur, capteur et sortie de commande de la machine. Vous pouvez vous en servir pour détecter certains problèmes, car il vous indiquera rapidement quelles commandes de la machine sont activées ou désactivées. |
| Réglages | Le menu Réglages vous permet de personnaliser et modifier les variables de configuration sur l'écran de l'InfoCenter. |
| À propos | Le menu À propos indique le numéro de modèle, le numéro de série et la version logicielle de votre machine. |
| Entretien | |
| Option de menu | Description |
| Hours | Indique le nombre d'heures de fonctionnement de la machine, du moteur et de la PDF, ainsi que le nombre d'heures de transport et restant avant le prochain entretien. |
| Counts | Indique les différents décomptes de la machine. |
| Diagnostics | |
| Option de menu | Description |
| Cutting Units | Indique les entrées, qualificateurs et sorties pour abaisser et lever les unités de coupe. |
| Hi/Low Range | Indique les entrées, qualificateurs et sorties pour la conduite en mode transport. |
| PTO | Indique les entrées, qualificateurs et sorties pour l'activation du circuit de PDF. |
| Engine Run | Indique les entrées, qualificateurs et sorties pour le démarrage du moteur. |
| Backlap | Indique les entrées, qualificateurs et sorties pour utiliser la fonction de rodage. |
| Réglages | |
| Option de menu | Description |
| Unités | Cette option permet de choisir les unités utilisées sur l'InfoCenter. Les unités peuvent être métriques ou impériales |
| Langue | Cette option permet de choisir la langue utilisée sur l'InfoCenter*. |
| Rétroéclairage de l'écran LCD | Cette option permet de régler la luminosité de l'affichage LCD. |
| Contraste | Cette option permet de régler le contraste de l'affichage LCD. |
| Vitesse de rodage des cylindres avant | Commande la vitesse des cylindres avant en mode rodage. |
| Vitesse de rodage des cylindres arrière | Commande la vitesse des cylindres arrière en mode rodage. |
| Menus protégés | Permet au responsable/mécanicien d'accéder aux menus protégés par la saisie d'un code de passe. |
| Ralenti automatique | Commande la durée autorisée avant le retour du moteur à bas régime quand la machine est à l'arrêt. |
| Nombre de lames | Commande le nombre de lames sur le cylindre pour la vitesse du cylindre. |
| Vitesse de tonte | Commande les vitesse de déplacement de la machine pour déterminer la vitesse des cylindres. |
| Hauteur de coupe | Commande la hauteur de coupe pour déterminer la vitesse des cylindres. |
| TR/MIN cyl. AV | Indique la position de vitesse calculée des cylindres avant. Les cylindres peuvent aussi être réglés manuellement. |
| TR/MIN cyl. AR | Indique la position de vitesse calculée des cylindres arrière. Les cylindres peuvent aussi être réglés manuellement. |
* Seul le texte « relatif à l'utilisateur » est traduit. Les écrans Anomalies, Entretien et Diagnostics sont « relatifs à l'entretien ». Les titres seront dans la langue choisie, mais les options de menu sont en anglais.
| À propos | |
| Option de menu | Description |
| Modèle | Indique le numéro de modèle de la machine. |
| Nº de série | Indique le numéro de série de la machine. |
| Version du contrôleur machine | Indique la version du logiciel du contrôleur principal. |
| Version de l'InfoCenter | Indique la version du logiciel de l'InfoCenter. |
| Bus CAN | Indique l'état du bus de communication de la machine. |
Sept réglages de configuration du fonctionnement peuvent être sélectionnés dans le menu Réglages de l'InfoCenter : nombre de lames, vitesse de tonte, hauteur de coupe, TR/MIN cyl. AV, TR/MIN cyl. AR. Ces réglages peuvent être bloqués à partir du menu protégé.
Note: À la livraison de la machine, le code d'accès initial est programmé par votre distributeur.
Pour accéder aux paramètres du menu protégé
Depuis le Menu principal, naviguez jusqu'au menu Réglages et appuyez sur le bouton droit.
Dans le menu Réglages, naviguez jusqu'au Menu protégé et appuyez sur le bouton droit.
Pour entrer le code d'accès, utilisez le bouton central pour saisir le premier chiffre, puis appuyez sur le bouton droit pour passer au chiffre suivant.
Utilisez le bouton central pour saisir le deuxième chiffre, puis appuyez sur le bouton droit pour passer au chiffre suivant.
Utilisez le bouton central pour saisir le troisième chiffre, puis appuyez sur le bouton droit pour passer au chiffre suivant.
Utilisez le bouton central pour saisir le quatrième chiffre, puis appuyez sur le bouton droit.
Appuyez sur le bouton central pour entrer le code.
Si le code a été accepté et que le menu protégé est « déverrouillé », « PIN » apparaît dans le coin supérieur droit de l'écran.
Il est possible de modifier la capacité à visualiser et modifier les paramètres du menu protégé. Après avoir ouvert le menu protégé, naviguez jusqu'à « Protéger les param. ». À l'aide du bouton droit, vous pouvez changer l'option « Protéger les param. » à OFF (désactivée) afin de visualiser et modifier les réglages du menu protégé sans avoir à saisir le code d'accès. Si vous changez l'option « Protéger les param. » à ON (activée), les options protégées seront dissimulées et vous devrez saisir un code d'accès pour pouvoir modifier les réglages du menu protégé. Après avoir programmé le code d'accès, il est nécessaire de couper le contact de la machine pour activer et sauvegarder cette fonction.
Note: Si vous avez oublié ou égaré le code d'accès, adressez-vous à votre distributeur.
Dans le menu Réglages, naviguez jusqu'à l'option Nombre de lames
Appuyez sur le bouton droit pour choisir des cylindres à 5, 8 ou 11 lames.
Dans le menu Réglages, naviguez jusqu'à l'option Vitesse de tonte
Appuyez sur le bouton droit pour sélectionner la vitesse de tonte.
À l'aide du bouton central et droit, sélectionnez la vitesse de tonte appropriée définie sur le limiteur de vitesse de tonte mécanique de la pédale de déplacement.
Appuyez sur le bouton gauche pour quitter l'option de vitesse de tonte et sauvegarder le réglage.
Dans le menu Réglages, naviguez jusqu'à l'option Hauteur de coupe
Appuyez sur le bouton droit pour sélectionner la hauteur de coupe.
Utilisez les boutons central et droit pour sélectionner la hauteur de coupe voulue. (Si le réglage exact de hauteur de coupe n'est pas affiché, sélectionnez la valeur la plus proche dans la liste proposée).
Appuyez sur le bouton gauche pour quitter l'option de hauteur de coupe et sauvegarder le réglage.
Bien que les vitesses des cylindres avant et arrière soient calculées en entrant le nombre de lames, la vitesse de tonte et la hauteur de coupe dans l'InfoCenter, le réglage peut être modifié manuellement pour tenir compte des différentes conditions de tonte.
Pour changer les réglages de vitesse des cylindres, naviguez jusqu'à l'option TR/MIN cyl. AV, TR/MIN cyl. AR ou les deux.
Appuyez sur le bouton droit pour modifier la vitesse des cylindres. Une fois le réglage modifié, la vitesse des cylindres (calculée d'après le nombre de lames, la vitesse de tonte et la hauteur de coupe entrées précédemment) reste affichée, mais la nouvelle valeur est également affichée.
Note: Les spécifications et la conception peuvent faire l'objet de modifications sans préavis.
| Largeur de coupe, plateaux de coupe de 69 cm | 307 cm |
| Largeur de coupe, plateaux de coupe de 81 cm | 320 cm |
| Largeur hors tout, plateaux de coupe de 69 cm | 345 cm |
| Largeur hors tout, plateaux de coupe de 81 cm | 358 cm |
| Largeur hors tout, unités de coupe levées (transport) | 239 cm |
| Longueur hors tout | 370 cm |
| Hauteur avec ROPS | 220 cm |
| Voie avant | 229 cm |
| Voie arrière | 141 cm |
| Empattement | 171 cm |
| Poids net (sans plateaux de coupe et sans pleins) | 1 574 kg |
Une sélection d'outils et d'accessoires agréés par Toro est disponible pour augmenter et améliorer les capacités de la machine. Contactez votre concessionnaire-réparateur ou distributeur agréé ou rendez-vous sur www.Toro.com pour obtenir une liste de tous les accessoires et outils agréés.
Note: Les côtés gauche et droit de la machine sont déterminés d'après la position d'utilisation normale.
Cette machine produit au niveau de l'oreille de l'utilisateur un niveau sonore de plus de 85 dBA, susceptible d'entraîner des déficiences auditives en cas d'exposition prolongée.
Portez des protecteurs d'oreilles quand vous utilisez la machine.
Si vous laissez la clé dans le commutateur d'allumage, quelqu'un pourrait mettre le moteur en marche accidentellement et vous blesser gravement, ainsi que toute personne à proximité.
Avant tout entretien, retirez la clé de contact.
| Périodicité d'entretien | Procédure d'entretien |
|---|---|
| À chaque utilisation ou une fois par jour |
|
Le moteur est expédié avec de l'huile dans le carter. Vérifiez toutefois le niveau d'huile avant et après la première mise en marche du moteur.
La capacité approximative du carter moteur avec filtre est de 9,5 litres.
Utilisez une huile moteur de qualité qui répond aux spécifications suivantes :
Classification API requise : CH-4, CI-4 ou mieux.
Huile préférée : SAE 15W-40 (au-dessus de -18 ºC)
Autre huile possible : SAE 10W-30 ou 5W-30 (toutes températures)
Note: L'huile moteur Toro Premium est en vente chez votre distributeur avec la viscosité 15W-40 ou 10W-30. Consultez le catalogue de pièces pour les numéros de référence.
Note: Le meilleur moment pour vérifier le niveau d'huile moteur est en début de journée, quand le moteur est froid avant sa mise en marche. Si le moteur a déjà tourné, attendez au moins 10 minutes que l'huile retourne dans le carter avant de contrôler le niveau. Si le niveau d'huile est à la même hauteur ou en dessous du repère minimum sur la jauge, faites l'appoint pour l'amener au repère maximum. Ne remplissez pas excessivement. Si le niveau d'huile se situe entre les repères maximum et minimum, il n'est pas nécessaire de faire l'appoint.
Garez la machine sur une surface plane et horizontale.
Déverrouillez les loquets du capot et ouvrez le capot (Figure 32).

Sortez la jauge, essuyez-la sur un chiffon propre, replacez-la dans le goulot de remplissage, puis ressortez-la.
Le niveau d'huile doit se situer dans la plage de sécurité (Figure 33).

Si le niveau d'huile ne se situe pas dans la plage de sécurité, enlevez le bouchon de remplissage (Figure 34) et faites l'appoint jusqu'à ce que le niveau correct soit atteint. Ne remplissez pas excessivement.

Note: Si vous utilisez une huile différente, vidangez complètement le carter moteur avant de refaire le plein.
Remettez le bouchon de remplissage et la jauge en place.
Refermez et verrouillez le capot.
| Périodicité d'entretien | Procédure d'entretien |
|---|---|
| À chaque utilisation ou une fois par jour |
|
Vérifiez le niveau du liquide de refroidissement au début de chaque journée de travail. La capacité su système est de 12,3litres.
Enlevez le bouchon de radiateur avec précaution.
Si le moteur vient de tourner, le liquide de refroidissement sous pression peut s'échapper et vous brûler.
N'enlevez pas le bouchon du radiateur si le moteur tourne.
Servez-vous d'un chiffon pour ouvrir le bouchon du radiateur et desserrez-le lentement pour laisser la vapeur s'échapper.

Vérifiez le niveau du liquide de refroidissement dans le radiateur. Le radiateur doit être rempli jusqu'en haut du goulot de remplissage et le vase d'expansion jusqu'au repère maximum (Figure 35).
Si le niveau du liquide de refroidissement est trop bas, ajoutez un mélange 50/50 d'eau et d'antigel à l'éthylène glycol. N'utilisez pas seulement de l'eau pure ni des liquides de refroidissement à base d'alcool ou de méthanol.
Remettez en place les bouchons du radiateur et du vase d'expansion.
Capacité du réservoir de carburant : 83 litres.
Utilisez uniquement du gazole propre et neuf à très faible (<15 ppm) teneur en soufre, conforme aux spécifications de la norme ASTM D975 ou EN 590. L'indice minimum de cétane doit être de 40. Pour garantir la fraîcheur du carburant, n'achetez pas plus que la quantité normalement consommée en 6 mois.
Important: L'utilisation de carburant qui n'est pas à très faible teneur en soufre endommagera le système antipollution du moteur.
Utilisez du gazole de qualité été (nº 2-D) si la température ambiante est supérieure à -7 ºC et du gazole de qualité hiver (nº 1-D ou mélange nº 1-D/2-D) si la température ambiante est inférieure à -7 ºC. L'usage de carburant de qualité hiver à basses températures réduit le point d'éclair et les caractéristiques d'écoulement à froid, ce qui facilite le démarrage et réduit le colmatage du filtre à carburant.
L'usage de carburant de qualité été au-dessus de -7 ºC contribue à prolonger la vie de la pompe à carburant et augmente la puissance comparé au carburant de qualité hiver.
Important: N'utilisez pas de kérosène ou d'essence à la place du gazole, sous peine d'endommager le moteur.
Le carburant est toxique et même mortel en cas d'ingestion. L'exposition prolongée aux vapeurs de carburant peut causer des blessures et des maladies graves.
Évitez de respirer les vapeurs de carburant de façon prolongée.
N'approchez pas le visage du pistolet ni de l'ouverture du réservoir de carburant ou de conditionneur.
N'approchez pas le carburant des yeux et de la peau.
Prévu pour le fonctionnement avec du biodiesel
Cette machine peut aussi utiliser un mélange carburant et biodiesel jusqu'à B7 (7 % biodiesel, 93 % pétrodiesel). La partie gazole doit être à très faible teneur en soufre. Prenez les précautions suivantes :
La partie biodiesel du carburant doit être conforme à la norme ASTM D6751 ou EN 14214.
Le mélange de carburant doit être conforme à la norme ASTM D975 ou EN590.
Les surfaces peintes peuvent être endommagées par les mélanges biodiesel.
Examinez régulièrement les joints et flexibles en contact avec le carburant, car ils peuvent se détériorer avec le temps.
Le filtre à carburant peut se colmater pendant quelque temps après l'adoption de mélanges au biodiesel.
Pour tout renseignement complémentaire sur le biodiesel, veuillez contacter votre concessionnaire.
Dans certaines circonstances, le carburant est extrêmement inflammable et hautement explosif. Un incendie ou une explosion causé(e) par du carburant peut vous brûler, ainsi que les personnes se tenant à proximité, et causer des dommages matériels.
Faites le plein du réservoir de carburant à l'extérieur, dans un endroit bien dégagé, lorsque le moteur est froid. Essuyez tout carburant répandu.
Ne faites jamais le plein du réservoir de carburant à l'intérieur d'une remorque fermée.
Ne fumez jamais en manipulant du carburant et tenez-vous à l'écart des flammes nues ou sources d'étincelles qui pourraient enflammer les vapeurs de carburant.
Conservez le carburant dans un récipient homologué et hors de la portée des enfants. N'achetez et ne stockez jamais plus que la quantité de carburant consommée en 6 mois.
N'utilisez pas la machine si elle n'est pas équipée du système d'échappement complet et en bon état de marche.
Dans certaines circonstances, de l'électricité statique peut se former lors du remplissage, produire une étincelle et enflammer les vapeurs de carburant. Un incendie ou une explosion causé(e) par du carburant peut vous brûler, ainsi que les personnes se tenant à proximité, et causer des dommages matériels.
Posez toujours les bidons de carburant sur le sol, à l'écart du véhicule, avant de les remplir.
Ne remplissez pas de bidons de carburant à l'intérieur d'un véhicule ou sur le plateau d'une remorque, car la moquette intérieure ou le revêtement en matière plastique de la caisse risque d'isoler le bidon et de freiner l'élimination de l'électricité statique éventuellement produite.
Dans la mesure du possible, descendez la machine du véhicule ou de la remorque et posez-la à terre avant de remplir le réservoir de carburant.
Si ce n'est pas possible, laissez la machine dans le véhicule ou sur la remorque, mais remplissez le réservoir à l'aide d'un bidon, et non directement à la pompe.
En cas de remplissage à la pompe, maintenez le pistolet en contact avec le bord du réservoir ou du bidon, jusqu'à ce que le remplissage soit terminé.
Garez la machine sur une surface plane et horizontale.
Nettoyez la surface autour du bouchon du réservoir de carburant avec un chiffon propre.
Retirez le bouchon du réservoir de carburant (Figure 36).

Versez du gazole dans le réservoir jusqu'à ce que le liquide atteigne la base du goulot de remplissage.
Revissez solidement le bouchon du réservoir après avoir fait le plein.
Note: Dans la mesure du possible, faites le plein de carburant après chaque utilisation. Cela minimisera la formation éventuelle de condensation à l'intérieur du réservoir.
| Périodicité d'entretien | Procédure d'entretien |
|---|---|
| À chaque utilisation ou une fois par jour |
|
Le réservoir de la machine est rempli en usine d'environ 28,4litres d'huile hydraulique de bonne qualité. Contrôlez néanmoins le niveau de liquide hydraulique avant le tout premier démarrage du moteur, puis tous les jours. Le liquide de remplacement recommandé est le suivant :
Liquide hydraulique toutes saisons « Toro Premium All Season » (en bidons de 19 l ou barils de 208 l. Voir le catalogue de pièces ou un distributeur Toro pour les numéros de référence.)
Autres liquides possibles : si vous ne disposez pas du liquide de marque Toro, vous pouvez utiliser d'autres liquides à condition qu'ils répondent à toutes les propriétés physiques et aux spécifications de l'industrie suivantes. L'utilisation de liquides synthétiques est déconseillée. Consultez votre distributeur de lubrifiants pour identifier un produit qui convient.Remarque : Toro décline toute responsabilité en cas de dommage causé par l'utilisation d'huiles de remplacement inadéquates. Utilisez uniquement des produits provenant de fabricants réputés qui répondent de leur recommandation.
Liquide hydraulique à indice de viscosité élevé/point d'écoulement bas, ISO VG 46
| Propriétés physiques : | |||
| Viscosité, ASTM D445 | 44 à 48 cSt à 40 ºC7,9 à 8,5 cSt à 100 ºC | ||
| Indice de viscosité, ASTM D2270 | 140 à 160 | ||
| Point d'écoulement, ASTM D97 | -37 à -45 ºC | ||
| Spécifications de l'industrie : | |||
| Vickers I-286-S (Niveau de qualité), Vickers M-2950-S (Niveau de qualité), Denison HF-0 | |||
Liquide hydraulique Premium biodégradable Mobil EAL EnviroSyn 46H
Important: Le liquide Mobil EAL EnviroSyn 46H est le seul liquide biodégradable synthétique agréé par Toro. Il est compatible avec les élastomères utilisés dans les systèmes hydrauliques Toro et convient pour de larges plages de températures. Ce liquide est compatible avec les huiles minérales classiques ; toutefois vous devrez rincer soigneusement le système hydraulique pour le débarrasser de l'ancien liquide afin d'optimiser sa biodégradabilité et ses performances. Cette huile est disponible en bidons de 19 litres ou en barils de 208 litres chez votre distributeur Mobil.
Note: De nombreux liquides hydrauliques sont presque incolores, ce qui rend difficile la détection des fuites. Un additif colorant rouge pour huile hydraulique est disponible en bouteilles de 20 ml. Une bouteille suffit pour 15 à 22litres d'huile hydraulique. Vous pouvez commander ces bouteilles chez les concessionnaires Toro agréés (réf. 44-2500).
Placez la machine sur une surface plane et horizontale, abaissez les plateaux de coupe, coupez le moteur et enlevez la clé de contact.
Nettoyez la surface autour du goulot et du bouchon de remplissage du réservoir hydraulique (Figure 37). Enlevez le bouchon du goulot de remplissage

Dévissez la jauge du goulot de remplissage et essuyez-la sur un chiffon propre. Remettez la jauge dans le goulot de remplissage, ressortez-la et contrôlez le niveau de liquide. Il doit se situer entre les repères de la jauge.
Si le niveau est trop bas, ajoutez suffisamment d'huile pour atteindre le repère supérieur.
Remettez la jauge dans le goulot et revissez le bouchon en place.
| Périodicité d'entretien | Procédure d'entretien |
|---|---|
| À chaque utilisation ou une fois par jour |
|
Les pneus sont surgonflés pour l'expédition. Il faut donc les dégonfler légèrement avant l'utilisation. Les pneus doivent être gonflés à 83-103 kPa (12-15 psi). Vérifiez la pression de gonflage des pneus chaque jour.
Important: Les pneus doivent être uniformément gonflés à la pression préconisée pour garantir de bons résultats et de bonnes performances. Veillez toujours à utiliser une pression de gonflage suffisante.
Important: Vous devez purger le circuit d'alimentation dans les cas suivants :
Après un arrêt du moteur dû à une panne de carburant.
Après l'entretien des composants du circuit d'alimentation.
Enlevez le pied de la pédale de déplacement et vérifiez qu'elle revient à la position neutre. Vérifiez que le frein de stationnement est serré.
Placez la commande d'accélérateur en position de ralenti.
Tournez la clé en position Contact. Le témoin de préchauffage s'allume.
Quand le témoin s'éteint, tournez la clé en position Démarrage. Relâchez la clé dès que le moteur démarre et laissez-la revenir en position Contact. Réglage du régime moteur
Important: Pour éviter de provoquer la défaillance prématurée du démarreur, ne l'actionnez pas plus de 15 secondes de suite. Si le moteur refuse de démarrer après 15 secondes, tournez la clé en position Arrêt, vérifiez de nouveau les commandes et les procédures, attendez en 15 secondes et répétez la procédure de démarrage.
Si la température est inférieure à -7 ºC, vous pouvez faire 2 autres tentatives espacées de 60 secondes en actionnant le démarreur pendant 30 secondes.
Coupez le moteur et attendez l'arrêt de toutes les pièces mobiles avant de rechercher des fuites d'huile, des pièces desserrées ou autres anomalies.
Important: Laissez le moteur tourner au ralenti pendant 5 minutes avant de l'arrêter s'il vient de fonctionner à pleine charge. Cela permet au turbocompresseur de refroidir avant l'arrêt du moteur. Vous éviterez ainsi d'endommager le turbocompresseur.
Note: Abaissez les plateaux de coupe au sol chaque fois que la machine est en stationnement. Cela soulage le système de la charge hydraulique, prévient l'usure des pièces du système et évite l'abaissement accidentel des plateaux de coupe.
Rétablissez le régime de ralenti du moteur.
Désengagez la PDF.
Serrez le frein de stationnement.
Coupez le contact.
Retirez la clé du commutateur pour éviter tout démarrage accidentel.
| Périodicité d'entretien | Procédure d'entretien |
|---|---|
| À chaque utilisation ou une fois par jour |
|
Si les contacteurs de sécurité sont déconnectés ou endommagés, la machine peut se mettre en marche inopinément et causer des blessures.
Ne modifiez pas abusivement les contacteurs de sécurité.
Vérifiez chaque jour le fonctionnement des contacteurs de sécurité et remplacez ceux qui sont endommagés avant d'utiliser la machine.
Le circuit électrique de la machine comprend des contacteurs de sécurité. Le rôle des contacteurs de sécurité est d'arrêter le moteur si l'utilisateur quitte le siège alors que la pédale de déplacement est enfoncée. Il est cependant possible de quitter le siège en laissant le moteur en marche si la pédale de déplacement est à la position neutre. Bien que le moteur continue de tourner quand la prise de force est désengagée et la pédale de déplacement est relâchée, il est fortement recommandé d'arrêter le moteur avant de quitter le siège.
Pour contrôler le fonctionnement des contacteurs de sécurité, procédez comme suit :
Conduisez la machine lentement jusqu'à un endroit dégagé et suffisamment grand. Abaissez le plateau de coupe, arrêtez le moteur et serrez le frein de stationnement.
Asseyez-vous sur le siège et enfoncez la pédale de déplacement. Essayez de mettre le moteur en marche. Le démarreur ne doit pas fonctionner. S'il fonctionne, cela signifie que le système de sécurité est défaillant ; vous devez le réparer avant d'utiliser la machine.
Asseyez-vous sur le siège et mettez le moteur en marche. Soulevez-vous du siège et engagez la PDF. La PDF ne doit pas s'engager. Si elle s'engage, cela signifie que le système de sécurité est défaillant ; vous devez alors le réparer avant d'utiliser la machine.
Asseyez-vous sur le siège, serrez le frein de stationnement et mettez le moteur en marche. Sortez la pédale de déplacement de la position neutre. Le moteur doit s'arrêter. S'il continue de tourner, cela signifie que le système de sécurité est défaillant ; vous devez le réparer avant d'utiliser la machine.
Vous pouvez régler l'équilibrage des bras de relevage des plateaux de coupe arrière pour tenir compte des variations de l'état du gazon, et pour maintenir l'uniformité de la hauteur de coupe sur les terrains irréguliers ou dans les zones où le chaume a tendance à s'accumuler.
Vous pouvez régler chaque ressort de compensation à l'une de quatre positions. Chaque position augmente ou diminue le contrepoids sur chaque plateau de coupe de 2,3 kg. Les ressorts doivent être positionnés à l'arrière de l'actionneur de ressort pour supprimer complètement le contrepoids (position avant).
Placez la machine sur une surface plane et horizontale, abaissez les plateaux de coupe, arrêtez le moteur, serrez le frein de stationnement et enlevez la clé du commutateur d'allumage.
Insérez un tube ou un objet similaire sur l'extrémité longue du ressort pour détendre le ressort pendant le réglage (Figure 38).
Les ressorts sont tendus.
Leur réglage doit s'effectuer avec prudence.
Tout en détendant le ressort, retirez le boulon et le contre-écrou de fixation de l'actionneur de ressort au support (Figure 38).

Placez l'actionneur de ressort dans le trou approprié et fixez-le avec le contre-écrou.
Procédez de même pour l'autre ressort.
Placez la machine sur une surface plane et horizontale, abaissez les plateaux de coupe, arrêtez le moteur, serrez le frein de stationnement et enlevez la clé du commutateur d'allumage.
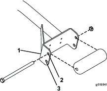
Le commutateur des bras de relevage se trouve derrière le bras de relevage avant droit (Figure 39).

Desserrez les vis de fixation du commutateur (Figure 39) et élevez le commutateur pour augmenter la hauteur du changement de direction des bras de relevage ou abaissez-le pour réduire la hauteur du changement de direction. Serrez les vis de fixation.
En cas d'urgence, il est possible de pousser ou de remorquer la machine en marche avant en actionnant la vanne de dérivation de la pompe hydraulique. Vous ne devez pas pousser ou remorquer la machine sur plus de 400 mètres.
Important: Ne poussez et ne remorquez pas la machine à plus de 3 à 4,8 km/h, car cela pourrait endommager les organes internes de la transmission. La vanne de dérivation doit être ouverte chaque fois que la machine est poussée ou remorquée.
Important: S'il est nécessaire de pousser ou de remorquer la machine en marche arrière, le clapet antiretour du collecteur de la transmission à 4 roues motrices doit aussi être mis en dérivation. Pour ce faire, raccordez un ensemble flexible (Flexible réf. 95-8843, Raccord réf. 95-0985 [Qté 2] et un raccord hydraulique (réf. 340-77) [Qté 2]) à la prise d'essai de pression de transmission aux roues en marche arrière et à la prise de pression de la transmission aux 4 roues en marche arrière.
Ouvrez le capot et déposez le carénage central.
Tournez la vanne de dérivation à 90° (1/4 de tour) dans un sens ou dans l'autre pour l'ouvrir et dériver l'huile à l'intérieur de la transmission (Figure 40). Il sera alors possible de déplacer la machine lentement sans endommager la transmission. Notez la position de la vanne quand vous l'ouvrez ou la fermez.

Tournez la vanne de dérivation de 90° (1/4 de tour) dans l'autre sens avant de démarrer le moteur. Ne serrez pas la vanne à un couple de plus de 7 à 11 N·m pour la fermer.
Sur le cadre à l'intérieur de chaque roue motrice à l'avant de la machine
Au centre du pont arrière à l'arrière de la machine.
De chaque côté du cadre sous les marches avant
Sur le pare-chocs arrière
Entraînez-vous à l'utilisation de la machine, car elle est équipée d'une transmission hydrostatique et possède des caractéristiques très différentes de celles de nombreuses machines d'entretien des pelouses. Lors de l'utilisation de la machine et des plateaux de coupe, tenez notamment compte de la transmission, du régime moteur, de la charge sur les lames et de l'importance des freins.
Pour maintenir une puissance suffisante pour le groupe de déplacement pendant l'utilisation, utilisez la pédale de déplacement pour maintenir un régime moteur élevé et relativement constant. En règle générale, il est préconisé de réduire la vitesse de déplacement lorsque la charge augmente sur les plateaux de coupe et de l'augmenter lorsque la charge diminue.
A cet effet, relâchez la pédale de déplacement quand le régime moteur diminue et enfoncez lentement la pédale quand le régime moteur augmente. Par comparaison, lorsque vous vous rendez d'une zone de travail à l'autre à vide et avec les plateaux de coupe relevés, placez la commande d'accélérateur en position Haut régime et enfoncez lentement la pédale de déplacement pour vous déplacer à la vitesse maximale.
Une autre caractéristique dont vous devez tenir compte est le fonctionnement des pédales reliées aux freins. Les freins peuvent faciliter le braquage de la machine. Vous devez cependant les utiliser avec prudence, particulièrement si l'herbe est tendre ou humide, car elle risque d'être arrachée accidentellement. Un autre avantage des freins est qu'ils maintiennent la motricité. Par exemple, il peut arriver que la roue en amont patine et perde de son pouvoir de traction. Dans ce cas, appuyez progressivement et par intermittence sur la pédale de frein d'amont, jusqu'à ce que la roue correspondante arrête de patiner, ce qui a pour effet d'augmenter la traction sur la roue en aval.
Soyez particulièrement prudents lorsque vous travaillez sur des terrains en pente. Vérifiez que le siège est correctement verrouillé et bouclez la ceinture de sécurité. Conduisez lentement et évitez de prendre des virages serrés sur les pentes, pour ne pas retourner la machine. Pour garder le contrôle de la direction, abaissez les plateaux de coupe avant de descendre les pentes.
Important: Laissez le moteur tourner au ralenti pendant 5 minutes avant de l'arrêter s'il vient de fonctionner à pleine charge. Cela permet au turbocompresseur de refroidir avant l'arrêt du moteur. Vous éviterez ainsi d'endommager le turbocompresseur.
Avant d'arrêter le moteur, débrayez toutes les commandes et placez la commande d'accélérateur en position Bas régime. La sélection de la position Bas régime réduit le régime moteur, le bruit et les vibrations de la machine. Tournez la clé de contact en position Arrêt pour arrêter le moteur.
Avant de commencer à tondre, entraînez-vous à utiliser la machine dans un endroit dégagé. Démarrez et arrêtez le moteur. Conduisez la machine en marche avant et en marche arrière. Abaissez et levez les unités de coupe, et engagez et désengagez les cylindres. Après vous être familiarisé avec la machine, entraînez-vous à travailler à différentes vitesses en montée et en descente.
Si un témoin s'allume pendant le fonctionnement, arrêtez la machine immédiatement et corrigez le problème avant de poursuivre. La machine risque d'être gravement endommagée si vous l'utilisez alors qu'elle est défectueuse.
Mettez le moteur en marche et placez la commande de régime moteur en position Haut régime. Amenez le limiteur de vitesse de tonte en position de tonte. Amenez la commande de PDF en position engagée et utilisez l'interrupteur de relevage pour commander les plateaux de coupe (les plateaux de coupe avant sont programmés pour s'abaisser avant les plateaux de coupe arrière). Pour tondre en marche avant, appuyez sur la pédale de déplacement en marche avant.
Placez la commande de PDF en position désengagée et relevez les plateaux de coupe en position de transport. Amenez le limiteur de vitesse de tonte en position de transport. Lorsque vous passez entre deux obstacles, veillez à ne pas endommager accidentellement la machine ou les unités de coupe. Soyez particulièrement prudents lorsque vous travaillez sur des terrains en pente. Conduisez lentement et évitez de prendre des virages serrés sur les pentes, pour ne pas retourner la machine. Abaissez les unités de coupe avant de descendre une pente pour garder le contrôle de la direction.
Note: Les côtés gauche et droit de la machine sont déterminés d'après la position d'utilisation normale.
| Périodicité d'entretien | Procédure d'entretien |
|---|---|
| Après les 8 premières heures de fonctionnement |
|
| Après les 50 premières heures de fonctionnement |
|
| Après les 200 premières heures de fonctionnement |
|
| Après les 250 premières heures de fonctionnement |
|
| À chaque utilisation ou une fois par jour |
|
| Toutes les 50 heures |
|
| Toutes les 100 heures |
|
| Toutes les 150 heures |
|
| Toutes les 200 heures |
|
| Toutes les 400 heures |
|
| Toutes les 800 heures |
|
| Avant le remisage |
|
| Une fois par an |
|
Important: Reportez-vous au Manuel du propriétaire du moteur et au Manuel de l'utilisateur du plateau de coupe pour tout renseignement sur les procédures d'entretien complémentaires.
Copiez cette page pour pouvoir vous en servir régulièrement.
| Entretiens à effectuer | Pour la semaine du : | ||||||
|---|---|---|---|---|---|---|---|
| Lun. | Mar. | Mer. | Jeu. | Ven. | Sam. | Dim. | |
| Vérifiez le fonctionnement du système de sécurité | |||||||
| Vérifiez le fonctionnement des freins | |||||||
| Contrôlez le niveau d'huile moteur et de carburant | |||||||
| Contrôlez le niveau du liquide de refroidissement | |||||||
| Vidangez le séparateur d'eau/de carburant | |||||||
| Contrôlez l'indicateur de colmatage du filtre à air | |||||||
| Vérifiez la propreté du radiateur, du refroidisseur d'huile et de la grille | |||||||
| Vérifiez tous bruits anormaux en provenance du moteur 1 | |||||||
| Vérifiez les bruits de fonctionnement anormaux | |||||||
| Contrôlez le niveau d'huile hydraulique | |||||||
| Vérifiez l'état des flexibles hydrauliques | |||||||
| Recherchez les fuites éventuelles | |||||||
| Vérifiez la pression des pneus | |||||||
| Vérifiez le fonctionnement des instruments | |||||||
| Vérifiez le réglage cylindre/contre-lame | |||||||
| Vérifiez le réglage de la hauteur de coupe | |||||||
| Lubrifier tous les graisseurs 2 | |||||||
| Retouchez les peintures endommagées. | |||||||
1. Contrôlez la bougie de préchauffage et les injecteurs en cas de démarrage difficile, de fumée excessive ou de fonctionnement irrégulier du moteur.
2. Immédiatement après chaque lavage, quelle que soit la fréquence d'entretien indiquée.

Si vous laissez la clé dans le commutateur d'allumage, quelqu'un pourrait mettre le moteur en marche accidentellement et vous blesser gravement, ainsi que toute personne à proximité.
Avant tout entretien, retirez la clé de contact.
Déverrouillez le capot (Figure 42) et faites-le pivoter pour l'ouvrir.

Retirez les goupilles fendues qui fixent les supports arrière du capot aux ergots du cadre, et soulevez le capot.
| Périodicité d'entretien | Procédure d'entretien |
|---|---|
| Toutes les 50 heures |
|
Les graisseurs de la machine doivent être lubrifiés régulièrement avec de la graisse universelle au lithium nº 2. Si les conditions de travail sont normales, lubrifiez tous les roulements et toutes les bagues toutes les 50 heures de fonctionnement ou immédiatement après chaque lavage.
Emplacements et nombre de graisseurs :
Roulements d'axes de pivots de freins (5) (Figure 43)

Bagues de pivot de pont arrière (2) (Figure 44).

Rotules de vérin de direction (2) (Figure 45)

Rotules de biellettes (2) (Figure 45)
Bagues de pivots de fusées (2) (Figure 45). Le graisseur supérieur du pivot de fusée ne doit être lubrifié qu'une fois par an (2 injections de graisse).
Bagues de bras de levage (1 par unité de coupe) (Figure 46)

Bagues de vérin de levage (2 par unité de coupe) (Figure 46)
Bagues de pivot de bras de levage (1 par unité de coupe) (Figure 47)
Bâti porteur d'unité de coupe (2 par unité de coupe) (Figure 47)
Pivot de bras de relevage de plateau de coupe (1 par plateau) (Figure 47)

| Périodicité d'entretien | Procédure d'entretien |
|---|---|
| Toutes les 400 heures |
|
Vérifiez si le boîtier du filtre à air présente des dommages susceptibles d'occasionner des fuites d'air. Remplacez-le s'il est endommagé. Contrôlez le système d'admission pour détecter les fuites, les dommages ou les colliers de flexible desserrés.
Faites l'entretien du filtre à air uniquement quand l'indicateur de colmatage (Figure 48) indique que cela est nécessaire. Changer le filtre à air prématurément ne fait qu'accroître le risque de contamination du moteur par des impuretés quand le filtre est déposé.

Important: Le couvercle doit être parfaitement ajusté sur le boîtier du filtre à air.
Tirez le verrou vers l'extérieur et tournez le couvercle du filtre à air dans le sens antihoraire (Figure 49).

Déposez le couvercle du boîtier du filtre à air. Avant de déposer le filtre, utilisez de l'air comprimé à basse pression (2,76 bar) propre et sec pour éliminer toute accumulation importante de débris entre l'extérieur du préfiltre et la cartouche. N'utilisez pas d'air sous haute pression car il pourrait forcer les impuretés à travers l'élément et dans le canal d'admission.
Cette procédure de nettoyage évite de déplacer des débris dans l'admission lors de la dépose du préfiltre.
Déposez et remplacez le préfiltre (Figure 50).
Il est déconseillé de nettoyer les éléments usagés car cela risque d'endommager le matériau du filtre. Vérifiez que l'élément de rechange n'a pas été endommagé pendant le transport. Vérifiez l'extrémité d'étanchéité du filtre et du boîtier. N'utilisez pas l'élément s'il est endommagé. Insérez le filtre neuf en appuyant sur le bord extérieur de l'élément pour l'engager dans la cartouche. N'appuyez pas sur la partie centrale flexible du filtre.

Important: N'essayez jamais de nettoyer l'élément de sécurité (Figure 51). Remplacez-le une fois sur trois, quand vous effectuez l'entretien du préfiltre.

Nettoyez l'orifice d'éjection d'impuretés situé dans le couvercle amovible. Retirez la valve de sortie en caoutchouc du couvercle, nettoyez la cavité et remettez la valve en place.
Montez le couvercle en dirigeant la valve de sortie en caoutchouc vers le bas, entre les positions 5:00 et 7:00 heures environ, vu de l'extrémité.
Réarmez l'indicateur de colmatage (Figure 48) s'il est rouge.
| Périodicité d'entretien | Procédure d'entretien |
|---|---|
| Après les 50 premières heures de fonctionnement |
|
| Toutes les 150 heures |
|
Retirez le bouchon de vidange (Figure 52) et laissez couler l'huile dans un bac de vidange. Remettez le bouchon quand la vidange est terminée.

Déposez le filtre à huile (Figure 53). Appliquez une fine couche d'huile propre sur le joint du filtre de rechange avant de le visser en place. Ne serrez pas excessivement.

Rajoutez de l'huile dans le carter moteur ; voir Contrôle de l'huile moteur à la section Utilisation.
Réglez le câble d'accélérateur (Figure 54) de sorte que le levier du régulateur sur le moteur touche le boulon de réglage de haut régime en même temps que la commande d'accélérateur touche l'extrémité de la fente dans le bras de commande.

Dans certaines conditions, le gazole et les vapeurs qu'il dégage sont extrêmement inflammables et explosifs. Un incendie ou une explosion causé(e) par du carburant peut vous brûler, ainsi que d'autres personnes, et causer des dommages matériels.
Faites le plein du réservoir à l'extérieur, dans un endroit bien dégagé, moteur arrêté et froid. Essuyez tout carburant répandu.
Ne remplissez pas complètement le réservoir de carburant. Remplissez le réservoir de carburant jusqu'à 25 mm au-dessous du haut du réservoir, pas du goulot de remplissage. L'espace au-dessus doit rester vide pour permettre au carburant de se dilater.
Ne fumez jamais en manipulant du carburant et tenez-vous à l'écart des flammes nues ou sources d'étincelles qui pourraient enflammer les vapeurs de carburant.
Stockez le carburant dans un bidon de sécurité propre et homologué qui doit être maintenu bouché.
| Périodicité d'entretien | Procédure d'entretien |
|---|---|
| À chaque utilisation ou une fois par jour |
|
| Toutes les 800 heures |
|
| Avant le remisage |
|
Vidangez et nettoyez le réservoir de carburant toutes les 800 heures. Vidangez et nettoyez aussi le réservoir si le circuit d'alimentation est contaminé ou si vous prévoyez de remiser la machine pendant une période prolongée. Rincez le réservoir avec du carburant neuf.
| Périodicité d'entretien | Procédure d'entretien |
|---|---|
| Toutes les 400 heures |
|
| Une fois par an |
|
Vérifiez l'état des conduites et des raccords toutes les 400 heures de fonctionnement ou une fois par an, la première échéance prévalant. Recherchez les détériorations, les dégâts ou les raccords desserrés.
| Périodicité d'entretien | Procédure d'entretien |
|---|---|
| À chaque utilisation ou une fois par jour |
|
| Toutes les 400 heures |
|
Vidangez chaque jour l'eau ou autres impuretés qui se trouvent dans le séparateur d'eau. Changez la cartouche du filtre toutes les 400 heures de fonctionnement.
Placez un bac de vidange propre sous le filtre à carburant (Figure 55).
Dévissez le bouchon de vidange en bas de la cartouche du filtre.

Nettoyez la surface autour des supports de la cartouche du filtre.
Déposez la cartouche et nettoyez la surface de montage.
Lubrifiez le joint de la cartouche avec de l'huile propre.
Installez la cartouche à la main jusqu'à ce que le joint rejoigne la surface de montage, puis serrez la cartouche d'un demi-tour supplémentaire.
Serrez le bouchon de vidange au bas de la cartouche du filtre.
Le tube d'aspiration de carburant se trouve dans le réservoir de carburant. Il est muni d'une crépine qui empêche les débris de pénétrer dans le système d'alimentation. Retirez le tube et nettoyez la crépine selon les besoins.
Les bornes, les cosses de la batterie et les accessoires connexes contiennent du plomb et des composés de plomb. L'état de Californie considère ces substances chimiques comme étant à l'origine de cancers et de troubles de la reproduction. Lavez-vous les mains après avoir manipulé la batterie.
Déverrouillez et soulevez le panneau de la console (Figure 56).

L'électrolyte contient de l'acide sulfurique, un poison mortel qui cause de graves brûlures.
Ne buvez jamais l'électrolyte et évitez tout contact avec les yeux, la peau ou les vêtements. Portez des lunettes de protection et des gants en caoutchouc.
Faites le plein d'électrolyte à proximité d'une arrivée d'eau propre, de manière à pouvoir rincer abondamment la peau en cas d'accident.
Connectez un chargeur de 3 à 4 A aux bornes de la batterie. Chargez la batterie au régime de 3 à 4 ampères durant 4 à 8 heures.
Une fois la batterie chargée, débranchez le chargeur du secteur et des bornes de la batterie.
La batterie en charge produit des gaz qui peuvent exploser.
Ne fumez jamais à côté de la batterie et tenez-la à l'écart de toutes flammes ou sources d'étincelles.
Raccordez le câble positif (rouge) de la batterie à la borne positive (+) et le câble négatif (noir) à la borne négative (-) (Figure 57). Fixez les câbles aux bornes avec les vis et les écrous. Assurez-vous que le collier du câble positif (+) est bien engagé sur la borne de la batterie et que le câble est placé tout près de la batterie. Le câble ne doit pas toucher le couvercle de la batterie. Placez le capuchon en caoutchouc sur la borne positive pour éviter les courts-circuits.

Les bornes, les cosses de la batterie et les accessoires connexes contiennent du plomb et des composés de plomb. L'état de Californie considère ces substances chimiques comme étant à l'origine de cancers et de troubles de la reproduction. Lavez-vous les mains après avoir manipulé la batterie.
Pour prévenir la corrosion, enduisez les bornes de la batterie de graisse Grafo 112X (Skin-Over) (réf. Toro 505-47), de vaseline ou de graisse légère. Placez ensuite le capuchon de caoutchouc sur la borne positive.
Fermez et verrouillez le panneau de la console.
Les bornes de la batterie ou les outils en métal peuvent causer des courts-circuits au contact des pièces métalliques et produire des étincelles. Les étincelles peuvent provoquer l'explosion des gaz de la batterie et vous blesser.
Lors du retrait ou de la mise en place de la batterie, les bornes ne doivent toucher aucune partie métallique de la machine.
Évitez de créer des courts-circuits entre les bornes de la batterie et les parties métalliques de la machine avec des outils en métal.
S'ils sont mal acheminés, les câbles de la batterie peuvent subir des dommages ou endommager la machine et produire des étincelles. Les étincelles peuvent provoquer l'explosion des gaz de la batterie et vous blesser.
Débranchez toujours le câble négatif (noir) de la batterie avant le câble positif (rouge).
Branchez toujours le câble positif (rouge) de la batterie avant le câble négatif (noir).
| Périodicité d'entretien | Procédure d'entretien |
|---|---|
| Toutes les 50 heures |
|
Important: Avant d'effectuer des soudures sur la machine, débranchez le câble négatif de la batterie pour éviter d'endommager le système électrique.
Note: Vérifiez l'état de la batterie une fois par semaine ou toutes les 50 heures de fonctionnement. Les bornes et le bac doivent être propres, car une batterie encrassée se décharge lentement. Pour nettoyer la batterie, sortez-la de la machine puis lavez le bac avec un mélange d'eau et de bicarbonate de soude, puis rincez-le à l'eau claire. Pour prévenir la corrosion, enduisez les bornes de la batterie et les connecteurs des câbles de graisse Grafo 112X (Skin-Over) (Réf. Toro 505-47) ou de vaseline.
| Périodicité d'entretien | Procédure d'entretien |
|---|---|
| Après les 8 premières heures de fonctionnement |
|
| Toutes les 200 heures |
|
Un mauvais couple de serrage des écrous de roues peut entraîner une défaillance de la machine ou la perte d'une roue et provoquer des blessures graves.
Serrez les écrous des roues avant et arrière à un couple de 115 à 136 N·maprès 1 à 4 heures de fonctionnement, puis à nouveau après 8 heures de fonctionnement. Resserrez-les toutes les 200 heures par la suite.
Note: Les écrous des roues avant sont du type ½–20 UNF. Les écrous des roues arrière sont du type M12 x 1,6-6H (métrique).
| Périodicité d'entretien | Procédure d'entretien |
|---|---|
| Toutes les 400 heures |
|
Contrôlez le niveau d'huile toutes les 400 heures de fonctionnement. Utilisez une huile pour engrenages de haute qualité SAE 85W-140.
Amenez la machine sur une surface plane et horizontale, tournez la roue de sorte qu'un bouchon de contrôle (Figure 61) soit à la position 12 heures et l'autre à la position 3 heures.

Retirez le bouchon qui est à la position 3 heures (Figure 61). Le liquide doit arriver à 6 mm de l'orifice du bouchon de contrôle.
Si le niveau d'huile est trop bas, retirez le bouchon situé à la position 12 heures et faites l'appoint d'huile jusqu'à ce qu'elle s'écoule par l'orifice à la position 3 heures.
Remettez les deux bouchons en place.
Répétez les opérations 1 à 3 pour le train planétaire opposé.
| Périodicité d'entretien | Procédure d'entretien |
|---|---|
| Après les 250 premières heures de fonctionnement |
|
| Toutes les 800 heures |
|
Vidangez l'huile après les 250 premières heures de fonctionnement. Par la suite, changez l'huile toutes les 800 heures ou une fois par an, la première échéance prévalant. Utilisez une huile pour engrenages de haute qualité SAE 85W-140.
Placez la machine sur une surface plane et horizontale et tournez une roue de sorte que l'un des bouchons de contrôle se trouve à la position la plus basse (6 heures) (Figure 62).

Placez un bac de vidange sous le moyeu du train planétaire et enlevez les bouchons pour permettre à l'huile de s'écouler.
Placez un bac de vidange sous le carter de frein et enlevez le bouchon pour permettre à l'huile de s'écouler (Figure 63).

Lorsque toute l'huile s'est écoulée par les deux orifices, remettez le bouchon en place sur le carter de frein.
Tournez la roue jusqu'à ce que les orifices débouchés du train planétaire soient à la position 11 heures et la position 1 heure (Figure 64).

Par l'un des orifices ouverts, versez lentement 0,53 à 0,59 litre d'huile pour engrenages de haute qualité SAE 85W-140 dans le train planétaire.
Remettez les bouchons en place.
Répétez ces opérations pour l'ensemble train planétaire/frein opposé.
| Périodicité d'entretien | Procédure d'entretien |
|---|---|
| Toutes les 400 heures |
|
Le pont arrière est rempli de lubrifiant pour engrenages SAE 85W-140 en usine. Vérifiez le niveau d'huile avant de mettre le moteur en marche pour la première fois, puis toutes les 400 heures. Capacité du réservoir : 2,4 l. Recherchez les fuites éventuelles chaque jour.
Placez la machine sur une surface plane et horizontale.
Enlevez un bouchon de contrôle à une extrémité du pont arrière (Figure 65) et vérifiez que le lubrifiant atteint la base de l'orifice. Si le niveau est trop bas, enlevez le bouchon de remplissage (Figure 65) et ajoutez une quantité suffisante de lubrifiant pour amener le niveau au bas des orifices de contrôle.

| Périodicité d'entretien | Procédure d'entretien |
|---|---|
| Après les 200 premières heures de fonctionnement |
|
| Toutes les 800 heures |
|
Placez la machine sur une surface plane et horizontale.
Nettoyez la surface autour des 3 bouchons de vidange, 1 à chaque extrémité et 1 au centre (Figure 66).

Enlevez les (3) bouchons de contrôle du niveau d'huile et le bouchon d'aération du pont principal pour faciliter la vidange de l'huile.
Retirez les bouchons de vidange pour permettre à l'huile de s'écouler dans les bacs de vidange.
Remettez les bouchons en place.
Enlevez un bouchon de contrôle et versez environ 2,4 l d'huile pour engrenages 85W-140 dans le pont ou une quantité d'huile suffisante pour atteindre la base de l'orifice de remplissage.
Remettez le bouchon de contrôle.
La machine ne doit pas bouger quand vous relâchez la pédale de déplacement. Si elle se déplace, un réglage s'impose.
Placez la machine sur une surface plane et horizontale, arrêtez le moteur, placez le régulateur de vitesse à la gamme basse et abaissez les plateaux de coupe au sol. Enfoncez seulement la pédale de frein droite et serrez le frein de stationnement.
Levez le côté avant gauche de la machine au cric pour décoller la roue avant gauche du sol. Placez des chandelles sous la machine pour l'empêcher de retomber accidentellement.
Mettez le moteur en marche et laissez-le tourner au ralenti.
Réglez les écrous de blocage à l'extrémité de la tige de la pompe pour avancer le tube de commande et éliminer le déplacement en marche avant ou le reculer et éliminer le déplacement en marche arrière (Figure 67).

Lorsque les roues cessent de tourner, serrez les écrous pour bloquer le réglage.
Coupez le moteur et desserrez le frein droit. Ôtez les chandelles de sous la machine et abaissez la machine sur le sol. Faites un essai de conduite pour vérifier que la machine ne se déplace plus.
| Périodicité d'entretien | Procédure d'entretien |
|---|---|
| Toutes les 800 heures |
|
Mesurez l'entraxe (à hauteur d'essieu) à l'avant et à l'arrière des roues directrices. Le pincement à l'avant doit être inférieur de 3 mm au pincement à l'arrière (Figure 68).

Pour le régler, retirez la goupille fendue et l'écrou de l'une des rotules de biellette (Figure 69). Déposez la rotule de biellette du support du corps d'essieu.

Desserrez les fixations aux deux extrémités des biellettes (Figure 69).
Pivotez la rotule déposée d'un tour complet vers l'intérieur ou l'extérieur. Serrez la fixation à l'extrémité libre de la biellette.
Pivotez l'ensemble biellette dans le même sens d'un tour complet (vers l'intérieur ou l'extérieur). Serrez la fixation à l'extrémité accouplée de la biellette.
Posez la rotule dans le support du corps de pont et serrez l'écrou à la main. Mesurez le pincement.
Répétez la procédure au besoin.
Resserrez l'écrou et mettez une goupille fendue neuve quand le réglage correct est obtenu.
| Périodicité d'entretien | Procédure d'entretien |
|---|---|
| À chaque utilisation ou une fois par jour |
|
Enlevez chaque jour les débris qui se trouvent sur le moteur, le refroidisseur d'huile et le radiateur. Nettoyez-les plus fréquemment s'il y a beaucoup de saleté.
Déverrouillez et ouvrez la grille arrière (Figure 70). Nettoyez soigneusement la surface de la grille.
Note: Pour déposer la grille, dégagez-la des axes d'articulation.

Nettoyez soigneusement les deux côtés du radiateur/refroidisseur d'huile (Figure 71) à l'air comprimé. Commencez par l'avant et soufflez les débris vers l'arrière. Nettoyez ensuite en soufflant de l'arrière vers l'avant. Répétez cette procédure plusieurs fois jusqu'à ce qu'il ne reste plus aucun débris.

Important: Ne nettoyez pas le radiateur/refroidisseur d'huile avec de l'eau, car cela risque d'encourager la corrosion et la détérioration des composants.
Refermez et verrouillez la grille arrière.
Réglez les freins de service si la garde aux pédales de frein est supérieure à 13 mm ou si les freins ne fonctionnent pas bien. La garde est la distance parcourue par la pédale de frein avant que le freinage soit ressenti.
Débloquez le verrou des pédales de frein pour les rendre indépendantes l'une de l'autre.
Pour réduire la garde aux pédales de frein, serrez les freins :
Desserrez l'écrou avant sur l'extrémité filetée du câble de frein (Figure 72).

Serrez l'écrou arrière pour déplacer le câble en arrière jusqu'à obtention d'une garde de 0 à 13 mm.
Note: Assurez-vous que le frein n'est pas trop tendu lorsque la pédale est relâchée.
Resserrez les écrous avant une fois que les freins sont réglés correctement.
| Périodicité d'entretien | Procédure d'entretien |
|---|---|
| Toutes les 100 heures |
|
Vérifiez l'état et la tension des courroies (Figure 73) toutes les 100 heures de fonctionnement.
Lorsque la tension est correcte, la courroie présente une flèche de 10 mm quand une force de 4,5 kg est exercée à mi-chemin entre les poulies.
Si vous n'obtenez pas une flèche de 10 mm, desserrez les boulons de fixation de l'alternateur (Figure 73). Augmentez ou diminuez la tension de la courroie et resserrez les boulons. Contrôlez de nouveau la flèche de la courroie pour vérifier si la tension est correcte.

| Périodicité d'entretien | Procédure d'entretien |
|---|---|
| Toutes les 800 heures |
|
Vidangez le liquide hydraulique toutes les 800 heures de fonctionnement dans des conditions normales d'utilisation. Si l'huile est contaminée, demandez à votre concessionnaire Toro de rincer le système. L'huile contaminée a un aspect laiteux ou noir comparée à de l'huile propre.
Arrêtez le moteur et soulevez le capot.
Débranchez le conduit de retour au fond du réservoir hydraulique pour permettre à l'huile de s'écouler dans un grand bac de vidange. Rebranchez le conduit quand tout le liquide s'est écoulé.
Remplissez le réservoir d'environ 28,4litres d'huile hydraulique ; voir Contrôle du niveau du liquide hydraulique.
Important: Utilisez uniquement les liquides hydrauliques spécifiés. Tout autre liquide est susceptible d'endommager le système.
Remettez le bouchon du réservoir. Mettez le moteur en marche et actionnez toutes les commandes hydrauliques pour faire circuler l'huile dans tout le circuit. Recherchez aussi des fuites éventuelles, puis arrêtez le moteur.
Vérifiez le niveau d'huile et faites l'appoint pour amener le niveau jusqu'au repère maximum sur la jauge. Ne remplissez pas excessivement.
| Périodicité d'entretien | Procédure d'entretien |
|---|---|
| Après les 200 premières heures de fonctionnement |
|
| Toutes les 800 heures |
|
Remplacez les 2 filtres hydrauliques après les 200 premières heures de fonctionnement, puis toutes les 800 heures dans des conditions normales d'utilisation.
Utilisez des filtres de rechange Toro (Réf. 94-2621 pour l'arrière (unité de coupe) et 75-1310 pour l'avant (charge) de la machine).
Important: L'utilisation de tout autre filtre peut annuler la garantie de certaines pièces.
Placez la machine sur une surface plane et horizontale, abaissez les plateaux de coupe, coupez le moteur, serrez les freins de stationnement et enlevez la clé du commutateur d'allumage.
Nettoyez la zone autour de la surface de montage du filtre. Placez un bac de vidange sous le filtre et déposez le filtre (Figure 74 & Figure 75).
Lubrifiez le joint du filtre de rechange et remplissez le filtre d'huile hydraulique.


Vérifiez la propreté de la surface de montage du filtre. Vissez le filtre jusqu'à ce que le joint touche la plaque de montage, puis serrez le filtre d'un demi-tour supplémentaire.
Mettez le moteur en marche et laissez-le tourner environ deux minutes pour purger l'air du circuit. Coupez le moteur et recherchez des fuites éventuelles.
| Périodicité d'entretien | Procédure d'entretien |
|---|---|
| À chaque utilisation ou une fois par jour |
|
Vérifiez chaque jour que les conduites et flexibles hydrauliques ne présentent pas de fuites, ne sont pas pliés, usés, détériorés par les conditions atmosphériques ou les produits chimiques, et que les supports de montage et les raccords ne sont pas desserrés. Effectuez les réparations nécessaires avant d'utiliser la machine.
Les fuites de liquide hydraulique sous pression peuvent transpercer la peau et causer des blessures graves.
Vérifiez l'état de tous les flexibles et toutes les conduites hydrauliques, ainsi que le serrage de tous les raccords et branchements avant de mettre le circuit sous pression.
N'approchez pas les mains ou autres parties du corps des fuites en trou d'épingle ou des gicleurs d'où sort du liquide hydraulique sous haute pression.
Utilisez un morceau de papier ou de carton pour détecter les fuites.
Évacuez avec précaution toute la pression du système hydraulique avant toute intervention sur le système.
Consultez immédiatement un médecin en cas d'injection de liquide sous la peau.
Les cylindres et autres pièces mobiles peuvent causer des blessures.
N'approchez pas les mains, les doigts et les vêtements des cylindres et autres pièces mobiles.
N'essayez jamais de faire tourner les cylindres avec la main ou le pied quand le moteur est en marche.
Note: Lors du rodage, les plateaux de coupe avant fonctionnent ensemble et les plateaux arrière également.
Garez la machine sur une surface plane et horizontale, abaissez les plateaux de coupe, arrêtez le moteur, serrez le frein de stationnement et amenez la commande de PDF en position désengagée.
Déverrouillez le capot et soulevez-le pour exposer les commandes.
Effectuez les premiers réglages cylindre/contre-lame nécessaires pour le rodage de tous les plateaux de coupe qui en ont besoin ; voir le Manuel de l'utilisateur du plateau de coupe.
Sélectionnez les leviers de rodage avant, arrière ou les deux pour déterminer les plateaux qui doivent être rodés (Figure 76).
Mettez le moteur en marche et laissez-le tourner au ralenti.
Si vous modifiez le régime moteur pendant le rodage, les cylindres risquent de caler.
Ne variez jamais le régime moteur pendant le rodage.
Le rodage ne doit s'effectuer qu'au ralenti.
Pour éviter de vous blesser, ne vous approchez pas des plateaux de coupe avant d'effectuer la procédure.
Lorsque le limiteur de vitesse de tonte est en position de tonte, amenez la commande de PDF en position engagée. Appuyez sur l'interrupteur de relevage pour commencer le rodage des cylindres désignés.
Appliquez le produit de rodage avec un pinceau à long manche. N'utilisez jamais de pinceau à manche court.

Si les cylindres calent ou se mettent à tourner irrégulièrement pendant le rodage, augmentez le régime moteur jusqu'à ce que les cylindres se stabilisent.
Pour régler les plateaux de coupe pendant le rodage, arrêtez les cylindres en appuyant sur l'arrière de l'interrupteur de relevage, amenez la commande de PDF en position désengagée et arrêtez le moteur. Lorsque le réglage est terminé, répétez les opérations jusqu'à 8.
Répétez la procédure pour tous les plateaux de coupe qui ont besoin d'être rodés.
Lorsque vous avez terminé, ramenez les leviers de rodage en position de tonte, abaissez le capot et lavez les plateaux de coupe pour éliminer le produit de rodage. Réglez le contact cylindre/contre-lame selon les besoins. Placez les boutons commande de vitesse des cylindres à la position de tonte voulue.
Important: Si le commutateur de rodage n'est pas ramené à la position d'arrêt après le rodage, les plateaux de coupe ne pourront pas être levés ni fonctionner correctement.
Note: Vous trouverez des instructions et des procédures de rodage complémentaires dans le Manuel d'aiguisage des tondeuses à cylindres et rotatives TORO (Form nº 80-300SL).
Note: Pour améliorer encore la qualité du tranchant, passez une lime sur la face avant de la contre-lame après le rodage. Cela permet d'éliminer les bavures ou les aspérités qui ont pu se former le long du tranchant.
Vidangez le carter moteur et remettez le bouchon de vidange.
Déposez le filtre à huile et mettez-le au rebut. Posez un filtre neuf.
Remplissez le carter d'huile avec l'huile moteur spécifiée.
Mettez le moteur en marche et faites-le tourner au ralenti pendant deux minutes.
Coupez le moteur.
Rincez le réservoir de carburant avec du gazole propre et frais.
Rebranchez tous les raccords du circuit d'alimentation.
Effectuez un nettoyage et un entretien minutieux du filtre à air.
Bouchez l'entrée et l'orifice de sortie du filtre à air avec du ruban imperméable.
Vérifiez la protection antigel et ajoutez un mélange 50/50 d'eau et d'antigel éthylène glycol en fonction de la température minimale anticipée dans la région.
Nettoyez soigneusement le groupe de déplacement, les plateaux de coupe et le moteur.
Contrôlez la pression des pneus ; voir Contrôle de la pression des pneus.
Vérifiez le serrage de toutes les fixations et resserrez-les au besoin.
Lubrifiez tous les graisseurs et points de pivotement. Essuyez tout excès de lubrifiant.
Poncez légèrement et retouchez la peinture rayée, écaillée ou rouillée. Réparez les déformations de la carrosserie.
Procédez à l'entretien de la batterie et des câbles, comme suit :
Débranchez les câbles des bornes de la batterie.
Nettoyez les connexions des câbles et les bornes de la batterie avec une brosse métallique et un mélange de bicarbonate de soude.
Pour prévenir la corrosion, enduisez les bornes de la batterie et les cosses des câbles de graisse Grafo 112X (Skin-Over) (réf. Toro 505-47) ou de vaseline.
Rechargez lentement la batterie tous les deux mois pendant 24 heures pour prévenir la sulfatation.