| Onderhoudsinterval | Onderhoudsprocedure |
|---|---|
| Bij elk gebruik of dagelijks |
|
Deze machine is een zitmaaier met messenkooi bedoeld voor gebruik door professionele bestuurders in commerciële toepassingen. De machine is voornamelijk ontworpen voor het maaien van gras van goed onderhouden gazons in parken, golfbanen en sportvelden. De machine is niet ontworpen voor het maaien van lage struiken, het maaien van gras en andere begroeiing langs de snelweg, of voor gebruik in de landbouw.
Lees deze informatie zorgvuldig door, zodat u weet hoe u de machine op de juiste wijze moet gebruiken en onderhouden en om schade aan de machine en letsel te voorkomen. U bent verantwoordelijk voor het juiste en veilige gebruik van de machine.
U kunt op www.Toro.com rechtstreeks contact met Toro opnemen om informatie over producten en accessoires te verkrijgen, een verkoper te vinden of uw product te registreren.
Als u service, originele Toro onderdelen of aanvullende informatie nodig hebt, kunt u contact opnemen met een erkende servicedealer of met de klantenservice van Toro. U dient hierbij altijd het modelnummer en het serienummer van het product te vermelden. Het plaatje met het modelnummer en het serienummer van het product bevindt zich rechtsvoor op het frame. De locatie van het plaatje is aangegeven op Figuur 1. U kunt de nummers noteren in de ruimte hieronder.

Deze handleiding noemt een aantal mogelijke gevaren en bevat een aantal veiligheidsberichten met de volgende veiligheidssymbolen (Figuur 2), die duiden op een gevaarlijke situatie die zwaar lichamelijk letsel of de dood tot gevolg kan hebben wanneer de veiligheidsvoorschriften niet in acht worden genomen.

Er worden in deze handleiding nog twee woorden gebruikt om uw aandacht op bijzondere informatie te vestigen. Belangrijk attendeert u op bijzondere technische informatie en Opmerking duidt algemene informatie aan die bijzondere aandacht verdient.
Dit product voldoet aan alle relevante Europese richtlijnen, zie voor details de aparte productspecifieke conformiteitsverklaring.
Omdat er in sommige regio's nationale of plaatselijke voorschriften gelden die vereisen dat er een vonkenvanger op de motor van deze machine wordt gebruikt, is de geluiddemper voorzien van een vonkenvanger.
De originele vonkenvangers van Toro zijn goedgekeurd door de Forestry Service van de USDA (United States Department of Agriculture).
Important: De motor van dit product is uitgerust met een vonkenvanger. Als de machine zonder goed werkende vonkenvanger of goed onderhouden brandveilige motor wordt gebruikt in een bosgebied of op een met dicht struikgewas of gras begroeid terrein, handelt de bestuurder in strijd met de bepalingen van sectie 4442 van de Wet op de Openbare Hulpbronnen (Public Resources Code) van de Staat Californië. In andere landen of staten kunnen soortgelijke wetten van kracht zijn.
De Gebruikershandleiding van de motor biedt informatie over de Amerikaanse Environmental Protection Agency (EPA) en het emissiecontrolesysteem, onderhoud en garantie. U kunt vervangingsonderdelen bestellen via de fabrikant van de motor.
CALIFORNIË
Proposition 65 Waarschuwing
De uitlaatgassen van de dieselmotor van dit product bevatten bestanddelen waarvan bekend is dat ze kanker, geboorteafwijkingen of andere schade aan de voortplantingsorganen kunnen veroorzaken.
Gebruik van dit product kan leiden tot blootstelling aan chemische stoffen waarvan de Staat Californië weet dat ze kanker, geboorteafwijkingen en andere schade aan het voortplantingssysteem veroorzaken.
Deze machine voldoet minstens aan EN ISO 5395:2013 (als de correcte stickers zijn aangebracht) en de B71.4-2012 specificaties van het American National Standards Institute (ANSI), die van kracht zijn op het moment van productie.
Onjuist gebruik of onderhoud door de gebruiker of eigenaar kan letsel veroorzaken. Om het risico op letsel te vermijden, dient u zich aan de volgende veiligheidsinstructies te houden en altijd op het veiligheidssymbool te letten, dat betekent VOORZICHTIG, WAARSCHUWING of GEVAAR – 'instructie voor persoonlijke veiligheid'. Niet-naleving van de instructie kan leiden tot lichamelijk of dodelijk letsel.
De volgende instructies zijn ontleend aan de EN ISO-norm 5395:2013 en de ANSI-norm B71.4-2012.
Lees of raadpleeg de gebruikershandleiding en ander instructiemateriaal zorgvuldig. Zorg ervoor dat u vertrouwd raakt met de bedieningsorganen en de veiligheidssymbolen en weet hoe u de machine moet gebruiken.
Laat kinderen of personen die de instructies niet kennen, nooit de maaimachine gebruiken of onderhoudswerkzaamheden daaraan verrichten. Voor de bestuurder kan een wettelijke minimumleeftijd gelden.
Houd iedereen weg uit het gebied waarin u de machine gebruikt, met name kinderen en huisdieren.
Onthoud dat de bestuurder verantwoordelijk is voor ongevallen of schade aan andere personen of hun eigendommen.
Het is niet toegestaan passagiers te vervoeren.
Elke bestuurder en monteur moet ervoor zorgen dat hij of zij professionele en praktische instructie krijgt. De eigenaar is verantwoordelijk voor de instructie van de gebruikers. Bij een dergelijke instructie moet de nadruk liggen op:
zorgvuldigheid en concentratie bij het werken met zitmaaiers;
als de machine op een helling begint te glijden, kan dat niet met de rem worden gecorrigeerd. De belangrijkste oorzaken voor het verliezen van de controle zijn:
onvoldoende grip van de wielen,
te snel rijden,
onjuist gebruik van de rem,
het type machine is niet geschikt voor het specifieke werk,
zich onvoldoende bewust zijn van de specifieke omstandigheden van het terrein, met name op hellingen,
onjuiste bevestiging en verdeling van lasten.
De eigenaar/gebruiker kan ongelukken voorkomen en is verantwoordelijk voor ongelukken, letsel van hemzelf/haarzelf of van anderen en schade aan eigendommen.
Draag tijdens het maaien altijd stevige, gripvaste schoenen, een lange broek, een helm, een veiligheidsbril en gehoorbescherming. Lang haar, losse kleding of sieraden kunnen worden gegrepen door bewegende onderdelen. Loop niet op blote voeten en draag ook geen schoenen met open tenen als u de machine gebruikt.
Inspecteer het terrein waarop u de maaimachine gaat gebruiken grondig en verwijder eventuele voorwerpen die door de machine kunnen worden uitgeworpen.
Vervang defecte geluiddempers/knalpotten.
Inspecteer het terrein om vast te stellen welke accessoires en werktuigen nodig zijn om goed en veilig te werken. Gebruik alleen door de fabrikant goedgekeurde accessoires en werktuigen.
Controleer of de dodemansknop, de veiligheidsschakelaars en de veiligheidsschermen zijn bevestigd en naar behoren werken. Gebruik de machine uitsluitend als deze naar behoren werkt.
Om letsel en schade te voorkomen dient u bijzonder voorzichtig te zijn bij de omgang met benzine. Benzine is uiterst brandbaar en de dampen ervan zijn explosief.
Doof alle sigaretten, sigaren, pijpen en andere ontstekingsbronnen.
Gebruik uitsluitend een goedgekeurd vat of blik voor de brandstof.
Verwijder nooit de dop van de brandstoftank en vul nooit brandstof bij terwijl de motor loopt.
Laat de motor afkoelen voordat u brandstof bijvult.
U mag de brandstoftank nooit binnenshuis bijvullen.
Bewaar de machine of brandstofhouder nooit bij een open vlam, vonk of waakvlam bij bijv. een geiser of andere apparaten.
Vul vaten nooit in een voertuig of vrachtwagen of op een oplegger met plastic afdekking. Zet brandstofvaten altijd op de grond en uit de buurt van het voertuig voordat u de tank bijvult.
Laad de machine uit de vrachtwagen of van de aanhanger en vul de tank pas als de machine op de grond staat. Als dit niet mogelijk is, is het beter dergelijke machines bij te vullen uit een draagbaar vat dan met behulp van een brandstofpistool.
Houd de vulpijp voortdurend in contact met de rand van de brandstoftank of de opening van de brandstofhouder totdat het bijvullen voltooid is. Gebruik geen hulpmiddelen die de vulpijp in de geopende stand vergrendelen.
Kleed u onmiddellijk om als er brandstof wordt gemorst op uw kleding.
Doe de brandstoftank nooit te vol. Plaats de brandstoftankdop en draai deze goed aan.
Laat de motor nooit in een afgesloten ruimte lopen, omdat zich daar giftige koolstofmonoxide- en uitlaatgassen kunnen verzamelen.
Maai uitsluitend bij daglicht of goed kunstlicht.
Alle werktuigkoppelingen uitschakelen, versnelling in de neutraalstand zetten en de parkeerrem in werking stellen voordat u de motor start.
Denk eraan dat elke helling gevaarlijk is. Het rijden op met gras begroeide hellingen vereist bijzondere zorgvuldigheid. Om te voorkomen dat de machine kantelt:
niet plotseling stoppen of gaan rijden bij het op- en afrijden van hellingen.
houd de snelheid laag bij het rijden op hellingen en in scherpe bochten;
let op bulten en kuilen en andere verborgen gevaren;
Maak geen scherpe bochten. Ga zorgvuldig te werk als u achteruitrijdt.
Gebruik contragewicht(en) of wielgewichten, als dit in de gebruikershandleiding wordt geadviseerd.
Let op kuilen in het terrein en andere verborgen gevaren.
Let op het verkeer als u in de buurt van een weg werkt of deze oversteekt.
Zet de maaimessen stil voordat u andere oppervlakken dan grasvelden oversteekt.
Bij gebruik van werktuigen nooit de afvoeropening naar omstanders toe richten of personen in de buurt van de werkende machine laten komen.
Gebruik de machine nooit als schermen, afdekplaten of andere beveiligingsmiddelen zijn beschadigd of ontbreken. Zorg ervoor dat alle interlockschakelaars zijn aangebracht, correct zijn afgesteld en naar behoren werken.
Verander de instellingen van de motor niet en laat de motor niet lopen met een te hoog toerental. De motor met te hoog toerental laten draaien kan de kans op lichamelijk letsel vergroten.
Voordat u de bestuurdersplaats verlaat:
machine laten stoppen op een horizontaal oppervlak;
aftakas uitschakelen en werktuigen laten zakken;
versnelling in neutraalstand zetten en parkeerrem in werking stellen;
de motor afzetten en het sleuteltje uit het contact nemen.
Schakel de aandrijving naar de werktuigen uit als u de machine transporteert of niet gebruikt.
Motor afzetten en aandrijving naar werktuigen uitschakelen:
vóór het bijvullen van brandstof;
voordat u de maaihoogte instelt, tenzij die vanaf de bestuurderspositie kan worden ingesteld.
voordat u verstoppingen verwijdert;
voordat u de maaimachine gaat controleren, schoonmaken of werkzaamheden daaraan gaat verrichten;
als u een vreemd voorwerp heeft geraakt of de machine abnormaal begint te trillen. Controleer de maaimachine op beschadigingen en voer alle benodigde reparaties uit voordat u de machine weer gebruikt.
Zet de gashendel terug terwijl de motor uitloopt. Als de machine met een brandstofafsluitklep is uitgerust, draai deze dan dicht als het maaiwerk voltooid is.
Houd uw handen en voeten uit de buurt van de maaidekken.
Kijk achterom en omlaag voordat u achteruitrijdt om er zeker van te zijn dat de weg vrij is.
Verminder uw snelheid en wees voorzichtig als u een bocht maakt of wegen en voetpaden oversteekt. Zet de cilinders/messenkooien stil als u niet maait.
Gebruik de maaimachine niet als u onder de invloed van alcohol of drugs bent.
Bliksem kan ernstig of dodelijk letsel veroorzaken. Als u bliksem ziet of donder hoort in het gebied, gebruik de machine dan niet; ga schuilen.
Wees voorzichtig als u de machine inlaadt op een aanhanger of een vrachtwagen of uitlaadt.
Wees voorzichtig bij het naderen van blinde hoeken, struiken, bomen, en andere objecten die het zicht kunnen belemmeren.
Draai alle moeren, bouten en schroeven regelmatig strak aan, zodat de machine steeds veilig in gebruik is.
Als er zich brandstof in de tank bevindt, mag u de machine niet opslaan in een afgesloten ruimte waar brandstofdampen in contact met open vuur of vonken kunnen komen.
Laat de motor afkoelen voordat u de machine in een afgesloten ruimte stalt.
Houd de motor, geluiddemper, accubehuizing en de brandstofopslagplaats vrij van overtollig vet, gras en bladeren om brandgevaar te verminderen.
Zorg ervoor dat alle onderdelen in goede staat verkeren en alle bevestigingselementen en hydraulische aansluitingen stevig vastzitten. Vervang versleten of beschadigde onderdelen en stickers.
Als het nodig is de brandstoftank af te tappen, doe dit dan buiten.
Wees voorzichtig als u de machine afstelt, teneinde te voorkomen dat uw vingers bekneld raken tussen de draaiende messen en de vaste onderdelen van de machine.
Let op dat bij machines met meerdere cilinders/messenkooien, andere cilinders/messenkooien kunnen gaan draaien doordat u een cilinder/messenkooi draait.
Schakel de aandrijvingen uit, breng de maaidekken omlaag, stel de parkeerrem in werking, zet de motor af en verwijder het contactsleuteltje. Wacht totdat alle bewegende delen tot stilstand zijn gekomen voordat u de machine afstelt, reinigt of repareert.
Verwijder gras en vuil van de maai-eenheden, de aandrijvingen, de geluiddempers en de motor om brand te voorkomen. Neem gemorste olie of brandstof meteen op.
Plaats onderdelen op assteunen indien dit nodig is.
Haal voorzichtig de druk van onderdelen met opgeslagen energie.
Maak de accukabels los voordat u reparatiewerkzaamheden gaat verrichten. Maak eerst de minpool van de accu los en daarna de pluspool. Sluit eerst de pluspool van de accu aan en daarna de minpool.
Wees voorzichtig als u de cilinders/messenkooien controleert. Draag handschoenen en wees voorzichtig als u onderhoudswerkzaamheden uitvoert aan de messenkooien.
Houd uw handen en voeten uit de buurt van bewegende onderdelen. Stel indien mogelijk de machine niet af terwijl de motor loopt.
Laad de accu op in een open, goed geventileerde ruimte; doe dit niet in de buurt van vonken en open vuur. Haal de oplader uit het stopcontact voordat u deze aansluit op of losmaakt van de accu. Draag beschermende kleding en gebruik geïsoleerd gereedschap.
Wees voorzichtig als u de machine inlaadt op een aanhanger of een vrachtwagen of uitlaadt.
Gebruik oprijplaten over de volledige breedte om de machine op een aanhangwagen of in een vrachtwagen te laden.
Zet de machine goed vast met spanbanden, kettingen, kabels of touwen. Zowel de voorste als de achterste spanband moet naar beneden en naar de buitenkant van de machine lopen
De volgende lijst bevat veiligheidsinstructies die specifiek zijn toegesneden op Toro-producten, of andere veiligheidsinstructies die niet zijn opgenomen in de CEN-, ISO- of ANSI-normen.
Dit product kan handen of voeten afsnijden en voorwerpen uitwerpen. Volg altijd alle veiligheidsinstructies op om ernstig of mogelijk dodelijk letsel te voorkomen.
Gebruik van dit product voor andere doeleinden dan het bedoelde gebruik kan gevaarlijk zijn voor de bestuurder of omstanders.
De uitlaatgassen van de motor bevatten koolmonoxide, een reukloos, dodelijk gif.
Laat de motor niet binnenshuis of in een afgesloten ruimte lopen.
Zorg ervoor dat u weet hoe u de motor snel kunt afzetten.
Draag geen tennisschoenen of gymschoenen als u de machine gebruikt.
Het verdient aanbeveling veiligheidsschoenen en een lange broek te dragen. Dit is verplicht op grond van diverse plaatselijke veiligheidsvoorschriften en verzekeringsbepalingen.
Wees voorzichtig als u omgaat met brandstof. Neem gemorste brandstof op.
Controleer elke dag of de interlockschakelaars goed functioneren. Als een schakelaar defect is, moet u deze vervangen voordat u de machine gebruikt.
Neem plaats op de bestuurdersstoel voordat u de motor start.
Let goed op als u de machine gebruikt. Om te voorkomen dat u de controle over de machine verliest, moet u de volgende instructies naleven:
Rij niet te dicht langs bunkers, greppels, sloten, dijken of andere gevaarlijke punten.
Verminder de snelheid als u een scherpe bocht maakt. Vermijd plotseling stoppen en starten.
Als u in de buurt van een weg werkt of deze oversteekt, moet u altijd voorrang verlenen.
Gebruik de bedrijfsremmen als u een helling afdaalt, om de snelheid laag te houden en de machine onder controle te houden.
Als u de machine gebruikt met de rolbeugel (omkantelbeveiliging), mag u deze nooit verwijderen en u moet altijd de veiligheidsgordel omdoen.
De maai-eenheden moeten omhoog worden gebracht als u van het ene werkgebied naar het andere rijdt.
Raak de motor, de geluiddemper of de uitlaatpijp niet aan als de motor loopt of direct nadat u deze heeft afgezet. Deze kunnen heet zijn en brandwonden veroorzaken.
De machine kan op elke helling omslaan of kantelen, maar dit risico neemt toe bij een grotere hellinghoek. Vermijd steile hellingen.
Om de macht over het stuur te behouden, moet u de maai-eenheden neerlaten als u hellingafwaarts rijdt.
Schakel de tractieaandrijving langzaam in en houd altijd uw voet op het tractiepedaal, vooral wanneer u een helling afrijdt.
Gebruik de achteruit op het tractiepedaal om te remmen.
Als de motor afslaat wanneer u een helling oprijdt, mag u de machine nooit keren. U moet dan altijd langzaam in een rechte lijn achterwaarts de helling af rijden.
Als er onverwachts een persoon of huisdier in of in de buurt van het maaigebied verschijnt, moet u stoppen met maaien. Onvoorzichtig gebruik in combinatie met de hoeken van het terrein, afkaatsingen en verkeerd geplaatste schermen kunnen leiden tot letsel als gevolg van uitgeworpen voorwerpen. Ga pas verder met maaien als er niets of niemand meer in het maaigebied is.
Zorg ervoor dat alle aansluitstukken van de hydraulische leidingen vastzitten en alle hydraulische slangen en leidingen in goede staat verkeren voordat u druk zet op het hydraulische systeem.
Houd lichaam en handen uit de buurt van kleine lekgaten of spuitmonden waaruit onder hoge druk hydraulische vloeistof ontsnapt. U kunt lekken in het hydraulische systeem opsporen met behulp van karton of papier. Doe dit niet met uw handen. Hydraulische vloeistof die onder druk ontsnapt, kan voldoende kracht hebben om door de huid heen te dringen, en letsel veroorzaken. Waarschuw onmiddellijk een arts als er hydraulische vloeistof is geïnjecteerd in de huid.
Voordat u het hydraulische systeem loskoppelt of werkzaamheden daaraan verricht, moet u alle druk in het systeem opheffen. Dit doet u door de motor af te zetten en de maai-eenheden en werktuigen neer te laten op de grond.
Controleer regelmatig of de brandstofleidingen goed vastzitten en slijtage vertonen. Indien nodig moet u ze vastzetten of repareren.
Als de motor moet lopen om onderhouds- of afstelwerkzaamheden uit te voeren, moet u uw kleding, handen, voeten en andere lichaamsdelen uit de buurt van de maai-eenheden, werktuigen en bewegende delen houden.
Ten behoeve van de veiligheid en een nauwkeurige afstelling moet u het maximale motortoerental door een erkende Toro-dealer laten controleren met een toerenteller.
Indien belangrijke reparaties nodig zijn of hulp is vereist, moet u contact opnemen met een erkende Toro-dealer.
Gebruik uitsluitend door Toro goedgekeurde werktuigen en onderdelen. De garantie kan komen te vervallen als werktuigen worden gebruikt die niet zijn goedgekeurd.
Deze machine heeft een geluidsniveau van 101 dBA met een onzekerheidswaarde (K) van 1 dBA.
Het geluidsniveau werd bepaald volgens de procedures in ISO 11094.
Deze machine oefent een geluidsdruk van 83 dBA uit op het gehoor van de bestuurder (met een onzekerheidswaarde (K) van 1 dBA).
De geluidsdruk is vastgesteld volgens de procedures in EN ISO 5395:2013.
Hand-arm
Gemeten trillingsniveau voor de rechterhand = 0,3 m/s2
Gemeten trillingsniveau voor de linkerhand = 0,3 m/s2
Onzekerheidswaarde (K) = 0,16 m/s2
De gemeten waarden zijn bepaald volgens de procedures in EN ISO 5395:2013.
Gehele lichaam
Gemeten trillingsniveau = 0,2 m/s2
Onzekerheidswaarde (K) = 0,1 m/s2
De gemeten waarden zijn bepaald volgens de procedures in EN ISO 5395:2013.
![]() |
Veiligheidsstickers en veiligheidsinstructies zijn gemakkelijk zichtbaar voor de bestuurder en bevinden zich bij plaatsen waar gevaar kan ontstaan. Vervang alle beschadigde of verdwenen stickers. |























Note: Bepaal vanuit de normale bedieningspositie de linker– en rechterzijde van de machine.
Afhankelijk van de breedte van de maaidekken die u op de tractie-eenheid wilt monteren, dient u de steunrollen als volgt af te stellen:
Benodigde onderdelen voor deze stap:
| Waarschuwingssticker | 1 |
Op machines die dienen te voldoen aan de EU-voorschriften moet waarschuwingssticker onderdeelnr. 120–1683 worden vervangen door waarschuwingssticker onderdeelnr. 120–1686.
Benodigde onderdelen voor deze stap:
| Vergrendelbeugel van motorkap | 1 |
| Popnagel | 2 |
| Schroef, 1/4 x 2 inch | 1 |
| Platte ring, 1/4 inch | 2 |
| Borgmoer, ¼" | 1 |
Haak de motorkapvergrendeling los van de beugel van de motorkapvergrendeling (Figuur 4).

Verwijder de twee popnagels waarmee de motorkapvergrendeling aan de motorkap is bevestigd (Figuur 5). Verwijder de beugel van de motorkapvergrendeling van de motorkap.

Plaats de beugel van de CE-vergrendeling en de beugel van de motorkapvergrendeling op de motorkap en lijn de montage-openingen uit. De beugel van de vergrendeling moet zich tegen de motorkap aan bevinden (Figuur 5). Verwijder de bout en moer niet van de arm van de beugel van de vergrendeling.

Lijn de ringen uit met de openingen aan de binnenzijde van de motorkap.
Bevestig de beugels en de ringen met de popnagels aan de motorkap (Figuur 6).
Haak de sluiting op de vergrendelbeugel van de motorkap (Figuur 7).

Schroef de bout in de andere arm van de vergrendelbeugel om de sluiting te vergrendelen (Figuur 8). De bout stevig aandraaien, maar de moer niet.

Benodigde onderdelen voor deze stap:
| Slanggeleider voorzijde rechts | 1 |
| Slanggeleider voorzijde links | 1 |
Haal de motoren van de messenkooien uit de transportbeugels.
Verwijder de transportbeugels en gooi deze weg.
Haal de maaidekken uit de dozen. U moet de maaidekken monteren en afstellen volgens de instructies in de Gebruikershandleiding.
Zorg ervoor dat het contragewicht (Figuur 9) wordt gemonteerd aan het juiste uiteinde van het maaidek volgens de instructies in de Gebruikershandleiding van het maaidek.

Alle maaidekken worden geleverd met de gazoncompensatieveer gemonteerd op de rechterkant van het maaidek. De gazoncompensatieveer moet worden gemonteerd aan dezelfde kant van het maaidek als de aandrijfmotor van de messenkooi. U stelt de stand van de gazoncompensatieveer als volgt af:
Draai de 2 slotbouten en de moeren los waarmee de stangbeugel is bevestigd aan de lippen op het maaidek (Figuur 10).

Verwijder de flensmoer waarmee de bout van de veerbuis is bevestigd aan de lip op het draagframe (Figuur 10). Verwijder het geheel.
Monteer de bout van de veerbuis aan de andere lip op het draagframe en zet deze vast met de flensmoer. De kop van de bout moet zich bevinden aan de buitenkant van de lip zoals wordt getoond in Figuur 11.

Monteer de stangbeugel aan de lippen op het maaidek met de slotbouten en de moeren (Figuur 11). Op het maaidek moet u de linkerslanggeleider aan de voorzijde van de lippen op het maaidek bevestigen bij het terugplaatsen van de stangbeugel (Figuur 13).
Important: Op maaidek nummer 4 (links vooraan) en 5 (rechts vooraan) moet u de montagemoeren van de stangbeugel gebruiken om de slanggeleiders aan de voorzijde van de lippen van het maaidek te bevestigen. De slanggeleiders moeten naar het middelste maaidek zijn gericht (Figuur 12 tot Figuur 14).



Note: Als u de maaidekken monteert of verwijdert, moet u de R-pen in de opening voor de veerstang naast de stangbeugel plaatsen. Anders moet de R-pen worden geplaatst in de opening in het uiteinde van de stang.
Vergroot het stuurbereik van de achterste maaidekken door de (2) tussenblokken van de as, de zeskantschroeven en de flensborgmoeren te verwijderen (Figuur 15) uit het draagframe van de achterste maaieenheden (#2 en #3) (Figuur 12).

Laat alle hefarmen helemaal neer.
Breng een laag schoon smeermiddel aan op de as van het draagframe (Figuur 16).

Als u een voormaaidek monteert, moet u het maaidek onder de hefarm schuiven, terwijl u de as van het draagframe in het juk van het draaipunt van de hefarm steekt (Figuur 16). Zorg ervoor dat de drukring zich op zijn plaats op de as van het draagframe bevindt.
Zet de as van het draagframe vast aan het juk van de hefarm met de borgpen (Figuur 16).
Om het stuurbereik van de maaidekken te borgen, bevestigt u het juk van het draaipunt met de borgpen aan het draagframe (Figuur 17).

Note: Bij het maaien op schuine oppervlakken wordt een vast stuurbereik aanbevolen.
Ga als volgt te werk bij de montage van de achtermaaidekken als de maaihoogte hoger dan 19 mm is.
Verwijder de lynch-pen en de ring waarmee de as van het draaipunt van de hefarm is bevestigd aan de hefarm, en schuif de as uit de hefarm (Figuur 18).

Plaats het juk van de hefarm op de as van het draagframe (Figuur 16).
Steek de as van de hefarm in de hefarm en zet deze vast met de ring en de lynch-pen (Figuur 18).
Bevestig de ketting van de hefarm aan de kettingbeugel met de borgpen (Figuur 19). Gebruik het aantal kettingschakels volgens de instructies in de Gebruikershandleiding van het maaidek.

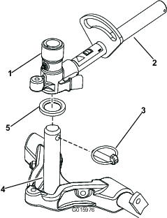
Smeer schoon vet op de sleufas van de motor van de messenkooi.
Smeer olie op de O-ring van de motor van de messenkooi en plaats deze op de flens van de motor.
Plaats de motor door deze rechtsom te draaien zodat de flenzen van motor loskomen van de bouten (Figuur 20). Draai de motor linksom totdat de flenzen om de bouten zitten en draai vervolgens de bouten vast.
Important: Controleer of de slangen van de motor van de messenkooi niet zijn verdraaid, geknikt of het risico lopen te worden afgekneld.

De gazoncompensatieveer (Figuur 21) zorgt ervoor dat het gewicht van de voorste naar de achterste rol wordt verplaatst. (Dit voorkomt dat er een golfpatroon in de grasmat ontstaat, ook wel bekend als 'bobbing'.)
Important: Stel de veer af als het maaidek is gemonteerd aan de tractie-eenheid, recht naar voren wijst en is neergelaten op de vloer van de werkplaats.
Monteer de borgpen in de achterste opening in de veerstang (Figuur 21).
Note: Bij onderhoud van het maaidek beweegt u de borgpen naar de opening van de veerstang naast de gazoncompensatieveer.

Draai de zeskantige moeren op het voorste uiteinde van de veerstang vast totdat de lengte van de samengedrukte veer 15,9 cm bedraagt (Figuur 21).
Note: Als u werkt op oneffen terrein, moet de veer 13 mm langer zijn. De machine zal het grondoppervlak iets minder goed volgen.
Note: De gazoncompensatie-instelling dient opnieuw te worden ingesteld als de maaihoogte of de agressiviteit van de maaistand gewijzigd wordt.
Benodigde onderdelen voor deze stap:
| Kick-standaard van maaidek | 1 |
Als het maaidek moet worden gekanteld om bij het ondermes/messenkooi te kunnen komen, moet u de achterkant van het maaidek ondersteunen met de kick-standaard zodat de moeren op het achtereind van de stelschroeven van de snijbalk niet op het werkvlak rusten (Figuur 22).

Bevestig de kick-standaard aan de kettingbeugel met de borgpen (Figuur 23).

Voordat de machine wordt gebruikt, moet deze worden gesmeerd, zodat een goede smering is gewaarborgd. Zie het hoofdstuk Smering. Als de machine niet goed is gesmeerd, kunnen belangrijke onderdelen hierdoor voortijdig slijten of defect raken.
Controleer het peil van de smeerolie van de achteras voordat de motor voor het eerst wordt gestart; zie Smeerolie van de achteras controleren in Onderhoud van het aandrijfsysteem.
Controleer het peil van de hydraulische vloeistof voordat de motor voor het eerst wordt gestart; zie Peil van de hydraulische vloeistof controleren in Bediening.
Controleer het motoroliepeil voordat en nadat de motor voor de eerste keer is gestart; zie Motoroliepeil controleren in Bediening.
Benodigde onderdelen voor deze stap:
| Meetstaaf | 1 |
Gebruik de meetstaaf om het maaidek af te stellen. Raadpleeg de gebruikershandleiding voor de maaidekken voor de afstelling van het maaidek (Figuur 24).

Twee pedalen (Figuur 25) bedienen de afzonderlijke remmen op de wielen ter ondersteuning van het draaien en ten behoeve van een betere tractie bij het rijden op hellingen.
Om de parkeerrem in werking te stellen (Figuur 25), koppelt u de pedalen met de borgpen.
Om de parkeerrem in te schakelen, (Figuur 25) sluit u de pedalen op elkaar aan met de borgpen, drukt u het rechterrempedaal in terwijl u het andere pedaal inschakelt. Om de parkeerrem uit te schakelen, trapt u een van de rempedalen in totdat de vergrendeling van de parkeerrem wordt ingetrokken.

Het tractiepedaal (Figuur 25) regelt de beweging vooruit en achteruit. Om vooruit te rijden moet u de bovenkant van het pedaal intrappen en om achteruit te rijden de onderkant van het pedaal. De rijsnelheid hangt af van hoever het pedaal wordt ingetrapt. Voor de maximale rijsnelheid zonder belasting trapt u het pedaal volledig in terwijl de gashendel op SNEL staat.
Om te stoppen, laat u het tractiepedaal opkomen en weer terugkeren in de middelste stand.
Om het stuur in uw richting te kantelen, moet u het pedaal (Figuur 25) intrappen, de stuurkolom naar u toe trekken in een stand die voor u het meest comfortabel is en daarna uw voet van het pedaal halen.
Als de begrenzer voor de maaisnelheid (Figuur 26) is omhooggeklapt, kunt u de maaisnelheid regelen en de maaidekken inschakelen. Met elk afstandsstuk kunt u de maaisnelheid met ongeveer 0,8 km/u wijzigen. Hoe meer afstandsstukken u plaatst, des te lager zal de maaisnelheid zijn. Om de machine in de transportstand te zetten, klapt u de snelheidsbegrenzer terug en kunt u met de maximale transportsnelheid rijden.
Door aan de schroef of schroeven (Figuur 26) te draaien, kunt u de afstand begrenzen die het tractiepedaal kan worden ingetrapt als u vooruit- of achteruitrijdt.
Important: De schroef van de snelheidsbegrenzer moet het tractiepedaal tegenhouden voordat de pomp een volledige slag aflegt, omdat anders de pomp schade kan oplopen.

Met deze hendel (Figuur 27) kunt u de maaidekken omhoog en omlaag brengen om te maaien en de messen starten en tot stilstand brengen als de messen in de maaistand zijn gezet. De maaidekken kunnen niet worden neergelaten als de maai-/hefhendel in de transportstand staat.
De contactschakelaar (Figuur 27) heeft drie standen: Uit, Aan/Voorgloeien en Start.
Het InfoCenter lcd-scherm toont informatie zoals de bedrijfsmodus en diverse diagnostieken en andere informatie over de machine (Figuur 27).
De aftakasschakelaar (Figuur 27) heeft twee standen: Uit (start) en In (stop). Trek de knop van de aftakasschakelaar uit om de maaimessen te activeren. Druk de knop in om de maaimessen te stoppen.

Zet de gashendel naar voren (Figuur 27) om het motortoerental te verhogen en naar achteren om het toerental te verlagen.
Zet de schakelaar omlaag om de koplampen te ontsteken (Figuur 27).
Het aansluitpunt (Figuur 28) dient voor de aansluiting van optionele 12 V elektrische accessoires.

Gebruik de zakhouder (Figuur 28) voor opslagdoeleinden.
Gebruik de wethendels om de messenkooien te wetten (Figuur 29).

Gebruik de hendel om de stoel naar voren en naar achteren te verschuiven (Figuur 30).
Draai aan de knop om de hoek van de armlegger van de stoel te verstellen (Figuur 30).
Verplaats de hendel om de hoek van de stoel naar achteren in te stellen (Figuur 30).
De meter voor de instelling van het gewicht geeft aan wanneer de stoel is ingesteld naar het gewicht van de bestuurder (Figuur 30). De hoogte wordt ingesteld door de ophanging binnen het groene gebied in te stellen.

Instelling voor het gewicht van de bestuurder (Figuur 30). Trek de hendel omhoog om de luchtdruk te verhogen en druk de hendel omlaag om de luchtdruk te verlagen. De juiste instelling wordt bereikt als de gewichtsmeter in het groene gedeelte staat.
Het InfoCenter lcd-scherm toont informatie over uw machine, onder meer de bedrijfsstatus en allerlei diagnostische informatie (Figuur 31). Het InfoCenter beschikt over een welkomstscherm en hoofdscherm. U kunt te allen tijde heen en weer gaan tussen het welkomstscherm en het hoofdscherm door een willekeurige welke knop in het InfoCenter te bedienen en dan op de richtingspijl te drukken.

Linkerknop, knop toegang tot menu/terug – druk op deze knop om naar de menu's van het InfoCenter te gaan. De knop dient om het huidige menu te verlaten.
Middelste knop – gebruik deze knop om naar beneden door menu's te bewegen.
Rechterknop – Gebruik deze knop als een pijl naar rechts aangeeft dat er nog andere opties in het menu zijn.
Manuele omkeerfunctie voor de ventilator – wordt geactiveerd door de linker- en rechterknop tegelijk in te drukken.
Pieper – klinkt als u de maaidekken omlaag brengt of als er berichten of storingen zijn.
Note: De knoppen kunnen verschillende functies vervullen afhankelijk van wat op dat moment nodig is. Voor elke knop is er een icoon dat de huidige functie weergeeft.
| SERVICE DUE | Geeft aan wanneer gepland onderhoud moet worden uitgevoerd |
![]() | Informatiepictogram |
![]() | Urenteller |
![]() | Snel |
![]() | Langzaam |
![]() | Ventilator omkeren – geeft aan of de ventilator omgekeerd draait |
![]() | Luchtinlaatverwarming actief |
![]() | Maai-eenheden omhoog brengen |
![]() | Maai-eenheden omlaag brengen |
![]() | De bestuurder moet op de stoel zitten |
![]() | Indicator parkeerrem – geeft aan of de parkeerrem is ingeschakeld |
![]() | Geeft het hoge bereik aan |
![]() | Vrijstand |
![]() | Geeft het lage bereik aan |
![]() | Koelvloeistoftemperatuur – de temperatuur van de motorkoelvloeistof in °C of °F |
![]() | Temperatuur (heet) |
![]() | Geweigerd of niet toegestaan |
![]() | Aftakas is ingeschakeld |
![]() | Motor starten |
![]() | Gestopt of uitgeschakeld |
![]() | Motor |
![]() | Contactschakelaar |
![]() | De maai-eenheden worden omlaag gebracht |
![]() | De maai-eenheden worden omhooggebracht |
![]() | Pincode |
![]() | Olietemperatuur – geeft de temperatuur van de hydraulische olie aan |
![]() | CAN Bus |
![]() | InfoCenter |
![]() | Slecht of mislukt |
![]() | Gloeilamp |
![]() | Uitvoer van TEC-controller of bedieningskabel in kabelboom |
![]() | Hoog: boven toegestaan bereik |
![]() | Laag: onder toegestaan bereik |
/![]() | Buiten bereik |
![]() | Schakelaar |
![]() | De bestuurder moet de schakelaar vrijgeven |
![]() | De bestuurder moet de status wijzigen in wat aangegeven wordt |
| Symbolen worden vaak gecombineerd in zinnen. Hier volgen enkele voorbeelden | |
![]() | De bestuurder moet de machine in neutraal zetten |
![]() | Motor weigert te starten |
![]() | Motor uitgeschakeld |
![]() | Motorkoelvloeistof te heet |
![]() | De hydraulische vloeistof is te heet |
![]() | Ga zitten of schakel de parkeerrem in werking |
Druk in het hoofdscherm op de menuknop om naar het InfoCenter menusysteem te gaan. U gaat naar het hoofdmenu. Raadpleeg de volgende tabellen voor een overzicht van de opties die u hebt in de menu's:
| Hoofdmenu | |
| Menu-optie | Beschrijving |
| Storingen | Het menu Storingen bevat een lijst met de recente machinestoringen. Raadpleeg de Gebruikershandleiding of een erkende Toro distributeur voor meer informatie over het menu Storingen en de informatie die het bevat. |
| Onderhoud | Het menu Onderhoud bevat informatie over de machine, zoals bedrijfsurentellers en andere cijfergegevens van die aard. |
| Diagnostiek | Het menu Diagnostiek geeft de status van elke machineschakelaar, sensor en bedieningsoutput aan. U kunt dit menu gebruiken om sommige problemen op te lossen. In het menu ziet u namelijk welke onderdelen in- en uitgeschakeld zijn. |
| Instellingen | In het menu Instellingen kunt u het InfoCenter-scherm configureren en aan uw voorkeuren aanpassen. |
| Machine | In het menu Machine ziet u het modelnummer, het serienummer en de versie van de software op uw machine. |
| Onderhoud | |
| Menu-optie | Beschrijving |
| Hours | Het totale aantal bedrijfsuren van de machine, motor en aftakas, alsook het aantal uren dat de machine getransporteerd is geweest en de tijd tot het volgende onderhoudsinterval. |
| Counts | Een overzicht van talrijke tellingen die de machine heeft uitgevoerd. |
| Diagnostiek | |
| Menu-optie | Beschrijving |
| Maai-eenheden | Geeft de invoer, bepalende factoren en uitvoer voor het optillen en neerlaten van de maaidekken aan. |
| Hoog/laag bereik | Geeft de invoer, bepalende factoren en uitvoer voor het rijden in de transportmodus aan. |
| Aftakas | Geeft de invoer, bepalende factoren en uitvoer voor het inschakelen van het aftakascircuit aan. |
| Engine Run | Geeft de invoer, bepalende factoren en uitvoer voor het inschakelen van de motor aan. |
| Wetten | Geeft de invoer, bepalende factoren en uitvoer voor het inschakelen van de wetfunctie aan. |
| Instellingen | |
| Menu-optie | Beschrijving |
| Eenheden | Bepaalt de eenheden die gebruikt worden in het InfoCenter. De opties zijn Engels of metrisch |
| Taal | Bepaalt de taal die gebruikt wordt in het InfoCenter*. |
| Schermverlichting lcd | De helderheid van het lcd-scherm. |
| Contrast lcd | Het contrast van het lcd-scherm. |
| Voorste messenkooisnelheid (wetmodus) | Bepaalt de snelheid van de voorste messen in wetmodus. |
| Achterste messenkooisnelheid (wetmodus) | Bepaalt de snelheid van de achterste messen in wetmodus. |
| Beveiligde menu's | Geeft de supervisor/monteur via een code toegang tot beveiligde menu's. |
| Auto stationair | Bepaalt hoeveel tijd er verstrijkt voordat de machine bij stationair draaien naar laag stationair schakelt. |
| Aantal messen | Bepaalt het aantal messen van de messenkooi voor het messenkooitoerental. |
| Maaisnelheid | Regelt de rijsnelheid om het messenkooitoerental te bepalen. |
| Maaihoogte | Regelt de maaihoogte om het messenkooitoerental te bepalen. |
| V messenkooi tpm | De berekende toerentalstand van de voorste messenkooien. De messenkooien kunnen ook handmatig worden ingesteld. |
| A messenkooi tpm | De berekende toerentalstand van de achterste messenkooien. De messenkooien kunnen ook handmatig worden ingesteld. |
* Alleen gebruikerstekst wordt vertaald. De schermen fouten, onderhoud en diagnostiek hebben betrekking op onderhoud. De titels worden weergegeven in de ingestelde taal, maar de menu-items zijn in het Engels.
| Betreffende | |
| Menu-optie | Beschrijving |
| Model | Het modelnummer van de machine. |
| Serienummer | Het serienummer van de machine. |
| Versie machine-bedieningseenheid | De softwareversie van de hoofdbedieningseenheid. |
| InfoCenter softwareversie | De softwareversie van het InfoCenter. |
| CAN-bus | De status van de communicatiebus van de machine. |
In het instellingenmenu van het InfoCenter kunt u 7 configuratie-instellingen voor de bediening veranderen: aantal messen, maaisnelheid, maaihoogte, V messenkooi tpm en A messenkooi tpm. U kunt deze instellingen vergrendelen door middel van de Beveiligde menu's.
Note: Bij levering van de machine is de oorspronkelijke code geprogrammeerd door uw distributeur.
Naar de instellingen van het beveiligde menu gaan
Scroll in het hoofdmenu naar beneden tot het instellingenmenu en druk op de rechterknop.
Scroll in het instellingenmenu naar beneden tot het beveiligde menu en druk op de rechterknop.
Om de code in te voeren drukt u op de middelste knop om het eerste cijfer in te stellen en drukt u vervolgens op de rechterknop om naar het volgende cijfer te gaan.
Gebruik de middelste knop om het tweede cijfer in te stellen en druk dan op de rechterknop om naar het volgende cijfer te gaan.
Gebruik de middelste knop om het derde cijfer in te stellen en druk dan op de rechterknop om naar het volgende cijfer te gaan.
Druk de middelste knop in om het vierde cijfer in te stellen en druk vervolgens op de rechterknop.
Druk op de middelste knop om de code in te voeren.
Als de code aanvaard wordt en het beveiligde menu 'ontgrendeld' is, zult u in de rechterbovenhoek van het display 'PIN' zien.
U kunt kiezen of de instellingen in het beveiligde menu worden weergegeven en kunnen worden gewijzigd. Scroll in het beveiligde menu naar omlaag tot de optie Beveiligde Instellingen. Druk op de rechterknop om de optie Beveiligde Instellingen UIT te schakelen. U kunt de instellingen in het beveiligde menu nu bekijken en wijzigen zonder de code in te voeren. Zet de optie Beveiligde Instellingen AAN om de beveiligde opties te verbergen; u hebt nu een code nodig om de instelling in het beveiligde menu te wijzigen. Als de code ingesteld is, moet u het sleutelcontact uit- en aanzetten om de instelling toe te passen en te bewaren.
Note: Als u de code bent vergeten of als u deze niet meer vindt, moet u uw distributeur vragen om hulp.
Scroll in het instellingenmenu naar beneden tot u de functie Aantal messen ziet
Druk op de rechterknop om het aantal messen te wijzigen; u kunt kiezen tussen 5, 8 of 11.
Scroll in het instellingenmenu naar beneden tot u de functie Maaisnelheid ziet.
Druk op de rechterknop om de maaisnelheid in te stellen.
Gebruik de middelste en de rechterknop om de gepaste maaisnelheidinstelling te selecteren op de mechanische maaisnelheidbegrenzer van het tractiepedaal.
Druk op de linkerknop om het maaisnelheidmenu te verlaten en de instelling te bewaren.
Scroll in het instellingenmenu naar beneden tot u de functie HOC ziet
Druk op de rechterknop om HOC te selecteren.
Gebruik de middelste en de rechterknop om de gewenste maaihoogte-instelling te kiezen. (Als de gewenste instelling niet wordt weergegeven, kies dan de HOC-instelling uit de lijst die deze het dichtst benadert).
Druk op de linkerknop om het menu HOC te verlaten en de instelling te bewaren.
De toerentallen van de voorste en achterste messenkooien worden berekend aan de hand van het aantal messen, de maaisnelheid en de maaihoogte-instelling in het InfoCenter. U kunt de instelling echter handmatig aanpassen aan verschillende maaiomstandigheden.
Om het toerental van de messenkooien te wijzigen, scrollt u naar beneden tot u V messenkooi tpm, A messenkooi tpm of beide ziet.
Druk op de rechterknop om het toerental te veranderen. Als de toerentalinstelling wordt gewijzigd, zal het display het toerental berekend op basis van de vorige instellingen van het aantal messen, de maaisnelheid en de maaihoogte blijven weergeven; u zult echter ook de nieuwe waarde zien.
Note: Specificaties en ontwerp kunnen zonder voorafgaande kennisgeving worden gewijzigd.
| Maaibreedte, 69 cm maaidekken | 307 cm |
| Maaibreedte, 81 cm maaidekken | 320 cm |
| Totale breedte, 69 cm maaidekken neergelaten | 345 cm |
| Totale breedte, 81 cm maaidekken neergelaten | 358 cm |
| Totale breedte, maaidekken opgeheven (transport) | 239 cm |
| Totale lengte | 370 cm |
| Hoogte met rolbeugel | 220 cm |
| Spoorbreedte, vóór | 229 cm |
| Spoorbreedte, achter | 141 cm |
| Wielbasis | 171 cm |
| Nettogewicht (zonder maaidekken en vloeistoffen) | 1574 kg |
Een selectie van door Toro goedgekeurde werktuigen en accessoires is verkrijgbaar voor gebruik met de machine om de mogelijkheden daarvan te verbeteren en uit te breiden. Neem contact op met een erkende servicedealer of distributeur of bezoek www.Toro.com voor een lijst van alle goedgekeurde werktuigen en accessoires.
Note: Bepaal vanuit de normale bedieningspositie de linker- en rechterzijde van de machine.
Deze machine stelt de bestuurder bloot aan geluidsniveaus van meer dan 85 dBA. Bij langdurige blootstelling kan dit leiden tot gehoorbeschadiging.
Draag gehoorbescherming als u deze machine gebruikt.
Als u het sleuteltje in het contact laat, bestaat de kans dat iemand de motor per ongeluk start waardoor u of andere omstanders ernstig letsel kunnen oplopen.
Verwijder het sleuteltje uit het contact voordat u onderhoudswerkzaamheden uitvoert aan de machine.
| Onderhoudsinterval | Onderhoudsprocedure |
|---|---|
| Bij elk gebruik of dagelijks |
|
Het carter van de motor is in de fabriek gevuld met olie; het oliepeil moet echter worden gecontroleerd voor- en nadat de motor voor de eerste keer wordt gestart.
De carterinhoud is ongeveer 9,5 liter met filter.
Gebruik hoogwaardige motorolie die moet voldoen aan de volgende specificaties:
Vereiste onderhoudsclassificatie van API: CH-4, CI-4 of hoger.
Aanbevolen olie: SAE 15W-40 (boven -18 °C)
Alternatieve olie: SAE 10W-30 of 5W-30 (voor alle temperaturen)
Note: Toro Premium motorolie is verkrijgbaar bij uw dealer met een viscositeit van 15W-40 of 10W-30. Zie de onderdelencatalogus voor de onderdeelnummers.
Note: De beste tijd om de motorolie te controleren is wanneer de motor koud is voordat deze is gestart voor de dag. Als hij al heeft gedraaid, moet u de olie eerst terug laten lopen gedurende tenminste 10 minuten voordat u controleert. Als het olieniveau op of onder de bijvul-markering (Add) op de peilstok staat, vul dan olie bij om het olieniveau bij de vol-markering (Full) te brengen. Niet te vol vullen. Als het olieniveau zich tussen de twee markeringen bevindt, hoeft er geen olie te worden bijgevuld.
Parkeer de machine op een horizontaal oppervlak.
Maak de sluitingen van de motorkap los en open de kap (Figuur 32).

Verwijder de peilstok uit de buis, veeg deze schoon en plaats de peilstok weer in de buis. Haal de peilstok er weer uit.
Het oliepeil moet zich in de veilige zone bevinden (Figuur 33).

Als het oliepeil zich onder de veilige zone bevindt, verwijdert u de vuldop (Figuur 34) en vult u bij met olie totdat het oliepeil de vol-markering bereikt. Niet te vol vullen.

Note: Als u andere olie gaat gebruiken, moet u eerst alle oude olie aftappen uit het carter voordat u dit vult met nieuwe olie.
Plaats de vuldop en de peilstok terug.
Sluit de motorkap en zet deze vast met de vergrendelingen.
| Onderhoudsinterval | Onderhoudsprocedure |
|---|---|
| Bij elk gebruik of dagelijks |
|
Controleer het koelvloeistofpeil bij het begin van elke dag. De inhoud van het systeem is 12,3liter.
Verwijder voorzichtig de radiateurdop.
Als de motor heeft gelopen, kan de hete koelvloeistof, die onder druk staat, ontsnappen indien de radiateurdop wordt verwijderd. Dit kan brandwonden veroorzaken.
Verwijder de radiateurdop nooit als de motor loopt.
Gebruik een doek als u de radiateurdop verwijdert en draai de dop langzaam open om de stoom te laten ontsnappen.

Controleer het koelvloeistofpeil in de radiateur. De radiateur moet worden gevuld tot de bovenkant van de vulbuis en de expansietank tot de VOL-markering (Figuur 35).
Als het koelvloeistofpeil te laag is, moet u bijvullen met een oplossing die half uit water, half uit ethyleenglycol-antivries bestaat. Gebruik geen koelvloeistoffen op basis van alcohol/methanol of alleen water.
Plaats de doppen van de radiateur en de expansietank terug.
Inhoud brandstoftank: 83 liter.
Gebruik uitsluitend schone, verse dieselbrandstof met een ultralaag (<15 ppm) zwavelgehalte die voldoet aan de standaarden van ASTM D975 of EN 590. Het cetaangetal moet minimaal 40 zijn. Koop brandstof in hoeveelheden die binnen 180 dagen kunnen worden gebruikt zodat u altijd verse brandstof heeft.
Important: Gebruik van andere brandstof zal het emissiesysteem van de motor beschadigen.
Gebruik zomerdieselbrandstof (nr. 2-D) bij temperaturen boven -7 °C en winterdieselbrandstof (nr. 1-D of nr. 1-D/2-D-mengsel) bij temperaturen beneden -7 °C. Gebruik van winterdieselbrandstof bij lage temperaturen biedt een lager vlampunt en een lager stolpunt. Dit vergemakkelijkt het starten en vermindert de kans dat de filters verstopt raken.
Gebruik van zomerdieselbrandstof bij temperaturen boven -7 °C zal bijdragen aan een langere levensduur van de pomp dan bij gebruik van winterdieselbrandstof.
Important: Gebruik geen kerosine of benzine in plaats van dieselbrandstof. Als u deze waarschuwing niet in acht neemt, kan dit leiden tot beschadiging van de motor.
Brandstof is schadelijk of dodelijk bij inname. Langdurige blootstelling aan dampen kan leiden tot ernstig letsel en ziekte.
Voorkom dat u dampen lange tijd inademt.
Houd uw gezicht uit de buurt van een vulpijp en de brandstoftank of een blik met conditioner.
Houd brandstof uit de buurt van ogen en huid.
Geschikt voor biodiesel
Deze machine kan ook gebruik maken van een dieselmengsel tot maximaal B7 (7% biodiesel, 93% petrodiesel). Het aandeel petrodiesel moet een ultralaag zwavelgehalte hebben. Neem de volgende voorzorgsmaatregelen in acht:
Her deel biodiesel van de brandstof moet voldoen aan de specificatie ASTM D6751 of EN 14214.
Het dieselmengsel moet beantwoorden aan ASTM D975 of EN 590.
Gelakte oppervlakken kunnen worden beschadigd door biodiesel.
Controleer afdichtingen, slangen en pakkingen, die in contact met brandstof komen, omdat zij in de loop der tijd hierdoor kunnen worden aangetast.
De kans bestaat dat een brandstoffilter na verloop van tijd verstopt raakt, nadat u bent overgestapt op een biodieselmengsel.
Neem contact op met uw leverancier als u informatie over biodiesel wenst.
In bepaalde omstandigheden is brandstof uiterst ontvlambaar en zeer explosief. Brand of explosie van brandstof kan brandwonden bij u of anderen en materiële schade veroorzaken.
Vul de brandstoftank in de open lucht wanneer de motor koud is. Eventueel gemorste brandstof opnemen.
Vul de brandstoftank nooit als de machine in een gesloten aanhanger staat.
Rook nooit wanneer u met brandstof bezig bent en houd de brandstof weg van open vlammen of vonken.
Brandstof in een goedgekeurd vat of blik en buiten bereik van kinderen bewaren. Koop nooit meer benzine dan u in 180 dagen kunt opmaken.
Gebruik de machine uitsluitend als het complete uitlaatsysteem is gemonteerd en naar behoren werkt.
In bepaalde omstandigheden kan tijdens het tanken statische elektriciteit worden ontladen waardoor vonken ontstaan die brandstofdampen tot ontbranding kunnen brengen. Brand of explosie van brandstof kan brandwonden bij u of anderen en materiële schade veroorzaken.
Zet brandstofvaten altijd op de grond en uit de buurt van de machine voordat u de tank bijvult.
Brandstofvaten niet in een voertuig of vrachtwagen of op aanhanger vullen, omdat bekleding of kunststof beplating het vat kunnen isoleren en de afvoer van statische lading kunnen bemoeilijken.
Als het praktisch mogelijk is, kunt u het best een machine eerst van de vrachtwagen of aanhanger halen en bijtanken als de machine met de wielen op de grond staat.
Als dit niet mogelijk is, verdient het de voorkeur dergelijke machines op een truck of aanhanger bij te vullen uit een draagbaar vat, niet met behulp van een vulpistool van een pomp.
Als u een vulpistool moet gebruiken, dient u de vulpijp voortdurend in contact met de rand van de brandstoftank of de opening van het vat te houden, totdat u klaar bent met bijvullen.
Parkeer de machine op een horizontaal oppervlak.
Maak de omgeving van de dop van de brandstoftank schoon. Gebruik hiervoor een schone doek.
Verwijder de dop van de brandstoftank (Figuur 36).

Vul de tank met dieselbrandstof tot aan de onderkant van de vulbuis.
Draai de tankdop daarna stevig vast.
Note: Vul de brandstoftank na elk gebruik indien dit mogelijk is. Dit beperkt mogelijke condensvorming in de brandstoftank tot een minimum.
| Onderhoudsinterval | Onderhoudsprocedure |
|---|---|
| Bij elk gebruik of dagelijks |
|
Het reservoir van het hydraulische systeem is in de fabriek gevuld met ongeveer 28,4liter hoogwaardige hydraulische vloeistof. Controleer het peil van de hydraulische vloeistof voordat de motor voor het eerst wordt gestart, en vervolgens dagelijks. Aanbevolen wordt het reservoir bij te vullen met de volgende hydraulische vloeistof:
Toro Premium All Season hydraulische vloeistof (verkrijgbaar in emmers van 19 liter of vaten van 208 liter. (Zie de onderdelencatalogus van de Toro-dealer voor de onderdeelnummers).
Andere vloeistoffen: Als de hydraulische vloeistof van Toro niet beschikbaar is, kunt u andere vloeistoffen gebruiken mits deze voldoen aan alle volgende materiaaleigenschappen en industriespecificaties: We raden af een synthetische vloeistof te gebruiken. Vraag uw smeermiddelenleverancier naar een geschikt productOpmerking: Toro aanvaardt geen enkele aansprakelijkheid voor schade die wordt veroorzaakt door gebruik van verkeerde vervangende vloeistoffen. Gebruik daarom uitsluitend producten van gerenommeerde fabrikanten die garant staan voor de door hen aanbevolen vloeistoffen.
ISO VG 46 slijtagewerende hydraulische vloeistof met hoge viscositeitsindex/laag stolpunt
| Materiaaleigenschappen: | |||
| Viscositeit, ASTM D445 | cSt @ 40 °C 44 tot 48cSt @ 100 °C 7,9 tot 8,5 | ||
| Viscositeitsindex ASTM D2270 | 140 tot 160 | ||
| Stolpunt, ASTM D97 | -37 °C tot -45 °C | ||
| Industriespecificaties: | |||
| Vickers I-286-S (kwaliteitsniveau), Vickers M-2950-S (kwaliteitsniveau), Denison HF-0 | |||
Hoogwaardige biologisch afbreekbare hydraulische vloeistof-Mobil EAL EnviroSyn 46H
Important: Mobil EAL EnviroSyn 46H is de enige synthetische biologisch afbreekbare vloeistof die Toro heeft goedgekeurd. Deze vloeistof is compatibel met de elastomeren die worden gebruikt in hydraulische systemen van Toro, en is geschikt voor een groot aantal temperatuursomstandigheden. Deze vloeistof is compatibel met gangbare minerale olie, maar met het oog op maximale biologische afbreekbaarheid en goede prestaties moet het hydraulische systeem grondig met gewone vloeistof worden gespoeld. De vloeistof is verkrijgbaar in emmers van 19 liter of vaten van 208 liter bij een Mobil-leverancier.
Note: Veel hydraulische vloeistoffen zijn bijna kleurloos, zodat het moeilijk is lekkages op te sporen. Er is een rode kleurstof voor de vloeistof in het hydraulisch systeem verkrijgbaar in flesjes van 20ml. Eén flesje is voldoende voor 15-22liter hydraulische vloeistof. U kunt deze kleurstof bestellen bij een erkende Toro-dealer, Onderdeelnr. 44-2500.
Plaats de machine op een horizontaal vlak, laat de maai-eenheden neer, zet de motor af en verwijder het sleuteltje.
Reinig de omgeving van de vulbuis en de dop van de hydraulische tank (Figuur 37). Verwijder de dop van de vulbuis.

Verwijder de peilstok uit de vulbuis en veeg deze af met een schone doek. Steek de peilstok in de vulbuis, haal hem er vervolgens weer uit en controleer het vloeistofpeil. Het vloeistofpeil moet tussen de twee markeringen op de peilstok staan.
Als het peil te laag is, vult u genoeg vloeistof bij totdat het peil de bovenste markering bereikt.
Plaats de peilstok en de dop op de vulbuis.
| Onderhoudsinterval | Onderhoudsprocedure |
|---|---|
| Bij elk gebruik of dagelijks |
|
De banden worden in de fabriek opzettelijk te hard opgepompt. U moet daarom voor gebruik wat lucht laten ontsnappen om de luchtdruk te verminderen. De luchtdruk in de banden moet 0,83-1,03 bar zijn. Controleer de bandenspanning elke dag.
Important: Zorg ervoor dat alle banden steeds de aanbevolen bandenspanning hebben; hierdoor kan de machine optimale maaiprestaties leveren en goed functioneren. Pomp de banden niet te zacht op.
Important: Het brandstofsysteem moet worden ontlucht indien zich één van de volgende situaties heeft voorgedaan:
De motor is gestopt omdat de brandstof op was.
Er is onderhoud uitgevoerd aan componenten van het brandstofsysteem.
Haal uw voet van het tractiepedaal en let erop dat het pedaal in de neutraalstand staat. Stel de parkeerrem in werking.
Zet gashendel op laag stationair.
Draai het contactsleuteltje op LOPEN. Het indicatielampje van de gloeibougie gaat branden.
Als het indicatielampje van de gloeibougie dooft, draait u het contactsleuteltje op START. Laat het sleuteltje direct los als de motor start en laat dit weer terugkeren naar LOPEN. Stel het toerental af.
Important: Laat de startmotor niet langer dan 15 seconden achter elkaar draaien omdat de startmotor hierdoor vroegtijdig defect kan raken. Als de motor na 15 seconden niet wil starten, moet u het sleuteltje op UIT draaien, de bedieningsorganen opnieuw controleren, nog eens 15 seconden wachten en de startprocedure herhalen.
Als de temperatuur beneden -7 °C is, kunt u de startmotor 30 seconden laten draaien. Daarna moet u de startmotor 60 seconden afzetten voordat u een tweede startpoging onderneemt.
Zet de motor af en wacht totdat alle bewegende delen tot stilstand gekomen zijn voordat u controleert op olielekken, losse onderdelen en andere waarneembare defecten.
Important: Laat de motor 5 minuten stationair lopen voordat u deze afzet of nadat de machine volledig belast is gebruikt. Hierdoor kan de turbocompressor afkoelen voordat u de motor afzet. Indien u dit nalaat, kunnen er problemen met de turbocompressor ontstaan.
Note: Laat de maai-eenheden altijd neer op de grond als u de machine parkeert. Dit vermindert de hydraulische belasting van het systeem, beperkt slijtage van onderdelen van het systeem en voorkomt dat de maai-eenheden per ongeluk worden neergelaten.
Laat de motor opnieuw op een laag stationair toerental lopen.
Zet de aftakasschakelaar in de stand Uit.
Stel de parkeerrem in werking.
Draai het contactsleuteltje op UIT.
Verwijder het sleuteltje uit het contact om te voorkomen dat de motor per ongeluk start.
| Onderhoudsinterval | Onderhoudsprocedure |
|---|---|
| Bij elk gebruik of dagelijks |
|
Niet-aangesloten of beschadigde interlockschakelaars kunnen onverwachte gevolgen hebben op de werking van de machine. Dit kan lichamelijk letsel veroorzaken.
Laat de interlockschakelaars ongemoeid.
Controleer elke dag de werking van de interlockschakelaars en vervang beschadigde schakelaars voordat u de machine weer in gebruik neemt.
De machine heeft interlockschakelaars in het elektrische systeem. De interlockschakelaars zijn bedoeld om de motor af te zetten als de bestuurder de stoel verlaat terwijl het tractiepedaal is ingetrapt. De bestuurder kan echter de stoel verlaten terwijl de motor loopt en het tractiepedaal in de neutraalstand staat. Hoewel de motor blijft lopen als de aftakas is uitgeschakeld en het tractiepedaal niet is ingetrapt, raden wij u met klem aan de motor af te zetten voordat u de bestuurdersstoel verlaat.
Om de controleren of de interlockschakelaars functioneren, moet u de volgende procedure uitvoeren:
Rij de machine langzaam naar een ruim, tamelijk open terrein. Laat de maai-eenheid neer, zet de motor af en stel de parkeerrem in werking.
Neem plaats op de bestuurdersstoel en trap het tractiepedaal in. Probeer de motor te starten. De startmotor mag nu niet draaien. Als de motor gaat draaien, is er een defect in het interlocksysteem dat moet worden verholpen voordat u de machine gaat gebruiken.
Neem plaats op de bestuurdersstoel en start de motor. Kom overeind uit de bestuurdersstoel en schakel de aftakasschakelaar in. De aftakas mag niet in werking komen. Als dit wel gebeurt, is er een defect in het interlocksysteem dat moet worden verholpen voordat u de machine gaat gebruiken.
Neem plaats op de bestuurdersstoel, stel de parkeerrem in werking en start de motor. Zet het tractiepedaal uit de neutraalstand. De motor moet afslaan. Als de motor niet afslaat, is er een defect in het interlocksysteem dat moet worden verholpen voordat u de machine gaat gebruiken.
U kunt de tegendruk op de hefarmen van het achtermaaidek afstellen om de machine aan te passen voor verschillende gazonomstandigheden en ervoor te zorgen dat de maaihoogte constant blijft in zware omstandigheden of op terrein waar een viltlaag is ontstaan.
U kunt elke tegendrukveer instellen op vier verschillende standen. Elke stand verhoogt of verlaagt de tegendruk op het maaidek met 2,3 kg ten opzichte van de vorige stand. De veren kunnen worden geplaatst op de achterkant van de actuator van de veer om alle tegendruk op te heffen (vierde stand).
Plaats de machine op een horizontaal oppervlak, laat de maaidekken neer, zet de motor af, stel de parkeerrem in werking en verwijder het sleuteltje uit het contact.
Steek een buis of gelijksoortig voorwerp op het uiteinde van de lange veer om de spanning op de veer tijdens de afstelling op te heffen (Figuur 38).
De veren staan onder spanning.
Wees voorzichtig bij het afstellen.
Als de veer is ontspannen, verwijdert u de bout en de borgmoer waarmee de actuator van de veer is bevestigd aan de beugel (Figuur 38).

Plaats de actuator van de veer in de gewenste opening en zet deze vast met de borgmoer.
Herhaal deze procedure bij de andere veer.
Plaats de machine op een horizontaal oppervlak, laat de maaidekken neer, zet de motor af, stel de parkeerrem in werking en verwijder het sleuteltje uit het contact.
De schakelaar van de hefarm bevindt zich achter de hefarm rechts voor (Figuur 39).

Draai de bevestigingsschroeven van de schakelaar los (Figuur 39) en zet de schakelaar hoger om de draaihoogte van de hefarm te verhogen of lager om de draaihoogte te verlagen. Draai de bevestigingsschroeven vast.
In noodgevallen kan de machine vooruit worden bewogen door de omloopklep in de regelbare hydraulische pomp in werking te stellen en de machine te duwen of te slepen. U mag de machine niet duwen of slepen over een afstand van meer dan 0,4 km.
Important: U mag de machine niet sneller dan 3 tot 4,8 km per uur duwen of slepen omdat anders de transmissie kan worden beschadigd. De omloopklep moet open zijn als de machine wordt geduwd of gesleept.
Important: Als de machine achteruit moet worden geduwd of gesleept, moet u ook zorgen voor een omleiding langs de afsluitklep in het verdeelstuk van de vierwielaandrijving. Daartoe moet u een slangset (slang onderdeelnr. 95-8843, koppeling nr. 95-0985 [aantal 2] en hydraulische aansluiting nr. 340-77 [aantal 2]) aansluiten op de poort om de druk in de tractie voor de achteruit-stand te testen en de poort om de druk in de vierwielaandrijving in de achteruit-stand te testen.
Open de motorkap en verwijder het middelste scherm.
Draai de omloopklep 90° (¼ slag) in een van beide richtingen om deze te openen en de olie inwendig om te laten leiden (Figuur 40). Omdat de vloeistof is omgeleid, kan de machine worden voortbewogen zonder dat de transmissie wordt beschadigd. Let op de stand van de klep als deze wordt geopend of gesloten.

Draai de omloopklep 90° (¼ slag) terug voordat u de motor te start. Sluit de klep met een torsie van maximaal 7 tot 11 N·m.
Op de voorkant van het frame van de machine aan de binnenzijde van elk wiel
Op de achterkant van het frame op het midden van as
Aan beide kanten van het frame onder de voorste opstap.
De achterbumper
Oefen u in het rijden met de machine, omdat deze machine een hydrostatische transmissie heeft en de eigenschappen ervan anders zijn dan die van veel gazonmachines. Een aantal punten waarop u moet letten bij het gebruik van de tractie-eenheid en de maai-eenheden, zijn de transmissie, het motortoerental, de belasting van de maaimessen en het belang van de remmen.
Om ervoor te zorgen dat er tijdens het gebruik steeds voldoende vermogen is voor de tractie-eenheid, moet u met behulp van het tractiepedaal het motortoerental hoog en enigszins constant houden. Een uitstekende regel daarvoor is de rijsnelheid verminderen als de maaimessen zwaarder worden belast, en verhogen als de maaimessen minder worden belast.
Daarom moet u het tractiepedaal naar achteren laten bewegen als het motortoerental afneemt, en het pedaal langzaam intrappen als het toerental stijgt. Als u echter zonder belasting en met de maai-eenheid omhooggebracht van het ene naar het andere maaigebied rijdt, moet u de gashendel op SNEL zetten en het tractiepedaal langzaam maar volledig intrappen om de maximum rijsnelheid te bereiken.
Een andere eigenschap waarop u moet letten, is het gebruik van de pedalen die zijn verbonden met de remmen. De remmen kunnen worden gebruikt ter ondersteuning bij het draaien van de machine. Ga echter voorzichtig te werk indien u ze gebruikt, in het bijzonder op zacht of nat gras, omdat het gazon per ongeluk kan scheuren. De remmen kunnen ook worden gebruikt om de machine grip te laten houden. In sommige heuvelachtige omstandigheden kan het hoogste wiel slippen en grip verliezen. Als deze situatie zich voordoet, trapt u het stuurpedaal voor het hoogste wiel geleidelijk en met tussenpozen in totdat dit wiel niet meer slipt, waarmee de tractie op het laagste wiel wordt vergroot.
Wees extra voorzichtig wanneer u de machine op hellingen gebruikt. Zorg ervoor dat de stoelvergrendeling goed vastzit en u de veiligheidsgordel hebt omgedaan. Rij langzaam en maak geen scherpe bochten om omkantelen te voorkomen. Om beter in balans te kunnen blijven tijdens het sturen, moet de maai-eenheid zijn neergelaten tijdens het afdalen.
Important: Laat de motor 5 minuten stationair lopen voordat u deze afzet of nadat de machine volledig belast is gebruikt. Hierdoor kan de turbocompressor afkoelen voordat u de motor afzet. Indien u dit nalaat, kunnen er problemen met de turbocompressor ontstaan.
Voordat u de motor afzet, moet u alle bedieningsorganen uitschakelen en de gashendel op LANGZAAM zetten. Als u de gashendel op LANGZAAM zet, vermindert u een hoog motortoerental, het lawaai en de trillingen. Draai het contactsleuteltje op UIT om de motor af te zetten.
Voordat u gaat maaien, moet u zich op een open terrein oefenen in het gebruik van de machine. Start en stop de motor. Rij de machine vooruit en achteruit. Laat de maai-eenheden neer en hef ze op en schakel de messenkooien in en uit. Als u zich vertrouwd voelt met de machine, moet u zich oefenen in het helling opwaarts en afwaarts rijden bij verschillende snelheden.
Als een waarschuwingslampje tijdens het gebruik gaat branden, moet u de machine onmiddellijk stoppen en het probleem verhelpen voordat u verder gaat met maaien. Een machine met een defect kan ernstige schade oplopen als deze wordt gebruikt.
Start de motor en zet de toerentalschakelaar op Snel. Beweeg de maaisnelheidbegrenzer naar de maaistand. Zet de schakelaar van de vermogenaftakas op AAN en gebruik de hefschakelaar om de maaidekken te bedienen (de frontmaaidekken zijn zo ingesteld dat zij eerder naar beneden komen dan de achtermaaidekken). Om vooruit te rijden en gras te maaien, moet u de tractiepedaal naar voren intrappen.
Zet de schakelaar van de vermogenaftakas op UIT en breng de maaidekken omhoog in de transportstand. Beweeg de maaisnelheidbegrenzer naar de transportstand. Wees voorzichtig als u tussen objecten rijdt zodat u de machine of de maaidekken niet per ongeluk beschadigt. Wees extra voorzichtig wanneer u de machine op hellingen gebruikt. Rijd langzaam en maak geen scherpe bochten om omkantelen te voorkomen. Om beter in balans te kunnen blijven tijdens het sturen, moeten de maaidekken zijn neergelaten tijdens het afdalen.
Note: Bepaal vanuit de normale bedieningspositie de linker- en rechterzijde van de machine.
| Onderhoudsinterval | Onderhoudsprocedure |
|---|---|
| Na de eerste 8 bedrijfsuren |
|
| Na de eerste 50 bedrijfsuren |
|
| Na de eerste 200 bedrijfsuren |
|
| Na de eerste 250 bedrijfsuren |
|
| Bij elk gebruik of dagelijks |
|
| Om de 50 bedrijfsuren |
|
| Om de 100 bedrijfsuren |
|
| Om de 150 bedrijfsuren |
|
| Om de 200 bedrijfsuren |
|
| Om de 400 bedrijfsuren |
|
| Om de 800 bedrijfsuren |
|
| Vóór de stalling |
|
| Jaarlijks |
|
Important: Raadpleeg de Gebruikershandleiding van de motor en de Gebruikershandleiding van de maai-eenheid voor verdere onderhoudsprocedures.
Gelieve deze pagina te kopiëren ten behoeve van gebruik bij routinecontroles.
| Gecontroleerd item | Voor week van: | ||||||
|---|---|---|---|---|---|---|---|
| Ma. | Di. | Wo. | Do. | Vr. | Za. | Zo. | |
| Werking van veiligheidssysteem controleren | |||||||
| Werking van de remmen controleren | |||||||
| Het peil van de motorolie en de brandstof controleren | |||||||
| Peil van de koelvloeistof controleren | |||||||
| Brandstoffilter/waterafscheider aftappen | |||||||
| Indicator voor verstopping in luchtfilter controleren | |||||||
| Radiateur, oliekoeler en scherm controleren op vuil | |||||||
| Controleren of motor ongewone geluiden maakt 1 | |||||||
| Controleren op ongewone geluiden tijdens het gebruik | |||||||
| Peil van hydraulische vloeistof controleren | |||||||
| Hydraulische slangen en leidingen op schade controleren | |||||||
| Controleren op lekkages | |||||||
| Bandenspanning controleren | |||||||
| Werking van instrumenten controleren | |||||||
| Afstelling van contact tussen snijplaat en messenkooi controleren | |||||||
| Maaihoogte-instelling controleren | |||||||
| Vet in alle smeernippels spuiten 2 | |||||||
| Beschadigde lak bijwerken. | |||||||
1. Controleer de gloeibougie en de spuitstukken van de injector, als de motor moeilijk start, buitensporig veel rook afgeeft of ongelijkmatig loopt.
2. Onmiddellijk na elke wasbeurt, ongeacht de voorgeschreven interval.

Als u het sleuteltje in het contact laat, bestaat de kans dat iemand de motor per ongeluk start waardoor u en andere omstanders ernstig letsel kunnen oplopen.
Verwijder het sleuteltje uit het contact voordat u onderhoudswerkzaamheden uitvoert aan de machine.
Maak de motorkapvergrendelingen los (Figuur 42) en open de motorkap.

Verwijder de borgpennen waarmee de achterste beugels van de motorkapvergrendeling aan de pennen van het frame zijn bevestigd en verwijder de motorkap.
| Onderhoudsinterval | Onderhoudsprocedure |
|---|---|
| Om de 50 bedrijfsuren |
|
De machine is voorzien van smeerpunten die regelmatig moeten worden gesmeerd met nr. 2 smeervet voor algemene doeleinden op lithiumbasis. Als de machine in normale omstandigheden wordt gebruikt, moet u alle lagers en lagerbussen om de 50 bedrijfsuren of direct na een wasbeurt smeren.
De smeerpunten en de hoeveelheden zijn:
Lagers van draaipunt van remas (5) (Figuur 43)

Lagerbussen van draaipunt van achteras (2) (Figuur 44)

Kogelverbindingen van stuurcilinder (2) (Figuur 45)

Kogelverbindingen van spoorstang (2) (Figuur 45)
Lagerbussen van koppelpen (2) (Figuur 45). De bovenste nippel op de koppelpen hoeft slechts één keer per jaar te worden gesmeerd (twee keer pompen).
Lagerbussen van hefarm (1 per maaidek) (Figuur 46)

Lagerbussen van hefcilinder (2 per maaidek) (Figuur 46)
Draaikogellagers van hefarm (1 per maaidek) (Figuur 47)
Draagframe van maaidek (2 per maaidek) (Figuur 47)
As van hefarm van maaidek (1 per maaidek) (Figuur 47)

| Onderhoudsinterval | Onderhoudsprocedure |
|---|---|
| Om de 400 bedrijfsuren |
|
Controleer de luchtfilterbehuizing op schade die een luchtlek kan veroorzaken. Vervang de luchtfilterbehuizing indien deze beschadigd is. Controleer het gehele luchtinlaatsysteem op lekken, beschadiging of losse slangklemmen.
Geef het luchtfilter uitsluitend een onderhoudsbeurt als de onderhoudsindicator (Figuur 48) dit aangeeft. Als u het luchtfilter vervangt voordat dit nodig is, wordt alleen maar de kans vergroot dat er vuil in de motor komt als het filter wordt verwijderd.

Important: Zorg ervoor dat het deksel goed vastzit en de luchtfilterbehuizing helemaal afsluit.
Trek de vergrendeling naar buiten en draai het luchtfilterdeksel linksom (Figuur 49).

Verwijder het deksel van de luchtfilterbehuizing. Voordat u het filter weghaalt, moet u met schone en droge perslucht onder lage druk (2,76 bar) grote hoeveelheden aangekoekt vuil verwijderen dat tussen de buitenkant van het voorfilter en de filterbus zit. Gebruik geen perslucht onder hoge druk, omdat hierdoor vuil via the filter in het inlaatkanaal kan worden geblazen.
Deze reiniging voorkomt dat er vuil in de inlaat terechtkomt als het voorfilter wordt verwijderd.
Verwijder en vervang het voorfilter (Figuur 50).
Het wordt afgeraden het gebruikte element te reinigen omdat dit kan leiden tot beschadiging van de filtermedia. Inspecteer het nieuwe filter op transportschade en controleer het uiteinde van het filter (dit moet goed aansluiten) en de filterbehuizing. Een beschadigd element mag niet worden gebruikt. Plaats het nieuwe filter door de buitenring van het element aan te drukken om dit vast te zetten in de filterbus. Druk niet op het flexibele middendeel van het filter.

Important: Probeer nooit een veiligheidsfilter te reinigen (Figuur 51). Plaats steeds een nieuw veiligheidsfilter als het voorfilter drie onderhoudsbeurten heeft gehad.

Reinig de opening van de vuiluitlaat die zich in het afneembare deksel bevindt. Verwijder de rubberen uitlaatklep van het deksel, maak de holte schoon en plaats de klep terug.
Monteer het deksel met de rubberen uitlaatklep naar beneden gericht – in een stand tussen ongeveer 5:00 tot 7:00 uur, gezien vanaf het uiteinde.
Stel de indicator (Figuur 48) opnieuw in als deze rood is.
| Onderhoudsinterval | Onderhoudsprocedure |
|---|---|
| Na de eerste 50 bedrijfsuren |
|
| Om de 150 bedrijfsuren |
|
Verwijder de aftapplug (Figuur 52) en laat de olie in een opvangbak lopen. Als er geen olie meer naar buiten stroomt, plaatst u de aftapplug terug.

Verwijder het oliefilter (Figuur 53). Smeer een dun laagje schone olie op de nieuwe filterpakking voordat u deze vastschroeft. Niet te vast draaien.

Vul het carter bij met olie; zie Motoroliepeil controleren.
Stel de kabel van de gashendel (Figuur 54) zo af, dat de regelhendel op de motor contact maakt met de stelbout voor hoog toerental op hetzelfde punt waar de kabel van de gashendel contact maakt met het uiteinde van de sleuf in de bedieningsarm.

In bepaalde omstandigheden zijn dieselbrandstof en brandstofdampen uiterst ontvlambaar en explosief. Brand of explosie van brandstof kan brandwonden of materiële schade veroorzaken.
Vul de brandstoftank in de open lucht wanneer de motor koud is en uit staat. Eventueel gemorste brandstof opnemen.
Vul de brandstoftank niet helemaal vol. Vul de brandstoftank tot 25 mm vanaf de bovenkant van de tank, niet de vulbuis. Dit geeft de brandstof in de tank ruimte om uit te zetten.
Rook nooit wanneer u met brandstof bezig bent en houd de brandstof weg van open vlammen of vonken.
Bewaar de brandstof in schone, veilige en goedgekeurde containers en zorg dat de dop op zijn plaats blijft.
| Onderhoudsinterval | Onderhoudsprocedure |
|---|---|
| Bij elk gebruik of dagelijks |
|
| Om de 800 bedrijfsuren |
|
| Vóór de stalling |
|
De brandstoftank moet om de 800 bedrijfsuren worden afgetapt en gereinigd. Ook moet de tank worden afgetapt en gereinigd als het brandstofsysteem vervuild raakt of wanneer de machine voor langere tijd gestald gaat worden. Gebruik schone brandstof om de tank uit te spoelen.
| Onderhoudsinterval | Onderhoudsprocedure |
|---|---|
| Om de 400 bedrijfsuren |
|
| Jaarlijks |
|
Controleer de brandstofleidingen en -verbindingen om de 400 bedrijfsuren of jaarlijks, waarbij de kortste periode moet worden aangehouden. Controleer deze op slijtage, beschadigingen of loszittende verbindingen.
| Onderhoudsinterval | Onderhoudsprocedure |
|---|---|
| Bij elk gebruik of dagelijks |
|
| Om de 400 bedrijfsuren |
|
Verwijder dagelijks water of ander vuil uit de waterafscheider. Vervang de filterbus om de 400 bedrijfsuren.
Plaats een schone opvangbak onder het brandstoffilter(Figuur 55).
Draai de aftapplug onder de filterbus los.

Reinig de omgeving van de plaats waar de filterbus wordt gemonteerd.
Verwijder de filterbus en reinig de plaats waar deze wordt gemonteerd.
Smeer schone olie op de pakking van de filterbus.
Monteer de filterbus met de hand totdat de pakking contact maakt en draai deze vervolgens nog een halve slag verder.
Draai de aftapplug onder de filterbus vast.
De brandstofaanzuigbuis bevindt zich in de brandstoftank en is voorzien van een rooster om te voorkomen dat er vuil in het brandstofsysteem komt. Verwijder de aanzuigbuis en reinig het rooster als dit nodig is.
Accuklemmen, accupolen en dergelijke onderdelen bevatten lood en loodverbindingen. Van deze stoffen is bekend dat ze kanker en schade aan de voortplantingsorganen veroorzaken. Was altijd uw handen nadat u met deze onderdelen in aanraking bent geweest.
Ontgrendel het bedieningspaneel en breng dit omhoog (Figuur 56).

Accuzuur bevat zwavelzuur; dit is een dodelijk gif dat ernstige brandwonden veroorzaakt.
U mag accuzuur nooit inslikken en moet elk contact met huid, ogen of kleding vermijden. Draag een veiligheidsbril en rubberhandschoenen om uw ogen en handen te beschermen.
Vul de accu alleen bij op plaatsen waar schoon water aanwezig is om indien nodig uw huid af te spoelen.
Sluit een acculader van 3 tot 4 A aan op de accupolen. Laad de accu op gedurende 4 tot 8 uur bij 3–4 A.
Als de accu is opgeladen, haalt u de acculader uit het stopcontact en maakt u deze los van de accupolen.
Bij het opladen produceert de accu gassen die tot ontploffing kunnen komen.
Rook nooit in de buurt van de accu en zorg ervoor dat er geen vonken of vlammen vlakbij de accu komen.
Bevestig de pluskabel (rood) aan de klem van pluspool (+) van de accu en de minkabel (zwart) aan de klem van minpool (-) van de accu (Figuur 57). Gebruik hierbij inbusbouten en moeren. Zorg ervoor dat de accuklem helemaal op de pluspool zit en de kabel goed op de accu is geplaatst. De kabel mag geen contact maken met het accudeksel. Schuif het rubberen stofkapje over de pluspool om eventuele kortsluiting te voorkomen.

Accuklemmen, accupolen en dergelijke onderdelen bevatten lood en loodverbindingen. Van deze stoffen is bekend dat ze kanker en schade aan de voortplantingsorganen veroorzaken. Was altijd uw handen nadat u met deze onderdelen in aanraking bent geweest.
Om corrosie van de accuklemmen te voorkomen, moet hierop u een dun laagje Grafo 112X-vet (Toro onderdeelnr. 505-47), vaseline of dunvloeibare smeerolie aanbrengen. Schuif het rubberen kapje over de pluspool van de accu heen.
Sluit het bedieningspaneel en sluit de vergrendeling.
Accupolen of metalen gereedschappen kunnen kortsluiting maken met metalen onderdelen, waardoor vonken kunnen ontstaan. Hierdoor kunnen accugassen tot ontploffing komen en lichamelijk letsel veroorzaken.
Zorg ervoor dat bij het verwijderen of installeren van de accu de accupolen niet in aanraking komen met metalen onderdelen van de machine.
Voorkom dat metalen gereedschappen kortsluiting veroorzaken tussen de accupolen en metalen onderdelen van de machine.
Als de accukabels verkeerd worden verbonden, kan dit schade aan de machine en de kabels tot gevolg hebben en vonken veroorzaken. Hierdoor kunnen accugassen tot ontploffing komen en lichamelijk letsel veroorzaken.
Maak altijd de minkabel (zwart) van de accu los voordat u de pluskabel (rood) losmaakt.
Sluit altijd de pluskabel (rood) van de accu aan voordat u de minkabel (zwart) aansluit.
| Onderhoudsinterval | Onderhoudsprocedure |
|---|---|
| Om de 50 bedrijfsuren |
|
Important: Voordat u laswerkzaamheden aan de machine verricht, moet u de minkabel loskoppelen van de accu om beschadiging van het elektrische systeem te voorkomen.
Note: Controleer de conditie van de accu elke week of om de 50 bedrijfsuren. Zorg ervoor dat de accuklemmen en de gehele accubehuizing schoon zijn omdat een vuile accu langzaam stroom afgeeft. Om de accu te reinigen, moet u deze uit de machine verwijderen en de hele accubak wassen met een oplossing van natriumbicarbonaat en water. Omspoelen met schoon water. Smeer een dun laagje Grafo 112X-vet (Toro-onderdeelnr. 505-47) of vaseline op de accupolen en de kabelklemmen om corrosie te voorkomen.
| Onderhoudsinterval | Onderhoudsprocedure |
|---|---|
| Na de eerste 8 bedrijfsuren |
|
| Om de 200 bedrijfsuren |
|
Indien de wielmoeren niet steeds zijn aangedraaid met de correcte torsie, kan dit leiden tot defecten of verlies van het wiel, waardoor lichamelijk letsel kan worden veroorzaakt.
Draai de moeren van de voor- en achterwielen vast met een torsie van 115-136 N·m na 1-4 bedrijfsuren en opnieuw na 8 bedrijfsuren. Haal de wielmoeren daarna om de 200 bedrijfsuren aan.
Note: Moeren van voorwielen: ½–20 UNF. Moeren van achterwielen: M12 x 1,6-6H (metrisch).
| Onderhoudsinterval | Onderhoudsprocedure |
|---|---|
| Om de 400 bedrijfsuren |
|
Controleer het oliepeil om de 400 bedrijfsuren. Gebruik hoogwaardige SAE 85W-140 tandwielolie om de olie te verversen.
Plaats de machine op een egale ondergrond en zet het wiel zodanig dat één controleplug (Figuur 61) zich bovenaan (op 12 uur) en de andere zich rechts (op 3 uur) bevindt.

Verwijder de rechtse controleplug (Figuur 61). Het oliepeil mag zich op niet meer dan 6 mm van de opening van de controleplug bevinden.
Als het peil te laag is, verwijder dan de bovenste plug en voeg olie toe tot ze uit het gat aan de rechterkant begint te vloeien.
Breng de beide pluggen opnieuw aan.
Herhaal stappen 1 tot en met 3 bij het tegenover gelegen planeetwiel.
| Onderhoudsinterval | Onderhoudsprocedure |
|---|---|
| Na de eerste 250 bedrijfsuren |
|
| Om de 800 bedrijfsuren |
|
De olie van de planeetwielaandrijving moet na de eerste 250 bedrijfsuren worden ververst. Daarna dient dit om de 800 bedrijfsuren of jaarlijks te gebeuren, waarbij de kortste periode moet worden aangehouden. Gebruik hoogwaardige SAE 85W-140 tandwielolie om de olie te verversen.
Zet de machine op een egale ondergrond en draai een wiel zo dat een van de controlepluggen helemaal onderaan staat (Figuur 62).

Plaats een opvangbak onder de naaf van het planeetwiel, verwijder beide pluggen en laat de olie in de bak lopen.
Plaats een opvangbak onder de remkast, verwijder de aftapplug en laat de olie in de bak lopen (Figuur 63).

Als alle olie op de beide plaatsen is afgetapt, plaatst u de plug weer in de remkast.
Draai het wiel tot de openingen in het planeetwiel zich op 11 en 1 uur bevinden (Figuur 64).

Giet langzaam 0,53-0,59 liter hoogwaardige SAE 85W-140 wt. tandwielolie door één van de openingen in het planeetwiel.
Plaats de pluggen terug.
Herhaal dit bij de planeetwielaandrijving/remsysteem aan de andere kant.
| Onderhoudsinterval | Onderhoudsprocedure |
|---|---|
| Om de 400 bedrijfsuren |
|
De achteras is in de fabriek gevuld met SAE 85-140 tandwielsmeer. U moet echter het oliepeil controleren voordat u machine voor de eerste keer in gebruik neemt, en daarna om de 400 bedrijfsuren. De inhoud is 2,4 liter. Controleer elke dag op lekkage.
Plaats de machine op een horizontaal oppervlak.
Verwijder de controleplug van elk uiteinde van de as (Figuur 65) en controleer of de tandwielolie tot aan de onderkant van de opening komt. Indien het peil te laag staat, verwijdert u de vulplug (Figuur 65) en vult u voldoende tandwielolie bij totdat het peil de onderkant van de opening van de controleplug bereikt.

| Onderhoudsinterval | Onderhoudsprocedure |
|---|---|
| Na de eerste 200 bedrijfsuren |
|
| Om de 800 bedrijfsuren |
|
Plaats de machine op een horizontaal oppervlak.
Reinig de omgeving van de drie aftappluggen, (1) aan elke kant en (1) in het midden (Figuur 66).

Verwijder de (3) controlepluggen voor het oliepeil en de vuldop op de hoofdas zodat de olie gemakkelijk kan weglopen.
Verwijder de aftappluggen zodat de olie in de opvangbakken kan lopen.
Plaats de pluggen.
Verwijder een controleplug en vul de as met ongeveer 2,4 liter 85W-140 tandwielsmeer of totdat het smeermiddel tot aan de onderkant van opening komt.
Plaats de controleplug.
De machine mag niet kruipen als het tractiepedaal niet is ingetrapt. Als de machine kruipt, is afstelling vereist
Parkeer de machine op een horizontaal vlak, schakel de motor uit, zet de rijsnelheidsregelaar in het LAAG-bereik en laat de maai-eenheden neer op de grond. Trap alleen het rechterrempedaal en stel de parkeerrem in werking.
Krik de linkerkant van de machine omhoog totdat het linker voorwiel vrij komt van de vloer van de werkplaats. Zorg ervoor dat de machine steunt op de rustpunten van de krik om te voorkomen dat de machine per ongeluk valt.
Start de motor en laat deze lopen op een laag stationair toerental.
Draai aan de contramoeren op het uiteinde van de pompstang en beweeg de bedieningshendel van de pomp naar voren als de machine voorwaarts kruipt, of naar achteren als de machine achterwaarts kruipt, totdat de machine niet meer kruipt (Figuur 67).

Als de wielen niet meer draaien, draait u de contramoeren vast om de afstelling te borgen.
Zet de motor af en zet de rechterrem vrij. Haal de assteunen weg en laat de machine neer op de grond. Maak een proefrit met de machine om er zeker van te zijn dat deze niet kruipt.
| Onderhoudsinterval | Onderhoudsprocedure |
|---|---|
| Om de 800 bedrijfsuren |
|
Meet de afstand hart-op-hart van het toespoor (ter hoogte van de assen) aan de voorzijde en de achterzijde van de stuurwielen. De afstand aan de voorzijde moet 3 mm korter zijn dan de gemeten afstand aan de achterzijde (Figuur 68).

Om het toespoor af te stellen, moet u de pen en moer van één van de kogelverbindingen van de trekstang verwijderen (Figuur 69). Verwijder de kogelverbinding van de trekstang uit de steun van de differentieelbehuizing.

Draai de klemmen aan beide uiteinden van de spoorstangen los (Figuur 69).
Draai de losgezette kogelverbinding een (1) hele slag naar binnen of naar buiten. Zet de klem vast op het losse uiteinde van de trekstang.
Draai de complete trekstang een (1) hele slag in dezelfde richting (naar binnen of naar buiten). Zet de klem vast op het aangesloten uiteinde van de trekstang.
Plaats de kogelverbinding in de steun van de differentieelbehuizing en draai de moer met de hand vast. Meet het toespoor.
Indien nodig nogmaals afstellen.
Draai de moer vast en monteer een nieuwe pen als de afstelling correct is.
| Onderhoudsinterval | Onderhoudsprocedure |
|---|---|
| Bij elk gebruik of dagelijks |
|
Verwijder dagelijks het vuil uit de omgeving van de motor, de oliekoeler en de radiateur. Reinig ze vaker als in vuile omstandigheden wordt gemaaid.
Ontgrendel en draai het achterscherm open (Figuur 70). Verwijder grondig al het vuil dat zich op het scherm bevindt.
Note: Om het scherm te verwijderen, moet u de scharnierpennen verwijderen.

Reinig beide zijden van de oliekoeler en de omgeving van de radiateur (Figuur 71) grondig met perslucht. Begin aan de voorkant en blaas het vuil eruit naar de achterkant. Reinig vervolgens de oliekoeler vanaf de achterkant en blaas het vuil naar de voorkant. Herhaal deze procedure verschillende keren totdat het maaisel en het vuil geheel zijn verwijderd.

Important: Als u de radiateur of de oliekoeler met water reinigt, kan hierdoor voortijdig corrosie optreden en kunnen onderdelen schade oplopen en kan vuil gaan aankoeken.
Sluit het achterscherm en zet het vast met de vergrendeling.
Stel de serviceremmen af als de rempedalen meer dan 13 mm 'speling' hebben of als de remmen niet naar behoren functioneren. Met speling wordt de afstand bedoeld die het rempedaal wordt ingetrapt voordat er remweerstand wordt gevoeld.
Haal de borgpen van de rempedalen los zodat beide pedalen onafhankelijk van elkaar kunnen functioneren.
Om de speling op de rempedalen te verkleinen, moet u de remmen vaster zetten:
Draai de voorste moer op het draadeinde van de remkabel los (Figuur 72).

Draai vervolgens de achterste moer vast om de kabel naar achteren te halen totdat de rempedalen 0 tot 13 mm speling hebben.
Note: Zorg ervoor dat er geen remspanning is als het pedaal wordt losgelaten.
Draai de voorste moeren aan nadat de remmen correct zijn afgesteld.
| Onderhoudsinterval | Onderhoudsprocedure |
|---|---|
| Om de 100 bedrijfsuren |
|
Controleer de conditie en de spanning van de riemen (Figuur 73) om de 100 bedrijfsuren.
Bij een correcte spanning heeft de riem een speling van 10 mm als u halverwege tussen de poelies op de riem drukt met een kracht van 4,5 kg.
Als de speling niet correct is (10 mm), moet u de montagebouten van de wisselstroomdynamo losdraaien (Figuur 73). Verhoog of verminder de spanning van de riem van de wisselstroomdynamo en draai de bouten vast. Controleer nogmaals de speling van de riem om zeker van te zijn dat de spanning correct is.

| Onderhoudsinterval | Onderhoudsprocedure |
|---|---|
| Om de 800 bedrijfsuren |
|
Ververs de hydraulische vloeistof in normale omstandigheden om de 800 bedrijfsuren. Als de vloeistof verontreinigd raakt, moet u contact opnemen met uw plaatselijke Toro-dealer omdat het systeem dient te worden schoongespoeld. Verontreinigde hydraulische vloeistof ziet er in vergelijking met schone vloeistof melkachtig of zwart uit.
Zet de motor af en open de motorkap.
Maak de terugvoerleiding van de bak los van de bodem van het hydraulische reservoir en laat de hydraulische vloeistof in een opvangbak lopen. Plaats de leiding weer terug als er geen hydraulische vloeistof meer naar buiten komt.
Vul het reservoir met ongeveer 28,4liter hydraulische vloeistof; zie Hydraulische vloeistof controleren.
Important: Gebruik uitsluitend de gespecificeerde hydraulische vloeistoffen. Andere vloeistoffen kunnen schade aan het systeem veroorzaken.
Plaats de dop weer op het reservoir. Start de motor en gebruik alle hydraulische bedieningsorganen om de hydraulische vloeistof door het hele systeem te verspreiden. Controleer ook op lekkages; zet daarna de motor af.
Controleer het vloeistofpeil en vul voldoende vloeistof bij totdat het peil de FULL (VOL)-markering op de peilstok bereikt. Niet te vol vullen.
| Onderhoudsinterval | Onderhoudsprocedure |
|---|---|
| Na de eerste 200 bedrijfsuren |
|
| Om de 800 bedrijfsuren |
|
Vervang de hydraulische filters (2) na de eerste 200 bedrijfsuren. Vervang de hydraulische filters daarna in normale omstandigheden om de 800 bedrijfsuren.
Gebruik ter vervanging Toro-filters (onderdeelnr. 94-2621 op de achterkant (maai-eenheid) van de machine en onderdeelnr. 75-1310 op de voorkant (lading) van de machine.
Important: Als een ander filter wordt gebruikt, kan de garantie van bepaalde onderdelen komen te vervallen.
Plaats de machine op een horizontaal oppervlak, laat de maai-eenheden neer, zet de motor af, stel de parkeerrem in werking en verwijder het sleuteltje uit het contact.
Reinig de omgeving van de plaats waar het filter wordt gemonteerd. Plaats een opvangbak onder het filter en verwijder het filter (Figuur 74 en Figuur 75).
Smeer de nieuwe filterpakking en vul het filter met hydraulische vloeistof.


Zorg ervoor dat de plaats waar het filter wordt bevestigd, schoon is. Schroef het filter erop totdat de pakking contact maakt met de bevestigingsplaat: draai het filter vervolgens nog eens een ½ slag.
Start de motor en laat deze ongeveer 2 minuten lopen om lucht uit het systeem te verwijderen. Zet de motor af en controleer op olielekkages.
| Onderhoudsinterval | Onderhoudsprocedure |
|---|---|
| Bij elk gebruik of dagelijks |
|
Controleer dagelijks de hydraulische leidingen en slangen op lekkages, kinken, loszittende steunen, slijtage, loszittende aansluitingen, slijtage door weersinvloeden en de inwerking van chemicaliën. Voer alle noodzakelijke reparaties uit voordat u de machine weer in gebruik neemt.
Hydraulische vloeistof die onder druk ontsnapt, kan door de huid heen dringen en letsel veroorzaken.
Controleer of alle hydraulische slangen en leidingen in goede staat verkeren en alle hydraulische aansluitingen en verbindingsstukken stevig vastzitten voordat u druk zet op het hydraulische systeem.
Houd lichaam en handen uit de buurt van kleine lekgaten of spuitmonden waaruit onder hoge druk hydraulische vloeistof ontsnapt.
U kunt lekken in het hydraulische systeem opsporen met behulp van karton of papier.
Hef alle druk in het hydraulische systeem op veilige wijze op, voordat u werkzaamheden gaat verrichten aan het hydraulische systeem.
Waarschuw onmiddellijk een arts als er hydraulische vloeistof is geïnjecteerd in de huid.
Contact met de messenkooien of andere bewegende onderdelen kan lichamelijk letsel veroorzaken.
Houd vingers, handen of kleding uit de buurt van de messenkooien of andere bewegende onderdelen.
Probeer de messenkooien nooit met uw handen of voeten te draaien of aan te raken terwijl de motor draait.
Note: Tijdens het wetten zijn de voormaaidekken en de achterste maaidekken tegelijk in werking.
Plaats de machine op een horizontaal oppervlak, laat de maaidekken neer, zet de motor af, stel de parkeerrem in werking en zet de schakelaar van de vermogenaftakas UIT.
Ontgrendel de motorkap en til deze omhoog zodat u bij de bedieningsorganen kunt komen.
Stel het contact tussen de messenkooi en het ondermes af en zorg ervoor dat dit geschikt is voor het wetten bij alle maaidekken; zie de Gebruikershandleiding van het maaidek.
Kies met de voorste, achterste of beide wethendels de messenkooien die moeten worden gewet (Figuur 76).
Start de motor en laat deze op een laag stationair toerental lopen.
Wanneer u het toerental van de motor tijdens het wetten verandert, kunnen de messenkooien tot stilstand komen.
Verander nooit het motortoerental tijdens het wetten.
Wet de messenkooien uitsluitend als de motor laag stationair loopt.
Om lichamelijk letsel te voorkomen, dient u buiten het bereik van de maaidekken te zijn voordat u verdere werkzaamheden uitvoert.
Met de maaisnelheidbegrenzer in de maaistand zet u de schakelaar van de vermogenaftakas AAN. Druk op de hefschakelaar om de gewenste messenkooien te beginnen wetten.
Breng de wetpasta aan met een borstel met een lange steel. Gebruik nooit een borstel met een korte steel.

Als de messenkooien vast komen te zitten of onregelmatig worden tijdens het wetten, verhoogt u gasinstelling tot de messenkooi gestabiliseerd wordt.
Als u de maaidekken tijdens het wetten wilt afstellen, schakelt u de messenkooien uit door op de achterkant van de hefschakelaar te drukken; zet de schakelaar van de vermogenaftakas UIT en zet de motor af. Na de afstelling herhaalt u stappen tot en met 8.
Herhaal deze procedure bij alle maaidekken die u wilt wetten.
Als u klaar bent met wetten, moet u de wethendels in de Maaistand zetten, de motorkap laten zakken en alle wetpasta van de maaidekken wassen. Stel indien nodig het contact tussen de messenkooi en het ondermes af. Zet de toerentalregeling van de messenkooien in de gewenste maaistand.
Important: Als de wetschakelaar na het wetten niet in de UIT-stand worden gezet, zullen de maaidekken niet omhoog komen of naar behoren werken.
Note: Aanvullende instructies en procedures met betrekking tot wetten kunt u vinden in de handleiding Slijpen van TORO-maaimachine met messenkooien en roterende messen, documentnr. 80-300SL.
Note: Voor een betere snijrand moet u de voorkant van het ondermes bijvijlen als u klaar bent met wetten. Hiermee verwijdert u bramen of ruwe randen die kunnen zijn ontstaan op de snijrand.
Tap de motorolie af uit het carter en plaats de aftapplug.
Verwijder het oliefilter en gooi het weg. Plaats een nieuw oliefilter.
Vul het oliecarter opnieuw met de juiste motorolie.
Start de motor en laat deze ongeveer twee minuten stationair lopen.
Zet de motor af.
Spoel de brandstoftank om met verse, schone dieselbrandstof.
Zet alle onderdelen van het brandstofsysteem weer goed vast.
Zorg ervoor dat het luchtfilter grondig worden gereinigd en een onderhoudsbeurt krijgt.
Plak de luchtfilterinlaat en de uitlaat af met weerbestendige tape.
Controleer de antivriesbescherming en vul het systeem bij met een oplossing die half uit water, half uit ethyleenglycol bestaat. Vul zoveel bij als nodig is met het oog op de plaatselijk te verwachten minimumtemperatuur.
Reinig de tractie-eenheid, de maai-eenheden en de motor grondig.
Controleer de bandenspanning; zie Bandenspanning controleren.
Controleer of alle bevestigingen vastzitten; zet ze vast indien nodig.
Smeer alle smeer- en draaipunten met vet of olie. Neem overtollig vet op.
Plaatsen waar de lak is bekrast, beschadigd of geroest, moeten licht geschuurd en bijgewerkt worden. Eventuele deuken in de metalen carrosserie uitdeuken.
Verricht de volgende onderhoudswerkzaamheden aan de accu en de kabels:
Haal de accuklemmen los van de accupolen.
Reinig de accu, de klemmen en de polen met behulp van een staalborstel en een oplossing van zuiveringszout (natriumbicarbonaat).
Smeer een dun laagje Grafo 112X-vet (Toro onderdeelnr. 505-47) of vaseline op de kabelklemmen en de accupolen om corrosie te voorkomen.
Laad de accu om de 60 dagen 24 uur lang op om loodsulfatie van de accu te voorkomen.