Important: Før du monterer sættet med roterende blinklys, skal du enten montere LED-arbejdslygtesættet eller et universelt solskærmssæt med kontaktpanelsættet monteret. Kontakt en autoriseret Toro-forhandler for at få flere oplysninger.
Note: Gem alle afmonterede dele til senere montering, medmindre andet er anført.
Parker maskinen på en plan flade, sænk redskabet, sluk for maskinen, aktiver parkeringsbremsen, og tag nøglen ud.
Drej batteriets afbryderkontakt hen til positionen OFF (fra). Se afsnittet om vedligeholdelse af det elektriske system i betjeningsvejledningen til traktionsenheden.
Dele, der skal bruges til dette trin:
| Roterende blinklys | 1 |
| Fatning til roterende blinklys | 1 |
| Ledningsnet til roterende blinklys | 1 |
| Kabelbånd | 6 |
| Lygtekontakt | 1 |
| Monteringsenhed til styrtbøjlesystem med roterende blinklys | 1 |
| Bolt (5/16" x 1") | 2 |
| Låsemøtrik (5/16") | 2 |
| Monteringsenhed til solskærm med roterende blinklys | 1 |
| Bræddebolt (⅜" x 2¼") | 1 |
| Bræddebolt (⅜" x 1") | 1 |
| Afstandsbøsning | 1 |
| Låsemøtrik (⅜") | 2 |
Important: Før du monterer dette sæt, skal styrtbøjlesystemet udstyres med LED-arbejdslygtesættet. Kontakt en autoriseret Toro-forhandler for at få flere oplysninger.
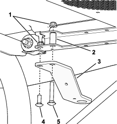
Fjern de bageste møtrikker og bolte fra arbejdslygtens beslag som vist i Figur 1.

Monter det roterende blinklys på beslaget, og monter enheden som vist i Figur 2.
Note: Sørg for, at enheden er sikkert fastgjort ved at spænde vingemøtrikken på det roterende blinklys og kontramøtrikkerne på fatningen, når den er samlet.

Find den løse fatning med 2 ben fra arbejdslygteledningsnettet, og forbind strømstikket til det roterende blinklys' ledningsnet.
Træk ledningsnettet til det roterende blinklys op gennem hullet fra bunden i blinklysets monteringsenhed.

Træk ledningsnettet til det roterende blinklys op gennem hullet fra bunden i blinklysets monteringsenhed.
Tilslut det roterende blinklys' løse ledningsnetstik til spadestikkene i blinklysets fatning (Figur 4).
Note: Blinklysstikket kan skrues ud af blinklysets fatning til tilslutning (Figur 5).
Slut den røde ledning til det midterste blinklysspadestik.
Slut den sorte ledning til det yderste blinklysspadestik.

Monter det roterende blinklys på beslaget som vist i Figur 5.
Note: Sørg for, at enheden er sikkert fastgjort ved at spænde vingemøtrikken på det roterende blinklys og kontramøtrikkerne på fatningen, når den er samlet.

Tilslut kontakten til det roterende blinklys til arbejdslygtekontaktenheden som vist i Figur 6.

Drej batteriets afbryderkontakt hen til positionen ON (til). Se afsnittet om vedligeholdelse af det elektriske system i betjeningsvejledningen til traktionsenheden.
Important: Før du monterer dette sæt, skal solskærmen udstyres med kontaktpanelsættet. Kontakt en autoriseret Toro-forhandler for at få flere oplysninger.
Monter det roterende blinklys' monteringsbeslag på solskærmen som vist i Figur 7.

Find den løse fatning med 2 ben fra kontaktpanelets ledningsnet oven på solskærmen, og forbind strømstikket til det roterende blinklys' ledningsnet.
Træk ledningsnettet til det roterende blinklys op gennem hullet fra bunden i blinklysets monteringsenhed.

Tilslut det roterende blinklys' løse ledningsnetstik til spadestikkene i blinklysets fatning (Figur 9).
Note: Blinklysstikket kan skrues ud af blinklysets fatning til tilslutning (Figur 10).
Slut den røde ledning til det midterste blinklysspadestik.
Slut den sorte ledning til det yderste blinklysspadestik.

Monter det roterende blinklys på beslaget, og monter enheden som vist i Figur 10.
Note: Sørg for, at enheden er sikkert fastgjort ved at spænde vingemøtrikken på det roterende blinklys og kontramøtrikkerne på fatningen, når den er samlet.

Fjern proppen fra det roterende blinklys' kontaktåbning på kontaktpanelet (Figur 11).

Slut det roterende blinklys' kontakt til kontaktpanelet som vist i Figur 12.

Tilkobl batteriet. Se afsnittet om vedligeholdelse af det elektriske system i traktionsenhedens betjeningsvejledning.
Skub kontakten til det roterende blinklys til positionen ON (til) for at aktivere blinklyset.