| Intervalo de mantenimiento y servicio | Procedimiento de mantenimiento |
|---|---|
| Cada vez que se utilice o diariamente |
|
Este cortacésped de asiento de cuchillas rotativas está diseñado para ser usado por operadores profesionales contratados. Está diseñado principalmente para segar césped bien mantenido en zonas verdes residenciales o comerciales. El uso de este producto para otros propósitos que los previstos podría ser peligroso para usted y para otras personas.
Lea este manual detenidamente para aprender a utilizar y mantener correctamente su producto, y para evitar lesiones y daños al producto. Usted es responsable de utilizar el producto de forma correcta y segura.
Visite www.Toro.com para buscar materiales de formación y seguridad o información sobre accesorios, para localizar un distribuidor o para registrar su producto.
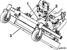
Cuando necesite asistencia técnica, piezas genuinas Toro o información adicional, póngase en contacto con un Servicio Técnico Autorizado o con Asistencia al Cliente de Toro, y tenga a mano los números de modelo y serie de su producto. La Figura 1 identifica la ubicación de los números de serie y de modelo en el producto. Escriba los números en el espacio provisto.

Este manual utiliza 2 palabras para resaltar información. Importante llama la atención sobre información mecánica especial, y Nota resalta información general que merece una atención especial.
El uso o la operación del motor en cualquier terreno forestal, de monte o cubierto de hierba a menos que el motor esté equipado con parachispas (conforme a la definición de la sección 4442) mantenido en buenas condiciones de funcionamiento, o que el motor haya sido fabricado, equipado y mantenido para la prevención de incendios, constituye una infracción de la legislación de California (California Public Resource Code Section 4442 o 4443).
El manual del propietario del motor adjunto ofrece información sobre las normas de la U.S. Environmental Protection Agency (EPA) y de la California Emission Control Regulation sobre sistemas de emisiones, mantenimiento y garantía. Puede solicitarse un manual nuevo al fabricante del motor.
Par bruto o neto: el par bruto o neto de este motor fue calculada por el fabricante del motor con arreglo a lo estipulado en el documento J1940 o J2723 de la Society of Automotive Engineers (Sociedad de Ingenieros del Automóvil - SAE). Debido a que el motor está configurado para cumplir los requisitos de seguridad, emisiones y operación, su potencia real en este tipo de cortacésped será significativamente menor. Consulte la información del fabricante del motor incluida con la máquina.
CALIFORNIA
Advertencia de la Propuesta 65
Los gases de escape de este producto contienen productos químicos que el Estado de California sabe que causan cáncer, defectos congénitos u otros peligros para la reproducción.
Los bornes, terminales y otros accesorios de la batería contienen plomo y compuestos de plomo, productos químicos reconocidos por el Estado de California como causantes de cáncer y daños reproductivos. Lávese las manos después de manejar el material.
El uso de este producto puede provocar la exposición a sustancias químicas que el Estado de California considera causantes de cáncer, defectos congénitos u otros trastornos del sistema reproductor.
Este símbolo de alerta de seguridad (Figura 2) se utiliza tanto en este manual como sobre la máquina para identificar importantes mensajes de seguridad que deben observarse para evitar accidentes.

El símbolo de alerta de seguridad aparece encima de información que le alerta ante acciones o situaciones inseguras, y va seguido de la palabra PELIGRO, ADVERTENCIA, o CUIDADO.
PELIGRO: Indica una situación peligrosa inminente, que si no se evita, causará la muerte o lesiones graves.
ADVERTENCIA: indica una situación potencialmente peligrosa que si no se evita, podría causar la muerte o lesiones graves.
CUIDADO: Indica una situación potencialmente peligrosa que si no se evita, podría causar lesiones menores o moderadas.
Este manual utiliza dos palabras más para resaltar información. Importante llama la atención sobre información mecánica especial, y Nota resalta información general que merece una atención especial.
Esta máquina es capaz de amputar manos y pies y de lanzar objetos al aire. Exmark ha diseñado y probado este cortacésped para que ofrezca un servicio razonablemente seguro; no obstante, el incumplimiento de las instrucciones de seguridad puede causar lesiones personales o la muerte.
Lea, comprenda y siga todas las instrucciones y advertencias que figuran en el Manual del operador , y los demás materiales de formación situados en la máquina, el motor y los accesorios. Todos los operadores y mecánicos deben recibir una formación adecuada. Si el operador o el mecánico no sabe leer este manual, es responsabilidad del propietario explicarle este material; es posible que haya otros idiomas disponibles en nuestra página web.
Sólo permita que utilicen la máquina operadores debidamente formados, responsables y físicamente capaces, que estén familiarizados con la operación segura, los controles del operador y las señales e instrucciones de seguridad. No deje nunca que el equipo sea utilizado o mantenido por niños o por personas que no hayan recibido la formación adecuada al respecto. La normativa local puede imponer límites sobre la edad del operador.
No utilice la máquina cerca de terraplenes, fosas, taludes, agua, u otros peligros, o en pendientes de más de 15 grados.
No coloque las manos o los pies cerca de los componentes en movimiento de la máquina.
No utilice nunca la máquina si están dañados los protectores, las defensas o las cubiertas. Tenga siempre colocados y en buenas condiciones de uso los protectores, interruptores y otros dispositivos de seguridad.
Pare la máquina, apague el motor y retire la llave antes de realizar tareas de mantenimiento o repostaje, y antes de eliminar obstrucciones en la máquina.

![]() |
Las pegatinas de seguridad e instrucciones están a la vista del operador y están ubicadas cerca de cualquier zona de peligro potencial. Sustituya cualquier calcomanía que esté dañada o que falte. |





















Máquinas sin EFI solamente

Máquinas EFI solamente





Familiarícese con todos los controles antes de poner en marcha el motor y trabajar con la máquina.

El interruptor de encendido, que se utiliza para arrancar y apagar el motor, tiene tres posiciones: PARADA, MARCHA y ARRANQUE. Consulte Cómo arrancar el motor.
El acelerador controla la velocidad del motor y tiene un ajuste variable continuo de LENTO a RáPIDO (Figura 5).
Utilice el control del estárter para poner en marcha el motor en frío.
Use la palanca de la TDF hacia arriba para activar las cuchillas y el soplador.
La palanca de control de la velocidad establece la velocidad máxima de avance de la máquina (Figura 4). Si se desplaza la palanca de control de velocidad hacia atrás a la posición de PUNTO MUERTO, el sistema de transmisión entra en punto muerto.
La palanca de freno acciona un freno de estacionamiento situado en las ruedas motrices (Figura 4).
El horímetro registra el número de horas de operación de la máquina. Cuando el punto decimal parpadea en la pantalla Hora/Voltaje, el contador de horas está registrando. Utilice el recuento de horas para programar el mantenimiento regular (Figura 6).

Si se gira el interruptor de encendido a la posición de CONECTADO durante unos segundos, se muestra el voltaje de la batería en la zona donde normalmente se muestran las horas de uso.
La luz de la batería se enciende al accionarse el interruptor de encendido, y cuando la carga está por debajo del nivel correcto de operación Figura 6.
Hay una serie de símbolos en el contador de horas, que indican con un triángulo negro si el componente de seguridad está en la posición correcta (Figura 6).
El testigo de temperatura del aceite del motor monitoriza la temperatura del aceite del motor. Si se enciende el testigo de temperatura del aceite y suena el zumbador, el motor se está sobrecalentando.
La unidad de control electrónica (UCE) monitoriza constantemente el funcionamiento del sistema de control de combustible.
Si se detecta un problema o una avería en el sistema, se enciende el indicador de avería multifunción (IAM).
El IAM es el piloto rojo situado en el panel derecho de la consola.
Si se enciende el IAM, realice las comprobaciones iniciales de localización de fallos; consulte la sección IAM, en .
Si estas comprobaciones no corrigen el problema, será necesario que un Servicio Técnico Autorizado realice un diagnóstico y mantenimiento completos.
Las palancas de control de movimiento se utilizan para conducir la máquina hacia adelante, hacia atrás y girarla en ambos sentidos (Figura 4).
Cada vez que apaga el motor, ponga el freno de estacionamiento para evitar que la máquina se desplace accidentalmente.
Cierre la válvula de cierre de combustible antes de transportar o almacenar la máquina.
Note: Las especificaciones y diseños están sujetos a modificación sin previo aviso.
| Carcasa de corte de 107 cm (42") | Carcasa de corte de 122 cm (48") | |
|---|---|---|
| Sin carcasa de corte | 108.2 cm (42.6") | 108.2 cm (42.6") |
| Con carcasa de corte | 109.7 cm (43.2") | 125.0 cm (49.2") |
| Carcasa de corte de 107 cm (42") | Carcasa de corte de 122 cm (48") | |
|---|---|---|
| Sin carcasa de corte | 170.9 cm (67.3") | 170.9 cm (67.3") |
| Carcasa de corte—Elevada | 209.3 cm (82.4") | 207.6 cm (81.8") |
| Carcasa de corte—Bajada | 233.2 cm (91.8") | 240.0 cm (94.5") |
| Carcasa de corte de 107 cm (42") | Carcasa de corte de 122 cm (48") |
|---|---|
| 130.0 cm (51.2") | 130.0 cm (51.2") |
| Carcasa de corte de 107 cm (42") | Carcasa de corte de 122 cm (48") |
|---|---|
| 517 kg (1,140 libras) | 531 kg (1,170 libras) |
Está disponible una selección de aperos y accesorios homologados por Toro que pueden utilizarse con la máquina a fin de potenciar y aumentar sus prestaciones. Póngase en contacto con su Servicio Técnico Autorizado o con su distribuidor autorizado Toro, o visite www.Toro.com para obtener una lista de todos los aperos y accesorios homologados.
Para asegurar un rendimiento óptimo y mantener la certificación de seguridad de la máquina, utilice solamente piezas y accesorios genuinos Toro. Las piezas de repuesto y accesorios de otros fabricantes podrían ser peligrosos, y su uso podría invalidar la garantía del producto.
Note: Los lados derecho e izquierdo de la máquina se determinan desde la posición normal del operador.
Evalúe el terreno para determinar los accesorios y aperos necesarios para realizar el trabajo de manera correcta y segura. Utilice solamente los accesorios y aperos homologados por Toro.
Inspeccione la zona en la que se va a utilizar el equipo y retire cualquier piedra, juguete, palo, alambre, hueso u otro objeto extraño. Estos podrían ser arrojados por la máquina o interferir en su funcionamiento, y podrían causar lesiones personales al operador o a terceros.
Lleve equipos de protección personal adecuados, como lentes de seguridad, calzado resistente y antideslizante y protección auditiva. Si tiene el pelo largo, recójaselo, y evite el uso de prendas sueltas y joyas o bisutería sueltas que pudieran enredarse en las piezas en movimiento.
Esta máquina produce niveles sonoros que superan los 85 dBA en el oído del operador, y pueden causar pérdidas auditivas con períodos extendidos de exposición.
Lleve protección auditiva mientras utiliza esta máquina.
Compruebe que los controles de presencia del operador, los interruptores de seguridad y los protectores de seguridad están instalados y que funcionan correctamente. No utilice la máquina si no funcionan correctamente.
No utilice el cortacésped si hay otras personas (especialmente niños) o animales en la zona. Pare la máquina y cualquier accesorio si alguien entra en la zona.
No haga funcionar la máquina si no están colocados y en buenas condiciones de funcionamiento el sistema completo de recogida de hierba, el deflector de descarga u otros dispositivos de seguridad. Los componentes del recogehierbas están sujetos a desgaste, daños y deterioro, lo cual podría dejar al descubierto piezas en movimiento o permitir que se arrojen objetos. Compruebe frecuentemente el estado de desgaste o deterioro de los componentes y sustitúyalos con las piezas recomendadas por el fabricante cuando sea necesario.
Extreme las precauciones al manejar el combustible.
En determinadas condiciones la gasolina es extremadamente inflamable y sus vapores son explosivos.
Un incendio o una explosión de gasolina puede causar quemaduras a usted y a otras personas, y provocar daños materiales.
Llene el depósito de combustible en el exterior en una superficie nivelada, en una zona abierta y con el motor frío. Limpie la gasolina derramada.
No llene ni vacíe nunca el depósito de combustible dentro de un edificio o de un remolque cerrado.
No llene completamente el depósito de combustible. Llene el depósito de combustible hasta la parte inferior del cuello de llenado. Este espacio vacío en el depósito permitirá la dilatación de la gasolina. Si se llena demasiado, puede haber fugas de combustible, o puede dañarse el motor o el sistema de emisiones.
No fume nunca mientras maneja la gasolina, y aléjese de llamas desnudas o de lugares en los que los vapores de la gasolina puedan ser prendidos por una chispa.
Almacene la gasolina en un recipiente homologado y manténgala fuera del alcance de los niños.
Añada el combustible antes de arrancar el motor. No retire nunca el tapón del depósito de combustible ni añada combustible si el motor está en marcha o si el motor está caliente.
Si se derrama gasolina, no intente arrancar el motor. Aléjese de la zona del derrame y evite crear fuentes de ignición hasta que los vapores de gasolina se hayan disipado.
No utilice la máquina a menos que esté instalado un sistema completo de escape en buenas condiciones de funcionamiento.
En determinadas condiciones durante el repostaje, puede producirse una descarga de electricidad estática con chispa que puede prender los vapores de la gasolina. Un incendio o una explosión provocado por la gasolina puede causarle quemaduras a usted y a otras personas y provocar daños materiales.
Coloque siempre los recipientes de gasolina en el suelo, lejos del vehículo que está repostando.
No llene los recipientes de gasolina dentro de un vehículo, camión o remolque ya que las alfombras o los revestimientos de plástico del interior de los remolques podrían aislar el recipiente y retrasar la pérdida de la carga estática.
Cuando sea posible, retire el equipo a repostar del camión o remolque y reposte con las ruedas del equipo sobre el suelo.
Si esto no es posible, reposte el equipo sobre el camión o remolque desde un recipiente portátil, en vez de usar un surtidor de gasolina.
Si es imprescindible el uso de un surtidor, mantenga la boquilla en contacto con el borde del depósito de combustible o la abertura del recipiente en todo momento hasta que termine de repostar. No utilice dispositivos que mantengan abierta la boquilla.
La gasolina es dañina o mortal si es ingerida. La exposición a largo plazo a sus vapores ha producido cáncer en animales de laboratorio. El no tomar las precauciones debidas puede causar lesiones o enfermedades graves.
Evite la respiración prolongada de los vapores.
No acerque la cara a la boquilla o a la boca de llenado de los depósitos o recipientes de gasolina.
Mantenga la gasolina alejada de los ojos y de la piel.
No haga sifón nunca utilizando la boca.
Para ayudar a prevenir incendios:
Mantenga el motor y la zona del motor libres de hierba, hojas, excesos de grasa o aceite y otros residuos que pueden acumularse en estas zonas.
Limpie cualquier derrame de aceite o combustible y retire cualquier residuo empapado en combustible.
Espere a que se enfríe la máquina antes de guardarla en un recinto cerrado. No guarde la máquina cerca de una llama o en un lugar cerrado donde puede haber llamas piloto o calentadores.
Para obtener los mejores resultados, utilice solamente gasolina fresca (comprada hace menos de 30 días), sin plomo, de 87 o más octanos (método de cálculo (R+M)/2).
Etanol: Es aceptable el uso de gasolina con hasta el 10% de etanol (gasohol) o el 15% de MTBE (éter metil tert-butílico) por volumen. El etanol y el MTBE no son lo mismo. No está autorizado el uso de gasolina con el 15% de etanol (E15) por volumen. No utilice nunca gasolina que contenga más del 10% de etanol por volumen, como por ejemplo la E15 (contiene el 15% de etanol), la E20 (contiene el 20% de etanol) o la E85 (contiene hasta el 85% de etanol). El uso de gasolina no autorizada puede causar problemas de rendimiento o daños en el motor que pueden no estar cubiertos bajo la garantía.
No utilice gasolina que contenga metanol.
No guarde combustible en el depósito de combustible o en recipientes de combustible durante el invierno a menos que haya añadido un estabilizador.
No añada aceite a la gasolina.
Use un estabilizador/acondicionador en la máquina para obtener las siguientes ventajas:
Mantiene el combustible fresco durante más tiempo si se siguen las indicaciones del fabricante del estabilizador de combustible
Limpia el motor durante el funcionamiento.
Elimina la formación de depósitos pegajosos, con aspecto de barniz, en el sistema de combustible, que pueden dificultar el arranque.
Important: No utilice aditivos de combustible que contengan metanol o etanol.
Agregue la cantidad adecuada de estabilizador/acondicionador de combustible al combustible.
Note: Un estabilizador/acondicionador de combustible es más eficaz cuando se mezcla con combustible fresco. Para reducir al mínimo los depósitos de barniz en el sistema de combustible, utilice siempre un estabilizador de combustible.
Aparque la máquina en una superficie nivelada.
Ponga el freno de estacionamiento.
Apague el motor y retire la llave.
Limpie alrededor del tapón del depósito de combustible.
Llene el depósito de combustible hasta la parte inferior del cuello de llenado (Figura 7).
Note: No llene completamente el depósito de combustible. El espacio vacío en el depósito permitirá la dilatación de la gasolina.

Cada día, antes de arrancar la máquina, siga los procedimientos marcados como “Cada uso/A diario” en la sección .
Los motores nuevos necesitan tiempo para desarrollar toda su potencia. La fricción generada por las carcasas y los sistemas de propulsión de los cortacéspedes es mayor cuando éstos son nuevos, lo que supone una carga adicional para el motor. Las máquinas nuevas necesitan un periodo de rodaje de 40–50 horas para desarrollar la máxima potencia y el mejor rendimiento.
Aparque la máquina en una superficie nivelada, desengrane la TDF y ponga el freno de estacionamiento.
Apague el motor, retire la llave y espere a que se detengan todas las piezas en movimiento antes de abandonar el puesto del operador.
Abra los pestillos de bloqueo de la carcasa de corte en cada lado (Figura 8).

Usando el asa de elevación de la carcasa, eleve la carcasa y engánchela en la posición elevada (el cierre está situado en el centro de la parte delantera del asiento), como se muestra en la Figura 9.

Si se engrana la TDF con la carcasa en la posición elevada, podría causar lesiones personales graves o daños materiales.
Siempre baje la carcasa de corte y bloquéela en la posición de operación antes de engranar la TDF.
Sujete firmemente la barra de elevación de la carcasa, desenganche el enganche de la carcasa de corte de la máquina y baje la carcasa lentamente al suelo (Figura 9).
Empuje hacia dentro los pestillos de bloqueo de la carcasa y gírelos hacia adelante para bloquear la carcasa de corte firmemente en la posición bajada (Figura 9).
Si se utiliza la máquina sin tener los pestillos de bloqueo firmemente cerrados, la carcasa de corte puede inclinarse hacia arriba inesperadamente, causando graves lesiones.
Antes de usar la máquina asegúrese de que los pestillos de bloqueo están firmemente cerrados.
El diseño del Sistema de reducción de llenado permite reducir la cantidad de recortes recogida en proporción variable. Las ventajas incluyen una menor frecuencia de vaciado de la tolva y el retorno de nutrientes al suelo.
Las configuraciones posibles son las siguientes:
Deflectores abiertos con cuchillas estándar – recogida máxima
Deflectores cerrados con cuchillas estándar – mulching parcial
Deflectores cerrados con cuchillas de mulching – mulching intermedio
Tapón de mulching instalado con cuchillas de mulching – mulching completo (requiere kit de mulching)
Para ajustar los deflectores del sistema de reducción de llenado:
Aparque la máquina en una superficie nivelada, desengrane la TDF y ponga el freno de estacionamiento.
Apague el motor, retire la llave y espere a que se detengan todas las piezas en movimiento antes de abandonar el puesto del operador.
Retire los pasadores de horquilla y las chavetas de ambos lados del protector de la TDF (Figura 10).
Incline el protector hacia adelante.

Afloje las contratuercas de los espárragos traseros de los deflectores del sistema de reducción de llenado.

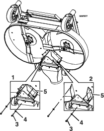
Eleve la carcasa de corte; consulte Elevar la carcasa de corte a la posición de mantenimiento.
Retire el perno y la arandela de la parte delantera de cada deflector del sistema de reducción de llenado (Figura 12).
Gire los deflectores a la posición deseada e instale el perno y la arandela.

Baje la carcasa de corte; consulte Bajar la carcasa de corte a la posición de operación.
Apriete un poco las contratuercas de los espárragos traseros de los deflectores del sistema de reducción de llenado.
Note: Las contratuercas de los espárragos traseros pueden dejarse sin apretar del todo si prevé ajustes frecuentes de los deflectores.
Instale el protector de la TDF usando los pasadores de horquilla y las chavetas que retiró en el paso 3.
Si los interruptores de seguridad están desconectados o dañados, la máquina podría ponerse en marcha inesperadamente y causar lesiones personales.
No manipule los interruptores de seguridad.
Compruebe la operación de los interruptores de seguridad cada día, y sustituya cualquier interruptor dañado antes de operar la máquina.
El sistema de interruptores de seguridad ha sido diseñado para impedir que el motor arranque, a menos que:
El freno de estacionamiento esté puesto.
La palanca de la TDF esté desengranada.
La palanca de control de velocidad está en la posición de PUNTO MUERTO.
El sistema de interruptores de seguridad está diseñado para apagar el motor si usted se levanta del asiento con la TDF Engranada.
El contador de horas tiene indicadores que notifican al usuario si el componente de seguridad está en la posición correcta. Cuando el componente está en la posición correcta, aparece un indicador en la pantalla.

| Intervalo de mantenimiento y servicio | Procedimiento de mantenimiento |
|---|---|
| Cada vez que se utilice o diariamente |
|
Verifique el sistema de interruptores de seguridad cada vez que vaya a utilizar la máquina. Si el sistema no funciona de la forma que se describe a continuación, póngase en contacto con un Servicio Técnico Autorizado para que lo reparen inmediatamente.
Siéntese en el asiento, ponga el freno de estacionamiento, mueva la palanca de la TDF a la posición de ENGRANADO y ponga la palanca de control de velocidad en la posición de PUNTO MUERTO. Intente arrancar el motor; el motor no debe arrancar.
Siéntese en el asiento, ponga el freno de estacionamiento y mueva la palanca de la TDF a la posición de DESENGRANADO. Mueva la palanca de control de velocidad fuera de la posición de PUNTO MUERTO. Intente arrancar el motor; el motor no debe arrancar.
Siéntese en el asiento, quite el freno de estacionamiento, mueva la palanca de la TDF a la posición de DESENGRANADO y mueva la palanca de control de velocidad a la posición de PUNTO MUERTO. Intente arrancar el motor; el motor no debe arrancar.
Siéntese en el asiento, ponga el freno de estacionamiento, mueva la palanca de la TDF a la posición de DESENGRANADO y mueva la palanca de control de velocidad a la posición de PUNTO MUERTO. Ahora arranque el motor. Con el motor en marcha, quite el freno de estacionamiento, engrane la palanca de la TDF y levántese un poco del asiento; el motor debe pararse.
Siéntese en el asiento, ponga el freno de estacionamiento, mueva la palanca de la TDF a la posición de DESENGRANADO y mueva la palanca de control de velocidad a la posición de PUNTO MUERTO. Ahora arranque el motor. Mueva la palanca de control de la velocidad hacia adelante; el motor debe pararse.
Para desenganchar el asiento, retire el perno y el pasador del lado izquierdo del asiento (Figura 14).

El operador debe dedicar toda su atención al uso de la máquina. No realice ninguna actividad que pudiera distraerle; de lo contrario, pueden producirse lesiones o daños materiales.
Las piezas del motor, especialmente el silenciador, pueden alcanzar temperaturas extremadamente altas durante el uso. Pueden provocar quemaduras graves por contacto, e incendiar residuos tales como hojas, hierbas, maleza, etc.
Deje que las piezas del motor, sobre todo el silenciador, se enfríen antes de tocarlos.
Limpie cualquier acumulación de residuos de la zona del silenciador y del motor.
Los gases de escape del motor contienen monóxido de carbono, que es un veneno inodoro que puede matarle.
No ponga el motor en marcha dentro de un edificio o en un recinto cerrado de reducidas dimensiones donde pueden acumularse vapores peligrosos de monóxido de carbono.
El propietario/usuario puede prevenir, y es responsable de, los accidentes o lesiones sufridos por él mismo, o por otras personas o bienes.
Este cortacésped ha sido diseñado para un solo operador. No lleve pasajeros y mantenga a otras personas alejadas de la máquina durante el uso.
No utilice la máquina bajo la influencia de alcohol o drogas.
Utilice la máquina solamente con luz natural o con una buena iluminación artificial.
Los rayos pueden causar graves lesiones o incluso la muerte. Si se ven relámpagos o rayos, o se oyen truenos en la zona, no utilice la máquina; busque un lugar donde resguardarse.
Extreme las precauciones al trabajar con accesorios o aperos, como por ejemplo sistemas de recogida de hierba. Éstos pueden afectar a la estabilidad de la máquina y causar pérdidas de control. Siga las instrucciones de uso de los contrapesos, si son necesarios.
No se acerque a agujeros, surcos, montículos, rocas u otros peligros ocultos. Tenga cuidado al acercarse a esquinas ciegas, arbustos, árboles, hierba alta u otros objetos que puedan ocultar obstáculos o dificultar la visión. Los terrenos desiguales pueden hacer que la máquina vuelque o hacer que el operador pierda el equilibrio o resbale.
Asegúrese de que todas las transmisiones están en punto muerto y que el freno de mano está puesto antes de arrancar el motor. Utilice el cinturón de seguridad cuando la barra anti-vuelco está en la posición elevada y bloqueada.
Arranque el motor con cuidado siguiendo las instrucciones, con los pies bien alejados de las cuchillas.
No utilice nunca el cortacésped si están dañados los protectores o las cubiertas. Tenga siempre colocados y en buenas condiciones de uso los protectores, interruptores y otros dispositivos de seguridad.
Manténgase alejado del conducto de descarga en todo momento. No siegue nunca con la puerta de descarga elevada, retirada o modificada, a menos que tenga colocado y en buenas condiciones de funcionamiento un sistema de recogida de hierba o un kit de mulching.
Mantenga las manos y los pies alejados de las piezas en movimiento. Si es posible, no haga ajustes mientras el motor está funcionando.
Las manos, los pies, el pelo, la ropa o los accesorios pueden enredarse en las piezas rotativas. Cualquier contacto con las piezas rotativas puede causar una amputación traumática o laceraciones graves.
No haga funcionar la máquina sin que estén colocados y en buenas condiciones de funcionamiento los protectores y los dispositivos de seguridad.
Mantenga las manos, los pies, las joyas y la ropa alejados de las piezas en movimiento.
Nunca levante la carcasa si las cuchillas están en movimiento.
Esté pendiente del sentido de descarga del cortacésped y no oriente la descarga hacia nadie. Evite descargar material contra una pared u otra obstrucción, porque el material podría rebotar hacia el operador. Pare las cuchillas, vaya más despacio y tenga cuidado al cruzar superficies que no sean de hierba y al transportar el cortacésped a la zona a segar o desde ella.
Esté alerta, vaya más despacio y extreme las precauciones en los giros. Mire detrás y al lado antes de cambiar de dirección. No corte el césped en marcha atrás a menos que sea absolutamente necesario.
No cambie los ajustes del regulador del motor ni haga funcionar el motor a una velocidad excesiva.
Aparque la máquina en una superficie nivelada. Pare el motor, espere a que se detengan todas las piezas en movimiento y desconecte el/los cable(s) de la(s) bujía(s).
Antes de inspeccionar, limpiar o hacer mantenimiento en el cortacésped.
Después de golpear un objeto extraño, o si se producen vibraciones anormales (inspeccione el cortacésped y repare cualquier daño antes de volver a arrancar y utilizar el cortacésped).
Antes de limpiar atascos.
Siempre que deje el cortacésped sin supervisar. No deje desatendida la máquina si el motor está en marcha.
Pare el motor y espere a que se detengan todas las piezas en movimiento:
Antes de repostar combustible.
Antes de vaciar el recogedor.
Antes de ajustar la altura.
Pueden ocurrir accidentes trágicos si el operador no está alerta a la presencia de niños. A menudo los niños se sienten atraídos por la máquina y la actividad de segar. No suponga nunca que los niños van a permanecer en el último lugar en que los vio.
Mantenga a los niños alejados de la zona de siega y bajo la atenta mirada de un adulto responsable que no sea el operador.
Esté alerta y pare la máquina si entran niños en la zona.
Antes de ir hacia atrás o cambiar de sentido, y mientras lo hace, mire hacia atrás, hacia abajo y hacia los lados por si hubiera niños pequeños.
Nunca permita a los niños utilizar la máquina.
No lleve niños en la máquina, incluso si las cuchillas están desconectadas. Los niños podrían caerse y sufrir graves lesiones, o interferir con la operación segura de la máquina. Cualquier niño que haya sido transportado en el pasado podría aparecer de pronto en la zona de trabajo buscando otro paseo, y podría ser arrollado por la máquina, incluso en marcha atrás.
Las pendientes son una de las principales causas de accidentes por pérdida de control y vuelcos, que pueden causar lesiones graves o la muerte. El operador es responsable de la seguridad cuando trabaja en pendientes. El uso de la máquina en cualquier pendiente exige un cuidado especial. Antes de usar la máquina en una pendiente:
Lea y comprenda las instrucciones sobre pendientes del manual y las que están colocadas en la máquina.
Utilice un indicador de ángulo para determinar la inclinación aproximada de la zona.
No utilice la máquina nunca en pendientes de más de 15 grados.
Evalúe las condiciones del lugar de trabajo para determinar si es seguro trabajar en la pendiente con la máquina. Utilice el sentido común y el buen juicio al realizar este evaluación. Cualquier cambio que se produzca en el terreno, como por ejemplo un cambio de humedad, puede afectar rápidamente al uso de la máquina en una pendiente.
Identifique cualquier obstáculo situado en la base de la pendiente. No utilice la máquina cerca de terraplenes, zanjas, taludes, agua u otros peligros. La máquina podría volcar repentinamente si una rueda pasa por el borde de un terraplén o fosa, o si se socava un talud. Mantenga una distancia prudente (el doble de la anchura de la máquina) entre la máquina y cualquier obstáculo. Utilice una máquina dirigida o una desbrozadora manual para segar la hierba en estas zonas.

Evite arrancar, parar o girar la máquina en cuestas o pendientes. Evite hacer cambios bruscos de velocidad o de dirección; gire poco a poco, y a baja velocidad.
No utilice la máquina en condiciones que puedan comprometer la tracción, la dirección o la estabilidad de la máquina. Tenga en cuenta que conducir en hierba mojada, atravesar pendientes empinadas, o bajar cuestas puede hacer que la máquina pierda tracción. La transferencia de peso a las ruedas delanteras puede hacer que patine la máquina, con pérdida de frenado y de control de dirección. La máquina puede deslizarse incluso con las ruedas motrices inmovilizadas.
Retire o señale cualquier obstáculo, como zanjas, baches, surcos, montículos, rocas u otros peligros ocultos. La hierba alta puede ocultar obstáculos. Un terreno irregular puede hacer que la máquina vuelque.
Extreme las precauciones al trabajar con accesorios o aperos, como por ejemplo sistemas de recogida de hierba. Éstos pueden afectar a la estabilidad de la máquina y causar pérdidas de control. Siga las instrucciones de uso de los contrapesos.
Si es posible, mantenga la carcasa bajada al suelo mientras trabaje en pendientes. La elevación de la carcasa mientras se trabaja en pendientes puede hacer que la máquina pierda estabilidad.
Ponga siempre el freno de estacionamiento cuando pare la máquina o cuando la deje desatendida.
Aparque la máquina en una superficie nivelada.


La palanca de la TDF arranca y detiene las cuchillas del cortacésped y el soplador.


Puede mover el control del acelerador entre las posiciones de RáPIDO y LENTO (Figura 20).
Utilice siempre la posición de RáPIDO para engranar la TDF.

Mueva la palanca de control de velocidad a la posición de PUNTO MUERTO.
Ponga el freno de estacionamiento; consulte Activación del freno de estacionamiento.
Mueva la palanca de la TDF a la posición de DESACTIVADO (Figura 21).
Mueva la palanca del acelerador a un punto intermedio entre las posiciones LENTO y RáPIDO.
Máquinas EFI: Mueva el control del estárter a la posición de CERRADO/ACTIVADO. Si el motor está caliente, deje el estárter en la posición de Abierto/Desactivado.

Gire la llave a la posición de ARRANQUE (). Figura 21 Cuando el motor arranque, suelte la llave.
Important: No active el motor de arranque durante más de 5 segundos cada vez. Si el motor no arranca, espere 15 segundos entre intentos. Si no se siguen estas instrucciones, puede quemarse el motor de arranque.
Note: Es posible que necesite realizar varios intentos para arrancar el motor por primera vez después de haber agregado combustible en un sistema de combustible vacío.
Si el estárter está en la posición de CERRADO/ACTIVADO, mueva el estárter poco a poco a la posición de ABIERTO/DESACTIVADO a medida que el motor se caliente.
Los niños u otras personas podrían resultar lesionados si mueven o intentan operar la máquina mientras está desatendida.
Retire siempre la llave y ponga el freno de estacionamiento cuando deje la máquina sin supervisión.
Desengranar la TDF.
Mueva la palanca de control de la velocidad a la posición de PUNTO MUERTO.
Ponga el freno de estacionamiento.
Ponga el acelerador en la posición central.
Deje el motor en ralentí durante 15 segundos, luego gire la llave de contacto a la posición de DESCONECTADO y retire la llave.

El control del acelerador regula la velocidad del motor en rpm (revoluciones por minuto). Ponga el acelerador en posición RáPIDO para conseguir el mejor rendimiento. Siegue siempre con el acelerador en posición rápido.
La máquina puede girar muy rápidamente. Usted puede perder el control de la máquina y causar lesiones personales o daños a la máquina.
Extreme las precauciones al girar.
Reduzca la velocidad de la máquina antes de hacer giros cerrados.
Note: Para empezar a desplazarse (hacia adelante o hacia atrás), siéntese en el asiento y quite la palanca del freno de estacionamiento antes de mover la palanca de control de la velocidad hacia adelante; si no, el motor se apagará.
Para detener la máquina, tire de la palanca de control de velocidad a la posición de PUNTO MUERTO.
Arranque el motor.
Quite el freno de estacionamiento; consulte Desactivación del freno de estacionamiento.
Para desplazarse hacia adelante en línea recta, mueva la palanca de control de la velocidad hacia adelante.
Note: La máquina se desplaza más rápidamente cuanto más desplace la palanca de control de velocidad de la posición de PUNTO MUERTO.
Para girar a la izquierda o a la derecha, tire de una las palancas de dirección hacia atrás, hacia punto muerto, según la dirección de marcha deseada.
Para detenerse la máquina, tire de la palanca de control de velocidad hacia atrás a la posición de PUNTO MUERTO.
Para desplazarse hacia atrás en línea recta, mueva ambas palancas de dirección hacia atrás la misma distancia.
Para girar a la izquierda o la derecha, presione menos sobre la palanca de dirección del lado hacia el que desea girar.
Para detener la máquina, coloque las palancas de dirección en la posición de punto muerto.
La altura de corte de la carcasa de corte puede ajustarse de 2.5 a 10.2 cm (1" a 4") en incrementos de 6.3 mm (¼").
Aparque la máquina en una superficie nivelada, mueva la palanca de control de la velocidad a la posición de PUNTO MUERTO, desengrane la TDF y ponga el freno de estacionamiento.
Pare el motor, retire la llave y espere a que se detengan todas las piezas en movimiento antes de abandonar el puesto del operador.
Manteniendo bajado el bastidor delantero, eleve la carcasa en un lado hasta que el pestillo de soporte de la carcasa se enganche en el pasador fijo del bastidor delantero (Figura 23 ).

Mueva las chavetas de los pasadores de soporte de la carcasa al taladro correcto para la altura de corte deseada.
Eleve la carcasa lo suficiente para elevar y liberar el pestillo de soporte de la carcasa, y baje la carcasa.
Repita este procedimiento en el otro lado de la carcasa de corte.
Cuando se llena la tolva, suena un zumbador situado detrás del asiento, en la tolva. Vacíe la tolva cuando suene el zumbador para evitar que se atasque el soplador o la carcasa de corte.
Aparque la máquina en una superficie nivelada, mueva la palanca de control de la velocidad a la posición de PUNTO MUERTO, desengrane la TDF y ponga el freno de estacionamiento.
Pare el motor, retire la llave y espere a que se detengan todas las piezas en movimiento antes de abandonar el puesto del operador.
Levante la puerta trasera y deje que descanse sobre la tolva.
Usando las asas de la parte delantera inferior de la tolva, eleve la tolva para descargar el contenido.
Baje la tolva y cierre la puerta de la tolva.
Para aumentar al máximo la calidad de corte y la circulación de aire, trabaje con el motor en la posición de RáPIDO. Se requiere aire para cortar bien la hierba, así que no ponga la altura de corte tan baja como para rodear totalmente la carcasa de corte de hierba sin cortar. Trate siempre de tener un lado de la carcasa de corte libre de hierba sin cortar, para permitir la entrada de aire en la carcasa.
Corte la hierba algo más larga de lo habitual para asegurar que la altura de corte de la carcasa de corte no deje “calvas” en terrenos desiguales. Sin embargo, la altura de corte utilizada habitualmente suele ser la mejor. Si la hierba tiene más de 15 cm (6") de alto, es preferible cortar el césped dos veces para asegurar una calidad de corte aceptable.
Es mejor cortar solamente un tercio aproximadamente de la hoja de hierba. No se recomienda cortar más, a menos que la hierba sea escasa o al final del otoño, cuando la hierba crece más despacio.
Alterne la dirección de corte para mantener la hierba erguida. De esta forma también se ayuda a dispersar mejor los recortes sobre el césped y se conseguirá una mejor descomposición y fertilización.
La hierba crece a velocidades diferentes en diferentes épocas del año. Para mantener la misma altura de corte, corte el césped con más frecuencia durante la primavera. A medida que avanza el verano, la velocidad de crecimiento de la hierba decrece, por ello debe cortarse con menor frecuencia. Si no puede segar durante un período de tiempo prolongado, siegue primero con una altura de corte alta y, después de dos días, vuelva a segar con un ajuste más bajo.
Para mejorar la calidad de corte, utilice una velocidad de avance más baja en determinadas condiciones.
Al cortar césped de altura irregular, eleve la altura de corte para evitar arrancar el césped.
Si es necesario detener el avance de la máquina mientras se corta el césped, es posible que caiga un montón de recortes sobre el césped. Para evitar esto, diríjase con las cuchillas engranadas a una zona del césped que ya haya sido segada, o desengrane la carcasa de corte al desplazarse hacia adelante.
Limpie los recortes y la suciedad de los bajos de la carcasa de corte después de cada uso. Si se acumulan hierba y suciedad en el interior de la carcasa de corte, la calidad del corte llegará a ser insatisfactoria.
Mantenga las cuchillas afiladas durante toda la temporada de corte, ya que una cuchilla afilada corta limpiamente y sin rasgar o deshilachar las hojas de hierba. Si se rasgan o se deshilachan, los bordes de las hojas se secarán, lo cual retardará su crecimiento y favorecerá la aparición de enfermedades. Compruebe después de cada uso que las cuchillas están bien afiladas y que no están desgastadas o dañadas. Elimine cualquier mella con una lima, y afile las cuchillas si es necesario. Si una cuchilla está desgastada o deteriorada, sustitúyala inmediatamente por una cuchilla nueva genuina Toro.
Aparque la máquina en una superficie nivelada, desengrane las transmisiones, ponga el freno de estacionamiento, pare el motor, retire la llave o desconecte el cable de la bujía. Espere a que se detengan todas las piezas en movimiento y deje que se enfríe la máquina antes de hacer trabajos de ajuste, limpieza, reparación o almacenamiento. No permita jamás que la máquina sea revisada o reparada por personal no debidamente formado.
Limpie la máquina según lo indicado en la sección Mantenimiento. Mantenga el motor y la zona del motor libres de hierba, hojas, excesos de grasa o aceite y otros residuos que pueden acumularse en estas zonas. Estos materiales pueden llegar a ser combustibles y pueden provocar un incendio.
Compruebe frecuentemente que no hay componentes desgastados o deteriorados que podrían crear un peligro. Apriete cualquier fijación que esté suelta.
Retire la rejilla levantando firmemente las asas de la rejilla (Figura 24).
Tire de la rejilla hacia atrás para retirarla. Si es necesario, golpee la rejilla suavemente para eliminar los residuos.
Note: Una acumulación excesiva de suciedad en la rejilla puede hacer que se atasque el soplador.
Note: En condiciones en las que la rejilla se obstruye rápidamente, puede invertir e instalar el panel delantero desmontable debajo de la rejilla principal para dejar un flujo de aire libre desde la tolva.

Las manos pueden enredarse en los componentes giratorios de la transmisión, debajo de la carcasa del motor, lo que podría dar lugar a lesiones graves.
Pare el motor, retire la llave y espere a que se detengan todas las piezas móviles antes de acceder a las válvulas de liberación de las ruedas motrices.
El motor y las transmisiones hidráulicas pueden alcanzar temperaturas muy altas. El contacto con un motor caliente o una transmisión hidráulica caliente puede causar quemaduras graves.
Deje que se enfríen totalmente el motor y las transmisiones hidráulicas antes de acceder a las válvulas de liberación de las ruedas motrices.
Las válvulas de liberación de las ruedas motrices están situadas en la esquina delantera izquierda superior de las bombas hidrostáticas.
Mueva la palanca de control de la velocidad a la posición de PUNTO MUERTO para detener la máquina.
Desengrane la palanca de la TDF, ponga el freno de estacionamiento, pare el motor y espere a que se detengan todas las piezas en movimiento.
Incline el asiento hacia arriba para tener acceso a las bombas.
Gire ambas válvulas de desvío una vuela en sentido antihorario para liberar el sistema de transmisión.
Note: Esto permite que el fluido hidráulico se desvíe alrededor de la bomba, dejando que las ruedas giren.
Desengrane el freno de estacionamiento antes de empujar la máquina.
Note: No remolque la máquina.
Gire las válvulas en sentido horario para conducir la máquina.
Note: No apriete demasiado las válvulas.
Utilice un remolque para cargas pesadas o un camión para transportar la máquina. Utilice una rampa de ancho completo. Asegúrese de que el remolque o el camión tenga todos los frenos y todas las luces y señalizaciones requeridos por la ley. Por favor, lea cuidadosamente todas las instrucciones de seguridad. El conocer esta información puede ayudar a evitarle lesiones a usted o a otras personas. Consulte en la normativa local los requisitos aplicables al remolque y al sistema de amarre.
Conducir en una calle o carretera sin señales de giro, luces, marcas reflectantes o un indicador de vehículo lento es peligroso y puede ser causa de accidentes que pueden provocar lesiones personales.
No conduzca la máquina en una calle o carretera pública.
El cargar la máquina en un remolque o un camión aumenta la posibilidad de un vuelco y podría causar lesiones graves o la muerte (Figura 25).
Utilice únicamente una rampa de ancho completo; no utilice rampas individuales para cada lado de la máquina.
No supere un ángulo de 15 grados entre la rampa y el suelo, o entre la rampa y el remolque o camión.
Asegúrese de que la rampa tiene una longitud de al menos cuatro veces la altura de la plataforma del remolque o del camión sobre el suelo. De esta forma se asegura que el ángulo de la rampa no supere los 15 grados en terreno llano.

El cargar la máquina en un remolque o un camión aumenta la posibilidad de un vuelco y podría causar lesiones graves o la muerte.
Extreme las precauciones al hacer funcionar la máquina en una rampa.
Suba la máquina por la rampa en marcha atrás y baje la máquina por la rampa conduciendo hacia adelante.
Evite acelerar o desacelerar bruscamente al conducir la máquina en una rampa, porque esto podría provocar un vuelco o una pérdida de control.
Si utiliza un remolque, conéctelo al vehículo que lo arrastra y conecte las cadenas de seguridad.
En su caso, conecte los frenos y las luces del remolque.
Baje la rampa, asegurándose de que el ángulo entre la rampa y el suelo no supera los 15 grados (Figura 25).
Suba la máquina por la rampa en marcha atrás (Figura 26).

Apague el motor, retire la llave y ponga el freno de estacionamiento.
Sujete la máquina firmemente al remolque o al camión con cadenas, correas, cables o cuerdas abajo y fuera de la máquina. Consulte la normativa local respecto a los requisitos de amarre.
Mientras se realizan operaciones de mantenimiento o los ajustes, alguien podría arrancar el motor. Un arranque accidental del motor podría causar graves lesiones a usted o a otra persona.
Retire la llave de contacto, ponga el freno de estacionamiento y desconecte los cables de las bujías antes de realizar cualquier operación de mantenimiento. Aparte los cables para evitar su contacto accidental con las bujías.
El motor puede alcanzar temperaturas muy altas. El contacto con un motor caliente puede causar quemaduras graves.
Deje que el motor se enfríe totalmente antes de realizar mantenimiento o efectuar reparaciones alrededor de la zona del motor.
Aparque la máquina en una superficie nivelada, desengrane las transmisiones, ponga el freno de estacionamiento, pare el motor, retire la llave o desconecte el cable de la bujía. Espere a que se detengan todas las piezas en movimiento y deje que se enfríe la máquina antes de hacer trabajos de ajuste, limpieza o reparación. No permita jamás que la máquina sea revisada o reparada por personal no debidamente formado.
Desconecte la batería o retire el cable de la bujía antes de efectuar reparación alguna. Desconecte primero el terminal negativo y luego el positivo. Vuelva a conectar primero el terminal positivo y luego el negativo.
Mantenga colocados y en buenas condiciones de funcionamiento todos los protectores y dispositivos de seguridad de la máquina. Compruebe frecuentemente el estado de desgaste o deterioro de los componentes y sustitúyalos con las piezas recomendadas por el fabricante cuando sea necesario.
La remoción o modificación de piezas y/o accesorios originales del equipo puede afectar a la garantía, la capacidad de control y la seguridad de la máquina. Las modificaciones no autorizadas del equipo original o el no utilizar piezas originales Toro puede causar lesiones graves o la muerte. Los cambios no autorizados en la máquina, el motor, el sistema de combustible o el sistema de ventilación pueden infringir las normas de seguridad aplicables, tales como: ANSI, OSHA y NFPA, y/o normas gubernamentales como las de EPA y CARB.
Las fugas de fluido hidráulico bajo presión pueden penetrar en la piel y causar lesiones. El fluido inyectado accidentalmente bajo la piel debe ser eliminado quirúrgicamente en pocas horas por un médico familiarizado con este tipo de lesión, o podría causar gangrena.
Asegúrese de que todos los tubos y mangueras hidráulicas, caso de estar instalados, están en buenas condiciones, y que todas las conexiones y accesorios del sistema hidráulico están apretados antes de aplicar presión al sistema hidráulico.
Mantenga el cuerpo y las manos alejados de fugas pequeñas o boquillas que liberan fluido hidráulico a alta presión.
Utilice un cartón o un papel, no las manos, para buscar fugas hidráulicas.
Alivie de manera segura toda presión en el sistema hidráulico colocando las palancas de control de movimiento en punto muerto y apagando el motor antes de realizar trabajo alguno en el sistema hidráulico.
Para unidades Kohler EFI (inyección electrónica de combustible):
Los componentes del sistema de combustible están sometidos a alta presión. El uso de componentes incorrectos puede dar lugar a fallos del sistema, fugas de combustible y posible explosión.
Utilice únicamente tubos de combustible y filtros de combustible homologados para sistemas de alta presión.
Tenga cuidado al revisar las cuchillas. Envuelva la(s) cuchilla(s) o lleve guantes, y extreme las precauciones al manejarlas. Si las cuchillas están dañadas, la única solución es cambiarlas. No las enderece ni las suelde nunca.
Utilice soportes fijos para apoyar la máquina y/o sus componentes cuando sea necesario.
Puede ser peligroso confiar únicamente en gatos mecánicos o hidráulicos para elevar la máquina para realizar tareas de mantenimiento o reparación. Los gatos mecánicos o hidráulicos pueden no proporcionar suficiente apoyo, o pueden fallar y dejar caer la máquina, lo que podría provocar lesiones.
No confíe únicamente en gatos mecánicos o hidráulicos para apoyar la máquina. Utilice caballetes u otro medio de sustentación equivalente.
Alivie con cuidado la tensión de aquellos componentes que tengan energía almacenada.
Mantenga las manos y los pies alejados de las piezas en movimiento. Si es posible, no haga ajustes mientras el motor está funcionando. Si algún procedimiento de mantenimiento o ajuste requiere que el motor esté en marcha y sus componentes en movimiento, extreme las precauciones.
El contacto con piezas en movimiento o superficies calientes puede causar lesiones personales.
Mantenga alejados de los componentes rotativos y de la superficies calientes los dedos, las manos y la ropa.
Compruebe frecuentemente que todos los pernos están correctamente apretados.
| Intervalo de mantenimiento y servicio | Procedimiento de mantenimiento |
|---|---|
| Después de las primeras 50 horas |
|
| Después de las primeras 100 horas |
|
| Cada vez que se utilice o diariamente |
|
| Cada 40 horas |
|
| Cada 50 horas |
|
| Cada 100 horas |
|
| Cada 160 horas |
|
| Cada 200 horas |
|
| Cada 250 horas |
|
| Cada 400 horas |
|
| Cada 500 horas |
|
| Cada 2000 horas |
|
| Cada mes |
|
| Cada año |
|
| Cada año o antes del almacenamiento |
|
Important: Consulte los demás procedimientos de mantenimiento del manual del propietario del motor.
Si deja la llave en el interruptor, alguien podría arrancar el motor accidentalmente y causar lesiones graves a usted o a otras personas.
Apague el motor y retire la llave del interruptor antes de realizar cualquier operación de mantenimiento.
| Intervalo de mantenimiento y servicio | Procedimiento de mantenimiento |
|---|---|
| Cada 40 horas |
|
| Cada 100 horas |
|
| Cada año |
|
Engrase la máquina más a menudo en condiciones de mucho polvo o suciedad.
Tipo de grasa: Grasa de litio Nº 2 o grasa de molibdeno
Aparque la máquina en una superficie nivelada, desengrane la TDF y ponga el freno de estacionamiento.
Apague el motor, retire la llave y espere a que se detengan todas las piezas en movimiento antes de abandonar el puesto del operador.
Limpie con un trapo los puntos de engrase.
Note: Raspe la pintura que pudiera haber sobre los puntos de engrase.
Conecte una pistola de engrasar al punto de engrase.
Bombee grasa hasta que empiece a rezumar grasa de los cojinetes.
Limpie cualquier exceso de grasa.

| Intervalo de mantenimiento y servicio | Procedimiento de mantenimiento |
|---|---|
| Cada año |
|
Aparque la máquina en una superficie nivelada, desengrane la TDF y ponga el freno de estacionamiento.
Eleve la tolva (Figura 28).

Pare el motor, retire la llave y espere a que se detengan todas las piezas en movimiento antes de abandonar el puesto del operador.
Afloje el perno que sujeta el limpiador de aire (Figura 29).
Afloje la abrazadera que sujeta la manguera y retire el limpiador de aire (Figura 29).

Retire los pernos y la placa que están debajo del limpiador de aire.

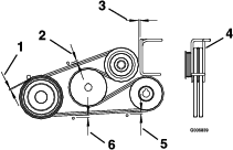
Lubrique el brazo tensor de la correa de la bomba (Figura 30).
Instale la placa y el limpiador de aire.
| Intervalo de mantenimiento y servicio | Procedimiento de mantenimiento |
|---|---|
| Cada 160 horas |
|
Aparque la máquina en una superficie nivelada, desengrane la TDF y ponga el freno de estacionamiento.
Apague el motor, retire la llave y espere a que se detengan todas las piezas en movimiento antes de abandonar el puesto del operador.
Lubrique los casquillos de bronce del pivote de la palanca de freno con lubricante en spray o aceite ligero (Figura 31).

| Intervalo de mantenimiento y servicio | Procedimiento de mantenimiento |
|---|---|
| Cada 160 horas |
|
Aparque la máquina en una superficie nivelada, desengrane la TDF y ponga el freno de estacionamiento.
Apague el motor, retire la llave y espere a que se detengan todas las piezas en movimiento antes de abandonar el puesto del operador.
Desenganche el cierre del asiento e incline el asiento hacia arriba.
Lubrique los casquillos de bronce de cada extremo de la varilla de freno con un lubricante en spray o aceite ligero.
Note: Los casquillos están situados en el interior de los cojinetes de brida..
Lubrique cada extremo de las dos varillas de acoplamiento de la dirección con lubricante en spray o aceite ligero.
| Intervalo de mantenimiento y servicio | Procedimiento de mantenimiento |
|---|---|
| Después de las primeras 50 horas |
|
| Cada 100 horas |
|
| Cada 2000 horas |
|
Aparque la máquina en una superficie nivelada, desengrane la TDF y ponga el freno de estacionamiento.
Apague el motor, retire la llave y espere a que se detengan todas las piezas en movimiento antes de abandonar el puesto del operador.
Retire las cuchillas que están sujetas a la caja de engranajes; consulte Cómo retirar las cuchillas.
Retire el conjunto de caja de engranajes y árbol de transmisión de la carcasa de corte. Guarde las fijaciones para su uso posterior.
Retire el tapón grande de vaciado de aceite de la parte delantera de cada una de las tres secciones de la caja de engranajes, y drene el aceite (Figura 32).

Retire los tapones magnéticos pequeños y limpie cualquier material que se haya acumulado en los tapones.
Aplique sellador de tubos de Teflón® a todos los tapones magnéticos pequeños e instálelos en la caja de engranajes.
Instale el conjunto de caja de engranajes y árbol de transmisión en la carcasa de cortacésped.
Llene la caja de engranajes con aceite para engranajes Mobil® SHC (sintético) 75W-90 hasta que el nivel de aceite llegue al nivel del tapón de vaciado/llenado.
Note: Es necesario llenar por separado cada sección de la caja de engranajes.
Note: Mantenga la carcasa de corte en posición horizontal mientras se llena la caja de engranajes de aceite. No llene la caja de engranajes con la carcasa de corte elevada en la posición de mantenimiento.
Aplique sellador de tubos Teflón a los 3 tapones grandes de aceite e instálelos en la caja de engranajes.
| Intervalo de mantenimiento y servicio | Procedimiento de mantenimiento |
|---|---|
| Cada 400 horas |
|
| Cada año |
|
Aparque la máquina en una superficie nivelada, desengrane el mando de control de las cuchillas y ponga el freno de estacionamiento.
Pare el motor, retire la llave y espere a que se detengan todas las piezas en movimiento antes de abandonar el puesto del operador.
Retire el tapón guardapolvo y ajuste los pivotes de las ruedas; no coloque el tapón guardapolvo hasta que termine de engrasar; consulte Engrasado de la máquina.
Retire el tapón hexagonal.
Enrosque un engrasador en el orificio.
Bombee grasa en el engrasador hasta que rezume por el cojinete superior.
Retire el engrasador del orificio. Vuelva a colocar el tapón hexagonal y la tapa.
| Intervalo de mantenimiento y servicio | Procedimiento de mantenimiento |
|---|---|
| Cada vez que se utilice o diariamente |
|
| Cada año |
|
Aparque la máquina en una superficie nivelada, desengrane el mando de control de las cuchillas y ponga el freno de estacionamiento.
Pare el motor, retire la llave y espere a que se detengan todas las piezas en movimiento antes de abandonar el puesto del operador.
Eleve el cortacésped para facilitar el acceso.
Retire la rueda giratoria de la horquilla.
Retire los protectores de los retenes del cubo de la rueda.

Retire una tuerca espaciadora del eje de la rueda giratoria.
Note: Las tuercas espaciadoras llevan fijador de roscas para pegarlas al eje.
Retire el eje (con la otra tuerca espaciadora aún montada en el mismo) del conjunto de la rueda.
Retire los retenes haciendo palanca, e inspeccione los cojinetes en busca de señales de desgaste o daños; sustitúyalos si es necesario.
Llene los cojinetes con grasa de propósito general.
Introduzca un cojinete y un retén nuevo en la rueda.
Si en el conjunto del eje faltan ambas tuercas espaciadoras, aplique un fijador de roscas a una tuerca espaciadora y enrósquela en el eje con los segmentos planos hacia fuera.
Note: No enrosque la tuerca espaciadora completamente en el extremo del eje. Deje un espacio de 3 mm (⅛") aproximadamente entre la superficie exterior de la tuerca espaciadora y el extremo del eje, dentro de la tuerca).
Introduzca el eje con la tuerca montada en la rueda, en el lado que contiene el retén nuevo y el cojinete.
Con la cara abierta de la rueda hacia arriba, llene el interior de la rueda alrededor del eje con grasa de propósito general.
Introduzca el segundo cojinete y un retén nuevo en la rueda.
Aplique fijador de roscas a la segunda tuerca espaciadora y enrósquela en el eje con los segmentos planos hacia fuera.
Apriete la tuerca a 8–9 N·m (75–80 pulgadas-libra), aflójela, luego apriétela a 2–3 N·m (20–25 pulgadas-libra).
Note: Asegúrese de que el eje no sobresale de ninguna de las tuercas.
Instale los protectores de los retenes sobre el cubo de la rueda e introduzca la rueda en la horquilla.
Instale el perno de la rueda y apriete la tuerca del todo.
Important: Para evitar que se dañen el cojinete y el retén, compruebe el ajuste del cojinete a menudo. Gire la rueda. La rueda no debe girar libremente (más de 1–2 vueltas), ni tener holgura lateral. Si la rueda gira libremente, ajuste el apriete de la tuerca espaciadora hasta que quede ligeramente frenada. Aplique otra capa de fijador de roscas.
Mantenga las manos, los pies, la cara, la ropa y otras partes del cuerpo alejados del tubo de escape y de otras superficies calientes. Deje que se enfríen los componentes del motor antes de realizar cualquier tarea de mantenimiento.
No cambie la velocidad del regulador del motor ni haga funcionar el motor a una velocidad excesiva.
| Intervalo de mantenimiento y servicio | Procedimiento de mantenimiento |
|---|---|
| Cada 250 horas |
|
| Cada 500 horas |
|
Note: Revise el limpiador de aire con mayor frecuencia en condiciones de trabajo de mucho polvo o arena.
Aparque la máquina en una superficie nivelada, desengrane el mando de control de las cuchillas (TDF) y ponga el freno de estacionamiento.
Pare el motor, retire la llave y espere a que se detengan todas las piezas en movimiento antes de abandonar el puesto del operador.
Abra los cierres del limpiador de aire y tire de la tapa de la entrada de aire para separarla del cuerpo del limpiador de aire (Figura 34).

Limpie el interior de la tapa del limpiador de aire con aire comprimido.
Extraiga con cuidado el filtro primario de la carcasa del limpiador de aire (Figura 34).
Note: Evite golpear el filtro contra el lado de la carcasa.
Retire el filtro de seguridad únicamente para cambiarla.
Inspeccione el filtro de seguridad. Si está sucio, cambie tanto el filtro primario como el filtro de seguridad.
Important: No intente limpiar el filtro de seguridad. Si el filtro de seguridad está sucio, entonces el filtro primario está dañado.
Inspeccione el filtro primario mirando dentro del mismo mientras dirige una luz potente al exterior del filtro. Si el filtro primario está sucio, doblado o dañado, cámbielo.
Note: Los agujeros del filtro aparecerán en forma de puntos luminosos. No limpie el filtro primario.
Important: Para evitar dañar el motor, no haga funcionar nunca el motor sin que estén instalados ambos filtros de aire y la tapa.
Si está instalando filtros nuevos, compruebe cada filtro para asegurarse de que no ha sufrido daños durante el transporte.
Note: No utilice un filtro dañado.
Si va a cambiar el filtro interno, deslícelo cuidadosamente en el cuerpo del filtro (Figura 34).
Deslice cuidadosamente el filtro primario por encima del filtro de seguridad (Figura 34).
Note: Asegúrese de que el filtro primario está bien asentado empujando sobre el borde exterior mientras lo instala.
Important: No empuje sobre la zona blanda interior del filtro.
Instale la tapa del limpiador de aire y fije los cierres (Figura 34).
| Intervalo de mantenimiento y servicio | Procedimiento de mantenimiento |
|---|---|
| Cada vez que se utilice o diariamente |
|
| Cada 100 horas |
|
| Cada 200 horas |
|
Tipo de aceite: Aceite detergente (API clase de servicio SJ o superior)
Capacidad del cárter (motores sin EFI): si se cambia el filtro, 1.8 litros (61 onzas fluidas); si no se cambia el filtro, 1.6 litros (54 onzas fluidas)
Capacidad del cárter (motores con EFI): si se cambia el filtro, 1.9 litros (64 onzas fluidas); si no se cambia el filtro, 1.6 litros (54 onzas fluidas)
Viscosidad: Consulte la tabla siguiente.

Note: Compruebe el aceite con el motor frío.
Important: No llene excesivamente el cárter de aceite, ya que esto podría dañar el motor. No haga funcionar el motor si el nivel de aceite está por debajo de la marca Bajo porque podría dañar el motor.
Aparque la máquina en una superficie nivelada, mueva la palanca de control de la velocidad a la posición de PUNTO MUERTO, desengrane la TDF y ponga el freno de estacionamiento.
Pare el motor, retire la llave y espere a que se detengan todas las piezas en movimiento antes de abandonar el puesto del operador.
Note: Asegúrese de que el motor está frío, y que el aceite ha tenido tiempo para drenarse al cárter.
Eleve la tolva
Para que no entre suciedad, recortes de hierba, etc., en el motor, limpie la zona alrededor del tapón de llenado/varilla de aceite antes de retirarlo (Figura 36).
Retire la varilla de aceite y límpiela de aceite.
Inserte la varilla hasta el fondo del tubo.
Retire la varilla y observe el nivel de aceite.
Si el nivel de aceite es bajo, limpie la zona alrededor del tapón de llenado, retire el tapón y añada aceite hasta que llegue a la marca Lleno (Full) de la varilla (Figura 36).
Important: No haga funcionar el motor si el nivel de aceite está por debajo de la marca Bajo o Añadir (Low o Add), o por encima de la marca Lleno (Full) de la varilla.

Note: Elimine el aceite usado en un centro de reciclaje.
Aparque la máquina de manera con la parte trasera ligeramente más baja que la parte delantera, para asegurar que el aceite se drene completamente.
Mueva la palanca de control de la velocidad a la posición de PUNTO MUERTO para detener la máquina.
Mueva la palanca de control de la velocidad a la posición de PUNTO MUERTO, desengrane la TDF y ponga el freno de estacionamiento.
Pare el motor, retire la llave y espere a que se detengan todas las piezas en movimiento antes de abandonar el puesto del operador.

Vierta lentamente un 80% aproximadamente del aceite especificado por el tubo de llenado, luego añada lentamente el resto del aceite hasta que llegue a la marca Lleno (Full) de la varilla (Figura 36).
Arranque el motor y conduzca hasta una zona llana. Compruebe el nivel de aceite otra vez (Figura 36).
Si es necesario, añada suficiente aceite para elevar el nivel hasta la marca Lleno (Full) de la varilla.
Drene el aceite del motor; consulte Cómo cambiar el aceite del motor.
Sustituya el filtro de aceite del motor (Figura 38).

Note: Asegúrese de que la junta del filtro de aceite toca el motor, luego apriete el filtro de aceite ¾ de vuelta más.
Llene el cárter con el tipo correcto de aceite nuevo; consulte Especificaciones de aceite del motor.
| Intervalo de mantenimiento y servicio | Procedimiento de mantenimiento |
|---|---|
| Cada 200 horas |
|
| Cada 500 horas |
|
Tipo para motores EFI: Champion® XC12YC o equivalente
Tipo para motores sin EFI: Champion® RC12YC o equivalente
Distancia entre electrodos: 0.76 mm (0.03")
Pare el motor, retire la llave y espere a que se detengan todas las piezas en movimiento antes de abandonar el puesto del operador.
Desengrane la TDF, mueva las palancas de control de movimiento a la posición de BLOQUEO/PUNTO MUERTO, y ponga el freno de estacionamiento.
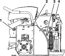
Retire la cubierta de la unidad hidráulica izquierda en el orden indicado en Figura 39. Así tendrá acceso a la bujía delantera.


Retire la bujía.


Important: No limpie la(s) bujía(s). Cambie siempre las bujías si tienen un revestimiento negro, electrodos desgastados, una película aceitosa o grietas.
Si se observa un color gris o marrón claro en el aislante, el motor está funcionando correctamente. Si el aislante aparece de color negro, significa que el limpiador de aire está sucio.
Ajuste la distancia a 0.76 mm (0.03").

| Intervalo de mantenimiento y servicio | Procedimiento de mantenimiento |
|---|---|
| Cada 50 horas |
|
Los componentes calientes del sistema de escape pueden incendiar los vapores del combustible, incluso después de que se apague el motor. Las partículas calientes expulsadas durante la operación del motor pueden incendiar materiales inflamables, dando lugar a lesiones personales o daños materiales.
No reposte combustible ni ponga en marcha el motor si el parachispas no está instalado.
Aparque la máquina en una superficie nivelada, desengrane la TDF y ponga el freno de estacionamiento.
Apague el motor, retire la llave y espere a que se detengan todas las piezas en movimiento antes de abandonar el puesto del operador.
Espere a que se enfríe el silenciador.
Si observa roturas en la rejilla o en las soldaduras, sustituya el parachispas.
Si la rejilla está atascada, retire el parachispas y sacuda la rejilla para eliminar partículas sueltas, luego límpiela con un cepillo de alambre (sumérjala en disolvente si es necesario).
Instale el parachispas en la salida del tubo de escape.
En ciertas condiciones, el combustible es extremadamente inflamable y altamente explosivo. Un incendio o una explosión provocados por el combustible puede causarle quemaduras a usted y a otras personas así como daños materiales.
Consulte Seguridad – Combustible para obtener una lista completa de precauciones relacionadas con el sistema de combustible.
Los componentes del sistema de combustible están sometidos a alta presión. El uso de componentes incorrectos puede dar lugar a fallos del sistema, fugas de combustible y posible explosión.
Utilice únicamente tubos de combustible y filtros de combustible homologados.
Esta máquina contiene un sistema electrónico de inyección de combustible. Controla el caudal de combustible bajo diferentes condiciones de uso.
La unidad de control electrónica (UCE) monitoriza constantemente el funcionamiento del sistema de control de combustible.
Si se detecta un problema o una avería en el sistema, se enciende el indicador de avería multifunción (IAM). El IAM es el piloto rojo situado en el panel derecho de la consola.
Si se enciende el IAM, realice las comprobaciones iniciales de localización de fallos; consulte la sección IAM, en .
Si estas comprobaciones no corrigen el problema, será necesario que un Servicio Técnico Autorizado realice un diagnóstico y mantenimiento completos.
| Intervalo de mantenimiento y servicio | Procedimiento de mantenimiento |
|---|---|
| Cada 200 horas |
|
El filtro de combustible está situado cerca de la parte delantera o trasera del motor.
Aparque la máquina en una superficie nivelada, mueva la palanca de control de la velocidad a la posición de PUNTO MUERTO, desengrane el mando de control de las cuchillas (TDF) y ponga el freno de estacionamiento.
Pare el motor, retire la llave y espere a que se detengan todas las piezas en movimiento antes de abandonar el puesto del operador.
Deje que la máquina se enfríe.
Cierre con una pinza el tubo del filtro de combustible que va al depósito de combustible.
Cambie el filtro de combustible (Figura 43).
Note: Asegúrese de que la marcas del filtro coinciden con la dirección de flujo de combustible.

Note: Instale los tubos de combustible y sujételos con bridas de plástico de la misma manera que estaban al salir de la fábrica, de modo que los tubos de combustible queden alejados de cualquier componente que pudiera dañarlos.
No intente vaciar el depósito de combustible. Asegúrese de que el vaciado del depósito de combustible y el mantenimiento de cualquier componente del sistema de combustible sea realizado por un Servicio Técnico Autorizado.
Desconecte la batería antes de reparar la máquina. Desconecte primero el terminal negativo y por último el positivo. Conecte primero el terminal positivo y por último el negativo.
Cargue la batería en una zona abierta y bien ventilada, lejos de chispas y llamas. Desenchufe el cargador antes de conectar o desconectar la batería. Lleve ropa protectora y utilice herramientas aisladas.
| Intervalo de mantenimiento y servicio | Procedimiento de mantenimiento |
|---|---|
| Cada mes |
|
El electrolito de la batería contiene ácido sulfúrico, que es mortal si es ingerido y causa quemaduras graves.
No beba electrolito y evite el contacto con la piel, los ojos y la ropa. Lleve lentes de seguridad para proteger sus ojos, y guantes de goma para proteger sus manos.
Una desconexión incorrecta de los cables de la batería podría dañar la máquina y los cables, causando chispas. Las chispas podrían hacer explotar los gases de la batería, causando lesiones personales.
Desconecte siempre el cable negativo (negro) de la batería antes de desconectar el cable positivo (rojo).
Conecte siempre el cable positivo (rojo) de la batería antes de conectar el cable negativo (negro).
Aparque la máquina en una superficie nivelada, mueva la palanca de control de la velocidad a la posición de PUNTO MUERTO, desengrane el mando de control de las cuchillas (TDF) y ponga el freno de estacionamiento.
Pare el motor, retire la llave y espere a que se detengan todas las piezas en movimiento antes de abandonar el puesto del operador.
Desconecte el cable negativo (negro) de la batería del borne negativo (-) de la batería (Figura 44).
Retire la cubierta de goma roja del borne positivo (rojo) de la batería y retire el cable positivo (+) (Figura 44).
Retire las tuercas de orejeta que sujetan los ganchos (Figura 44).
Retire la abrazadera (Figura 44).
Retire la batería.

El proceso de carga de la batería produce gases que pueden explotar.
Nunca fume cerca de la batería, y mantenga alejados de la batería chispas y llamas.
Important: Mantenga siempre la batería completamente cargada (densidad específica de 1.265). Esto es especialmente importante para evitar daños a la batería cuando la temperatura está por debajo de los 0 °C (32 °F).
Retire la batería del chasis; consulte Cómo retirar la batería.
Cargue la batería durante 10 a 15 minutos a entre 25 A y 30 A, o durante 30 minutos a 10 A.
Note: No sobrecargue la batería.
Cuando la batería esté completamente cargada, desconecte el cargador de la toma de electricidad, luego desconecte los cables del cargador de los bornes de la batería (Figura 45).
Instale la batería en la máquina y conecte los cables de la batería; consulte Instalación de la batería.
Note: No haga funcionar la máquina con la batería desconectada; puede causar daños al sistema eléctrico.

Coloque la batería en la bandeja, con los bornes frente al depósito de aceite hidráulico (Figura 44).
Conecte primero el cable positivo (rojo) al borne positivo (+) de la batería.
Conecte el cable negativo (negro) y el cable de tierra al borne negativo (–) de la batería.
Fije los cables con 2 pernos, 2 arandelas, y 2 contratuercas (Figura 44).
Deslice la cubierta de goma roja sobre el borne positivo (rojo) de la batería.
Instale la abrazadera y sujétela con las tuercas de orejeta y los ganchos (Figura 44).
El sistema eléctrico está protegido con fusibles. No requiere mantenimiento; no obstante, si se funde un fusible, compruebe que no haya ninguna avería ni cortocircuito en el componente/circuito.
Los fusibles están situados en el lado derecho, detrás del asiento.
Para cambiar un fusible, tire del mismo para retirarlo.
Instale un fusible nuevo.
Ajuste todos los interruptores de seguridad hasta que el émbolo sobresalga 4.8 – 6.4 mm (3/16" – ¼") del cuerpo del interruptor cuando el émbolo está comprimido (ver Figura 46).

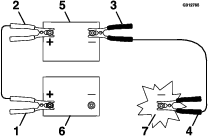
Compruebe y limpie cualquier corrosión de los bornes de la batería antes de arrancar el motor con la ayuda de una batería externa. Asegúrese de que las conexiones están bien apretadas.
La corrosión y las conexiones sueltas pueden causar picos de voltaje no deseados en cualquier momento durante el procedimiento de arranque externo.
Ni intente arrancar la máquina si los bornes de la batería están sueltos o corroídos, porque podría dañar el motor o el sistema de inyección de combustible.
Cualquier intento de arrancar una batería agrietada, congelada, con bajo nivel de electrolito o que tenga una celda abierta o cortocircuitada podría provocar una explosión y causar lesiones personales graves.
No arranque una batería descargada si existe cualquiera de estas condiciones.
Asegúrese de que la batería externa es una batería de ácido-plomo de 12.6 voltios o más, y que está en buenas condiciones y completamente cargada.
Note: Utilice cables pasa-corriente de la sección correcta que no sean demasiado largos a fin de reducir la caída de voltaje entre los dos sistemas. Asegúrese de que los cables están codificados por color o etiquetados con la polaridad correcta.
Una mala conexión (polaridad incorrecta) de los cables pasa-corriente puede dañar inmediatamente el sistema de inyección electrónica de combustible.
Asegúrese de respetar la polaridad de los bornes de la batería y de los cables pasa-corriente al conectar las baterías.
Las baterías contienen ácido y producen gases explosivos.
Proteja los ojos y la cara de las baterías en todo momento.
No se incline sobre las baterías.
Note: Asegúrese de que los tapones de ventilación están apretados y nivelados. Coloque un paño húmedo, si tiene uno, sobre los tapones de ventilación de ambas baterías. Asegúrese también de que las máquinas no están en contacto entre sí y que los sistemas eléctricos de ambas están desconectados y son del mismo voltaje nominal. Estas instrucciones son aplicables únicamente a sistemas con negativo a tierra.
Conecte el cable positivo (+) al borne positivo (+) de la batería descargada que está conectado al motor de arranque o al solenoide, según se indica en Figura 47.

Conecte el otro extremo del cable positivo al borne positivo de la batería externa.
Conecte el cable negativo (–) al otro borne (negativo) de la batería externa.
Haga la conexión final al bloque motor de la máquina que no arranca (no al borne negativo de la batería) en un punto alejado de la batería, y apártese (Figura 48).


Arranque la máquina y retire los cables en el orden inverso a la conexión (desconecte primero el cable negativo del bloque motor).
Note: El pomo de ajuste está situado debajo del asiento.
Note: Este pomo permite realizar ajustes finos para que la máquina avance en línea recta con las palancas de control en posición de velocidad máxima hacia adelante.
Ponga la máquina en marcha a ¾ de la velocidad máxima durante al menos 5 minutos para que el fluido hidráulico alcance su temperatura normal de operación.
Aparque la máquina en una superficie nivelada, mueva la palanca de control de la velocidad a la posición de PUNTO MUERTO, desengrane el mando de control de las cuchillas (TDF) y ponga el freno de estacionamiento.
Pare el motor, retire la llave y espere a que se detengan todas las piezas en movimiento antes de abandonar el puesto del operador.
Incline el asiento hacia adelante para tener acceso al pomo de ajuste de la alineación.
Gire el pomo a la derecha para dirigir la máquina hacia la derecha, y gírelo a la izquierda para dirigir la máquina hacia la izquierda.
Ajuste en incrementos de ⅛ de vuelta hasta que la máquina avance en línea recta.
Asegúrese de que la máquina no se desplaza en punto muerto con el freno de estacionamiento quitado (Figura 49).

| Intervalo de mantenimiento y servicio | Procedimiento de mantenimiento |
|---|---|
| Cada 40 horas |
|
Mantenga la presión de aire de los neumáticos traseros a 1.03 bar (15 psi). Una presión desigual en los neumáticos puede hacer que el corte sea desigual. Las lecturas de presión son más exactas cuando los neumáticos están fríos.
Note: Las ruedas delanteras son semineumáticas y no requieren presión de aire.

Note: No añada ningún tipo de revestimiento, ni material de llenado de espuma a los neumáticos.
| Intervalo de mantenimiento y servicio | Procedimiento de mantenimiento |
|---|---|
| Después de las primeras 100 horas |
|
| Cada 500 horas |
|
Compruebe la torsión de las tuercas de las ruedas y apriételas a 122–129 N·m (90–95 pies-libra).
| Intervalo de mantenimiento y servicio | Procedimiento de mantenimiento |
|---|---|
| Después de las primeras 100 horas |
|
| Cada 500 horas |
|
Asegúrese de que el par de apriete de la tuerca almenada es de 373 a 475 N·m (275 a 350 pies-libra).
| Intervalo de mantenimiento y servicio | Procedimiento de mantenimiento |
|---|---|
| Cada 500 horas |
|
Aparque la máquina en una superficie nivelada, mueva la palanca de control de la velocidad a la posición de PUNTO MUERTO, desengrane el mando de control de las cuchillas (TDF) y ponga el freno de estacionamiento.
Pare el motor, retire la llave y espere a que se detengan todas las piezas en movimiento antes de abandonar el puesto del operador.
Retire el tapón guardapolvo de la rueda giratoria y apriete la contratuerca hasta que las arandelas de muelle estén planas, luego aflójela ¼ de vuelta para establecer correctamente la precarga de los cojinetes (Figura 51 y Figura 52).
Important: Asegúrese de que las arandelas de muelle están correctamente instaladas, según se muestra en Figura 51 y Figura 52.
Coloque el tapón anti-polvo.


La ingesta de refrigerante de motor puede provocar envenenamiento; manténgalo fuera del alcance de niños y animales domésticos.
Una descarga de refrigerante caliente bajo presión, o cualquier contacto con el radiador caliente y los componentes que lo rodean, pueden causar quemaduras graves.
Siempre deje que el motor se enfríe durante al menos 15 minutos antes de retirar el tapón del radiador.
Utilice un trapo al abrir el tapón del radiador, y ábralo lentamente para permitir la salida del vapor.
| Intervalo de mantenimiento y servicio | Procedimiento de mantenimiento |
|---|---|
| Cada vez que se utilice o diariamente |
|
Retire cualquier acumulación de hierba, suciedad u otros residuos del enfriador de aceite. Esto ayuda a asegurar una refrigeración adecuada y una velocidad de motor correcta, y reduce la posibilidad de sobrecalentamiento y daños mecánicos al motor.
| Intervalo de mantenimiento y servicio | Procedimiento de mantenimiento |
|---|---|
| Cada 100 horas |
|
Aparque la máquina en una superficie nivelada, mueva la palanca de control de la velocidad a la posición de PUNTO MUERTO, desengrane la TDF y ponga el freno de estacionamiento.
Pare el motor, retire la llave y espere a que se detengan todas las piezas en movimiento antes de abandonar el puesto del operador.
Retire las tuercas de montaje del depósito de combustible y gire el depósito de combustible hacia fuera.
Limpie las aletas con un cepillo para mantener el enfriador de aceite libre de residuos
Gire el depósito de combustible hacia dentro y sujételo con las tuercas de montaje.
Afloje los pernos de montaje ½ vuelta para permitir la dilatación del depósito.
| Intervalo de mantenimiento y servicio | Procedimiento de mantenimiento |
|---|---|
| Cada 100 horas |
|
Aparque la máquina en una superficie nivelada, mueva la palanca de control de la velocidad a la posición de PUNTO MUERTO, desengrane la TDF y ponga el freno de estacionamiento.
Pare el motor, retire la llave y espere a que se detengan todas las piezas en movimiento antes de abandonar el puesto del operador.
Retire la rejilla de entrada de aire y la carcasa del ventilador.
Limpie los residuo y la hierba de los componentes del motor.
Instale la rejilla de entrada de aire y la carcasa del ventilador.
| Intervalo de mantenimiento y servicio | Procedimiento de mantenimiento |
|---|---|
| Cada vez que se utilice o diariamente |
|
Aparque la máquina en una superficie nivelada, mueva la palanca de control de la velocidad a la posición de PUNTO MUERTO, desengrane la TDF y ponga el freno de estacionamiento.
Pare el motor, retire la llave y espere a que se detengan todas las piezas en movimiento antes de abandonar el puesto del operador.
Levante el asiento.
Limpie cualquier residuo o hierba de las bombas hidráulicas.
Baje el asiento.
| Intervalo de mantenimiento y servicio | Procedimiento de mantenimiento |
|---|---|
| Después de las primeras 100 horas |
|
| Cada 500 horas |
|
Asegúrese de que el freno está correctamente ajustado. Siga este procedimiento cuando retire o cambie un componente del freno.
Aparque la máquina en una superficie nivelada, mueva la palanca de control de la velocidad a la posición de PUNTO MUERTO, desengrane la TDF y ponga el freno de estacionamiento.
Pare el motor, retire la llave y espere a que se detengan todas las piezas en movimiento antes de abandonar el puesto del operador.
Quite el freno de estacionamiento.
Incline el asiento hacia adelante.
Asegúrese de que no haya holgura entre la palanca del freno de estacionamiento y el acoplamiento.
Si es necesario un ajuste, retire el pasador y gire el acoplamiento en sentido antihorario para alargarlo, o en sentido horario para acortarlo.

Mida la longitud del muelle comprimido en ambos conjuntos de muelle vertical.
Note: El muelle debe medir de 6 a 7 cm (2.35" a 2.85"). Si es necesario, ajuste la tuerca de la parte superior del conjunto del muelle vertical hasta obtener esta distancia.

Ajuste la longitud del acoplamiento con las 2 tuercas situadas en la parte inferior del conjunto de muelle vertical (Figura 55).
Note: El acoplamiento debe medir de 22.7 a 23.3 cm (8.92" a 9.16").

Ponga y quite los frenos para comprobar que funcionan correctamente. Ajústela si es necesario.
Note: Cuando los frenos están quitados, debe haber poca o ninguna holgura en el acoplamiento de los frenos, y los frenos no deben agarrotarse.
| Intervalo de mantenimiento y servicio | Procedimiento de mantenimiento |
|---|---|
| Cada 40 horas |
|
Cambie la correa si está desgastada. Las señales de una correa desgastada incluyen chirridos cuando la correa está en movimiento, patinaje de las cuchillas durante la siega, bordes deshilachados, o marcas de quemaduras o grietas.
Aparque la máquina en una superficie nivelada, mueva la palanca de control de la velocidad a la posición de PUNTO MUERTO, desengrane la TDF y ponga el freno de estacionamiento.
Pare el motor, retire la llave y espere a que se detengan todas las piezas en movimiento antes de abandonar el puesto del operador.
Incline la tolva hacia arriba y compruebe que las correas de transmisión de la bomba y la TDF no están desgastadas, agrietadas o contaminadas.
Note: Las correas están tensadas con muelle y no necesitan ajuste alguno hasta que sean sustituidas.
Aparque la máquina en una superficie nivelada, mueva la palanca de control de la velocidad a la posición de PUNTO MUERTO, desengrane la TDF y ponga el freno de estacionamiento.
Pare el motor, retire la llave y espere a que se detengan todas las piezas en movimiento antes de abandonar el puesto del operador.
Con el motor en “Desconectado”, engrane la palanca de la TDF, luego retire el pasador de horquilla y la chaveta de la parte inferior de la banda del freno de la TDF.
Gire la banda del freno hacia arriba para apartarla de las correas, sin tocar la correa de transmisión.
Desengrane la palanca de la TDF.
Afloje las guías de la correa A y B (Figura 56).
Retire las correas.
Enrute las correas nuevas alrededor de las poleas, según se muestra en Figura 56.

Engrane la palanca de la toma de fuerza.
Gire la banda del freno hacia abajo a su posición original.
Instale el pasador de horquilla y la chaveta para sujetar la banda del freno.
Afloje las contratuercas y ajuste el acoplamiento hasta que el extremo superior del brazo de la polea tensora esté alineado con el borde inferior de la muesca del brazo tensor, según se muestra en Figura 57.

Apriete las contratuercas y desengrane la palanca de la TDF.
Engrane la palanca de la TDF y compruebe la alineación.
Compruebe y ajuste las guías de la correa, según lo indicado en Ajuste de las guías de la correas.
Aparque la máquina en una superficie nivelada, mueva la palanca de control de la velocidad a la posición de PUNTO MUERTO, desengrane la TDF y ponga el freno de estacionamiento.
Pare el motor, retire la llave y espere a que se detengan todas las piezas en movimiento antes de abandonar el puesto del operador.
Retire las correas de la TDF; consulte Sustitución de las correas de la TDF.
Tire de la polea tensora o retire el muelle para aliviar la tensión de la correa de transmisión de la bomba.
Retire la correa usada.
Enrute la correa nueva sobre las poleas según lo indicado en la calcomanía situada en la parte trasera del protector izquierdo de la transmisión (Figura 58).

Instale las correas de la TDF; consulte Sustitución de las correas de la TDF.
Aparque la máquina en una superficie nivelada, mueva la palanca de control de la velocidad a la posición de PUNTO MUERTO, desengrane la TDF y ponga el freno de estacionamiento.
Pare el motor, retire la llave y espere a que se detengan todas las piezas en movimiento antes de abandonar el puesto del operador.
Con el motor parado, engrane la palanca de la TDF.
Ajuste las guías de las correas según lo indicado en Figura 59.

Alinee la polea de transmisión de la TDF para cualquiera de las siguientes condiciones:
El soplador ha sido retirado o cambiado.
Los pernos de montaje del motor han sido aflojados o el motor ha sido movido o cambiado.
Los pernos de montaje del eje secundario han sido aflojados o el eje secundario ha sido movido o cambiado.
Aparque la máquina en una superficie nivelada, mueva la palanca de control de la velocidad a la posición de PUNTO MUERTO, desengrane el mando de control de las cuchillas (TDF) y ponga el freno de estacionamiento.
Pare el motor, retire la llave y espere a que se detengan todas las piezas en movimiento antes de abandonar el puesto del operador.
Retire las tuercas de montaje del depósito de combustible y gire el depósito de combustible hacia fuera.
Compruebe que el soplador está instalado y que está firmemente sujeto.
Afloje los cuatro pernos de montaje del motor.
Desenganche el muelle tensor de la correa de la bomba.
Afloje los cuatro pernos de montaje del eje secundario.
Midiendo desde la polea del soplador como punto de partida, mueva el motor y el eje secundario hasta que las superficies traseras de las tres poleas queden alineadas con una tolerancia de 0.8 – 1.6 mm (1/32" – 1/16") (Figura 60).
Note: Utilice una regla para alinear las tres superficies.

Apriete los cuatro pernos de montaje del motor y los cuatro pernos de montaje del eje secundario. Compruebe la alineación después de apretar los pernos.
Instale el muelle tensor de la correa de la bomba.
Gire el depósito de combustible hacia dentro e instale las tuercas de montaje del depósito.
Alinee la polea de transmisión de la bomba; Alineación de la polea de transmisión de la TDF.
Es necesario alinear la polea de transmisión de la bomba si se ha producido cualquiera de las siguientes condiciones:
Los pernos de montaje del motor han sido aflojados o el motor ha sido movido o cambiado.
Las poleas de la bomba han sido aflojadas, movidas o cambiadas.
La polea de la TDF se ha alineado; consulte Alineación de la polea de transmisión de la TDF.
Aparque la máquina en una superficie nivelada, mueva la palanca de control de la velocidad a la posición de PUNTO MUERTO, desengrane el mando de control de las cuchillas (TDF) y ponga el freno de estacionamiento.
Pare el motor, retire la llave y espere a que se detengan todas las piezas en movimiento antes de abandonar el puesto del operador.
Afloje los tornillos de fijación de las dos poleas de la bomba.
Usando una regla, alinee cada polea de la bomba con la polea del motor deslizándola por el eje de la bomba (Figura 60).
Apriete los tornillos de fijación de las poleas y compruebe la alineación.
Ajuste el muelle del freno de la TDF solo si el soplador ha sido retirado o cambiado, o si el brazo de la polea tensora de la TDF ha sido desmontado.
Aparque la máquina en una superficie nivelada, mueva la palanca de control de la velocidad a la posición de PUNTO MUERTO, desengrane el mando de control de las cuchillas (TDF) y ponga el freno de estacionamiento.
Pare el motor, retire la llave y espere a que se detengan todas las piezas en movimiento antes de abandonar el puesto del operador.
Localice el muelle del freno y desenrosque las dos contratuercas hasta el extremo de la varilla del muelle del freno (Figura 61).
Apriete entre sí las contratuercas en el extremo de la varilla del freno.

Aparque la máquina en una superficie nivelada, mueva la palanca de control de la velocidad a la posición de PUNTO MUERTO, desengrane el mando de control de las cuchillas (TDF) y ponga el freno de estacionamiento.
Pare el motor, retire la llave y espere a que se detengan todas las piezas en movimiento antes de abandonar el puesto del operador.
Afloje las seis tuercas de las bisagras de la puerta (Figura 62).
Abra la puerta y coloque una tira de goma de 9.5 mm (⅜") o una manguera de 9.5 mm (⅜") de diámetro entre la tolva y la puerta de la tolva (Figura 62).
Cierre la puerta y presiónela contra la tolva.
Apriete las fijaciones de las bisagras.
Abra la puerta de la tolva y retire la tira de goma.

Busque atención médica inmediatamente si el fluido hidráulico penetra en la piel. Cualquier fluido inyectado debe ser extraído quirúrgicamente por un médico en el espacio de pocas horas.
Asegúrese de que todas las mangueras y líneas de fluido hidráulico están en buenas condiciones de uso y que todos los acoplamientos y conexiones hidráulicos están apretados antes de aplicar presión al sistema hidráulico.
Mantenga el cuerpo y las manos alejados de fugas pequeñas o boquillas que expulsan fluido hidráulico a alta presión.
Utilice un cartón o un papel para buscar fugas hidráulicas.
Alivie de manera segura toda presión en el sistema hidráulico antes de realizar trabajo alguno en el sistema hidráulico.
Tipo de fluido hidráulico: Fluido hidráulico Toro® HYPR-OIL™ 500 o Mobil® 1 15W-50.
Important: Utilice el fluido especificado. Otros fluidos podrían causar daños en el sistema.
| Intervalo de mantenimiento y servicio | Procedimiento de mantenimiento |
|---|---|
| Cada 40 horas |
|
Aparque la máquina en una superficie nivelada, mueva la palanca de control de la velocidad a la posición de PUNTO MUERTO, desengrane el mando de control de las cuchillas (TDF) y ponga el freno de estacionamiento.
Pare el motor, retire la llave y espere a que se detengan todas las piezas en movimiento antes de abandonar el puesto del operador.
Deje que el motor y el sistema hidráulico se enfríen durante 10 minutos.
Note: Para obtener una lectura correcta, compruebe el nivel de fluido hidráulico cuando la máquina esté fría.
Levante el asiento.
Limpie la zona alrededor de la varilla del depósito del sistema hidráulico (Figura 63).
Retire la varilla del depósito hidráulico (Figura 63).
Limpie la varilla e introdúzcala en el depósito.
Retire la varilla e inspeccione el extremo (Figura 63). Si el nivel de fluido está en la marca Add (añadir), vierta lentamente en el depósito hidráulico solo la cantidad de fluido necesaria para que el nivel llegue hasta la marca de Lleno.
Important: No llene demasiado las unidades hidráulicas de fluido porque podrían producirse daños. No haga funcionar la máquina si el nivel de fluido está por debajo de la marca Add (añadir).
Vuelva a colocar la varilla.

| Intervalo de mantenimiento y servicio | Procedimiento de mantenimiento |
|---|---|
| Después de las primeras 100 horas |
|
| Cada 250 horas |
|
| Cada 500 horas |
|
Note: Utilice un filtro de verano si la temperatura es de 0 °C (32 °F) o más. Utilice un filtro de invierno si la temperatura es de 0 °C (32 °F) o menos.
Aparque la máquina en una superficie nivelada, mueva la palanca de control de la velocidad a la posición de PUNTO MUERTO, desengrane el mando de control de las cuchillas (TDF) y ponga el freno de estacionamiento.
Pare el motor, retire la llave y espere a que se detengan todas las piezas en movimiento antes de abandonar el puesto del operador.
Limpie cuidadosamente la zona alrededor del filtro.
Important: Asegúrese de que no entra ningún tipo de suciedad o contaminación en el sistema hidráulico.
Desenrosque y retire el filtro y deje que se vacíe el fluido del depósito.
Important: No cambie el fluido del sistema hidráulico (salvo la porción que se vacía al cambiar el filtro), a menos que se haya contaminado el fluido o haya estado sumamente caliente. Los cambios innecesarios de fluido hidráulico pueden dañar el sistema hidráulico al introducir contaminantes en el sistema.
Antes de instalar el filtro nuevo, llénelo de fluido hidráulico Toro® HYPR-OIL ™ 500, y aplique una capa fina de fluido a la superficie de la junta de goma.
Gire el filtro en sentido horario hasta que la junta de goma entre en contacto con el adaptador del filtro, luego apriete el filtro entre ⅔ y ¾ de vuelta más.
Llene el depósito según lo indicado en Comprobación del fluido hidráulico.
Levante la parte trasera de la máquina y apóyela sobre soportes fijos a una altura suficiente para permitir que las ruedas motrices giren libremente.
Arranque el motor y mueva el acelerador a la posición de RALENTí.
Mueva las palancas de control de la velocidad a la posición de velocidad máxima y deje funcionar la máquina durante varios minutos.
Pare la máquina y compruebe el nivel de fluido.
Inspeccione periódicamente las cuchillas en busca de desgaste y daños.
Tenga cuidado al revisar las cuchillas. Envuelva las cuchillas o lleve guantes, y extreme las precauciones al realizar el mantenimiento de las cuchillas. Solo reemplace o afile las cuchillas; no las enderece ni las suelde nunca.
En máquinas con múltiples cuchillas, tenga cuidado puesto que girar una cuchilla puede hacer que giren otras cuchillas.
Sustituya cuchillas o pernos gastados o dañados en conjuntos completos para no desequilibrar la máquina.
Para garantizar una calidad de corte superior, mantenga afiladas las cuchillas. Para que el afilado y la sustitución sean más cómodos, puede desear tener un stock de cuchillas de repuesto.
Aparque la máquina en una superficie nivelada, desengrane el mando de control de las cuchillas (TDF) y ponga el freno de estacionamiento.
Apague el motor, retire la llave y desconecte los cables de las bujías.
| Intervalo de mantenimiento y servicio | Procedimiento de mantenimiento |
|---|---|
| Cada vez que se utilice o diariamente |
|
Inspeccione los filos de corte (Figura 64).
Si los filos están romos o tienen muescas, retire la cuchilla y afílela; consulte Afilado de las cuchillas.
Inspeccione las cuchillas, especialmente en la parte curva.
Si observa fisuras, desgaste o la formación de una ranura en esta zona, instale de inmediato una cuchilla nueva (Figura 64).

Gire las cuchillas hasta que los extremos estén orientados hacia adelante y hacia atrás.
Mida desde una superficie nivelada hasta el filo de corte, posición A, de las cuchillas (Figura 65).

Gire hacia adelante los otros extremos de las cuchillas.
Mida desde una superficie nivelada hasta el filo de corte de las cuchillas en la misma posición que en el paso 2 arriba.
Note: La diferencia entre las dimensiones obtenidas en los pasos 2 y 4 no debe superar los 3 mm (⅛").
Note: Si esta dimensión es de más de 3 mm (⅛"), la cuchilla está doblada y debe ser cambiada.
Cambie las cuchillas si han golpeado un objeto sólido o si una cuchilla está desequilibrada o doblada.
Note: Observe la posición de la cuchilla roja. Desde la posición normal del usuario, se encuentra en el lado derecho.
Eleve la carcasa de corte y bloquéela en la posición elevada. Consulte Elevar la carcasa de corte a la posición de mantenimiento.
Sujete el extremo de la cuchilla usando un trapo o un guante grueso.
Retire la cuchilla, la arandela y el perno que sujetan la cuchilla y el impulsor de la cuchilla (Figura 66).

Retire el impulsor de la cuchilla de la cuchilla existente (Figura 66).
Utilice una lima para afilar el filo de corte en ambos extremos de la cuchilla (Figura 67).
Note: Mantenga el ángulo original.
Note: La cuchilla permanece equilibrada si se retira la misma cantidad de material de ambos bordes de corte.

Verifique el equilibrio de la cuchilla colocándola sobre un equilibrador de cuchillas (Figura 68).
Note: Si la cuchilla se mantiene horizontal, está equilibrada y puede utilizarse.
Note: Si la cuchilla no está equilibrada, rebaje algo el metal en la parte de la vela solamente con una lima (Figura 67).

Repita este procedimiento hasta que la cuchilla esté equilibrada.
Note: Asegúrese de instalar la cuchilla roja del lado derecho.
Instale el impulsor de la cuchilla en las cuchillas nuevas con los pernos de cizallamiento y las contratuercas (Figura 66).
Apriete los pernos de cizallamiento a 922–1130 N∙m (80 a 100 pies-libra).
Note: Alinee las zonas planas del impulsor de la cuchilla con las zonas planas del eje al instalar la cuchilla en la carcasa de corte.
Instale la cuchilla, la arandela y el perno de la cuchilla en el eje (Figura 66).
Apriete el perno de la cuchilla a 115–149 N·m (85 a 110 pies-libra).
Baje la carcasa de corte a la posición de operación. Consulte Bajar la carcasa de corte a la posición de operación.
El uso de la carcasa de corte con los pernos de cuchilla mal apretados o debilitados puede ser peligroso. Si un perno de cuchilla está mal apretado o debilitado, la cuchilla podría salir despedida, girando a gran velocidad, de debajo de la carcasa de corte, causando graves lesiones o daños materiales.
Cambie el perno de la cuchilla después de golpear un objeto extraño.
Utilice solamente piezas de repuesto genuinas de Toro.
No lubrique las roscas del perno o del eje antes de ensamblarlos.
Aparque la máquina en una superficie nivelada, mueva la palanca de control de la velocidad a la posición de PUNTO MUERTO, desengrane el mando de control de las cuchillas (TDF) y ponga el freno de estacionamiento.
Pare el motor, retire la llave y espere a que se detengan todas las piezas en movimiento antes de abandonar el puesto del operador.
Compruebe la presión de los neumáticos de las ruedas motrices; consulte Comprobación de la presión de los neumáticos.
Compruebe que todos los pasadores de horquilla están en los taladros de altura de corte de 7.62 cm (3") con los espaciadores debajo de los pasadores de horquilla (Figura 69).

Acorte o alargue cada pasador de soporte de la carcasa de corte para obtener una altura en la punta de las cuchillas de 7.62 cm (3") en la parte delantera de la carcasa y 8.26 cm (3¼") en la parte trasera de la carcasa (Figura 69).
Note: Los pasadores delanteros están enroscados en la carcasa de corte y tienen una contratuerca. Los pasadores traseros tienen una rótula enroscada con una contratuerca.
El uso de esta máquina sin un accesorio de montaje delantero aprobado por Toro aumenta la posibilidad de que el operador se enrede en las ruedas motrices o que la máquina vuelque hacia delante. Un enredo o un vuelco podría causar graves lesiones o incluso la muerte.
Si se utiliza la máquina sin accesorio de montaje delantero homologado por Toro, observe lo siguiente:
Mantenga los pies y la ropa alejados de los neumáticos.
Limite el uso al mínimo necesario para instalar otro accesorio de montaje delantero.
Utilice la menor velocidad posible y extreme las precauciones.
Conduzca únicamente en terreno llano.
No suba ni baje rampas de remolque.
Evite la aceleración o la deceleración repentinas.
Important: No transporte esta máquina sin accesorio de montaje delantero homologado por Toro.
Aparque la máquina en una superficie nivelada, mueva la palanca de control de la velocidad a la posición de PUNTO MUERTO, desengrane el mando de control de las cuchillas (TDF) y ponga el freno de estacionamiento.
Pare el motor, retire la llave y espere a que se detengan todas las piezas en movimiento antes de abandonar el puesto del operador.
Eleve la carcasa de corte y enganche los pestillos de bloqueo de la carcasa. Consulte Elevar la carcasa de corte a la posición de mantenimiento.
Retire los pasadores de horquilla y las arandelas de la parte superior del muelle de elevación asistida en cada lado de la máquina (Figura 70).

Retire el muelle del anclaje del muelle. Repita esto para el otro lado de la máquina.
Desenganche la carcasa de corte de la posición elevada y baje la carcasa de corte lentamente al suelo; consulte Bajar la carcasa de corte a la posición de operación.
Note: La carcasa de corte se vuelve más pesada una vez que se retiran los muelles de los anclajes. Baje la carcasa de corte con cuidado.
Retire los pasadores de seguridad de la parte delantera de los brazos de empuje en ambos lados de la máquina (Figura 71).

Afloje los pernos de sujeción del protector de goma (Figura 72).

Desenganche el asiento y desconecte el árbol de transmisión usando el acoplamiento rápido del eje secundario (Figura 73). Consulte Desenganche del asiento.

Tire de la carcasa de corte hacia adelante para retirarla de la máquina.
Important: No transporte la máquina sin accesorio de montaje delantero homologado por Toro.
Aparque la máquina en una superficie nivelada, mueva la palanca de control de la velocidad a la posición de PUNTO MUERTO, desengrane el mando de control de las cuchillas (TDF) y ponga el freno de estacionamiento.
Pare el motor, retire la llave y espere a que se detengan todas las piezas en movimiento antes de abandonar el puesto del operador.
Acerque la carcasa de corte a la máquina con el tubo de descarga hacia abajo, asegurándose de que los muelles de la carcasa están situados por encima de la rueda motriz y por debajo de la consola en cada lado.
Desenganche el asiento e incline el asiento hacia adelante.
Instale el árbol de transmisión en el eje secundario (Figura 73).
Alinee los tubos de los brazos de empuje de la carcasa de corte con los brazos de empuje de la máquina, y empuje la carcasa hacia atrás.
Sujete los brazos de empuje con los pasadores de seguridad en el lado derecho e izquierdo de la máquina (Figura 71).
Alinee la parte superior del protector de goma, y sujétela con los pernos de sujeción (Figura 72).
Abra los pestillos de bloqueo de la carcasa de corte en cada lado, eleve la carcasa de corte a la posición de mantenimiento y coloque el enganche de la carcasa sobre el gancho. Consulte Elevar la carcasa de corte a la posición de mantenimiento.
Instale los muelles en los pasadores de anclaje situados debajo de las consolas derecha e izquierda y fíjelos con una arandela y una chaveta (Figura 70).
Desenganche la carcasa de corte de la posición elevada, baje la carcasa de corte lentamente al suelo y cierre los pestillos de bloqueo en cada lado. Consulte Bajar la carcasa de corte a la posición de operación.
Empuje hacia dentro los pestillos de bloqueo de la carcasa en ambos lados, y gírelos para bloquear la carcasa en la posición de operación.
Afloje la contratuerca y gire el tornillo de tope en sentido horario hasta que el pestillo de bloqueo esté apretado y no pueda girarse a mano (Figura 74).

Afloje el tornillo de tope ½ vuelta en sentido antihorario y apriete la contratuerca.
Pruebe el pestillo de bloqueo para verificar que se mueve libremente. Ajústelo de ser necesario.
| Intervalo de mantenimiento y servicio | Procedimiento de mantenimiento |
|---|---|
| Cada vez que se utilice o diariamente |
|
Aparque la máquina en una superficie nivelada, mueva la palanca de control de la velocidad a la posición de PUNTO MUERTO, desengrane el mando de control de las cuchillas (TDF) y ponga el freno de estacionamiento.
Pare el motor, retire la llave y espere a que se detengan todas las piezas en movimiento antes de abandonar el puesto del operador.
Eleve la carcasa de corte y bloquéela en la posición elevada. Consulte Elevar la carcasa de corte a la posición de mantenimiento.
Elimine cualquier acumulación de hierba de debajo de la carcasa de corte.
Baje la carcasa de corte a la posición de operación. Consulte Bajar la carcasa de corte a la posición de operación.
| Intervalo de mantenimiento y servicio | Procedimiento de mantenimiento |
|---|---|
| Cada vez que se utilice o diariamente |
|
Aparque la máquina en una superficie nivelada, mueva la palanca de control de la velocidad a la posición de PUNTO MUERTO, desengrane el mando de control de las cuchillas (TDF) y ponga el freno de estacionamiento.
Pare el motor, retire la llave y espere a que se detengan todas las piezas en movimiento antes de abandonar el puesto del operador.
Elimine cualquier acumulación de aceite, residuos o hierba de la máquina, sobre todo alrededor del depósito de combustible, del motor y del sistema de escape.
El aceite de motor, las baterías, el fluido hidráulico y el refrigerante del motor son contaminantes medioambientales. Elimínelos de acuerdo con la normativa estatal y local.
Apague el motor, retire la llave y espere a que se detengan todas las piezas en movimiento antes de abandonar el puesto del operador. Deje que se enfríe la máquina antes de hacer trabajos de ajuste, mantenimiento, limpieza o almacenamiento.
No guarde la máquina o el combustible cerca de llamas, y no drene el combustible dentro de un edificio o dentro de un remolque cerrado.
No guarde la máquina o un recipiente de combustible en un lugar donde pudiera haber una llama desnuda, chispas o una llama piloto, por ejemplo en un calentador de agua u otro electrodoméstico.
Desengrane el mando de control de las cuchillas (TDF) y accione el freno de estacionamiento.
Pare el motor, retire la llave y espere a que se detengan todas las piezas en movimiento antes de abandonar el puesto del operador.
Retire los recortes de hierba, la suciedad y la mugre de las piezas externas de toda la máquina, especialmente el motor y el sistema hidráulico. Limpie la suciedad y la broza de la parte exterior del alojamiento de las aletas de la culata de cilindros del motor y del soplador.
Important: La máquina puede lavarse con un detergente suave y agua. No lave la máquina a presión. Evite el uso excesivo de agua, especialmente cerca del panel de control, el motor, las bombas hidráulicas y los motores eléctricos.
Compruebe el funcionamiento del freno de estacionamiento; consulte Utilización del freno de estacionamiento.
Revise el limpiador de aire; consulte Mantenimiento del limpiador de aire.
Engrase la máquina; consulte Lubricación.
Cambie el aceite del cárter; consulte Mantenimiento del aceite del motor.
Compruebe la presión de los neumáticos; consulte Comprobación de la presión de los neumáticos.
Cambie los filtros hidráulicos; consulte Cambio del fluido hidráulico y el filtro.
Cargue la batería; consulte Cómo cargar la batería.
Rasque cualquier acumulación importante de hierba y suciedad de los bajos del cortacésped, luego lávelo con una manguera de jardín.
Note: Haga funcionar la máquina con el mando de control de las cuchillas (TDF) engranado y el motor en ralentí alto durante 2 a 5 minutos después del lavado.
Compruebe la condición de las cuchillas; consulte Mantenimiento de las cuchillas de corte.
Prepare la máquina para su almacenamiento cuando no la vaya a utilizar durante más de 30 días. Prepare la máquina para el almacenamiento de la manera siguiente:
Agregue un estabilizador/acondicionador a base de petróleo al combustible del depósito. Siga las instrucciones de mezcla del fabricante del estabilizador. No use un estabilizador a base de alcohol (etanol o metanol).
Note: Un estabilizador/acondicionador de combustible es más eficaz cuando se mezcla con combustible fresco y se utiliza en todo momento.
Haga funcionar el motor para distribuir el combustible con acondicionador por todo el sistema de combustible (5 minutos).
Pare el motor, deje que se enfríe y drene el depósito de combustible.
Arranque el motor y hágalo funcionar hasta que se pare.
Deseche el combustible adecuadamente. Recicle el combustible según la normativa local.
Important: No guarde combustible que contenga estabilizador/acondicionador durante más tiempo que el recomendado por el fabricante del estabilizador de combustible.
Retire la(s) bujía(s) y verifique su condición; consulte Mantenimiento de la(s) bujía(s). Con la(s) bujía(s) retirada(s) del motor, vierta 30 ml (2 cucharadas soperas) de aceite de motor en el orificio de la bujía. Utilice el motor de arranque para hacer girar el motor y distribuir el aceite dentro del cilindro. Instale la(s) bujía(s). No instale los cables en la(s) bujía(s).
Revise y apriete todos los pernos, tuercas y tornillos. Repare o sustituya cualquier pieza dañada.
Pinte las superficies que estén arañadas o donde esté visible el metal. Puede adquirir la pintura en su Servicio Técnico Autorizado.
Guarde la máquina en un garaje o almacén seco y limpio. Retire la llave del interruptor y guárdela fuera del alcance de niños u otros usuarios no autorizados. Cubra la máquina para protegerla y para conservarla limpia.
| Problem | Possible Cause | Corrective Action |
|---|---|---|
| Se enciende el indicador de avería multifunción (IAM). |
|
|
| El motor de arranque no se engrana. |
|
|
| El motor no arranca, arranca con dificultad, o no sigue funcionando. |
|
|
| El motor pierde potencia. |
|
|
| El motor se sobrecalienta. |
|
|
| La máquina se desvía a la derecha o a la izquierda (con las palancas de control de movimiento totalmente hacia adelante). |
|
|
| No es posible conducir la máquina. |
|
|
| La máquina vibra de manera anormal. |
|
|
| La altura de corte no es homogénea. |
|
|
| Las cuchillas no giran. |
|
|


