| Интервал сервисног одржавања | Поступак одржавања |
|---|---|
| Пре сваке употребе или свакодневно |
|
Ovo komunalno vozilo primarno služi za upotrebu van autoputa za transport ljudi i materijala. Korišćenje ovog proizvoda za namene za koje nije predviđen može da bude opasno po vas i okolne posmatrače.
Pažljivo pročitajte ove informacije da biste naučili kako da pravilno koristite i održavate svoj uređaj i kako da izbegnete povrede i oštećenje proizvoda. Pravilno i bezbedno rukovanje proizvodom je vaša odgovornost.
Posetite www.Toro.com za materijale u vezi sa bezbednošću i za obuku za korišćenje proizvoda, za informacije o dodatnoj opremi, za pomoć u pronalaženju prodavca ili da biste registrovali svoj proizvod.
Kad god vam je potreban servis, originalni Toro delovi ili dodatne informacije, obratite se ovlašćenom serviseru ili Toro korisničkoj službi i pripremite broj modela i serijski broj proizvoda. Слика 1 pokazuje lokaciju modela i serijskog broja na proizvodu. Zapišite brojeve u za to predviđenom prostoru.
Important: Možete mobilnim uređajem da skenirate QR kôd na nalepnici sa serijskim brojem (ako je deo opreme) kako biste pristupili informacijama o garanciji, delovima i drugim informacijama o proizvodu.

Ovo uputstvo koristi 2 reči za isticanje informacija. Važno skreće pažnju na posebne mehaničke informacije, a Napomena naglašava da su opšte informacije vredne posebne pažnje.
Simbol za bezbednosno upozorenje (Слика 2) pojavljuje se i u ovom uputstvu i na mašini radi označavanja važnih bezbednosnih poruka koje morate da pratite da biste izbegli nezgode. Simbol će se pojaviti praćen rečju Opasnost, Upozorenje ili Oprez.
Opasnost označava neminovnu opasnu situaciju koja će, ukoliko se ne izbegne, dovesti do teške povrede ili smrtnog slučaja.
Upozorenje označava potencijalno opasnu situaciju koja bi mogla, ukoliko se ne izbegne, dovesti do teške povrede ili smrtnog slučaja.
Oprez označava potencijalno opasnu situaciju koja može, ukoliko se ne izbegne, dovesti do manje ili umereno teške povrede.

Ovaj proizvod je u skladu sa svim relevantnim evropskim direktivama; za više detalja pogledajte odvojenu Izjavu o usklađenosti specifičnu za dati proizvod.
Korišćenje ili rukovanje motorom na bilo kojem zemljištu prekrivenom šumom, žbunjem ili travom predstavlja kršenje odeljka 4442 ili 4443 Kalifornijskog kodeksa javnih resursa, osim ako je motor opremljen odvodnikom varnica, kao što je definisano u odeljku 4442, održavan u efektivnom radnom stanju ili je motor konstruisan, opremljen i održavan za sprečavanje požara.
Priloženi priručnik za vlasnika motora se isporučuje sa informacijama u vezi sa propisima Agencije za zaštitu životne sredine u SAD (EPA) i Kalifornijske regulacije za kontrolu emisija izduvnih sistema, održavanje i garanciju. Zamenski delovi se mogu naručiti preko proizvođača mašine.
КАЛИФОРНИЈА
Предлог 65 Упозорење
У савезној држави Калифорнија познато је да издувни гасови мотора овог производа садрже хемикалије које изазивају карцином, оштећења плода и друге репродуктивне проблеме.
У савезној држави Калифорнија познато је да стубићи и клеме акумулатора, као и додатна опрема, садрже олово и оловна једињења који изазивају карцином и репродуктивне проблеме. Оперите руке након руковања.
Ova mašina je projektovana u skladu sa zahtevima iz SAE J2258 (novembar 2016.).
Ovaj proizvod može da dovede do telesne povrede. Uvek pratite bezbednosna uputstva kako biste izbegli ozbiljne telesne povrede.
Treba da pročitate i razumete sadržaj ovog Uputstva za operatera pre nego što pokrenete mašinu. Proverite da li svako ko koristi ovaj proizvod zna kako da ga koristi i da razume upozorenja.
Budite maksimalno fokusirani dok radite na mašini. Nemojte se baviti nikakvim drugim aktivnostima koje odvraćaju pažnju; u suprotnom može doći do povrede ili oštećenja imovine.
Nemojte približavati šake ili stopala pokretnim komponentama mašine.
Nemojte rukovati mašinom bez kompletne zaštite i drugih bezbednosnih zaštitnih uređaja na svom mestu i u radu sa mašinom.
Neka posmatrači i deca budu van radnog prostora. Nemojte nikada dozvoliti deci da koriste mašinu.
Zaustavite i isključite mašinu i uklonite ključ pre servisiranja ili punjenja gorivom.
Nepravilna upotreba ili održavanje ove mašine
može dovesti do povrede. Da biste smanjili mogućnost
povrede, poštujte ova bezbednosna uputstva i uvek vodite računa
o simbolu za bezbednosno upozorenje
, koji označava oprez, upozorenje ili opasnost
– uputstva za ličnu bezbednost. Nepoštovanje ovih
uputstava može dovesti do telesne povrede ili smrtnog ishoda.
![]() |
Bezbednosne nalepnice i uputstva su lako vidljivi operateru i nalaze se u blizini svake oblasti sa potencijalnom opasnošću. Zamenite svaku nalepnicu koja je oštećena ili nedostaje. |














Note: Utvrdite levu i desnu stranu mašine sa uobičajenog položaja operatera.
Делови потребни за овај поступак:
| Volan | 1 |
| Kontra navrtka | 1 |
| Poklopac volana | 1 |
| Zavrtanj | 3 |
Postavite volan na osovinu volana.
Uverite se da je volan centriran (tj. ravni donji deo trebalo bi da bude paralelan sa tlom).
Koristite kontranavrtku da biste pričvrstili volan za vratilo upravljačkog mehanizma.
Pritegnite navrtku momentom od 27 N m.

Pomoću 3 zavrtnja fiksirajte poklopac volana na volan.
Zategnite 3 zavrtnja na 0,6 N m.

Proverite nivo ulja u motoru pre i nakon prvog pokretanja motora; pogledajte Provera nivoa motornog ulja.
Proverite nivo kočione tečnosti pre prvog pokretanja motora; pogledajte Provera nivoa kočione tečnosti.
Pre nego što pokrenete motor, proverite nivo tečnosti u menjaču-diferencijala; pogledajte Provera nivoa tečnosti za menjač-diferencijal.
Proverite pritisak u pneumaticima; pogledajte Provera pritiska u pneumaticima.
Da bi se osigurao optimalni učinak kočionog sistema, kočnice treba da se ispoliraju“ (razrade) pre upotrebe.
Postignite maksimalnu brzinu mašine, pritisnite kočnice brzo kako bi se mašina zaustavila bez blokade točkova.
Ponovite ovaj postupak 10 puta, sačekajte 1 minut između zaustavljanja kako biste izbegli pregrevanje kočnica.
Important: Ovaj postupak je najefikasniji ako je mašina opterećena sa 227 kg.
Делови потребни за овај поступак:
| Priručnik za operatera | 1 |
| Priručnik za vlasnike motora | 1 |
| Registracioni karton | 1 |
| Obrazac inspekcije pre isporuke | 1 |
| Sertifikat o kvalitetu | 1 |
| Ključ | 2 |
Pročitajte priručnik za operatera i priručnik za vlasnika motora.
Popunite registracioni karton.
Obavite proveru prema obrascu inspekcije pre isporuke.
Pregledajte sertifikat o kvalitetu.


Pre pokretanja motora i rukovanja mašinom, upoznajte sve komande.

Koristite papučicu gasa (Слика 7) za promenu brzine kretanja mašine. Pritiskanje papučice gasa pokreće mašinu. Jače pritiskanje papučice gasa povećava brzinu kretanja. Otpuštanje papučice usporava mašinu i motor se isključuje.
Note: Maksimalna brzina kretanja unapred je 26 km/h.
Koristite papučicu kočnice da zaustavite ili usporite mašinu (Слика 7).
Rad sa mašinom koja ima pohabane ili nepravilno podešene kočnice može dovesti do telesne povrede.
Ako se papučica kočnice pomera do 25 mm od poda, podesite ili popravite kočnice.
Prekidač kontakta nalazi se u donjem desnom uglu kućišta instrument table (Слика 7).
Prekidač kontakta ima 3 položaja: ISKLJUčENO, UKLJUčENO i POKRETANJE.
Postoje 2 režima pokretanja mašine; pogledajte Pokretanje motora.
Ručica parkirne kočnice se nalazi na upravljačkoj tabli (Слика 7).
Kad god isključite motor, aktivirajte parkirnu kočnicu da biste sprečili slučajno pomeranje mašine. Ako je mašina parkirana pod nagibom, pobrinite se da parkirna kočnica bude aktivirana.
Da biste aktivirali parkirnu kočnicu, povucite ručicu parkirne kočnice prema sebi (Слика 8).

Da biste deaktivirali parkirnu kočnicu, pritisnite dugme na kraju ručice parkirne kočnice, povucite ručicu parkirnu kočnice prema sebi da biste oslobodili pritisak i zatim gurnite parkirnu kočnicu napred (Слика 9).

Ručica za kontrolu čoka nalazi se na upravljačkoj tabli. Koristite čok kao pomoć pri pokretanju hladnog motora tako što ćete povući ručicu čoka ka van. Nakon pokretanja motora, regulišite čok motora da bi motor radio ravnomerno. Dok se motor zagreva, gurnite ručicu čoka u položaj ISKLJUčENO.
Ručica menjača može da se postavi u 3 položaja na indikatoru stepena prenosa: UNAPRED, UNAZAD i NEUTRALNI položaj (Слика 10).
Note: Motor može da se pokrene i da radi u bilo kojem od ova 3 položaja.
Iz NEUTRALNOG položaja možete da pomerite ručicu menjača ulevo u položaj za kretanje NAPRED ili udesno u položaj za kretanje UNAZAD (Слика 10).
Important: Uvek zaustavite mašinu pre nego što promenite stepen prenosa.

Prekidač za sirenu se nalazi na upravljačkoj tabli (Слика 7). Pritisnite prekidač za sirenu za sviranje sirene.
Koristite prekidač za svetlo (Слика 7) za uključivanje prednjih svetala. Gurnite prekidač za svetlo nagore da biste uključili prednja svetla. Gurnite prekidač za svetlo nadole da biste isključili svetla.
Brojač radnih sati nalazi se sa desne strane prekidača za svetlo (Слика 7). Pomoću brojača radnih sati možete saznati ukupan broj sati rada motora. Brojač radnih sati počinje da radi kad god okrenete prekidač kontakta u položaj za UKLJUčIVANJE, položaj za POKRETANJE ili kad motor radi.
Note: Kada mašina radi, brojač radnih sati neprekidno treperi i beleži radne sate.
USB utičnica se nalazi sa leve strane ručice parkirne kočnice (Слика 7). Koristite utičnicu za punjenje mobilnih uređaja.
Important: Kada ne koristite USB utičnicu, umetnite gumeni čep da biste sprečili oštećenje utičnice.
Uređaj za merenje nivoa goriva (Слика 11) nalazi se na rezervoaru goriva u poklopcu otvora za punjenje, sa leve strane mašine. Merač prikazuje količinu goriva u rezervoaru.

Rukohvati za putnike nalaze se na spoljašnjoj strani svakog sedišta (Слика 12).

Note: Specifikacije i dizajn mogu da se promene bez najave.
| Osnovna težina | 397 kg |
| Nominalni kapacitet (na ravnom tlu) | 544 kg ukupno, računajući 90,7 kg za vozača i 91 kg za suvozača, teret, dodatnu opremu i priključke |
| Bruto težina vozila (GVW) – na ravnom tlu | 941 kg ukupno, uključujući sve gorenavedene težine |
| Maksimalni kapacitet tovara (na ravnom tlu) | 363 kg ukupno, računajući dodatnu opremu montiranu pozadi |
| Maksimalni kapacitet držača za dodatnu opremu na zadnjem delu tovarnog prostora | 45 kg ukupno |
| Kapacitet vuče | Težina vučne rude: 91 kg |
| Bruto težina prikolice (GTW): 680 kg | |
| Ukupna širina | 119 cm |
| Ukupna dužina | 302 cm |
| Ukupna visina | 127,5 cm |
| Rastojanje od tla do najniže tačke vozila | 21,6 cm u prednjem delu, bez tereta i operatera |
| 14 cm u zadnjem delu, bez tereta i operatera | |
| Osovinsko rastojanje | 220 cm |
| Gazište točkova (od ose do ose) | Prednje: 119 cm |
| Zadnje: 119 cm | |
| Dužina tovarnog prostora | Unutrašnja; 102 cm |
| Spoljašnja: 114,3 cm | |
| Širina tovarnog prostora | Unutrašnja: 98 cm |
| Izvan izlivenih branika: 107,3 cm | |
| Visina tovarnog prostora | 28 cm iznutra |
| Brzina motora | Mala brzina praznog hoda: 1250 o/min do 1350 o/min |
| Velika brzina praznog hoda: 3650 o/min do 3750 o/min |
Radi poboljšanja i proširenja mogućnosti mašine, za korišćenje sa njom je dostupan izbor dodatne opreme i priključaka koje je odobrila kompanija Toro. Za listu odobrene dodatne opreme i priključaka obratite se ovlašćenom serviseru ili ovlašćenom distributeru kompanije Toro ili posetite www.Toro.com.
Da biste obezbedili optimalne performanse i produžetak bezbednosne sertifikacije mašine, koristite samo originalne zamenske delove i dodatnu opremu kompanije Toro. Zamenski delovi i dodatna oprema drugih proizvođača mogu biti opasni i njihovo korišćenje može da poništi garanciju za proizvod.
Note: Utvrdite levu i desnu stranu mašine iz uobičajenog položaja operatera.
Nikada nemojte dozvoliti deci ili osobama koje nisu obučene ili fizički sposobne da bezbedno upravljaju ili servisiraju mašinu. Lokalnim propisima se može ograničiti starost operatera. Vlasnik je odgovoran za obuku svih operatera i mehaničara.
Upoznajte se sa bezbednim korišćenjem opreme, komandama operatera i bezbednosnim znacima.
Pre nego što napustite položaj operatera, zaustavite mašinu, uklonite ključ i sačekajte da prestane svako kretanje. Pre podešavanja, servisiranja, čišćenja ili odlaganja mašine, sačekajte da se ohladi.
Naučite kako da brzo zaustavite i isključite mašinu.
Proverite da nema više osoba (vi i vaš putnik(ci)) od broja rukohvata kojima je opremljena mašina.
Proverite da su svi bezbednosni uređaji i nalepnice na svom mestu. Popravite ili zamenite sve bezbednosne uređaje i zamenite sve nečitke ili nalepnice koje nedostaju. Nemojte koristiti mašinu ako ih nema i ako ne funkcionišu pravilno.
Budite veoma pažljivi kada postupate sa gorivom. Zapaljivo je i njegova isparenja su eksplozivna.
Ugasite sve cigarete, cigare, lule i druge izvore paljenja.
Koristite samo odobrenu posudu za gorivo.
Nemojte uklanjati poklopac za gorivo ili sipati gorivo u rezervoar dok motor radi ili je vruć.
Nemojte sipati ili ispuštati gorivo u zatvorenom prostoru.
Nemojte skladištiti mašinu ili posudu za gorivo na mestu na kom ima otvorenog plamena, varnica ili pomoćni plamenik, kao npr. na kotlu za grejanje vode ili na drugim aparatima.
Ako prospete gorivo, nemojte pokušavati da pokrenete motor; izbegavajte stvaranje bilo kog izvora paljenja dok isparenja goriva ne nestanu.
| Интервал сервисног одржавања | Поступак одржавања |
|---|---|
| Пре сваке употребе или свакодневно |
|
Svakog dana pre pokretanja mašine obavite procedure pri svakom korišćenju / svakodnevne procedure navedene u .
| Интервал сервисног одржавања | Поступак одржавања |
|---|---|
| Пре сваке употребе или свакодневно |
|
Specifikacija vazdušnog pritiska u prednjim i zadnjim pneumaticima: od 1,65 bara do 2,07 bara
Important: Ne premašujte maksimalni vazdušni pritisak koji je naznačen na bočnom zidu pneumatika.
Note: Vazdušni pritisak neophodan u pneumaticima određen je korisnim teretom koji nameravate da prevozite.
Proverite vazdušni pritisak u pneumaticima.
Koristite manji vazdušni pritisak u pneumaticima za lakše korisne terete, manje kompaktno zemljište, ravnomerniju vožnju i smanjenje tragova pneumatika na tlu.
Koristite veći vazdušni pritisak u pneumaticima za teže korisne terete pri većim brzinama.
Ako je neophodno, podesite vazdušni pritisak u pneumaticima dodavanjem ili ispuštanjem vazduha iz pneumatika.

| Tip | Bezolovni benzin |
| Minimalni oktanski broj | 87 (SAD) ili 91 (istraživački oktanski broj; izvan SAD) |
| Etanol | Ne više od 10% zapremine |
| Metanol | Nema |
| MTBE (metil tercijarni butil etar) | Manje od 15% zapremine |
| Ulje | Ne dodavati u gorivo |
Koristite samo čisto, sveže (ne starije od 30 dana) gorivo od proverenog prodavca.
Important: Da biste smanjili probleme sa pokretanjem, u sveže gorivo dodajte stabilizator/regenerator goriva prema uputstvu proizvođača stabilizatora/regeneratora goriva.
Dodatne informacije potražite u priručniku za vlasnike motora.
Kapacitet rezervoara za gorivo iznosi približno 18,9 l.
Parkirajte mašinu na ravnoj površini.
Pomerite menjač na položaj NEUTRALNO.
Aktivirajte parkirnu kočnicu.
Isključite mašinu i uklonite ključ.
Očistite područje oko poklopca rezervoara (Слика 14).

Uklonite poklopac rezervoara za gorivo.
Napunite rezervoar do približno 25 mm ispod vrha rezervoara (dno grla za punjenje).
Note: Ovaj prostor u rezervoaru omogućava širenje goriva. Nemojte da prepunite rezervoar za gorivo.
Postavite i pritegnite poklopac rezervoara za gorivo.
Obrišite prosuto gorivo.
| Интервал сервисног одржавања | Поступак одржавања |
|---|---|
| Након првих 100 сати |
|
Pridržavajte se sledećih smernica da biste obezbedili pravilan učinak mašine.
Proverite da li su kočnice ispolirane“; pogledajte Poliranje“ kočnica.
Redovno proveravajte nivo tečnosti i ulja u motoru. Budite uvek pripravni na znake da se mašina ili njene komponente ne pregreju.
Nakon pokretanja hladnog motora, neka se zagreje oko 15 sekundi pre korišćenja mašine.
Note: Pustite motor neka se duže zagreva kada radite na niskim temperaturama.
Menjajte brzinu mašine tokom rada. Izbegavajte brza pokretanja i brza zaustavljanja.
Nije potrebno ulje za početnu razradu motora. Originalno motorno ulje je iste vrste koja je navedena za redovnu zamenu ulja.
Pogledajte za sve posebne provere u kratkim vremenskim intervalima.
Proverite položaj prednjeg vešanja i podesite ga ako je neophodno; pogledajte Podešavanje poravnanja prednjih točkova.
Vlasnik/operater može da spreči i odgovoran je za nezgode koje mogu dovesti do telesne povrede ili materijalne štete.
Putnici treba da sede samo u za to određenim sedištima. Nemojte voziti nikoga u teretnom prostoru. Neka posmatrači i deca budu van radnog prostora.
Nosite odgovarajuću odeću, uključujući zaštitu za oči; dugačke pantalone; i izdržljivu neklizajuću obuću; i zaštitu za uši. Zavežite dugu kosu i nemojte nositi odeću ili nakit koji vise.
Budite maksimalno fokusirani dok radite na mašini. Nemojte se baviti nikakvim drugim aktivnostima koje odvraćaju pažnju; u suprotnom može doći do povrede ili oštećenja imovine.
Nemojte upravljati mašinom ako ste bolesni, umorni ili pod uticajem alkohola ili droga.
Mašinom upravljajte samo na otvorenom ili u dobro provetrenom prostoru.
Nemojte prekoračivati maksimalnu bruto težinu (GVW) mašine.
Budite veoma oprezni prilikom upravljanja, kočenja ili okretanja mašine sa teškim teretom u tovarnom prostoru.
Prevoz prevelikih tereta u tovarnom prostoru umanjuje stabilnost mašine. Nemojte prekoračivati kapacitet nosivosti tovarnog prostora.
Prevoz materijala koji ne može da se veže za mašinu nepovoljno utiče na upravljanje, kočenje i stabilnost mašine. Kada prevozite materijal koji ne može da se veže za mašinu, budite oprezni kada upravljate ili kočite.
Prevozite manje tereta i smanjite brzinu mašine kada radite na grubom, neravnom terenu i blizu ivičnjaka, rupa i drugih iznenadnih promena terena. Teret može da se pomeri dovodeći do nestabilnosti mašine.
Pre nego što pokrenete mašinu, proverite da je menjač u neutralnom položaju, da je aktivirana parkirna kočnica i da ste u radnom položaju.
Vi i vaši putnici treba da sedite kada god se mašina kreće. Držite ruke na volanu; putnici bi trebalo da koriste obezbeđene rukohvate. Neka vam ruke i noge budu u okviru karoserije mašine u svakom trenutku.
Rukujte mašinom samo u uslovima dobre vidljivosti. Pazite na rupe, kolotrage, izbočine, kamenje ili druge skrivene objekte. Neravan teren može da prevrne mašinu. Visoka trava može da sakriva prepreke. Budite pažljivi kada prilazite slepim uglovima, žbunju, drveću ili drugim predmetima koji mogu da vam zaklone pogled.
Nemojte voziti mašinu blizu spusta, kanala ili nasipa. Mašina bi mogla iznenada da se prevrne ako točak sklizne preko ivice ili ako se ivica uruši.
Uvek pazite i izbegavajte spuštene objekte kao što su grane drveća, dovratnike, nadzemne prolaze, itd.
Pogledajte iza i dole pre nego što krenete unazad sa mašinom kako biste bili sigurni da je staza čista.
Kada koristite mašinu na javnim putevima, poštujte sve saobraćajne propise i koristite dodatne priključke koji mogu biti potrebni prema zakonu, kao što su svetla, pokazivači pravca, znak za sporo vozilo i ostali prema potrebi.
Ako mašina ikada nenormalno vibrira, zaustavite je i zaustavite motor odmah, sačekajte da se svako kretanje zaustavi i proverite ima li oštećenja. Popravite sva oštećenja na mašini pre povratka na rad.
Može biti potrebno više vremena da se mašina zaustavi na vlažnim nego na suvim površinama. Kako biste osušili vlažne kočnice, vozite polako na ravnoj površini uz lagano pritiskanje papučice kočnice.
Upravljanje mašinom pri velikim brzinama, a zatim brzo zaustavljanje može dovesti do blokade zadnjih točkova što ugrožava vašu kontrolu nad mašinom.
Nemojte dodirivati motor, menjač, prigušnicu ili cev prigušnice dok motor radi, ili ubrzo nakon zaustavljanja motora jer ove površine mogu biti toliko tople da dovedu do opekotina.
Ne ostavljajte bez nadzora mašinu koja radi.
Pre nego što napustite položaj operatera, uradite sledeće:
Parkirajte mašinu na ravnoj površini.
Pomerite menjač na položaj NEUTRALNO.
Aktivirajte parkirnu kočnicu.
Isključite mašinu i uklonite ključ.
Sačekajte da se sva kretanja zaustave.
Nemojte rukovati mašinom kada postoji rizik od grmljavine.
Koristite samo onu dodatnu opremu i priključke koje je odobrila kompanija Toro®.
Nemojte prekoračivati bruto težinu (GVW) mašine. Morate uzeti u obzir da vi, putnici i teret u tovarnom prostoru doprinosite ukupnoj bruto težini mašine.
Putnici treba da sede samo u za to određenim sedištima. Ne dozvolite putnicima da sede u tovarnom prostoru.
Vi i putnici treba da ostanete u sedećem položaju kad god je mašina u pokretu.
Dodatna dužina mašine dovodi do većeg prečnika okretanja, tako da treba da obezbedite više prostora za manevrisanje mašinom.
Note: Sistem zaštite pri prevrtanju (ROPS) na 2 stuba dostupan je za ovu mašinu kao dodatna oprema. Koristite ROPS zaštitu ako ćete raditi u blizini strmina, pored vode, na neravnom terenu ili na nagibu, što bi moglo da dovede do prevrtanja. Obratite se ovlašćenom distributeru kompanije Toro za više informacija.
Nagibi su glavni faktor povezan sa gubitkom kontrole i nezgodama sa prevrtanjem, što može dovesti do teške povrede ili smrtnog ishoda.
Istražite lokaciju kako biste ustanovili koji nagibi su bezbedni za rad mašine i utvrdite svoje sopstvene procedure i pravila za rad na tim nagibima. Ovu istragu uvek sprovedite koristeći zdrav razum i dobro rasuđivanje.
Ako se osećate nelagodno da upravljate mašinom na nagibu, nemojte to raditi.
Neka sva kretanja na nagibima budu spora i postepena. Nemojte naglo menjati brzinu ili smer mašine.
Izbegavajte da radite sa mašinom na vlažnom terenu. Pneumatici mogu izgubiti vuču. Prevrtanje se može javiti pre nego što pneumatici izgube vuču.
Krećite se pravo uz i niz nagib.
Ako počnete da gubite moment dok se penjete uz nagib, postepeno aktivirajte kočnice i polako vratite unazad mašinu pravo niz nagib.
Okretanje za vreme kretanja uz ili niz nagib može biti opasno. Ako morate da se okrenete na nagibu, uradite to polako i pažljivo.
Velika opterećenja utiču na stabilnost na nagibu. Prevozite manje tereta i smanjite brzinu kada radite na nagibu ili ako teret ima visok centar gravitacije. Obezbedite teret uz tovarni prostor mašine kako biste sprečili pomeranje tereta. Obratite dodatnu pažnju kada vučete teret koji lako kliza (npr. tečnosti, kamenje, pesak, itd).
Izbegavajte pokretanje, zaustavljanje ili okretanje mašine na nagibima, naročito sa teretom. Za zaustavljanje dok silazite niz nagib je potrebno više vremena nego na ravnom. Ako morate da zaustavite mašinu, izbegavajte nagle promene brzine koje mogu dovesti do toga da se mašina nagne ili prevrne. Nemojte naglo kočiti prilikom kotrljanja unazad jer ovo može dovesti do prevrtanja mašine.
Nemojte prekoračivati neto težinu vozila (GVW) mašine kada rukujete sa njom sa teretom u tovarnom prostoru i/ili vučete prikolicu; pogledajte Спецификације.
Rasporedite ravnomerno teret u tovarnom prostoru kako bisto poboljšali stabilnost i kontrolu nad mašinom.
Pre istovara, proverite da nema nikoga iza mašine.
Nemojte istovarati napunjen tovarni prostor dok je mašina bočno na nagibu. Promena u raspodeljenosti težine može dovesti do prevrtanja mašine.
Podignut tovarni prostor može pasti i povrediti osobe koje rade ispod njega.
Uvek koristite potpornu šipku da drži tovarni prostor pre nego što krenete da radite ispod njega.
Uklonite sav teret iz prostora pre podizanja.
Vožnja mašine sa podignutim tovarnim prostorom bi mogla da dovede do lakšeg naginjanja i prevrtanja. Mogli biste oštetiti strukturu tovarnog prostora ako radite sa mašinom dok je tovarni prostor podignut.
Rukujte mašinom kada je tovarni prostor spušten.
Nakon pražnjenja tovarnog prostora, spustite ga.
Ako je teret koncentrisan u blizini zadnjeg dela tovarnog prostora kada oslobodite reze, tovarni prostor može neočekivano da se otvori i da povredi vas i posmatrače.
Ukoliko je moguće, smestite teret u centralni deo tovarnog prostora.
Neka tovarni prostor bude spušten i proverite da se niko ne naginje nad njim ili stoji iza njega kada oslobađate reze.
Sklonite sav tovar iz tovarnog prostora pre podizanja prostora kako biste servisirali mašinu.
Težina prostora može biti velika. Šake ili drugi delovi tela mogu biti ugnječeni.
Držite šake i druge delove tela podalje kada spuštate tovarni prostor.
Ako ste iz tovarnog prostora mašine istovarili rastresit materijal poput peska, šljunka ili drvenih opiljaka, moguće je da se nešto materijala koji ste istovarili zadržalo u predelu šarki zadnjih vrata. Pre zatvaranja zadnjih vrata obavite sledeće korake.
Rukama uklonite što je više materijala moguće iz predela šarki.
Podignite zadnja vrata u položaj od približno 45° (Слика 18).

Kratkim podrhtavajućim pokretima pomerajte zadnja vrata napred-nazad nekoliko puta (Слика 18).
Note: Ta radnja pomaže uklanjanju materijala iz predela šarki.
Spustite zadnja vrata i proverite da li ima preostalog materijala u predelu šarki.
Ponavljajte korake od 1 do 4 dok se sav materijal ne ukloni iz predela šarki.
Podignite zadnja vrata i umetnite ih u ureze u tovarnom prostoru.
Koristite držač za dodatnu opremu na zadnjem delu tovarnog prostora da pričvrstite dodatnu opremu za zadnji deo mašine.
Kapacitet: 45 kg
Olabavite T“ ručku okretanjem u smeru kretanja kazaljke na satu (Слика 19).

Uvucite dodatnu opremu u prihvatnik dok rupe ne budu poravnate (Слика 19).
Pričvrstite sklopljenu dodatnu opremu za prihvatnu cev pomoću cilindričnog osigurača i rascepke koji su isporučeni sa dodatnom opremom.
Zategnite T“ ručku okretanjem u smeru suprotnom od kretanja kazaljke na satu (Слика 20).

Pridržavajte se sledećih smernica kada utovarujete u tovarni prostor i koristite mašinu:
Vodite računa o kapacitetu nosivosti mašine i ograničite težinu tereta koji prevozite u tovarnom prostoru kao što je navedeno u Спецификације i na pločici sa informacijama o bruto težini mašine.
Note: Vrednost opterećenja navedena je samo za rad mašine na ravnoj površini.
Smanjite težinu tereta koji prevozite u tovarnom prostoru kada koristite mašinu pod nagibom ili neravnom terenu.
Smanjite težinu tereta koji prevozite kada materijali idu mnogo u visinu (i imaju visoko težište), kao što su naslagane cigle, grede ili džakovi đubriva. Rasporedite teret što je niže moguće da vam ne bi smanjivao preglednost prostora iza mašine kada je koristite.
Držite teret u centru tako što ćete ga utovariti u tovarni prostor na sledeći način:
Ravnomerno rasporedite težinu u tovarnom prostoru od jedne do druge strane.
Important: Veća je verovatnoća da dođe do prevrtanja ako je tovarni prostor natovaren samo sa 1 strane.
Ravnomerno rasporedite težinu u tovarnom prostoru od prednjeg do zadnjeg dela.
Important: Moguć je gubitak kontrole upravljanja ili prevrtanje mašine ako postavite teret iza zadnje osovine, a trenje prednjih točkova se smanji.
Budite posebno oprezni kada u tovarnom prostoru prevozite vangabaritni teret, naročito kada u tovarnom prostoru ne možete da centrirate težinu vangabaritnog tereta.
Kad god je to moguće, pričvrstite teret vezivanjem za teretni prostor tako da se ne pomera.
Kada prevozite tečnosti, budite oprezni kada vozite mašinu uzbrdo ili nizbrdo, kada naglo menjate brzinu ili se zaustavljate ili kada vozite preko neravnog terena.
Kapacitet tovarnog prostora iznosi 0,28 m3. Količina (zapremina) materijala koji možete da postavite u tovarni prostor bez prekoračivanja vrednosti opterećenja mašine se može značajno razlikovati u zavisnosti od gustine materijala.
Pogledajte tabelu u nastavku za ograničenja zapremine tereta raznih materijala:
| Materijal | Gustina | Maksimalni kapacitet tovarnog prostora(na ravnom tlu) |
| Šljunak, suv | 1522 kg/m3 | Pun |
| Šljunak, vlažan | 1922 kg/m3 | ¾ punog |
| Pesak, suv | 1442 kg/m3 | Pun |
| Pesak, vlažan | 1922 kg/m3 | ¾ punog |
| Drvo | 721 kg/m3 | Pun |
| Kora | <721 kg/m3 | Pun |
| Zemlja, nabijena | 1602 kg/m3 | ¾ punog (približno) |
Sedite na mesto operatera, umetnite ključ u prekidač kontakta i okrenite ga u smeru kretanja kazaljke na satu u položaj UKLJUčENO ili POKRETANJE.
Postoje 2 režima pokretanja mašine:
Pokretanje papučicom – okrenite ključ u prekidaču kontakta u položaj UKLJUčIVANJE i pritisnite papučicu gasa.
Note: Kada sklonite stopalo sa papučice gasa, motor će se isključiti.
Pokretanje ključem – okrenite ključ u prekidaču kontakta u položaj POKRETANJE i motor će ostati uključen dok ključ ne okrenete u položaj ISKLJUčENO.
Note: Kada koristite režim za pokretanje ključem, možete da aktivirate parkirnu kočnicu i da se udaljite od mašine dok motor i dalje radi, a akumulator se puni.
Note: Ako okrenete ključ u položaj POKRETANJE, motor će zaverglati dok se ne pokrene. Ako motor vergla duže od 10 sekundi, vratite ključ u položaj ISKLJUčIVANJE i utvrdite problem (npr. potrebno je aktivirati ručicu čoka, proverite da li je prečišćivač vazduha zapušen, pobrinite se da rezervoar za gorivo bude pun, svećica je neispravna itd.) pre ponovnog pokretanja motora.
Note: Kada je mašina opremljena opcionim rezervnim alarmom, ako ručicu menjača pomerite u položaj za smer kretanja UNAZAD dok je prekidač kontakta u položaju UKLJUčIVANJE ili položaju POKRETANJE, oglasiće se zvuk upozorenja za operatera da je mašina podešena za smer kretanja unazad.
Pomerite ručicu menjača u željeni smer kretanja mašine.
Deaktivirajte parkirnu kočnicu.
Lagano nagazite papučicu gasa.
Note: Ako je motor hladan, pritisnite i zadržite papučicu gasa na pola puta i povucite ručicu čoka u položaj UKLJUčIVANJE. Nakon što se motor zagreje, vratite ručicu čoka u položaj ISKLJUčIVANJE.
Important: Prilikom zaustavljanja mašine na nagibu, koristite nožnu kočnicu da biste je zaustavili i aktivirajte parkirnu kočnicu da biste zadržali mašinu u mestu. Zadržavanje mašine na uzbrdici pomoću dodavanja gasa može da ošteti mašinu.
Pomerite stopalo sa pedale gasa.
Lagano nagazite pedalu kočnice da biste primenili nožnu kočnicu dok se mašina potpuno ne zaustavi.
Note: Zaustavni put može da varira u zavisnosti od opterećenja i brzine mašine.
Zaustavite mašinu pomoću radne kočnice tako što ćete nagaziti i zadržati papučicu kočnice.
Aktivirajte parkirnu kočnicu tako što ćete povući ručicu parkirne kočnice prema sebi.
Okrenite ključ suprotno od smera kretanja kazaljke na satu u ISKLJUčEN položaj.
Uklonite ključ.
Pre nego što napustite položaj operatera, uradite sledeće:
Parkirajte mašinu na ravnoj površini.
Pomerite menjač na položaj NEUTRALNO.
Aktivirajte parkirnu kočnicu.
Isključite mašinu i uklonite ključ.
Sačekajte da se sva kretanja zaustave.
Pre podešavanja, servisiranja, čišćenja ili odlaganja mašine, sačekajte da se ohladi.
Mašinu nemojte skladištiti na mestu na kom ima otvorenog plamena, varnica ili pomoćni plamenik, kao na kotlu za grejanje vode ili na nekom drugom uređaju.
Održavajte sve delove mašine u dobrom radnom stanju i svu čvrstu opremu dotegnutom.
Održavajte i čistite pojas(eve) prema potrebi.
Zamenite sve pohabane, oštećene ili nalepnice koje nedostaju.
Budite pažljivi kada utovarate ili istovarate mašinu u prikolicu ili kamion.
Koristite rampe za utovar pune širine za utovar mašine u prikolicu ili kamion.
Pričvrstite mašinu bezbedno.
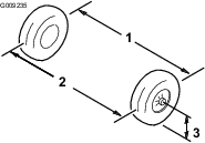
Pogledajte Слика 21 i Слика 22 za lokacije pričvršćivanja mašine.
Note: Utovarite mašinu na prikolicu sa prednjim krajem mašine okrenutim licem napred. Ako to nije moguće, pričvrstite trakom haubu mašine za okvir, ili skinite haubu i transportujte je i pričvrstite zasebno ili bi hauba mogla da se otkači tokom transporta.
Labava sedišta bi mogla da otpadnu sa mašine i prikolice prilikom transporta mašine i sedišta bi moga da padnu na drugu mašinu ili da prepreče saobraćajnicu.
Uklonite sedišta ili se pobrinite da sedišta budu pričvršćena kratkim osovinicama.


U hitnom slučaju, možete vući mašinu na kratkom rastojanju; međutim, to ne bi trebalo da bude standardna radna procedura.
Vučenje pri prevelikim brzinama bi moglo da dovede do gubitka kontrole upravljača što dovodi do telesne povrede.
Nikada nemojte vući mašinu pri brzinama većim od 8 km/h.
Vučenje mašine je posao za 2 osobe. Ako morate da pomerite mašinu na neko značajno rastojanje, transportujte je na kamionu ili prikolici; pogledajte Vučenje prikolice
Uklonite pogonski kaiš sa mašine; pogledajte Zamena pogonskog kaiša.
Pričvrstite vučnu liniju za rudu na prednjem delu rama mašine (Слика 21).
Pomerite ručicu menjača u položaj NEUTRALNO i deaktivirajte parkirnu kočnicu.
Mašina može da vuče prikolice. Vučna kuka je dostupna za mašinu. Za više detalja obratite se ovlašćenom distributeru kompanije Toro.
Kada prevozite teret ili vučete prikolicu, nemojte preopteretiti mašinu ili prikolicu. Preopterećivanje bilo mašine bilo prikolice može dovesti do lošeg učinka ili oštećenja kočnica, osovine, motora, menjača-diferencijala, serva, vešanja, strukture karoserije ili pneumatika.
Uvek natovarite prikolicu sa 60% težine tereta u prednjem kraju prikolice. Ovo postavlja oko 10% bruto težine prikolice (GTW) na vučnu kuku mašine.
Da bi se obezbedilo adekvatno kočenje i vuča, uvek opteretite tovarni prostor kada koristite prikolicu. Ne premašujte ograničenja bruto težine prikolice ili bruto težine vozila.
Izbegavajte parkiranje mašine sa prikolicom na uzbrdici. Ako morate da parkirate na uzbrdici, aktivirajte parkirnu kočnicu i poduprite točkove prikolice.
Ne dozvolite neobučenom osoblju da servisira mašinu.
Pre nego što napustite položaj operatera, uradite sledeće:
Parkirajte mašinu na ravnoj površini.
Pomerite menjač na položaj NEUTRALNO.
Aktivirajte parkirnu kočnicu.
Spustite tovarni prostor.
Isključite mašinu i uklonite ključ.
Sačekajte da se sva kretanja zaustave.
Pre podešavanja, servisiranja, čišćenja ili odlaganja mašine, sačekajte da se ohladi.
Kada radite ispod mašine, oslonite mašinu na stalke za dizalicu.
Nemojte raditi ispod podignutog tovarnog prostora bez adekvatnog sigurnosnog oslonca na svom mestu.
Nemojte puniti akumulatore dok servisirate mašinu.
Kako biste obezbedili da čitava mašina bude u dobrom stanju, neka sva čvrsta oprema bude propisno dotegnuta.
Kako biste umanjili potencijalnu opasnost od požara, neka prostor oko mašine bude bez viška masnoća, trave, lišća i nagomilane nečistoće.
Ako je moguće, nemojte sprovoditi radove na održavanju dok mašina radi. Držite se podalje od pokretnih delova.
Ako mašina mora da radi kako bi se obavila neka servisna podešavanja, držite šake, stopala, odeću i sve delove tela podalje od pokretnih delova. Držite posmatrače podalje od mašine.
Očistite prosuto ulje i gorivo.
Proverite rad parkirne kočnice prema preporuci u planu održavanja i podesite je i servisirajte prema potrebi.
Održavajte sve delove mašine u dobrom radnom stanju i svu čvrstu opremu propisno dotegnutu. Zamenite sve pohabane ili oštećene nalepnice.
Nikada nemojte ometati namenjenu funkciju sigurnosnog uređaja ili smanjivati nivo zaštite koji obezbeđuje sigurnosni uređaj.
Nemojte dovoditi motor u stanje prekomerne brzine menjanjem podešavanja u regulatoru. Kako biste obezbedili bezbednost i preciznost, neka ovlašćeni prodavac proveri maksimalnu brzinu motora sa tahometrom.
Ako su ikada neophodne velike popravke ili je potrebna pomoć, obratite se ovlašćenom Toro distributeru.
Vršenje prepravki na ovoj mašini na bilo koji način može uticati na rad mašine, učinak, trajnost ili njena upotreba može dovesti do povrede ili smrti. Takva upotreba bi mogla da poništi garanciju kompanije Toro®.
| Интервал сервисног одржавања | Поступак одржавања |
|---|---|
| Након првих 5 сати |
|
| Након првих 8 сати |
|
| Након првих 50 сати |
|
| Након првих 100 сати |
|
| Пре сваке употребе или свакодневно |
|
| Сваких 50 сати |
|
| Сваких 100 сати |
|
| Сваких 200 сати |
|
| Сваких 300 сати |
|
| Сваких 400 сати |
|
| Сваких 800 сати |
|
| Сваких 1.000 сати |
|
| Годишње |
|
Note: Preuzmite besplatan primerak elektrošeme sa sajta www.Toro.com i pretragom za vašu mašinu sa linka iz Uputstva na početnoj stranici.
Important: Pogledajte Uputstvo za vlasnika za vaš motor radi dodatnih postupaka prilikom održavanja.
Neadekvatno održavanje mašine bi moglo dovesti do prevremenog kvara mašinskih sistema, dovodeći do mogućeg povređivanja vas ili posmatrača.
Održavajte mašinu dobro i u dobrom radnom stanju kako je navedeno u ovim uputstvima.
Samo kvalifikovano i ovlašćeno osoblje treba da održava, popravlja, podešava i proverava mašinu.
Izbegavajte opasnosti od požara i neka protivpožarna oprema bude prisutna u radnom prostoru. Nemojte koristiti otvoren plamen kako biste proverili nivo fluida ili curenje goriva, elektrolita iz akumulatora ili rashladne tečnosti.
Nemojte koristiti otvorene posude sa gorivom ili zapaljive tečnosti za čišćenje delova.
Ako ostavite ključ u prekidaču, neko bi mogao slučajno da pokrene motor i da ozbiljno povredi vas ili nekog od posmatrača.
Pre bilo kakvog održavanja, isključite motor i uklonite ključ iz prekidača.
Umnožite ovu stranicu za rutinsko korišćenje.
| Predmet provere za održavanje | Za nedelju od: | ||||||
|---|---|---|---|---|---|---|---|
| ponedeljak | utorak | sreda | četvrtak | petak | subota | nedelja | |
| Proverite rad kočnice i parkirne kočnice. | |||||||
| Proverite rad birača smera kretanja. | |||||||
| Proverite nivo vode u akumulatorima. | |||||||
| Proverite nivo kočione tečnosti. | |||||||
| Proverite neobičnu buku pri radu. | |||||||
| Proverite pritisak u gumama. | |||||||
| Proverite da li ima curenja tečnosti. | |||||||
| Proverite rad instrumenata. | |||||||
| Proverite rad gasa. | |||||||
| Popravite oštećenu farbu. | |||||||
| Operite mašinu. | |||||||
Important: Ako je mašina izložena bilo kom uslovu navedenom ispod, sprovodite radove na održavanju dva puta češće:
Rad u pustinji
Rad u hladnim klimatskim uslovima – ispod 10 °C
Vučenje prikolice
Čest rad u prašini
Građevinski rad
Nakon produženog rada u blatu, pesku, vodi ili sličnim nečistim uslovima, uradite sledeće:
Neka vam provere i očiste kočnice što je pre moguće. Ovo sprečava da abrazivni materijali dovedu do preteranog habanja.
Operite mašinu koristeći samo vodu ili blagi deterdžent.
Important: Nemojte koristiti slanu ili korišćenu vodu da biste očistili mašinu.
Parkirajte mašinu na ravnoj površini.
Pomerite menjač na položaj NEUTRALNO.
Aktivirajte parkirnu kočnicu.
Zaustavite motor i uklonite ključ.
Ispraznite i podignite tovarni prostor.
Mašina može biti nestabilna kada se koristi dizalica. Mašina može da sklizne sa dizalice i povredi svakog ko se nalazi ispod.
Ne pokrećite mašinu dok je podignuta na dizalici.
Uvek uklonite ključ iz prekidača kontakta pre silaska sa mašine.
Blokirajte točkove kada je mašina podignuta opremom za dizanje.
Koristite podupirače kada podignete mašinu.
Important: Kad god pokrenete mašinu za rutinsko održavanje i/ili dijagnostiku, pobrinite se da zadnji točkovi mašine budu 25 mm iznad tla, sa zadnjom osovinom podignutom na podupirače.
Tačka za podizanje na prednjem delu mašine nalazi se ispred rama, iza vučne rude (Слика 23).

Tačka za podizanje na zadnjem delu mašine se nalazi ispod cevi osovine (Слика 24).

Prevucite sklop sedišta na osovinice i spustite sklop sedišta (Слика 28).

| Интервал сервисног одржавања | Поступак одржавања |
|---|---|
| Сваких 300 сати |
|
Specifikacija maziva: Mobilgrease XHP™-222
Podignite prednji deo mašine i poduprite je podupiračima.
Uklonite 4 navrtke točka koje pričvršćuju točak za glavčinu (Слика 29).

Uklonite zavrtnje sa prirubnicom (⅜ x ¾") koji pričvršćuju nosač sklopa kočnice za vreteno i odvajaju kočnicu od vretena (Слика 30).
Note: Pričvrstite sklop kočnice pre nego što pređete na sledeći korak.

Uklonite poklopac za prašinu sa glavčine (Слика 31).

Uklonite opružni osigurač i osiguravajuću navrtku sa vretena i navrtke vretena (Слика 31).
Uklonite navrtku vretena sa vretena i odvojite sklop glavčine i rotora od vretena (Слика 31 i Слика 32).

Obrišite vreteno krpom.
Ponovite korake od 1 do 7 za glavčinu i rotor sa druge strane mašine.
Uklonite spoljni ležaj i prsten ležaja sa glavčine (Слика 33).

Uklonite zaptivku i unutrašnji ležaj sa glavčine (Слика 33).
Obrišite zaptivku i proverite da li ima oštećenja i habanja.
Note: Nemojte koristiti rastvarač za čišćenje kada čistite zaptivku. Zamenite zaptivku ako je pohabana ili oštećena.
Očistite ležajeve i prstenove i proverite da li su ti delovi oštećeni i pohabani.
Note: Zamenite sve pohabane ili oštećene delove. Pobrinite se da svi ležajevi i prstenovi budu čisti i suvi.
Obrišite svo mazivo, prljavštinu i opiljke iz šupljine glavčine (Слика 33).
Upakujte ležajeve sa navedenim mazivom.
Napunite šupljinu glavčine navedenim mazivom od 50% do 80% punog kapaciteta (Слика 33).
Sklopite unutrašnji ležaj sa prstenom i unutrašnjom stranom glavčine i postavite zaptivku (Слика 33).
Ponovite korake od 1 do 8 za ležajeve kod ostalih glavčina.
Nanesite tanak sloj navedenog maziva na vreteno (Слика 34).

Sklopite glavčinu i rotor na vreteno sa rotorom sa unutrašnje strane (Слика 34).
Sklopite spoljašnji ležaj na vreteno i postavite ležaj da nalegne na spoljašnji prsten (Слика 34).
Sklopite sigurnosnu navrtku na vreteno (Слика 34).
Zavrnite navrtku vretena na vreteno i pritegnite momentom zatezanja od 15 N∙m, dok rotirate glavčinu a nalegne na ležaj (Слика 34).
Otpustite navrtku vretena dok glavčina može slobodno da se rotira.
Pritegnite navrtku vretena momentom od 170 N∙cm do 225 N∙cm.
Montirajte preko osiguravajuću navrtku i proverite poravnatost žleba u osiguravajućoj navrtki i rupe u vretenu za opružni osigurač (Слика 35).
Note: Ako žleb na osiguravajućoj navrtki i rupa na vretenu nisu poravnati, pritegnite vreteno da bi se poravnalo sa žlebom i otvorom, maksimalno do 226 N∙cm na navrtki.

Montirajte opružni osigurač i savijte oba kraka oko osiguravajuće navrtke (Слика 35).
Montirajte poklopac za prašinu na glavčinu (Слика 35).
Ponovite korake od 1 do 10 za glavčinu i rotor na drugoj strani mašine.
Očistite dva zavrtnja sa prirubnicom (⅜ x ¾") i nanesite tanak sloj srednje jakog sredstva za osiguranje navoja na navoje zavrtnjeva.
Poravnajte kočione pločice sa obe strane rotora (Слика 30) a rupe u nosačima čeljusti sa rupama u nosaču kočnice u ramu vretena (Слика 34).
Pričvrstite nosač čeljusti za ram vretena (Слика 30) pomoću 2 zavrtnja sa prirubnicom (⅜ x ¾").
Dotegnite 2 zavrtnja sa prirubnicom momentom od 47 do 54 N∙m.
Poravnajte rupe u točku sa zavrtnjima glavčine i sklopite točak sa glavčinom sa ventilom okrenutim ka van (Слика 29).
Note: Pobrinite se da površina za montažu točka bude u ravni sa glavčinom.
Pričvrstite točak za glavčinu pomoću navrtki točkova (Слика 29).
Dotegnite matice momentom od 108 do 122 N∙m.
Ponovite korake od 1 do 5 za kočnicu i točak na drugoj strani mašine.
Pre provere ulja ili dodavanja ulja u kućište motora, isključite mašinu, uklonite ključ i sačekajte da se svi pokretni delovi zaustave.
Držite šake, stopala, lice, odeću i druge delove tela podalje od prigušnice i drugih vrelih površina.
| Интервал сервисног одржавања | Поступак одржавања |
|---|---|
| Сваких 50 сати |
|
Proverite da li telo prečišćivača vazduha ima oštećenja koja bi mogla da dovedu do curenja vazduha. Zamenite oštećeno telo prečišćivača vazduha.
Očistite poklopac prečišćivača vazduha i uklonite nečistoću iz poklopca za prašinu kao što je prikazano na Слика 36.

| Интервал сервисног одржавања | Поступак одржавања |
|---|---|
| Сваких 50 сати |
|
| Сваких 100 сати |
|
Note: Servisirajte element prečišćivača vazduha češće (svakih nekoliko sati) ako su uslovi rada izrazito prašnjavi ili peskoviti.
Polako izvucite element prečišćivača vazduha iz tela prečišćivača vazduha (Слика 37).
Note: Izbegavajte udarce prečišćivača vazduha u bočnu stranu tela.
Important: Nemojte da pokušavate da očistite element prečišćivača vazduha.
Proverite ima li oštećenja na novom elementu tako što ćete pregledati element usmeravajući jako svetlo na spoljašnjost elementa.
Note: Rupe u elementu se vide kao svetle tačke. Proverite ima li na elementu cepanja, uljnog filma ili oštećenja na gumenoj zaptivci. Ako je element oštećen, nemojte ga koristiti.
Pažljivo gurnite element u telo prečišćivača vazduha.
Important: Nemojte pritiskati meko, unutrašnje područje elementa.
Vratite poklopac prečišćivača vazduha sa stranom označenom sa UP“ (Gore) okrenutom nagore i pričvrstite rezama (Слика 37).

Kapacitet kućišta motora: 1,0 l
Tip ulja: API radna klasa SJ ili jače deterdžentno ulje
Viskoznost: Pogledajte donju tabelu.

| Интервал сервисног одржавања | Поступак одржавања |
|---|---|
| Пре сваке употребе или свакодневно |
|
Note: Mašina se isporučuje sa uljem u kućištu motora; svejedno proverite ulje pre i nakon što pokrenete motor.
Note: Najbolje vreme za proveru motornog ulja je kada je motor hladan pre nego što se pokrene tog dana. Ako ste već pokrenuli motor, pustite da se ulje ocedi nazad u taložnik ulja najmanje 10 minuta pre nego što proverite nivo. Ako je nivo ulja nizak, dosuti ulje tako da nivo ulja dođe do oznake Full (puno). Nemojte ga prepuniti.
Proverite nivo motornog ulja kao što je prikazano na Слика 39.

| Интервал сервисног одржавања | Поступак одржавања |
|---|---|
| Након првих 5 сати |
|
| Сваких 50 сати |
|
| Сваких 100 сати |
|
Note: Menjajte češće ulje za motor kada se radi u uslovima sa velikom prašinom ili peskom.
Note: Odložite korišćeno motorno ulje i filter ulja u sertifikovani centar za reciklažu.
Pokrenite mašinu i ostavite motor da radi nekoliko minuta.
Parkirajte mašinu na ravnoj površini.
Aktivirajte parkirnu kočnicu.
Zaustavite motor i uklonite ključ.
Podignite tovarni prostor i pričvrstite ga potpornom šipkom; pogledajte Podizanje tovarnog prostora u položaj za servisiranje.
Zamenite motorno ulje kao što je prikazano na Слика 40.

| Интервал сервисног одржавања | Поступак одржавања |
|---|---|
| Сваких 100 сати |
|
Tip svećice za model sa karburatorom: Champion XC12YC
Tip svećice za modele sa EFI elektronskim ubrizgavanjem: Champion RC12LC4
Vazdušni zazor za modele sa karburatorom: 0,76 mm
Vazdušni zazor za modele sa EFI elektronskim ubrizgavanjem: 1 mm
Important: Morate da zamenite polomljenu, zaprljanu, prljavu ili neispravnu svećicu. Nemojte peskariti, strugati niti čistiti elektrode žičanom četkom zato što se sa svećice vremenom mogu odvojiti krhotine i upasti u cilindar. Posledica toga je uglavnom oštećivanje motora.
Note: Svećica obično traje dugo; ipak, potrebno je da uklonite i proverite svećicu svaki put kada se pokvari motor.
Očistite područje oko svećice tako da strana tela ne mogu da upadnu u cilindar kada uklonite svećicu.
Povucite kabl sa priključka svećice.
Uklonite svećicu sa glave cilindra.
Proverite stanje bočne elektrode, centralne elektrode i izolatora centralne elektrode da biste osigurali da nema oštećenja (Слика 41).
Note: Nemojte koristiti oštećenu ili pohabanu svećicu. Zamenite je novom svećicom navedenog tipa.

Podesite vazdušni zazor između sredine i boka elektroda na 1 mm za modele sa EFI elektronskim ubrizgavanjem odnosno 0,76 mm za modele sa karburatorom kao što je prikazano na Слика 41.
Montirajte svećicu na glavu cilindra i pritegnite je momentom od 27 N∙m.
Montirajte kabl svećice.
Ponovite korake od 1 do 7 za ostale svećice.
Podignite tovarni prostor i pričvrstite ga potpornom šipkom.
Na omotaču sajle gasa, otpustite prednju kontranavrtku i pritegnite zadnju kontranavrtku da biste povećali malu brzinu praznog hoda (Слика 42).

Testirajte prazan hod u velikoj brzini pomoću tahometra:
Pobrinite se da ručica menjača bude u NEUTRALNOM položaju.
Upalite motor.
Potpuno pritisnite papučicu gasa i izmerite brzinu motora pomoću tahometra; brzina motora treba da iznosi između 3.650 o/min i 3.750 o/min. Ako to nije slučaj, isključite motor i podesite kontranavrtke sajle gasa.
Important: Ne smanjujte veliku brzinu praznog hoda. Testirajte pomoću tahometra da biste se uverili da je velika brzina praznog hoda između 3650 o/min i 3750 o/min.
Spustite i pričvrstite tovarni prostor.
| Интервал сервисног одржавања | Поступак одржавања |
|---|---|
| Сваких 400 сати |
|
Proverite da li na linijama, priključcima i klemama za gorivo ima znakova curenja, propadanja, oštećenja ili labavosti.
Note: Pre korišćenja mašine, popravite svaku komponentu sistema za gorivo koja je oštećena ili curi.
| Интервал сервисног одржавања | Поступак одржавања |
|---|---|
| Сваких 400 сати |
|
Parkirajte mašinu na ravnoj površini.
Aktivirajte parkirnu kočnicu.
Zaustavite motor i uklonite ključ.
Podignite tovarni prostor i poduprite ga potpornom šipkom.
Odvojite akumulator; pogledajte Odvajanje akumulatora.
Postavite čistu posudu ispod filtera ulja i zamenite ga kao što je prikazano na Слика 43.

Spojite akumulator i spustite tovarni prostor; pogledajte Povezivanje akumulatora.
| Интервал сервисног одржавања | Поступак одржавања |
|---|---|
| Након првих 50 сати |
|
| Сваких 200 сати |
|
Proverite otvor na donjoj strani filtera za vazduh za kanister da biste se uverili da je čist i da nema opiljaka i začepljenja (Слика 44).
Čistim komprimovanim vazduhom očistite filter za vazduh za kanister.

Pre popravljanja mašine odspojite akumulator. Prvo odspojite negativni terminal, pa zatim pozitivni. Prvo spojite pozitivni terminal, pa zatim negativni.
Akumulator punite na otvorenom, dobro provetrenom prostoru, dalje od varnica i plamena. Pre priključivanja ili isključivanja akumulatora, iskopčajte punjač. Nosite zaštitnu odeću i koristite izolovane alate.
Napon akumulatora: 12 V sa 300 A (hladno pokretanje motora) na –18 °C.
Neka akumulator uvek bude čist i do kraja napunjen.
Ako su priključci akumulatora korodirali, očistite ih rastvorom od 4 dela vode i 1 dela sode bikarbone.
Nanesite tanak sloj sredstva za podmazivanje na priključke akumulatora kako biste sprečili koroziju.
Nepravilno sprovođenje kablova akumulatora može dovesti do oštećenja mašine i kablova i izazvati varničenje. Varnice mogu dovesti do eksplozije gasova iz akumulatora, a time i do telesne povrede.
Uvek odspojite negativni (crni) kabl akumulatora pre nego što odspojite pozitivni kabl (crveni).
Uvek ponovo spojite pozitivni (crveni) kabl akumulatora pre nego što ponovo spojite negativni (crni) kabl.
Neka vam pričvrsna šipka akumulatora uvek bude na mestu da bi štitila i pričvrstila akumulator.
Može doći do kratkog spoja terminala akumulatora ili metalnih alata sa metalnim komponentama mašine i pojave varnica. Varnice mogu dovesti do eksplozije gasova iz akumulatora, a time i do telesne povrede.
Pri uklanjanju ili postavljanju akumulatora, vodite računa da terminali akumulatora ne dodirnu metalne delove mašine.
Vodite računa da metalni alat ne izazove kratak spoj između terminala akumulatora i metalnih delova mašine.
Odvojite akumulator kako je prikazano na Слика 45.

Odvojite kablove akumulatora: pogledajte Odvajanje akumulatora.
Uklonite akumulator kako je prikazano na Слика 46.

Montirajte akumulator kako je prikazano na Слика 47.

Spojite kablove akumulatora; pogledajte Povezivanje akumulatora.
Povežite akumulator kako je prikazano na Слика 48.

Punjenje akumulatora proizvodi gasove koji mogu da eksplodiraju.
Nemojte nikada pušiti u blizini akumulatora i držite ga podalje od varnica i plamena.
Important: Uvek držite akumulator potpuno napunjenim. To je posebno važno za sprečavanje oštećenja akumulatora kada je temperatura ispod 0 °C.
Uklonite akumulator iz mašine; pogledajte Uklanjanje akumulatora.
Spojite punjač akumulatora u rasponu jačine od 3 A do 4 A na stubiće akumulatora. Akumulator punite 4 do 8 sati u rasponu jačine od 3 A do 4 A (12 V).
Note: Nemojte da prepunite akumulator.
Postavite akumulator; pogledajte Instalacija akumulatora.
Ako skladištite mašinu na period duži od 30 dana, uklonite akumulator i napunite ga u potpunosti. Čuvajte ga ili na polici ili na mašini. Ako ga držite u mašini, kablovi treba da ostanu otkačeni. Skladištite akumulator u hladnoj prostoriji da biste izbegli brzo pogoršanje napunjenosti akumulatora. Da biste sprečili smrzavanje akumulatora, postarajte se da bude potpuno napunjen.
Postoji 4 osigurača u električnom sistemu; ostala mesta ostaju slobodna za opcije. Oni se nalaze ispod sklopa sedišta (Слика 49).
| Sirena | 30 A |
| Glavno napajanje | 15 A |
| Prednja svetla | 10 A |
| USB utičnica/opcije | 10 A |
| Opcioni komplet za podizanje – otvaranje | 15 A |

Postoji 5 osigurača u električnom sistemu; ostala mesta ostaju slobodna za opcije. Oni se nalaze ispod sklopa sedišta (Слика 50).
| Sirena | 20 A |
| Glavno napajanje | 15 A |
| Prednja svetla | 10 A |
| USB utičnica/opcije | 10 A |
| Gorivo | 10 A |
| Opcioni komplet za podizanje – otvaranje | 15 A |

Specifikacija: pogledajte svoj Katalog delova.
Odvojite akumulator; pogledajte Odvajanje akumulatora.
Otvorite haubu.
Odvojite električni konektor za snop od konektora sklopa lampe (Слика 51).

Uklonite žabice koje pričvršćuju prednje svetlo za nosač prednjeg svetla (Слика 51).
Note: Sačuvajte sve delove za montiranje novog prednjeg svetla.
Uklonite sklop prednjeg svetla tako što ćete ga izgurati kroz otvor na prednjem braniku (Слика 51).
Montirajte novo prednje svetlo kroz otvor na prednjem braniku (Слика 51).
Note: Pobrinite se da stubići za podešavanje budu poravnati sa rupama u nosaču iza branika.
Pričvrstite sklop prednjeg svetla žabicama koje ste uklonili u prvom koraku 4.
Povežite električni konektor za snop sa konektorom sklopa prednjeg svetla (Слика 51).
Podesite prednje svetlo da usmerava snop svetlosti u željenom pravcu, pogledajte Podešavanje prednjih svetala.
Pridržavajte se sledećeg postupka za podešavanje svetlosnog snopa prednjih svetala kad god zamenite ili uklonite prednja svetla.
Parkirajte mašinu na ravnu površinu sa prednjim svetlima udaljenim približno 7,6 m od zida (Слика 52).
Izmerite rastojanje od poda do centra prednjeg svetla i označite tačku iste visine na zidu.
Okrenite prekidač kontakta u položaj za UKLJUčIVANJE i isključite prednja svetla.
Zabeležite gde svetla ciljaju na zidu.
Najsvetliji deo snopa svetlosti prednjih svetala bi trebalo da bude 20 cm ispod oznake naznačene na zidu (Слика 52).

Sa zadnje strane sklopa prednjeg svetla okrećite zavrtnje za podešavanje (Слика 51) da biste okretali sklop prednjeg svetla i poravnali usmerenje snopa svetlosti.
Povežite akumulator i zatvorite haubu; pogledajte Povezivanje akumulatora.
| Интервал сервисног одржавања | Поступак одржавања |
|---|---|
| Сваких 100 сати |
|
Proverite da li su pneumatici i naplatke oštećeni ili pohabani.
Note: Nezgode na radu, kao što je udaranje ivičnjaka, mogu da oštete pneumatike ili naplatke, a takođe i da poremete poravnanje točka, tako da proveravajte stanje pneumatika nakon nezgode.
Pritegnite navrtke točka momentom od 108 N∙m do 122 N∙m.
| Интервал сервисног одржавања | Поступак одржавања |
|---|---|
| Сваких 100 сати |
|
Sa volanom na centralnom položaju (Слика 53), okrenite volan ulevo ili udesno. Ako volan okrenete više od 13 mm ulevo ili udesno, a točkovi se ne okrenu, proverite sledeće komponente upravljačkog sistema i vešanja da biste bili sigurni da nisu labave ili oštećene:
Spoj sklopa osovine volana sa zupčastom letvom
Important: Proverite stanje i sigurnost zaptivke konusnog zupčanika (Слика 54).
Vučne poluge sklopa zupčaste letve


| Интервал сервисног одржавања | Поступак одржавања |
|---|---|
| Сваких 100 сати |
|
Proverite pritisak u pneumaticima da biste bili sigurni da su prednji pneumatici naduvani do 0,82 bara (82 kPa).
Ili dodajte opterećenje na mesto vozača koje odgovara prosečnom operateru ili neka operater sedne na svoje mesto. Opterećenje ili operater moraju da ostanu na svom mestu tokom procedure podešavanja.
Na ravnoj površini, pogurajte vozilo pravo nazad 2 do 3 m, a zatim pravo napred do prvobitnog početnog položaja. Tako se vešanje postavlja u radni položaj.
Alat koji nabavlja vlasnik: ključ za pritezanje, Toro deo br. 132-5069; obratite se ovlašćenom distributeru kompanije Toro.
Important: Podesite nagib točka samo ako koristite prednji priključak ili ako je došlo do neravnomernog habanja pneumatika.
Proverite poravnanje nagiba svakog točka; poravnanje treba da bude što je bliže moguće neutralnom (nuli).
Note: Pneumatici bi trebalo da budu poravnati sa ravnomernim gazištem točkova kako bi se smanjilo neravnomerno habanje.
Ako nagib točkova nije poravnat, koristite ključ za zatezanje da biste okretali prsten na amortizeru i poravnali točkove (Слика 55).

Important: Pre podešavanja uvlačenja, pobrinite se da je nagib točkova podešen da bude što je bliže moguće neutralnom položaju; pogledajte Podešavanje nagiba točka.
Izmerite rastojanje između oba prednja pneumatika u visini osovine i sa prednje i sa zadnje strane pneumatika (Слика 56).

Ako merenje ne daje rezultat u rasponu od 0 mm do 6 mm, otpustite kontranavrtke sa spoljašnjeg kraja spona (Слика 57).

Okrećite obe spone da biste pomerili prednji deo pneumatika ka unutra ili ka spolja.
Pritegnite kontranavrtke spone kada je podešavanje uspešno.
Pobrinite se da volan može da se okreće do kraja u oba smera.
| Интервал сервисног одржавања | Поступак одржавања |
|---|---|
| Сваких 100 сати |
|
Tip tečnosti: SAE 80W-90 (API MT-1) ili SAE 80W-90 (API GL-5)
Parkirajte mašinu na ravnoj površini.
Aktivirajte parkirnu kočnicu.
Zaustavite motor i uklonite ključ.
Uklonite čep otvora za punjenje na menjaču diferencijala (Слика 58).
Note: Nivo tečnosti treba da bude u ravni sa dnom čepa otvora za punjenje.

Ako je nivo tečnosti nizak, uklonite čep otvora za punjenje i dodajte navedenu tečnost dok ne prelije otvor (Слика 58).
Vratite čep otvora za punjenje na mesto i pritegnite ga momentom od 20 N∙m do 27 N∙m.
| Интервал сервисног одржавања | Поступак одржавања |
|---|---|
| Сваких 800 сати |
|
Tip tečnosti: SAE 80W-90 (API MT-1) ili SAE 80W-90 (API GL-5)
Kapacitet za tečnost: 1,6 l
Postavite posudu za pražnjenje ispod čepa za ispuštanje (Слика 58).
Uklonite čep otvora za punjenje i zaptivku (Слика 58).
Note: Zadržite čep i zaptivku za postupak montaže u koraku 6.
Uklonite čep za ispuštanje i zaptivku omogućavajući tečnosti da potpuno iscuri (Слика 58).
Note: Zadržite čep za ispuštanje i zaptivku za postupak montaže u koraku 4.
Montirajte čep za pražnjenje sa zaptivkom i pritegnite ga momentom od 20 N∙m do 27 N∙m.
Napunite menjač-diferencijal navedenom tečnošću dok ona ne krene da curi iz otvora.
Montirajte čep otvora za punjenje sa zaptivkom i pritegnite ga momentom od 20 N∙m do 27 N∙m.
| Интервал сервисног одржавања | Поступак одржавања |
|---|---|
| Пре сваке употребе или свакодневно |
|
| Сваких 100 сати |
|
Prilikom obavljanja rutinskih radova održavanja i/ili dijagnostike motora, prebacite menjač-diferencijal u NEUTRALNI stepen prenosa. Mašina ima NEUTRALNI položaj na ručici menjača brzina, koji kontroliše neutralni stepen prenosa menjača-diferencijala. Obavite sledeće korake da biste se pobrinuli da ručica menjača u neutralnom položaju pravilno kontroliše neutralni stepen prenosa-menjača:
Postavite menjač brzina u NEUTRALNI položaj.
Okrenite sekundarno kvačilo (Слика 65) da biste videli da li se slobodno okreće u NEUTRALNOM položaju.
Postavite menjač brzina u položaj za kretanje NAPRED.
Okrenite sekundarno kvačilo (Слика 65) da biste videli da li okreće zadnje točkove.
Postavite menjač brzina u položaj za kretanje UNAZAD.
Okrenite sekundarno kvačilo (Слика 65) da biste videli da li okreće zadnje točkove.
Ako ijedan od ovih testova bude neuspešan, pređite na Podešavanje neutralnog položaja menjača.
Otpustite kontranavrtke na sajli menjača i podesite koliko je neophodno (Слика 59).

Testirajte položaj menjača pomeranjem menjača u 3 različita položaja i proverom da biste videli da li se ručica menjača (Слика 59) pravilno pomera prilikom menjanja brzina; pogledajte Ručica menjača i indikator stepena prenosa.
Proverite da li svi položaji funkcionišu pravilno ponavljanjem koraka u Proveravanje neutralnog položaja menjača.
| Интервал сервисног одржавања | Поступак одржавања |
|---|---|
| Сваких 400 сати |
|
Prašina iz kvačila može da se raspe u vazduh i da vam dospe u oči ili možete da je udahnete, što izaziva poteškoće sa disanjem.
Nosite zaštitne naočare i masku za zaštitu od prašine ili neku drugu zaštitu za oči i respiratornu zaštitu dok obavljate ovaj postupak.
Podignite i zabravite tovarni prostor.
Uklonite 3 zavrtnja koji pričvršćuju poklopac kvačila i uklonite poklopac (Слика 60).
Note: Zadržite poklopac i zavrtnje za kasniju montažu.

Temeljno komprimovanim vazduhom očistite unutrašnjost poklopca i unutrašnje delove kvačila.
Montirajte poklopac kvačila i pričvrstite ga pomoću 3 zavrtnja (Слика 60) koje ste uklonili u koraku 2.
Spustite tovarni prostor.
Prašina iz kvačila može da se raspe u vazduh i da vam dospe u oči ili možete da je udahnete, što izaziva poteškoće sa disanjem.
Nosite zaštitne naočare i masku za zaštitu od prašine ili neku drugu zaštitu za oči i respiratornu zaštitu dok obavljate ovaj postupak.
Podignite i zabravite tovarni prostor; pogledajte Podizanje tovarnog prostora u položaj za servisiranje.
Uklonite zavrtnje koji pričvršćuju poklopac primarnog kvačila kao što je prikazano na Слика 61.
Important: Budite pažljivi prilikom uklanjanja poklopca kvačila; opruga je pod kompresijom.
Important: Zabeležite orijentaciju oznake X na sklopu poklopca kvačila za kasniju montažu.

Uklonite oprugu.
Dodajte ili uklonite odstojnike da biste prilagodili brzinu. Koristite sledeću tabelu da biste odredili potrebnu količinu odstojnika.
| Odstojnici | Maksimalna brzina |
| 2 (standardno) | 26 km/h |
| 3 | 19 km/h |
| 4 | 14 km/h |
| 5 | 9 km/h |
| 6 | 6 km/h |
Important: Nemojte da koristite mašinu ako barem 2 odstojnika kvačila nisu na mestu.
Montirajte oprugu i poklopac kvačila.
Important: Pobrinite se da oznaka X bude postavljena na svoj prvobitni položaj.
Pritegnite zavrtnjeve momentom od 179 N∙m do 228 N∙m.
Gutanje rashladne tečnosti za motor može dovesti do trovanja; držite van domašaja dece i kućnih ljubimaca.
Pražnjenje vrele, rashladne tečnosti pod pritiskom ili dodirivanje vrelog hladnjaka i okolnih delova može izazvati teške opekotine.
Uvek ostavite motor da se ohladi najmanje 15 minuta pre skidanja poklopca hladnjaka.
Koristite krpu kada otvarate poklopac na hladnjaku i otvarajte poklopac polako kako biste omogućili ispuštanje pare.
Nemojte raditi sa mašinom ako poklopci nisu na svom mestu.
Čuvajte prste, šake i odeću od rotirajućeg ventilatora i pogonskog kaiša.
Pre radova na održavanju, isključite motor i uklonite ključ.
| Интервал сервисног одржавања | Поступак одржавања |
|---|---|
| Сваких 100 сати |
|
Important: Rad motora sa začepljenom mrežicom, prljavim ili začepljenim rashladnim rebrima ili uklonjenim rashladnim kućištima će dovesti do oštećenja motora zbog pregrevanja.
Important: Nikad nemojte da čistite motor peračem pod pritiskom zato što voda može da prodre u sistem za gorivo.
Očistite usis, rashladna rebra i spoljašnje površine motora.
Note: Komponente za hlađenje motora čistite češće prilikom rada u veoma prašnjavim i prljavim uslovima.
Aktivirajte parkirnu kočnicu povlačenje ručice parkirne kočnice perna sebi, dok ne osetite napetost.
Ako ne osetite napetost kada povlačite ručicu parkirne kočnice prema sebi na 11,4 cm do 16,5 cm od simbola P“ na instrument tabli, onda treba da podesite parkirnu kočnicu; pogledajte Podešavanje parkirne kočnice.
Pobrinite se da parkirna kočnica bude deaktivirana.
Podupiračima podignite zadnji deo mašine; pogledajte Podizanje mašine.
Koristite 2 ključa, sa jednim zadržite na mestu stubić za podešavanje na čeljusti, a drugim otpustite kontranavrtku za ¼ obrtaja (Слика 62).

Dok držite stubić za podešavanje i kontranavrtku na mestu, okrenite stubić za podešavanje da biste ga pritegli (Слика 62).
Note: Obavljajte ovaj korak dok ne počnete da osećate otpor na točkiću.
Dok držite stubić za podešavanje i kontranavrtku na mestu, otpustite za ¼ obrtaja (Слика 62).
Dok držite stubić za podešavanje i kontranavrtku na mestu, pritegnite kontranavrtku (Слика 62).
Obavite korake od 1 do 6 i sa druge strane.
Potvrdite da je parkirna kočnica podešena na adekvatnu zategnutost; pogledajte Provera parkirne kočnice.
Note: Ako ne možete da podesite parkirnu kočnicu do željene zategnutosti, moguće je da su se istrošile kočione pločice i da treba da se zamene. Za pomoć se obratite ovlašćenom distributeru kompanije Toro.
| Интервал сервисног одржавања | Поступак одржавања |
|---|---|
| Пре сваке употребе или свакодневно |
|
Tip kočione tečnosti: DOT 3
Parkirajte mašinu na ravnoj površini.
Aktivirajte parkirnu kočnicu.
Zaustavite motor i uklonite ključ.
Podignite haubu kako biste imali pristup glavnom kočionom cilindru i rezervoaru (Слика 63).

Pogledajte indikator nivoa tečnosti na boku rezervoara (Слика 64).
Note: Nivo bi trebalo da bude iznad oznake minimuma.

Ako je nivo tečnosti nizak, učinite sledeće:
Zatvorite haubu mašine.
| Интервал сервисног одржавања | Поступак одржавања |
|---|---|
| Сваких 100 сати |
|
Important: Kočnice su ključna bezbednosna komponenta mašine. Pažljivo ih pregledajte u propisanom intervalu i obezbedite optimalni učinak i bezbednost.
Proverite da li je kočiona obloga oštećena ili pohabana. Ako je obloga (kočiona pločica) debljine manje od 1,6 mm, zamenite kočionu oblogu.
Proverite zadnju ploču i ostale komponente da li pokazuju znake prekomernog habanja i deformacije. Zamenite deformisane komponente.
Proverite kočionu tečnost; pogledajte Provera nivoa kočione tečnosti.
| Интервал сервисног одржавања | Поступак одржавања |
|---|---|
| Сваких 400 сати |
|
Obratite se ovlašćenom distributeru kompanije Toro da pregleda i ako je potrebno zameni pločice nožne i parkirne kočnice.
| Интервал сервисног одржавања | Поступак одржавања |
|---|---|
| Сваких 1.000 сати |
|
Obratite se ovlašćenom distributeru kompanije Toro.
| Интервал сервисног одржавања | Поступак одржавања |
|---|---|
| Након првих 8 сати |
|
| Сваких 200 сати |
|
Parkirajte mašinu na ravnoj površini.
Aktivirajte parkirnu kočnicu.
Zaustavite motor i uklonite ključ.
Podignite tovarni prostor i pričvrstite ga potpornom šipkom; pogledajte Podizanje tovarnog prostorau položaj za istovar.
Prebacite prenos u NEUTRALAN položaj.
Okrećite kaiš (Слика 65) i pogledajte da li ima znakova prekomernog habanja ili oštećenja.
Note: Zamenite kaiš ako je prekomerno pohaban ili oštećen: pogledajte Zamena pogonskog kaiša.

Spustite tovarni prostor.
Podignite tovarni prostor; pogledajte Podizanje tovarnog prostorau položaj za istovar.
Prebacite menjač u NEUTRALAN položaj, aktivirajte parkirnu kočnicu, okrenite prekidač kontakta u ISKLJUčENI položaj i uklonite ključ.
Okrećite i postavite kaiš preko sekundarnog kvačila (Слика 65).
Uklonite kaiš sa primarnog kvačila (Слика 65).
Note: Odložite stari kaiš u smeće.
Poravnajte novi kaiš preko primarnog kvačila (Слика 65).
Okrećite i postavite kaiš preko sekundarnog kvačila (Слика 65).
Spustite tovarni prostor.
| Интервал сервисног одржавања | Поступак одржавања |
|---|---|
| Након првих 8 сати |
|
| Сваких 200 сати |
|
Podignite tovarni prostor; pogledajte Podizanje tovarnog prostorau položaj za istovar.
Otpustite navrtku osovinice startera-generatora (Слика 65).
Poravnajte polugu za izdizanje između nosača motora i startera.
Pritisnite nadole polugu za izdizanje da biste okrenuli starter nadole u žleb dok zategnutost kaiša ne omogući samo 6 mm savijanja kaiša primenom sile od 44 N∙m (Слика 65).
Rukom pritegnite navrtku osovinice i uklonite polugu za izdizanje (Слика 65).
Pritegnite navrtku osovinice momentom od 88 N∙m do 115 N∙m.
Spustite tovarni prostor.
Ako sigurnosna brava tovarnog prostora nije podešena, tovarni prostor će vibrirati gore-dole dok vozite mašinu. Možete da podesite sigurnosnu bravu da zabravi tovarni prostor čvrsto uz šasiju.
Potvrdite da je tovarni prostor zabravljen.
Note: Ako tovarni prostor ne može da se zabravi, prihvatnik je najverovatnije previše nisko. Ako tovarni prostor može da se zabravi, ali vibrira gore-dole dok vozite, prihvatnik je najverovatnije previše visoko.
Podignite tovarni prostor; Podizanje tovarnog prostorau položaj za istovar.
Otpustite 2 zavrtnja na prihvatniku i pomerite ga gore ili dole, u zavisnosti da li je previsoko ili prenisko (Слика 66).

Pritegnite 2 zavrtnja na prihvatniku (Слика 66).
Potvrdite da je podešavanje dobro tako što ćete nekoliko puta zabraviti tovarni prostor.
| Интервал сервисног одржавања | Поступак одржавања |
|---|---|
| Пре сваке употребе или свакодневно |
|
Operite mašinu prema potrebi koristeći samo vodu ili blagi deterdžent. Možete koristiti krpu kada perete mašinu.
Important: Nemojte koristiti slanu ili korišćenu vodu da biste očistili mašinu.
Important: Nemojte koristiti opremu za pranje pod pritiskom za pranje mašine. Oprema za pranje pod pritiskom može oštetiti elektrosistem, odlepiti važne nalepnice ili oprati neophodne masnoće na lokacijama sa trenjem. Izbegavajte preteranu upotrebu vode u blizini upravljačke table, motora i akumulatora.
Important: Nemojte prati mašinu dok je motor u radu. Pranje mašine dok je motor u radu može dovesti do unutrašnjih oštećenja motora.
Pre nego što napustite položaj operatera, zaustavite mašinu, uklonite ključ i sačekajte da prestane svako kretanje. Pre podešavanja, servisiranja, čišćenja ili odlaganja mašine, sačekajte da se ohladi.
Nemojte skladištiti mašinu ili posudu za gorivo na mestu na kom ima otvorenog plamena, varnica ili pomoćni plamenik, kao npr. na kotlu za grejanje vode ili na drugim aparatima.
Parkirajte mašinu na ravnoj površini.
Aktivirajte parkirnu kočnicu.
Zaustavite motor i uklonite ključ.
Očistite prljavštinu i otpatke sa cele mašine, uključujući spoljašnju stranu rebara glave cilindra motora i kućište ventilatora.
Important: Mašinu možete oprati blagim deterdžentom i vodom. Nemojte koristiti opremu za pranje pod pritiskom za pranje mašine. Pranje mašine pod pritiskom može da ošteti elektrosistem ili da opere neophodne masnoće na tačkama sa trenjem. Izbegavajte preteranu upotrebu vode u blizini upravljačke table, svetala, motora i akumulatora.
Proverite kočnice; pogledajte Provera kočnica.
Servisirajte prečišćivač vazduha; pogledajte Servisiranje prečišćivača vazduha.
Zamenite motorno ulje; pogledajte Servisiranje motornog ulja.
Proverite pritisak u gumama; pogledajte Provera pritiska u pneumaticima.
Za skladištenje duže od 30 dana pripremite sistem za gorivo na sledeći način:
U sveže gorivo u rezervoaru dodajte stabilizator/regenerator goriva. Nemojte koristiti stabilizator goriva na bazi alkohola (etanol ili metanol).
Important: Ne skladištite gorivo koje sadrži stabilizator/regenerator duže od vremena koje preporučuje proizvođač stabilizatora goriva.
Pustite da motor radi 5 minuta da bi se regenerisano gorivo distribuiralo kroz sistem goriva.
Isključite motor, sačekajte da se ohladi i ispraznite rezervoar za gorivo.
Note: Pravilno odložite gorivo. Reciklirajte u skladu sa lokalnim propisima.
Ponovo pokrenite motor i pustite ga da radi dok se ne zaustavi.
Otvorite čok.
Pokrenite i pustite da motor radi dok se više ne pokreće.
Uklonite svećicu i proverite u kakvom je stanju; pogledajte Servisiranje svećice.
Kad su svećice izvađene iz motora, sipajte 15 ml (2 kašike) motornog ulja u otvor za svećicu.
Koristite električni starter da biste pokrenuli motor i distribuirali ulje unutar cilindra.
Postavite svećicu(e) i pritegnite preporučenim momentom; pogledajte Servisiranje svećice.
Note: Nemojte stavljati kabl na svećicu(e).
Uklonite akumulator iz šasije i potpuno ga napunite; pogledajte Uklanjanje akumulatora.
Note: Nemojte povezivati kablove akumulatora na priključke akumulatora tokom perioda skladištenja.
Important: Akumulator mora biti napunjen do kraja kako bi se sprečilo zamrzavanje i oštećenje na temperaturama ispod 0 °C. Akumulator napunjen do kraja održava svoju napunjenost oko 50 dana na temperaturama nižim od 4 °C.
Proverite i pritegnite sve zavrtnje za pričvršćivanje. Popravite ili zamenite svaki deo koji je oštećen.
Ofarbajte sve izgrebane ili ogoljene metalne površine bojom koju možete nabaviti kod ovlašćenog distributera kompanije Toro.
Mašinu skladištite u čistoj, suvoj garaži ili skladištu.
Uklonite ključ iz prekidača kontakta i ostavite ga na sigurnom mestu van domašaja dece.
Pokrijte mašinu da biste je zaštitili i održavali čistom.