Parkirajte stroj na ravni površini.
Vklopite parkirno zavoro.
Ugasnite motor in odstranite ključ.
Odklopite akumulator; glejte uporabniški priročnik.
Dvignite keson in ga podprite s podpornim drogom.
Deli potrebni za ta postopek:
| Sprednja montažna cev | 2 |
| Vijak z glavo s prirobnico (5/16 x 3") | 2 |
| Distančnik (⅝ x 1") | 2 |
| Matica s prirobnico (5/16") | 4 |
| Nosilni vijak (5/16 x 2") | 2 |
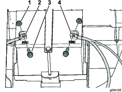
S pomočjo 2 vijakov z glavo s prirobnico (5/16 x 3"), 2 distančnikov (⅝ x 1"), 4 matic s prirobnico (5/16") in 2 nosilnih vijakov (5/16 x 2") ohlapno namestite 2 sprednji montažni cevi, kot prikazuje Diagram 3.

Important: Pred izvedbo tega postopka preglejte stroj, da ugotovite, ali že obstajajo luknje za namestitev. Če ne, nadaljujte s tem postopkom.
Note: Vse pritrdilne elemente, ki jih odstranite v tem postopku, shranite za poznejšo ponovno namestitev.
Odstranite vijak s prirobnico, ki pritrjuje rezervoar za gorivo na podstavek rezervoarja (Diagram 4).

Odstranite vijaka, s katerima je pritrjena vpenjalna letev (Diagram 4).
Odklopite oddušno cev in cev za gorivo z rezervoarja (Diagram 4).
Note: Pripravite se na prestrezanje in čiščenje razlitega goriva, ko odklopite cev za gorivo iz rezervoarja.
V določenih pogojih je gorivo zelo vnetljivo in eksplozivno. Požar ali eksplozija zaradi goriva ima lahko hude posledice za vas in druge osebe v bližini, kot so opekline in premoženjska škoda.
Gorivo izpustite iz rezervoarja za gorivo, ko je motor hladen. To delo izvajajte na prostem. Pobrišite razlito gorivo.
Pri rokovanju z gorivom ne smete kaditi in stati blizu odprtega plamena ali kjer lahko iskra vname hlape goriva.
Odstranite rezervoar za gorivo s podstavka.
Odstranite 2 vijaka z glavo s prirobnico, s katerima je podstavek za rezervoar pritrjen na okvir (Diagram 5).

Odstranite 4 vijake, s katerimi je leva stranska plošča pritrjena na spodnji sklop sedeža (Diagram 6).

Z akumulatorja odklopite negativni (–) in nato še pozitivni (+) kabel (Diagram 7).

Odstranite 2 vijaka z glavo s prirobnico, s katerima je podstavek akumulatorja pritrjen na okvir (Diagram 8).

Odstranite 4 vijake, s katerimi je desna stranska plošča pritrjena na spodnji sklop sedeža (Diagram 8).
Important: Pred izvedbo tega postopka preglejte stroj, da ugotovite, ali že obstajajo luknje za namestitev. Če ne, nadaljujte s tem postopkom.
Note: Vse pritrdilne elemente, ki jih odstranite v tem postopku, shranite za poznejšo ponovno namestitev.
Odstranite 4 samorezne vijake, s katerimi je desna stranska plošča pritrjena na spodnji sklop sedeža (Diagram 9).

Odvijte 2 vijaka, s katerima nosilec polnilnika pritrjen na podstavek akumulatorja (Diagram 10).

Odstranite 4 samorezne vijake, s katerimi je leva stranska plošča pritrjena na spodnji sklop sedeža (Diagram 10).
Luknje za podporni nosilec izvrtajte skladno z meritvami, ki jih navaja Diagram 11.
Ko vrtate najvišjo zgornjo luknjo, morate luknjo izvrtati do konca skozi zunanji nosilec, cev okvirja in požarno steno.
Pri vrtanju lukenj na desni strani okvirja električnega stroja bodite zelo previdni.
Če zavrtate pregloboko, lahko poškodujete akumulatorje ali druge sestavne dele.

Pritrdite desno stransko ploščo s predhodno odstranjenimi 4 vijaki (Diagram 8).
Podstavek akumulatorja pritrdite na okvir s prej odstranjenima 2 vijakoma z glavo s prirobnico (Diagram 8).
S prej odstranjenima 2 vijakoma in 2 maticama pritrdite kable akumulatorja in priključite pola akumulatorja (Diagram 7).
Pritrdite levo stransko ploščo s predhodno odstranjenimi 4 vijaki (Diagram 6).
Podstavek rezervoarja pritrdite na okvir s prej odstranjenima 2 vijakoma z glavo s prirobnico (Diagram 5).
Rezervoar za gorivo postavite na podstavek rezervoarja.
Priključite cev za gorivo in oddušno cev na rezervoar za gorivo (Diagram 4).
Pritrdite vpenjalno letev s predhodno odstranjenima vijakoma (Diagram 4).
Rezervoar za gorivo pritrdite na podstavek rezervoarja s prej odstranjenima vijakoma z glavo s prirobnico (Diagram 4).
Napolnite rezervoar za gorivo; glejte uporabniški priročnik.
Pritrdite levo stransko ploščo s predhodno odstranjenimi 4 samoreznimi vijaki (Diagram 10).
Nosilec polnilnika pritrdite na podstavek akumulatorja s prej odstranjenima 2 vijakoma z glavo s prirobnico (Diagram 10).
Pritrdite desno stransko ploščo s predhodno odstranjenimi 4 samoreznimi vijaki (Diagram 9).
Deli potrebni za ta postopek:
| Zadnja montažna cev | 2 |
| Nosilec za montažo cevi | 1 |
| Vijak z glavo s prirobnico (5/16 x 3") | 2 |
| Matica s prirobnico (5/16") | 2 |
| Vijak z glavo s prirobnico (⅜ x 1 ¾") | 2 |
| Vijak z glavo s prirobnico (⅜ x 3 ½") | 2 |
| Varovalna matica (⅜") | 4 |
| Tesnilni trak | 1 |
Z 2 vijakoma z glavo s prirobnico (⅜ x 3 ½"), 2 vijakoma z glavo s prirobnico (⅜ x 1 ¾") in 4 varovalnimi maticami (⅜") ohlapno namestite 2 zadnji montažni cevi, kot prikazuje Diagram 12.

Nosilec za montažo cevi pritrdite na zadnji montažni cevi z 2 vijakoma z glavo s prirobnico (5/16 x 3") in 2 maticama s prirobnico (5/16"), kot prikazuje Diagram 13.
Tesnilni trak namestite na nosilec za montažo cevi (Diagram 13).

Zategnite pritrdilne elemente, nameščene v koraku 1.
Privijte 5/16"-vijake in matice z zateznim momentom od 20 do 25 N∙m.
Privijte ⅜"-vijake in matice z zateznim momentom od 37 do 45 N∙m.
Deli potrebni za ta postopek:
| Podporni nosilec za dolgo ponjavo | 2 |
| Šestkotni vijak z glavo s prirobnico (5/16 x ¾") | 8 |
| Tesnilni trak | 2 |
Deli potrebni za ta postopek:
| Ponjava | 1 |
| Vijak z glavo s prirobnico (¼ x 1 ¾") | 4 |
| Tesnilna podložka | 4 |
| Varovalna matica (¼") | 4 |
Important: Če nameščate komplet ogledala, ga namestite pred namestitvijo ponjave.
Ponjavo pritrdite na sprednji in zadnji montažni cevi z 2 vijakoma z glavo s prirobnico (¼ x 1 ¾"), 4 tesnilnimi podložkami in 4 varovalnimi maticami (¼"), kot prikazuje Diagram 15.

Deli potrebni za ta postopek:
| Podporni nosilec za ponjavo | 1 |
| Vijak z glavo s prirobnico (¼ x 2 ¼") | 2 |
| Varovalna matica (¼") | 2 |
| Tesnilna podložka | 2 |
| Tesnilni trak | 1 |
| Distančnik¼" | 2 |
Deli potrebni za ta postopek:
| Podporna cev za ponjavo | 1 |
| Varovalna matica (¼") | 6 |
| Tesnilna podložka | 2 |
| Vijak z glavo s prirobnico (¼ x 1 ½") | 2 |
| Penasta blazinica | 1 |
| Vijak z glavo s prirobnico (¼ x 1 ¼") | 4 |
Penasto blazinico namestite na podporno cev za ponjavo (Diagram 18).

Podporno cev za ponjavo pritrdite na podporna nosilca ponjave s 4 vijaki z glavo s prirobnico (¼ x 1 ¼") in 4 varovalnimi maticami (¼"), kot prikazuje Diagram 19.

V ponjavo izvrtajte 2 luknji (6 mm ali ¼"); kot šablono uporabite nosilno cev ponjave.
Podporno cev za ponjavo pritrdite na ponjavo z 2 vijakoma z glavo s prirobnico (¼ x 1 ½"), 2 tesnilnima podložkama in 2 varovalnima maticama (¼"), kot prikazuje Diagram 20.
