Hãy đọc kỹ hướng dẫn sử dụng này để biết cách vận hành và bảo trì sản phẩm đúng cách. Thông tin trong hướng dẫn sử dụng này có thể giúp bạn và người khác tránh bị thương và làm hư hỏng sản phẩm. Mặc dù Toro thiết kế và sản xuất những sản phẩm an toàn nhưng bạn là người chịu trách nhiệm vận hành sản phẩm an toàn và đúng cách.
Bạn có thể liên hệ trực tiếp với Toro tại địa chỉ www.Toro.com để xem các tài liệu đào tạo về an toàn sản phẩm và vận hành, thông tin về phụ kiện, trợ giúp tìm đại lý hoặc đăng ký sản phẩm của bạn.
Bất cứ khi nào bạn cần dịch vụ, phụ tùng Toro chính hãng hoặc thông tin bổ sung, vui lòng liên hệ với Đại lý Dịch vụ được Ủy quyền hoặc Dịch vụ Khách hàng của Toro và chuẩn bị sẵn thông tin về mẫu máy và số sê-ri của sản phẩm. Hình 1 minh họa vị trí của mẫu máy và số sê-ri trên sản phẩm.
Note: Sản phẩm này tuân thủ tất cả các chỉ thị liên quan của Châu Âu. Để biết thông tin chi tiết, vui lòng xem Tuyên bố Thành lập (DOI) ở phía sau hướng dẫn sử dụng này.Xác định các mặt bên trái và bên phải của máy từ vị trí vận hành bình thường.

CALIFORNIA
Cảnh báo theo Dự luật 65
Việc sử dụng sản phẩm này có thể dẫn đến tình trạng phơi nhiễm với hóa chất được Tiểu Bang California xem là nguyên nhân gây ung thư, dị tật bẩm sinh hoặc gây hại cho hệ sinh sản.
Người vận hành hoặc chủ sở hữu sử dụng hoặc bảo trì không đúng cách có thể dẫn đến gây thương tích. Để giảm khả năng bị thương, hãy tuân thủ hướng dẫn an toàn này và luôn chú ý đến ký hiệu cảnh báo an toàn, nghĩa là Thận trọng, Cảnh báo hoặc Nguy hiểm — hướng dẫn an toàn cá nhân. Việc không tuân thủ hướng dẫn có thể dẫn đến thương tích cá nhân hoặc tử vong.
Và cũng hãy đọc hướng dẫn an toàn và vận hành trong Hướng dẫn Vận hành của xe.
Không được hướng máy phun cầm tay vào người hoặc động vật. Chất lỏng có áp suất cao có thể xuyên phá qua da và gây thương tích nặng, có thể dẫn đến phải cắt cụt chi hoặc gây tử vong. Hóa chất và chất lỏng nóng cũng có thể gây bỏng hoặc thương tích. Nếu bất kỳ bộ phận nào của cơ thể tiếp xúc với dòng phun, phải ngay lập tức tham khảo ý kiến bác sĩ hiểu biết về thương tích do chất lỏng phun này.
Không đặt tay hoặc bất kỳ bộ phận nào khác của cơ thể trước mắt phun.
Không được để thiết bị duy trì áp lực khi bạn không có mặt.
Không sử dụng máy phun cầm tay nếu ống mềm, khóa kích hoạt, mắt phun hoặc bất kỳ bộ phận nào khác bị thiếu hoặc hư hỏng.
Không sử dụng máy phun cầm tay nếu ống mềm, đầu nối hoặc các thành phần khác bị rò rỉ.
Không phun tưới gần đường điện.
Không lái xe khi đang phun tưới bằng máy phun cầm tay.
Đeo găng tay cao su, kính bảo hộ và mặc quần áo bảo hộ toàn thân khi phun tưới hóa chất bằng máy phun cầm tay.
Sét có thể gây tử vong hoặc thương tích nghiêm trọng. Nếu thấy có sét hoặc nghe thấy tiếng sấm trong khu vực, không được vận hành máy; tìm nơi trú ẩn.
Các hóa chất nguy hiểm và có thể gây ra thương tích cá nhân.
Hãy đọc hướng dẫn trên các nhãn hóa chất trước khi xử lý hóa chất và phải tuân theo mọi khuyến nghị và biện pháp phòng ngừa của nhà sản xuất.
Không được để hóa chất tiếp xúc với da. Nếu xảy ra tiếp xúc, hãy rửa kỹ khu vực bị ảnh hưởng bằng xà phòng và nước sạch.
Mang kính bảo hộ và các thiết bị bảo hộ khác do nhà sản xuất hóa chất khuyến nghị.
![]() |
Người vận hành có thể dễ dàng nhìn thấy các nhãn mác và hướng dẫn an toàn được đặt gần bất kỳ khu vực nào có thể xảy ra nguy hiểm. Hãy thay thế bất kỳ nhãn mác nào bị hỏng hoặc bị thiếu. |

Vật tư do khách hàng cung cấp:
Chất bịt kín ren PTFE (băng dính hoặc hồ dán)
Chất bôi trơn không chứa dầu mỏ như dầu thực vật
Các cực ắc quy hoặc dụng cụ kim loại có thể bị đoản mạch cho các bộ phận kim loại của máy, gây ra tia lửa. Tia lửa có thể gây nổ khí bình ắc quy, gây thương tích cá nhân.
Khi tháo hoặc lắp đặt ắc quy, không để các cực ắc quy chạm vào bất kỳ bộ phận kim loại nào của máy kéo.
Không để các dụng cụ kim loại bị đoản mạch giữa các cực ắc quy và các bộ phận kim loại của máy.
Định tuyến cáp ắc quy không chính xác có thể làm hỏng máy và dây cáp, gây ra tia lửa. Tia lửa có thể gây nổ khí bình ắc quy, gây thương tích cá nhân.
Luôn ngắt kết nối cáp âm (màu đen) của ắc quy trước khi ngắt kết nối cáp dương (màu đỏ).
Luôn kết nối cáp dương (màu đỏ) của ắc quy trước khi kết nối cáp âm (màu đen).
Nếu lắp đặt bình rửa tùy chọn, hãy đổ hết nước trong bình vào bình phun; tham khảo Vận hành bộ rửa sạch trong Hướng dẫn Lắp đặt Bộ rửa sạch bình.
Đảm bảo bình phun của máy đã hết chất lỏng.
Note: Nếu bình phun có chứa dung dịch hóa chất, phải xả kỹ hệ thống bình và máy phun bằng nước sạch; tham khảo Hướng dẫn Vận hành xe của bạn để được hướng dẫn.
Đỗ máy trên bề mặt bằng phẳng, đặt phanh đỗ, tắt bơm máy phun tưới, tắt động cơ và rút chìa khóa ra khỏi công tắc chìa khóa.
Ngắt kết nối cáp âm của ắc quy khỏi cọc âm của ắc quy; tham khảo Hướng dẫn Vận hành.
Ngắt kết nối cáp dương của ắc quy khỏi cọc dương của ắc quy; tham khảo Hướng dẫn Vận hành.
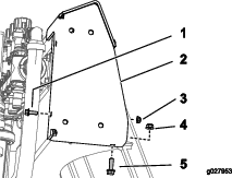
Ở phía trên cùng của bình phun, hãy tháo chốt hãm đang siết chặt đầu nối có ngạnh 90°của ống mềm hút vào vỏ của bộ lọc hút và tách đầu nối có ngạnh ra khỏi vỏ (Hình 2).

Tháo đầu nối 90° ra khỏi vỏ bộ lọc hút (Hình 2).
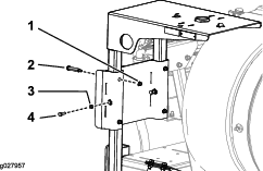
Ở đáy của bình rửa, tháo chốt hãm đang siết chặt đầu nối 90° của ống mềm cấp vào đầu nối vách ngăn (Hình 3).

Tháo đầu nối 90° ra khỏi đầu nối vách ngăn (Hình 3).
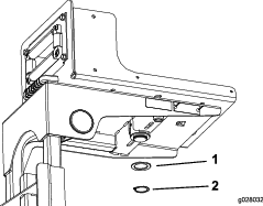
Tháo 2 bu lông, 4 vòng đệm và 2 êcu hãm mặt bích đang siết chặt 2 giá nẹp bình rửa vào giá gắn van và tháo các giá nẹp (Hình 4).

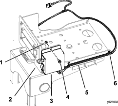
Tháo bình rửa ra khỏi máy (Hình 5).


Nới lỏng 4 êcu hãm mặt bích và 4 bu lông đang siết chặt nửa dây đeo bình (Hình 7).

Di chuyển bình phun về phía trước cho đến khi các dây đeo thẳng hàng với vấu sau cùng của cơ cấu giảm dây đeo được đúc vào bình (Hình 8).

Siết chặt 4 êcu hãm mặt bích và 4 bu lông ở đầu dây đeo cho đến khi dây đeo ngang bằng với bề mặt bình (Hình 7).
Các bộ phận cần thiết cho quy trình này:
| Đai ốc (1/4-20 inch) | 1 |
| Đai ốc mặt bích (5/16-18 inch) | 5 |
| Đai ốc mặt bích (3/8-16 inch) | 12 |
| Bu lông (3/8-16 x 1 inch) | 5 |
| Bu lông (1/4-20 x 3/4 inch) | 1 |
| Bu lông (3/8-16 inch) | 2 |
| Bu lông (3/8-16 x 3 1/2 inch) | 2 |
| Khung trên | 1 |
| Hỗ trợ khung dưới | 1 |
| Khung dưới | 1 |
| Bu lông xoáy (5/16-18 x 1 inch) | 1 |
| Bu lông hình chữ U | 1 |
| Bu lông (3/8-16 x 2 1/4 inch) | 2 |
| Giá nâng kệ guồng xoắn | 1 |
| Bu lông vai | 4 |
| Khung kệ guồng xoắn | 1 |
| Đai ốc hãm (5/16-18 inch) | 2 |
| Bu lông (5/16-18 x 1 inch) | 2 |
| Bộ giảm áp kế | 1 |
| Khớp nối | 1 |
| Áp kế | 1 |
Gắn khung trên bằng 1 bu lông (1/4-20 x 3/4 inch), 1 đai ốc (1/4-20 inch), 1 bu lông xoáy (5/16-18 x 1 inch) và 1 đai ốc mặt bích (5/16-18 inch) như được minh họa trong Hình 9.

Siết chặt mặt sau của khung trên bằng 1 bulông hình chữ U, 1 bu lông (3/8-16 x 1 inch) và 3 đai ốc mặt bích (3/8-16 inch) như được minh họa trong Hình 10.

Note: Nếu bình rửa đã được tháo ra trước khi lắp đặt khung trên, hãy lắp bình rửa trước khi chuyển sang bước tiếp theo.
Gắn khung dưới và khung nâng dưới vào khung bằng 2 bu lông (3/8-16 inch), 2 bu lông (3/8-16 x 3 1/2 inch) và 4 đai ốc mặt bích (3/8-16 inch) như được minh họa trong Hình 11.

Nếu máy của bạn đã lắp bộ bình rửa tùy chọn, hãy căn chỉnh bình với máy như được minh họa trong hình (Hình 12).
Note: Bạn sẽ hoàn thành công tác lắp đặt bình rửa trong Lắp đặt Bình rửa.

Siết chặt khung nâng kệ guồng xoắn vào các khung trên và khung dưới bằng 4 bu lông (3/8-16 x 1 inch), 2 bu lông (3/8-16 x 2 1/4 inch) và 6 đai ốc mặt bích (3/ 8-16 inch) như được minh họa trong Hình 13.

Lắp khung kệ guồng xoắn vào các khe trên khung nâng kệ guồng xoắn và siết chặt kệ bằng 4 bu lông vai, 4 đai ốc mặt bích (5/16-18 inch), 2 bu lông (5/16-18 x 1 inch) và 2 đai ốc hãm (5/16-18 inch) như được minh họa trong Hình 14.

Quấn băng dính PTFE vào các ren trên áp kế và lắp cụm áp kế như được minh họa trong Hình 15.

Siết chặt các bu lông trên khung nâng áp kế vào khung kệ guồng xoắn.
Căn chỉnh giá nẹp với cơ cấu giảm được đúc trên đỉnh của bình rửa (Hình 16)

Căn chỉnh khe trong giá nẹp với lỗ trong giá gắn van (Hình 16).
Lắp lỏng nẹp vào giá gắn van bằng (Hình 16) một bu lông (3/8 x 1-1/2 inch), 2 vòng đệm (3/8 inch) và một êcu hãm mặt bích (3/8 inch) mà bạn đã tháo trong Tháo Bình rửa.
Lặp lại các bước từ 1 đến 3 cho nẹp còn lại ở rãnh bên kia của bình rửa (Hình 16).
Cẩn thận dùng tay siết chặt bu lông và đai ốc mặt bích.
Important: Bình rửa phải được đặt và cố định chắc chắn nhưng nẹp không được làm biến dạng hoặc làm cong bình
Note: Một khi bắt đầu đổ đầy chất lỏng vào bình rửa, hãy kiểm tra nẹp và bình rửa xem có bị xô lệch không (trọng lượng nước trong bình có thể khiến bình nằm sát hơn vào khung). Nếu cần, hãy siết chặt (các) bu lông và (các) êcu hãm mặt bích cho đến khi nẹp đã ôm khít bình rửa — không làm biến dạng bình.
Căn chỉnh đầu nối có ngạnh 90° của ống cấp với vỏ của bộ lọc hút (Hình 18).

Siết chặt đầu nối có ngạnh 90° vào vỏ (Hình 18) bằng chốt hãm đã tháo ra ở bước 1 trong Tháo Bình rửa.
Các bộ phận cần thiết cho quy trình này:
| Bộ dây an toàn | 1 |
| Cụm hộp công tắc | 1 |
| Vòng đệm chặn | 1 |
| Vòng móc | 1 |
| Cụm guồng xoắn ống mềm | 1 |
| Chốt lò xo | 1 |
| Vòng đệm (7/16 inch) | 4 |
| Đai ốc mặt bích (5/16-18 inch) | 2 |
| Bu lông (5/16-18 x 1/4 inch) | 2 |
| Vòng đệm | 1 |
| Đai ốc mặt bích (3/8-16 inch) | 4 |
| Bu lông (3/8-16 x 1 inch) | 4 |
Note: Cầu chì cho mô-tơ ống mềm-guồng xoắn nằm trong hộp công tắc (Hình 19).

Thả tấm xoay vào lỗ trên đế ống mềm-guồng xoắn.
Ở mặt dưới của khung ống mềm-guồng xoắn, gắn vòng đệm chặn và vòng móc vào cọc trên tấm xoay (Hình 20).

Gắn hộp công tắc vào tấm xoay bằng 2 bu lông (5/16-18 x 1/4 inch) và 2 đai ốc mặt bích (5/16-18 inch) như được minh họa trong Hình 21.

Siết chặt bộ dây an toàn vào các mặt của tấm xoay bằng các móc kẹp hiện có (Hình 21).
Siết chặt guồng xoắn ống mềm vào tấm xoay bằng 4 bu lông ((3/8-16 x 1 inch), 4 vòng đệm (7/16 inch) và 4 đai ốc mặt bích (3/8-16 inch) như được minh họa trong Hình 22.
Note: Mô-tơ ống mềm-guồng xoắn phải hướng ra xa bảng công tắc.

Lắp vòng đệm và chốt lò xo vào mặt dưới của khung ống mềm-guồng xoắn (Hình 23).

Kết nối các phích cắm của bộ dây an toàn còn lại với mô-tơ, nguồn điện của bộ dây chính và phích cắm của bộ guồng xoắn ống mềm.
Các bộ phận cần thiết cho quy trình này:
| Van điều khiển | 1 |
| Đầu nối chữ T | 1 |
| Kẹp ống mềm | 1 |
| Lạt nhựa | 3 |
| Kẹp chữ R | 1 |
| Ống mềm (71 inch) | 1 |
| Kẹp | 1 |
| Khuỷu 90° | 1 |
| Khớp nối ống | 1 |
| Đai ốc (1/4-20 inch) | 1 |
| Đai ốc mặt bích (3/8-16 inch) | 1 |
| Ống chuyển đổi áp suất | 1 |
| Bu lông (1/4-20 x 3/4 inch) | 1 |
| Giá gắn van | 1 |
| Giá đỡ van điều khiển | 1 |
| Bu lông (6 x 12 mm) | 4 |
| Vòng đệm (8 mm) | 4 |
| Bu lông đầu mặt bích (6 x 16 mm) | 4 |
| Êcu hãm mặt bích (6 mm) | 4 |
Ngắt kết nối đầu nối 3 ổ cắm của bộ chuyển đổi áp suất (Hình 25).

Tháo kẹp mặt bích đang siết chặt bộ chuyển đổi áp suất vào đầu nối 90° và tháo bộ chuyển đổi, miếng đệm và kẹp mặt bích (Hình 26).

Tháo kẹp mặt bích đang siết chặt đầu nối 90° với đầu nối 90° bằng đầu nối cho ống cảm biến, và tháo đầu nối 90°, miếng đệm và kẹp mặt bích (Hình 26)
Lắp ráp giá gắn van lên trên van điều khiển như được minh họa ở hình A trong Hình 27.

Siết chặt giá gắn van vào van điều khiển bằng vít đầu mặt bích (#6) và siết chặt vít bằng tay (hình B trong Hình 27).
Lắp giá gắn van vào giá đỡ van điều khiển (Hình 28) bằng 4 bu lông (6 x 12 mm) và 4 vòng đệm phẳng; tạo mô-men xoắn cho các bu lông từ 10 đến 12 N∙m (86 đến 106 in-lb).

Căn chỉnh mặt bích của đầu nối chữ T với mặt bích của van điều khiển như được minh họa trong Hình 29.

Gắn lỏng đầu nối chữ T vào van điều khiển bằng miếng đệm và kẹp mặt bích (Hình 29).
Căn chỉnh mặt bích của bộ chuyển đổi áp suất với mặt bích của đầu nối chữ T như được minh họa trong Hình 30.

Lắp bộ chuyển đổi áp suất vào đầu nối chữ T bằng một miếng đệm và kẹp mặt bích, và dùng tay siết chặt kẹp (Hình 30).
Căn chỉnh mặt bích của đầu nối chữ T với mặt bích của đầu nối 90° với đầu nối cho ống cảm biến (Hình 31).

Lắp lỏng đầu nối chữ T và đầu nối 90°bằng miếng đệm và kẹp mặt bích (Hình 31)
Note: Xoay giá đỡ van điều khiển khi cần thiết để căn chỉnh ngang bằng với bề mặt của giá gắn van.
Sử dụng giá đỡ van điều khiển làm mẫu để đánh dấu vị trí của các lỗ trong giá đỡ trên bề mặt của giá gắn cổ góp (Hình 32).

Tháo kẹp, miếng đệm, đầu nối chữ T với mặt bích ra khỏi đầu nối 90° với đầu nối cho ống cảm biến (Hình 31).
Đục lỗ ở giữa các dấu trên giá gắn cổ góp mà bạn đã thực hiện ở bước 3.
Khoan 4 lỗ 6 mm (1/4 inch) vào giá gắn cổ góp ở dấu đục lỗ ở giữa mà bạn đã thực hiện ở bước 5.

Căn chỉnh mặt bích của đầu nối chữ T với mặt bích của đầu nối 90° với đầu nối cho ống cảm biến (Hình 34).

Lắp lỏng đầu nối chữ T và đầu nối 90°bằng miếng đệm và kẹp mặt bích (Hình 34).
Lắp giá đỡ van điều khiển vào giá gắn cổ góp (Hình 35) bằng 4 bu lông đầu mặt bích (6 x 16 mm) và 4 êcu hãm mặt bích (6 mm); tạo mô-men xoắn cho các bu lông từ 10 đến 12 N∙m (86 đến 106 in-lb).
Dùng tay siết chặt kẹp mặt bích đang siết chặt van điều khiển và đầu nối chữ T (Hình 29) và kẹp mặt bích đang siết chặt đầu nối chữ T với đầu nối 90° với đầu nối cho ống cảm biến (Hình 31và Hình 34).
Kết nối đầu nối 3 ổ cắm của bộ chuyển đổi áp suất (Hình 35).

Lắp ống mềm của tay phun lên trên đầu nối ống mềm có ngạnh của van điều khiển, và siết chặt ống vào đầu nối bằng kẹp ống mềm (Hình 36).

Siết chặt ống mềm 180 cm (71 inch) vào khung trên bằng kẹp chữ R, bu lông (1/4-20 x 3/4 inch) và đai ốc (1/4-20 inch) như được minh họa trong Hình 37.

Bôi chất bịt kín PTFE vào các ren trên đầu nối chữ T và kết nối đầu nối chữ T với van điều khiển (Hình 37).
Bôi chất bịt kín PTFE vào các ren trên khớp nối và kết nối khớp nối với đầu nối chữ T (Hình 37).
Nối ống chuyển đổi áp suất với khớp nối tại đầu nối chữ T ở khuỷu 90° và khớp nối tại áp kế (Hình 38).

Kết nối ống mềm 180 cm (71 inch) với đầu nối của ống mềm có ngạnh trên cụm guồng xoắn ống mềm và siết chặt ống mềm vào đầu nối bằng kẹp ống mềm như được minh họa trong Hình 39.

Siết chặt bộ dây an toàn của bộ guồng xoắn ống mềm xoay vào ống mềm cấp cho guồng xoắn bằng 3 dây buộc cáp (Hình 39).
Các bộ phận cần thiết cho quy trình này:
| Ống mềm của súng phun tưới có đầu nối | 1 |
| Súng phun tưới | 1 |
| Kẹp ống mềm nhỏ | 1 |
Bôi chất bịt kín PTFE vào các ren của đầu nối ống mềm trên ống mềm dài và lắp đầu nối vào ống kết nối trên guồng xoắn (Hình 40).

Kết nối đầu tự do của ống mềm dài với ống nối trên súng phun tưới (Hình 41).

Siết chặt đầu của ống mềm bằng kẹp ống mềm nhỏ.
Kết nối cáp ắc quy như sau:
Định tuyến cáp ắc quy không chính xác có thể làm hỏng máy và dây cáp, gây ra tia lửa. Tia lửa có thể gây nổ khí bình ắc quy, gây thương tích cá nhân.
Luôn ngắt kết nối cáp âm (màu đen) của ắc quy trước khi ngắt kết nối cáp dương (màu đỏ).
Luôn kết nối cáp dương (màu đỏ) của ắc quy trước khi kết nối cáp âm (màu đen).
Kết nối cáp dương của ắc quy với cọc dương của ắc quy; tham khảo Hướng dẫn Vận hành.
Kết nối cáp âm của ắc quy với cọc âm của ắc quy; tham khảo Hướng dẫn Vận hành.
Nhấn nút quấn ống mềm, và cẩn thận hướng ống mềm vào guồng xoắn đồng thời di chuyển ống mềm từ bên này sang bên kia để ống mềm được bố trí đồng đều.
Tay, quần áo rộng, tóc dài và đồ trang sức lỏng lẻo có thể bị vướng vào ống mềm và guồng xoắn trong quá trình quấn gây ra thương tích.
Giữ cho tay ở xa guồng xoắn và ống mềm khi đang quấn.
Không mặc quần áo rộng hoặc đeo đồ trang sức lỏng lẻo và buộc tóc dài lên.
Chất lỏng thoát ra khỏi hệ thống phun dưới áp suất có thể thấm qua da và gây thương tích.
Đảm bảo tất cả các ống mềm và đường dẫn ở tình trạng tốt và tất cả các kết nối và ống nối đều được siết chặt trước khi tạo áp lực lên hệ thống phun tưới.
Hãy giữ cho cơ thể và tay của bạn không bị dính vào chất lỏng có áp suất cao bị phun ra từ các lỗ và ống rò rỉ.
Sử dụng bìa cứng hoặc giấy để tìm chỗ bị rò chất lỏng.
Giảm áp suất trong hệ thống phun tưới một cách an toàn trước khi thực hiện bất kỳ công việc nào trên hệ thống phun tưới.
Tìm kiếm dịch vụ chăm sóc y tế ngay lập tức nếu bị tiêm chất lỏng vào da.
Đổ đầy nước sạch vào một phần bình phun.
Khởi động động cơ, đặt tốc độ động cơ ở vị trí nửa van tiết lưu, và đặt công tắc bơm phun ở vị trí BậT; tham khảo Hướng dẫn Vận hành.
Đảm bảo van điều khiển ở cuối cổ góp phần được mở.
Kiểm tra rò rỉ ở cổ góp, van điều khiển và ống mềm.
Sử dụng công tắc tốc độ trong hộp công tắc để tăng áp suất hệ thống phun tưới ở guồng xoắn ống mềm.
Kiểm tra rò rỉ của các thành phần sau:
đầu nối và khớp nối
áp kế và van guồng xoắn ống mềm
ống, ống mềm và súng phun tưới
Note: Sửa chữa tất cả các chỗ rò rỉ trước khi vận hành hệ thống phun tưới.
Đóng van điều khiển cho guồng xoắn ống mềm, đặt công tắc bơm phun ở vị trí TắT và tắt động cơ.
Chất lỏng có áp suất có thể xuyên phá qua da và gây thương tích.
Giữ cơ thể và tay tránh ở xa mắt phun đang phun ra chất lỏng có áp suất cao.
Không được hướng máy phun vào người hoặc động vật.
Đảm bảo tất cả các ống mềm và đường dẫn chất lỏng ở tình trạng tốt và tất cả các kết nối và ống nối đều được siết chặt trước khi tạo áp lực lên hệ thống.
Sử dụng bìa cứng hoặc giấy để tìm chỗ bị rò rỉ.
Giảm áp suất trong hệ thống một cách an toàn trước khi thực hiện bất kỳ công tác nào trên hệ thống.
Tìm trợ giúp y tế ngay lập tức nếu chất lỏng bị phun vào da.
Hóa chất và chất lỏng nóng có thể gây bỏng hoặc tổn hại khác.
Important: Luôn đổ hết chất lỏng và làm sạch máy phun ngay sau mỗi lần sử dụng. Nếu không làm được như vậy, có thể làm cho hóa chất bị khô hoặc đặc lại trong đường dẫn, làm tắc máy bơm và các bộ phận khác.
Làm sạch hệ thống phun sau mỗi lần phun. Để làm sạch hệ thống phun đúng cách:
Sử dụng 3 lần rửa riêng biệt.
Sử dụng tối thiểu 189 L (50 US gallon) cho mỗi lần rửa.
Sử dụng chất tẩy rửa và chất trung hòa theo khuyến nghị của các nhà sản xuất hóa chất.
Sử dụng nước sạch (không có chất tẩy rửa hoặc chất trung hòa) cho lần rửa cuối cùng.
Vừa lái xe vừa sử dụng máy phun cầm tay có thể gây mất kiểm soát, dẫn đến gây thương tích hoặc tử vong. Không vận hành máy phun cầm tay khi lái xe.
Dừng máy, tắt cần và gài phanh tayđỗ.
Ở phía sau của máy, đảm bảo đã khóa đối với khóa kích hoạt trên súng phun xịt.
Lật cần trên van điều khiển sang vị trí Mở.
Tại vị trí của người vận hành, bật máy bơm.
Chuyển cần chính sang vị trí BậT.
Đặt động cơ ở tốc độ mong muốn, sau đó đặt khóa tốc độ động cơ ở số mo.
Important: Không sử dụng thiết lập áp suất cao hơn 1034 kPa với máy phun cầm tay.
Kéo đoạn ống mềm đủ chiều dài mong muốn ra khỏi guồng xoắn.
Important: Không kéo ống mềm ra bằng súng phun tưới. Luôn phải cầm giữ và kéo trực tiếp ống mềm. Dùng súng kéo ống mềm có thể làm gãy đầu nối trên súng hoặc làm hư hại ống mềm.
Nhả khóa kích hoạt.
Hướng mắt phun xịt của súng phun xịt vào khu vực cần phun và kéo khóa kích hoạt.
Nhả khóa kích hoạt và cài khóa kích hoạt khi hoàn tất.
Tay, quần áo rộng, tóc dài và đồ trang sức lỏng lẻo có thể bị vướng vào ống mềm và guồng xoắn trong quá trình quấn gây ra thương tích.
Giữ cho tay ở xa guồng xoắn và ống mềm khi đang quấn.
Không mặc quần áo rộng hoặc đeo đồ trang sức lỏng lẻo và buộc tóc dài lên.
Nhấn nút quấn lại trên guồng xoắn ống mềm cho đến khi chỉ còn tầm một mét ống mềm nằm ngoài guồng xoắn.
Lật cần trên van điều khiển sang vị trí ĐóNG.
Hướng mắt phun của súng phun tưới vào khu vực an toàn để phun, nhả khóa kích hoạt và kéo khóa kích hoạt cho đến khi tất cả chất lỏng còn lại thoát ra khỏi ống mềm, sau đó cài khóa kích hoạt.
Đặt súng phun tưới trở lại giá đỡ ở phía sau guồng xoắn.
Đặt động cơ trở lại tốc độ chạy không tải.
Dừng máy bơm.
Important: Đảm bảo sử dụng nước sạch để dội xả súng phun xịt trong quá trình vệ sinh hàng ngày (tham khảo Hướng dẫn Vận hành máy phun của bạn). Không vệ sinh súng phun xịt đúng cách có thể làm giảm hiệu suất và độ ổn định của bộ guồng xoắn ống mềm và súng phun tưới.
Sử dụng công tắc tốc độ để đặt áp suất mong muốn.