ផលិតផលអនុលោមតាមសេចក្ដីណែនាំអឺរ៉ុបពាក់ព័ន្ធទាំងអស់។ សម្រាប់ព័ត៌មានលម្អិត សូមមើលសេចក្ដីប្រកាសរបស់សាជីវកម្ម (DOI) នៅផ្នែកខាងក្រោយសៀវភៅនេះ។
កាលីហ្វ័រញ៉ា
សំណើប្រជាមតិលេខ 65 ការព្រមាន
បំពង់ផ្សែងរបស់ម៉ាស៊ីនចេញពីផលិតផលនេះមានផ្ទុកនូវសារធាតុគីមីដែលត្រូវបានរដ្ឋកាលីហ្វ័រញ៉ា ទទួលស្គាល់ថាបង្កឱ្យមានជំងឺមហារីក ទារកកើតមកមិនគ្រប់លក្ខណៈ និងបង្កគ្រោះថ្នាក់ផ្សេងៗដល់ប្រព័ន្ធបន្តពូជ។
បង្គោលអាគុយ ប៉ូលអាគុយ និងគ្រឿងបន្ទាប់បន្សំ ពាក់ព័ន្ធផ្សេងៗមានផ្ទុកជាតិសំណ និងសមាសធាតុសំណដែលជាសារធាតុគីមីដែលត្រូវបានរដ្ឋកាលីហ្វ័រញ៉ាទទួលស្គាល់ថាបង្កឱ្យមានជំងឺមហារីក និងបង្កគ្រោះថ្នាក់ដល់ប្រព័ន្ធបន្តពូជ។ លាងសម្អាតដៃបន្ទាប់ពីប៉ះពាល់។
![]() |
រូបភាពណែនាំ ឬការណែនាំអំពីសុវត្ថិភាព គឺងាយមើលឃើញដោយអ្នកបញ្ជា ហើយស្ថិតនៅជិតតំបន់ដែលអាចមានគ្រោះថ្នាក់។ ប្ដូរចេញរូបភាពណាមួយដែលខូចឬបាត់។ |





Important: ឧបករណ៍នេះអាចមានការប្រើបានសម្រាប់តែ ProPass ដែលត្រូវបានបំពាក់ជាម៉ាស៊ីនដែលមានសណ្ដោងនៅខាងក្រោយប៉ុណ្ណោះ។
គ្រឿងបន្លាស់ដែលត្រូវការសម្រាប់នីតិវិធីនេះ៖
| ការដំឡើងធុងហាយដ្រូលិក | 1 |
| ក្រចាប់បំពង់ទុយោ | 1 |
ការដំឡើងឧបករណ៍មុនពេលផ្តាច់ប្រភពហាយដ្រូលិក និងអគ្គិសនីខាងក្រៅទាំងអស់ អាចធ្វើឱ្យអ្នកឆក់ភ្លើង និង/ឬសារធាតុហាយដ្រូលិកដែលមានសម្ពាធខ្យល់ (សម្ពាធទឹក) ដែលបណ្តាលឱ្យមានរបួសធ្ងន់ធ្ងរ ឬស្លាប់បាន។
មុនពេលដំឡើងម៉ូទ័រប្រេងហាយដ្រូលិក សូមផ្តាច់ប្រភពថាមពលហាយដ្រូលិក និងអគ្គិសនីខាងក្រៅទាំងអស់។
ចតគ្រឿងចក្រនៅលើផ្ទៃរាបស្មើ បន្ទាបដូយចុះ ផ្ដាច់គ្រឿងចក្រពីត្រាក់ទ័រសណ្ដោង ហើយកល់កំណល់កង់មុខក្រោយ។
អនុវត្តតាមសេចក្ដីណែនាំដែលបានផ្ដល់ជូននៅក្នុង សៀវភៅណែនាំអ្នកបញ្ជា សម្រាប់គ្រឿងចក្រ ដោះ Twin Spenner ចេញ ហើយរឹតទុយោហាយដ្រូលិក និងទុយោបញ្ជូនត្រឡប់ ឲ្យជាប់។
Important: ម៉ូដែល ProPass មួយចំនួនមានតួជញ្ជាំងខាងក្រោយខួងហើយស្រាប់។ បើគ្រឿងចក្ររបស់អ្នកមានតួជញ្ជាំងខាងក្រោយខួងហើយស្រាប់ សូមយោងទៅលើ ការចាប់ម៉ាស៊ីន។
ដោះ ហើយរក្សាទុកប៊ូឡុងម៉ោនទាំង 2 ចេញពីតួជញ្ជាំងខាងក្រោយដើម្បីទុកឲ្យអាចចាប់ធុងហាយដ្រូលិកបាន។
ត្រូវប្រាកដថាតួជញ្ជាំងខាងក្រោយមានកន្លែងទំនេរដើម្បីចាប់ធុងហាយដ្រូលិក។
ដោះការដំឡើងធុងហាយដ្រូលិកពីប្រអប់។
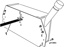
ទ្រធុងហាយដ្រូលិកពីខាងក្រោម ហើយដាក់ធុងផ្អែកលើតួជញ្ជាំងខាងក្រោយ។ ធុងនេះត្រូវមានការដាក់ឲ្យចំកណ្តាលស្មើគ្នាពីឆ្វេងទៅស្តាំ ហើយគួរដាក់បញ្ឈរឡើង (រូបភាព 1)។

ត្រូវប្រាកដថាគ្រឿងខ្ចៅមួលខាងក្នុង និងគ្រឿងខ្ចៅមួលខាងក្រៅ និងក្រចាប់បំពង់ទុយោត្រូវគ្នាសមសួនល្អនៅក្នុងរន្ធមូលនៃតួជញ្ជាំងខាងក្រោយ (រូបភាព 2)។

ត្រូវប្រាកដថាធុងហាយដ្រូលិករាបស្មើ។
ដោយប្រើក្រចាប់រាងអក្សរ C ឬឧបករណ៍ស្រដៀងគ្នា ជាបណ្ដោះអាសន្នរឹតធុងហាយដ្រូលិកឲ្យណែនល្អនៅលើតួជញ្ជាំងខាងក្រោម។
ត្រូវប្រាកដថាធុងហាយដ្រូលិកនៅតែរាបស្មើ។
ដៅទីតាំងនៃរន្ធចាប់ធុងហាយដ្រូលិកលើតួជញ្ជាំងខាងក្រោយ។
ដោះក្រចាប់ និងដោះធុងហាយដ្រូលិកចេញ។
ទម្លុះឲ្យចំកណ្តាលទីតាំងនៃរន្ធដែលបានដៅ។
ខួងរន្ធអង្កត់ផ្ចិតជម្រៅ 7/16 អ៊ីញកាត់តាមតួជញ្ជាំងខាងក្រោយនៅត្រង់ទីតាំងដែលបានដៅ និងទម្លុះនីមួយៗ។
ធ្វើឲ្យរន្ធនីមួយៗស្អាតរលោងល្អ។
គ្រឿងបន្លាស់ដែលត្រូវការសម្រាប់នីតិវិធីនេះ៖
| ការដំឡើងម៉ាស៊ីន | 1 |
| ប៊ូឡុង (½ x 5 អ៊ិញ) | 2 |
| អាគុយ | 1 |
| ការទប់អាគុយមិនឲ្យឡើង | 1 |
| ខ្សែក្រវ៉ាត់ចងអាគុយ | 1 |
| ប៊ូឡុងអាគុយ | 2 |
| ទ្រនាប់ប៊ូឡុងអាគុយ | 2 |
| រ៉ង | 2 |
| ក្បាលឡោស៊ីសំប៉ែត | 2 |
ត្រូវប្រាកដថាបំពង់ទំពក់សណ្ដោងនោះស្អាត និងគ្មានភាពកខ្វក់ ឬកំទេចកំទី។
រុះរើការដំឡើងម៉ាស៊ីន។
បន្ធូរ តែកុំដោះចេញ ប៊ូឡុង និងខ្ចៅទាំងពីរសម្រាប់រឹតភ្ជាប់ក្រចាប់ម៉ាស៊ីនទៅនឹងបន្ទះចាប់ម៉ាស៊ីន (រូបភាព 3)។

ដោះខ្ចៅទាំង 2 ដែលចាប់ជាប់នឹងអាគុយ ហើយសង្កត់ខ្សែចុះឲ្យត្រូវកន្លែង ហើយដាក់ខ្ចៅ រ៉ង និងប៊ូឡុងបំពង់ទោចំហៀង(រូបភាព 4)។

ដោះអាគុយចេញពីទីតាំងរបស់វានៅលើបង្គុំ ហើយដាក់តម្រងប្រេងប្រអប់លេខនៅលើគ្រឿងទប់បាត។
សាកថ្ម សូមមើល ការសាកអាគុយ។
ហៅនរណាម្នាក់ឲ្យមកជួយអ្នកដើម្បីាក់បង្គុំម៉ាស៊ីនលើបំពង់ទំពក់សណ្ដោង។
ត្រូវប្រាកដថាក្រចាប់ដែកភ្ជាប់ម៉ាស៊ីននៅជាប់នឹងបំពង់ទំពក់សណ្ដោង (រូបភាព 5) ហើយផ្នែកខាងក្រោយនៃបន្ទះដែកភ្ជាប់ម៉ាស៊ីនមានចម្ងាយប្រហែល 25 មីលីម៉ែត្រ (1 អ៊ីញ) ពីឧបករណ៍ទទួលបំពង់ទំពក់សណ្ដោង(រូបភាព 6)។


ស៊កប៊ូឡុងទាំង 2 ទំហំ (½ x 5 អ៊ិញ) ចូលក្នុងរន្ធក្រចាប់ដែកភ្ជាប់ម៉ាស៊ីន ដោយធានាថារ៉ង ឬទ្រនាប់ត្រូវបានបំពាក់ទល់មុខផ្នែកខាងក្រៅនីមួយៗនៃក្រចាប់ដែកភ្ជាប់ម៉ាស៊ីន ហើយធានាថាប៊ូឡុងឆ្លងកាត់ក្រោមបាតបំពង់ទំពក់សណ្ដោង។ ប្រើដៃរឹតខ្ចៅទាំង 2 (½ អ៊ីញ) ដូចបានបង្ហាញនៅក្នុង រូបភាព 7។

សារ៉េក្រចាប់ដែកភ្ជាប់ម៉ាស៊ីនដើម្បីឲ្យវាតឹងណែននឹងទំពក់សណ្ដោង។ រឹតប៊ូឡុងទាំង 2 ឲ្យតឹងដែលអ្នកបានបន្ធូរតាមជំហាន 3។
ត្រូវប្រាកដថាបន្ទះដែកភ្ជាប់ម៉ាស៊ីនរាបស្មើ ហើយរឹតប៊ូឡុងទាំង 2 ឲ្យតឹង ប៊ូឡុង (½ x 5 អ៊ិញ) ក្នុងរន្ធខាងក្រោមរបស់ក្រចាប់ដែកភ្ជាប់ម៉ាស៊ីន។
ដាក់អាគុយនៅលើថាសដាក់អាគុយ កំណត់ទីតាំងក្បាលអាគុយដែលបានបង្ហាញនៅក្នុង រូបភាព 8។
កំណត់ទីតាំងការទប់អាគុយមិនឲ្យឡើងនៅលើអាគុយ (រូបភាព 8)។
រុំខ្សែក្រវ៉ាត់ចងអាគុយជុំវិញបាតនៃបំពង់ទំពក់សណ្ដោង (រូបភាព 8)។
នៅផ្នែកខាងស្តាំ ដំឡើងប៊ូឡុងអាគុយតាមរ៉ង ខ្សែក្រវ៉ាត់ចងអាគុយ បន្ទះដែកភ្ជាប់ម៉ាស៊ីន ថាសដាក់អាគុយ ទ្រនាប់ប៊ូឡុងអាគុយ ហើយឧបករណ៍ទប់ឲ្យនៅកម្រិតទាប។ ដំឡើងក្បាលឡោស៊ីសំប៉ែតឲ្យរលុង (រូបភាព 8)។
Note: ត្រូវប្រាកដថាប៊ូឡុងត្រូវបានដំឡើងពីបាតខាងក្រោម។
នៅផ្នែកខាងឆ្វេង ដំឡើងប៊ូឡុងអាគុយតាមរ៉ង ខ្សែក្រវ៉ាត់ចងអាគុយ បន្ទះដែកភ្ជាប់ម៉ាស៊ីន ថាសដាក់អាគុយ ទ្រនាប់ប៊ូឡុងអាគុយ ហើយឧបករណ៍ទប់ឲ្យនៅកម្រិតទាប។ ដំឡើងក្បាលឡោស៊ីសំប៉ែតអោយរលុង (រូបភាព 8)។
ត្រូវប្រាកដថាអ្វីៗត្រូវយកចិត្តទុកដាក់ និងរឹតបន្តឹងខ្ចៅ។

គ្រឿងបន្លាស់ដែលត្រូវការសម្រាប់នីតិវិធីនេះ៖
| ក្បាលទុយោ | 1 |
| ទុយោបញ្ជូនត្រឡប់អ៊ីក្រូលិក (ទុយោ #3) | 1 |
| ទុយោបឺតអ៊ីក្រូលិក (ទុយោ #4) | 1 |
| ប៊ូឡុង (¼ x ¾ អ៊ីញ) | 4 |
| ខ្ចៅខ្ទាស់ (1/4 អ៊ីញ) | 4 |
| ប៊ូឡុង (⅜ x 1 អ៊ិញ) | 4 |
| ក្បាលឡោស៊ីរឹតពីរជាន់ (⅜ អ៊ិញ) | 4 |
| រ៉ងសំប៉ែត | 4 |
ដោះប្រអប់ក្បាលទុយោ ទុយោបញ្ជូនត្រឡប់អ៊ីក្រូលិក (ទុយោ #3) ទុយោបឺតអ៊ីក្រូលិក (ទុយោ #4) ប៊ូឡុងទាំង 4 គ្រាប់ ប៊ូឡុង (¼ x ¾ អ៊ីញ) និង ក្បាលឡោស៊ី 4 គ្រាប់ (¼ អ៊ីញ)។
Note: ដោះទុយោដែលរឹតក្បាលទុយោ ទុយោបញ្ជូនត្រឡប់ហាយដ្រូលិក ទុយោបឺតហាយដ្រូលិកសម្រាប់ដឹកជញ្ជូន។
ដោយប្រើប៊ូឡុង 2 គ្រាប់ (1/4 x 3/4 អ៊ីញ) និងក្បាលឡោស៊ីសំប៉ែត ភ្ជាប់ក្បាលទុយោទៅនឹងក្រចាប់នៅលើធុងហាយដ្រូលិក (រូបភាព 9)។

Note: ត្រូវតែដោះប៊ូឡុងម៉ោនទាំង 2 គ្រាប់ចេញពីតួជញ្ជាំងខាងក្រោយ។ ប្រើប៊ូឡុងដែលដោះចេញនោះទៅចាប់ភ្ជាប់ធុង។
ដោះប្រអប់ប៊ូឡុងទាំង 4 គ្រាប់ (3/8 x 1 អ៊ិញ) និងក្បាលឡោស៊ីនីឡុងចេញ។ ដោយទប់ធុងហាយដ្រូលិកពីខាងក្រោម ដាក់ក្បាលទុយោ និងទុយោហាយដ្រូលិក #3 និង #4 កាត់តាមរន្ធធំកណ្ដាលលើតួជញ្ជាំងខាងក្រោយ និងដាក់ធុងហាយដ្រូលិកទល់នឹងតួជញ្ជាំងខាងក្រោយ។ រឹបភ្ជាប់ ឬរឹតប៊ូឡុងធុងហាយដ្រូលិកនៅទីតាំងសមស្រប។
Note: គប្បីគួរតែស៊កក្បាលទុយោតាមរន្ធកណ្ដាលនៅលើផ្នែកខាងមុខនៃតួ។ អាចត្រូវការមនុស្ស 2 នាក់។
ដំឡើងទយោបញ្ជូនត្រឡប់ហាយដ្រូលិក (#3) និងទុយោបឺតហាយដ្រូលិក (#4) ទៅនឹងគ្រឿងបង្គុំសមស្របនៅលើធុងហាយដ្រូលិក។
Note: ទុយោ #3 និងទុយោ #4 មិនមានគ្រឿងបង្គុំដូចគ្នាទេ ទុយោនីមួយៗនឹងត្រូវគ្នាចំពោះគ្រឿងបង្គុំត្រឹមត្រូវនៅក្នុងធុងហាយដ្រូលិកតែប៉ុណ្ណោះ។
Note: នៅពេលដំឡើងភ្ជាប់ទុយោ ត្រូវប្រាកដថាមានប្រឡោះគ្រប់គ្រាន់សម្រាប់សំបកកង់។
ក្បាលទុយោគប្បីគួរតែដាក់នៅលើផ្នែកខាងលើនៃតាបពីជើងបញ្ឈរនៃថាសដាក់អាគុយ (រូបភាព 10)។ បើរន្ធនៅក្នុងក្បាលទុយោមិនត្រូវគ្នាជាមួយរន្ធនៅលើថាសដាក់អាគុយទេ នោះគេអាចលៃតម្រូវប្រវែងក្បាលទុយោដោយបន្ធូរប៊ូឡុងដែលភ្ជាប់ក្បាលទុយោទៅកាន់ក្រចាប់ធុងហាយដ្រូលិក ហើយរុញក្បាលទុយោទៅមុខ ឬថយក្រោយតាមតម្រូវការ។

ភ្ជាប់ក្បាលទុយោទៅនឹងក្បាលថាសដាក់អាគុយដោយប្រើប៊ូឡុង 2 គ្រាប់ (¼ x ¾ អ៊ីញ) និងក្បាលឡោស៊ីសំប៉ែត (រូបភាព 10)។
ចាប់ភ្ជាប់ធុងហាយដ្រូលិកទៅនឹងតួជញ្ជាំងខាងក្រោយដោយប្រើប៊ូឡុងម៉ោនដែលបានដោះចេញពីមុន ក៏ដូចជាប៊ូឡុង (⅜ x 1 អ៊ិញ) និងក្បាលឡោស៊ីនីឡុង និងរ៉ង ឬទ្រនាប់ពីឧបករណ៍ ហើយរឹតខ្ចៅខ្ចងទាំងអស់។
ភ្ជាប់ទុយោហាយដ្រូលិក #3 ទៅនឹងរន្ធតម្រង (រូបភាព 11)។

ភ្ជាប់ទុយោហាយដ្រូលិក #4 ទៅនឹងផ្នែកបឺតនៃបូមហាយដ្រូលិក (រូបភាព 12)។

នៅលើម៉ាស៊ីនជំនាន់ SH (ម៉ូដែល 44701) សូមដោះគ្រឿងខ្ចៅខ្ចងដែលភ្ជាប់គម្របទៅនឹងផ្នែកខាងមុខនៃគ្រឿងចក្រ ហើយដាក់គម្របទៅចំហៀង (រូបភាព 13)។

កំណត់ការភ្ជាប់សម្ពាធ និងត្រឡប់លើម៉ូដែលគ្រឿងចក្រធម្មតា។ សូមយោងទៅលើ រូបភាព 14 សម្រាប់ជំនាន់ SH និង រូបភាព 15 សម្រាប់ជំនាន់ EH។


បើទុយោសម្ពាធ និងត្រឡប់ត្រូវបានដំឡើងពីមុននៅទីតាំងដែលបានបង្ហាញនៅក្នុង រូបភាព 14 និង រូបភាព 15, ត្រូវដោះវាចេញ។
Note: ត្រូវប្រាកដថាទុយោទាំងនោះមិនប៉ះនឹងគ្រឿងក្ដៅ ស្រួច ឬគ្រឿងមានចលនា។ ព្យាយាមដាក់ឲ្យដល់ប្រឡោះឲ្យបានច្រើនពីបំពង់ស៊ីម៉ាំងតាមដែលអាចធ្វើបាន។
ភ្ជាប់ទុយោហាយដ្រូលិកទៅនឹងប្រអប់បញ្ជាហាយដ្រូលិក។ សូមយោងទៅលើ រូបភាព 14 និង រូបភាព 16 នៅលើជំនាន់ SH និង រូបភាព 15 និង រូបភាព 17 នៅលើជំនាន់ EH។


រឹតរាល់ការភ្ជាប់ហាយដ្រូលិក និងគ្រឿងខ្ចងខ្ចៅទាំងអស់។
រៀបចំដំឡើង Twin Spinner ម្ដងទៀត។
ភ្ជាប់ខ្សែខ្មៅ និងខ្សែរត់ហើយស្រាប់ពណ៌ខ្មៅទៅនឹងប៉ូលដករបស់អាគុយ ហើយខ្សែស និងខ្សែរត់ហើយស្រាប់ពណ៌ក្រហមទៅនឹងប៉ូលបូករបស់អាគុយ។
ដោតខ្សែភ្លើងខ្នាតកណ្ដាលទៅនឹងតំណភ្ជាប់ខ្សែភ្លើងនៅលើគ្រឿងចក្រ (រូបភាព 18 ឬ រូបភាព 19)។


ចាក់ប្រេងរំអិលល្អទៅក្នុងម៉ាស៊ីនចំណុះប្រមាណ 1 L (34 fl oz) មុនពេលបញ្ឆេះ សូមយោងទៅលើ ការថែទាំប្រេងម៉ាស៊ីន។
Important: ម៉ាស៊ីនត្រូវបានដឹកចេញពីរោងចក្រដោយគ្មានប្រេង ការព្យាយាមបញ្ឆេះម៉ាស៊ីនមុនពេលអ្នកចាក់ប្រេងនឹងបណ្ដាលឲ្យម៉ាស៊ីនខូច។
ពិនិត្យមើលកម្រិតប្រេងមុនពេលបញ្ឆេះម៉ាស៊ីនលើកដំបូង សូមយោងទៅលើ ការថែទាំប្រេងម៉ាស៊ីន។
ចាក់ទឹកហាយដ្រូលិកល្អទៅក្នុងធុងហាយដ្រូលិក សូមយោងទៅលើ ការថែទាំប្រព័ន្ធហាយដ្រូលិក។
Important: ប្រព័ន្ធហាយដ្រូលិកនឹងមិនចាក់សារធាតុរាវបានពេញទាំងស្រុងនោះទេ រហូតដល់ប្រព័ន្ធត្រូវបានបើកដំណើរការ។ ពិនិត្យមើលកម្រិតទឹកហាយដ្រូលិក ហើយបន្ថែមទឹកបើចាំបាច់ដើម្បីធានាថាវាស្ថិតនៅកម្រិតត្រឹមត្រូវបន្ទាប់ពីប្រើប្រព័ន្ធហាយដ្រូលិកជាលើកដំបូង។
ត្រូវប្រាកដថារាល់ប្រព័ន្ធគ្រប់គ្រងទាំងអស់ត្រូវបានបិទនៅពេលធ្វើការលើប្រអប់ភ្លើង។
Important: ម៉ាស៊ីនត្រូវបានដឹកមក ដោយគ្មានប្រេង។ សូមអានសៀវភៅណែនាំម្ចាស់ម៉ាស៊ីនសម្រាប់ព័ត៌មានបន្ថែម។
ម៉ាស៊ីនត្រូវបានដឹកចេញពីរោងចក្រ ដោយគ្មាន ប្រេង; វាត្រូវតែចាក់បំពេញដោយប្រេងប្រហែល 1 L (34 fl oz) មុនពេលបញ្ឆេះ។
ពិនិត្យកម្រិតប្រេងមុននឹងចាប់ផ្ដើមបញ្ឆេះម៉ាស៊ីនលើកដំបូង ហើយបន្ទាប់មកធ្វើជាប្រចាំថ្ងៃ។
ម៉ាស៊ីនប្រើប្រេងដែលមានគុណភាពខ្ពស់ណាមួយដែលមានវិទ្យាស្ថានប្រេងឥន្ធនៈអាមេរិក - APl - "ចំណាត់ថ្នាក់ផ្នែកសេវាកម្ម" SJ, SL ឬមានតម្លៃស្មើ។ កំហាប់ប្រេង -ទម្ងន់ - ត្រូវតែជ្រើសរើសតាមសីតុណ្ហភាពព័ទ្ធជុំវិញ។ រូបភាព 20 បង្ហាញពីការណែនាំអំពីសីតុណ្ហភាព/កំហាប់ប្រេង។

កំណត់ទីតាំងគ្រឿងចក្រដើម្បីឲ្យម៉ាស៊ីនស្ថិតនៅទីរាបស្មើ។
សម្អាតបរិវេនជុំវិញគម្របចាក់បំពេញប្រេង/ដែកវាស់ប្រេង។
ដោះគម្របចាក់បំពេញប្រេង/ដែកវាស់ប្រេងដោយមួលវាបញ្ច្រាសទិសដៅទ្រនិចនាឡិកា។
ជូតដែកវាស់ប្រេងឲ្យស្អាត រួចស៊កវាចូលក្នុងមាត់តម្រង។ កុំមួលវាចូលក្នុងមាត់តម្រង។
ដោះដែកវាស់ប្រេង ហើយពិនិត្យមើលកម្រិតប្រេង។
បើកម្រិតនៅជិត ឬក្រោមគំនូសក្រិតកំណត់ខាងក្រោមនៅលើដែកវាស់ប្រេង សូមបន្ថែមប្រេងឲ្យបានគ្រប់គ្រាន់ដើម្បីឲ្យឡើងដល់គំនូសក្រិតកំណត់ខាងលើ។
Important: កុំចាក់ប្រេងចូលប្រអប់ប្រេងច្រើនពេក។
ពិនិត្យមើលកម្រិតប្រេងម៉ាស៊ីនម្ដងទៀត។
ដំឡើងគម្របចាក់បំពេញប្រេង/ដែកវាស់ប្រេង ហើយជូតសម្អាតប្រេងដែលហៀរចេញ។
Important: ត្រូវប្រាកដថាប្រេងម៉ាស៊ីនស្ថិតនៅកម្រិតសមស្រប។ បើកម្រិតប្រេងម៉ាស៊ីនមិនត្រឹមត្រូវទេ ម៉ាស៊ីននឹងគាំង ហើយមិនឆេះដំណើរការទេ។
គ្រឿងចក្រត្រូវបានដឹកចេញពីរោងចក្រដោយគ្មានទឹកហាយដ្រូលិកទេ អ្នកត្រូវតែចាក់បំពេញទឹកហាយដ្រូលិកដែលមានគុណភាពខ្ពស់ក្នុងចំណុះ 32.9 L (8.7 US gallons)។ ពិនិត្យកម្រិតប្រេងវារី មុននឹងចាប់ផ្ដើមបញ្ឆេះគ្រឿងចក្រ ហើយបន្ទាប់មកធ្វើជាប្រចាំថ្ងៃ ការណែនាំឲ្យប្រើទឹកហាយដ្រូលិកមានដូចខាងក្រោម៖
| ប្រេងរំអិលល្អបំផុតសម្រាប់ម៉ាស៊ីនសណ្ដោងអូសទាញហាយដ្រូលិក/ប្រអប់លេខរបស់ក្រុមហ៊ុន Toro (មានក្នុងអាចមានជាធុងចំណុះ 18.9271 លីត្រ [5 ហ្គាឡុន] ឬធុងចំណុះ 208.198 លីត្រ [55 ហ្គាឡុន])។ សូមមើលកាតាឡុកគ្រឿងបន្លាស់ ឬតំណាងចែកចាយ Toro សម្រាប់លេខសម្គាល់គ្រឿងបន្លាស់។) |
ប្រេងរំអិល (ខ្លាញ់គោ) ផ្សេងទៀត៖ បើប្រេងរំអិល (ខ្លាញ់គោ) Toro មិនអាចប្រើបាន ប្រេងរំអិល (ខ្លាញ់គោ) សកលម៉ាស៊ីនអូសទាញដែលមានមូលដ្ឋានពីប្រេងឥន្ធនៈ (UTHF) ផ្សេងទៀតអាចត្រូវបានប្រើ បើលម្អិតផ្នែកបច្ចេកទេសរបស់វាស្ថិតនៅក្នុងលំដាប់ដែលបានរាយសម្រាប់លក្ខណៈសម្ភារដូចខាងក្រោម ហើយវាត្រូវនឹងស្តង់ដារឧស្សាហកម្ម។ យើងសូមមិនណែនាំឲ្យប្រើប្រេងរំអិល (ខ្លាញ់គោ) សំយោគទេ។ ពិគ្រោះយោបល់ជាមួយអ្នកចែកចាយប្រេងរំអិល (ខ្លាញ់គោ) របស់អ្នក ដើម្បីកំណត់អត្តសញ្ញាណផលិតផលដែលពេញចិត្ត។
Important: ប្រព័ន្ធអ៊ីដ្រូលិកនឹងមិនចាក់សារធាតុរាវបានពេញទាំងស្រុងនោះទេ រហូតដល់ប្រព័ន្ធត្រូវបានបើកដំណើរការ។ ពិនិត្យមើលកម្រិតទឹកអ៊ីដ្រូលិក ហើយបន្ថែមទឹកបើចាំបាច់ដើម្បីធានាថាវាស្ថិតនៅកម្រិតត្រឹមត្រូវបន្ទាប់ពីប្រើប្រព័ន្ធអ៊ីដ្រូលិកជាលើកដំបូង។
Note: ក្រុមហ៊ុន Toro នឹងមិនទទួលខុសត្រូវចំពោះការខូចខាតដែលបណ្តាលមកពីការជំនួសមិនត្រឹមត្រូវ ដូច្នេះប្រើប្រាស់ផលិតផលមកពីក្រុមហ៊ុនផលិតដែលមានកេរ្តិ៍ឈ្មោះ ដែលនឹងគាំទ្រការណែនាំរបស់ពួកគេតែប៉ុណ្ណោះ។
| លក្ខណៈសម្ភារ | |||
| ភាពខាប់, ASTM D445 | cSt @ 40° C 55 ដល់ 62cSt @ 100° C 9.1 ដល់ 9.8 | ||
| សន្ទស្សន៍ភាពខាប់, ASTM D2270 | 140 ដល់ 152 | ||
| ចំណុចចាក់, ASTM D97 | -35° F ដល់ -46° F | ||
| លម្អិតផ្នែកបច្ចេកទេសឧស្សាហកម្ម៖ | |||
| API GL-4, AGCO Powerfluid 821 XL, Ford New Holland FNHA-2-C-201.00, Kubota UDT, John Deere J20C, Vickers 35VQ25, និង Volvo WB-101/BM | |||
Note: ប្រេងវារីជាច្រើនស្ទើរតែគ្មានពណ៌ ដែលធ្វើឱ្យវាពិបាកកត់សម្គាល់ការលេចធ្លាយ។ សារធាតុបន្ថែមពណ៌ក្រហមសម្រាប់ប្រេងប្រព័ន្ធអ៊ីដ្រូលិកមាននៅក្នុងដបចំណុះ 20 ml (2/3 fl oz)។ មួយដបគឺគ្រប់គ្រាន់សម្រាប់ 15 ទៅ 22 លីត្រ នៃប្រេងហាយដ្រូលិក។ កុំម្មង់គ្រឿងបន្លាស់លេខ 44-2500 ពីអ្នកចែកចាយពេញសិទ្ធិរបស់ក្រុមហ៊ុន Troro របស់អ្នក។
ប្រុងប្រយ័ត្នជាទីបំផុតនៅពេលចាត់ចែងប្រេង។ ប្រេងគឺងាយឆាបឆេះ ហើយចំហាយរបស់វាក៏អាចផ្ទុះបានដែរ។
ពន្លត់បារី ស៊ីហ្កា ខ្សៀ និងប្រភពទាំងអស់ដែលអាចបង្កការឆេះ។
ប្រើតែធុងប្រេងដែលមានការអនុញ្ញាតប៉ុណ្ណោះ។
ហាមដកគម្របធុងប្រេង ឬចាក់ប្រេងទៅក្នុងធុងនៅពេលដែលម៉ាស៊ីនកំពុងដំណើរការ ឬក្ដៅ។
ហាមចាក់ ឬបង្ហូរប្រេងនៅកន្លែងបិទជិត។
ហាមរក្សាទុកគ្រឿងចក្រ ឬធុងប្រេងនៅកន្លែងដែលមានអណ្ដាតភ្លើង ផ្កាភ្លើង ឬអណ្ដាតឧស្ម័នឆេះ ដូចជាធុងទឹកក្ដៅ ឬឧបករណ៍អគ្គិសនីផ្សេងទៀត។
បើអ្នកកំពប់ប្រេង ហាមបញ្ឆេះមាស៊ីន។ ជៀសវាងការបង្កើតប្រភពឆេះរហូតដល់អស់ចំហាយប្រេងសិន។
ចំណុះធុងសាំង៖ 6.1 L (1.6 US ហា្គឡុង)
ប្រេងឥន្ធនៈដែលបានណែនាំ៖
លទ្ធផលដ៏ល្អបំផុត សូមប្រើតែប្រេងសាំងថ្មីៗ (មានអាយុតិចជាង 30 ថ្ងៃ) គ្មានជាតិសំណ ដែលមានលេខវាស់កម្រិតប្រេងឥន្ធនៈចាប់ពី 87 ឡើងទៅ (R+M)/2 វិធីវាយតម្លៃ)។
អេតាណុល: ប្រេងសាំងដែលមានជាតិអេតាណុលរហូតដល់ 10% (សាំងល្បាយអេតាណុល) ឬ 15% MTBE (methyl tertiary butyl ether) តាមកម្រិតដែលអាចទទួលយកបាន។ អេតាណុល និង MTBE មិនដូចគ្នាទេ។ ប្រេងសាំងដែលមានជាតិអេតាណុល 15% (E15) តាមកម្រិតមិនត្រូវបានអនុញ្ញាតឱ្យប្រើទេ។ កុំប្រើប្រេងសាំងដែលផ្ទុកអេតាណុលលើសពីកម្រិត 10%, ដូចជា E15 (ផ្ទុកអេតាណុល 15%), E20 (ផ្ទុកអេតាណុល 20%), ឬ E85 (ផ្ទុកអេតាណុលរហូតដល់ 85%)។ ការប្រើប្រាស់ប្រេងសាំងដែលមិនមានការយល់ព្រមត្រឹមត្រូវ អាចបណ្តាលឱ្យមានបញ្ហាដំណើរការនិង/ឬការខូចខាតម៉ាស៊ីនដែលអាចមិនស្ថិតក្រោមការធានា។
កុំ ប្រើប្រេងសាំងផ្ទុកជាតិមេតាណុល។
កុំ រក្សាទុកប្រេងឥន្ធនៈមិនថានៅក្នុងស៊ីទែនប្រេង ឬក្នុងធុងប្រេងនៅរដូវរងារនោះទេ លុះត្រាតែអ្នកប្រើទឹកជំនួយប្រេងឥន្ធនៈ។
កុំ បន្ថែមប្រេងទៅក្នុងប្រេងសាំង។
ការសាកអាគុយ បង្កឲ្យកើតមានឧស្ម័ន ដែលអាចផ្ទុះបាន។
ហាមជក់បារីនៅក្បែរអាគុយ ហើយត្រូវរក្សាផ្កាភ្លើងនិងអណ្ដាតភ្លើងឱ្យនៅឆ្ងាយពីអាគុយ។
ប៉ូលអាគុយ ឬឧបករណ៍លោហៈអាចប៉ះនឹងសមាសភាគលោហៈនៃម៉ាស៊ីនអូសទាញ ឬគ្រឿងចក្រដែលបណ្ដាលបែកផ្កាភ្លើង។ ផ្កាភ្លើងអាចធ្វើឱឧស្ម័នរបស់អាគុយផ្ទុះឡើង បណ្តាលឱ្យរងរបួសរាងកាយ។
នៅពេលដក ឬដំឡើងអាគុយ មិនត្រូវឱ្យក្បាលអាគុយប៉ះផ្នែកលោហធាតុរបស់គ្រឿងចក្រទេ។
ហាមទុកឲ្យឧបករណ៍លោហៈប៉ះគ្នាចន្លោះប៉ូលអាគុយនិងផ្នែកធ្វើពីលោហៈណាមួយ។
ការតខ្សែអាគុយមិនត្រឹមត្រូវអាចធ្វើឱ្យខូចគ្រឿងចក្រ និងខ្សែភ្លើង ដែលបណ្ដាលឱ្យមានផ្កាភ្លើង។ ផ្កាភ្លើងអាចធ្វើឲ្យឧស្ម័នរបស់អាគុយផ្ទុះឡើង បណ្តាលឱ្យរងរបួសរាងកាយ។
ត្រូវ ផ្ដាច់ ខ្សែអាគុយអវិជ្ជមាន (ខ្មៅ) មុនពេលផ្ដាច់ខ្សែវិជ្ជមាន (ក្រហម) ជានិច្ច។
តែងតែ ភ្ជាប់ ខ្សែអាគុយវិជ្ជមាន (ក្រហម) មុនពេលភ្ជាប់ខ្សែអវិជ្ជមាន (ខ្មៅ) ជានិច្ច។
ដោះអាគុយចេញពីថាសដាក់អាគុយ។
ដោះខ្សែក្រវ៉ាត់ទប់អាគុយដែលរឹតភ្ជាប់អាគុយទៅនឹងថាស។
ដោះប៊ូឡុងរឹត និងខ្ចៅដែលរឹតភ្ជាប់ខ្សែអាគុយអវិជ្ជមាន (ខ្មៅ) ទៅនឹងប៉ូលអវិជ្ជមាន (-) ហើយផ្ដាច់ខ្សែអវិជ្ជមានចេញ។
ដោះប៊ូឡុងរឹត និងខ្ចៅដែលរឹតភ្ជាប់ខ្សែអាគុយវិជ្ជមាន (ក្រហម) ទៅនឹងប៉ូលអាគុយវិជ្ជមាន (+) ហើយផ្ដាច់ខ្សែវិជ្ជមានចេញ។
សម្អាតផ្ទៃខាងលើនៃអាគុយ។
ភ្ជាប់ឧបករណ៍សាកអាគុយដែលមានកម្លាំង 3 ទៅ 4 អំពែ ទៅក្បាលអាគុយ។ សាកអាគុយនៅកម្រិតពី 3 ទៅ 4 អំពែរ រយៈពេល 4 ទៅ 8 ម៉ោង។
នៅពេលអាគុយត្រូវបានសាកភ្លើង ត្រូវផ្ដាច់ឆ្នាំងសាកចេញពីព្រីភ្លើង និងក្បាលអាគុយ។
ដាក់អាគុយលើថាសដាក់អាគុយ។
ភ្ជាប់ខ្សែអាគុយវិជ្ជមាន (ក្រហម) ទៅប៉ូលអាគុយវិជ្ជមាន (+) ជាមួយនឹងប៊ូឡុងរឹត និងខ្ចៅ ដែលបានដោះចេញពីមុន រួចរុញប៊ូតកៅស៊ូពីលើប៉ូលវិជ្ជមានដើម្បីការពារការឆ្លងភ្លើងដែលអាចកើតមានឡើង។
ភ្ជាប់ខ្សែអាគុយអវិជ្ជមាន (ខ្មៅ) ទៅនឹងប៉ូលអវិជ្ជមាន (–) ជាមួយនឹងប៊ូឡុងរឹត និងខ្ចៅដែលបានដោះចេញពីមុន។
លាបខ្លាញ់ Grafo 112X (Toro គ្រឿងបន្លាស់លេខ 505-47) លើខ្សែប៉ូល និងក្បាលអាគុយ។
ភ្ជាប់ខ្សែក្រវ៉ាត់ទប់អាគុយដើម្បីរឹតភ្ជាប់អាគុយទៅនឹងថាស។
ខ្សែអាគុយត្រូវតែមានសភាពតឹងនៅលើក្បាលអាគុយដើម្បីដើម្បីភ្ជាប់ចរន្តអគ្គិសនីបានល្អ។
ការតខ្សែអាគុយមិនត្រឹមត្រូវអាចធ្វើឱ្យខូចគ្រឿងចក្រ និងខ្សែភ្លើង ដែលបណ្ដាលឱ្យមានផ្កាភ្លើង។ ផ្កាភ្លើងអាចធ្វើឲ្យឧស្ម័នរបស់អាគុយផ្ទុះឡើង បណ្តាលឱ្យរងរបួសរាងកាយ។
ត្រូវ ផ្ដាច់ ខ្សែអាគុយអវិជ្ជមាន (ខ្មៅ) មុនពេលផ្ដាច់ខ្សែវិជ្ជមាន (ក្រហម) ជានិច្ច។
តែងតែ ភ្ជាប់ខ្សែអាគុយវិជ្ជមាន (ក្រហម) មុនពេលភ្ជាប់ខ្សែអវិជ្ជមាន (ខ្មៅ) ជានិច្ច។
បើច្រែះកើតមាននៅប៉ូល សូមផ្ដាច់ខ្សែ (អវិជ្ជមាន (-) ជាមុនសិន) ហើយកោសយកក្រចាប់ និងប៉ូលចេញពីគ្នា។ ភ្ជាប់ខ្សែ (ខ្សែវិជ្ជមាន (+)ជាមុនសិន) ហើយលាបថ្នាំកូតចាហួយប្រេងលើប៉ូលអាគុយ។
ក្បាលអាគុយ ឬឧបករណ៍លោហៈអាចប៉ះគ្នានឹងសមាសធាតុលោហៈរបស់ត្រាក់ទ័រដែលធ្វើឲ្យមានផ្កាភ្លើង។ ផ្កាភ្លើងអាចធ្វើឱឧស្ម័នរបស់អាគុយផ្ទុះឡើង បណ្តាលឱ្យរងរបួសរាងកាយ។
នៅពេលដក ឬដំឡើងអាគុយ មិនត្រូវឱ្យក្បាលអាគុយប៉ះផ្នែកលោហធាតុរបស់គ្រឿងចក្រទេ។
បង្ការឧបករណ៍លោហធាតុប៉ះគ្នារវាងក្បាលអាគុយ និងផ្នែកលោហធាតុរបស់គ្រឿងចក្រ។
ពិនិត្យមើលថាតើក្រចាប់ខ្សែអាគុយចាប់ជាប់ល្អ ហើយរឹតលើគ្រឿងរឹង ឬដែកក្រចាប់ខ្សែអាគុយណាដែលរលុង។
ពិនិត្យមើលក្រចាប់ខ្សែអាគុយ និងក្បាលអាគុយក្រែងល៎មានច្រែះចាប់ បើក្បាលអាគុយទាំងនោះឡើងច្រែះ ត្រូវធ្វើដូចខាងក្រោម៖
ដោះប៊ូឡុងរឹត និងខ្ចៅដែលរឹតភ្ជាប់ខ្សែអាគុយអវិជ្ជមាន (ខ្មៅ) ទៅនឹងប៉ូលអវិជ្ជមាន (-) ហើយផ្ដាច់ខ្សែអវិជ្ជមានចេញ។
ដោះប៊ូឡុងរឹត និងខ្ចៅដែលរឹតភ្ជាប់ខ្សែអាគុយវិជ្ជមាន (ក្រហម) ទៅនឹងប៉ូលអាគុយវិជ្ជមាន (+) ហើយផ្ដាច់ខ្សែវិជ្ជមានចេញ។
សម្អាតក្រចាប់ខ្សែ និងប៉ូលអាគុយ។
ភ្ជាប់ខ្សែអាគុយវិជ្ជមាន (ក្រហម) ទៅប៉ូលអាគុយវិជ្ជមាន (+) ជាមួយនឹងប៊ូឡុងរឹត និងខ្ចៅ ដែលបានដោះចេញពីមុន រួចរុញប៊ូតកៅស៊ូពីលើប៉ូលវិជ្ជមានដើម្បីការពារការឆ្លងភ្លើងដែលអាចកើតមានឡើង។
ភ្ជាប់ខ្សែអាគុយអវិជ្ជមាន (ខ្មៅ) ទៅនឹងប៉ូលអវិជ្ជមាន (–) នៃអាគុយជាមួយនឹងប៊ូឡុងរឹត និងខ្ចៅដែលបានដោះចេញពីមុន។
លាបខ្លាញ់ Grafo 112X (Toro គ្រឿងបន្លាស់លេខ 505-47) លើខ្សែប៉ូល និងក្បាលអាគុយ។
ភ្ជាប់ក្បាលតំណសណ្ដោង ទៅនឹងរថសណ្ដោង។ សូមប្រើកន្លាស់ទំពក់រឹងមាំល្អដែលមានការទទួលអនុម័ត សម្រាប់រថសណ្ដោង។
បើកវ៉ាល់ប្រេង ដាក់ដៃសន្ទះខ្យល់នៅឯកំណាត់បំពង់អ៊ែរ បិទខ្យល់ម៉ាស៊ីន ហើយបញ្ឆេះម៉ាស៊ីន។ នៅពេលម៉ាស៊ីនឆេះ បិទខ្យល់ម៉ាស៊ីន ហើយដំឡើងបំពង់អ៊ែរឲ្យខ្ពស់បំផុត។
សាកល្បងដំណើរការគ្រឿងចក្រ។ ត្រូវប្រាកដថានឹងមិនមានការលេចធ្លាយហាយដ្រូលិក និងធ្វើការលៃតម្រូវបន្ថែមណាមួយទេ។
បន្ទាប់ពីសាកល្បងប្រព័ន្ធហាយដ្រូលិករួច សូមពិនិត្យមើលទឹកហាយដ្រូលិក ហើយចាក់បន្ថែមបើចាំបាច់។
Note: ត្រូវប្រាកដថាខ្សែចង និងគ្រប់ខ្សែមិនអូសលើដីនៅកំឡុងពេលប្រតិបត្តិការ។