Dette produktet er i samsvar med alle relevante europeiske direktiver. Hvis du vil ha mer informasjon, kan du se sammenstillingserklæringen (DOI) på baksiden av denne publikasjonen.
CALIFORNIA
Proposition 65-advarsel
Staten California kjenner til at motoreksosen fra dette produktet inneholder kjemikalier som kan forårsake kreft, fosterskader eller skade forplantningsevnen på andre måter.
Batteriklemmer og -poler og tilknyttet tilbehør inneholder bly og blysammensetninger. Dette er kjemikalier som kan forårsake kreft og forplantningsskader. Vask hendene etter håndtering.
![]() |
Sikkerhetsmerker og -instruksjoner er lett synlige for føreren og er plassert i nærheten av alle områder som representerer en potensiell fare. Skift ut alle merker som er ødelagte eller mangler. |





Important: Dette settet kan kun brukes til en ProPass-enhet som er utstyrt som en slepemaskin.
Deler som er nødvendige for dette trinnet:
| Hydraulisk tank | 1 |
| Monteringsbrakett for slangefører | 1 |
Du kan bli utsatt for elektrisk støt og/eller trykksatt hydraulikkvæske, som kan forårsake alvorlige personskader eller dødsfall hvis du monterer settet før du kobler fra alle eksterne hydrauliske og elektriske kilder.
Før du monterer kraftpakken, koble fra alle eksterne hydraulikk- og strømkilder.
Parker maskinen på en jevn overflate, senk jekkstøtten, koble den fra trekkenheten og sett klosser foran og bak hjulene.
Følg instruksjonene i brukerhåndboken for maskinen, fjern dobbeltspinneren og fest de hydrauliske kraft- returslangene.
Important: Noen ProPass-modeller har en forhåndsdrillet chassisbakvegg. Se Montere motoren hvis maskinen har en forhåndsdrillet chassisbakvegg.
Fjern og ta vare på de to monteringsboltene fra bakveggen til chassiset, slik at hydraulikktanken skal kunne monteres.
Sjekk at bakveggen til chassiset er klar før du monterer hydraulikktanken.
Ta ut hydraulikktankenheten fra kassen.
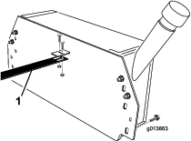
Støtt hydraulikktanken nedenfra og still den mot bakveggen til chassiset. Tanken skal midtstilles jevnt fra venstre til høyre og stilles vertikalt (Figur 1).

Sørg for at inngangsnippelen, utgangsnippelen og monteringsbraketten for slangeføreren passer rett inn i de runde hullene på bakveggen til chassiset (Figur 2).

Kontroller at hydraulikktanken er i vater
Bruk C-klemmer eller lignende til å midlertidig klemme hydraulikktanken på plass på bakveggen til chassiset.
Påse at hydraulikktanken er i vater.
Merk av posisjonen til hydraulikktankens monteringshull på bakveggen til chassiset.
Ta av klemmene og fjern hydraulikktanken.
Bruk en kjørner til å banke inn posisjonen til de markerte hullene.
Drill et 11,11 mm diameterhull gjennom bakveggen til chassiset på hver markerte og bankede posisjon.
Fjern ru kanter fra hvert hull.
Deler som er nødvendige for dette trinnet:
| Motorenhet | 1 |
| Bolt (½ x 5 tommer) | 2 |
| Batteri | 1 |
| Batteritilholder | 1 |
| Batterifestestropp | 1 |
| Batteribolt | 2 |
| Avstandsstykke til batteribolt | 2 |
| Skive | 2 |
| Flensmutter | 2 |
Sørg for at koblingsrøret er rent og fritt for skitt og rusk.
Pakk ut motorenheten.
Løsne, men ikke fjern de to boltene og mutterne som fester monteringsbraketten for motoren til monteringsplaten for motoren (Figur 3).

Fjern de to mutterne som holder batterifestestroppene på plass, og sett mutterne, skivene og boltrøret til side (Figur 4).

Fjern batteriet fra dets posisjon på enheten og sett filteret på basens plate.
Bytt ut batteriet. Se Aktivere og lade batteriet.
Få noen til hjelpe deg med å sette motorenheten på koblingsrøret.
Påse at monteringsbrakettene for motoren sitter på koblingsrøret (Figur 5), og at bakdelen til motorens monteringsplate har 25 mm avstand til koblingsrørmottakeren (Figur 6).


Sett de to boltene (½ x 5 tommer) gjennom hullene på monteringsbraketten for motoren. Sørg for at det sitter en flat skive på hver ytre side av monteringsbraketten for motoren, og sjekk at boltene går uhindret under bunnen av koblingsrøret. Stram de to mutterne (½ tomme) for hånd som vist i Figur 7.

Juster monteringsbraketten for motoren slik at den sitter stramt på koblingen. Stram til de to boltene som du løsnet i trinn 3.
Sjekk at monteringsplaten for motoren er i vater og stram de to boltene (½ x 5 tommer) helt gjennom de nedre hullene i monteringsbraketten for motoren.
Sett batteriet i batteriholderen med polene som vist i Figur 8.
Sett batteritilholderen på batteriet (Figur 8).
Hold batterifestestroppen rundt undersiden av koblingsrøret (Figur 8).
Monter en batteribolt gjennom skiven, batterifestestroppen, monteringsplaten for motoren, batteriholderen, avstandsstykke til batteribolten på høyre side og hold til. Monter en flensmutter løst (Figur 8).
Note: Sørg for at boltene er montert fra bunnen.
Monter en batteribolt gjennom skiven, batterifestestroppen, monteringsplaten for motoren, batteriholderen, avstandsstykke til batteribolten på venstre side og hold til. Monter en flensmutter løst (Figur 8).
Sjekk at alt er konsentrisk og stram til mutrene.

Deler som er nødvendige for dette trinnet:
| Slangefører | 1 |
| Hydraulisk returslange (slange nr. 3) | 1 |
| Hydraulisk sugeslange (slange nr. 4) | 1 |
| Bolt (1/4 x 3/4 tomme) | 4 |
| Låsemutter (¼ tomme) | 4 |
| Bolt (⅜ x 1 tomme) | 4 |
| Låsemutter (3/8 tomme) | 4 |
| Flat skive | 4 |
Pakk ut slangeføreren, den hydrauliske returslangen (slange nr. 3), den hydrauliske sugeslangen (slange nr. 4), de fire boltene (¼ x ¾ tomme) og de fire låsemutrene (¼ tomme).
Note: Fjern slangen som er festet til slangeføreren, den hydrauliske returslangen og den hydrauliske sugeslangen for forsendelse.
Bruk to bolter (¼ x ¾ tommer) og flenslåsemutre til å feste slangeføreren til braketten på hydraulikktanken (Figur 9).

Note: Fjern de to monteringsboltene fra chassisets bakvegg. Bruk de fjernede boltene til å montere tanken.
Pakk ut fire bolter (⅜ x 1 tomme) og nylonlåsemuttere. Støtt hydraulikktanken nedenfra, dra slangeføreren og de hydrauliske slangene nr. 3 og 4 gjennom det store midthullet i bakveggen til chassiset, og sett hydraulikktanken mot chassisets bakvegg. Bruk klemmer eller bolter til å holde hydraulikktanken på plass midlertidig.
Note: Dra slangeføreren gjennom midthullet på forsiden av chassiset. Det kan være nødvendig med to personer for å gjøre dette.
Monter den hydrauliske returslangen (nr. 3) og den hydrauliske sugeslangen (nr. 4) på de passende anordningene på hydraulikktanken.
Note: Slange nr. 3 og 4 har ikke identiske anordninger. Derfor vil hver slange kun passe inn i den riktige anordningen i hydraulikktanken.
Note: Sjekk at det er nok klaring til dekkene når du monterer slangene.
Slangeføreren skal sitte på toppen av tappen fra det vertikale beinet til batteriholderen (Figur 10). Hvis hullene i slangen ikke passer til hullene i tappen til batteriholderen, kan slangeførerens lengde justeres ved å løsne boltene som fester slangeføreren til braketten for hydraulikktanken, og deretter skyve slangeføreren framover eller bakover etter behov.

Fest slangeføringen i tappen på batteriholderen med to bolter (¼ x ¾ tomme) og flenslåsemutre (Figur 10).
Monter hydraulikktanken til chassisets bakvegg med de tidligere fjernede monteringsboltene, samt med bolter (⅜ x 1 tomme), nylonlåsemutterne og de flate skivene fra settet. Stram festene.
Koble hydraulisk slange nr. 3 til filteruttaket (Figur 11).

Koble hydraulisk slange nr. 4 til innsugingssiden på den hydrauliske pumpen (Figur 12).

Kun på SH-versjon av (modell 44701). Fjern festene som holder dekslet på plass i fronten av maskinen, og legg det til side (Figur 13).

Sjekk trykket og etabler koblingene på maskin-basemodellen. Se Figur 14 for SH-versjoner og Figur 15 for EH-versjoner.


Fjern trykk- og returslangene hvis de tidligere var montert på stedene vist i Figur 14 og Figur 15.
Note: Sørg for at slangene ikke kommer i kontakt med varme, skarpe eller bevegelige deler. Ha så stor klaring fra lydpotten som mulig.
Koble til de hydrauliske slangene til kontrollpanelet for hydraulikk. Se Figur 14 og Figur 16 for SH-versjoner, og Figur 15 og Figur 17 for EH-versjoner.


Stram alle hydraulikkoblingene og -festene.
Monter dobbeltspinnerenheten.
Koble den svarte kabelen og den svarte forhåndsførte kabelen til den negative batteripolen. Koble den hvite kabelen og den røde forhåndsførte kabelen til den positive batteripolen.
Plugg mellomliggende ledningssats til strømfastspennerkoblingen på maskinen (Figur 18 eller Figur 19).


Fyll maskinen med omtrent 1 liter olje med riktig viskositet før start. Se Kontrollere motoroljen.
Important: Motoren leveres fra fabrikken uten olje. Forsøk på å starte maskinen før du fyller den med olje vil forårsake motorskade.
Kontroller oljenivået før du starter maskinen for første gang. Se Kontrollere motoroljen.
Fyll den hydraulikktanken med den riktige hydraulikkvæsken. Se Overhale det hydrauliske systemet.
Important: Det hydrauliske systemet vil ikke bli helt fylt opp med væske før systemet slås på. Sjekk hydraulikkvæskenivået og fyll på væske etter behov for å påse at den er ved et korrekt nivå etter førstegangsbruk av hydraulikksystemet.
Sørg for at alle kontrollsystemer er slått av når du arbeider på kraftpakken.
Important: Motoren leveres uten olje. Les brukerhåndboken for motoren for mer informasjon.
Motoren leveres fra fabrikken uten olje, og må derfor fylles med omtrent 1 liter olje før oppstart.
Kontroller oljenivået før du starter maskinen for første gang, og deretter hver dag.
Motoren går på alle oljer av høy kvalitet som har klassifikasjonen SJ, SL eller tilsvarende fra American Petroleum Institute (API). Oljeviskositet – vekt – må velges i henhold til omgivelsestemperatur. Figur 20 illustrerer anbefalinger for temperatur og viskositet.

Plasser maskinen slik at motoren står jevnt.
Rengjør området rundt oljefyllingshetten/peilestaven.
Fjern oljefyllingshetten/peilestaven ved å rotere den mot klokken.
Tørk av peilestaven og sett den inn i fylleåpningen. Ikke skru den inn i åpningen.
Fjern peilestaven, og kontroller oljenivået.
Hvis nivået er nær eller under det nedre grensemerket på peilestaven, fyller du på olje til nivået stiger opp til det øvre grensemerket.
Important: Ikke overfyll veivhuset.
Kontroller motoroljenivået igjen.
Monter oljefyllingshetten/peilestaven, og tørk opp alt oljesøl.
Important: Påse at motoroljen er på riktig nivå. I motsatt fall vil motoren gå rundt, men ikke starte.
Maskinen sendes fra fabrikken uten hydraulisk væske. Derfor må den fylles med 32,9 liter hydraulikkvæske av høy kvalitet. Kontroller den hydrauliske væskens nivå før du starter maskinen for første gang, og deretter hver dag. Anbefalte hydrauliske væsker er:
| Toro Premium Transmission/Hydraulic Tractor Fluid (Tilgjengelig i spann på 19 liter eller fat på 208 liter. Se delekatalogen eller kontakt Toro-distributør for å få oppgitt delenumre.) |
Alternative oljer: Hvis Toro-væske ikke er tilgjengelig, kan andre universelle hydrauliske væsker for traktor (UTHF) med petroleumsbase brukes, forutsatt at deres spesifikasjoner faller innenfor oppgitt område for følgende materialegenskaper og møter bransjestandarder. Vi anbefaler ikke bruk av syntetisk væske. Forhør deg med oljeforhandleren din for å finne et egnet produkt.
Important: Det hydrauliske systemet vil ikke bli helt fylt opp med væske før systemet slås på. Sjekk hydraulikkvæskenivået og fyll på væske etter behov for å påse at den er ved et korrekt nivå etter førstegangsbruk av hydraulikksystemet.
Note: Toro er ikke ansvarlig for skader som skyldes uegnede erstatninger. Bruk bare produkter fra anerkjente produsenter som kan stå for sine anbefalinger.
| Materielle egenskaper: | |||
| Viskositet, ASTM D445 | cSt ved 40 ºC 55 til 62cSt ved 100 ºC 9,1 til 9,8 | ||
| Viskositetsindeks ASTM D2270 | 140 til 152 | ||
| Flytepunkt, ASTM D97 | -37 °C til -43 °C | ||
| Bransjespesifikasjoner: | |||
| API GL-4, AGCO Powerfluid 821 XL, Ford New Holland FNHA-2-C-201.00, Kubota UDT, John Deere J20C, Vickers 35VQ25 og Volvo WB-101/BM | |||
Note: Mange hydrauliske væsker er nesten fargeløse, noe som gjør det vanskelig å oppdage lekkasjer. Et rødt fargestoff for den hydrauliske oljen er tilgjengelig på flasker på 20 ml. Én flaske er nok til 15–22 liter med hydraulikkolje. Bestill delenr. 44-2500 fra en autorisert Toro-forhandler.
Vær svært forsiktig når du håndterer drivstoff. Det er brannfarlig, og dampen er eksplosiv.
Slukk alle sigaretter, sigarer, piper og andre tennkilder.
Bruk kun en godkjent drivstoffkanne.
Ta aldri lokket av drivstofftanken eller fyll på drivstofftanken mens motoren går eller er varm.
Ikke fyll eller tøm drivstofftanken i et innelukket rom.
Oppbevar aldri maskinen eller bensinkannen i nærheten av åpen ild, gnister eller kontrollampe, som på en varmtvannstank eller andre apparater.
Hvis du søler drivstoff, må du ikke prøve å starte motoren. Unngå alt som kan antennes, til all drivstoffdamp er forsvunnet.
Drivstofftankkapasitet: 6,1 liter
Anbefalt drivstoff:
For best resultat bør du kun bruke ren, fersk (mindre enn 30 dager gammel) og blyfri bensin med oktankvalitet på 87 eller høyere (vurderingsmetode (R+M)/2).
Etanol: Bensin med opptil 10 % etanol (alkoholbensin) eller 15 % MTBE (metyltertiærbutyleter) i volum er akseptabelt. Etanol og MTBE er ikke det samme. Bensin med 15 % etanol (E15) i volum er ikke godkjent for bruk. Ikke bruk bensin som inneholder mer enn 10 % etanol i volum, som f.eks. E15 (inneholder 15 % etanol), E20 (inneholder 20 % etanol) eller E85 (inneholder opptil 85 % etanol). Bruk av bensin som ikke er godkjent kan forårsake problemer og/eller motorskade som kanskje ikke dekkes av garanti.
Ikke bruk bensin som inneholder metanol.
Ikke oppbevar drivstoff i drivstofftanken eller i drivstoffbeholdere over vinteren, med mindre du bruker drivstoffstabilisator.
Ikke bland olje i bensinen.
Bruk i første omgang kun elektrolytt (egenvekt på 1,265) for å fylle batteriet.
Rengjør toppen av batteriet og fjern utluftingshettene (Figur 21).
Important: Prøv ikke å tilsette elektrolytt mens batteriet er i maskinen. Du kan komme til å søle, og forårsake korrosjon.

Fyll hver celle forsiktig med elektrolytt til platene er dekket med ca. 6 mm væske (Figur 22).

La elektrolytten trekke inn i platene i ca. 20–30 minutter. Etterfyll etter behov for å holde elektrolyttnivået på ca. 6 mm fra bunnen av påfyllingsbrønnen (Figur 22).
Når batteriet lades, utvikles det gasser som kan eksplodere.
Røyk aldri i nærheten av batteriet og hold gnister og åpen ild borte fra batteriet.
Koble en batterilader på 3–4 A til batteripolene. Lad batteriet med en rate på 3–4 A til egenvekten er 1,250 eller høyere, og temperaturen er minst 16 °C med fri gassutvikling i alle cellene.
Når batteriet er oppladet, kobler du laderen fra strømuttaket og batteripolene.
Note: Etter at batteriet har blitt aktivert, tilsett kun destillert vann for å erstatte normalt tap, selv om vedlikeholdsfrie batterier ikke skal kreve vann under normale driftsforhold.
Batteriklemmene eller metallverktøy kan kortslutte mot metallkomponenter og forårsake gnister. Gnistene kan føre til at batterigassene eksploderer, noe som kan forårsake personskade.
Når du fjerner eller monterer batteriet, må du passe på at batteriklemmene ikke kommer i kontakt med metalldeler på traktoren.
La ikke metallverktøy kortslutte mellom batteriklemmene og metalldeler på gressklipperen.
Koble koblingssjakkelen til tauekjøretøyet. Bruk en høyfast festetapp som er godkjent for tauekjøretøy.
Skru på bensinventilen, dra gasspaken halvveis fram, aktiver choken og start motoren. Når motoren har startet, skrur du av choken og drar gasspaken helt fram.
Kontroller at maskinen fungerer som den skal. Sørg for at det ikke er noen lekkasjer av hydraulisk væske, og utfør eventuelle justeringer.
Sjekk den hydrauliske væsken etter at du har testet det hydrauliske systemet, og fyll på med mer ved behov.
Note: Sørg for at håndkontrollen og ledninger ikke dras langs bakken under drift.